Механизация открытых горных работ

  • Вид работы:
    Дипломная (ВКР)
  • Предмет:
    Другое
  • Язык:
    Русский
    ,
    Формат файла:
    MS Word
    159,38 kb
  • Опубликовано:
    2011-11-08
Вы можете узнать стоимость помощи в написании студенческой работы.
Помощь в написании работы, которую точно примут!

Механизация открытых горных работ

ФЕДЕРАЛЬНОЕ АГЕНТСТВО ПО ОБРАЗОВАНИЮ

МИНИСТЕРСТВА НАУКИ И ОБРАЗОВАНИЯ РФ

Технический институт (филиал) в г.Нерюнгри

Якутского государственного университета

им. М..К.АММОСОВА





КУРСОВОЙ ПРОЕКТ

Дисциплина : Горные машины и оборудование

Тема: «Механизация открытых горных работ»

Выполнил: студ.гр.ОГР-04)6

Егоров. Д.В.

Руководитель:

Редлих Э.Ф.



г. Нерюнгри,2007г.

Содержание

1.Назначение, классификация и обоснование выбора горной машины в зависимости от условий работы.

. Статический расчет параметров работы машины.

. Технологические параметры машины.

. Устройство и принцип работы машины.

.. Устройство, принцип работы, эксплуатация механического оборудования и привода. Механизм подъема.

. Расчет производительности машины.

. Требования безопасной эксплуатации машины

. Графическая часть

горная машина технология оборудование

Назначение, классификация и обоснование выбора горной машины в зависимости от условий работы

Основой для повышения производительности труда на открытых горных работах являются механизация и автоматизация основных и вспомогательных работ, рост единичных мощностей машин, создание и внедрение систем машин, взаимосвязанных своими рабочими параметрами и технологическими функциями.

Основными типами горных машин, применяемых при открытой добыче полезных ископаемых, являются буровые станки, выемочно-погрузочные, выемочно-транспортирующие машины и машины для гидродобычи.

К выемочно-погрузочным машинам относятся экскаваторы, предназначенные для зачерпывания горной массы, перемещения ее на относительно небольшие расстояния и погрузки в транспортные средства или отсыпки в отвал.

Экскаваторы могут быть периодического (цикличного) и непрерывного действия.

К машинам периодического действия относят одноковшовые экскаваторы, а к машинам непрерывного действия - многоковшовые экскаваторы.

Существующие экскаваторы классифицируют по назначению и роду выполняемой работы, вместимости ковша (одноковшовые) или теоретической производительности (многоковшовые ), видам рабочего, ходового и силового оборудования.

По назначению и роду выполняемой работы одноковшовые экскаваторы, применяемые на карьерах, относятся к следующим группам:

ЭКГ -карьерные гусеничные с ковшами вместимостью 2-20 мз; ЭГ - карьерные гидравлические на гусеничном ходу с ковшами вместимостью 2,5-40 мз; ЭВГ - вскрышные гусеничные с ковшами вместимостью 15-100 мз (в настоящее время промышленностью не выпускаются); ЭШ - шагающие (драглайны) с ковшами вместимостью 4-125 мз.

Кроме указанных промышленностью выпускаются также экскаваторы типов: ЭО - универсальные (строительные) гусеничные и пневмоколесные с ковшами вместимостью 0,16-4 мз; ЭКСГ - карьерно - строительные гусеничные с ковшами вместимостью 1,25-8 мз.

По конструкции рабочего оборудования одноковшовые экскаваторы делятся на две группы. К первой группе относятся экскаваторы, ковш у которых закреплен на жестких балках (стрела и рукоять) и поэтому имеет заданную траекторию движения (прямая лопата, обратная, струг). Ко второй группе относятся экскаваторы, ковш у которых имеет гибкую (с помощью канатов) связь с машиной. Траектория движения ковша у таких экскаваторов (драглайн, грейфер) определяется весом ковша и свойствами горных пород.

Одноковшовые экскаваторы типа «прямая лопата» используют при выемке мягких, плотных и разрыхленных (полускальных и скальных) пород с подошвы забоя; погрузке этих пород в отвал или транспортные средства, расположенные на уровне установки экскаватора или вышележащем уступе; .при проходке траншей и на отвальных работах.

Экскаваторы типа «обратная лопата», в отличие от прямых лопат, производят выемку пород копанием ниже уровня установки экскаватора с погрузкой в транспортные средства, расположенные на уровне установки экскаватора или нижележащем уступе.

Статический расчет экскаваторов

Статический расчет экскаваторов имеет цель определить: уравновешенность поворотной платформы, устойчивость экскаватора, усилия в роликах и захватывающих устройствах опорно-поворотного круга, опорные реакции и давления на основание (грунт).

Уравновешенность поворотной платформы.

Уравновесить поворотную платформу - значит устранить выход результирующей веса платформы с механизмами и рабочим оборудованием за пределы периметра опорного круга при повороте платформы (и отвальной консоли - для многоковшового экскаватора) с полной нагрузкой и без нагрузки на рабочем органе.

В процессе экскавации у одноковшовых экскаваторов с малой и средней вместимостью ковша при максимальном вылете рукояти допускаются отрывающие нагрузки в центральной цапфе или захватывающих роликах.

Удерживающий момент Му (кИ 'м) образуется от равнодействующей G} (кИ) весов всех вращающихся частей экскаватора (за исключением противовеса и рабочего оборудования) на плече относительно оси вращения платформы. В противоположном направлении на платформу экскаватора действует опрокидывающий момент МО (кИ 'м) от веса рабочего оборудования с грузом, выдвинутым на максимальный вылет.

При определении оптимальных размеров рабочего оборудования, например драглайна, основной заданной величиной является вместимость ковша или длина стрелы. Если обе величины изменять нежелательно, то прибегают к изменению диаметра опорной базы- (в известных пределах). Таким образом, расчет уравновешенности платформы сводится к задаче, в которой среди принятых и заданных величин имеются такие, которые могут быть изменены.

Платформа считается уравновешенной, если при любых возможных положениях поворотной части с ковшом (порожним или груженым) соблюдаются следующие необходимые условия:

равнодействующая весов вращающихся частей с рабочим оборудованием не должна выходить за периметр многоугольника, образующегося соединением точек касания опорных катков с поворотным кругом;

перемещения равнодействующей вперед или назад по отношению к центральной цапфе желательно иметь одинаковыми по величине.

Уравновешивание поворотной платформы достигается соответствующим размещением всех механизмов на поворотной платформе и выбором массы противовеса.

Технологические параметры машины

Экскаватор «Марион-301М» - мощная электрическая карьерная машина с рабочим оборудованием - механическая лопата прямого действия, на гусеничном ходу, предназначенная для разработки полезных ископаемых открытым способом.

Экскаваторы данных моделей относятся к категории машин, используемых потребителем за весь срок службы при условии проведения периодического технического обслуживания (ТО) и ремонта (Р) по определенной системе и при периодической замене деталей (агрегатов).

Конструкция экскаватора позволяет вести раздельно ремонт или замену узлов - блоков, как механической системы, так и электрической. Доступность к системам при монтаже - демонтаже удовлетворительная.

Часть деталей, неразъемных составных частей, как по конструктивным, так и по технологическим признакам, возможно восстанавливать многократно, а по электрооборудованию - регулировать дополнительно.

При монтаже - демонтаже механизмов, устройств и систем экскаватора необходимо применять специально изготовленные приспособления (технологическая ремонтная оснастка и оборудование) и комплект грузозахватных канатных строп.

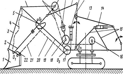
Экскаватор (рис.1) состоит из рабочего оборудования, поворотной платформы с расположенными на ней механизмами и нижней рамы с ходовыми тележками.

Рабочее оборудование включает ковш, рукоять, стрелу, поворотный механизм, механизмы открывания и торможения днища ковша.

Поворотная платформа служит основанием для размещения механизмов экскаватора: подъемной лебедки, механизмов поворота, электрической системы.

Поворотная платформа экскаватора через кольцевой рельс опирается на роликовый круг, лежащий на кольцевом рельсе зубчатого венца. Поворотная платформа соединена с нижней рамой центральной цапфой.

Техническая характеристика экскаватора «Марион-301М»

Наименование показателя

Значение показателя

Длина стрелы, м

18,3

Диаметр шкива стрелы - Диаметральный питч

2,4

Длина рукояти ковша, м

11,7

Емкость ковша, м3

24,5-61,2

А - Угол стрелы, градус

45

В - Высота разгрузки - Максимальная, м

9,9

С - Радиус разгрузки при максимальной высоте, м

19,5

D - Высота разгрузки при максимальном радиусе

7,0

E - Радиус разгрузки - Максимальный

20,0

F - Высота резания - Максимальная, м

17,6

G - Радиус резания - Максимальный

23,7

H - Радиус зачистки

15,5

J - Габаритный радиус - Снаружи головного шкива стрелы

17,9

K - Габаритная высота - Над головным шкивом стрелы, м

18,8

L - Длина гусеничного хода, м

11,4

M - Ширина гусеничного хода, м

10,7

N - Ширина гусеничного полотна, м

1,7

Среднее удельное давление на грунт при передвижении, кг/м2

3,6

O - Земляной просвет под нижней рамой, м

0,8

P - Габаритный радиус - Задний торец

9,2

Q - Земляной просвет под рамой, м

2,5

R - Габаритная высота - Портал, м

13,0

S - Габаритная высота - Машинное отделение, м

9,2

T - Габаритная высота - Корпус фильтро - вентилятора, м

12,0

V - Габаритная ширина - Машинное отделение, м

10,2

Подъемная лебедка - Диаметральный питч

1,5

Диаметр троса подъема (двухниточный), мм

67

Диаметр вантовой подвески стрелы (состоящий их четырех), мм

82

Двигатель подъема, кВт

969

Двигатели поворота, два, кВт

746

Двигатели хода, два, кВт

478

Двигатели напора, два, кВт

380

Скорость поворота, обор/мин

2,83

Скорость движения, км/час

1,2

Транспортировочная масса, кг

871

Экспортный транспортировочная масса, кг

899

Рабочая масса, кг

1116

Балласт (поставляется покупателем), кг

245

Минимальная масса балласта, кг/м3

4005


Таблица 2

Масса узлов экскаватора Марион-301

Наименование

Вес, х103 фунтов

Вес, х103 кг.

Полотно гусеницы (47 траков)

90,33

40,9736

Гусеничный башмак в пальцами

1,92

0,8709

Гусеница в сборе

147,56

66,933

Конструкция

74,83

33,942

Переднее натяжное колесо

5,05

2,29

Опорный каток

2,015

0,914

Заднее натяжное колесо

3,75

1,701

Ведущая звездочка

7,12

3,2296

Главный вал хода

3,85

1,7463

Ходовой редуктор

15,85

7,18

Двигатель хода с тормозом

11,43

5,1846

Тормоз хода

0,6

0,27216

Нижняя рама в сборе

207

93,8952

Конструкция нижней рамы

152,5

69,174

Венцовая шестерня с рельсами

43,6

19,7769

Венцовая шестерня

34,5

15,6492

Сегмент рельса роликового круга

0,83

0,3764

Центральная цапфа

8,42

3,8193

Роликовый круг

10,58

4,799

Сегмент роликового круга

1,5

0,6804

Ролик

0,15

0,06804

Поворотная платформа без крыла, машинного отделения и балласта

173

78,4728

Конструкция

154

69,8544

Гайка центральной цапфы

1,165

0,52844

Стопорная пластина центральной цапфы

0,485

0,21999

Токоприемник в сборе

2,485

1,12719

Токоприемные кольца

1,75

0,7938

Вал подъемной лебедки в сборе

51,64

23,4239

Подъемная шестерня

22,74

10,3148

Торец барабана

4,23

1,9187

Подъемная лебедка

12,8

5,806

Станина подъема, левая

7,945

3,6038

Станина подъема в сборе, правая

33,6

15,2409

Промежуточный вал подъема

5,395

2,4471

Подъемный редуктор

14,17

6,4275

Кожух подъемного редуктора

1,625

0,7371

Двигатель подъема с воздуходувкой и тормозом

21,23

9,6299

Основание двигателя подъема

3,02

1,3698

Вспомогательная лебедка

1,285

0,58287

Поворотный редуктор

6,59

2,9892

Двигатель поворота с воздуходувкой и тормозом

5,88

2,6671

Тормоз поворота

0,6

0,27216

Главный поворотный вал

4,41

2,00037

Главная обегающая шестерня

0,64

0,2903

Портальная стойка в сборе

29

13,1544

Передняя стойка с площадкой

24,255

11,002

Задняя стойка

4,745

2,15233

Модуль левого крыла

50,925

23,0995

Конструкция левого крыла

8,71

3,9508

Модуль правого крыла

51,985

23,5804

Конструкция правого крыла

8,265

3,749

Балластный ящик с балластом

700

317,52

Балластный ящик

155

70,308

Модуль балластного ящика

69

31,2984

Блок фильтра - вентилятора машинного отделения

21,1

9,57096

Кабина оператора

8,86

4,01889

Кондиционер воздуха

0,705

0,31978

Механизм ОДК в сборе

3,3

1,49688

Двигатель

0,705

0,31978

Редуктор

0,88

0,39916

Стрела в сборе

227,865

103,359

Конструкция стрелы

125,06

56,7272

Головной шкив стрелы

5,18

2,34968

Седловой подшипник

43,76

19,8495

Напорный вал

3,12

1,4152

Шестерня напорного вала

5,38

2,4403

Кремальерная шестерня напорного вала

1,17

0,5307

Кожух шестерни напорного вала

0,725

0,3288

Редуктор напора

3,195

1,4492

Двигатель напора с тормозом

4,485

2,03439

1,06

0,4808

Трапики и площадки

9,61

4,359

Рукоять ковша с успокоителем днища

122,5

55,566

Успокоитель днища ковша

1,1

0,4989

Передняя часть ковша в сборе

67

30,3912

Зуб ковша в сборе

0,9

0,4082

Днище ковша в сборе

19

8,6184

Засов

0,94

0,42638

Рычаг засова

0,54

0,24494

Пластина износа ковша

7,18

3,25684

Трос подъема, каждый

4,475

2,02986

Винтовая подвеска стрелы

2,33

1,05688

Устройство и принцип работы машины

Любой экскаватор состоит из· рабочего оборудования (у одноковшовых экскаваторов оно же и транспортирующее), транспортирующего, механического, включающего главным образом передаточные механизмы (трансмиссии), ходового и силового оборудования, а также механизмов управления, металлоконструкций платформы и надстройки, кузова.

Одним из главных признаков различия одноковшовых экскаваторов, определяющих их назначение и область применения, является рабочее оборудование.

Основные виды рабочего оборудования одноковшовых экскаваторов, применяемых на открытых работах - прямая напорная лопата и драглаЙн. Более ограниченно используют обратную лопату, грейфер, струг.

Выпускают четыре вида прямой лопаты: напорную с выдвижной рукоятью, напорную коленно-рычажную, напорную с рабочим оборудованием «Суперфронт» и гидравлическую.

Экскаватор типа прямая напорная лопата состоит из рабочего оборудования, поворотной платформы с кузовом и ходовой гусеничной тележки.

Рабочее оборудование включает в себя ковш, стрелу и рукоять. На верхней кромке ковша установлены сменные зубья, которые после затупления поворачивают на 1800. Днище ковша откидное; при опускании ковша вниз оно автоматически захлопывается. При разгрузке ковша днище открывается тросом с помощью электродвигателя, установленного на стреле. Стрела опирается на поворотную платформу с помощью пятого шарнира и поддерживается в наклонном положении стреловым канатом ,проходящим через блоки, установленные на конце стрелы ,и двуногой стойке.

Ковш при зачерпывании породы поднимается канатом, который перекинут через головной блок и навивается на барабан подъемной лебедки, установленной на поворотной платформе. Подъем ковша совмещается с подачей рукояти на забой с помощью механизма напора. Экскаватор ЭКГ имеет зубчато-реечный механизм напора, расположенный на стреле, который передает усилие на зубчатую рейку рукояти, удерживаемую в зацеплении с кремальерной шестерней механизма напора седловым подшипником. Рукоять может поворачиваться вокруг напорного вала при подъеме и опускании ковша и двигаться вдоль своей оси при напоре и возврате ковша.

На поворотной платформе кроме подъемной установлены также стреловая лебедка, поворотный механизм, силовое оборудование и механизмы управления экскаватором.

Поворотная платформа через роликовый круг опирается на раму гусеничной тележки, с которой неподвижно соединен зубчатый венец. В зацеплении с венцом находятся выходные шестерни редукторов механизма поворота. При включении поворотного механизма платформа вместе с рабочим оборудованием может поворачиваться вокруг вертикальной оси в обе стороны на любой угол.

Зубчато-реечным механизмом напора оснащаются экскаваторы, выпускаемыми ПО «Уралмаш».

В экскаваторах типа прямая напорная лопата ЭКГ-8И, ЭКГ-12,5 и других, выпускаемых ПО «Ижорский завод», применяется канатный механизм напора. Выдвижение и возврат рукоятки производятся канатами при помощи напорной лебедки, расположенной на поворотной платформе, и блоков и полу блоков, расположенных соответственно на стреле и рукояти.

Прямые коленно-рычажные напорные лопаты имеют рукоять, кинематически не связанную со стрелой, и перемещающуюся между стойками стрелы. Такие мех лопаты выпускаются также с двумя системами напора - зубчато реечной и канатной.

Основные рабочие размеры прямой напорной лопаты: радиус копания RK, радиус копания на уровне стояния экскаватора RKY, радиус разгрузки Rp, высота копания Нк, глубина копания hK, высота разгрузки Нр

Глубина черпания прямых лопат обычно невелика, поэтому они работают в забоях, расположенных выше уровня стояния экскаватора. Рабочие размеры зависят от длины стрелы, рукояти и от угла наклона стрелы. Угол наклона стрелы обычно составляет 450, но может быть равен ЗО-600.

Рабочий цикл экскаватора предусматривает копание (черпание), поворот для разгрузки, разгрузку ковша, поворот к забою и· опускание ковша.

У прямой напорной лопаты с рабочим оборудованием «С у пер Ф р о н т» траектория движения ковша образуется при взаимодействии трех механизмов: подъема, напора и поворота ковша. Рабочее оборудование состоит из ковша, рукояти и стрелы. Механизм подъема включает в себя подъемную лебедку, канат, нижний, установленный на стреле блок, образующий с верхним и уравнительным блоками полиспастную систему подъема рамы и через подъемное звено - ковша. Два напорных гидроцилиндра, закрепленные на двуногой стойке, перемещают при помощи тяги и мачты, поворачивающейся относительно оси напорное звено , передающее усилие на раму. При этом гидрофиксатор через канат, блок, профильный полу блок и канат удерживает ковш от поворота по часовой стрелке вокруг оси. Поворотом рамы механизмом подъема или напора вокруг оси производится возврат ковша звеном в исходное положение. ковш поворачивается относительно оси до полного выбирания слабины каната фиксации положения ковша. Днище ковша при разгрузке открывается пневмоцилиндрами. Стрела может подниматься и опускаться, поворачиваясь вокруг шарнира 0з за счет перемещения мачты гидроцилиндрами.












Рабочее оборудование «Суперфронт» (фирма «Марион» США) может перемещать ковш параллельно падошве уступа и эффективно внедрять его в нижнюю часть забоя. Для этого используются вес стрелы, рукояти, а также механизмы подъема и поворота ковша. Однако экскаваторы с данной конструкцией рабочего оборудования имеют пока ограниченное применение.

Механизм подъема

Построение нагрузочных и скоростных диаграмм для предварительного определения средневзвешенной мощности двигателей механизмов подъема, напора и поворота производится исходя из следующих соображений.

Время, затрачиваемое на операции поворота с груженым ковшом, на разгрузку и возвращение порожнего ковша к забою, составляет для мехлопат 60- 70 % полного времени рабочего цикла tц' Поэтому для предварительных расчетов время цикла мехлопаты можно разбить на три равных периода: копание tx.' поворот на разгрузку tp и поворот к забою tз

При копании (период tK) в режиме без перегрузок расчетное усилие 8пI/ для механизма подъема принимается по формуле (14.3) приР-900ИУр=0.Двигательмеханизма подъема в этом случае работает на рабочей части своей механической характеристики и за расчетную принимается номинальная скорость подъема УП.

Мощность двигателя подъема N за период копания (П положение рукояти, см. рис. 14.1) определяется по формуле (14.2) при значениях

- Sn 11' V1 = Уп' K1  1 и 11i = 11п - 0,8-+0,85,

где 11п - к.п.д механизма подъема.

При повороте платформы с груженым ковшом' (период tp) двигатель механизма подъема, как правило, работает в тормозных режимах противовключения или динамическом. При этом ковш может быть поднят на максимальную высоту, а частота вращения двигателя соответствует «ползучим~ скоростям. Поэтому среднюю скорость механизма подъема за время поворота груженого ковша на разгрузку можно принять равной (0,I+О,3)Уп

Усилия, возникающие в механизме подъема за время поворота груженого ковша, можно определить из У положения рукояти или по формуле (14.3). Тогда мощность двигателя подъема за период поворота груженого ковша на разгрузку ± N' п определяется из выражения (14.2) при значениях

K1 = (0,1-+0,3); Sl = SN JV; v1 = уп И 'i = 'п'

Знаки плюс и минус показывают, что двигатель может работать как в двигательном, так и в генераторном режиме.

При повороте порожнего ковша к забою (период tз) схемой управления приводом механизма подъема обычно предусматривается режим ослабления поля возбуждения двигателя, чем достигается увеличение номинальной частоты вращения двигателя на 10-20 % при спуске порожнего ковша. За расчетное усилие при спуске порожнего ковша следует принимать максимальное усилие, которое соответствует положению ковша при выдвинутой на 1/2 рукояти. Величина S'п определяется по формуле (14.3) для II положения рукояти при условии, что ковш порожний.

В этом случае мощность двигателя механизма подъема N"п определяется по формуле (14.2)

Таким образом, средневзвешенная мощность двигателя механизма подъема по предварительно построенным нагрузочной и скоростной диаграммам будет

(CB) = (Nпtк + N'п!р + N"пtз) t~l.   (14.9)

 

Механизм напора. По аналогии с механизмом подъема для механизма напора при определении мощности двигателя за период копания tK следует принимать усилие, соответствующее положению рукояти при

р = 900 и Ур = 0.

В соответствии с формулой (14.7)

 

SH,aJ=P02= (0,5+1)P01

При этом скорость перемещения рукояти принимается равной номинальной скорости механизма напора V н' Скорость напора должна БЬ1ТЬ достаточной, чтобы за время копания (к произошло выдвижение рукояти на весь ход L. Поэтому выбранная скорость УН не должна Быть меньше YH?:.L (К' Скорость возвратного хода рукояти берется в 1,7-2 раза больше скорости напора. Следовательно, мощность двигателя напора NH за период копания определится по формуле (14.2)

При повороте платформы с груженым ковшом на разгрузку (период (р) двигатель механизма напора в основном будет работать в тормозном режиме, преодолевая сопротивления, создаваемые составляющими весов груженого ковша и рукояти, а также в некоторых случаях и составляющей усилия в механизме подъема. Усилие в механизме напора при повороте на разгрузку определяется выражением (14.7) при р 2 - О для IV положения рукояти . Подобно тому как это происходит для механизма подъема, перемещение рукояти в данном режиме также происходит при пониженных скоростях и может изменяться от УН = Ун.НОМ дО УН -= О. Среднее значение скорости , перемещения рукояти за период (р можно принять равным (0,З+О,5) Ун' Тогда мощность двигателя механизма напора N' Н за этот период определится из формулы (14.2)

При повороте платформы с порожним ковшом к забою (период tз) одной из вероятных нагрузок для двигателя механизма напора может быть нагрузка 8н .• у, создаваемая составляющими весов ковша и рукояти:

Мощность двигателя механизма напора N" н за период tз определяется из формулы (14.2) при значениях 81 = 5и.а v и У! = Ун' Тогда средневзвешенная мощность двигателя механизма напора за цикл работы

И(СВ) = (Nиtк + N'ip + N'нfз) ц1.      (14.11)

 

Механизм поворота. Мощность электродвигателей механизма поворота одноковшовых экскаваторов зависит от ряда факторов, главными из которых являются допустимые угловые ускорения и частота вращения платформы, угол поворота платформы и момент инерции вращающихся частей экскаватора. При поворотах платформы в пределах 900 время разгона и торможения может составлять 90-95 % времени поворота и тогда лишь 5-10 % времени двигатели работают с установившейся скоростью. При углах, меньших 900, установившееся движение может вообще отсутствовать. Поэтому большое влияние на величину мощности двигателей оказывает допустимое угловое ускорение платформы, по которому производятся расчеты конструкций на прочность и раскачивание рабочего органа экскаватора (например, на карьерных экскаваторах и драглайнах угловое ускорение ограничивается величиной О, 15.;.{),2 рад/ с2).

Расчетная частота вращения платформы также устанавливается по допустимой величине углового ускорения.       .

Средневзвешенная мощность NB(CB) (кВт) двигателя поворотного механизма определяется выражением

 

N _I\IC 'w; . ('л.г +'лл)'(1 +З,,~)

В(СВ) ------------,

2'103 (tp + tз)'''в (14.12)

где J Л.Г и J лл - моменты инерции ПОВОРОТНQЙ платформы соответственно с груженым и порожним ковшом, определяемые по формуле (14.14) ; w3 - заданная угловая скорость (частота пз) вращения поворотной платформы; ТJв - К.П.д передачи поворотного механизма; tp' ta - время поворота платформы соответственно на разгрузку и с порожним ковшом к забою.

С учетом того, что время tp приблизительно равно времени tз, то при Kfl.K = 1,15 и 1/8 = 0,8 средневзвешенная мощность двигателя (двигателей) поворота карьерных мехлопат и драглайнов может быть определена из выражения

НВ(СВ) = 10-З(lп.г + Iп.п)ШЗ·tр-l. (14.13)

Суммарный момент инерции одноковшового экскаватора J (кг ,м2) относительно оси его вращения

О = О т + О с + О к+п + О и + О Рэ       (14ю14)

где Jп, Jc' JK+n (JK~' lи, !i..~ моменты инерции соответственно поворотной платформы, стрелы, ковша с породой(или порожнего ковша J к), механизма напора и рукояти относительно оси вращения платформы.

Момент инерции поворотной платформы со сторонами, равными длине L Д' ширине Lш и высоте кузова 4. платформы, относительно вертикальной оси вращения экскаватора

 

(О,5Lд)2 + (0,5Lш)2 л =JQ + тл'ГЪ = тл'          -:l       + тл'ГЪ, (14,15)

где J о - момент инерции поворотной платформы относительно вертикальной оси, проходящей через центр массы параллелепипеда, кг ,м2; тп - масса платформы, кг;

тп = Кптз, (14.16)

Кп - коэффициент, равный 0,48-0,51 для карьерных мехлопат; 0,43-0,45 ДЛЯ вскрышных лопат и 0,7-0,8 для драглайнов; тз - масса экскаватора, определяемая по формуле (10.7), кг; гп - расстояние между осью

вращения экскаватора и осью, проходящей через центр массы платформы (как параллелепипеда) , гп = 0,5Lд - Гп.с,

r п.С - радиус пяты стрелы, определяемый по формуле (10.8), м.

Момент инерции стрелы относительно оси вращения экскаватора с достаточной точностью может быть определен по формуле

c = тс 'Г~,   (14.17)

 

где тс - масса стрелы, определяемая по формуле (10.6), кг; гс - расстояние от оси вращения платформы до середины стрелы, м.

Момент инерции ковша с породой

IK+n = mK+n 'Г~,         (14.18)

где mK+n - масса ковша с породой, кг. Определяется суммированием выражения (10.2) или (10.4) с выражением (l 0.5); Гв - максимальный радиус разгрузки, определяемый из выражения (10.8), м.

Момент инерции напорного механизма

н=ти'Г~,   (14.19)

 

где ти - масса напорного механизма, определяемая по формуле (10.6), кг; тн - расстояние от оси вращения экскаватора до центра тяжести механизма напора, м.

Момент инерции рукояти

= тр 'T~,     (14.20)

 

где тр - масса рукояти, определяемая по формуле (10.9), кг; Гр - расстояние от центра тяжести рукояти до оси вращения экскаватора, м.

Расчет производительности машины

 

Условия работы приводов главных механизмов

Привод механизма подъема ковша мехлопаты преодолевает следующие усилия: при черпании породы от сопротивления породы копанию и веса ковша с породой; при повороте платформы и ковша на разгрузку - от веса ковша с породой; при повороте платформы и порожнего ковша к забою - от веса порожнего ковша.

Скорость перемещения ковша при этом соответственно изменяется: при черпании породы она имеет номинальное значение; при повороте платформы и ковша на разгрузку в тормозных режимах - пониженное до 10-30 % номинальной и при повороте и спуске порожнего ковша в забой - повышенное до 130 % номинальной.

Привод механизма напора преодолевает следующие усилия: при черпании породы - отжатая ковша от забоя, от составляющих веса рукояти и ковша с породой, а также составляющую от усилия в подъемном канате (канатах), направленную вдоль оси рукояти; при повороте груженого ковша на разгрузку - от составляющих веса ковша с породой и рукояти, а также составляющую от усилия в подъемном канате (канатах); при повороте порожнего ковша к забою - усилия от составляющих веса порожнего ковша и рукояти.

Скорость перемещения рукояти близка к номинальной при копании и повороте порожнего ковша к забою, но понижается до 30 % номинальной при повороте груженого ковша к забою, когда при вод работает в тормозных режимах.

Полное время цикла tц (с) одноковшовых экскаваторов включает в себя три периода: копания tK (С), поворота платформы и груженого ковша на разгрузку tp (с) и поворота платформы с порожним ковшом К забою tз (С). опыт эксплуатации одноковшовых экскаваторов позволил установить продолжительность выполнения отдельных операций за цикл работы. Так, продолжительность копания для мехлопат составляет (0,3+0,4) tц и (0,25+0,3) tц Д.J1Я драглайнов. Остальное время расходуется на поворот платформы с груженым ковшом на разгрузку и с порожним ковшом В забой; при этом операция разгрузки ковша, как правило, совмещается с поворотом.

Таким образом, для предварительных расчетов с достаточной степенью точности можно принять: для мехлопат tl = tK = tp = tз = 1/ зtц' для драглайнов tK = О,3tц и tp = tз = 0,35t.

Для механизмов, работающих в повторно кратковременных режимах с частыми пусками и торможениями (Т.е. с резко переменными скоростями и усилиями сопротивления), мощности приводов рекомендуется определять по средневзвешенной мощности NCB (кВт), подсчитываемой с учетом мощности N1 [см. формулу (14.2)], потребляемой двигателем за отдельные промежутки времени tl (с) в течение цикла по формуле

по'    (по ]-1

N = Н. t·     t·

св t I I f 1, (14.1)

где ~ tl = tц - продолжительность работы механизма за один цикл; ПО - число операций в цикле. Для одноковшового экскаватора ПО = 3.

Мощность, потребляемая приводом Н1 (кВт) В течение отдельной операции цикла tl (С), определяется из выражения

N1 = K181v( "i1,    (14,2

где К1 - численный коэффициент, ,зависящий от отношения фактической скорости движения механизма к его наминальной за данный отрезок времени tlчисленные значения К1 приводятся ниже для каждого главного механизма экскаватора; 81 и V1 - соответственно усилие и скорость рабочего механизма при выполнении данной операции в цикле, кН и м/с; "1 - К.П.д данного механизма.

Для определения NCB необходимо предваритеJ1ЪВ построить диаграммы нагрузок механизмов (см. рис. 14. и 14.4), отражающие зависимость усилий 8 в функции в времени: 8 = f( t), и скоростные диаграммы, отражающие взависимость частоты вращения или скорости перемешения рабочего органа за те же отрезки времени: n = f( t) или v=f(t).

Требования безопасной эксплуатации машины

Правильная организация: работы , обеспечивающая максимальную производительность экскаватора, предусматривает соответствующую подготовку экскаваторных работ и применение рациональной техники выполнения экскавации в соответствии с «Правилами безопасности», «Правилами технической эксплуатации при разработке месторождений полезных ископаемых открытым способом» и с заводскими инструкциями по эксплуатации.

Члены бригады, обслуживающей экскаватор, должны четко знать и строго выполнять правила и инструкцию по технике безопасности, составленные применительно к конкретным условиям каждого карьера на основании положений «Единых правил безопасности при разработке месторождений полезных ископаемых открытым способом». Инструкция вывешивается на экскаваторе и выдается под расписку машинисту и его помощнику.

К управлению экскаваторами допускаются лица не моложе 18 лет, прошедшие специальное обучение и имеющие удостоверение на право управления экскаватором данного типа и марки, а также прошедшие медицинское освидетельствование и инструктаж по технике безопасности. Без разрешения механика машинист экскаватора не должен допускать к управлению экскаватором посторонних. Работа стажера или помощника машиниста допускается только под наблюдением машиниста смены:.

При комплексной механизации производственного процесса машинист экскаватора должен знать правила безопасной работы на всех машинах, участвующих в комплексе так как он является ответственным за соблюдение правил техники безопасности и противопожарных правил всеми рабочими, обслуживающими экскаватор и транспортные средства.

Каждый экскаватор должен быть оборудован звуковой сигнализацией. Значение сигналов должно быть разъяснено всем рабочим, связанным с работой экскаватора. Перед началом работы машинист смены обязан внимательно осмотреть и принять экскаватор. Мелкие неисправности, подлежащие немедленному ремонту, следует устранять до начала работы. Проверка машины должна проводиться в определенной последовательности по ранее разработанной схеме. При этом производят тщательный наружный осмотр металлоконструкций, всех механизмов экскаватора и тормозов с опробованием действия последних, проверяют крепление и состояние зубьев ковша, проверяют состояние противопожарных средств и безопасность электрооборудования.

Меры безопасности при работе экскаваторов. Перед началом работы машинист обязан убедиться в отсутствии людей и посторонних предметов в радиусе действия рабочего оборудования в кузове транспортных средств и подать сигнал о начале работы. Во время работы ходовая часть экскаватора затормаживается. Погрузку породы: в транспортные средства разрешается начинать только после получения сигнала о готовности их к погрузке. Породу на автомашину следует грузить со стороны заднего или бокового ее борта.

Категорически запрещается проносить ковш над людьми и кабиной шофера. Во время погрузки шофер должен выходить из кабины, если она не имеет бронированного щита. При работе в темное время суток место работы экскаватора и подъездные пути для транспортных средств должны быть хорошо освещены. При работе в населенной местности участок работы экскаватора должен быть огражден; в ночное время ограждение должно быть освещено. Если в забое производятся взрывные работы:, экскаватор необходимо отвести на безопасное расстояние и повернуть к месту взрыва тылвойй частью кабины. Во время работы экскаватора запрещается находиться в радиусе его действия, производить смазку , регулировку механизмов, очистку машины от грязи, сходить с экскаватора и подниматься на него. Очистку ковша от налипшей породы и замену зубьев можно производить только после того, как ковш будет опущен на почву.

Меры безопасности при передвижении экскаватора

Спуск и подъем экскаватора своим ходом осуществляются только под углом, не превышающим указанного в его технической характеристике. Спуск и подъем под углом большим, чем указано, необходимо производить с помощью трактора или лебедки в присутствии механика, производителя работ или мастера.

Путь, по которому будет перемещаться экскаватор, должен быть заранее выровнен и спланирован, а на слабых грунтах усилен щитами или настилом из досок, брусьев или шпал. Для перехода через мосты, трубопроводы, насыпи необходимо предварительно получить разрешение от соответствующей организации.

Противопожарные .мероприятия. В кабине экскаватора на легкодоступном месте должен находиться огнетушитель. Запрещается пользоваться открытым пламенем (факелы, паяльные лампы) для прогрева редукторов передач, аппаратуры и агрегатов пневматической или гидравлической систем управления.

В случае пожара пламя следует тушить с помощью огнетушителя или засыпая землей, песком, или накрывая горящий предмет плотной тканью (брезентом).

Паяльные, сварочные и другие работы, связанные с образованием пламени, можно допускать на экскаваторе только при невозможности демонтировать и въщести деталь для выполнения этих работ снаружи. При этом должны быть выполнены все мероприятия для защиты работающих от ожогов и исключена возможность возникновения пожара.

Список литературы

l.Подэрни Р.Ю. Горные машины и комплексы для открытых работ. М. Издательство МГГУ.2001.

.Бритаев В.А., Замышляев В.Ф. Горные машины и комплексы. м.недра.1984г. 3.Справочник механика открытых работ. под ред. М.И.Щадова и Р.ю.подэрни. М.Недра.1989.

.РжевскиЙ В.В.Открытые горные работы. ЧастьП. Технология и комплексная механизация-4-е изд.м.недра.1985.


Не нашли материал для своей работы?
Поможем написать уникальную работу
Без плагиата!
Без нейросетей!