Проект электроснабжения нефтеперерабатывающего завода

  • Вид работы:
    Дипломная (ВКР)
  • Предмет:
    Физика
  • Язык:
    Русский
    ,
    Формат файла:
    MS Word
    1,02 Mb
  • Опубликовано:
    2011-07-21
Вы можете узнать стоимость помощи в написании студенческой работы.
Помощь в написании работы, которую точно примут!

Проект электроснабжения нефтеперерабатывающего завода

Введение

Энергетика является одной из наукоёмких, динамично развивающихся и стратегически важных отраслей нашей промышленности.

От того, насколько рационально будет осуществлено энергоснабжение любого промышленного объекта, с соблюдением современных стандартов надёжности и качества энергоснабжения, настолько успешным будет выпуск предприятием продукции, соответствующей международным стандартам качества, а также освоение в производстве новых типов, моделей товара.

Целью данного дипломного проекта является проектирование электроснабжения нефтеперерабатывающего завода.

Данный проект предполагает для обеспечения энергией завода использование, как самых современных средств, оборудования, к примеру использование цифровых систем контроля, учёта принимаемой электроэнергии, цифровых устройств релейной защиты и автоматики, позволяющих значительно повысить надёжность и живучесть системы электроснабжения, так и проверенных временем.

В первой главе дипломного проекта произведён анализ, а также раскрыты особенности технологической схемы нефтеперерабатывающего завода.

Во второй главе выполняется выбор и расчёт оборудования нефтеперерабатывающего завода.

В третьей главе происходит выбор и проверка высоковольтного и низковольтного оборудования.

В четвертой главе рассматриваются вопросы, связанные с выбором и расчётом параметров устройств РЗиА.

Пятая глава посвящена проекту электроснабжения инструментального цеха.

Вопросы охраны труда, техники безопасности, правил эксплуатации электроизмерительных приборов, релейной защиты рассмотрены в шестой главе.


1. Анализ технологической схемы нефтеперерабатывающего завода

.1 Нефть, как сырьё, широко используемое в современной промышленности

Нефть - масляная горючая жидкость обычно темного цвета со своеобразным запахом; она немного легче воды и в ней не растворяется.

Нефть - важнейший источник получения различных углеводородов в промышленности.

Состав нефти. Если нефть нагревать в приборе, изображённом на рисунке 1, то можно заметить, что она кипит и перегоняется не при постоянной температуре, что характерно для чистых веществ, а в широком интервале температур. Это значит, что нефть представляет собой не индивидуальное вещество, а смесь веществ. При нагревании нефти сначала перегоняются вещества с меньшим молекулярным весом, обладающие более низкой температурой кипения, затем температура смеси постепенно повышается, и начинают перегоняться вещества с большим молекулярным весом, имеющие более высокую температуру кипения, и т.д. Состав нефти различных месторождений неодинаков.

Рисунок 1.1. Перегонка нефти в лаборатории

Так как нефть - это смесь углеводородов различного молекулярного веса, имеющих разные температуры кипения, то перегонкой её разделяют на отдельные нефтепродукты: бензин, содержащий наиболее лёгкие углеводороды, кипящие от 40 до 200°, с числом атомов углерода в молекулах от 5 до 11; лигроин, содержащий углеводороды с большим числом атомов углерода, с темп, кипения от 120 до 240°; керосин с темп, кипения от 150 до 310° и, далее, соляровое масло. После отгонки из нефти этих продуктов остаётся вязкая чёрная жидкость - мазут.

Бензин применяется в качестве горючего для двигателей внутреннего сгорания. В зависимости от назначения он подразделяется на два основных сорта: авиационный и автомобильный. Бензин используется также в качестве растворителя масел, каучука, для очистки тканей от жирных пятен и т.п. Керосин применяется как горючее для тракторов. Он используется также для освещения. Соляровое масло применяется в качестве горючего для дизелей.

Из мазута путём дополнительной перегонки получают смазочные масла для смазки различных механизмов. Перегонку ведут под уменьшенным давлением, чтобы снизить температуру кипения углеводородов и избежать разложения их при нагревании.

После перегонки мазута остаётся нелетучая тёмная масса - гудрон, идущая на асфальтирование улиц. Из некоторых сортов нефти выделяют твёрдые углеводороды - так называемый парафин (идущий, например, на изготовление свечей) и смесь жидких углеводородов с твёрдыми - вазелин.

Кроме переработки на смазочные масла, мазут применяется в качестве топлива в заводских и паровозных топках, в которые ом подаётся при помощи форсунок. Большие количества мазута подвергаются химической переработке в бензин и другие виды топлива.

1.2 Промышленная переработка нефти

Перегонка нефти. Сначала перегонку нефти в промышленности производили по тому же принципу, что и в описанном выше лабораторном опыте. Нефть нагревали в особых резервуарах - «кубах», выделяющиеся пары отбирали в определённых интервалах температур и конденсировали, получая таким образом бензин, керосин и другие нефтепродукты. Но когда сильно возросла потребность в жидком топливе, такой способ оказался невыгодным, та к как он требовал много времени и большого расхода топлива на нагревание нефти, не обеспечивал высокой производительности и достаточно хорошего разделения нефти на отдельные нефтепродукты.

В настоящее время перегонку нефти в промышленности производят на непрерывно действующих так называемых трубчатых установках (рис. 2), отвечающих требованиям современного производства. Установка состоит из двух сооружений - трубчатой печи для нагрева нефти и ректификационной колонны для разделения нефти на отдельные продукты.

Трубчатая печь представляет собой помещение, выложенное внутри огнеупорным кирпичом. Внутри печи расположен многократно изогнутый стальной трубопровод. Печь обогревается горящим мазутом, подаваемым в неё при помощи форсунок. По трубопроводу непрерывно, с помощью насоса, подаётся нефть. В нём она быстро нагревается до 300-325° и в виде смеси жидкости и пара поступает далее в ректификационную колонну.

Ректификационная колонна имеет внутри ряд горизонтальных перегородок с отверстиями - так называемых тарелок. Пары нефти, поступая в колонну, поднимаются вверх и проходят через отверстия в тарелках. Постепенно охлаждаясь, они сжижаются на тех или иных тарелках в зависимости от температур кипения. Углеводороды, менее летучие, сжижаются уже на первых тарелках, образуя соляровое масло; более летучие углеводороды собираются выше и образуют керосин; ещё выше собирается лигроин; наиболее летучие углеводороды выходят в виде паров из колонны и образуют бензин. Часть бензина подаётся в колонну в виде орошения для охлаждения и конденсации поднимающихся паров. Жидкая часть нефти, поступающей в колонну, стекает по тарелкам вниз, образуя мазут. Чтобы облегчить испарение летучих углеводородов, задерживающихся в мазуте, снизу навстречу стекающему мазуту подают перегретый пар.

Рисунок 1.2. Схема трубчатой установки для непрерывной перегонки нефти

Устройство тарелок схематически изображено на рисунке 8. Отверстия в тарелках, через которые проходят поднимающиеся кверху пары, имеют небольшие патрубки, покрытые сверху колпачками с зубчатыми краями. Через зазоры, образующиеся в месте соприкосновения колпачка с тарелкой, и проходят вверх пары углеводородов. Проходя через жидкость на тарелке, пары охлаждаются, вследствие чего наименее летучие составные части их сжижаются, а более летучие увлекаются на следующие тарелки. Жидкость, находящаяся на тарелке, нагревается проходящими парами, вследствие чего летучие углеводороды из неё испаряются и поднимаются кверху. Избыток жидкости, собирающейся на тарелке, стекает по переточной трубке на нижерасположенную тарелку, где проходят аналогичные явления. Процессы испарения и конденсации, многократно повторяясь на ряде тарелок, приводят к разделению нефти на нужные продукты.

Крекинг нефти. При перегонке нефти выход бензина составляет лишь 10-15%. Такое количество бензина не может удовлетворить всё возрастающий спрос на него со стороны авиации и автомобильного транспорта. Источником получения из нефти дополнительного количества бензина является крекинг-процесс.

Если в нагреваемую на сильном пламени трубку (заполненную железными стружками для улучшения теплопередачи) пускать из воронки по каплям керосин или смазочное масло, очищенные от непредельных углеводородов (рис. 3), то в U-образной трубке вскоре будет собираться жидкость, а в цилиндре над водой - газ. Полученная жидкость, в отличие от взятой для реакции, обесцвечивает бромную воду, т.е. содержит непредельные соединения. Собранный газ хорошо горит и также обесцвечивает бромную воду.

Результаты опыта объясняются тем, что при нагревании произошёл распад углеводородов.

1.3 Технологическая схема нефтеперерабатывающего завода

На примере схемы Московского нефтеперерабатывающего завода

Рис. 1.3. Технологическая (поточная) схема Московского НПЗ

1.3.1 Подготовка нефти, первичная переработка, получение битума. (ЭЛОУ, АТ-ВБ, АВТ-3, АВТ-6)

Сырая нефть проходит установки подготовки нефти (ЭЛОУ-2, ЭЛОУ-6). Подготовка нефти заключается в удалении из сырой нефти хлористых солей кальция, магния, натрия и воды, растворимых в нефти, в виде эмульсии. Процесс ведётся за счёт воздействия специальных реагентов (деэмульгаторов) и электрического поля.

Обессоленная и обезвоженная нефть (содержание солей до 5 мг/л) поступает на установки первичной переработки нефти (АТ, АВТ-3, АВТ-6).

Установки первичной переработки нефти состоят из атмосферных блоков (АТ) в сочетании с вакуумными блоками (ВТ) на установках АВТ-3 и АВТ-6.

В атмосферной части путём ректификации (перегонки) нефти при определённой температуре и давлении отбираются светлые фракции нефтепродуктов: бензин, керосин, дизельное топливо. Остаток нефти после атмосферной перегонки (мазут>350 °С) направляется на вакуумные блоки установок АВТ-3 и АВТ-6, где при остаточном давлении 40-60 мм. рт. ст. из мазута отгоняется дополнительное количество вакуумных дистиллятов (350-530 °С), которые направляются на процессы глубокой переработки нефти (установка Г-43-107).

Остаток вакуумной перегонки - гудрон (фр. 500 °С) направляется на производство нефтебитума и на смешение котельного топлива (топочного мазута), а также на установку висбрекинга для снижения вязкости гудрона (особенно в зимний период).

В основу технологического процесса получения битумов положен метод непрерывного окисления гудрона кислородом воздуха в аппаратах колонного типа при определенной температуре:

для дорожных битумов 250-2900С

для строительных не выше 3200С.

На блоке висбрекинга установки АТ-ВБ остаток вакуумной перегонки - гудрон подвергается термическому крекированию при температуре 440-4500С и давлении 22 кгс/см2.

Полученные жидкие нефтепродукты остаток висбрекинга и бензин - отгон направляются на смешение котельного топлива.

нефтеперерабатывающий электроснабжение ток замыкание релейный

1.3.2 Вторичные процессы (22-4, 35-11/1000, 35-11/300, 24/5, 24-2000, ГФУ)

Бензиновые фракции, получаемые с блока атмосферной перегонки установок АТ, АВТ-3, АВТ-6, подвергаются стабилизации (удалению легких газообразных углеводородов) и разгонке на отдельные фракции установки вторичной перегонки бензинов (22-4) и блоке стабилизации вторичной перегонки, входящем в состав комбинированной установки АВТ-6.

После стабилизации и вторичной перегонки более тяжелая бензиновая фракция с пределами кипения 85-180 °С направляется на установки каталитического риформинга Л-35-11/300М и ЛЧ-35-11/1000, где в присутствии платинорениевых катализаторов при высокой температуре (до 520 °С) и давлении (15; 35 кгс/см2) происходят процессы облагораживания бензина (его ароматизация) для повышения основной характеристики автомобильного бензина - октанового числа с 60 пунктов до 94-97 пунктов и.м.

Полученный после установок каталитического риформинга высокооктановый компонент поступает в парк смешения товарных бензинов, куда также поступают и легкие прямогонные фракции бензина, выкипающие до 85 °С.

Керосиновый дистиллат с атмосферной части установок АТ, АВТ-3, АВТ-6 выводится как компонент реактивного топлива ТС-1.

Часть из него подвергается гидрообессериванию на установке гидроочистки 24-5 (п. б.) для снижения содержания меркаптановой серы. Гидроочищенный компонент смешивается с прямогонным в требуемом соотношении и выпускается как товарное топливо ТС-1 (высшего сорта).

Дизельные фракции (компоненты дизельного топлива) подвергаются следующим процедурам.

Легкий компонент диз. топлива (фракция 180-240 °С) используется для получения товарного зимнего дизельного топлива или как компонент летнего топлива.

Фракция 240-380 °С направляется на установки гидроочистки (24-5 л. б, 24-2000), где в присутствии водорода на катализаторах происходит разложение сернистых соединений до сероводорода, который потом отделяется от реакционной массы и выделяется из газов в процессе очистки МЭА.

В результате гидроочистки содержание серы в дизельном топливе снижается с 0,8-1,0% до 0,05% (на высокоактивных катализаторах).

Гидроочищенный компонент поступает в товарный цех на компаундирование товарного дизельного топлива.

Смесь газовых компонентов, которые выделяются в процессе стабилизации прямогонных бензинов и бензинов каталитического риформинга (рефлюкс стабилизации) с установок АВТ-6, 22-4 и 35-11/1000 в сжиженном виде направляются на газоразделение - установку газофракционирования ГФУ-2. На установке ГФУ за счёт ректификации выделяют (пропан+бутан) и остаток (пентан и выше).

Смесь пропана и бутана поступает на компаундирование для получения бытового сжиженного газа (установка газораздачи); остаток (газовый бензин) на смешение в товарный бензин.

 

1.3.3 Глубокая переработка (Г-43-107)

Для повышения глубины переработки нефти в поточную схему завода включена комбинированная установка каталитического крекинга вакуумного газойля Г-43-107, в состав которой входят:

предварительная гидроочистка сырья (для удаления серы, азотистых соединений, металлов и т.д.);

каталитический крекинг гидроочищенного газойля;

фракционирование продуктов крекинга и стабилизация бензина;

газоразделение головки стабилизации бензина на отдельные компоненты.

Сырье - вакуумный газойль поступает с вакуумных блоков установок АВТ-3 и АВТ-6. Водород для процесса гидроочистки получают на отдельно стоящем производстве водорода методом паровой конверсии метана.

В результате процесса каталитического крекирования тяжелых углеводородов (расщепление высокомолекулярных компонентов на более мелкие молекулы) из остаточного нефтяного сырья получают дополнительное количество ценных светлых нефтепродуктов и газовых компонентов:

бензин с октановым числом 90-91 пунктов по исследовательскому методу является компонентом товарного бензина;

легкий газойль - компонент дизельного и печного топлива;

тяжелый газойль - компонент топочного мазута;

пропан-пропиленовая фракция - сырье для производства полипропилена;

бутан-бутиленовая фракция - сырье для производства МТБЭ, компонент бытового сжиженного газа, компонент автомобильного бензина.

В связи с тем, что завод перерабатывает сернистые нефти (содержание серы до 2,0%) и имеет несколько установок гидрообессеривания, эксплуатируется система извлечения и переработки сероводорода. Процесс извлечения сероводорода из углеводородных газов осуществляется способом аминовой очистки (МЭА) на блоках установок 24-5, 24-2000, Г-43-107, УОР (очистка рефлюкса). Извлеченный сероводород поступает на установки получения элементарной серы (установка Клауса). Очищенный углеводородный газ направляется в заводскую топливную сеть.

1.3.4 Приготовление и отгрузка товарной продукции

Компоненты с установок поступают в резервуарный парк станции смешения бензинов и котельных топлив.

Автобензины, дизельные топлива и мазуты готовятся методом последовательной дозировки компонентов в товарных резервуарах парка сырой нефти и готовой продукции или методом одновременного дозирования и смешения компонентов в трубопроводе.

Газовые компоненты (пропан, бутан) поступают на газораздаточную станцию, где происходит приготовление бытового сжиженного газа и его отгрузка.

Отгрузка товарных топлив осуществляется в железнодорожных цистернах, по продуктопроводам, через автотерминал (автобензины) и через автораздаточный блок Московской нефтебазы (дизельные топлива).

Нефтебитум отгружается непосредственно из битумораздаточников товарного цеха и с битумной установки цеха №1 в автогудронаторы.

Рисунок 1.4. Схема устройства тарелок ректификационной колонны

Процесс химического разложения углеводородов нефти на более, летучие вещества называется крекингом (крекинг - расщепление). Крекинг даёт возможность повысить выход бензина из нефти до 50% и более.

Существуют два вида крекинга - термический, когда расщепление углеводородов производится при высокой температуре, и каталитический, идущий при повышенной температуре с применением катализаторов.

Термический крекинг осуществляют, пропуская нефтепродукты, например мазут, через трубчатую печь, где они нагреваются примерно до 500° под давлением в несколько десятков атмосфер. Чтобы разделить образующуюся смесь жидких и газообразных углеводородов, продукты крекинга направляют в ректификационную колонну, с принципом действия которой мы уже знакомы.

Бензин термического крекинга существенно отличается от бензина прямой гонки тем, что со держит в своём составе непредельные углеводороды.

Каталитический крекинг осуществляют, пропуская пары тяжёлых углеводородов в реакторы, заполненные катализатором (зёрна алюмосиликатов). Продукты крекинга из реактора поступают на ректификацию. Применение катализаторов позволяет проводить крекинг при более низких температурах и давлении, направлять его в сторону образования наиболее ценных продуктов и получать бензин высокого качества.

Газы крекинга содержат разнообразные предельные и непредельные углеводороды, что делает их ценным сырьём для органического синтеза. Которые используют в производстве синтетического каучука, спирта, моющих средств и других химических продуктов.

.4 Выводы

На Московском НПЗ развиваются две наиболее сильные стороны конкурентной позиции:

а) высокая развитость технологии производства;

б) хорошая марочная структура и экологичность продукции.

Это дает возможность заводу предоставлять лучшие по качеству услуги по процессингу. В настоящее время на Московском НПЗ набор технологий, углубляющих переработку нефти, по отношению к первичной переработке в 1,5 раза выше среднеотраслевого уровня. Такое же соотношение имеют доли процессов, повышающих качество.

Гибкое сочетание углубляющих и облагораживающих процессов позволяет обеспечить высокий прирост светлых нефтепродуктов по отношению к природному их содержанию в нефти, а также выпускать моторные топлива с высокими экологическими показателями.

Ввиду отсутствия в последние годы весомых инвестиций в программу развития завода, специалисты и руководители перешли к политике «малозатратной модернизации» за счет собственных источников финансирования. Пришло понимание, что мобилизовав интеллектуальный потенциал на усовершенствование уже имеющихся технологий на режим жесткой экономии ресурсов, можно продолжать поступательное движение вперед и в условиях серьезных финансовых трудностей.

Всё это говорит о том, что качество снабжения завода энергией является одной из важнейших сторон, в развитии любого предприятия. Также, сотрудничество с отраслевыми научно-исследовательскими и проектными институтами позволяет рационально, экономично и экологично использовать ресурсы и сырьё.

2. Выбор и расчёт схемы электроснабжения

.1 Постановка задачи

Разработать проект электроснабжения нефтеперерабатывающего завода.

На чертежах представить генеральный план предприятия с нанесением не него картограммы нагрузок и внутризаводской сети высокого напряжения, а также однолинейную схему электроснабжения предприятия.

Рис. 2.1. Генплан нефтеперерабатывающего завода

.2 Исходные данные

Питание осуществляется от подстанции энергосистемы мощностью 600 МВА, на которой установлены два трёхобмоточных трансформатора мощностью по 63 МВА, напряжением 230/115/37 кВ. Мощность к.з. на стороне 230 кВ равна 1800 МВА. Расстояние от подстанции до завода 17 км. Стоимость электроэнергии 1,2 коп за 1 кВтч. Режим работы предприятия: в три смены.

Таблица 2.1. Параметры цехов предприятия

N

Наименование

Количество электроприёмников, n

Установленная мощность, кВт




Одного электроприёмника, Pn

Суммарная

1

Электрообессоливающая установка

35

1-80

1800

2

Комбинированная установка

40

1-80

1900

3

Установка каталитического крекинга

25

1-40

1100

4

Газофракционирующая установка

20

1-80

980

5

Установка алкинации

20

1-150

1300

6

Этилсмесительная установка

40

1-80

1100

7

Блок оборотного водоснабжения

35

1-50

1250

8

Атмосферно-вакуумная установка

70

1-80

5200

9

Установка каталитического крекинга а) 0,4 кВ б) 10 кВ

 50 4

 1-80 1500

 1800 6000

10

Установка инертного газа

30

1-80

600

11

Ремонтно-механический цех

32

1-40

549,2

12

Электроцех

40

1-10

350

13

Пожарное депо

10

1-10

35

14

ЦЗЛ

15

1-10

80

15

Административный корпус, столовая

1

1-40

370

16

Пожарная насосная: синх. двиг. 6 кВ

2

750

1500

17

Резервуарные парки

10

20-50

350

.3 Определение расчётных электрических нагрузок предприятия

Расчётные нагрузки цехов предприятия определим при помощи метода коэффициента спроса [6].

Цех электрообессоливающей установки. Номинальная мощность цеха Pн = 1800 кВт. Значения коэффициента использования и cos для типового цеха: Kи = 0,35, cos = 0,75. На основании Kи определяем коэффициент спроса Кс, который равен 0,45.

tgj = tg (arccos(cosj))                                                                            (2.1)

tgj = tg (arccos(0.75)) = 0,882         

Расчетная активная мощность цеха электрообессоливающей установки:

p = Кc × Pн                                                                                        (2.2)

p = 0,45×1800 = 810 кВт

Расчетная реактивная мощность цеха электрообессоливающей установки:

p = Pp × tgj                                                                                      (2.3)

p = 810×0,882 =714,42 кВАр

Для освещения этого цеха выбираем люминесцентные лампы. Коэффициент мощности с учетом местной компенсации cosjо = 0,9. Значение удельной мощности освещенности на единицу производственной площади для цеха электро обессоливающей установки определим из [1], р0=0,012 кВт/м2. Площадь цеха определяем по генплану предприятия с учетом масштаба F = 1824 м2. Коэффициент спроса на осветительную нагрузку для внутреннего освещения, Ксо=0,85.

Расчетная активная мощность на освещение носочного цеха шасси и главного конвейера:

= К× р0 × F                                                                                 (2.4)

= 0,85 × 0,012 × 1824 = 18,61 кВт  

Расчётная реактивная мощность на освещение цеха шасси и главного конвейера:

Qро= Ppо× tgj0                                                                                  (2.5)

ро= 18,61 × tg (arccos(0,9)) = 9,01 кВАр

Суммарная активная нагрузка цеха шасси и главного конвейера:

Рр = Pp + P                                                                                  (2.6)

Рр = 810 + 18,61 = 828,61 кВт

Суммарная реактивная нагрузка цеха шасси и главного конвейера:

р = Qp + Qpо                                                                                                                   (2.7)

р = 714,42 + 9,01 = 723,43 кВАр

Полная нагрузка:

                                                                                  (2.8)

Аналогичным образом рассчитываются остальные цеха и здания. Результаты расчетов сведены в Таблице 2.2.

Для освещения территории предприятия используем лампы ДРЛ. Коэффициент мощности с учетом местной компенсации cosj0 = 0,9. Значение удельной мощности освещенности на единицу производственной площади находим согласно [1]. Для уличного освещения р0=0,006 кВт/м2. Площадь территории предприятия определяем по генплану предприятия за вычетом площади цехов F= 328 928 м2. Коэффициент спроса на осветительную нагрузку Ксо=0,5.

= К× р0 × F                                                                                 (2.9)

P = 0,5 × 0,006 × 328928 = 986,78 кВт

Qро = Ppо × tgj0                                                                               (2.10)

Qро = 986,78 × tg (arccos(0,9)) = 477,92 кВАр

Полная нагрузка предприятия:

                                                                              (2.11)

где Крм - коэффициент разновременности максимума. Крм=0,95 [2].

Таблица 2.2. Расчётные электрические нагрузки предприятия

Цеха и узлы питания, группы электроприемников

Рн, кВт

Ки

Кс

cosφ

tgφ

Рр, кВт

Qр, кВАр

ро, кВт/м2

F, м2

Ксо

Рро, кВт

Qро, кВАр

Pр, кВт

Qр, кВАр

Sр, кВА

1

Электрообессоливающая установка

1800

0,35

0,45

0,75

0,88

810

714,35

0,012

1824

0,85

18,6048

9,01

828,60

723,36

1099,93

2

Комбинированная установка

1900

0,45

0,55

0,8

0,75

1045

783,75

0,012

760

0,85

7,752

3,75

1052,75

787,50

1314,71

3

Установка каталитического крекинга

1100

0,7

0,75

0,85

0,62

825

511,29

0,012

836

0,85

8,5272

4,13

833,53

515,41

980,01

4

Газофракционирующая установка

980

0,7

0,75

0,85

0,62

735

455,51

0,012

380

0,85

3,876

1,88

738,88

457,39

868,99

5

Установка алкинации

1300

0,7

0,75

0,85

0,62

975

604,25

0,012

456

0,85

4,6512

2,25

979,65

606,50

1152,20

6

Этилсмесительная установка

1100

0,6

0,65

0,75

0,88

715

630,57

0,012

0,85

21,7056

10,51

736,71

641,08

976,59

7

Блок оборотного водоснабжения

1250

0,7

0,75

0,85

0,62

937,5

581,01

0,012

1292

0,85

13,1784

6,38

950,68

587,39

1117,50

8

Атмосферно-вакуумная установка

5200

0,65

0,7

0,75

0,88

3640

3210,18

0,012

2736

0,85

27,9072

13,52

3667,91

3223,69

4883,21

Установка каталитического крекинга 0,4 кВ

1800

0,6

0,65

0,75

0,88

1170

1031,84

0,012

5814

0,85

59,3028

28,72

5788,60

3878,14

6983,23

Установка каталитического крекинга 10 кВ

6000

0,7

0,75

0,85

0,62

4500

2788,85









10

Установка инертного газа

600

0,4

0,6

0,8

0,75

360

270

0,012

1368

0,85

13,9536

6,76

373,95

276,76

465,23

11

Ремонтно-механический цех

244,5

0,3

0,4

0,6

1,33

97,8

130,4

0,012

864

0,85

6,2016

3,00

104,00

133,40

169,15

12

Электроцех

350

0,3

0,4

0,7

1,02

140

142,83

0,012

456

0,85

4,6512

2,25

144,65

145,08

204,87

13

Пожарное депо

35

0,3

0,4

0,65

1,17

14

16,37

0,012

456

0,85

4,6512

2,25

18,65

18,620

26,36

14

ЦЗЛ

80

0,35

0,45

0,8

0,75

36

27

0,012

456

0,85

4,6512

2,25

40,65

29,25

50,08

15

Административный корпус, столовая

370

0,45

0,55

0,75

0,88

203,5

179,47

0,016

2280

0,90

32,832

15,90

236,33

195,37

306,63

16

Пожарная насосная, 6 кв

1500

0,25

0,35

0,7

1,02

525

535,61

0,008

760

0,60

3,648

1,77

528,65

537,37

753,82

17

Резервуарные парки

350

0,3

0,4

0,7

1,02

140

142,83

0,008

73606

0,60

353,3088

171,11

493,31

313,94

584,73


Освещение территории завода




0,90

0,484



0,006

328928

1,00

986,784

477,92

986,78

477,92

1096,43


Всего по заводу













18504,29

13548,21

21881,98

.4 Выбор места расположения ГПП

Выбор схемы внутрицеховой сети начинаем с определения местонахождения цеховой трансформаторной подстанции. ТП и КТП в целях экономии металла и электроэнергии рекомендуется устанавливать в центре электрических нагрузок (ЦЭН), координаты которого определяются из соотношений [6]:

                                                             (2.12)

где Рi - расчетная мощность i-го цеха предприятия; Xi, Yi - координаты i-го цеха предприятия.

Данные для расчёта сведены в Таблицу 2.3. Так как в данном месте (точка 386,57; 292,88) установить ГПП невозможно. В связи с этим разместим ГПП с северной стороны цеха установки каталитического крекинга. Согласно [5] размеры типовой подстанции 110/10,5 кВ открытого типа (36; 26,3).

Таблица 2.3. Определение центра электрических нагрузок

Цеха и узлы питания, группы электроприемников

Коорд. Х

Коорд. У

Рр, кВт

1

Электрообессоливающая установка

110,06

200,1

828,60

2

Комбинированная установка

210,11

213,44

1052,75

3

Установка каталитического крекинга

130,07

420,21

833,53

4

Газофракционирующая установка

293,48

386,86

738,88

5

Установка алкинации

320,16

460,23

979,65

6

Этилсмесительная установка

400,20

406,87

736,71

7

Блок оборотного водоснабжения

553,61

580,29

950,68

8

Атмосферно-вакуумная установка

586,96

240,12

3667,91

9

Установка каталитического крекинга

420,21

226,78

5788,61

10

Установка инертного газа

306,82

200,1

373,95

11

Ремонтно-механический цех

100,05

546,94

104,00

12

Электроцех

20,01

200,1

144,65

13

Пожарное депо

6,67

106,72

18,65

14

ЦЗЛ

63,37

200,1

40,65

15

Административный корпус, столовая

10,01

400,2

236,33

16

Пожарная насосная

220,11

573,62

528,65

17

Резервуарные парки

333,50

80,04

493,31


Pрасч = 17517,51 кВт.

Pрасчx = 6771743,4 кВт∙м.

Pрасчy = 5130444,3 кВт∙м.

.5 Построение картограммы нагрузок

Картограмма нагрузок представляет собой план предприятия с нанесенными на нем окружностями, площади которых пропорциональны величинам расчетных нагрузок цехов. Радиус окружности для цеха электрообессоливающей установки определяется как:

                                                                                  (2.13)


где R - радиус окружности, Pp - расчетная мощность цеха, mp - масштаб мощности (mp= 0,75 кВт/м2).

Для представления о том какая часть мощности используется для освещения цеха, на окружности выделяют сектор, угол которого пропорционален общей нагрузке цеха. Угол сектора для корпуса пр-ва бетонных конструкций определяется как:

                                                                              (2.14)


Аналогичным образом производим расчёты для остальных цехов и сводим результаты в Таблицу 2.4.

Таблица 2.4. Картограммы нагрузок

Цеха и узлы питания, группы электроприемников

Рр, кВт

Рро, кВт

Радиус R, м

Угол осветительной нагрузки

1

Электрообессоливающая установка

828,60

132,76

18,76

8,08

2

Комбинированная установка

1052,75

37,84

21,14

2,65

3

Установка каталитического крекинга

833,53

25,96

18,81

4

Газофракционирующая установка

738,88

11,67

17,71

1,89

5

Установка алкинации

979,65

19,17

20,40

1,71

6

Этилсмесительная установка

736,71

29,61

17,69

10,61

7

Блок оборотного водоснабжения

950,68

3,77

20,09

4,99

8

Атмосферно-вакуумная установка

3667,91

6,68

39,47

2,74

9

Установка каталитического крекинга

5788,61

34,45

49,57

2,14

10

Установка инертного газа

373,95

13,95

12,60

13,43

11

Ремонтно-механический цех

104,00

6,20

6,65

21,47

12

Электроцех

144,65

4,65

7,84

11,58

13

Пожарное депо

18,65

4,65

2,81

89,78

14

ЦЗЛ

40,65

4,65

4,15

41,19

15

Административный корпус, столовая

236,33

32,83

10,02

50,01

16

Пожарная насосная

528,65

3,65

14,98

2,48

17

Резервуарные парки

493,31

353,31

14,47

257,83


2.6 Выбор номинального напряжения линий электропередачи, их числа, сечения и марки проводов

Произведём предварительный выбор компенсирующих устройств:

Расчётная нагрузка цеховых подстанций Sрп = 21881,98 кВА.

Потери в трансформаторах найдем по формуле [1]:

                                                                             (2.15)

                                                                              (2.16)


Расчётная активная нагрузка на внешнее электроснабжение [1]:

                                                             (2.17)


Расчётная реактивная нагрузка на внешнее электроснабжение Qрвн = Qс. Для предприятия cos(φ)=0,95, tg(φ)=0,328 [6]:

                                                                               (2.18)


Полная нагрузка на внешнее электроснабжение [1]:

                                                                        (2.19)


Предварительный выбор суммарной мощности компенсирующих устройств осуществляется в режиме максимальных нагрузок и производится следующим образом[6]:

                                                                   (2.20)

                                                                              (2.21)


Произведём выбор номинального напряжения линии электропередач[1]:

                                                               (2.22)

где l - длина линии, l = 17 км, Ррвн - передаваемая мощность, Ррвн = 17994,83 кВт.

Исходя из полученного результата и имеющихся на головной подстанции напряжений принимаем напряжение питающей линии 110 кВ так как второе имеющееся напряжение 35 кВ не удовлетворяет поставленным условиям.

Определим необходимое сечение проводов. Рассчитаем номинальный ток линии:

Номинальный ток в линии [1]:

                                                                                    (2.23)

где n - количество линий, n = 2 так как на предприятии имеются потребители 1-ой и 2-ой категории.

Определим сечение проводов по экономической плотности тока (j = 1,1, при продолжительности использования максимума нагрузки 4000 ч/год для европейской части России [5]):

                                                                                        (2.24)


На основании полученного тока и рекомендации [5] в качестве питающей линии выбираем двухцепную ВЭЛ выполненную проводом АС-70 на железобетонных опорах.

Выполним проверку выбранного провода по нагреву, то есть, сравним рабочий ток с длительно допустимым (для АС-70 Iдоп = 265 А) [1]:

Iдоп ≥ Iраб (265 ≥ 45,18)                                                                    (2.25)

В случае аварийного режима, при работе по одной магистрали общий ток составит 45,18·2 = 90,36 А. Условие выполняется.

Определим потери напряжения по следующей формуле [1]:

                                                          (2.26)

где l - длина линии (l = 17 км), rуд, xуд - удельные активное и реактивное сопротивление провода (rуд = 0,46, xуд = 0,86)

Так как потери напряжения незначительны и удовлетворяют требованиям, то окончательно принимаем двухцепную ЛЭП с проводом АС-70.

Произведём выбор трансформаторов. Так как на предприятии имеются потребители 1-ой категории составляющие примерно 40% от мощности всего предприятия, то примем Kз = 0,6, тогда мощность одного трансформатора найдём по следующей формуле [1]:

                                                                             (2.27)


Таким образом, для установки на ГПП выбираем два трансформатора ТДЦН-16000/110/10,5.

Выбранный трансформатор имеет следующие параметры:

Потери холостого хода                                                        ΔРхх = 18 кВт

Потери короткого замыкания                                              ΔРкз = 85 кВт

Ток холостого хода                                                    Iхх = 0,7%

Напряжение короткого замыкания на номинальной ступени %                                                                                                         Uкз = 10,5%

Высота                                                                         h = 6,5 м

Длина                                                                           b = 8,3 м

Ширина                                                                       a = 4,2 м

.7 Выбор схемы внутреннего электроснабжения предприятия

В качестве сети внутреннего электроснабжения выбираем сеть напряжением 10 кВ. Это обусловлено тем, что на предприятии нет собственного генератора, а доля ЭП, работающих на напряжении 6 кВ, меньше, чем доля ЭП работающих на напряжении 10 кВ. Для расчета внутреннего электроснабжения предлагаются два варианта распределительной сети (Рис. 2.2 и 2.3).

В зависимости от общей схемы электроснабжения, величины потребляемой мощности, территориального размещения нагрузок, требуемой степени безопасности на всех ступенях системы электроснабжения, выбираем ту или иную схему. Наилучший вариант схемы электроснабжения промышленного предприятия выбирают по условию минимальных приведённых затрат [1].

                                                                                 (2.28)

где    рн - нормативный коэффициент капитальных вложений,

рн = 0,12, К - капитальные вложения,

И - годовые эксплутационные издержки.

Приведённые сети отличаются только кабельными линиями, следовательно выбор будем осуществлять на основании затрат на КЛ.

Рис. 2.2. Схема электроснабжения предприятия

Рис. 2.3. Схема электроснабжения предприятия

Таблица 2.5. Первый вариант сети электроснабжения завода

Участок сети

Длина участка сети, м

Способ прокладки кабеля

K

Рр, кВт

Расчётный ток, А

Марка кабеля

Сечение жил кабеля, мм2

Эл. сопротивление кабеля, Ом/км

Потери напряжения, %

Стоимость кабелей участка сети, тыс. руб.

Годовые потери эл. энергии, кВт*ч

rуд

xуд

ГПП-ЦТП8

323

в земле

0,90

4708,8

258,73

ААБ

2 (3x150)

0,206

0,079

0,1600

2,475

90945,722

ГПП-ЦТП9

31

в земле

0,90

7020

375,71

ААБ

4 (3x95)

0,326

0,083

0,0173

0,368

319879,486

ГПП-ЦТП6

138

в земле

0,90

990

54,40

ААБ

2 (3x16)

1,940

0,113

0,1229

0,487

37858,786

ГПП-ЦТП7

394

в земле

0,90

1125

61,81

ААБ

2 (3x16)

1,940

0,113

0,3973

1,386

48887,895

ГПП-ЦТП5

148

в земле

0,90

3402

186,92

ААБ

2 (3x95)

0,326

0,083

0,0805

0,883

75124,360

ГПП-ЦТП3

262

в земле

0,90

1615,05

88,74

ААБ

2 (3x25)

1,250

0,066

0,2436

0,999

64919,703

ГПП-ЦТП1

292

в земле

0,90

4502,7

247,40

ААБ

2 (3x150)

0,206

0,079

0,1384

2,239

83158,723

ЦТП8-РП17.2

46

в земле

0,90

54

77,14

ААБ

2 (4x16)

1,940

0,113

1,5399

0,115

77614,422

ЦТП5-ЦТП16

68

в земле

0,90

1350

129,81

ААБ

2 (3x50)

0,620

0,090

0,0824

0,279

68901,692

ЦТП5-РП4

62

в земле

0,90

882

1260,00

ААБ

8 (3x185+1х150)

0,169

0,060

0,8001

1,856

1803752,955

ЦТП3-РП11

169

в земле

0,90

220,05

314,36

ААБ

2 (3x185+1х150)

0,169

0,060

2,1958

1,276

112274,888

ЦТП3-РП14

55

в земле

0,90

72

102,86

ААБ

2 (3x25+1х16)

1,250

0,066

1,5847

0,158

88905,409

ЦТП3-РП15

92

в земле

0,90

333

475,71

ААБ

4 (3x95+1x70)

0,326

0,083

1,6965

1,026

495974,385

ЦТП1-РП17.1

55

в земле

0,90

19,8

28,29

ААБ

2 (4x16)

1,940

0,113

0,6775

0,138

10434,828

ЦТП1-РП17.3

в земле

0,90

266,4

380,57

ААБ

4 (3x70+1х50)

0,443

0,086

0,6035

0,281

431345,576

ЦТП1-ЦТП2

68

в земле

0,90

1710

93,96

ААБ

2 (3x35)

0,890

0,095

0,0484

0,282

51817,540

ЦТП1-РП10

129

в земле

0,90

540

771,43

ААБ

6 (3x120+1x95)

0,258

0,081

2,0686

2,171

1032191,804

ЦТП1-РП12

117

в земле

0,90

315

450,00

ААБ

4 (3x95+1x70)

0,326

0,083

2,0328

1,300

443804,691

ЦТП1-РП13

160

в земле

0,90

31,5

45,00

ААБ

2 (4x16)

1,940

0,113

3,1140

0,400

26410,463

ЦТП9-РП9

68

в земле

0,90

5400

296,70

ААБ

2 (3x185)

0,169

0,060

0,0313

0,592

98122,542

Итого

2708

18,7130

5462325,870


Таблица 2.6. Второй вариант сети электроснабжения завода

Участок сети

Длина участка сети, м

Способ прокладки кабеля

K

Рр, кВт

Расчётный ток, А

Марка кабеля

Сечение жил кабеля, мм2

Эл. сопротивление кабеля, Ом/км

Потери напряжения, %

Стоимость кабелей участка сети, тыс. руб.

Годовые потери эл. энергии, кВт*ч

rуд

xуд

ГПП-ЦТП8

323

в земле

0,90

4708,8

258,73

ААБ

2 (3x150)

0,206

0,079

0,1600

2,475

90945,722

ГПП-ЦТП9

31

в земле

0,90

7020

385,71

ААБ

4 (3x95)

0,326

0,083

0,0173

0,368

319879,486

ГПП-ЦТП6

138

в земле

0,90

990

54,40

ААБ

2 (3x16)

1,940

0,113

0,1229

0,487

37858,786

ГПП-ЦТП7

394

в земле

0,90

1125

61,81

ААБ

2 (3x16)

1,940

0,113

0,3973

1,386

48887,895

ГПП-ЦТП5

148

в земле

0,90

3402

186,92

ААБ

2 (3x95)

0,326

0,083

0,0805

0,883

75124,360

ГПП-ЦТП3

262

в земле

0,90

1615,05

88,74

ААБ

2 (3x25)

1,250

0,066

0,2436

0,999

64919,703

ГПП-ЦТП2

123

в земле

0,90

2250

123,63

ААБ

2 (3x50)

0,620

0,090

0,0816

0,564

62495,866

ГПП-ЦТП1

231

в земле

0,90

2252,7

123,77

ААБ

2 (3x50)

0,620

0,090

0,1531

1,057

62645,946

ЦТП8-РП17.2

46

в земле

0,90

54

77,14

ААБ

2 (4x16)

1,940

0,113

1,5399

0,115

77614,422

ЦТП5-ЦТП16

68

в земле

0,90

1350

129,81

ААБ

2 (3x50)

0,620

0,090

0,0824

0,279

68901,692

ЦТП5-РП4

62

в земле

0,90

882

1260,00

ААБ

8 (3x185+1х150)

0,169

0,060

0,8001

1,856

1803752,955

ЦТП3-РП11

169

в земле

0,90

220,05

314,36

ААБ

2 (3x185+1х150)

0,169

0,060

2,1958

1,276

112274,888

ЦТП3-РП14

55

в земле

0,90

405

578,57

ААБ

4 (3x150+1x120)

0,206

0,079

0,8128

0,731

463586,145

РП14-РП15

52

в земле

0,90

333

475,71

ААБ

2 (3x95+1x70)

0,326

0,083

1,9227

0,291

495974,385

ЦТП2-РП10

52

в земле

0,90

540

771,43

ААБ

6 (3x120+1х95)

0,258

0,081

0,8373

0,879

1032191,804

ЦТП1-РП17.1

55

в земле

0,90

19,8

28,29

ААБ

2 (4x16)

1,940

0,113

0,6775

0,138

10434,828

ЦТП1-РП17.3

52

в земле

0,90

266,4

380,57

ААБ

4 (3x70+1x50)

0,443

0,086

1,0260

0,477

431345,576

ЦТП1-РП12

117

в земле

0,90

346,5

495,00

ААБ

4 (3x120+1x95)

0,258

0,081

1,8014

1,310

424990,639

РП12-РП13

52

в земле

0,90

31,5

45,00

ААБ

2 (4x16)

1,940

0,113

1,0180

0,131

26410,463

ЦТП9-РП9

68

в земле

0,90

5400

296,70

ААБ

2 (3x185)

0,060

0,8473

0,592

98122,542

Итого

2499

16,2942

5808358,103


На основании полученных данных произведём расчёт капитальных вложений и приведённых затрат и сведём результаты в Таблицы 2.7 и 2.8:

Таблица 2.7. Расчёт капитальных вложений

Наименование элемента

Стоимость единицы оборудования, тыс. руб.

1-й вариант

2-й вариант



Кол-во

Сумма, тыс. руб.

Кол-во

Сумма, тыс. руб.

Кабельные линии Работы по прокладке

-  -

20

18,7130  0,8673

20

16,2942  0,8004

Итого:



19,5803


17,0946


Таблица 2.8. Расчёт отчислений на амортизацию и приведённых затрат

Годовые эксплуатационные расходы, тыс. руб.

1-й вариант

2-й вариант

Отчисления на амортизацию

0,450347

0,393176

Стоимость потерь эл. энергии в линиях

65,54791

69,7003

Итого:

65,99826

70,09347

Приведенные затраты

68,34789

72,14483


Очевидно, что первый вариант экономичнее, следовательно, принимаем его.

2.8 Выбор мощности цеховых трансформаторных подстанций

Произведём выбор мощности цеховых трансформаторов. Так как в цехе электрообессоливающей установки имеются потребители 1-ой категории составляющие примерно 10% от мощности всего предприятия, то примем Kз = 0,7, тогда мощность одного трансформатора найдём по следующей формуле:

                                                                                   (2.29)


По полученной при расчёте мощности принимаем решение об установке в ЦТП-1 двух трансформаторов ТМ-1600-10,5. Аналогичные действия выполняем для остальных цехов. Результаты расчёта сводим в Таблицу 2.9.

Таблица 2.9. Выбор мощности цеховых трансформаторных подстанций

№ТП

Наименование цеха

Sр, кВА

Кз

n

Sном

Sтр

1

Электрообессоливающая установка

872,21

0,70

2

623,01

1600


Установка инертного газа

393,63

0,75

2

262,42



Электроцех

152,26

0,80

2

95,16



Пожарное депо

19,63

0,80

2

12,27



Резервуарные парки

519,27

0,90

2

288,49


2

Комбинированная установка

1108,16

0,70

2

791,54

1000

3

Установка каталитического крекинга

1294,00

0,70

2

924,29

1600


Ремонтно-механический цех

109,47

0,80

2

68,42



ЦЗЛ

42,79

0,75

2

28,53



Административный корпус, столовая

248,77

0,75

2

165,85


5

Установка алкинации

1031,21

0,70

2

736,58

1600


Газофракционирующая установка

777,77

0,70

2

555,55


6

Этилсмесительная установка

775,48

0,70

2

553,92

630

7

Блок оборотного водоснабжения

1000,72

0,80

2

625,45

630

8

Атмосферно-вакуумная установка

3860,96

0,80

2

3088,77

4000

9

Установка каталитического крекинга

877,40

0,70

2

626,71

630

16

Пожарная насосная

556,47

0,80

2

347,80

630


2.9 Расчёт токов короткого замыкания в сети внутреннего электроснабжения

Для расчёта токов короткого замыкания воспользуемся аналитическим методом. Расчёт будем производить в относительных единицах по отдельным ветвям, так как отсутствие соседних ветвей не внесёт значительной погрешности в результаты [14].

Приведём схему внешнего электроснабжения предприятия на Рис. 2.4.

Рис. 2.4. Схема внешнего электроснабжения предприятия с указанием точек короткого замыкания

Определим базисные величины.

Базисные напряжения:

                                        

Базисная мощность:

Базисные токи:

                                                                                      (2.30)


Сопротивление системы:

                      

                                                                                         (2.31)

                                                                             (2.32)

                                                                              (2.33)


где Uср - это среднее напряжение той ступени, для которой известна мощность к.з. [14] Sнс, по условию мощность к.з. для стороны 230 кВ Sнс=1800МВА.

Сопротивление ВЛ-110 кВ [14]:

                                   

                                                                                  (2.34)

                                                                                 (2.35)

                                                                                     (2.36)


Сопротивление трансформатора ГПП на стороне 10,5 кВ [14]:

                            

                                                                        (2.37)

                                                                           (2.38)

                                                                            (2.39)

                                                                             (2.40)


Определим ток КЗ в точке К-1 (шины ГПП 110 кВ):

Суммарное сопротивление до точки КЗ:

                                                                                     (2.41)

                                                                            (2.42)


Расчётное сопротивление Zрасч:

                                                                          (2.43)

                                                                                    (2.44)


Периодическую составляющую тока трёхфазного тока КЗ определяем по расчётным кривым для турбогенератора средней мощности работающего с наличием АРВ[1]:

Для :

Наибольшее значение тока I(макс)max = 0,487

Наименьшее значение тока I(мин)max = 0,425 (t≈1с)

Для :

Наибольшее значение тока I(макс)min = 0,350

Наименьшее значение тока I(мин)min = 0,319 (t≈1с)

Искомые токи:

                                                           (2.45)

                                                             (2.46)

                                                           (2.47)

                                                             (2.48)


Апериодическая составляющая тока трёхфазного тока КЗ:

                                                                            (2.49)

                                                                                         (2.50)

                                                                          (2.51)

                                                                               (2.52)

                                                               (2.53)

                                                                          (2.54)

                                                                                          (2.55)

                                                                          (2.56)

                                                                               (2.57)

                                                               (2.58)


Определим ток КЗ в точке К-2 (за трансформатором на шинах ГПП 10,5 кВ):

Суммарное сопротивление до точки КЗ:


Расчётное сопротивление Zрасч:

                                                                          (2.59)

                                                                           (2.60)


Zрасч max > 3 и Zрасч min > 3, следовательно изменением во времени периодической слагаемой тока можно пренебречь [14].

Периодическая составляющая тока трёхфазного тока КЗ:

                                                                             (2.61)

                                                                             (2.62)


Апериодическая составляющая тока трёхфазного тока КЗ:

                                                                           (2.63)

                                                                                 (2.64)

                                                                          (2.65)

                                                                              (2.66)

                                                              (2.67)

                                                                   (2.68)

                                                                                 (2.69)

                                                                          (2.70)

                                                                               (2.71)

                                                               (2.72)


Аналогично производим расчёт для остальных точек схемы и сводим результаты в табл. 9.

Расчёт для токов к.з. для точки 16 будет отличаться из-за наличия в системе синхронных двигателей типа СДН 14-46-8УЗ [1].

Значение периодической составляющей тока короткого замыкания, посылаемое к месту короткого замыкания синхронными электродвигателями:

                                                                              (2.73)

где - приведённое значение сверхпереходной ЭДС,

- приведенное реактивное сопротивление двигателя

                                                             (2.74)

                                                                                     (2.75)


где = 0,2 - сверхпереходное значение индуктивного сопротивления по продольной оси  [10]

Тогда по формуле 2.73:

 кА

Периодическая составляющая тока трёхфазного тока КЗ К-16:

                                                                                     (2.76)

 кА

 кА

Апериодическая составляющая тока трёхфазного тока КЗ К-16:

                                                            (2.77)

 кА

кА

где  - ударный коэффициент для эквивалентного электродвигателя,



Таблица 2.10. Расчёт токов КЗ

№Точки КЗ

I``пК max, кА

Tа max, с

куд max

iуд max, кА

I``пК min, кА

Tа min, с

куд min

iуд min, кА

1

1,467

0,0290

1,71

3,548

1,054

0,0450

1,80

2,683

2

9,144

0,0410

1,78

23,065

7,320

0,0520

1,83

18,944

3

9,364

0,0410

1,78

23,006

7,318

0,0510

1,82

18,836

4

35,763

1,57

79,404

34,499

0,0190

1,59

77,574

5

5,445

0,0013

1,00

7,701

5,433

0,0013

1,00

7,683

6

0,740

0,0002

1,00

1,046

0,739

0,0002

1,00

1,045

7

2,139

0,0002

1,00

3,025

2,139

0,0002

1,00

3,025

8

3,717

0,0002

1,00

5,257

3,715

0,0002

1,00

5,254

9

9,092

0,0343

1,75

22,468

7,288

0,0409

1,78

18,358

10

23,659

0,0157

1,53

51,126

23,107

0,0161

1,54

50,324

11

7,805

0,0057

1,17

12,914

6,556

0,0071

1,24

11,497

12

35,100

0,0129

1,46

72,473

33,898

0,0134

1,47

70,470

13

21,123

0,0028

1,03

30,769

20,765

0,0029

1,03

30,247

14

6,714

0,0017

1,00

9,526

6,696

0,0018

1,00

9,470

15

6,662

0,0014

1,00

9,429

6,629

0,0014

1,00

9,375

16

9,992

-

-

23,531

8,690

-

-

15,331

17

34,709

0,0177

1,57

77,028

33,518

0,0184

1,58

74,895

18

14,434

0,0028

1,03

20,958

14,340

0,0028

1,03

20,888

19

12,086

0,0119

1,43

24,462

10,137

0,0143

1,50

21,504

20

15,213

0,0140

1,49

32,020

14,982

0,0142

1,49

30,934

21

8,104

0,0068

1,23

14,074

6,733

0,0084

1,30

12,378

22

15,383

0,0132

1,47

31,951

15,155

0,0134

1,47

31,506

23

5,644

0,0028

1,03

8,192

5,124

0,0034

1,05

7,609

24

15,194

0,0110

1,40

30,106

14,901

0,0112

1,41

29,713

25

8,702

0,0186

1,58

19,496

7,043

0,0231

1,65

17,338

26

64,871

0,0068

1,23

112,840

61,117

0,0073

1,25

108,040

27

2,525

0,0003

1,00

3,571

2,524

0,0003

1,00

3,569

28

9,096

0,0346

1,75

22,501

7,292

0,0433

1,79

18,459

29

15,492

0,0143

1,50

32,812

15,410

0,0146

1,50

32,670

30

9,025

0,0297

1,71

21,878

7,170

0,0370

1,76

17,846

31

5,585

0,0015

1,00

7,898

5,554

0,0015

1,00

7,855



3. Выбор и проверка электрооборудования

.1 Выбор высоковольтных электрических аппаратов предприятия

.1.1 Выбор аппаратов напряжением 110 кВ

Рабочий ток форсированного режима [1]:

                                                                               (3.1)


Выбор выключателей:

Выбираем [3] ваккумный выключатель ВБЭ-110-10/1000 У1, для защиты питающих линий.

Проверка:

Номинальное напряжение [14]:

Uвыклн ≥ Uн (110 кВ ≥ 110 кВ),

Ток форсированного режима [14]:

Iраб.форс. ≤ Iном.длит. (83,978 А ≤ 1000 А),

Номинальный ток динамической стойкости [14]:

периодическая составляющая: Iк1 £ Iдин (1,467 < 80 кА)

полный ток [14]: iуд1 £ iуск

                                                                            (3.2)

,548 < 203,646 кА

Номинальный ток отключения:

периодическая составляющая Iпt £ Iотк.н (1,467 < 10 кА)

полный ток отключения [14]:

                                                                         (3.3)


Согласно рис. 7-3 [11] принимаем относительное содержание апериодической составляющей тока в полном b = 0,1 при собственном времени срабатывания выключателя t = 0,1 с

2,141 £ 15,556

Номинальный тепловой импульс:

B`k=Iтер.ст2×(t + Ta)                                                                            (3.4)

B`k=2,1412×(1+0.00290)=4,717 кА2сн=Iтер.ст2×t                                                                                           (3.5)н= 202×3=1200 кА2с

,717 £ 1200 кА2с

Выбор разъединителей:

Выбираем [14] разъединитель РДЗ-2-110/1000Н УХЛ1 для установки в перемычку и в подходящих линиях.

Номинальное напряжение:

Uвыклн ≥ Uн (110 кВ ≥ 110 кВ),

Ток форсированного режима:

Iраб.форс. ≤ Iном.длит. (83,978 А ≤ 1000 А),

Номинальный ток динамической стойкости:

периодическая составляющая: Iк1 £ Iдин (1,467 < 63 кА)

полный ток: iуд1 £ iуск

По формуле 3.2 iуск:

,548 < 160,371 кА

Номинальный тепловой импульс:

По формуле 3.4:`k= 2,1412×(1+0.00290)=4,717 кА2с

По формуле 3.5:н= 252×3=1875 кА2с

,717 £ 1875 кА2с

3.1.2 Выбор аппаратов напряжением 10 кВ

Рабочий ток форсированного режима:

                                                                               (3.6)


На низкой стороне в качестве РУ выбираем [14] КРУН-10 ЛМ У1 с номинальным током главных цепей и сборных шин 1000 А. Напряжение вспомогательных цепей 220 В.

Выбор выключателей:

Выбираем [14] вакуумный выключатель ВВ/TEL-10-25/1600 У1, для защиты питающих линий. Так как для установки на всех отходящих линиях предполагаем установку выключателей ВВ/TEL, и токи короткого замыкания имеют примерно одну величину, то представляется возможным провести расчёт для наибольшего тока, а затем принять аппарат для всех линий.

Проверка:

Номинальное напряжение:

Uвыклн ≥ Uн (10 кВ ≥ 10 кВ),

Ток форсированного режима:

Iраб.форс. ≤ Iном.длит. (167,956 А ≤ 1600 А),

Номинальный ток динамической стойкости:

периодическая составляющая: Iк2 £ Iдин (9,144< 25 кА)

полный ток: iуд1 £ iуск

По формуле 3.2 iуск:

,065< 63,64 кА

Номинальный ток отключения:

периодическая составляющая Iпt £ Iотк.н (9,144 < 25 кА)

полный ток отключения:


По формуле 3.3 :


Согласно рис. 7-3 [11] принимаем относительное содержание апериодической составляющей тока в полном b = 0,3 при собственном времени срабатывания выключателя t = 0,045 с

14,060 £ 53,033

Номинальный тепловой импульс:

По формуле 3.4:`k=14,0602×(1+0,0410)=205,789 кА2с

По формуле 3.5:н= 252×3=1875 кА2с

,789 £ 1875 кА2с

Выбор трансформаторов тока:

Выбираем на каждую отходящую линию по ТТ.

ТТ выбираются по номинальному току, напряжению и допустимой нагрузке вторичной цепи. Проверка трансформаторов тока осуществляется по динамической и термической стойкости [14].

Выбираем ТТ для линии питающей ЦТП-1. Расчетный ток линии составляет 247,40 А (Таблица 2.5), напряжение 10 кВ. Для РУ 10 кВ выбираем трансформаторы типа ТПЛ-10К. Согласно (Таблице 5-9 [9]) выбираем коэффициент трансформации 100/5 А.

Проверка:

Динамическая стойкость:уд2 £ iдин (23,065 < 74,5 кА)

Термическая стойкость:

По формуле 3.4:`k= 14,0602×(1+0.0410)=205,789 кА2с

По формуле 3.5:н= 14,0602×4 = 841 кА2с.

,789 < 1851,977 кА2с.

Аналогично выбираются остальные ТТ.

Выбор трансформатора собственных нужд.

Свёдем расчёт ТСН в Таблицу 3.1.

Таблица 3.1. Расчет мощности ТСН

Вид потребителя

Мощность, кВт х кол-во

Подогрев шкафов КРУН

1х17

Освещение ОРУ

6х1

0.6х6

Отопление, освещение, вентиляция ОПУ

80х1

Суммарная нагрузка на 2 тр-ра

106,6


Нагрузка на один трансформатор Sнагр=S×К0=106,6×0,7=74,62 кВА, где К0 - коэффициент одновременности, принимаем 0,7. Для ТСН необходимо иметь резерв, поэтому Sтр = 1,4× Sнагр = 1,4×74,62 = 104,468 кВА. Согласно (Таблицы 3-2 [9]) принимаем в качестве трансформатора СН ТСЗ-160/10.

Выбор предохранителя для защиты ТСН.

По формуле (3.1):


Рабочий ток: Iр = 9,238 А

Номинальный ток плавкой вставки определяется из условия Iпл.вст ³ Ip. Отсюда номинальный ток плавкой вставки Iпл.вст =10 А.Т.о. выбираем предохранитель ПКТ101-10-10-31,5УЗ [14].

Выбор предохранителя для защиты трансформатора напряжения.

Выбор предохранителя для защиты ТН осуществляется по номинальному напряжению и марке ТН. Выбираем предохранитель для НТМИ-10-66У3 - ПКН001-10-66У3 [14].

3.2 Выбор низковольтных аппаратов предприятия

В связи с высокими значениями токов короткого замыкания не все выключатели имеют необходимую отключающую способность, поэтому роль защитного аппарата будет выполнять высоковольтный выключатель, а автоматами предполагается производить коммутации в штатном режиме. Используем автоматы серии ВА и «Электрон».

Таблица 3.2. Выбор автоматических выключателей

№ЭП

Sн, кВт

Iн, A

Iн*1,5

Iн.авт., А

Iрасц кз, кА

Серия

1

1600

2309,40

3464,10

4000

65

Э40С-У3

2

1000

1443,38

2165,06

2500

45

Э25В-У3

3

1600

2309,40

3464,10

4000

65

Э40С-У3

5

1600

2309,40

3464,10

4000

65

Э40С-У3

6

630

909,33

1363,99

1600

40

Э25В-У3

7

630

909,33

1363,99

1600

40

Э25В-У3

8

4000

5772,50

8658,75

6300

115

Э40С-У3

9

630

909,33

1363,99

1600

40

Э25В-У3

16

630

909,33

1363,99

1600

40

Э25В-У3

РП-4

738,88

1066,48

1599,72

1600

40

Э25В-У3

РП-10

373,95

539,75

809,62

1600

40

Э25В-У3

РП-11

104,00

150,11

225,17

250

2,5

ВА57-35

РП-12

144,65

208,78

313,18

630

25

Э06В-У3

РП-13

18,65

26,92

40,38

250

2,5

ВА57-35

РП-14

40,65

58,67

88,01

250

2,5

ВА57-35

РП-15

236,33

341,11

511,67

630

25

Э06В-У3

РП-17.1

29

41,86

62,79

250

2,5

ВА57-35

РП-17.2

78

112,58

168,87

250

2,5

ВА57-35

РП-17.3

387

558,59

837,88

1600

40

Э25В-У3

Секционные автоматы

1

-

1154,70

1732,05

2500

45

Э25В-У3

2

-

721,69

1082,53

1600

40

Э25В-У3

3

-

1154,70

1732,05

2500

45

Э25В-У3

5

-

1154,70

1732,05

2500

45

Э25В-У3

6

-

454,67

682,00

1000

40

Э10В-У3

7

-

454,67

682,00

1000

40

Э10В-У3

8

-

2886,25

3929,38

4000

65

Э40С-У3

9

-

454,67

682,00

1000

40

Э10В-У3

16

-

454,67

682,00

1000

40

Э10В-У3

РП-4

-

533,24

404,81

630

25

Э06В-У3

РП-10

-

269,88

112,59

630

25

Э06В-У3

РП-11

-

75,06

156,59

250

2,5

ВА57-35

РП-12

-

104,39

20,19

250

2,5

ВА57-35

РП-13

-

13,46

44,01

250

2,5

ВА57-35

РП-14

-

29,34

255,84

250

2,5

ВА57-35

РП-15

-

170,56

31,40

250

2,5

ВА57-35

РП-17.1

-

20,93

84,44

250

2,5

ВА57-35

РП-17.2

-

56,29

418,94

250

2,5

ВА57-35

РП-17.3

-

279,30

404,81

630

25

Э06В-У3

3.3 Выбор компенсирующих устройств

По условиям источника энергии, на предприятии требуется поддерживать cos() не менее 0,95. Так как cos() предприятия значительно ниже требуемого, то в проекте предполагаем установку компенсирующих устройств.

Местом установки компенсирующих устройств выберем шины низкого напряжения каждой из ЦТП. Основаниями для выбора являются следующие причины: Снижение мощности трансформаторов ЦТП (так как необходимая реактивная мощность генерируется непосредственно в цехах), уменьшение сечений кабелей, соответственно снижение потерь в трансформаторах и кабельных линиях, а также то, что в обслуживании батареи конденсаторов на 0,4 кВ проще, чем на 10 кВ. При этом на предприятии имеются синхронные двигатели, которые можно использовать для компенсации мощности высоковольтных приёмников.

Компенсация реактивной мощности приёмников напряжением 10 кВ выполним при помощи комплектных конденсаторных установок:

Суммарная реактивная мощность высоковольтных цехов:

Для цеха установки каталитического крекинга выберем две комплектных конденсаторных установки УКЛ 57-10,5-3200 У3, мощностью 3200 кВА [7].

Для компенсации реактивной мощности на напряжении 0,4 кВ, используем батареи конденсаторов. На основании расчётных мощностей (активной и реактивной) найдём необходимую мощность компенсирующих устройств. Для цеха электрообессоливающей установки:

Мощность после компенсации [1]:

По формуле (2.3):

Расчётная мощность батарей:

                                                                               (3.7)


Аналогичным образом проведём расчёт для остальных цехов и сведём результаты в Таблицу 3.3.

Таблица 3.3. Определение мощности подлежащей компенсации на 0,4 кВ

Цеха и узлы питания, группы электроприемников

Рр, кВт

tgφ

Qр, кВА

Qрнорм, кВА

Qр, кВА

1

Электрообессоливающая установка

828,605

0,328

723,36

271,782

451,578

2

Комбинированная установка

1052,752

0,328

787,50

345,303

442,197

3

Установка каталитического крекинга

833,527

0,328

515,41

273,397

242,013

4

Газофракционирующая установка

738,876

0,328

457,39

242,351

215,039

5

Установка алкинации

979,651

0,328

606,50

321,326

285,174

6

Этилсмесительная установка

0,328

641,08

241,639

399,441

7

Блок оборотного водоснабжения

950,678

0,328

587,39

311,823

275,567

8

Атмосферно-вакуумная установка

3667,907

0,328

3223,69

1203,073

2020,617

9

Установка каталитического крекинга 0,4 кВ

1229,303

0,328

1031,84

403,211

628,629

10

Установка инертного газа

373,954

0,328

276,76

122,657

154,103

11

Ремонтно-механический цех

104,002

0,328

133,40

34,113

99,287

12

Электроцех

144,651

0,328

145,08

47,446

97,634

13

Пожарное депо

18,651

0,328

18,620

6,118

12,502

14

ЦЗЛ

40,651

0,328

29,25

13,334

15,916

15

Административный корпус, столовая

236,332

0,328

195,37

77,517

117,853

17.1

Резервуарные парки

29,000

0,328

18,21

9,512

8,698

17.2

Резервуарные парки

78,000

0,328

49,92

25,584

24,336

17.3

Резервуарные парки

387,000

0,328

245,82

126,936

118,884


На основании расчёта выполним выбор компенсирующих устройств, и сведём его в Таблицу 3.4.

Таблица 3.4. Выбор компенсирующих устройств

Цеха и узлы питания, группы электроприемников

Qр, кВА

Тип БК

Количество БК

Qбк, кВА

1

Электрообессоливающая установка

451,578

УКМ - 0,4-250 (25х10) Н У3

2

500,000

2

Комбинированная установка

442,197

УКМ - 0,4-225 (25х9) Н У3

2

450,000

3

Установка каталитического крекинга

242,013

УКМ - 0,4-150 (25х5) Н У3

2

250,000

4

Газофракционирующая установка

215,039

УКМ - 0,4-150 (25х5) Н У3

2

250,000

5

Установка алкинации

285,174

УКМ - 0,4-150 (25х6) Н У3

2

300,000

6

Этилсмесительная установка

399,441

УКМ - 0,4-200 (50х4) Н У3

2

400,000

7

Блок оборотного водоснабжения

275,567

УКМ - 0,4-150 (25х6) Н У3

2

300,000

8

Атмосферно-вакуумная установка

2020,617

УКМ - 0,4-1025 (25x1+100х10) Н У3

2

2050,000

9

Установка каталитического крекинга 0,4 кВ

628,629

УКМ - 0,4-325 (25х1+100х3) Н У3

2

650,000

10

Установка инертного газа

154,103

УКМ - 0,4-100 (25х4) Н У3

2

200,000

11

Ремонтно-механический цех

99,287

УКМ - 0,4-50 (25х2) Н У3

2

100,000

12

Электроцех

97,634

УКМ - 0,4-50 (25х2) Н У3

2

100,000

15

Административный корпус, столовая

117,853

УКМ - 0,4-75 (25х1+50x1) Н У3

2

150,000

17.3

Резервуарные парки

118,884

УКМ - 0,4-75 (25х1+50x1) Н У3

2

150,000


В пожарном депо, ЦЗЛ, и в части (17.1 и 17.2) резервуарных парков конденсаторов не предусматривается, в связи с незначительной величиной реактивной мощности.

4. Выбор и расчёт устройств релейной защиты и автоматики

4.1 Общие положения

Надежное и экономичное функционирование системы электроснабжения возможно только при автоматическом управлении ее элементами. Автоматическое управление осуществляется комплексом автоматических управляющих устройств, среди которых первостепенное значение имеют устройства релейной защиты и противоаварийной автоматики (УРЗиА), действующие при повреждениях или ненормальных режимах работы электроустановок.

Для предотвращения развития аварий и уменьшения размеров возможного ущерба необходимо быстро выявить и отключить поврежденный элемент и ввезти в работу другой, заменяющий вышедший из строя. При этом для сохранения в работе неповрежденного электрооборудования, прежде всего, должна срабатывать защита, ближе всех расположенная к месту повреждения. Кроме того, используемые устройства должны быть надежными и требовать минимальных затрат как временных, так и финансовых, на их обслуживание

.2 Расчёт релейной защиты трансформатора

Произведём расчёт защиты трансформатора 10/0,4 кВ, мощностью 630 кВА, установленного в ЦТП - 9.

Согласно [16] для таких трансформаторов должны предусматриваться устройства релейной защиты, действующие при:

многофазных коротких замыканиях в обмотках и на их выводах; внутренних повреждениях;

токах в обмотках, обусловленных внешними короткими замыканиями;

токах в обмотках, обусловленных перегрузкой (если она возможна); однофазных замыканиях на землю.

Для защиты от многофазных коротких замыканий в обмотках и на их выводах применяют максимальную токовую отсечку без выдержки времени в двухфазном, двухрелейном исполнении.

Защиту от коротких замыканий внутри трансформатора обеспечивает газовое реле или реле давления. Газовое реле содержит два элемента - сигнальный и отключающий. Сигнальный элемент срабатывает при повреждениях, сопровождающихся слабым газообразованием после накопления определенного объема газа в реле. При значительном повреждении, вызывающем бурное выделение газа, повышается давление внутри бака и создается переток масла в сторону расширителя, воздействующий на отключающий элемент. Последний срабатывает при превышении заданной скорости потока масла. При этом газ из бака трансформатора попадает в газовое реле и вызывает срабатывание сигнального элемента позже действия отключающего элемента.

Защиту от токов, обусловленных внешними короткими замыканиями, выполняют максимально токовой с выдержкой времени при действии на отключение и устанавливают со стороны питания. Если для токовой защиты не достигаются надежная отстройка и нужный коэффициент чувствительности, применяют другую защиту, в частности токовую с пуском минимального напряжения.

Защиту от токов в обмотках, обусловленных перегрузкой, устанавливают со стороны питания одним реле, включенным в одну фазу.

На трансформаторах при схеме соединений обмоток с заземленной нейтралью следует предусматривать защиту от однофазных замыканий на землю в сети низшего напряжения. Обычно осуществляют защиту нулевой последовательности, присоединенную к трансформатору тока, установленному в его нулевом проводе, действующем на отключение автоматического выключателя, установленного на стороне низшего напряжения.

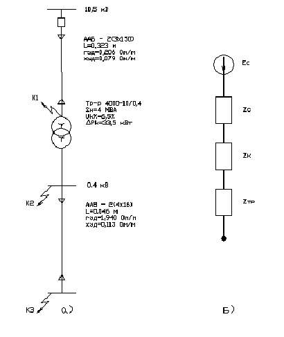
Рис. 4.1. Исходная схема и схема замещения к расчёту релейной защиты трансформатора 10,5/0,4 кВ:

а) - исходная схема; б) - схема замещения.

4.2.1 Токовая отсечка

Так как используется цифровая защита, то при расчётах ток уставки принимаем равным току срабатывания.

Расчет первичного тока срабатывания производится на основании отстройки от максимального тока внешнего КЗ [13].

                                                                             (4.1)

где  - максимальное значение периодической составляющей тока КЗ  - коэффициент отстройки для SEPAM. Из расчёта токов КЗ:

 кА

 кА

Сопротивление системы [14]:

                                                                                 (4.2)


Расчет параметров кабельной линии:

                                                                            (4.3)

                                                                         (4.4)

 Ом

 Ом

Первичный ток срабатывания [13]:

                                                                                (4.5)


Расчет вторичного тока срабатывания [13]:

                                                                                          (4.6)

где - коэффициент трансформации ТТ.

Оценка чувствительности [13]:

На основе расчета коэффициента чувствительности по первичным токам:

                                                                                         (4.7)

где  - ток двухфазного КЗ на выводах ВН трансформатора в минимальном режиме энергосистемы.

Ток короткого замыкания на выводах ВН трансформатора (Таблица 2.10):

                                                                          (4.9)


Коэффициент чувствительности:

                                                                                        (4.10)


Защита проходит по чувствительности, согласно [16].

4.2.2 Максимальная токовая защита

Максимальная токовая защита выполняет функции ближнего и дальнего резервирования при междуфазных КЗ.

Выбор тока срабатывания:

Ток срабатывания рассчитываем на основании следующей зависимости:

                                                                             (4.11)

где    - номинальный ток трансформатора.

Следует отметить, что в SEPAM имеется функция максиметра тока, использование её позволит повысить чувствительность МТЗ за счёт корректировки тока уставки в зависимости от максимального тока нагрузки.

                                                                                 (4.12)

А

Расчет вторичного тока срабатывания [13]:

                                                                                          (4.13)


Оценка чувствительности:

Коэффициент чувствительности для ближнего резервирования [13]:

                                                                           (4.14)

где - ток минимального двухфазного КЗ на выводах НН

Суммарное реактивное сопротивление до точки К-2:

                                                                         (4.14)


Суммарное активное сопротивление до точки К-2:

                                                                                     (4.15)

                                                                    (4.16)

                                                                         (4.17)


Защита проходит по чувствительности, согласно [16] 

Выбор времени срабатывания:

Время срабатывания максимальной токовой защиты выбирается исходя из следующих условий:

для обеспечения термической стойкости трансформатора время срабатывания не должно превышать допустимых значений;

для обеспечения селективности время срабатывания минимальной токовой защиты согласуется с выдержками времени аналогичных ступеней защит смежных объектов.

В случае применения защит с независимой характеристикой [13]:

tсз = tсз пред + Dt                                                                                (4.18)

где tсз пред - время срабатывания предыдущей защиты (время срабатывания автоматического выключателя ввода, время срабатывания автоматического выключателя и величина запаса по времени для цифровых устройств);

Dt - ступень селективности;

tсз = 0,5 + 0,2 = 0,7 с

Коэффициент чувствительности для дальнего резервирования [13]:

                                                                                      (4.19)

где - ток минимального двухфазного КЗ на выводах в конце зоны дальнего резервирования.

Суммарное реактивное сопротивление до точки К-3:

                                                                (4.20)


Суммарное активное сопротивление до точки К-3:

                                                                              (4.21)


Ток минимального трехфазного КЗ на выводах в конце зоны дальнего резервирования [13]:

                                                         (4.22)


Ток минимального КЗ на выводах в конце зоны дальнего резервирования [13]:

                                                                         (4.23)


Коэффициент чувствительности для дальнего резервирования [13]:

                                                                                       (4.24)


Согласно [16] . Защита для дальнего резервирования не проходит по чувствительности.

МТЗ в двухрелейном исполнении нечувствительна к однофазным коротким замыканиям, поэтому для защиты от данного вида повреждений применяется специальная токовая защита нулевой последовательности которая устанавливается в нейтрали трансформатора.

4.2.3 Защита трансформатора от перегрузки

Расчет защиты для стороны 0,4 кВ.

Ток срабатывания защиты от перегрузки [13]:

                                                                                (4.25)

 А;

Выдержку времени защиты принимаем c [15].

Защита срабатывает на сигнал.

4.2.4 Специальная токовая защита нулевой последовательности

Для расчета релейной защиты трансформатора принимается, что двухобмоточный трансформатор должен быть рассчитан на продолжительную нагрузку нейтрали обмотки НН для схемы соединения Y/Yн-0 - не более 25% [13].

Выбор тока срабатывания:

Ток срабатывания отстраивается от токов небаланса в нулевом проводе:

                                                                              (4.26)

где  - ток небаланса.

                                                                             (4.27)


Расчет вторичного тока срабатывания:

                                                                                        (4.28)


Выдержка времени СТЗНП при отсутствии смежных защит нулевой последовательности принимается .

Оценка чувствительности:

Чувствительность для ближнего резервирования     [13]:

                                                                                    (4.29)

где ZТ - условная величина, численно равная геометрической сумме полных сопротивлений току однофазного КЗ питающей энергосистемы, трансформатора, а также переходных сопротивлений [15]:

                                               (4.30)

Значения  найдём из [15], применительно к трансформатору мощностью 3200 кВА с типом соединения обмоток Y/Y0.

 мОм

                                                                                     (4.31)


Защита проходит по чувствительности, т. к. согласно [16] .

Ток однофазного КЗ на выводах в конце зоны дальнего резервирования, приведенный к напряжению 0,4 кВ [15]:

                                                                              (4.32)


где  - сопротивление петли фаза-оболочка для кабеля ААБл 4х16 и длины 0,046 км. По [15] принимаем

                                                                                      (4.33)


Согласно [16] , следовательно, защита проходит по чувствительности.

.2.5 Газовая защита

Газовая защита является обязательной для внутрицеховых трансформаторов мощностью выше 630 кВА, вне зависимости от наличия быстродействующих защит [16].

Для рассматриваемого трансформатора, который обладает мощностью 4000 кВА предусматривается газовое реле типа РГЗЧ, которое монтируется в патрубок расширительного бачка. Если на станции имеется постоянный дежурный персонал, то газовую защиту выполняют одноступенчатой с действием на сигнал при любых повреждениях внутри бака трансформатора. Для сигнализации выделяется один дискретный вход блока SEPAM 1000+, и индикатор на выносном терминале. При интеграции защиты в общую сеть, осуществляется передача сигнала на верхний уровень.

4.3 Расчёт Релейной защиты синхронного двигателя

Определение параметров схемы замещения.

Рис. 4.2. Исходная схема и схема замещения к расчёту релейной защиты синхронного двигателя 6 кВ:

а) - исходная схема; б) - схема замещения.

Параметры системы, по [формула 4.2]:


Пусковой ток двигателя.

При расчете принимаем допущение, что в момент, предшествующий короткому замыканию, электродвигатели работали с номинальными параметрами [1].

                                                                         (4.34)


где              - номинальный коэффициент мощности двигателя;

 - КПД двигателя;

- кратность пускового тока двигателя;

 - номинальная мощность на валу двигателя, кВт.

                                                                                 (4.35)


4.3.1 Токовая отсечка

Основной защитой на электродвигателях напряжением выше 1000 В и мощностью до 5000 кВт является защита от междуфазных КЗ в обмотках статора, выполненная в виде ТО без выдержки времени [16]. В зону действия ТО входит также и силовой кабель, соединяющий двигатель с выключателем, так как блок защиты установлен в ячейке выключателя.

Ток срабатывания ТО электродвигателя определяем из условия отстройки от пускового тока электродвигателя по формуле:

                                                                                (4.36)

 А

где =1,15;

Принимаем трансформатор тока марки ТЛК-10-2-75/5, =15. Номинальный ток, задаваемый при конфигурировании защит блока SEPAM 1000+, составляет =75 А, базисный ток присоединения - =38 А.

Чувствительность защиты:

                                                                                 (4.37)


что больше требуемого по [16] минимального коэффициента чувствительности .

Используем группу уставок А защиты 50/51 элемент 1. Защита срабатывает на отключение электродвигателя без выдержки времени.

4.3.2 Защита от замыкания на землю

Ток срабатывания защиты определяем по формуле [18]:

                                                                               (4.38)

где собственный емкостной ток присоединения включает емкостной ток кабеля и емкостной ток двигателя.

Для кабеля питающего электродвигатель =1; =0.06 км; =1,0 А/км, тогда собственный емкостной ток кабеля:

                                                                              (4.39)

А

Емкостной ток электродвигателя определяем по формуле [18]:

                                                                    (4.40)

где  - емкость двигателя, Ф.

Емкость двигателя определяем по формуле [18]:

                                                       (4.41)

где  - номинальная полная мощность электродвигателя, МВА;

 - номинальное напряжение электродвигателя, =6 кВ.

 Ф

Емкостной тог электродвигателя по формуле [18]:

 А

Расчетный ток срабатывания защиты по формуле [18]:

                                                                               (4.42)

 А

Полученное значение оказалось меньше, чем минимальный ток срабатывания защиты Iсзмин, определяемый типом используемого ТТНП, таким образом ток срабатывания принимается:

Iсз = Iсзмин                                                                               (4.42б)

Принимаем к установке трансформатор нулевой последовательности типа ТЗЛ, у которого Iсзмин = 0,68А. Защита 50N срабатывает без выдержки времени и действует на отключение электродвигателя.

4.3.3 Защита от перегрузки

Ток срабатывания защиты от перегрузки определяем по формуле [17]:

                                                                                (4.43)

где коэффициент отстройки = 1,2 [6]:

 А;

Выдержка времени защиты должна быть больше времени нормального пуска электродвигателя и времени его самозапуска при пониженном напряжении [18].

Защита от перегрузки, или затянутого пуска (48/51 LR) срабатывает на отключение электродвигателя.

4.3.4 Защита минимального напряжения

Защита минимального напряжения выполняется групповой и предназначена для обеспечения или облегчения самозапуска ответственных электродвигателей СН при понижении напряжения на шинах, или обеспечения автоматического ввода резервных (АВР) ответственных электродвигателей.

Защиту выполняем с одной ступенью срабатывания по напряжению, уставку которого определяем по формуле [18]:

                                                                                  (4.44)


Напряжение срабатывания реле определяем по формуле:

                                                                                 (4.45)

где - коэффициент трансформации трансформатора напряжения.

 В,

 В.

По времени срабатывания вводим две ступени защиты:

первая ступень =0,5 с, отстраивается от времени срабатывания ТО электродвигателей, [18];

вторая ступень = 10…15c [18].

Рассматриваемый электродвигатель отключается от сети при действии второй ступени защиты по времени.

5. Проект электроснабжения инструментального цеха

.1 Постановка задачи

Разработать проект электроснабжения инструментального цеха завода.

Рис. 5.1. Генплан инструментального цеха

Таблица 5.1. Параметры электрооборудования инструментального цеха

Номер по плану

Наименование оборудования

Установленная мощность, кВт

1-4

Шахтная электропечь

25

5,6

Камерная электропечь

40

7,12,15

Закалочный бак

1,1

8,9

Шахтная электропечь

30

10

Ванна обезжиривания

1,1

11,13,14

Электропечь-ванна

15

16,17

Установка высокой частоты. кВА

40

18,19

Вентиляторы

7,5

20-22

Универсальный круглошлифовальный станок

13+4,0+0,6

23,24

Токарный станок

7,5+2,2+0,6

25-27

Токарно-винторезный автомат

13+1,5+0,2

28,29

Вертикально-фрезерный станок

10+2,2+0,4

30,31

Вертикально-сверлильный станок

5,5+0,4

32

Кран мостовой 5т

7,5+2,2+11

33

Заточный станок

3,0


5.2 Определение центра электрических нагрузок цеха

Выбор схемы внутрицеховой сети начинаем с определения местонахождения цеховой трансформаторной подстанции. ТП и КТП в целях экономии металла и электроэнергии рекомендуется устанавливать в центре электрических нагрузок (ЦЭН), координаты которого определяются из соотношений [1]:

                                                             (5.1)

где Pi - расчётная мощность i-го электроприёмника

Xi, Yi - координаты электроприёмника

                                                                                      (5.2)

где - коэффициент спроса для i-го электроприёмника. Результаты приведены в Таблице 5.2

Ремонтно-механический цех:

13,49 м

14,43 м

Центр электрических нагрузок цеха расположен в точке (13,49; 14,43). Так как установка РП в этой точке невозможна из-за установленного там технологического оборудования, перемещаем РП вниз и влево относительно ЦЭН.

Таблица 5.2. Определение ЦЭП

№ п/п

Корд. Х, см

Корд. У, см

Кс

Ки

cosj

Рном, кВт

Ррасч, кВт

Iн, А

1

1964

418

0,25

0,2

0,65

25

6,25

58,436

2

1763

418

0,25

0,2

0,65

25

6,25

58,436

3

1562

418

0,25

0,2

0,65

25

6,25

58,436

4

1361

418

0,25

0,2

0,65

25

6,25

58,436

5

1392

1145

0,25

0,2

0,65

40

10

93,498

6

1392

897

0,25

0,2

0,65

40

10

93,498

7

1717

1052

0,25

0,2

0,65

1,1

0,275

2,571

8

1361

1570

0,25

0,2

0,65

30

7,5

70,123

9

1361

1802

0,25

0,2

0,65

30

7,5

70,123

10

1709

1694

0,25

0,2

0,65

1,1

0,275

2,571

11

2212

1149

0,25

0,2

0,65

15

3,75

35,062

12

2212

1392

0,25

0,2

0,65

1,1

0,275

2,571

13

2212

1593

0,25

0,2

0,65

15

3,75

35,062

14

2178

1827

0,25

0,2

0,65

15

3,75

35,062

15

1913

2260

0,25

0,2

0,65

1,1

0,275

2,571

16

2237

2318

0,25

0,2

0,65

40

10

93,498

17

2043

2745

0,25

0,2

0,65

40

10

93,498

18

2165

3078

0,8

0,65

0,8

0,8

0,64

1,519

19

1998

3267

0,8

0,65

0,8

0,8

0,64

1,519

20

759

234

0,25

0,2

0,65

17,6

4,4

41,139

21

271

234

0,25

0,2

0,65

17,6

4,4

41,139

22

230

979

0,25

0,2

0,65

17,6

4,4

41,139

23

1041

693

0,25

0,2

0,65

10,3

2,575

24,076

24

1041

1231

0,25

0,2

0,65

10,3

2,575

24,076

25

1578

0,25

0,2

0,65

14,7

3,675

34,360

26

583

1438

0,25

0,2

0,65

14,7

3,675

34,360

27

258

2119

0,25

0,2

0,65

14,7

3,675

34,360

28

292

2625

0,25

0,2

0,65

12,6

3,15

29,452

29

292

3124

0,25

0,2

0,65

12,6

3,15

29,452

30

1042

1629

0,17

0,15

0,55

5,9

1,003

16,298

31

1042

1932

0,17

0,15

0,55

5,9

1,003

16,298

32

645

2851

0,25

0,2

0,65

20,7

5,175

48,385

33

1046

2165

0,25

0,2

0,65

3

0,75

7,012


5.3 Определение расчётных нагрузок механического цеха

При определении нагрузок цеха, используем метод упорядоченных диаграмм. Этот метод является основным при определении расчётных нагрузок систем электроснабжения. При выполнении расчётов распределяем электроприёмники на характерные группы и намечаем узлы питания. Расчёт проводим для всех узлов нагрузки и цеха в целом.

Находим суммарную номинальную мощность группы электроприёмников Рн [1]:

                                                                                      (5.3)

где pн - номинальная активная мощность электроприёмника

Групповой коэффициент использования активной мощности Ки [1]:

                                                                               (5.4)

где ки - индивидуальный коэффициент использования

Эффективное число электроприёмников nэ [1]:

                                                                                   (5.5)

Эффективным числом электроприёмников называют такое число одинаковых по мощности по режиму работы электроприёмников, которое даёт туже величину расчётного максимума, что и группа различных по мощности и режиму работы электроприемников.

Средняя активная нагрузка за наиболее загруженную смену одного приёмника [1]:

                                                                                    (5.6)

Средняя реактивная нагрузка за наиболее загруженную смену одного приёмника [1]:

                                                                              (5.7)

где tg(j) - тангенс угла сдвига фаз между током и напряжением, определяемый из коэффициента мощности cos(j).

Средняя активная нагрузка группы электроприёмников за наиболее загруженную смену [1]:

                                                                                   (5.8)

Средняя активная нагрузка группы электроприёмников за наиболее загруженную смену [1]:

                                                                                    (5.9)

Расчётная активная нагрузка группы электроприёмников Рр [1]:

                                                                                  (5.10)

где Км - групповой коэффициент максимума, определяемый с учётом nэ и Ки

Полная расчётная мощность группы электроприёмников Sp [1]:

                                                                            (5.11)

Расчётный ток группы электроприёмников Iр [1]:

                                                                                   (5.12)

Расчёты приведены в Таблице 5.3, в которой координаты и номинальная мощность взяты из исходных данных. а Ки и cos(j) взяты из справочников [10].

Таблица 5.3. Определение расчётных нагрузок механического цеха

№ п/п

Узлы питания и группы Эл/пр

Количество n, шт.

Мощность одного приёмника, кВт

Общая мощность. кВт

m=Pнмакс/Рнмин

Коэффициент использования Ки

cos

tg

Рсм, кВт

Qсм, кВАр

nэ

Коэффициент макимума Км

Рр, кВт

Qp, кВАр

Sp, кВА

Ip=Iм/Iп, А


Переменнный график нагрузки
















1,2,3,4

Шахтная электропечь

4

25

100


0,2

0,65

1,17

20

23,38







Итого по переменной нагрузке

4

25

100

0,2

0,65

1,17

20

23,38



















СП-1

















Переменный график нагрузки
















20-22

Универсальный круглошлифовальный станок

3

17,6

52,8


0,2

0,65

1,17

10,56

12,35







23,24

Токарный станок

2

10,3

20,6


0,2

0,65

1,17

4,12

4,82







30,31

Вертикально-сверлильный станок

2

5,9

11,8


0,15

0,55

1,52

1,77

2,69







33

Заточный станок

1

3

3


0,2

0,65

1,17

0,6

0,70







Итого по переменной нагрузке

8

3 до 17,6

88,2

0,193

0,63

1,23

17,05

20,55

6,38

2,1

35,805

19,045

40,555

61,619

ИТОГО по СП-1

8

3 до 17,6

88,2

0,193

0,63

1,23

17,05

20,55

35,805

19,045

40,555

61,619



















СП-2

















Переменный график нагрузки
















25-27

Токарно-винторезный автомат

3

14,7

44,1


0,2

0,65

1,17

8,82

10,31







28,29

Вертикально-фрезерный станок

2

12,6

25,2


0,2

0,65

1,17

5,04

5,89







32

Кран мостовой 5т

1

20,7

20,7


0,2

0,65

1,17

4,14

4,84







Итого по переменной нагрузке

6

12,6 до 20,7

90

0,2

0,65

1,17

18

21,04

5,8

2,24

40,320

21,677

45,778

69,554

ИТОГО по СП-2

6

12,6 до 20,7

90

0,2

0,65

1,17

18

21,04

40,320

21,677

45,778

69,554



















СП-3

















Постоянный график нагрузки
















18,19

Вентиляторы

2

0,8

1,6


0,65

0,8

0,75

1,04

0,78







Итого по постоянной нагрузке

2

0,8

1,6

0,65

0,8

0,75

1,04

0,78

2

1,29

1,342

0,706

1,516

2,303


Переменный график нагрузки
















15

Закалочный бак

1

1,1

1,1


0,2

0,65

1,17

0,22

0,26







16,17

Установка высокой частоты, кВА

2

40

80


0,2

0,65

1,17

16

18,71







Итого по переменной нагрузке

3

1,1 до 40

81,1

0,2

0,65

1,17

16,22

18,96

2,1

2,64

42,821

22,777

48,502

73,693

ИТОГО по СП-3

5

0,8 до 40

82,7

0,209

0,66

1,14

17,26

19,74

44,162

23,483

50,018



















СП-4

















Переменный график нагрузки
















8,9

Шахтная электропечь

2

30

60


0,2

0,65

1,17

12

14,03







10

Ванна обезжиривания

1

1,1

1,1


0,2

0,65

1,17

0,22

0,26







11,13,14

Электропечь-ванна

3

15

45


0,2

0,65

1,17

9

10,52







12

Закалочный бак

1

1,1

1,1


0,2

0,65

1,17

0,22

0,26







Итого по переменной нагрузке

7

1,1 до 30

107,2

0,2

0,65

1,17

21,44

25,07

4,6

2,42

51,885

27,452

58,700

89,187

ИТОГО по СП-4

7

1,1 до 30

107,2

0,2

0,65

1,17

21,44

25,07

51,885

27,452

58,700

89,187



















СП-5

















Переменный график нагрузки
















5,6

Камерная электропечь

2

40

80


0,2

0,65

1,17

16

18,71







7

Закалочный бак

1

1,1

1,1


0,2

0,65

1,17

0,22

0,26







Итого по переменной нагрузке

3

1,1 до 40

81,1

0,2

0,65

1,17

16,22

18,96

2,1

2,64

42,821

22,777

48,502

73,693

ИТОГО по СП-5

3

1,1 до 40

81,1

0,2

0,65

1,17

32,44

37,93

42,821

22,777

48,502

73,693


















ИТОГО по цеху без освещения

33

0,8 до 40

549,2

0,2002

0,65

1,17

126,19

147,71

214,993

114,434

243,552

370,049


5.4 Расчёт осветительной нагрузки механического цеха

Ремонтно-механический цех состоит из механического отделения, термического отделения, высокочастотного отделения, комнаты мастеров и склада. Выбираем:

механическое отделение. В качестве источника освещения выбираем лампы ДРЛ [1].

Коэффициент мощности cosj1=0,9.

Удельная мощность освещения на единицу площади po1=0,018 кВт/м2,

Площадь F1=393 м2.

термическое отделение. В качестве источника освещения выбираем лампы ДРЛ.

Коэффициент мощности cosj1=0,9.

Удельная мощность освещения на единицу площади po1=0,018 кВт/м2,

Площадь F1=315 м2.

высокочастотное отделение. В качестве источника освещения выбираем лампы ДРЛ.

Коэффициент мощности cosj1=0,9.

Удельная мощность освещения на единицу площади po1=0,018 кВт/м2,

Площадь F1=45 м2.

комната мастеров. В качестве источника освещения выбираем лампы ДРЛ.

Коэффициент мощности cosj1=0,9.

Удельная мощность освещения на единицу площади po1=0,018 кВт/м2,

Площадь F1=39 м2.

склад. В качестве источника освещения выбираем лампы ДРЛ.

Коэффициент мощности cosj1=0,9.

Удельная мощность освещения на единицу площади po1=0,018 кВт/м2,

Площадь F1=72 м2.

Используемая мощность для освещения ремонтно-механического цеха по формулам 2.1, 2.3 и 2.4:

механическое отделение:

P01= 0,018*393=7,074 кВт

tgj1= tg (arcos(0,9))=0,484

Q01= 7,074*0,484=3,411 кВАр

термическое отделение:

P02= 0,018*315=5,670 кВт

tgj2= tg (arcos(0,9))=0,484

Q02= 5,67*0,484=2,744 кВАр

высокочастотное отделение:

P03= 0,018*45=0,81 кВтj3= tg (arcos(0,9))=0,48403= 0,81*0,484=0,392 кВАр

комната мастеров:

P04= 0,018*39=0,702 кВт

tgj4= tg (arcos(0,9))=0,484

Q04= 0,702*0,484=0,340 кВАр

склад отделение:

P05= 0,018*72=1,196 кВтj5= tg (arcos(0,9))=0,48405= 1,296*0,484=0,627 кВАр

Общая мощность на освещение:

P0= P01+ P02+ P03+ P04+ P05=7,074+5,670+0,81+0,702+1,196=14,256 кВт

Q0= Q01+ Q 02+ Q 03+Q 04+ Q 05=3,411+2,744+0,392+0,340+0,627=7,514 кВАр

Аварийное освещение [1]:

Составляет 10-15% от основного.

Pав= 0,15*P0                                                                                                                                            (5.13)

Pав0,15*14,256=2,138 кВт

Qав= 0,15*Q0                                                                                                                                          (5.14)

Qав =0,15*7,514=1,127 кВАр

5.5 Выбор кабелей для ремонтно-механического цеха

Выполняем чертёж плана механического цеха с нанесёнными на него марками кабелей, способа их прокладки, мест установки распределительных пунктов, порядковых номеров приёмников с указанием их мощности.

Выбор проводников цеха выполняем при следующем условии:

Проводники, питающие один приёмник выбираются по номинальному току. Проводники питающие силовые пункты и шинопроводы выбираем по расчётному току, приведённому в таблице №2. (Следует учесть. Что сечение проводника, питающего силовой пункт не должно быть меньше сечения проводника питающего электроприёмник, присоединённый к этому силовому пункту.)

Номинальный ток [1]:

                                                                           (5.15)

По току выбираем сечение проводника. Согласно [16] сечение четвёртой (нулевой) жилы можно занизить.

Для выбранных проводников по заданному сечению определяем удельное активное и реактивное сопротивления проводников. Длину проводников определяем по плану цеха, значения tgj определяем из Таблицы 5.3.

Расчёт потерь напряжения для рассматриваемого проводника:

Потери напряжения [1]:

                                     (5.16)

Относительные потери напряжения [1]:

                                                              (5.17)

Расчёт приведён в Таблице 5.4.

Таблица 5.4. Выбор проводников механического цеха

№ п/п

Длина. м

Pн, кВт

cosj

Iн, А

Iдоп, А

Марка

Сечение, мм2

Rуд, Ом/км

Xуд, Ом/км

Потери напряжения, %

Дополнение

Диаметр трубы, мм

РП-1

14

25

0,65

58,44

85

АПВ

3 (1х35)+1х25

0,89

0,0637

0,227

в трубе

40

РП-2

11

25

0,65

58,44

85

АПВ

3 (1х35)+1х25

0,89

0,0637

0,191

в трубе

40

РП-3

9

25

0,65

58,44

85

АПВ

3 (1х35)+1х25

0,89

0,0637

0,155

в трубе

40

РП-4

7

25

0,65

58,44

85

АПВ

3 (1х35)+1х25

0,89

0,0637

0,120

в трубе

40

РП-CП1

17

88,2

0,63

212,71

280

АПВ

6 (1х70)+2х50

0,443

0,086

0,580

в канале

-

СП1-20

13

17,6

0,65

41,14

55

АПВ

3 (1х16)+1х10

1,94

0,0675

0,327

в трубе

30

СП1-21

8

17,6

0,65

41,14

55

АПВ

3 (1х16)+1х10

1,94

0,0675

0,196

в трубе

30

СП1-22

2

17,6

0,65

41,14

55

АПВ

3 (1х16)+1х10

1,94

0,0675

0,046

в трубе

30

СП1-23

9

10,3

0,65

24,08

39

АПВ

3 (1х10)+1х8

3,1

0,073

0,199

в трубе

25

СП1-24

16

10,3

0,65

24,08

39

АПВ

3 (1х10)+1х8

3,1

0,073

0,366

в трубе

25

СП1-30

20

5,9

0,55

16,30

23

АПВ

4х4

7,24

0,095

0,610

20

СП1-31

24

5,9

0,55

16,30

23

АПВ

4х4

7,24

0,095

0,710

в трубе

20

СП1-33

26

3

0,65

7,01

19

АПВ

4х2,5

12,5

0,117

0,681

в трубе

15

РП-СП2

28

90

0,65

210,38

280

АПВ

6 (1х70)+2х50

0,443

0,086

0,946

в канале

-

СП2-25

7

14,7

0,65

34,36

55

АПВ

3 (1х16)+1х10

1,94

0,0675

0,142

в трубе

30

СП2-26

10

14,7

0,65

34,36

55

АПВ

3 (1х16)+1х10

1,94

0,0675

0,200

в трубе

30

СП2-27

1

14,7

0,65

34,36

55

АПВ

3 (1х16)+1х10

1,94

0,0675

0,030

в трубе

30

СП2-28

6

12,6

0,65

29,45

39

АПВ

3 (1х10)+1х8

3,1

0,073

0,170

в трубе

25

СП2-29

12

12,6

0,65

29,45

39

АПВ

3 (1х10)+1х8

3,1

0,073

0,322

в трубе

25

СП2-32

7

20,7

0,65

48,39

55

АПВ

3 (1х16)+1х10

1,94

0,0675

0,200

в трубе

30

РП-СП3

30

82,7

0,66

190,38

280

АПВ

6 (1х70)+2х50

0,443

0,086

0,927

в канале

-

СП3-15

9

1,1

0,65

2,57

19

АПВ

4х2,5

12,5

0,117

0,090

в трубе

15

СП3-16

4

40

0,65

93,50

140

АПВ

3 (1х70)+1х50

0,443

0,086

0,056

в трубе

70

СП3-17

2

40

0,65

93,50

140

АПВ

3 (1х70)+1х50

0,443

0,086

0,024

в трубе

70

СП3-18

4

0,8

0,8

1,52

19

АПВ

4х2,5

12,5

0,117

0,029

в трубе

15

СП3-19

9

0,8

0,8

1,52

19

АПВ

4х2,5

12,5

0,117

0,060

в трубе

15

РП-СП4

11

107,2

0,65

250,00

340

АПВ

6 (1х95)+2х70

0,326

0,083

0,355

в канале

-

СП4-8

5

30

0,65

70,13

120

АПВ

3 (1х50)+1х35

0,62

0,0625

0,067


50

СП4-9

5

30

0,65

70,13

120

АПВ

3 (1х50)+1х35

0,62

0,0625

0,067

в трубе

50

СП4-10

6

1,1

0,65

2,57

19

АПВ

4х2,5

12,5

0,117

0,058

в трубе

15

СП4-11

15

15

0,65

35,06

55

АПВ

3 (1х16)+1х10

1,94

0,0675

0,312

в трубе

30

СП4-12

12

1,1

0,65

2,57

19

АПВ

4х2,5

12,5

0,117

0,113

в трубе

15

СП4-13

14

15

0,65

35,06

55

АПВ

3 (1х16)+1х10

1,94

0,0675

0,290

в трубе

30

СП4-14

16

15

0,65

35,06

55

АПВ

3 (1х16)+1х10

1,94

0,0675

0,340

в трубе

30

РП-СП5

4

81,1

0,65

189,57

280

АПВ

6 (1х70)+2х50

0,443

0,086

0,118

в канале

-

СП5-5

4

40

0,65

93,50

140

АПВ

3 (1х70)+1х50

0,443

0,086

0,066

в трубе

70

СП5-6

2

40

0,65

93,50

140

АПВ

3 (1х70)+1х50

0,443

0,086

0,024

в трубе

70

СП5-7

5

1,1

0,65

2,57

19

АПВ

4х2,5

12,5

0,117

0,045

в трубе



5.6 Выбор силовых пунктов

В качестве вводного шкафа выберем ШВРАУ 380/16 2 0 П с вводными и секционными автоматами марки ВА57-39 на 630 А [1].

Для ремонтно-механического цеха используем СП ПР11М с вводными автоматами марки ВА57-35 на 260 А. [1] Результаты в Таблице 5.5.

Таблица 5.5. Выбор СП ремонтно-механического цеха

СП

Рн э/п, кВт

Iн э/п, А

Расчётный ток шкафа, А

Номинальный ток шкафа, А

Тип шкафа

СП-1

17,6

41,14

212,71

250

ПР11М-3068-21-УХЛ3 на 8 отходящих выключателей


17,6

41,14





17,6

41,14





10,3

24,08





10,3

24,08





5,9

16,30





5,9

16,30





3

7,01




СП-2

14,7

34,36

210,38

250

ПР11М-3060-21-УХЛ3 на 6 отходящих выключателей


14,7

34,36





14,7

34,36





12,6

29,45





12,6

29,45





20,7

48,39




СП-3

1,1

2,57

190,38

250

ПР11М-3060-21-УХЛ3 на 6 отходящих выключателей


40

93,50





40

93,50





0,8

1,52





0,8

1,52




СП-4

30

70,13

250,00

250

ПР11М-3068-21-УХЛ3 на 8 отходящих выключателей


30

70,13





1,1

2,57





15

35,06





1,1

2,57





15

35,06





15

35,06




СП-5

40

93,50

189,57

250

ПР11М-3060-21-УХЛ3 на 6 отходящих выключателей


40

93,50





1,1

2,57




.7 Выбор автоматических выключателей

Для защиты электроприёмников используем автоматы серии ВА57-25 и ВА57-35 оснащенные тепловыми и электромагнитным расцепителями [1].

Выбор осуществляется с учётом токов возможной перегрузки и пусковых токов. В основании время-токовой характеристики автоматов принимается решение о токовой уставке аппарата.

Результаты в Таблице 5.6.

Таблица 5.6. выбор автоматических выключателей механического цеха

№ЭП

Рн, кВт

Iн, А

Iн*1,5

Iп, А

Iн. авт., А

Iуст. авт., А

Серия

1

25

58,436

87,654

146,090

250,000

100

ВА57-35

2

25

58,436

87,654

146,090

250,000

100

ВА57-35

3

25

58,436

87,654

146,090

250,000

100

ВА57-35

4

25

58,436

87,654

146,090

250,000

100

ВА57-35

5

40

93,498

140,247

233,745

250,000

160

ВА57-35

6

40

93,498

140,247

233,745

250,000

160

ВА57-35

7

1,1

2,571

3,857

6,428

25,000

8

ВА57-25

8

30

70,123

105,185

175,309

250,000

120

ВА57-35

9

30

70,123

105,185

175,309

250,000

120

ВА57-35

10

1,1

2,571

3,857

6,428

25,000

8

ВА57-25

11

15

35,062

52,593

87,654

250,000

63

ВА57-35

12

1,1

2,571

3,857

6,428

25,000

8

ВА57-25

13

15

35,062

52,593

87,654

250,000

63

ВА57-35

14

15

35,062

52,593

87,654

250,000

63

ВА57-35

15

1,1

2,571

3,857

6,428

25,000

8

ВА57-25

16

40

93,498

140,247

233,745

250,000

160

ВА57-35

17

40

93,498

140,247

233,745

250,000

160

ВА57-35

18

0,8

1,519

2,279

3,798

25,000

8

ВА57-25

19

0,8

1,519

2,279

3,798

25,000

8

ВА57-25

20

17,6

41,139

61,709

102,848

250,000

63

ВА57-35

21

17,6

41,139

61,709

102,848

250,000

63

ВА57-35

22

17,6

41,139

61,709

102,848

250,000

63

ВА57-35

23

10,3

24,076

36,114

60,189

25,000

25

ВА57-25

24

10,3

24,076

36,114

60,189

25,000

25

ВА57-25

25

14,7

34,360

51,541

85,901

250,000

63

ВА57-35

26

14,7

34,360

51,541

85,901

250,000

63

ВА57-35

27

14,7

34,360

51,541

85,901

250,000

63

ВА57-35

28

12,6

29,452

44,178

73,630

250,000

63

ВА57-35

29

12,6

29,452

44,178

73,630

250,000

63

ВА57-35

30

5,9

16,298

24,447

40,746

25,000

25

ВА57-25

31

5,9

16,298

24,447

40,746

25,000

25

ВА57-25

32

48,385

72,578

120,963

250,000

100

ВА57-35

33

3

7,012

10,519

17,531

25,000

12,5

ВА57-25


5.8 Выбор компенсирующих устройств

Т.к. для выбора конденсаторных батарей с точки зрения экономической целесообразности невозможно, из-за недостаточности данных, то выбор будем производить по расчётной реактивной мощности. Установки будут располагаться на низкой стороне ТП, питающей цех (две одинаковых установки на разных секциях).

Наибольшая суммарная реактивная нагрузка [1]:

Qм1 = Кнс, в * Qр                                                                                                                                  (5.18)

Qм1 = 0,95 * 114,434 = 108,712

где, Кнс, в = 0,95 - для нефтеперерабатывающей отрасли.

На основании этого выбираем две комплектные регулируемые конденсаторные установки УКМ-58-0,4-133-33,3 - УЗ мощностью 133 кВАр.

5.9 Выбор числа и мощности питающих трансформаторов

В связи с тем, что ремонтно-механический цех находится в некотором удалении от расположенных рядом административного корпуса, столовой, цехе установки каталитического крекинга и ЦЗП, имеющих сравнительно небольшую расчётную нагрузку, а потому питающихся от одной, общей КТП, установленной в цехе установки каталитического крекинга. Поэтому ремонтно-механический цех не имеет собственной КТП.

Заключение

В дипломном проекте произведен расчет показателей надежности схем электроснабжения нефтеперерабатывающего завода. На основании расчетов доказано, что разработанная схема электроснабжения, является наиболее приемлемой с точки зрения надежности и финансовых затрат.

Рассчитаны токи короткого замыкания в системе электроснабжения завода, на основании которых проверено электрооборудование и рассчитаны уставки срабатывания релейной защиты.

Произведена проверка вакуумных выключателей, на основании которой принят к установке вакуумный выключатель ВВ/ TEL производства «Таврида Электрик». На основании сравнения современных устройств релейной защиты и автоматики принят к установке блок цифровой защиты SEPAM 1000+ производства SCHNEIDER ELECTRIC.

Также была разработана внутренняя схема электроснабжения ремонтно-механического цеха.


Список литературы

1. Фёдоров А.А., Старкова Л.Е. Учебное пособие для курсового и дипломного проектирования по электроснабжению промышленных предприятий. Учеб. пособие для вузов. - М.: Энергоатомиздат, 1987. - 368 с.

. Томилев Ю.Ф., Никулин Л.Г., Селедков М.С. Электроснабжение промышленных предприятий: Методические указания к курсовому проектированию. - Архангельск; РИО АЛТИ, 1986. - 36 с.

. Большман Я.М., Крупович В.И., Самовер М.Л. Справочник по проектированию электроснабжения, линий электропередач и сетей. - 2-е изд., перераб. и доп. - М.: Энергия, 1975. - 696 с.

. Князевский Б.А., Липкин Б.Ю. Электроснабжение промышленных предприятий: Учебник для вузов. - 3-е изд., перераб. и доп. - М.: Высш. шк., 1986. - 400 с.

. Голубев М.Л. Расчёт токов короткого замыкания в электросетях 0,4-35 кВ. - 2-е изд., перераб. и доп. - М.: Энергия, 1980. - 88 с.

. Фёдоров А.А. Каменева В.В. Основы электроснабжения промышленных предприятий. М.: Энергия, 1979.

. Барсуков А.Н. Федоров А.А. Справочник по электроснабжению и электрооборудованию. М.: Энергоатомиздат, 1987.

. Электротехнический справочник. В 3 т./ Под общ. ред. И.Н. Орлова и др. - 7-е изд., испр. и доп. - М.:Энергоатомиздат, 1985

. Неклепаев Б.Н., Крючков И.П. Электрическая часть электростанций и подстанций: Справочные материалы для курсового и дипломного проектирования: Учеб. пособие для вузов. - 4-е изд., перераб. и доп. - М.: Энергоатомиздат, 1989. - 608 с.

. Федоров А.А. Сербиновский Г.В. Справочник по электроснабжению промышленных предприятий. М.: Энергия, 1973.

. Усов С.В. Электрическая часть электростанций: Учебник для вузов Л.: Энергатомиздат, 1987 г.

. Гук Ю.Б., Кантан В.В., Петрова С.С. Проектирование электрической части станций и подстанций: Учеб. пособие для вузов. - Л.: Энергоатомиздат, 1985. - 312 с.

. Андреев В.А. Релейная защита, автоматика и телемеханика в системах электроснабжения: Учебник для студентов вузов спец. «Электроснабжение промышленных предприятий, городов, и сельского хозяйства». - 2-е изд., перераб. и доп. - М.: Высш. шк., 1985. - 391 с.

. Рожкова Л.Д., Козулин В.С. Электрооборудование станций и подстанций: Учебник для техникумов. - 3-е изд., перераб. и доп. - М.: Энергоатомиздат, 1987. - 648 с.

. Байтер И.И., Богданова Н.А. Релейная защита и автоматика питающих элементов собственных нужд тепловых электростанций. - 3-е изд., перераб. и доп. - М.: Энергоатомиздат, 1989. - 112 с.

. Правила устройства электроустановок. - 6-е изд., перераб. и доп. с изм. - М.: Министерство топлива и энергетики, 1998.

. Большман Я.М., Крупович В.И., Самовер М.Л. Справочник по проектированию электроснабжения, линий электропередач и сетей. - 2-е изд., перераб. и доп. - М.: Энергия, 1975. - 696 с.

. Байтер И.И. Защита и АВР электродвигателей собственных нужд, - М.: Энергия, 1972. - 96 с.

. Защита электрических сетей: Каталог / SEPAM 1000+ MERLIN GERIN, серия 20/40. - Schneider Electric. 2002. - 44 c.

Похожие работы на - Проект электроснабжения нефтеперерабатывающего завода

 

Не нашли материал для своей работы?
Поможем написать уникальную работу
Без плагиата!
Без нейросетей!