Реконструкция узловой участковой станции

  • Вид работы:
    Дипломная (ВКР)
  • Предмет:
    Транспорт, грузоперевозки
  • Язык:
    Русский
    ,
    Формат файла:
    MS Word
    297,91 kb
  • Опубликовано:
    2012-02-19
Вы можете узнать стоимость помощи в написании студенческой работы.
Помощь в написании работы, которую точно примут!

Реконструкция узловой участковой станции

Московский Государственный Университет Путей Сообщения

(МИИТ)

Кафедра «Железнодорожные станции и узлы»








Курсовой проект

По дисциплине

«Железнодорожные станции и узлы»

Тема: «Реконструкция узловой участковой станции»

Выполнил

Студент группы УПП-411

Капунов Кирилл Александрович   Принял

Доцент кафедры «ЖДСУ»

Сычёв Евгений Иванович

Москва - 2009г.

Содержание

Введение

.        Анализ заданных размеров движения и выбор схемы примыкания подхода В-Н. Диаграмма поездопотоков

.        Выбор типа участковой станции и разработка вариантов немасштабных схем ее переустройства

3.       Расчёт основных технических устройств станции

3.1.    Определение количества главных и приёмо-отправочных путей в парках станции

3.1.1. Определение количества главных и пассажирских путей на станции

.1.2.   Определение количества приемо-отправочных путей в парках участковой станции

.2.      Определение числа сортировочных и вытяжных путей

3.3.    Расчет устройств локомотивного хозяйства

3.3.1. Расчет необходимого числа стойл

.3.2.   Расчёт числа мест для экипировки и технического обслуживания ТО2

3.3.3. Определение длины путей для стоянки локомотивов в ожидании работы и в резерве

.3.4.   Определение числа резервуаров для хранения дизельного топлива

.3.5.   Определение вместимости складов сырого и сухого песка

.4.      Расчет устройств грузового района

3.4.1. Расчёт устройств грузового района для грузов по прибытии

.4.2.   Расчёт устройств грузового района для грузов по отправлению

.        Проектирование путепроводной развязки

Заключение

Список использованной литературы

Введение

Целью стратегии развития железнодорожного транспорта Российской Федерации является транспортное обеспечение ускоренного экономического роста в России на основе эффективного развития и модернизации железнодорожного транспорта, гарантирующего единство экономического пространства Российской Федерации и реализацию конституционных прав граждан на свободу передвижения и достижение глобальной конкурентоспособности транспортной системы.

В основе стратегии развития железнодорожного транспорта лежат следующие принципы:

Ø железнодорожный транспорт является основой политического, социального, экономического и культурного единства России;

Ø  эффективно функционирующий железнодорожный транспорт является базовым элементом обеспечения конкурентоспособности страны;

Ø  опережающее развитие и модернизация железнодорожной сети является инфраструктурной основой социально-экономического роста России;

Ø  государство несет конституционную ответственность за гарантированное обеспечение свободы товародвижения и прав граждан на свободное передвижение;

Ø  эффективное сочетание государственного регулирования и рыночных механизмов саморегулирования.

Стратегия развития железнодорожного транспорта направлена на решение следующих задач:

·    создание условий для реализации основных геополитических и геоэкономических целей Российского государства;

·        формирование инфраструктурного базиса для социально-экономического роста Российской экономики;

·        обеспечение транспортной доступности точек ресурсного обеспечения и промышленного роста, а также мест работы, отдыха, лечения, образования, национальных культурных ценностей - для каждого гражданина России;

·        приведение уровня качества и безопасности перевозок, в соответствие с требованиями населения и экономики и лучшими мировыми стандартами;

·        создание достаточных провозных способностей и необходимых резервов для полного удовлетворения спроса на перевозки при конъюнктурных колебаниях;

·        глубокая интеграция в мировую транспортную систему;

·        поддержание высокого уровня готовности к деятельности в чрезвычайных ситуациях, соответствующего требованиям обороноспособности и безопасности страны;

·        повышение инвестиционной привлекательности железнодорожного транспорта;

·        сохранение социальной стабильности в отрасли и высокое качество жизни железнодорожников как важной составляющей российского общества, приоритетность молодежной политики, эффективная социальная поддержка ветеранов железнодорожной отрасли;

·        внедрение высоких стандартов организации труда, его максимальной производительности и достижения на этой основе устойчивого обеспечения перевозочного процесса квалифицированными кадрами.

Этапы стратегического развития железнодорожного транспорта России 2008 - 2015 годы: инновационный этап развития железнодорожного транспорта.

v Увеличение объемов инвестиций в 2010 году в 2 раза и в 2015 году не менее чем в 3 раза к уровню 2006 года. Ускоренная модернизация существующей материально-технической базы отрасли: полная замена подвижного состава и технических средств с истекшими сроками службы на новую технику с высокой производительностью и низкой ремонтоемкостью; ликвидация барьерных мест с ограничениями провозных способностей и создание их технологических резервов; повышение нижних ограничений скоростей движения до 60 км/час, увеличение маршрутных скоростей в пассажирском сообщении на 15 км/час. Освоение новых продуктовых и географических рынков транспортных услуг. Внедрение инновационных технологий в области эксплуатации и ремонта объектов железнодорожного транспорта.

v  Начало финансирования инвестиционных проектов за счет бюджетных средств и средств Инвестиционного фонда, активное применение механизмов государственно-частного партнерства (ГЧП) и сокращение перечня имущества, ограниченного в обороте, для финансирования инвестиций. Первоочередные проекты: строительство дополнительных главных путей на 3,2 тыс. км действующих железнодорожных линий, организация скоростного пассажирского движения на участке Санкт-Петербург - Хельсинки, развитие подходов к портам Ванино, Сов. Гавань и др. Строительство высокоскоростных линий. Активизация проектно-изыскательских работ для строительства новых железнодорожных линий.

v  Государственное тарифное регулирование услуг железнодорожного транспорта гармонизируется с процессами поэтапного перехода к либерализации ценообразования в других естественных монополиях.

путепроводный развязка локомотив станция

1.      
Анализ заданных размеров движения и выбор схемы примыкания подхода В-Н. Диаграмма поездопотоков

Потребная мощность участковой станции зависит от количества поездов различных категорий, прибывающих и отправляющихся с данной станции. Для определения количества грузовых поездов сначала по таблице 2 задания подводятся итоговые данные вагонооборота станции на расчётный срок, которые заносятся в таблицу 1.1. В таблице выделены участки до ближайших станций формирования участковых и сборных поездов подходов А, Б, В.

Таблица 1.1

Вагонооборот станции Н (вагонов в сутки) на расчётный срок

на

А

Б

В

Н

Итого

ВСЕГО

от

А

А-Н

Б

Б-Н

В

В-Н

Б/П

С/П

б/п

с/п


Станция А

-

-

560 15

30

400

15

-

15

960 15

60

1020 15

Участок А-Н

-

-

15 15

-

15

-

-

-

-

30 15

30 15

Станция Б

610

25

-

-

300

30

-

10

910

65

975

Участок Б-Н

30

-

-

-

20

-

-

-

-

50

50

Станция В

370

20

320 5

20

-

-

-

15

690 5

55

745 5

Участок В-Н

15

-

15 12

-

-

-

-

3

-

33 12

33 12

Станция Н, с/п

10

-

15 3

-

15

-

-

-

-

40 3

40 3

Итого

б/п

980

-

880 20

-

700


-

-

2560 20

-

-


с/п

55

45

45 30

50

50

45

-

43

-

333 30

-

ВСЕГО

1035

45

925 50

50

750

45

-

43

-

-

2893 50


Для определения следования порожних вагонов составляется вспомогательная таблица 1.2. Расчёт производится из условия равенства вагонопотоков в обоих направлениях.

Таблица 1.2 Расчёт порожних вагонопотоков (вагонов в сутки)

ИТОГО ВАГОНОВ  НАПРАВЛЕНИЕ

Гружёных

Порожних


от

на

от

на

А

1020

1035

15

-

А-Н

30

45

15

-

Б

975

925

-

50

Б-Н

50

50

-

-

В

745

750

5

-

В-Н

33

45

12

-

Н

40

43

3

-

ИТОГО

2893

2893

50

50


Из таблицы 1.2. видно, что по станциям А и В существует недостаток порожних вагонов, а на станции Б и прилегающих к станции Н участках их избыток.

На основе данных таблицы 1.2. составляется схема следования порожних вагонопотоков, которая приведена на рисунке 1.1. При этом следование встречных порожних вагонопотоков не допускается.

Рис 1.1 Схема следования порожних вагонопотоков

По данным схемы следования порожняка необходимо дополнить таблицу 1.1, где в знаменателе указывается порожний вагонопоток.

По дополненным данным таблицы 1.1. определяются размеры транзитных поездопотоков с переработкой и без переработки. Полученные результаты заносятся в таблицы 1.3 и 1.4.

Таблица 1.3 Размеры транзитного грузового движения без переработки (поездов в сутки)

                    на от

А

Б

В

ИТОГО

А

-

10

7

17

Б

10

-

5

15

В

6

6

-

12

ИТОГО

16

16

12

44


Таблица 1.4 Размеры движения участковых и сборных поездов

Направление

на станцию Н

от станции Н

Категория поезда


вагонов

поездов

вагонов

поездов


А

60

1

55

1

Участковый

А-Н

30 15

1

45

1

Сборный

Б

65

1*

45 30

1

Участковый

Б-Н

50

1

50

1

Сборный

В

55

1

50

1

Участковый

В-Н

33 12

1

45

1

Сборный

ИТОГО

293 27

6

290 30

6

_

Примечание:

* 5 вагонов с подхода Б включены в сборный поезд, обслуживающий участок Б - Н

Таблицы 1.3. и 1.4. дают полное представление о размерах предстоящей работы станции по пропуску транзитных и переработке участковых и сборных поездов. Из таблицы 1.3 видно, что на станции Н ежесуточно обрабатывается 44 транзитных поездов. Данные таблицы 1.4 показывают, что на участковую станцию в переработку поступает 6 поездов, станция формирует 3 участковых и 3 сборных поезда.

Выбор схемы примыкания подхода В-Н

Выбор места и направления примыкания нового подхода В-Н определяют по преимущественному направлению вагонопотоков с новой линии и на эту линию так, чтобы транзитные грузовые и пассажирские поезда проходили станцию, не меняя направления движения, или чтобы число поездов, меняющих направление, было наименьшим. В проекте необходимо определить количество угловых грузовых и пассажирских поездов в двух схемах примыкания этого подхода, представленных на рисунке 1.2. Из приведенных на нём схем видно, что в случае примыкания новой линии по варианту 1 число поездов, меняющих направление движения, больше, чем во втором варианте на 5. Таким образом, лучшим вариантом примыкания нового подхода В-Н следует признать примыкание с нечётного направления по варианту №2.

Вариант №1                                                      Вариант №2

  ∑Nугл= 22 поездов                                         ∑Nугл = 17 поездов

Условные обозначения:

- транзитные грузовые;

пассажирские поезда;

Рис 1.2 Схема для определения числа угловых грузовых и пассажирских поездов при разных вариантах примыкания нового подхода В Н

Схема поездопотоков грузового и пассажирского движения для переустраиваемой участковой станции приведена на рисунке 1.3.

Рис. 1.3. Схема поездопотоков

2.      
Выбор типа участковой станции и разработка вариантов немасштабных схем ее переустройства

На сети железных дорог имеется большое число участковых станций с различным взаимным расположением их основных устройств. В процессе эксплуатации таких станций выявились их достоинства и недостатки, а также возможности их дальнейшего развития. В настоящее время выработаны основные требования по рациональному размещению устройств участковых станций.

При переустройстве участковой станции необходимо учитывать следующие требования:

-        минимальное число пересечений маршрутов следования поездов, локомотивов, передач и изоляцию маневровой работы от операций по пропуску поездов;

         наименьшие пробеги подвижного состава по территории станции;

         удобное взаимное расположение и возможность дальнейшего развития технических устройств станции;

         экономичность в строительстве и эксплуатации;

         обеспечение максимальных удобств пассажирам при выполнении операций с пассажирскими поездами.

Анализируя размеры и характер пассажирского движения на расчетный срок, устанавливается необходимость развития пассажирских устройств. При этом предусматривается:

-        пропуск дальних сквозных поездов в основном по главным путям, для чего у каждого главного пути располагается пассажирская платформа;

-        для пропуска пассажирских поездов в каждом направлении, кроме главных, еще по одному пассажирскому пути (по заданию через станцию проходят 39 пар пассажирских поездов и 29 пар пригородных, поэтому возможны периоды сгущенного прибытия поездов). На существующей станции для приема и отправления пассажирских и пригородных поездов имеются только 3 пути, поэтому в перронном парке потребуется увеличение их количества;

         для отстоя конечных пассажирских поездов и пригородных составов требуется предусмотреть парк отстоя. Он может располагаться последовательно перронному парку или на территории локомотивного хозяйства.

Таким образом, на станции необходимо запроектировать дополнительно пассажирские пути и парк отстоя пассажирских и пригородных составов.

Подход В-Н остается однопутными. Так как существуют двухпутные подходы А-Н и Б - Н.

При переустройстве существующей линейной участковой станции в узловую требуется уложить дополнительно 1 пассажирский приемо-отправочный путь (причем существующее пассажирское здание остается в эксплуатации), построить две пассажирские платформы, отсыпать грунт для сортировочной горки и перестроить горочную горловину, увеличить количество путей в сортировочном парке (так как часть существующих сортировочных путей станут использоваться как приемо-отправочные), уложить парк отстоя пассажирских и пригородных составов, удлинить все приемо-отправочные, сортировочные пути и вытяжку, которая используется для надвига составов на горку. Чётная горловина должна полностью переукладываться для обеспечения удлинения путей, нечетная - подвергаться частичной реконструкции. Нормативная документация по проектированию технических станций рекомендует три основных типа участковых станций, отличающихся взаимным расположением парков: продольный, полупродольный и поперечный. Для окончательного выбора типа участковой станции разработаны две конкурентоспособные немасштабные схемы переустройства исходной участковой станции. Они приведены на рис. 3.1. (вариант 1) и рис. 3.2. (вариант 2). При разработке двух немасштабных схем развития исходной участковой станции учитывалось, что: схема станции является наиболее ёмким показателем, концентрирующим в себе содержание прошлого проекта, текущего функционирования и перспективных возможностей станции. Показатель «схема» поддается качественной оценке и, являясь исходным для других важных количественных и качественных показателей, требует большой ответственности в процессе выбора при проектировании новой или развитии существующей участковой станции.

Вариант 1 предусматривает переустройство станции по поперечному типу. Преимуществами станций этого типа, по сравнению со станциями продольного типа, являются:

·        компактное расположение и хорошая видимость основных устройств;

·        концентрация в одном районе всех операций по пропуску поездов;

·        более короткая станционная площадка;

·        сосредоточение парков в одном месте, что дает возможность обойтись меньшим штатом работников службы движения и вагонной службы;

·        увеличивается степень безопасности при обслуживании пассажиров, так как по пассажирским путям грузовые поезда не пропускаются.

Однако существенным недостатком этой схемы является то, что в чётной горловине имеются враждебные пересечения маршрутов прибытия и отправления: при приеме пассажирского поезда с подхода А нельзя одновременно отправить на этот же подход из парка ПО1 грузовой поезд; при уборке или подаче поездного локомотива из локомотивного депо возникает враждебность в маршруте отправления поезда из парка ПО2 на направление Б.

Имеется дополнительный пробег по территории станции сменяемых поездных локомотивов нечётных поездов, равный примерно удвоенной длине приемоотправочных путей. Также требуется дополнительная укладка ходового пути для пропуска этих поездных локомотивов в локомотивное депо.

Рис 3.1 Немасштабная схема переустройства исходной станции в узловую участковую станцию поперечного типа

Рис 3.2. Немасштабная схема переустройства исходной станции в узловую участковую станцию продольного типа

Вариант 2 предусматривает переустройство станции по продольному типу. Преимуществами станций этого типа являются:

·        при том же путевом развитии и техническом оснащении пропускная способность станции больше, чем у станции поперечного типа;

·        отсутствие свойственных поперечной схеме пересечения маршрутов грузовых и пассажирских поездов;

·        маршруты приема и отправления транзитных грузовых поездов не враждебны маршрутам следования пассажирских поездов;

·        обеспечивается наименьший пробег по территории станции сменяемых поездных локомотивов;

·        отпадает необходимость в укладке ходового пути;

·        имеется непосредственный выход с путей нечётного транзитного парка на пути сортировочного парка;

·        легче размещаются подъездные пути, погрузочные площадки и другие сооружения станции;

·        при большой местной работе имеется возможность устройства рядом со смещенным транзитным парком второго сортировочного парка.

Недостатками этой схемы являются:

·        необходимость большей длины станционной площадки по сравнению с участковой станцией поперечного типа;

·        маршруты уборки и подачи поездных локомотивов к нечётным поездам и поездам, имеющим перемену направления следования, пересекают главные пути;

·        требуется больший штат для обслуживания далеко расположенных друг от друга парков или проход работников от поезда к поезду на расстояние более 1 км.

В обоих вариантах предусматривается:

-        возможность одновременного приема поездов со всех трех подходов;

-        изоляция маневровой работы по расформированию и формированию, уборке и выставке составов от маршрутов приема и отправления поездов;

         непосредственный выход с вытяжных путей на любой путь, примыкающий к горловине станции;

         возможность отправления сборных и участковых поездов с части путей сортировочного парка на направления А, Б и В;

         организация смены поездных локомотивов параллельно поездной и маневровой работе или с наименьшим пересечением поездных маршрутов;

         обеспечение взаимозаменяемости путей в парках станции с целью повышения надежности, смягчения неравномерности и затруднений, возникающих из-за отказа технических средств на станции и прилегающих участках.

Учитывая приведенные соображения, исходную схему линейной участковой станции поперечного типа будем переустраивать в схему с продольным расположением парков ПО1 и ПО2.

.       
Расчёт основных технических устройств станции

.1.      Определение количества главных и приёмо-отправочных путей в парках станции

.1.1.   Определение количества главных и пассажирских путей на станции

Количество главных путей на станции должно обеспечивать возможность одновременного приёма и отправления поездов всех направлений. Так как к существующей линии А-Б примыкает однопутная линия В-Н, то на станции должно быть три главных пути. Приёмо-отправочные парки должны иметь параллельные входы и выходы на главные пути всех примыкающих направлений.

Количество дополнительных путей ( кроме главных ), предназначенных для приёма и отправления пассажирских поездов, зависит от размеров и характера пассажирского движения.

Пропуск дальних поездов предусматривается в основном по главным путям. Поэтому у каждого главного пути необходимо запроектировать платформу. Между главными путями существующей линии А-Б платформа не сооружается, так как при пропуске по ним скоростных поездов без остановки ухудшаются условия безопасности пассажиров и искривляется главный путь.

Так как на станции происходит оборот одного дальнего пассажирского поезда и семи пригородных поездов, а также имеют место периоды сгущённого прибытия поездов, то для пропуска пассажирских поездов проектируется дополнительно один путь у пассажирского здания и один путь выделяется из существующего парка ПО.

Пассажирские пути для приёма и отправления дальних, местных и пригородных поездов - взаимозаменяемые.

Движение пригородных поездов через данную станцию происходит по маятниковому графику, поэтому число пассажирских путей (включая главные) является достаточным.

Кроме того, принимая во внимание наличие конечного дальнего и пригородного пассажирского движения необходимо предусмотреть парк отстоя для этих поездов, состоящий из четырёх путей, проектируемый на территории локомотивного хозяйства.

.1.2.   Определение количества приемо-отправочных путей в парках участковой станции

Количество приемо-отправочных путей для грузовых поездов в транзитных парках определяется аналитическим методом по формуле

                                                                                        (3.1)

где среднее время занятия пути одним поездом с учетом межоперационных простоев, мин;

 - расчетный интервал поступления поездов в транзитный парк, мин;

- дополнительный путь, предусматриваемый в транзитном парке, который учитывает необходимость обгона транзитных грузовых поездов пассажирскими и ускоренными поездами.

Расчетный интервал поступления поездов в транзитный парк рассчитывается исходя из потребной пропускной способности линии. Если размеры движения на линии  , то за расчетный принимается минимально допустимый по устройствам СЦБ интервал движения поездов - .

Потребная пропускная способность линии определяется по формуле:

          (3.2)

где  - число транзитных поездов соответствующих направлений.

Для участков: А-Н - поездов; Б-Н -поездов; В-Н - поездов;

 - число участковых поездов.

Для участков: А-Н - поезд; Б-Н - поезд; В-Н - поезд;

 - количество сборных поездов.

Для участков: А-Н - поезд; Б-Н - поезд; В-Н - поезд;

 - коэффициент съема для сборных поездов ();

- количество дальних пассажирских поездов (по данным задания).

Для участков: А-Н - поездов; Б-Н -поездов; В-Н -поездов;

- коэффициент съема для дальних пассажирских поездов ();

 - количество пригородных поездов.

Для участков: А-Н -; Б-Н -поездов; В-Н -поездов;

- коэффициент съема для пригородных поездов();

- количество хозяйственных поездов (принято по одному для каждого направления);

- коэффициент резерва пропускной способности линии, для двухпутной линии - 0,15, для однопутной линии - 0,20.

пары поездов / сутки;

 пар поездов / сутки; пар поездов / сутки.

Максимальная пропускная способность линии с учетом резерва рассчитывается по формуле:

                                                                       (3.3)

Где - продолжительность технологического окна в графике движения поездов для однопутной линии - 60 мин, для двухпутной линии - 120 мин;

 - коэффициент надежности технических средств (для двухпутной и однопутной линии принимается равным =0.97) .

- период графика движения поездов. Для участка В-Н - 36 мин, для участков А-Н и Б-Н - 10 мин.

Как отмечалось ранее, в связи с падением объёма перевозок по участку А-Н, двухпутная линия этого участка переустраивается в однопутную с двухпутными вставками; линии Б-Н, В-Н - однопутные. Максимальная пропускная способность линий составит:

 пары поездов / сутки;

 пары поездов / сутки;

 пар поездов / сутки.

Степень заполнения пропускной способности линий определяется по формуле


где  - потребная пропускная способность линии без учёта коэффициента резерва;

 - максимальная пропускная способность линии.

 ,, .

Средний интервал прибытия поездов определяется по формуле

, мин                                                                             (3.4)

мин, мин,         мин.

Расчетный интервал определяется по формуле:

, мин                                                                      (3.5)

где  - минимальный интервал прибытия поездов в транзитный парк ();

мин,

мин,

мин.

Среднее время занятия пути транзитными грузовыми поездами определяется по формуле

, мин                                             (3.6)

где  - время занятия маршрута при приеме поезда в транзитный парк, от момента открытия входного сигнала (без задержки на перегоне) до прибытия ()

- среднее время выполнения операций с транзитными поездами без отцепки поездного локомотива - 20 мин, а с отцепкой - 30 мин;

 - среднее время ожидания начала выполнения технических операций. При отсутствии смены локомотива ; при смене поездного локомотива -15 мин.

 - среднее время ожидания нитки графика ();

 - время занятия маршрута при отправлении поезда со станции ().

Для поездов, отправляющихся на А-Н: ;

для поездов, отправляющихся на Б-Н: ;

для поездов, отправляющихся на В-Н: .

Так как в парках ПО1 и ПО2 поступающие транзитные грузовые поезда простаивают разное время (60 и 73 мин) из-за следования на перегоны с разным техническим оснащением, то для дальнейших расчетов определяется средневзвешенное время занятия пути одним поездом по формуле

, мин                                                                             (3.7)

Для парка ПО1: мин;

для парка ПО2: мин.

Для парка ПО3, обслуживающего только конечные поезда (поступающие в расформирование и сформированные) число путей определяется отдельно по суммарной их загрузке в расчетный период интенсивного движения поездов продолжительностью 120 мин. Количество поездов, перерабатываемых в период сгущения, в связи с удобством организации работы участка и особенно организации погрузочно-разгрузочных работ на промежуточных станциях в дневное время принимается равным 30% от общего числа перерабатываемых поездов:

                                                                 (3.8)

где - количество поездов, прибывших в расформирование в период сгущения ( поезда);

- количество поездов, сформированных за тот же период ( поезда);

 - среднее время занятия пути участковыми и сборными поездами по прибытию ();

 - среднее время занятия пути участковыми и сборными поездами по отправлению ();

 - расчетный период интенсивного движения поездов ().

.

Расчёт числа путей в транзитных парках ПО1 и ПО2 приведен в таблице 3.1.

Как видно из таблицы 3.1 расчётное число путей в транзитных парках ПО1 и ПО2 соответствует требованиям СТН Ц-01-95 [8].

Таблица 3.1

Сводные данные расчёта числа путей в транзитных парках

Исходные данные и элементы расчета

Обозначение или формула расчета

ПО1

ПО2





с «Б»

с «В»

с «А»

1

Число грузовых поездов

Nгр

15

12

17

2

Потребная пропускная способность линии

593468




3

Максимальная пропускная способность линии с учетом надежности технических средств

13437134




4

Степень заполнения пропускной способности линии

0,370,780,43




5

Средний интервал прибытия поездов в парк, мин

254322




6

Расчетный интервал прибытия поездов в парк, мин

184016




8

Средневзвешенный интервал поступления поездов в парк, мин

12,4-




7

Средневзвешенное время занятия пути одним поездом, мин

6566




9

Расчётное число путей

6,245,13




10

Потребность по СТН Ц-01-95

-

5 - 6

3 -4


11

Принятое число путей

-

6

3



3.2.    Определение числа сортировочных и вытяжных путей

Число сортировочных путей на участковых станциях зависит от количества назначений согласно плану формирования поездов и их мощности, от объема и характера местной работы и количества пунктов погрузки-выгрузки грузов на станции, системы организации развоза местного груза на прилегающие участки и других местных особенностей.

Участковая станция может формировать участковые, сборные, сборно-участковые, вывозные, передаточные поезда и порожние маршруты. Для каждого из таких назначений могут предусматриваться сортировочные пути; причём, если какое-то назначение имеет мощность более 200 вагонов в сутки, то на это назначение выделяют два пути.

На каждое примыкающее направление выделяются, как правило, два пути, по одному для сборных и участковых поездов с полезной длиной, равной длине приёмо-отправочных путей.

На станции предусматривается 1 путь для формирования порожних маршрутов.

Кроме того, в сортировочном парке необходимо предусмотреть путь для постановки вагонов с опасными грузами со сквозным выходом на главные пути в обоих направлениях, отсевной для неисправных, бездокументных и других вагонов.

Количество сортировочных путей для организации местной работы станции зависит от числа пунктов погрузки-выгрузки на станции, объема работы каждого из них, места их расположения, способа обслуживания подъездных путей и выбора места, где наиболее целесообразно производить работу по подборке вагонов - непосредственно у грузовых фронтов или в сортировочном парке. Если число местных вагонов, прибывших на станцию, не превышает 30, то рекомендуется выделять для них один путь. При больших потоках местного груза число путей для местной работы в сортировочном парке должно быть, как правило, равно числу маневровых районов, где сосредотачиваются пункты погрузки-выгрузки. На данной станции можно выделить два маневровых района: грузовой район с суточным вагонопотоком 17 вагонов, и подъездной путь с суточным вагонопотоком 26 вагонов. В связи с этим в сортировочном парке выделяются ещё три пути. Результаты определения числа сортировочных путей приведены в таблице 3.4.

Таблица 3.4

Расчет числа путей в сортировочном парке участковой станции

Назначение путей

Вагонопоток

Число путей

Участковые на А

55

1

Сборные на А

45

1

Участковые на Б

45/30

1

Сборные на Б

50

1

Участковые на В

50

1

Сборные на В

45

1

Для вагонов с опасными грузами

-

1

Отсевной для неисправных и без документных вагонов

-

1

Для вагонов ГР

17

1

Для вагонов ПП

26

1

Всего


10


По данным, приведенным в таблице 3.4 видно, что в сортировочном парке станции необходимо запроектировать 10 путей.

Число вытяжных путей на проектируемой участковой станции принято равным 2-по одному в каждой горловине станции.

.3.      Расчет устройств локомотивного хозяйства

Комплекс устройств локомотивного хозяйства, размещаемый на участковой станции, зависит от роли станции в системе тягового обслуживания на направлениях А-Н, Б-Н и В-Н.

По заданию депо станции Н - основное для участков В - Н. Участковые станции с основным депо имеют:

·        цеха для текущих ремонтов ТР3, ТР2, ТР1 и технического обслуживания ТО3, мастерские и административно-бытовые помещения;

·        экипировочные устройства на открытых путях или в закрытых стойлах с цехом технического обслуживания ТО2, с мастерскими, устройствами для обмывки, обдувки и санитарной обработки локомотивов, служебно-техническим зданием и грузовыми устройствами для выгрузки и хранения экипировочных материалов и снабжения ими локомотивов;

·        путевое развитие, включающие пути стоянки готовых к работе локомотивов, пути запаса локомотивов, пути стоянки восстановительных и пожарных поездов, деповские, погрузочно-выгрузочные, складские и ходовые пути, а также поворотные устройства;

·        служебные помещения для оперативных работников и помещения для отдыха локомотивных бригад.

Заданием на курсовое проектирование установлено, что участок обслуживается поездными локомотивами 2ТЭ-10В. К депо приписаны 2 маневровых локомотива ТЭМ1.

.3.1.   Расчет необходимого числа стойл

Необходимое число стойл в локомотивном депо для ремонта поездных локомотивов определяется исходя из годового пробега  локомотивов, приписанных к данному депо, по формуле:

, лок-км                                                             (3.9)

где  - суточные размеры движения в парах поездов по участкам В - Н;

 - заданная длина участков обращения поездных локомотивов, км;

- доля участия данного депо в обслуживании поездного движения на участках()

Заданная длина участков обращения в направлении: на Н - 320 км.

Размеры движения: в направлении на Н - 14 пар грузовых поездов.

 лок-км.

Рассчитанный годовой пробег электровозов не превышает допустимый для основных электровозных депо (30-40 млн. локомотиво-км).

Годовая программа ремонта поездных локомотивов:

подъёмочный ремонт ( ТР3 )

большой периодический ремонт ( ТР2)

малый периодический ремонт ( ТР1 )

Годовая программа ремонта маневровых локомотивов:

подъёмочный ремонт ( ТР3 )

большой периодический ремонт ( ТР2 )

малый периодический ремонт ( ТР1 )

профилактический осмотр ( ТО3 )

Расчет числа стойл

Число стойл для подъёмочного ремонта ( ТР3 ):

.

Число стойл для большого периодического ремонта ( ТР2 ):

.

Число стойл для малого периодического ремонта ( ТР1 ):

.

Число стойл для профилактического осмотра ( ТО3 ) маневровых локомотивов:

.

В приведенных выше расчётах использовались следующие условные обозначения:

,,,,  - нормы пробега локомотивов между ремонтами и техническим обслуживанием ( ТО3 ), принимаемые по нормативным таблицам;

 - количество маневровых локомотивов, приписанных к данной станции, ();

,, - периоды между текущими ремонтами маневровых локомотивов;

 - период между техническим обслуживанием маневровых локомотивов;

,,, - время занятия стойла соответствующими видами ремонтов;

- число рабочих дней в году (для ТР3, ТР2, ТР1); для ТО3 - 365 дней.

К рассчитанному числу стойл добавляется одно стойло для обточки колесных пар без выкатки их из-под локомотива.

Результаты расчёта числа стойл приведены в таблице 3.5.

Таблица 3.5 Расчёт числа стойл локомотивного депо

Вид ремонта

Число ремонтов в год

Число стойл

Подъёмочный (ТР3)

4,62

0,06

Большой периодический (ТР2)

8,24

0,05

Малый периодический (ТР1)

217,38

0,43

Профилактический осмотр (ТО3)

21,13

0,02

Принятое число стойл

-

4


3.3.2. Расчёт числа мест для экипировки и технического обслуживания ТО2

Расчёт числа мест экипировки и технического обслуживания ТО2 локомотивов на территории депо производим на основе размеров движения на прилегающих участках: А-Н- 19 пар (из них 17 транзитных); Б-Н- 17 пар ( из них 15 транзитных); В-Н- 14 пар (из них 12 транзитных); 65% локомотивов транзитных поездов работают по кольцу. Общая продолжительность экипировки, совмещённой с техническим осмотром ТО2, с учётом постановки локомотива на позицию 60 минут.

Число мест осмотра и экипировки в депо рассчитываем по максимальному количеству экипируемых локомотивов и продолжительности их экипировки по формуле

                                                                          (3.10)

Мэк- число локомотивов, поступающих на экипировку и техническое обслуживание в течение суток;

tэк- продолжительность занятия экипировочной позиции одним локомотивом, мин.;

tус- время установки локомотива на позицию, мин.;

Тэк- суточный фонд рабочего времени позиции (Тэк=1440 мин.);

φ - коэффициент неравномерности поступления локомотивов на экипировочную позицию, учитывающий одновременность подхода их на экипировку, (принимается φ=1,1);

С учётом пункта 15.13 СТН Ц-01-95 на станции принимается одна позиция для экипировки и технического обслуживания локомотивов на территории основного электровозного депо.

3.3.3. Определение длины путей для стоянки локомотивов в ожидании работы и в резерве

Общая длина путей для отстоя сменяемых поездных локомотивов в ожидании работы определяется по формуле:

 , м                                                                             (3.11)

где - доля локомотивов, требующих стоянки в ожидании работы, (=0,1);

- длина пути для стоянки одного локомотива с учётом неточности установки, (=36м);

М- число локомотивов эксплуатируемого парка;

.

На каждый путь ставят на отстой 5-6 локомотивов. Общая длина путей для стоянки локомотивов в резерве определяется по формуле:

 , м                                                                              (3.12)

где    0,2- доля локомотивов, находящихся в резерве, от расчётного числа локомотивов эксплуатируемого парка:

На каждый путь ставят 8-10 локомотивов.

3.3.4. Определение числа резервуаров для хранения дизельного топлива

Расход дизельного топлива определяем по суточному расходу дизельного топлива маневровыми локомотивами по формуле

, т                                                                   (3.13)

где  - число маневровых локомотивов, работающих на станции, ();

 - время работы маневровых локомотивов в сутки, ();

 - норма расхода топлива маневровым локомотивом в течение 1 часа работы, ().

.

Вместимость склада дизельного топлива определяется по формуле:

 , т, (3.14)

где - число суток, на которое создается запас топлива, (Тз=30 сут.);

-поправочный коэффициент, учитывающий увеличение расхода топлива в зимний период.

Число резервуаров, необходимое для хранения дизельного топлива, определяется по формуле:

                                                                                   (3.15)

где  - вместимость одного резервуара, ();

 - плотность дизельного топлива, ( т / м3).

 резервуар.

3.3.5. Определение вместимости складов сырого и сухого песка

Основные параметры складов и мощности пескосушилок определяется по суточному расходу песка для снабжения локомотивов:

, м3                                                                          (3.16)

где  - суточный расход песка для поездных локомотивов, определяемый по формуле:

, м3                                                            (3.17)

 - суточный расход песка для маневровых локомотивов, определяемый по формуле

, м3                                                                                                                             (3.18)

где  - норма расхода песка поездными локомотивами, (для 2ТЭ-10В - 0,17брутто);

 - коэффициент, учитывающий долю песка, подаваемого на локомотивы в данном пункте экипировки, ();

 - норма расхода песка маневровым локомотивом, (для ТЭМ1 - 0,07).

,

.

Вместимость склада сырого песка на территории локомотивного депо, определяется по формуле

, м3                                                                 (3.19)

 - норма запаса песка на зимний период для расчетного района, ();

 - коэффициент, учитывающий отходы сырого песка при обработке и расходы на хозяйственные нужды депо, ();

 - коэффициент неравномерности расхода песка, ();

.

В соответствии с нормами технологического проектирования сырой песок складируют, как правило, на открытой площадке около здания пескосушилки. Размеры склада определяются размерами площадки. Высота штабеля 3-4 метра.

Запас сухого песка на осенне-зимний период, определяется по формуле

, м3                                                                         (3.20)

где  - отношение рабочего периода пескосушилки к нерабочему, (если пескосушилка работает 7 месяцев );

.

Учитывая, что современные склады сухого песка - открытые помещения железобетонной конструкции башенного типа вместимостью 1700 м3 (высота 22,7 м, диаметр 12 метров), для заданных условий принимается 1 склад.

3.4.    Расчет устройств грузового района

Площади крытых складов, площадки для навалочных грузов, грузов в контейнерах, а также тяжеловесных рассчитываются по категориям в отдельности для прибывающих и отправляемых грузов.

Основой для расчёта устройств грузового района является распределение суточного объёма местной работы станции по погрузочно-разгрузочным пунктам (грузовой район, подъездной путь).

.4.1.   Расчёт устройств грузового района для грузов по прибытии

На основе задания устанавливается распределение суточного количества прибывших вагонов по разгрузочным пунктам, а также местная работа станции.

В сутки под выгрузку на станцию прибывает 43 местных вагонов. Из них:

% (26 вагонов) на подъездной путь;

% (17 вагонов) в грузовой район ( из которых: 9 - тарно-штучные грузы; 4 - контейнеры; 2 - пиломатериалы; 2 - уголь ).

Тарно-штучные грузы

Площадь для переработки и складирования тарно-штучных грузов определяется по формуле

, м2                                                                  (3.21)

где - среднесуточное поступление вагонов с тарно-штучными грузами, ваг;

- средняя статическая нагрузка одного вагона, т, (=45 т.);

- коэффициент неравномерности прибытия тарно-штучных грузов, ();

 - срок хранения грузов на складе по прибытии, сут, ();

 - коэффициент, учитывающий размеры дополнительной площади, необходимой для проходов, проездов и др., ();

- коэффициент, учитывающий перегрузку прибывающего груза непосредственно из вагона в автомобиль, ();

- среднее количество груза, укладываемого на 1 м2 площади склада, ( т/м2) ;

.

Строительная ширина склада принимается по типовым проектам и может составлять: 18 м ( путь снаружи); 24 м ( путь внутри); 36 или 48 м (два пути внутри).

При ширине склада  его длина составит:

.

Длину склада принимаем кратной 12 метрам, то есть (с учётом 10 - 15 метров резервной зоны склада).

Длина склада здесь и далее должна быть не более 300 - 350 м; в необходимых случаях устраиваются два склада, принимается кран с большим пролётом и т.д.

Контейнерная площадка

Площадь контейнерной площадки зависит от её потребной ёмкости  и площади , занимаемой одним контейнером, с учётом дополнительной площади на проходы и проезды. Площадь для переработки и складирования контейнеров определяется по формуле:

 , м2                                                                    (3.22)

где  - потребная ёмкость контейнерной площадки, контейнеро-мест;

 - площадь, занимаемая одним контейнером, м2;

 - коэффициент, учитывающий необходимость увеличения размеров контейнерной площадки на проходы, проезды и др., ().

Потребная ёмкость контейнерной площадки:

, контейнеро-мест,                                                        (3.23)

где  - ёмкость площадки для переработки в среднем в сутки контейнеров соответственно гружёных, порожних и для ремонта неисправных контейнеров:

, контейнеро-мест,                                                        (3.24)

где - количество перерабатываемых местных контейнеров массой брутто 3 тонны за сутки:

 контейнеров,

- количество трёхтонных контейнеров, поступающих в одном полувагоне, шт.

Потребная ёмкость контейнерной площадки составит:

 контейнеро-мест.

Площадь, занимаемая одним контейнером:

.

Потребная площадь для переработки и складирования контейнеров составит:

Ширина контейнерной площадки зависит от принятого способа механизации. В качестве средства механизации применяется двухконсольный козловой кран (пролет - ; грузоподъемность - 5 т.). Полезная ширина контейнерной площадки:

,

где 1,325 - габарит безопасности.

При данной ширине контейнерной площадки её длина составит:

.

Площадка для переработки пиломатериалов

В качестве средства механизации применяется двухконсольный козловой кран (пролет - ; грузоподъемность - 5 т.).

Площадь для переработки и складирования пиломатериалов (досок длиной 4 метра) определяется по формуле:

, м2                                                                          (3.25)

где площадь, занимаемая одним штабелем, м2 , определяемая по формуле:

                                                                               (3.26)

где ,, соответственно число штабелей, длина и ширина одного штабеля.

Ширина штабеля, при принятом способе укладки, равна длине доски, а длина - удвоенной ширине пакета. Ширина пакета  метра. Площадь, занимаемая одним штабелем:

Число штабелей определяется по формуле:

                                                                    (3.27)

где - среднесуточное поступление вагонов с пиломатериалами, ваг;

- средняя статическая нагрузка одного вагона, т, (=41 т.);

- коэффициент неравномерности прибытия, ();

 - срок хранения грузов на складе по прибытии, сут, ();

      - коэффициент, учитывающий перегрузку прибывающего груза непосредственно из вагона в автомобиль, ();

- вместимость штабеля, т.

Вместимость штабеля в зависимости от его объёма Vшт, плотности груза γ и коэффициента плотности укладки Ψ определяется по формуле:

 т.                                                                             (3.28)

Объём штабеля пиломатериалов определяется по формуле:

                                                                   (3.29)

где - длина доски, м;

H- высота штабеля, м;

h - высота подштабельного основания, м ;

Вместимость штабеля при γ=0,56 т/м3 и Ψ=0,6 соответственно:

 т.

Число штабелей:  штабелей.

Полезная площадь для хранения пиломатериалов, исходя из площади одного штабеля  и коэффициента дополнительной площади на проезды и проходы kпр=1,6:

,

При оборудовании площадки козловым краном с пролётом Lпр=16 метров полезная её ширина составит: Bпл=16-2*1,325=13,35 метров, а при данной ширине её длина составит:

 Принимаем

Данную площадку целесообразно объединить с контейнерной площадкой, так как на них применяются одинаковые средства механизации.

Открытый склад для навалочных грузов (угля)

Длина разгрузочной части повышенного пути определяется по формуле:

 м                                                                   (3.30)

где  среднесуточное поступление вагонов под выгрузку;

 длина полувагона, ;

 - число подач-уборок вагонов на пункт местной работы, .

.

Высота повышенного пути, определяется по формуле:

-0,5 м                                                                   (3.31)

где mфр-число полувагонов, разгружаемых в одном месте(mфр=1);

qн- масса груза в одном полувагоне(qн=60 т);

γ- плотность груза, т/м3( γ=0,85 т / м3);

Ψ- коэффициент заполнения отвала( 0,8-0,9);

ρ- угол естественного откоса, град.( ρ=45º).

-0,5=1,98 м.

Принимаем типовую высоту повышенного пути - 2,4 м. Длина наклонной части повышенного пути ( при i= 20 о/оо ): lнакл=1000hпп / i = 1000 * 2,4 / 20 =120 м.

Вместимость склада с обеих сторон повышенного пути, определяется по формуле

 т                                                                        (3.32)

где F - площадь сечения груза в отвале, м2, определяемая по формуле:

                                                                                 (3.33)

где bотв - ширина отвала, м.

При  вместимость склада с обеих сторон повышенного пути составит:

 т.

Вместимость груза в одной подаче:

 т.                                                                              (3.34)

т.

Вместимость склада превышает массу груза в одной подаче. Следовательно, к проектированию принимается разгрузочная часть повышенного пути в 54 метра.

Склад для выгрузки каменного угля будет состоять из: повышенного пути высотой 2,4 метра, длиной разгрузочной части 54 метра; наклонной части повышенного пути длиной 120 метров; площадки для временного хранения угля при невозможности его вывоза шириной 15 метров с каждой стороны повышенного пути.

.4.2.   Расчёт устройств грузового района для грузов по отправлению

По данным задания устанавливается распределение суточного количества отправляемых вагонов по погрузочным пунктам, а также местная работа на грузовом дворе.

В сутки со станции отправляется 40 местных вагонов из них:

(60% всего отправления) с подъездного пути;

(40% всего отправления) с грузового двора ( из которых: 8 - тарно-штучные грузы; 8 - среднетоннажные контейнеры ).

Тарно-штучные грузы

Площадь для переработки и складирования тарно-штучных грузов определяется по формуле

, м2                                                         (3.35)

где - среднесуточное отправление вагонов с тарно-штучными грузами, ваг;

- средняя статическая нагрузка одного вагона, т, (=45 т.);

- коэффициент неравномерности отправления тарно-штучных грузов, ();

 - срок хранения грузов на складе по отправлении, сут, ();

 - коэффициент, учитывающий размеры дополнительной площади, необходимой для проходов, проездов и др., ();

- коэффициент, учитывающий перегрузку прибывающего груза непосредственно из автомобиля в вагон, ();

- среднее количество груза, укладываемого на 1 м2 площади склада, ( т/м2);

При ширине склада  его длина составит:

Склада принимается длиной кратной 12 метрам, то есть  и объединяется с крытым складом по прибытию тарно-штучных грузов.

Контейнерная площадка

Площадь для переработки и складирования контейнеров определяется по формуле

, м2                                                                      (3.36)

где  - потребная ёмкость контейнерной площадки, контейнеро-мест;

 - площадь, занимаемая одним контейнером, м2;

 - коэффициент, учитывающий необходимость увеличения размеров контейнерной площадки на проходы, проезды и др., ().

Потребная ёмкость контейнерной площадки определяется по формуле:

 контейнеро-мест                                                          (3.37)

где - среднесуточное отправление контейнеров массой брутто 3 тонны;

- количество контейнеров в полувагоне, шт.;

 контейнеро-мест.

Площадь для накопления и отправления контейнеров будет равна:

.

Длина контейнерной площадки:

.

Таким образом, учитывая необходимые размеры складских площадей, а также уже имеющиеся склады в грузовом районе станции, приходим к выводу: необходимо развитие грузового района.

4.      
Проектирование путепроводной развязки

В курсовом проекте технико-экономическое обоснование необходимости путепроводной развязки в разных уровнях не производится, а считается обязательным при примыкании в одной горловине станции не менее двух подходов, один из которых двухпутный, или трёх однопутных подходов. Путепроводная развязка одного из простейших типов приведена на рисунке 4.1.

Рис 4.1 План путепроводной развязки

Для расчета путепроводной развязки принимаются следующие исходные данные:

1.       Угол пересечения линий (30о; 60о);

.        Радиус круговых кривых  при категории линии I и при скорости движения менее 120 км/ч(минимальное значение 600м по согласованию с МПС);

.        Длина переходных кривых (зависит от , категории линии и зоны скоростей);

.        Длина прямой вставки между концами переходных кривых ;

.        Руководящий уклон на примыкающем участке В-Н .

Угол поворота β пути, идущего на путепровод

                                                                     (4.1)

,                                           (4.2)

                                                                                    (4.3)

                                                                                    (4.4)

                                                                                      (4.5)

 при Y=d/2R                                                                   (4.6)

tg φ = d / 2R                                                                                    (4.7)

где                                                                           (4.8)

e - ширина междупутья ( на перегоне е=4,1 м);

do - длина прямой вставки ( между обратными кривыми do= 75 м).

Чтобы избежать совмещения переходной кривой в плане с вертикальной сопрягающей кривой в профиле, минимальная величина b должна быть равна:

                                                                                        (4.9)

при условии, что ,

где lпл - длина элемента профиля ( площадки) в месте сооружения путепровода, м .

СТН Ц-01-95 допускают минимальную длину lпл = 300 м, а в трудных условиях lпл= 200 м;

Тв - длина тангенса вертикальной сопрягающей кривой, м;

                                                                                      (4.10)

ЁRв - радиус сопрягающей вертикальной кривой, м;

∆i - алгебраическая разность сопрягаемых уклонов, ‰.

Для вычисления угла β в выше приведенные формулы необходимо подставить исходные данные ( С1 ; С2 ; do ; R1 ; R2 ):

; ;

;

Так как  , принимаем lпл =200 м (). Тогда b=100+40=140 м. Подставляя полученные значения в формулы (4.3), (4.4), получим:

;

 

Длина тангенса

Длина кривых:

Минимальная длина путепроводной развязки в плане от точки А отхода пути на путепровод до его середины

длина проекции путепроводной развязки на горизонтальную ось:

Минимальная длина путепроводной развязки в плане должна быть равна или больше длины в профиле. В противном случае трассу в плане надо удлинить, изменив место сооружения путепровода и угол или только угол пересечения.

Рассчитаем длину подъёмной части путепроводной развязки в профиле пути 3.

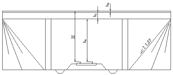
Высота бровки земляного полотна пути 1 в точке Б относительно точки А(рис 4.2.) h1-2=3м (путепровод на насыпи), строительная высота путепровода hc=0.83 м, высота рельса верхнего пути hр=0,18 м.

Рис 4.2 Профиль путей путепроводной развязки

Длина подъёмной части путепроводной развязки в профиле пути 3

, м                                                                                  (4.11)

где lпл- длина элемента профиля (площадки) в месте сооружения путепровода, м;

lп-длина подъёмной части путепроводной развязки, м.

Минимальная длина площадки

, м                                                                                     (4.12)

где длина тангенсов сопрягающих кривых подъёмной и спускной частей.

Длину этого элемента профиля округляем в большую сторону ( до 200 или 300 м), но она должна быть не меньше минимально допустимой. Приняв уклон спуска равным руководящему , а подъём уменьшив на сопротивление в кривых , получим


Принимаем lпл=200 м. Длина подъёмной части путепроводной развязки


где Нп- высота бровки земляного полотна пути 3 в точке Б относительно точки А:

                                                                                    (4.13)

Н- разность отметок головок рельсов верхнего и нижнего путей (рис. 4.3)

                                                                                 (4.14)

hг-расстояние от головки рельса нижнего пути до низа пролётного строения, принимаемое по габариту приближения строений (при ширине путепровода 5 метров и более hг=6,5 м);

Рис. 4.3 Схема путепровода


Длина трассы пути 3 в плане 2687,88 м обеспечивает набор необходимой высоты на путепровод .

Для построения путепроводной развязки достаточно определить координаты вершин углов поворота, располагая оси координат как показано на рисунке 4.1.

                                                               (4.15)

                                                         (4.16)

                                                             (4.17)

 

 

 

Окончательно профилировка путепроводной развязки производится при составлении масштабной схемы с учётом минимума затрат на строительство и наилучших условий движения на подходах к станции, к которым относятся обеспечение по возможности меньших уклонов у входных сигналов и на путях отправления сразу за пределами станции.

Заключение

В результате выполненных расчётов в проекте:

Ø  дан анализ заданных объёмов работы переустраиваемой участковой станции и определено потребное её техническое оснащение;

Ø  произведен выбор сторонности примыкания нового однопутного подхода В-Н и запроектирована путепроводная развязка как в плане, так и в профиле. В процессе выбора сторонности примыкания нового подхода В-Н были рассмотрены две схемы примыкания, лучшим из которых признан вариант примыкания с нечётного направления;

Ø  произведено сравнение двух типов участковой станции и выбран лучший вариант, которым оказался вариант переустройства исходной линейной участковой станции поперечного типа в узловую участковую станцию продольного типа.

Для освоения заданных объёмов работы на станции необходимо предусмотреть:

а) перронный приёмо - отправочный парк, расположенный у пассажирского здания.

Перронный парк включает в себя три главных и два приёмо - отправочных пути и три низкие платформы длиной 400 м. Все пути перронного парка являются двусторонними и могут принимать как нечётные, так и чётные пассажирские поезда;

б) парк отстоя пассажирских и пригородных составов (ПОПС), расположенный на территории тягового хозяйства и служащий для отстоя и подготовки в рейс пассажирских и пригородных составов. В парке проектируется 4 пути, между парами которых устроены уширенные асфальтированные междупутья для выполнения безотцепочного ремонта пассажирских вагонов, удаления мусора из вагонов, экипировки вагонов водой и топливом, внутренней уборки вагонов. Кроме того, в ПОПС осуществляется отстой пригородных электропоездов.

Потребное путевое развитие узловой участковой станции должно быть следующим:

в транзитном парке (ПО1) для приёма и отправления 27 транзитных поездов - 6 путей, в транзитном парке (ПО2) - 3 пути для 15 поездов, в приёмо - отправочном парке (ПО3) - 3 пути, в сортировочном парке (СП) - 10 путей.

Годовой пробег локомотивов, приписанных к локомотивному депо станции, составит 3270400 лок-км в год, что не превышает допустимого для электровозных депо 30-40 млн. лок-км. Для выполнения годовой программы ремонта поездных и маневровых локомотивов для заданных условий оказалось достаточным существующих 7 стойл для всех видов ремонта и профилактического осмотра ТО3. На территории локомотивного депо развитие ПТОЛ, имеющего две позиции для экипировки и технического обслуживания ТО2 не потребовалось. Рядом с ПТОЛ размещены склад дизельного топлива для маневровых локомотивов - 1 резервуар ёмкостью 400 м3 и склады для хранения сырого и сухого песка.

Расчётом установлена необходимость развития имеющихся в грузовом районе устройств: увеличение площади крытого склада тарно-штучных грузов и контейнерной площадки.

По завершении расчётов выполнена масштабная накладка станции по принятому варианту её развития, на которой показано:

1.     путевое развитие с указанием номеров путей, входных и выходных сигналов и стрелочных переводов, полезных длин, междупутий, предельных столбиков, километраж и пикетаж, элементы плана и профиля станционных и главных путей;

2.       пассажирские, грузовые устройства и локомотивное хозяйство;

.        служебно-технические здания, мастерские и складские помещения;

.        полоса отвода земель и другое.

Список использованной литературы

1.  Альбом схем элементов станций и узлов (учебное пособие) / Земблинов С. В., Страковский И. И. М.: Трансжелдориздат, 1962 - 90 с.

2.       Альбом элементов локомотивного хозяйства станций (учебное пособие для курсового и дипломного проектирования) / Якубень А. М., Голубев П. В., Куценко С. П., Вакуленко С. П. М.: МИИТ, 2000 - 20 с.

.        Железнодорожные станции (задачи, примеры, расчеты)/ Под редакцией Правдина Н. В. М.: Транспорт, 1984 - 296 с.

.        Железнодорожные станции и узлы (учебник для вузов железнодорожного транспорта)./ Акулиничев В. М., Правдин Н. В., Болотный В. Я., Савченко И. Е. М.: Транспорт, 1992 - 480с.

.        Методические указания по расчету норм времени на маневровые работы, выполняемые на железнодорожном транспорте./МПС РФ. М.: 1998 - 84 с.

.        Правила технической эксплуатации железных дорого Российской Федерации./ МПС РФ. М.: Техинформ, 2000 - 192 с.

.        Проектирование железнодорожных станций и узлов: (справочное и методическое руководство)/ По редакцией Козлова А.М. и Гусевой К. Г. М.:Транспорт, 1981 - 592 с.

.        Строительно-технические нормы МПС РФ. Железные дороги колеи 1520 мм. СТН Ц-01-95. М.: 1995 - 86с.

.        Типовой технологический процесс работы участковой станции. М.:Транспорт, 1984 - 57 с.

.        Участковые станции (учебное пособие). / Акулиничев В. М., Болотный В. Я., Колодий Л.П. М.: МИИТ, 1982 - 130 с.


Не нашли материал для своей работы?
Поможем написать уникальную работу
Без плагиата!
Без нейросетей!