Эксплуатация трубопроводных систем

  • Вид работы:
    Контрольная работа
  • Предмет:
    Другое
  • Язык:
    Русский
    ,
    Формат файла:
    MS Word
    675,12 kb
  • Опубликовано:
    2011-10-14
Вы можете узнать стоимость помощи в написании студенческой работы.
Помощь в написании работы, которую точно примут!

Эксплуатация трубопроводных систем

ВВЕДЕНИЕ

станция магистральный нефтепровод

Нефтеперекачивающая станция (НПС) представляет собой комплекс сооружений и устройств для приема, накопления и перекачки нефти по магистральному нефтепроводу и подразделяются по назначению на нефтеперекачивающие станции с емкостью и НПС без емкости.

К магистральным нефтепроводам и нефтепродуктопроводам относятся:

нефтепроводы и отводы от них, по которым нефть подается на нефтебазы и перевалочные нефтебазы;

нефтепродуктопроводы и отводы от них, по которым нефтепродукты с головной насосной станции подаются на нефтебазы.

Магистральный нефтепровод работает круглосуточно в течение всего года. Он имеет относительно большой диаметр и длину. Для перекачки по нему нефти и нефтепродуктов создается давление 5,0 - 6,5 МПа.

1. КЛАССИФИКАЦИЯ И ХАРАКТЕРИСТИКА ОСНОВНЫХ ОБЪЕКТОВ НЕФТЕПЕРЕКАЧИВАЮЩИХ СТАНЦИЙ МАГИСТРАЛЬНЫХ НЕФТЕПРОВОДОВ

Нефтеперекачивающие (насосные) станции подразделяются на головные (ГНПС) и промежуточные (ПНПС). Головная нефтеперекачивающая станция предназначена для приёма нефти с установок её подготовки на промысле или из других источников и последующей закачки нефти в магистральный нефтепровод. Промежуточные станции обеспечивают поддержание в трубопроводе напора, достаточного для дальнейшей перекачки.

Объекты, входящие в состав ГНПС и ПНПС, можно условно подразделить на две группы:

объекты основного (технологического) назначения;

объекты вспомогательного и подсобно-хозяйственного назначения.

К объектам основного назначения относятся:

резервуарный парк;

подпорная насосная;

узел учёта нефти с фильтрами;

магистральная насосная;

узел регулирования давления и узлы с предохранительными устройствами;

камеры пуска и приёма очистных устройств;

технологические трубопроводы с запорной арматурой.

К объектам вспомогательного и подсобно-хозяйственного назначения относятся:

понижающая электроподстанция с распределительными устройствами;

комплекс сооружений, обеспечивающих водоснабжение станции;

комплекс сооружений по отводу промышленных и бытовых стоков;

котельная с тепловыми сетями;

инженерно-лабораторный корпус;

пожарное депо;

узел связи;

механические мастерские;

гараж;

складские помещения и т.д.

На головных нефтеперекачивающих станциях осуществляются следующие технологические операции:

приём и учёт нефти;

краткосрочное хранение нефти в резервуарах

внутристанционные перекачки нефти;

закачка нефти в магистральный трубопровод;

пуск в трубопровод очистных и диагностических устройств.

На ГНПС может производиться подкачка нефти из других источников поступления. Например, из других нефтепроводов или попутных нефтепромыслов.

На промежуточных нефтеперекачивающих станциях происходит повышение напора транспортируемой нефти с целью обеспечения её дальнейшей перекачки. При работе ПНПС в режиме «из насоса в насос» промежуточные НПС не имеют резервуарных парков; в других случаях, когда перекачка ведётся через резервуары или с подключенными резервуарами такие парки на ПНПС имеются. На ПНПС устанавливаются также системы сглаживания волн давления и защиты от гидравлических ударов.

Магистральные нефтепроводы разбивают на так называемые эксплуатационные участки с протяжённостью 400-600 км, состоящие из трёх - пяти участков, разделённых ПНПС, работающих в режиме «из насоса в насос» и гидравлически связанных друг с другом. В то же время эксплуатационные участки соединяются друг с другом через резервуарные парки, так что в течение некоторого времени каждый эксплуатационный участок может вести перекачку независимо от соседних участков, используя для этого запас нефти своих резервуаров.

Для снижения затрат на сооружение НПС используется метод блочно-комплектного или блочно-модульного их исполнения. Главное преимущество этого метода достигается тем, что на территории станций практически отсутствуют сооружения из кирпича, бетона или железобетона. Всё оборудование станции, включая автоматику, входит в состав функциональных блоков, монтируется и испытывается на заводе, затем в транспортабельном виде доставляется на строительную площадку. При этом блочно-модульные НПС могут быть открытого типа. От воздействия погодных условий насосные агрегаты защищаются индивидуальными металлическими кожухами с автономными системами вентиляции и подогрева. Такие станции работают при t0 окружающего воздуха от - 40 до + 50 0C. При капитальном ремонте предусматривается замена всего блок-бокса в сборе.

2. ВСПОМОГАТЕЛЬНЫЕ СООРУЖЕНИЯ НЕФТЕПЕРЕКАЧИВАЮЩИХ СТАНЦИЙ МАГИСТРАЛЬНЫХ НЕФТЕПРОВОДОВ

НПС - это сложный комплекс инженерных сооружений, предназначенных для обеспечения перекачки заданного количества нефти или нефтепродуктов. НПС магистральных трубопроводов подразделяют на головные и промежуточные.

Головная НПС располагается вблизи нефтяных сборных промыслов (МНП) или нефтеперерабатывающих заводов (МНПП) и предназначается для приема нефти или нефтепродуктов и для обеспечения их дальнейшей перекачки по трубопроводу. Все объекты, входящие в состав перекачивающих станций, можно разделить на две группы:

объекты основного (технологического) назначения;

объекты вспомогательного и подсобно-хозяйственного назначения.

К первой группе относят: основную и подпорную насосные станции (насосные цеха); резервуарный парк; сеть технологических трубопроводов с площадками фильтров и камерами задвижек или узлами переключения; узлы учета; камеру пуска-приема очистных устройств, совмещенную с узлами подключения к трубопроводу; узлы предохранительных и регулирующих устройств.

Ко второй группе относят: понижающую электростанцию с открытым и закрытым распределительными устройствами; комплекс сооружений по водоснабжению станции и жилого поселка при ней; комплекс сооружений по водоотведению бытовых и промышленно-ливневых стоков; котельную с тепловыми сетями; инженерно лабораторный корпус; пожарное депо; узел связи; механические мастерские; мастерские контрольно-измерительных приборов (КИП) и автоматики; гараж; административно-хозяйственный блок с проходной; складские помещения для оборудования и ГСМ и т. д.

3. РЕЗЕРВУАРНЫЕ ПАРКИ НПС

Неотъемлемой частью системы магистрального нефтепровода являются резервуарные парки, которые служат для обеспечения основного технологического процесса - надеждой и бесперебойной перекачки нефти по нефтепроводу. Резервуарные парки необходимы:

для приёма нефти от добывающих предприятий;

для учёта нефти;

для обеспечения заданных свойств нефти, включая возможное компаундирование;

для компенсации неравномерности приёма-отпуска нефти.

В соответствии с этим назначением резервуарными парками оборудуют головные нефтеперекачивающие станции, некоторые из промежуточных станций, а также нефтебазы в конце нефтепровода.

Резервуарные парки ГНПС предназначены для создания запасов нефти с целью обеспечения бесперебойной работы трубопровода в случае прекращения или неравномерной поставки нефти с промысла, а также для приёма нефти при аварийных или плановых остановках перекачки. Резервуарные парки на НПС сооружают в случаях, если эти станции находятся в пунктах подкачки нефти или местах разветвления (соединения) нефтепроводов.

Для хранения нефти применяют металлические и железобетонные резервуары, как наземные, так и подземные.

К подземным относятся резервуары, в которых наивысший уровень нефти расположен не менее чем на 0.2 м ниже планировочной отметки прилегающей площадки.

В зависимости от объёма и места расположения резервуары подразделяются на три класса:

класс первый - особо опасные резервуары объёмом 10 000 м3 и более, а также резервуары объёмом 5 000 м3 и более, расположенные непосредственно по берегам рек, крупных водоёмов, а также в черте городской застройки;

класс второй - резервуары повышенной опасности объёмом от 5 000 до 10 000 м 3;

класс третий - опасные резервуары объёмом от 100 до 5 000 м3.

В системе магистральных нефтепроводов стальные резервуары получили наибольшее распространение. Для сокращения потерь от испарения эти резервуары оборудуют дыхательной арматурой, системой газовой обвязки, понтонами или используют специальные конструкции с понтоном или плавающей крышей.

ГОСТ 1510 - 76 «Нефть и нефтепродукты» установлены области применения различных резервуаров в зависимости от наименования классов, типов и групп нефтей. Для хранения сырых и обессоленных нефтей с давлением насыщенных паров до 200 мм ртутного столба применяют горизонтальные резервуары низкого давления и вертикальные стальные резервуары со стационарной крышей без газовой обвязки с дыхательными клапанами. Для нефтей с давлением насыщенных паров выше 200 мм ртутного столба разрешается применять горизонтальные стальные резервуары низкого давления, вертикальные стальные резервуары с плавающей крышей, понтоном или системой газовой обвязки.

Охарактеризуем некоторые типы резервуаров, применяемых в системе магистрального нефтепровода.

Вертикальные стальные цилиндрические резервуары со стационарной крышей (РВС) представляют собой цилиндры, сваренные из стальных листов размером 1.5 на 6.0 м, толщиной 4 - 25 мм с конической или сферической крышей (РИС 1).









Рис.1. Вертикальный стальной резервуар со сферической крышей объёмом 10 000м3

Длинная сторона каждого листа располагается горизонтально. Ряд листов называется поясом резервуара. Крыша резервуара опирается по краям на фермы, а у резервуаров большим объёмом - на центральную стойку. Сварное днище резервуара покоится на песчаной подушке и имеет уклон центра к периферии. Последнее способствует более полному удалению подтоварной воды. Объём РВС колеблется от 100 до 50 000 м3; избыточное давление может составлять до 2 000 Па, вакуум - до 200 Па.

Вертикальные стальные резервуары с понтоном (РВСП) отличаются от РВС тем, что имеют понтоны, плавающие на поверхности нефти и предназначенные для уменьшения испарения жидкости (рис.2).










Рис.2. Вертикальный стальной резервуар с понтоном объемом 20 000 м3: 1 - люк центральный; 2 - огневой предохранитель; 3 - направляющая труба; 4 - уплотнение понтона; 5 - опорная стойка понтона; 6 - нижнее положение понтона; 7 - верхнее положение понтона

Понтоны бывают металлические и синтетические. Они перемещаются вместе с нефтью вверх или вниз в зависимости от того, заполняется или опорожняется резервуар. Металлические понтоны имеют уплотняющие манжеты, прилегающие к внутренней поверхности резервуара, перемещение понтона происходит по направляющим трубам. Синтетические понтоны состоят из кольца жёсткости с сеткой, опирающегося на поплавки, и коврового покрытия из синтетической плёнки.

Вертикальные стальные резервуары с плавающей крышей (РВСПК) не имеют стационарной крыши. Крышу резервуара заменяет полный диск-короб, плавающий на поверхности нефти и опускающийся вместе с ней при опорожнении резервуара и поднимающийся вверх при заполнении резервуара. Диаметр плавающей крыши меньше внутреннего диаметра резервуара, а кольцевое пространство между диском-коробом и внутренней поверхностью резервуара уплотнено специальными манжетами. В нижнем положении крыша резервуара ложится на специальные стойки, расположенные равномерно по окружности резервуара. Плавающая крыша имеет уклон от периферии к центру для сбора и удаления дождевой воды.

Следует иметь в виду, что не весь объём резервуара может быть использован полностью. В нижней части резервуара скапливается вода и имеется слой механических отложений (осадок). Полезный или активный объём VП резервуара определяется как максимально возможный объём нефти, допустимый из него к откачке.

Оборудование резервуаров. Это оборудование включает:

механический дыхательный и гидравлический предохранительный клапаны для защиты резервуара от чрезмерных повышения или понижения давления в газовом пространстве резервуара. А также для сокращения потерь нефти при больших дыханиях;

огневой предохранитель для предотвращения попадания в резервуар открытого огня и искр;

замерный люк для измерения уровня нефти и отбора проб;

уровнемер для контроля за уровнем нефти в резервуаре, а также оперативного управления процессами закачки-выкачки;

нижний люк-лаз для вентиляции резервуара перед началом перед началом ремонтных работ. А также при удалении грязи при зачистке;

световые люки для проветривания резервуара во время ремонта и зачистки;

сифонный кран для спуска подтоварной воды;

«хлопушку» для предотвращения утечки в случае повреждения приёмораздаточных трубопроводов и задвижек;

подогревательные устройства при хранении высоковязких нефтей;

устройства для размыва осадка. Выпадающего при хранении нефтей;

противопожарное оборудование и т.п.

Рассмотрим конструкцию оборудования некоторых видов, устанавливаемого на резервуарах.

Дыхательная арматура резервуара состоит из дыхательного и предохранительного клапанов, назначение которых - предотвращение повышения давления в газовом пространстве резервуара сверх предельно допустимого (2 000 Па) или, наоборот, образование вакуума ниже критического (200 Па). Слишком высокое и слишком низкое давление опасны для целостности резервуара. Дыхательный клапан регулирует давление в газовом пространстве резервуара, выпуская в атмосферу пары нефти при повышении давления до предельно допустимого, или впуская воздух в резервуар при образовании чрезмерного вакуума. Предохранительный клапан, имеющий пределы срабатывания на 10% больше, чем дыхательный клапан, действует как страховка последнего.

На рисунке 3 изображён непримерзающий дыхательный клапан (НДКМ).








Рис. 3. Непримерзающий мембранный дыхательный клапан (НДКМ): 1 - соединительный патрубок; 2 - седло; 3 - тарелка; 4 - нижняя мембрана; 5 - нижний корпус; 6 - верхний корпус; 7 - боковой люк; 8 - верхняя мембрана; 9 - диски; 10 - регулировочные грузы; 11 - крышка; 12 - трубка; 13 - амортизирующая пружина; 14 - цепи для соединения; 15 - импульсная трубка; 16 - кольцевой огневой предохранитель

Клапан работает следующим образом. При возникновении в резервуаре разряжения, соответствующего пределу срабатывания клапана, тарелка 3 поднимается, и в газовое пространство поступает атмосферный воздух. При повышении давления в резервуаре сила, действующая на верхнюю мембрану 8, больше силы. Действующей на нижнюю мембрану 4, и когда разность сил превышает вес тарелки 3 и диска 9 с грузом 10. То верхняя мембрана, прогибаясь вверх, увлекает за собой тарелку 3. Открывая выход паровоздушной смеси в атмосферу.

Для работы в комплекте с непримерзающим дыхательным клапаном предназначен предохранительный гидравлический клапан (КПГ) (рис.4).








Рис.4. Предохранительный гидравлический клапан (КПГ): 1 - трубка для слива и налива жидкости; 2 - крышка для защиты от автосферных осадков; 3 - кассета огневого предохранителя; 4 - экран; 5 - верхний корпус; 6 - чашка для размещения жидкости; 7 - корпус; 8 - патрубок.

Клапан КПГ состоит из корпуса 7 с присоединительным фланцем; чашка 6 для размещения жидкости гидрозатвора предотвращающего выброс жидкости при срабатывании клапана; кассеты огневого предохранителя 3; крышки 2 для защиты от атмосферных осадков и трубки 1 для слива и налива жидкости.

Клапан работает следующим образом. При повышении давления в резервуаре и под чашкой 6, жидкость из чашки выбрасывается через патрубок и, отражаясь от экрана 4, собирается в кольцевой полости, идущей вокруг чашки 6. При срабатывании клапана газовое пространство резервуара свободно сообщается с атмосферой, обеспечивая высокий расход парогазовой смеси (или воздуха) через кассету 3. Выброшенная жидкость сливается через сливные штуцеры и используется при повторной заливке.

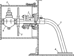
На рисунке 5 показано устройство сифонного крана для спуска подтоварной воды.







Рис.5. Сифонный кран для спуска подтоварной воды

Кран устанавливается в первом поясе резервуара на высоте ≈1.3 м от дна. Устройство, монтируемое в защитном кожухе 1, представляет собой Г-образную трубу 3, которая через сальниковое уплотнение 2 вставлена внутрь резервуара. Нижний конец трубы снабжён защитным фильтром 4, обеспечивающим отбор воды и не пропускающим частицы твёрдых отложений и грязь; снаружи труба имеет пробковый кран 6. Для удаления подтоварной воды поворотной ручкой 5 трубу 3 опускают к днищу резервуара, и вода, выдавливаемая столбом находящейся над ней нефтью, вытесняется наружу.

В случае возникновения пожара тушение горящей в резервуаре нефти производят пеной, изолирующей зеркало горючей жидкости от кислорода воздуха. На резервуарах большого объёма монтируют установки ГВПС-600 или ГВПС-2000 для генерации пены из специального пенообразователя, устройство которых представлено на рисунке 6.








Рис.6. Установка пожаротушения ГВПС-2000 на резервуаре: 1 - пеногенератор; 2 - стенка резервуара; 3 - фланец; 4 - смотровой люк; 5 - пенокамера; 6 - площадка ограждения для обслуживания; 7 - вставка; 8 - трубопровод для подачи раствора пенообразователя.

Устройство состоит из пеногенератора 1 с трубопроводом 8 для подачи раствора пенообразователя. В отсутствии чрезвычайной ситуации пенокамера закрыта герметизирующей крышкой. Крепление этой крышки к корпусу камеры осуществляется стяжками с замками, состоящими из двух частей, спаянных сплавом с температурой плавления около 1200С. При возникновении пожара замки стяжек расплавляются и крышка под действием собственного веса падает, открывая путь пены к горящей жидкости.

ЗАКЛЮЧЕНИЕ

Нефтеперекачивающие (насосные) станции подразделяются на головные (ГНПС) и промежуточные (ПНПС). Головная нефтеперекачивающая станция предназначена для приёма нефти с установок её подготовки на промысле или из других источников и последующей закачки нефти в магистральный нефтепровод. Промежуточные станции обеспечивают поддержание в трубопроводе напора, достаточного для дальнейшей перекачки.

Объекты, входящие в состав ГНПС и ПНПС, можно условно подразделить на две группы:

объекты основного (технологического) назначения;

объекты вспомогательного и подсобно-хозяйственного назначения.

Неотъемлемой частью системы магистрального нефтепровода являются резервуарные парки, которые служат для обеспечения основного технологического процесса - надеждой и бесперебойной перекачки нефти по нефтепроводу. Резервуарные парки необходимы:

для приёма нефти от добывающих предприятий;

для учёта нефти;

для обеспечения заданных свойств нефти, включая возможное компаундирование;

для компенсации неравномерности приёма-отпуска нефти.

СПИСОК ИСПОЛЬЗОВАННОЙ ЛИТЕРАТУРЫ:

1. Автоматизированный учет нефти и нефтепродуктов при добыче, транспорте и переработке / А.Ш. Фатхутдинов, М.А. Слепян, Н.И. Ханов и др.- М.: Недра, 2002.- 417с.

. Бронштейн Л.С. Ремонт стационарной газотурбинной установки.- Л.; Недра, 1987.- 143 с. (Библиотека эксплуатационника магистрального газопровода).

. Трубопроводный транспорт нефти /Г.Г. Васильев, Г.Е. Коробков А.А. Коршак и др.; Под редакцией С.М. Байнштока: Учеб. для вузов: в 2 т., 2002. - Т. 1. - 407 с.: ил.

Похожие работы на - Эксплуатация трубопроводных систем

 

Не нашли материал для своей работы?
Поможем написать уникальную работу
Без плагиата!
Без нейросетей!