Тяговый расчёт автомобиля ЗИЛ-130

  • Вид работы:
    Дипломная (ВКР)
  • Предмет:
    Транспорт, грузоперевозки
  • Язык:
    Русский
    ,
    Формат файла:
    MS Word
    4,81 Mb
  • Опубликовано:
    2011-12-14
Вы можете узнать стоимость помощи в написании студенческой работы.
Помощь в написании работы, которую точно примут!

Тяговый расчёт автомобиля ЗИЛ-130

Реферат

Курсовой проект содержи 78 с. машинописного текста, 17 рисунков, 5 таблиц, 5 использованных источников

МОЩНОСТЬ, ДВИГАТЕЛЬ, СИЛА ТЯГИ, ЗИЛ 130, СКОРОСТНАЯ ХАРАКТЕРИСТИКА, ПЕРЕДАТОЧНОЕ ЧИСЛО, ТЯГОВО-ДИНАМИЧЕСКАЯ ХАРАКТЕРИСТИКА, НАГРУЗКА НА ОСИ, УСТОЙЧИВОСТЬ МАШИНЫ.

Результатом выполнения работы являются: определение мощности и выбор типа двигателя; определение основных размеров и параметров двигателя; расчет и построение скоростной характеристики двигателя; определение и выбор передаточных чисел трансмиссии; расчет и построение тягово-динамических характеристик; анализ тяговых свойств машины; определение нагрузок на оси и колеса машины; определение поперечной и продольной устойчивости машины; определение производительности машины.

Введение

Лесные машины - сложные агрегаты и требования, предъявляемые к ним, настолько разнообразны, что для их удовлетворения необходимо наличие ряда эксплуатационных качеств, которые в комплексе должны характеризовать эффективность машин в тех или иных условиях эксплуатации. Чтобы иметь возможность оценить влияние отдельных эксплуатационных качеств на общую эффективность машины, нужно установить объективные, научно обоснованные измерители этих качеств и методику их определения. Правильный выбор эксплуатационных качеств и их оценочных измерителей, понимание связи между показателями, принятыми для характеристики машины, ее реальной эффективностью в эксплуатационных условиях все это имеет существенное значение для дальнейшего технического прогресса отечественного машиностроения.

Теория лесных машин - одна из дисциплин, изучающих эксплуатационные качества машин. Ее задачи: выбор и характеристика важнейших эксплуатационных качеств, исследование влияния, оказываемого на них различными конструктивными и эксплуатационными факторами, обоснование измерителей, которые позволяют объективно оценивать эксплуатационные качества, разработка методов определения этих измерителей. В конечном счете, задача теории лесных машин заключается в создания научных основ для дальнейшего совершенствования конструкций этих машин и повышении эффективности их использования.

От надежности и производительности работы машин по выращиванию леса, заготовке и переработке древесины зависит ритмичная, устойчивая круглогодовая работа лесных, лесозаготовительных и деревообрабатывающих предприятий. Поэтому инженеру-механику важно знать основы теории, конструкцию и расчет лесных и лесохозяйственных машин.

1. Определение мощности и выбор типа двигателя

Мощность двигателя лесотранспортной машины определяется по формуле

                                                                               (1.1)

где РК - сила тяги на ведущих колесах, потребная для преодоления сил сопротивления движению, Н;

V - скорость движения, км/ч;

hТР - механический КПД трансмиссии.

Эксплуатация лесотранспортных машин происходит в сложных условиях, когда значения РК и V изменяется в широких пределах из-за резкого колебания коэффициентов сопротивления движению. Поэтому мощность двигателя определяется для трех следующих вариантов и в последующих расчетах принимается наибольшая.

, ,

Сила тяги РК для трех режимов определяется по формулам

,

,

,

где Ga=G + GПР + Q - полная сила веса транспортной системы, Н;

G - сила веса тягача, Н;

GПР - сила веса полуприцепа, Н;

Q - сила веса полезного груза, Н;

f - коэффициент сопротивления движению;

i - уклон дороги;

кВ - коэффициент обтекаемости (кВ=0,6…0,7);

Vmin, Vраб, Vmax - скорости движения машины, соответственно минимальная, рабочая и максимальная, км/ч;

F - лобовая поверхность машины, м2.

F = B × H,

где В - ширина колеи, м;

Н - габаритная высота машины, м.

Ga= 43000 + 50000 = 93000 Н.

Для грунта после дождя f = 0,050…0,150. Принимаем fmin =0,050;

fср = 0,100; fmax = 0,150.

93000 × (0,150 + 0,04)= 17670,0 Н,

F = 1,8 × 2,4 = 4,32 м2;


Правильность определения мощности двигателя проверяется по величине удельной мощности (кВт/т)


где Nе - максимальная расчетная мощность двигателя, кВт;

G - масса машины без груза, т.

Значение удельной мощности проектируемой машины должны находиться в следующих пределах:

автомобили с дизельными двигателями - 15,0…23,0 кВт/т;

автомобили с карбюраторными двигателями - 16,0…26,0 кВт/т.

.

следовательно, мощность двигателя выбрана верно.

Принимаем двигатель ЗИЛ-130 со следующими характеристиками:

Nен = 110,3 кВт; nен = 3200 мин-1; gен = 326,4 г/кВт.

Определим основные размеры двигателя, то есть диаметр цилиндра d и ход поршня S.

Определение диаметра цилиндра (мм) производится по формуле:


где t - число тактов рабочего цикла, t = 4;

pe - среднее эффективное давление, pe = 0,75МПа;

i - число цилиндров, i = 8;

y - отношение хода поршня к диаметру цилиндра, y = 0,9;

n - частота вращения коленчатого вала, n = 3200 мин-1.

Ход поршня рассчитывается по формуле


S= 0,9 × 99,2 = 89,3 мм.

В проекте необходимо вычислить и оценить следующие основные параметры двигателя:

литровую мощность (кВт/л)

,

удельную массу двигателя (кг/кВт)

,

где GД - сухая масса двигателя, кг;

среднюю мощность поршня

где S - ход поршня, м.

Полученные значения основных параметров двигателя находятся в пределах допустимых значений.

2. Расчет и построение скоростной характеристики двигателя

Скоростная характеристика двигателя с некоторым приближением может быть рассчитана по эмпирическим формулам С. Р. Лейдермана:

                                                        (2.1)

                                                                                    (2.2)

                                                            (2.3)

                                                                                      (2.4)

где Neн - максимальная мощность двигателя, кВт;

n - искомая чистота вращения коленчатого вала двигателя, мин-1 ;

neн - частота вращения, соответствующая максимальной мощности, мин-1;

Me - крутящий момент двигателя, Н·м;

geн - удельный расход топлива при максимальной мощности двигателя, г/(кВт·ч);

А, В, А0, В0, С0 - постоянные коэффициенты Лейдермана.

Для карбюраторных двигателей А = 1; В = 1; А0 = 1,2; В0 = 1; и С0 = 0,8.

Отношение частоты вращения (n/neн) следует принимать в пределах (0,4…1,0)neн. Значения параметров скоростной характеристики вычисляется не менее чем для 6 точек. Целесообразно отношение частот брать кратным:

n = (0,4; 0,5; 0,6; 0,8; 0,9; 1,0)neн,

то есть

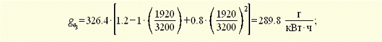
n = 1280; 1600; 1920; 2560; 2880; 3200 мин-1.

Результаты расчетов скоростной характеристики


Скоростная характеристика двигателя показана на рисунке 2.1

Рисунок 1 - Скоростная характеристика карбюраторного двигателя

3. Определение и выбор передаточных чисел трансмиссии

Трансмиссия автомобилей должна обеспечивать необходимый диапазон скоростей и тяговых усилий. Промежуточные силы тяги и скорости движения выбираются в зависимости от возможных условий использования машины. При большой тяговой нагрузке передаточные числа трансмиссии должны обеспечивать нужные максимальные моменты на ведущих колесах. Для легких работ необходимы передаточные числа, позволяющие получать наибольшие скорости движения при поддерживаемой регулятором частоте вращения вала двигателя и заданном радиусе качения ведущих колес.

При расчетах желательно распределять общее передаточное число трансмиссии так, чтобы главная передача и детали заднего моста тракторов были нагружены возможно меньше, для этого большие передаточные числа относятся к конечным передачам.

Во время работы машины в разных условиях требуется маневрировать скоростями для получения возможно большей эффективности. В связи с этим определенное значение имеют интервалы между соседними скоростями и тяговыми усилиями, а также число ступеней трансмиссии.

Переходы с одной передачи на другую уменьшают или повышают степень использования мощности двигателя и существенно влияют на производительность и топливную экономичность работы машины.

Отношения передаточных чисел могут быть выбраны по принципу одинаковой степени изменения нагрузки двигателя при переходе с одной передачи на соседнюю, т. е. чтобы крутящие моменты двигателя, а. следовательно, и коэффициенты нагрузки изменялись в одинаковых пределах при работе машины на всех передачах.

Общее передаточное число трансмиссии на первой передаче  должно обеспечить движение машины в самых трудных условиях (f1,2 мах, ip) с грузом. Значение  определяется из условия преодоления машиной наибольшего дорожного сопротивления по зависимости:

                                                                                  (3.1)

где Rg - динамический радиус колеса, м.

Величина Pk мах берется по данным расчета из раздела 1.

Для нахождения динамического радиуса колеса необходимо вычислить нагрузку на одно колесо (шину) машины в кН;

                                                                                       (3.2)

где nш - число колес (шин) машины.

По нагрузке на колесо из приложения 8 подбирается шина соответствующего размера. Выбираем шину 260-508 (9-20).

Вычисляем динамический радиус колеса (м) по формуле:

Rg = 0,001 [0,5d + 0,9bk                                                                                                               (3.3)

где d и bk - наружный диаметр обода и ширина профиля покрышки, мм.

Rg = 0,001[0,5×508 + 0,9×260] = 0,485 м;

.

Общее передаточное число трансмиссии на 1-ой передаче из условия сцепления колес с дорожным покрытием определяется по формуле:

                                                                     (3.4)

где Gсц - сила веса, приходящаяся на ведущие колеса машины, Н;

m - коэффициент перераспределения массы автомобиля, (m = 1,1 … 1,3 для неполноприводных машин);

cos α = 1;

j - коэффициент сцепления (j=0,4).

Сила веса, приходящаяся на ведущие колеса, принимается в следующих пределах:

автомобили 4´2 - ;

автомобили 6´2; 6´4 - ;

автомобили 4´4; 6´6 - ;


Окончательный выбор общего передаточного числа трансмиссии на 1-ой передаче производится при соблюдении условия:

                                                                                    (3.5)

,6159,34

K1 =50.

Передаточное число трансмиссии на высшей передаче определяется из условия обеспечения движения машины без груза с максимальной скоростью.

                                                                       (3.6)


У автомобилей с карбюраторными двигателями для получения высокого КПД трансмиссии и скорости движения передаточное число на высшей передаче в коробке передач обычно принимают iвыс. = 1,0. В этом случае передаточное число главной передачи может быть выражено по формуле:

                                                                                           (3.7)

i0 = 9,5 / 1,0=9,5.

Значения передаточных чисел главной передачи у выполненных моделей автомобилей находятся в пределах: одинарные передачи i0 = 5,1…6,7; двойные передачи i0 = 6,5...9,8.

Минимальное число ступеней в коробке передач m1 находится из следующей зависимости:

                                                                            (3.8)


Число ступеней округляется до большего целого значения. Окончательный выбор числа передач производится путем сравнения с существующими моделями аналогичных машин. Принимаем число ступеней равное 5. Знаменатель прогрессии для разбивки передаточных чисел в коробке передач определяется по выражению.

                                                                                    (3.9)

q - знаменатель прогрессии.

=1.515

Передаточные числа в коробке передач находятся по формулам

на первой передаче

на второй передаче                                                               (3.10)

на m1 -й передаче


Общее передаточное отношение трансмиссии автомобиля


4.  Расчет и построение тягово-динамических характеристик

Тяговая характеристика представляет собой графическую зависимость на различных передачах Ра = f (V) и является основным документом, характеризующим тягово-динамические качества машины. Расчет тяговой характеристики производится в следующем порядке.

Для построения кривых Ра = f (V) необходимо определить на каждой передаче скорость движения и свободную силу тяги при соответствующей частоте вращения вала двигателя, используя данные скоростной характеристики двигателя и кривую буксования. Теоретическая скорость движения машины определяется по формуле

                                                                                (4.1)

где Rд - динамический радиус колеса, м;

ne - текущее значение частоты вращения вала двигателя, об/мин;

К - общее передаточное число трансмиссии на соответствующей передаче.

Свободная сила тяги равна:

                                                                                        (4.2)

где Pk - касательная сила тяги, Н

                                                                            (4.3)

Pw - сопротивление воздушной среды, Н (учитывается при V ≥ 25 км/ч):

                                                                              (4.4)

Скорость машины на 1-й передаче


Касательная сила тяги машины на 1-й передаче

35761,34 H.

35971,65 H.

35770,1 H.

34902,58 H.

33456,7 H.

31441,24 H.

28847,42 H.

По аналогии рассчитываются характеристики на остальных передачах. Найденные значения вносятся в таблицу 4.1 и на ее основе строится тягово-динамическая характеристика (рисунок 4.1).

Таблица 4.1 - Параметры тяговой характеристики

nе, мин-1

Ме, Нм

К1 = 50

К2 = 33

 



V,км/ч

Рк, Н

Рw, Н

Ра, Н

V,км/ч

Рк, Н

Рw, Н

Ра, Н

 

1280

408,1

4,680832

35761,34

0

35761,34

7,09217

23602,48

0

23602,48

 

1600

410,5

5,85104

35971,65

0

35971,65

8,865212

23741,29

0

23741,29

 

1920

408,2

7,021248

35770,1

0

35770,1

10,63825

23608,27

0

23608,27

 

2240

398,3

8,191456

34902,58

0

34902,58

12,4113

23035,7

0

23035,7

 

2560

381,8

9,361664

33456,7

0

33456,7

14,18434

22081,42

0

22081,42

 

2880

358,8

10,53187

31441,24

0

31441,24

15,95738

20751,22

0

20751,22

 

3200

329,2

11,70208

28847,42

0

28847,42

17,73042

19039,3


19039,3

 

nе, мин-1

Ме, Нм

К3 = 22

К4 = 15

 



V,км/ч

Рк, Н

Рw, Н

Ра, Н

V,км/ч

Рк, Н

Рw, Н

Ра, Н

1280

408,1

10,63825

15734,99

0

15734,99

15,60277

10728,4

0

10728,4

1600

410,5

13,29782

15827,53

0

15827,53

19,50347

10791,49

0

10791,49

1920

408,2

15,95738

15738,85

0

15738,85

23,40416

10731,03

0

10731,03

2240

398,3

18,61695

15357,13

0

15357,13

27,30485

10470,77

147,964

10322,81

2560

381,8

21,27651

14720,95

0

14720,95

31,20555

10037,01

193,2591

9843,751

2880

358,8

23,93607

13834,14

0

13834,14

35,10624

9432,371

244,5935

9187,778

3200

329,2

26,59564

12692,87

12553,49

39,00693

8654,227

301,9673

8352,26

nе, мин-1

Ме, Нм

К5 = 9,5


 



V,км/ч

Рк, Н

Рw, Н

Ра, Н


 

1280

408,1

24,63596

6794,655

0

6794,665


 

1600

410,5

30,79495

6834,613

188,2068

6646,406


 

1920

408,2

36,95394

6796,32

271,0178

6525,302


 

2240

398,3

43,11293

6631,49

368,8854

6262,605


 

2560

381,8

49,27192

6356,773

481,8095

5874,964


 

2880

358,8

55,43091

5973,835

609,7901

5364,045


 

3200

329,2

61,58989

5481,01

752,827

4728,183


 


При анализе тяговых свойств автомобиля удобнее пользоваться динамической характеристикой, выражающей зависимость динамического фактора от скорости движения.

Динамический фактор характеризует удельную свободную силу тяги, которую может развивать машина на различных передачах:

                                                                                           (4.5)

где Gа - сила веса транспортной системы, Н.

=


Таким образом, динамическая характеристика представляет собой тяговую характеристику, у которой по оси ординат в соответствующем масштабе отложен динамический фактор.

Рисунок 4.1 - Тягово-динамическая характеристика

5. Анализ тяговых свойств машины


В условиях эксплуатации возможности движения транспортной системы на той или иной передаче ограничиваются мощностью двигателя (т.е. способностью машины развить на данной передаче салу тяги, равную или большую действующей силы сопротивления) и силами сцепления (т.е. возможностью машины реализовать эту силу тяги на ведущих органах без буксования). Эта возможность может быть выражена следующей зависимостью

                                                                                (5.1)

где  - суммарная сила сопротивления дороги, Н.

Очевидно, при равномерном движении Ра = , а при ускоренном . Сила тяги по сцеплению зависит от состояния дорожного покрытия и типа движителя, определяющих величину коэффициента сцепления φ, а также от нагрузки, приходящейся на ведущие органы машины (сцепной силы веса) - Gсц.

                                                                                        (5.2)

Анализ зависимости показывает, что движение транспортной системы на данной передаче возможно при следующих условиях:

.        Сумма сил сопротивления  не превосходит по своей величине значения свободной силы тяги Ра, которую машина способна развить на этой передаче.

.        Сила тяги Ра, подводимая к ведущим органам не превышает силы тяги Рφ, ограничиваемой по сцеплению.

.        При  и отсутствие ограничений по сцеплению () обеспечивается ускоренное движение.

.        Для движения с равномерной скоростью при переменной величине  необходимо изменять форсировку двигателя изменением подачи топлива автоматически (с помощью регулятора) или вручную (дроссельной заслонкой) в соответствии с изменением , так чтобы .

Тяговая характеристика определяет способность машины развивать на различных передачах при полной форсировке двигателя предельные значения силы тяги или динамического фактора при соответствующей скорости движения. Однако, в условиях эксплуатации использование полной силы тяги и наибольшей скорости на данной передаче не всегда целесообразно и возможно. Поэтому на машинах с карбюраторными двигателями водитель положением дроссельной заслонки устанавливает соответствие между нагрузкой и допустимой скоростью движения, стремясь обеспечить экономичный режим работы двигателя на частичных характеристиках.

На машинах с дизельными двигателями водитель, воздействуя на всережимный регулятор, устанавливает желаемою частоту вращения коленчатого вала двигателя. Регулятор в соответствии с изменением сил сопротивления изменяет подачу топлива, сохраняя V=Const. Таким образом, в эксплуатации двигатели машин работают обычно на частичных характеристиках по нагрузке (карбюраторные двигатели) или на регуляторных ветвях характеристик (дизельные двигатели).

Работа двигателя по внешней характеристике происходит лишь на режимах разгона или перегрузки (при значительном возрастании сил сопротивления).

Рассмотрим некоторые задачи, решаемые с помощью тягово-динамической характеристики автомобиля:

. Условие движения порожнего автопоезда при заданных значениях f, φ, G, колесной формулы и iр = 0.

                                                                  (5.3)

= (43000 + 0) × 0,0500 = 2150 Н,

                                                                                     (5.4)

Для проектируемой машины

 Н

Трогание с места на 2-ой передаче должно производиться во избежание буксования при неполном открытии дросселя так, чтобы . Избыточная сила тяги расходуется на сообщение автопоезду ускорения.

0,6∙75000,0=45000,0 H.

, (5.6)

8600-2150=6450 Н

Для упрощения расчета принимаем δвр = 1 и q = 10 м/с, получим следующее значение ускорения

                                                                                        (5.7)

 

Определяем скорость движения порожнего автопоезда на высшей передаче на прикрытом дросселе и с максимальной скоростью на ограничителе частоты вращения. На полном дросселе без снижения скорости порожний автопоезд может преодолеть затяжной подъем

                                                                               (5.8)


а при снижении скорости до

                                                                               (5.9)


При  движение порожнего автопоезда осуществляется на 1-й, 2-й, 3-й, 4-й и 5-й передачах, со скоростью до 61 км/ч, при частичной подаче топлива.

. Условие движения груженого автопоезда на руководящем подъеме iр с полезной нагрузкой Q.

                                                       (5.10)

 93000 × (0,05 + 0,04)= 8370 Н.

Для проектируемой машины

0.4∙46500=18600 Н.

Движение на 5-й передаче невозможно, так как


Наибольшая скорость движения Vа = 39 км/ч может быть достигнута на 4-й передаче при 8352 Н и максимальном открытии дросселя.

Возможность трогания автопоезда на 1-ой передаче при неполном открытии дросселя должна происходить при условии, что .

При этом

                                                                          (5.11)

18600-8370 = 10230 Н.

                                                                                        (5.12)

 м/с.

3. Среднее условие движения груженого автопоезда при снижении дорожных сопротивлений до fср + 0,2 ip.

                                                                     (5.13)

 933000 × (0,100 + 0,2∙ 0,04)= 10044,0 Н.

Движение возможно на 1, 2, 3 и частично на 4-й передачах со скоростью не более 26 км/ч при максимальном открытии дросселя. Наиболее эффективна в этих условиях 4-я передача.

Определяется возможная рейсовая нагрузка на каждой из передач

 (5.14)


Аналогично рассчитываются возможная рейсовая нагрузка на остальных передачах


Условие движения, выраженное через динамический фактор и удельное сопротивление движению, описывается выражением:

                                                                (5.15)

Для определения возможностей трогания и разгона автомобиля при заданных значениях j, f и iр на 1-й передаче при неполном открытии дросселя находят значения Д и y

,

0,1 +0,04=0,14

Ускорение при этом составит

,

(0,3 - 0,4)∙10=4.4 м/.

Трогание на 1-й передаче и разгон возможны.

Максимально возможная по условиям силы тяги скорость движения будет при ψ. Следует иметь в виду, что график динамического фактора служит для определения величины преодолеваемого подъема, максимального веса прицепов и других целей. Угол подъема для каждой передачи может быть найден из соотношения:

,

откуда: ,

,



6. Определение нагрузок на оси и колеса двухосной машины

При движении транспортной машины на оси и колеса действуют реакции, нормальные и параллельные опорной поверхности. Определение нормальных реакций необходимо для выполнения условий устойчивости и управляемости, анализа сцепных и тяговых качеств. Суммарные реакции служат исходным материалом для проведения прочностных расчетов деталей подвески и ходовой системы машины. В целях упрощения расчетов рассматриваются случаи установившегося движения машины с малой скоростью, когда j = 0 я Рw = 0.

Для проведения расчетов по определению нагрузок на оси машины выбираем геометрические параметры машины из таблицы 6.1 или по технической характеристике прототипа. Расчетная схема для определения нагрузок на оси машины приведена на рисунке 6.1. Наносим на расчетную схему действующие силы и реакции дороги.

Таблица 6.1 - Геометрические параметры автомобиля

Тип машины

Значение параметров по схеме рисунка 6.1


abLbrhг






Двухосные

0,8

2,0

2,3

4,3

0,5

1,3

Тип машины

Значение параметров по схемам рисунка 3 и


bкр

hкр

В

С

º


Двухосные

1,3

0,9

1,6


0




Рисунок 6.1 - Расчетная схема двухосного автомобиля

Для нахождения статических нагрузок на переднюю и заднюю  оси машины используются зависимости:

для порожней машины

                                                                                          (6.1)

                                                                                          (6.2)

для груженой машины

, (6.3)

, (6.4)

Для оценки распределения нагрузок по колесам автомобиля необходимо вычислить нагрузку на одну шину переднего и заднего колеса груженой машины в статике.

                                                                                           (6.5)

                                                                                           (6.6)

где nп и nз - число колес соответственно на переднем и заднем мостах.


При движении автомобиля за счет действия сил сопротивления движению, крюковой силы тяги, окружного усилия на ведущих колесах и реактивного момента на балках мостов происходит перераспределение нагрузок на оси.

Составив уравнение равновесия движущейся машины относительно точки А рисунок 6 и решив его относительно  получим:

                                               (6.7)

Нагрузка на переднюю ось машины

                                                        (6.8)

где Ркр =f1×(Gпр + Q2) - нагрузка на крюке, Н

 - уклон дороги, в °.

.

Для оценки распределения нагрузок по колесам автомобиля необходимо вычислить нагрузку на одну шину переднего и заднего колеса груженой машины в движении и сравнить с допустимой. Кроме того, необходимо вычислить коэффициент неравномерности нагрузок на шины, равный:

                                                                     (6.9)

где  и  - максимальная и минимальная нагрузки на шины груженой машины

В тех случаях, когда Кн превышает допустимый предел, рекомендуется, изменив параметр b2, найти новые значения ,  и Кн.

двигатель тяговый ось сцепление машина

7. Продольная и поперечная устойчивость машин

Определим наибольший угол подъема, на котором автомобиль может стоять, не опрокидываясь. Назовем такой угол продольным статическим углом подъема и будем обозначать его alim.

Потеря продольной устойчивости автомобиля наступит тогда, когда нагрузка на переднюю ось будет равна нулю. Предельные углы продольной статической устойчивости будут равны:

для порожней машины

                                                                                    (7.1)

alim=arctg 1.77=60.5°

для груженой машины

                                                                   (7.2)

arctg 1.25=51.3º.

Статические углы поперечной устойчивости машины по опрокидыванию и боковому сползанию могут быть найдены из расчетной схемы на рисунке 7.1. Предел поперечной устойчивости наступит тогда, когда Zn = 0. Статический угол поперечной устойчивости машины по опрокидыванию составит:

                                                               (7.3)

где В - колея машины.

=arctg 0,84=40º.

Условие бокового сползания машины определяется следующим выражением:

                                                                                        (7.4)

где j’ - коэффициент сцепления в поперечном направлении.


Рисунок 7.1 - Расчетная схема определения углов поперечной устойчивости

8. Выбор основных узлов автомобиля

.1 Сцепление

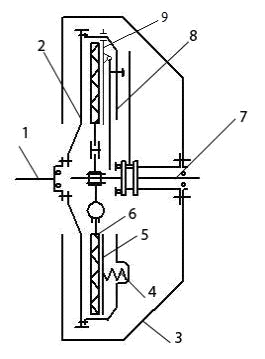
Сцепление (кинематическая схема сцепления представлена на рисунок 8.1) однодисковое, сухое, постоянно замкнутое, установлено в литом чугунном картере. Кожух сцепления 8 закреплен на маховике 2 коленчатого вала 1 восемью центрирующими (специальными) болтами. Нажимное усилие сцепления создается шестнадцатью пружинами 4, установленными между кожухом сцепления и нажимным диском 5. Под пружины со стороны нажимного диска подложены теплоизоляционные кольца.

Передача крутящего момента от кожуха 8 сцепления на ведомый диск 6 осуществляется через нажимной диск 5 четырьмя парами пружинных пластин. Пластины создают жесткую связь нажимного диска с кожухом сцепления в окружном и радиальном направлениях, обеспечивая в то же время возможность перемещения нажимного диска относительно кожуха сцепления в осевом направлении за счет гибкости, что необходимо для выключения и включения сцепления. Пластины одной стороной крепятся к кожуху, а другой с помощью специальных втулок и болтов - к нажимному диску.

Выключающее устройство состоит из четырех рычагов, которые пальцами соединяются с нажимным диском и вилкой. Между пальцами и рычагом поставлены игольчатые ролики. Точками опоры рычагов на кожухе служат специальные гайки, навинченные на резьбовые концы вилок. Гайки прижаты к кожуху сцепления упругими пластинами, каждая из которых закреплена на кожухе двумя болтами. Вследствие упругости пластин и сферической опорной поверхности гаек, соприкасающейся с кожухом, вилки могут совершать небольшие качательные движения при выключении и включении сцепления.

Положение рычагов выключения сцепления регулируют вращением гаек, которые после регулировки раскернивают. В процессе эксплуатации автомобиля эти рычаги не регулируют.

Ведомый диск сцепления стальной, с фрикционными накладками, имеет гаситель крутильных колебаний (демпфер) фрикционного типа (с сухим трением стали по стали).

Рисунок 8.1 - Кинематическая схема сцепления: 1 - коленчатый вал; 2 маховик; 3 - корпус; 4 - пружины; 5 - ведущий диск; 6 - ведомый диск; 7 - ведомый (первичный вал КПП) вал; 8 - кожух ведущего диска; 9 - нажимной диск

Упругой муфтой гасителя являются восемь равномерно расположенных по окружности пружин. Каждая пружина вместе с двумя опорными пластинами помещается в отверстиях, пробитых в ведомом диске и дисках гасителя. Опорная пластина имеет четыре боковых выступа, удерживающих ее в отверстиях ведомого диска, и отверстие с отбортовкой, на которой центрируется пружина. Ступица ведомого диска вместе с приклепанными к ней с двух сторон дисками гасителя и маслоотражателями может поворачиваться относительно ведомого диска в обе стороны на определенный угол, при этом происходит сжатие пружин. Максимальный угол закручивания определяется полным сжатием пружин до соприкосновения витков. Ведомый диск центрируется по наружному диаметру фланца ступицы.

Ведомый диск сбалансирован. Нарушение балансировки устраняется установкой на ведомом диске балансировочных пластин.

Для выключения сцепления применен выжимной подшипник, установленный на муфте подшипника. В подшипник смазка закладывается на заводе-изготовителе и при эксплуатации и ремонте не добавляется; он должен служить до ремонта сцепления. В процессе ремонта сцепления подшипник следует заменить новым.

При правильно отрегулированном приводе сцепления зазор между рычагом и подшипником выключения сцепления должен быть равен 3 … 4 мм.

Для выключения сцепления служит ножная педаль, которая установлена на кронштейне, закрепленном на левом лонжероне рамы автомобиля. Нижний конец педали связан регулируемой тягой с рычагом вилки выключения сцепления. Ход педали ограничивается упором в пол кабины.

.2 Коробка передач

На автомобиле устанавливается пятиступенчатая трехходовая коробка передач с синхронизаторами для включения второй и третьей, четвертой и пятой передач.

Применение синхронизаторов облегчает работу по переключению передач, увеличивает срок службы шестерен, делает бесшумным процесс переключения передач.

Кинематическая схема представлена на рисунке 8.2.

Устройство коробки передач предусматривает возможность установки коробки отбора мощности для привода гидравлических насосов, лебедок и других механизмов.

Картер 1 коробки передач крепят к картеру сцепления четырьмя шпильками. Центровка картера коробки осуществляется по фланцу крышки заднего подшипника ведущего вала (эта крышка является одновременно опорой муфты выключения сцепления).

Ведущий вал 2 установлен на двух шариковых подшипниках. Передний подшипник ведущего вала установлен в расточке фланца коленчатого вала двигателя. Задний подшипник имеет защитную шайбу.

Его внутренняя обойма упирается в ведущую шестерню постоянного зацепления, представляющую собой одно целое с ведущим валом 2, и закреплена гайкой.

Наружную обойму устанавливают в выточку стенки картера коробки передач и закрепляют стопорным кольцом, которое вставляют в канавку наружной обоймы и прижимают крышкой, закрепляемой болтами.












Рисунок 8.2 - Кинематическая схема коробки передач: 1 - корпус; 2 - ведущий или первичный вал; 3 - промежуточный вал; 4 - вторичный или ведомый вал; 5 - вал заднего хода; 6 - ведущая шестерня; 7 - ведомая шестерня промежуточного вала; 9, 11, 13 ведущие шестерни промежуточного вала; 8, 10, 12 - ведомые шестерни вторичного вала; 14, 15, 17 - синхронизаторы; 16 - ведомая шестерня первой передачи

Промежуточный вал 3 установлен на шариковом и роликовом подшипниках. Передний конец опирается на роликовый подшипник, который не имеет внутренней обоймы. Ролики устанавливают непосредственно на шейку промежуточного вала. Отверстие для подшипника в стенке картера коробки закрывают заглушкой, которую устанавливают на краске. При креплении коробки к картеру сцепления место сопряжения дополнительно уплотняют резиновым кольцом. Задний подшипник промежуточного вала шариковый и имеет защитную шайбу. Внутренняя обойма упирается в заплечик промежуточного вала и закрепляется гайкой.

Ведомый вал 4 установлен на роликовом и шариковом подшипниках. Ролики переднего подшипника ведомого вала закладываются в выточку ведущего вала; в осевом направлении ролики запирает пружинное кольцо. Задний конец ведомого вала опирается на шариковый подшипник. Его наружная обойма закрепляется стопорным кольцом. Внутренняя обойма упирается в заплечик ведущего вала и удерживается червяком привода спидометра и кронштейном барабана центрального тормоза, закрепляемыми при помощи гайки ведомого вала.

Для предотвращения вытекания масла на заднем конце ведомого вала имеется резиновый сальник, установленный в кронштейне центрального тормоза. Этот кронштейн является одновременно крышкой заднего подшипника ведомого вала. Для улучшения герметизации на фланце барабана центрального тормоза имеется отражатель. Ось 5 блока шестерен заднего хода неподвижна и закрепляется стопорной пластиной, удерживаемой болтом.

Ведущая шестерня постоянного зацепления вала 6, ведомая шестерня 7 постоянного зацепления промежуточного вала, шестерня 8 и 9 четвертой передачи, шестерни 10 и 11 третьей передачи, шестерни 12 и 13 второй передачи имеют косые зубья. Остальные шестерни имеют прямые зубья.

Шестерни 12 второй, 10 третьей и 8 четвертой передачи установлены на ведомом валу свободно, находятся в постоянном зацеплении с соответствующими шестернями промежуточного вала и в нейтральном положении свободно вращаются относительно ведомого вала. Шестерня 8 четвертой передачи установлена на стальной втулке, закрепленной на ведомом валу с помощью штифта.

Для обеспечения доступа масла к местам трения и надежной работы шейки вала втулка шестерни 8 и посадочные места шестерен и имеют специальную форму в виде чередующихся впадин и выступов, кроме того, поверхность этих деталей фосфатирована и покрыта специальным составом для устранения возможности заедания в период приработки.

Шестерни постоянного зацепления ведомого вала имеют конусы для синхронизаторов. Шестерья первой передачи и заднего хода установлена на ведомом валу на шлицах. Эти передачи синхронизаторов не имеют.

В правой продольной стенке картера коробки передач имеется отверстие для заливки масла и проверки его уровня, которое закрывается резьбовой пробкой. В левой продольной стенке внизу устроено спускное отверстие. Это отверстие закрывается резьбовой пробкой, в которой установлен постоянный магнит. Он притягивает к себе мелкие частицы металла из масла.

На картере коробки передач имеется сапун для сообщения ее внутреннего пространства с атмосферой.

Привод спидометра размещен в кронштейне центрального тормоза и состоит из червяка и шестерни, с хвостовиком которой соединен гибкий вал привода спидометра. Соединение гибкого вала с шестерней пломбируют на заводе.

Механизм управления коробкой передач размещен в крышке картера. Ее съемная верхняя часть является корпусом рычага переключения передач; в корпусе размещается промежуточный рычаг включения первой передачи и заднего хода, установленный на оси.

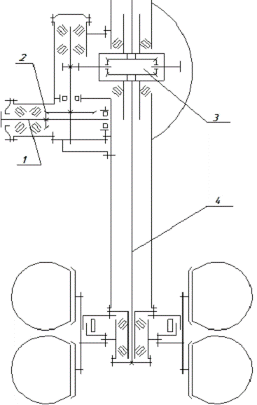
.3 Карданная передача

Карданная передача (рисунок 8.3) состоит из двух валов: промежуточного 2 и основного 4, трех карданов и промежуточной опоры.

Рисунок 8.3 - Кинематическая схема карданной передачи: 1- коробка переключения передач; 2 - промежуточный коленчатый вал; 3 - промежуточная опора; 4 - основной карданный вал; 5 - задний мост

Валы карданной передачи 2 и 4 изготовлены из стальных тонкостенных труб. Для их балансировки к ним привариваются стальные пластины. Промежуточный вал 2 имеет шлицевое соединение, состоящее из шлицевой втулки (с внутренними шлицами) и полого шлицевого вала (с наружными шлицами) ведущей вилки кардана.

Вал 4 привода заднего моста (основной вал) имеет постоянную длину. Вилки карданов приведены к обоим его концам. Перенос шлицевого соединения с вала привода заднего моста на промежуточный вал улучшает балансировку всей карданной передачи и надежность ее работы.

Значительно увеличивает срок службы карданной передачи герметизация шлицевого соединения, которая препятствует вытеканию смазки наружу и проникновению грязи внутрь. Герметизация обеспечивается с одной стороны заглушкой, завальцованной в шлицевой втулке, с другой стороны резиновым и войлочным сальниками. Кроме того, защитный прорезиненный чехол также предохраняет от проникновения пыли и грязи в шлицевое соединение. Шлицевое соединение масленки не имеет, а смазка закладывается в него на длительный срок. Каждый из трех карданов состоит из крестовины и двух вилок. Между шипами крестовины и ушками вилок устанавливаются игольчатые подшипники. Для герметизации карданов, предотвращения вытекания масла и проникновения грязи у каждого игольчатого подшипника устанавливают резиновые сальники.

Для смазки на каждой крестовине имеется масленка, от которой по каналам в шипах и канавкам в их торцах масло проходит ко всем игольчатым подшипникам. Чтобы предохранить сальники от повреждения при значительном повышении давления во время смазки, па крестовине имеется предохранительный клапан, который открывается и выпускает наружу избыток масла, когда оно заполнило всю систему и его давление больше 3,5 кГ/см2.

Промежуточный вал в своей задней части опирается на шариковый подшипник. На подшипник напрессованы две крышки с сальниками, передний и задний отражатели. Гайка распорных втулок подшипника закрепляется стопорной шайбой. Шариковый подшипник установлен в резиновой подушке, которая присоединяется к раме при помощи болтов, крепящих поперечину и кронштейн опоры. Для того чтобы предотвратить возможность проворачивания подшипника в резиновой подушке, скобы его крышек входят в пазы подушки, что также удерживает крышки от осевого смещения.

Чтобы ограничить в кронштейне опоры осевое перемещение подушки, между кронштейном и поперечиной рамы устанавливается стопорная скоба подушки. Осевая нагрузка на резиновую подушку резко возрастает при увеличении износа пальцев задних рессор, приводящего к смещениям заднего моста.

Не допускается ослабление затяжки болтов, крепящих фланцы карданов, крышки игольчатых подшипников шипов крестовин и кронштейна опорного подшипника, износ или повреждение сальников подшипников шипов крестовин. Подшипники крестовин не должны иметь значительного радиального или осевого зазора.

.4 Задний мост

Задний мост (рисунок 8.4) является ведущим и состоит из одинарного центрального редуктора и двух колесных передач. Задний мост передает крутящий момент от коленчатого вала двигателя через сцепление, коробку передач и карданный вал к ведущим колесам автомобиля и с помощью дифференциала позволяет ведущим колесам вращаться с разной угловой скоростью.

Рисунок 8.4 - Колесная передача и главная передача с дифференциалом: 1 - ведущий вал; 2 - главная (коническая) передача; 3 - дифференциал; 4 - полуось

Принятая конструктивная и кинематическая схема передачи крутящего момента позволяет разделить его в центральном редукторе, направив к колесным передачам, и тем самым разгрузить дифференциал и полуоси от увеличенного момента, который передается при двухступенчатой схеме главной передачи заднего моста.

Применение колесных передач позволяет, кроме того, путем изменения только числа зубьев цилиндрических шестерен колесного редуктора при том же центральном редукторе и сохранении межцентрового расстояния, у шестерен колесных передач получать различные передаточные числа, что делает задний мост пригодным для использования на разных модификациях автомобилей.

Центральный редуктор (рисунок 8.4) одноступенчатый, состоит из пары конических шестерен со спиральными зубьями 2 и межколесного дифференциала 3. Детали редуктора монтируются в картере, изготовленном из ковкого чугуна. Редуктор устанавливается в окне балки заднего моста и крепится к ней с помощью шпилек. Положение картера относительно балки определяется специальным центрирующим буртиком на привалочном фланце картера редуктора и, кроме того установочными штифтами. Ведущая коническая шестерня 2, изготовленная как одно целое с валом, крепится не консольно, а имеет, кроме двух передних конических роликоподшипников, еще дополнительную заднюю опору, представляющую собой цилиндрический роликоподшипник. Конструкция с тремя подшипниками является более компактной, при этом значительно снижается максимальная радиальная нагрузка на подшипники по сравнению с консольным креплением, повышается нагрузочная способность подшипников и стабильность регулировки зацепления конических шестерен, что значительно увеличивает их долговечность. Возможность приближения в этом случае конических роликоподшипников к зубчатому венцу ведущей конической шестерни уменьшает длину ее хвостовика и позволяет тем самым увеличить расстояние между фланцем редуктора и фланцем коробки передач, что очень важно при небольшой базе автомобиля для лучшего расположения карданного вала. Наружные кольца конических роликоподшипников расположены в картере и запрессовываются до упора в буртик, сделанный в картере. Фланец картера подшипников шпильками крепится к картеру редуктора заднего моста. Эти подшипники воспринимают как радиальные, так и осевые нагрузки, возникающие в зацеплении пары конических шестерен при передаче крутящего момента. Внутренний подшипник имеет плотную посадку на валу, а наружный - скользящую, что позволяет регулировать натяги в этих подшипниках.

Между внутренними кольцами конических роликоподшипников установлены распорное кольцо и регулировочная шайба.

Подбором толщины регулировочной шайбы обусловливается необходимый предварительный натяг в конических роликоподшипниках. Цилиндрический роликоподшипник ведущей конической шестерни установлен в расточке прилива картера редуктора заднего моста по ходовой посадке и зафиксирован от осевого смещения стопорным кольцом, входящим в канавку на цилиндрической части конца ведущей шестерни. Этот подшипник воспринимает только радиальные усилия, появляющиеся при передаче крутящего момента коническими, шестернями, и уменьшает деформацию ведущей шестерни, возникающую при этом.

На передней части вала ведущей конической шестерни на поверхности меньшего диаметра нарезана резьба, а на поверхности большего диаметра - шлицы, на которые устанавливаются маслоотражательная шайба и фланец карданного вала. Все детали, расположенные на валу ведущей шестерни, затягиваются корончатой байкой.

Ведомая коническая шестерня приклепывается к правой чашке дифференциала. Из-за ограниченности места между шестерней и приливом в картере редуктора под дополнительную опору ведущей шестерни заднего моста заклепки, соединяющие ведомую шестерню с чашкой дифференциала с внутренней стороны, имеют плоскую головку.

Ведомая шестерня центрируется по наружной поверхности фланца чашки дифференциала. При работе ведомая шестерня в результате деформации может быть отжата от ведущей шестерни, вследствие чего будет нарушено зацепление шестерен. Для ограничения такой деформации и сохранения правильного контакта в зацеплении конических шестерен в картере редуктора установлен ограничитель ведомой шестерни, выполненный в виде болта, в торец которого вставлен латунный сухарь. Ограничитель ввертывают в картер редуктора до тех пор, пока его сухарь не коснется торца ведомой конической шестерни, после чего ограничитель отвертывают для создания необходимого зазора и контрят гайкой.

Зацепление конических шестерен главной передачи регулируется изменением набора регулировочных прокладок различной толщины, изготовленных из мягкой стали и установленных между картером подшипников и картером редуктора заднего моста. Коническая пара шестерен при заводской сборке проходит предварительный подбор (спаривание) по контакту и шуму. Поэтому в случае необходимости замены одной шестерни другая шестерня тоже должна быть заменена.

Дифференциал заднего моста конический, имеет четыре сателлита и две полуосевые шестерни. Сателлиты надеваются на шипы крестовины, изготовленной из высокопрочной стали и термически обработанной до высокой твердости. Точность изготовления крестовины обеспечивает правильное взаимное расположение на ней сателлитов и правильное зацепление их с полуосевыми шестернями. Сателлиты опираются на шейки крестовины через свертные втулки из бронзовой ленты.

Наружный торец сателлитов, прилегающий к чашке дифференциала, прошлифован по сферической поверхности. Опорой сателлитов в чашке является бронзовая штампованная шайба также сферической формы. Сателлиты представляют собой конические прямозубые шестерни, изготовленные из высокопрочной цементуемой легированной стали. Они подвергаются термической обработке для получения высокой твердости поверхности зубьев и вязкой их сердцевины.

Смазка деталей редуктора осуществляется маслом, разбрызгиваемым зубчатым венцом ведомой конической шестерни. В картере редуктора отлит масляный карман, в который отбрасывается масло, разбрызгиваемое ведомой конической шестерней, и оседает масло, стекаемое со стенок картера редуктора.

Из масляного кармана масло по каналу подводится к картеру подшипников ведущей шестерни. В буртике этого картера, разделяющем подшипники, имеется отверстие, через которое масло поступает к обоим коническим роликоподшипникам. Подшипники, установленные конусами навстречу друг другу, смазываются поступающим маслом и благодаря насосному действию конических роликов перекачивают его в разные стороны: задний подшипник возвращает масло в картер, а передний - в сторону фланца карданного вала.

Между фланцем и подшипником установлена маслоотражательная шайба из малоуглеродистой стали, цианированная и закаленная.

На наружной поверхности шайба имеет левую резьбу с большим шагом, т. е. направление резьбы противоположно направлению вращения шестерни; кроме того, шайба установлена с малым зазором в расточке крышки сальника - все это препятствует поступлению смазки от подшипника к сальнику, уплотняющему наружную поверхность фланца.

Наличие колесных передач хотя и снизило нагрузки на детали дифференциала, но привело к повышению относительных скоростей вращения шестерен при повороте или буксовании автомобиля. Поэтому, кроме мер, принятых для защиты трущихся поверхностей (введение опорных шайб и втулок), предусмотрено также улучшение системы смазки деталей дифференциала. Приваренные к чашке дифференциала черпаки захватывают смазку из картера редуктора и направляют ее к деталям, расположенным в чашках дифференциала. Обилие поступающей смазки способствует охлаждению трущихся деталей, проникновению ее в зазоры, что уменьшает возможность заедания и износа деталей. Для лучшего поступления смазки ко втулкам сателлитов на шипах крестовины сделаны лыски, а для лучшей смазки опорных шайб полуосевых шестерен во впадинах их зубьев просверлены отверстия.

Колесная передача (рисунок 8.4) является второй ступенью редуктора заднего моста.

От ведущей конической шестерни центрального редуктора через ведомую коническую шестерню и шестерни дифференциала крутящий момент передается на полуоси 3, которые подводят момент к центральной так называемой солнечной шестерне колесной передачи. От солнечной шестерни вращение передается на три сателлита , равномерно расположенных по окружности вокруг солнечной шестерни.

Сателлиты вращаются на осях, закрепленных в отверстиях неподвижного водила, состоящего из наружной и внутренней чашек, в сторону, противоположную направлению вращения солнечной шестерни. От сателлитов вращение передается коронной шестерне внутреннего зацепления, присоединенной к ступице заднего колеса. Коронная шестерня вращается в ту же сторону, что и сателлиты.

8.6 Передняя подвеска

- ступица; 2 - роликоподшипники; 3 - регулировочная гайка; 4 - замочное кольцо; 5 - контргайка; 6 - поворотные цапфы; 7 - замочная шайба; 8 - шкворня; 9 - тормозной барабан; 10 - втулки; 11 - прокладки; 12 - клиновидный штифт; 13 - балка двутаврового сечения; 14, 15 - опорные шайбы Рисунок 8.6 - Передний мост

Для облегчения управления автомобилем, стабилизации передних колес (их самопроизвольного возвращения после поворота в положение для движения по прямой) и уменьшения износа шин конструкцией предусмотрены отклонения шкворней от вертикали, а шипов поворотных цапф - от горизонтали, характеризуемые углами установки колес и шкворней: развалом, поперечным и продольным наклонами шкворня и схождением колес. Из этих четырех различных величин регулируют только схождение, которое изменяется при помощи увеличения или уменьшения длины поперечной рулевой тяги. Если по какой-либо причине развал, поперечный и продольный наклоны шкворня имеют отклонения от нормального, то они могут быть восстановлены только методами ремонта.

.7 Задняя подвеска

Задняя подвеска автомобиля ЗИЛ 130 имеет зависимую подвеску. Её используют потому что она не только смягчает неровности дороги, но и передает тяговые и тормозные силы от колёс к раме автомобиля. Зависимая задняя подвеска автомобиля ЗИЛ 130 изображена на рисунке 8.7.

1, 8 - кронштейны; 2, 7 - дополнительные кронштейны; 3 - подресорники; 4 - основные рессоры; 5 - стремянки; 6,9 - накладки; 10 - картер заднего моста

Рисунок 8.7 - Зависимая задняя подвеска автомобиля ЗИЛ 130

8.8 Рулевое управление

В систему рулевого управления автомобиля входят: рулевое колесо 14 (рисунок 8.8), рулевой вал, размещенный внутри рулевой колонки 12, карданная передача рулевого управления с двумя карданами 10; рулевой механизм 4, объединенный в одном агрегате с гидроусилителем; насос 6 гидроусилителя, соединенный с рулевым механизмом шлангами высокого 8 и низкого 7 давления; рулевая сошка 2, продольная тяга 1, верхний рычаг 42 левой поворотной цапфы, поворотные рычаги 31, поперечная тяга 39 рулевого привода.

Рулевая колонка крепится в верхней части к переднему щиту при помощи тяги 13 к внутренней панели кабины. К ее полу крепится нижняя часть колонки.

Трубчатый полый рулевой вал опирается на два шариковых подшипника с сальниками, установленными внутри рулевой колонки. Подшипники смазывают при сборке на заводе специальной консистентной смазкой. Повторно их смазывают при каждой разборке рулевого управления.

Карданная передача с шлицевым валом 11, соединяющим рулевой вал с ведущим валом рулевого механизма, позволяет уменьшить размеры системы рулевого управления, компенсирует вредное влияние неточностей монтажа, упругих деформаций и колебаний кабины относительно рамы автомобиля. Вилки карданов установлены на крестовинах 18 на бронзовых втулках 16, закрепленных стопорными кольцами. Кардан защищен от попадания грязи резиновыми уплотнителями. Ведущая вилка верхнего кардана соединена клиньями с рулевым валом, ведомая вилка нижнего кардана соединена таким же способом с ведущим валом рулевого механизма.

Рисунок 8.8 - Рулевое управление

В рулевом механизме использованы винт 23 (рисунок 8.9), представляющий одно целое с валом 15, и шариковая гайка 21, жестко закрепленная установочными винтами внутри поршня-рейки 25.

Для уменьшения трения (замены трения скольжения трением качения) между винтом и гайкой в их резьбе циркулируют шарики. Всего их в резьбу и соединительную трубку 7, образованную двумя желобами, закладывается 31 шарик. Шарики, выкатывающиеся из резьбы одного конца гайки, по соединительной трубке 7 вкатываются в ее другой конец. Если придется заменять шарики рулевого механизма на шарики большего размера, то необходимо брать шарики, различия в размерах которых не превышают 2 мкм. Если заложить шарики, разность размеров которых превышает 2 мкм, то это приведет к поломке гайки или винта.

На нижней стороне поршня-рейки 25 имеются зубья рейки, которые находятся в зацеплении с зубчатым сектором 5, который представляет одно целое с валом 1 сошки.

Верхний конец ведущего вала опирается на игольчатый подшипник и втулку промежуточной крышки 8 картера рулевого механизма. На поршне-рейке имеются чугунные упругие разрезные уплотняющие кольца 22, обеспечивающие его плотную посадку в картере-цилиндре 4 рулевого механизма. Картер рулевого механизма одновременно является цилиндром, в котором происходит движение поршня-рейки. Картер закрыт нижней крышкой 6 и промежуточной крышкой 8.

Вращательное движение ведущего вала рулевого механизма в паре винт-гайка преобразуется в поступательное движение гайки, которая передает это движение поршню-рейке. Зубья рейки осуществляют поворот сектора 5, а вместе с ним вала 1 с сошкой 2.

Передаточное отношение рулевого механизма равно 20: 1.

Толщина зубьев рейки и сектора переменна по их длине. Это позволяет регулировать зазор в зацеплении путем осевого перемещения вала сошки.

Рисунок 8.9 - рулевой механизм

Толщина среднего зуба сектора 5 (см. рисунок 8.9) вала сошки больше по сравнению с остальными зубьями, винт 23 имеет бочкообразную форму с незначительным уменьшением к концам диаметра винтовой канавки. Это обеспечивает увеличение свободного хода в рулевом механизме при вращении винта в ту или иную сторону от среднего положения.

В картере-цилиндре рулевого механизма имеется спускная пробка 3 с магнитом для улавливания стальных и чугунных частиц, попадающих в масло.

Гидроусилитель рулевого управления уменьшает усилие, которое прикладывается к рулевому колесу водителем для осуществления поворота автомобиля; смягчает толчки и удары, передаваемые рулевому управлению при движении по неровностям дороги; позволяет водителю сохранять правильное положение автомобиля на дороге при внезапном возникновении больших боковых усилий, что, например, имеет место при разрыве шины колеса.

Гидроусилитель обеспечивает с помощью клапана управления использование в рулевом механизме давления масла, создаваемого насосом.

Корпус клапана управления установлен в верхней части картера рулевого механизма между его промежуточной 8 и верхней 18 крышками и уплотнен прокладками. С отверстием 11 корпуса соединен шланг низкого давления, по которому масло возвращается в насос. В нем имеются каналы для подачи масла и установлен шариковый обратный клапан, соединяющий линий высокого и низкого давления при неработающем насосе или поврежденном шланге.

Между буртиком ведущего вала 15 рулевого механизма и упорной шайбой 17 находятся два упорных шариковых подшипника 9. Эти подшипники зажимают золотник 10 клапана управления. Пружинная коническая упорная шайба 17, закрепленная гайкой, обеспечивает постоянное предварительное сжатие упорных подшипников.

Между промежуточной и верхней крышками картера рулевого механизма находятся двенадцать реактивных плунжеров 19, разжимаемых шестью пружинами. Внутренние части наружных поверхностей плунжеров упираются в шариковые подшипники 9. Реактивные плунжеры и их пружины служат для возвращения в среднее положение винта и золотника.

Насос гидроусилителя приводится в действие клиновидным ремнем от переднего конца коленчатого вала двигателя; Насос - лопастный двойного действия. За полный оборот его вала совершается по два полных цикла всасывания нагнетания.

.9 Тормозная система

Автомобиль ЗИЛ-130 оборудован независимыми один от другого тормозами - ручным и ножным.

Ручной тормоз, барабанный с двумя внутренними колодками, установлен на раздаточной коробке. Ручной тормоз следует использовать только в качестве стояночного. Пользоваться ручным тормозом при движении разрешается только в аварийных случаях, так как он сильно нагружает механизмы силовой передачи, а при длительном притормаживании автомобиля тормоз нагревается до высокой температуры и может выйти из строя.

Следует помнить, что при торможении ручным тормозом сигнал торможения не загорается.

Привод ножных тормозов пневматический и действует через педаль и систему пневматических механизмов на тормоза колодочного типа, установленные на всех шести колесах автомобиля.

Пневматическая система обеспечивает возможность автоматического (синхронного с автомобилем) приведения в действие тормозов прицепа, если последний оборудован, тормозами с пневматическим однопроводным приводом, а также используется для регулирования давления воздуха в шинах и приведения в действие стеклоочистителя.

Торможение осуществляется сжатым воздухом, нагнетаемым в три воздушных баллона компрессором; приводимым в действие от двигателя автомобиля клиновидным ремнем.

Подача сжатого воздуха из воздушных баллонов к тормозным камерам колесных тормозов осуществляется тормозным краном. Для управления тормозным краном имеется педаль, соединенная тягой с рычагом крана.

При нажатии на педаль сжатый воздух из баллона поступает через тормозной кран в тормозные камеры 2. Под давлением воздуха штоки тормозных камер перемещаются, поворачивая при этом разжимные кулаки, которые прижимают колодки к тормозным барабанам.

При отпускании педали тормозной кран перекрывает доступ воздуха из баллонов и выпускает воздух из тормозных камер в атмосферу.

Схема пневматического привода тормозов показаны на рисунок 8.10.

1 - компрессор; 2 - регулятор давления; 3 - механизм стеклоочистителя;  4 - головка крана управления; 5 - манометр; 6 - баллоны; 7 - предохранительный клапан; 8 - кран отбора воздуха; 9 - педаль тормозов; 10 - тормозной кран; 11 - сливной кран; 12 - тормозные камеры; 13 - разобщительный кран; 14 - соединительная головка

Рисунок 8.10 - Пневматический привод тормозов автомобиля ЗИЛ - 130

9. Производительность машин

Под производительностью лесотранспортных машин понимается количество кубических метров стрелеванной или вывезенной древесины за смену или в целом за год. В соответствии с этим, производительность различают сменную или годовую. Сменную производительность (Псм) в общем виде на трелевке и вывозке определяют по формуле

                                                                          (9.1)

где Т - продолжительность смены (420 мин);

Тпз - время на подготовительно-заключительную работу, мин;

Тц - время цикла, мин;

Q, - рейсовая нагрузка, м3.

Время цикла Тц для лесовозных автомобилей определяется по формуле

                                                                               (9.2)

где L - расстояние вывозки, км;

Т1 - время пробега одного км в обоих направлениях определяется расчетным путем, мин/км:

                                                                              (9.3)

где Vpa6 и VП - скорости движения машины соответственно с грузом и порожнем, км/ч ;

Т2 - время на погрузочно-разгрузочные работы, мин:

                                                                    (9.4)

где t1 - время на установку автомобиля под погрузку и разгрузку (2 мин/рейс);

t2 - время пребывания машины на нижнем складе под разгрузкой (9 мин/рейс);

t1 - время ожидания погрузки на верхнем складе (12 мин/рейс);

t - время, затрачиваемое челюстным погрузчиком на погрузку, 1 м3 (1 мин/м3);

Q - рейсовая нагрузка, м3.

103.2+28=60 мин.

 

Годовая производительность лесотранспортных машин может быть определена по формуле

                                           (9.5)

где Ксм - коэффициент сменности по режиму работы машины (на вывозке 1…2);

Ктг - коэффициент технической готовности машин (при хорошо налаженной службе 0,8…0,9);

Кпер - коэффициент, учитывающий возможность роста производительности машин (1,05…1,15);

Кик - коэффициент использования исправных машин (0,75…0,85).

Пгод = 365∙32,5∙1∙0,8∙1,0,5∙0,75=7473,4 м3.

10. Расчёт узла

.1 Выбор основных параметров рулевого управления

В общем случае автомобильное рулевое управление может рассматриваться в виде следующих составных частей: рулевого механизма, рулевого привода и усилителя.

Исходной величиной для расчета рулевого управления является момент Мц на поворотной цапфе при повороте управляемых колес полностью груженого автомобиля, стоящего на сухом асфальтобетонном покрытии. В движении это усилие значительно снижается.

Момент сопротивления повороту, возникающий на цапфах управляемых колес стоящего на месте автомобиля определяется из выражения

                                                          (4.1)

где М1 - масса полностью груженого автомобиля, приходящаяся на переднюю ось, кг;

j - коэффициент сцепления колес с дорогой;

rk - радиус качения колеса, м;- коэффициент сопротивления качению;

а - плечо обкатки (расстояние от средней плоскости колеса до точки пересечения оси шкворня с плоскостью дороги), м;- ускорение свободного падения, м/с2;

h1 - коэффициент учитывающий потери на трение в шкворнях и шарнирах привода.

 Н.

Окружное усилие, прикладываемое, прикладываемое водителем к рулевому колесу для преодоления момента Мц определяется по формуле

                                                                             (4.2)

где Rрк - радиус рулевого колеса, м;ру - КПД рулевого управленияру =hрм·hрп,

где hрм - КПД рулевого механизма в прямом направлении;рп - КПД рулевого привода.ру=0,8·0,92=0,74.

Uдру - динамическое передаточное число рулевого управления


где Uрп - передаточное число рулевого привода;

Uрм - передаточное число рулевого механизма.

В существующих конструкциях величина передаточного числа рулевых механизмов находится в пределах Uрм = 15…30, в отдельных случаях доходит до 40, у ЗИЛ - 130 оно равно 20.

Uдру = 20·1,1 = 22.

 Н

Усилие на рулевом колесе не должно превышать - 200 Н. В целях повышения безопасности движения и облегчения труда водителей автомобиль необходимо снабжать усилителем.

Заключение


В ходе выполнения курсового проекта были закреплены теоретические основы курса, накоплен опыт самостоятельной работы, позволяющей самостоятельно решать инженерно-технические задачи, расширен опыт использования специальной литературы и ГОСТ.

При выполнении курсового проекта в первом разделе были рассчитана необходимая мощность двигателя, по которой выбран двигатель ЗИЛ - 130, и основные параметры двигателя: диаметр цилиндра (99,2 мм) и ход поршня (89,3 мм). Во втором разделе была рассчитана и построена скоростная характеристика двигателя. В третьем разделе были рассчитаны передаточные числа трансмиссии на всех передачах. На 1-й передачи общее передаточное отношение трансмиссии составляет 50,30, на 2-й - 33,2, на 3-й - 21,85, на 4-й 14,25, на 5-й - 9,5. В четвертом разделе рассчитана и построена тягово динамическая характеристика. В пятом разделе проанализированы тяговые свойства машины. В шестом разделе определены статические и динамические нагрузки на оси порожней и груженой машины, а также нагрузка на колеса. Статическая нагрузка порожней машины на переднюю ось 23000 Н, заднюю ось 20000 Н. Статическая нагрузка груженой машины на переднюю ось 28813,9 Н, заднюю ось 64186 Н. Динамическая нагрузка груженой машины на переднюю ось 29480 Н, заднюю ось 63470 Н. Нагрузка на одну шину груженого автомобиля в движении составляет: для переднего колеса 14406 Н, для заднего - 16046,5 Н. В седьмом разделе рассчитаны углы продольной и поперечной устойчивости машины. Для порожней машины предельный угол статической устойчивости равен 60,5°, для груженой - 51,3°. Статический угол поперечной устойчивости машины по опрокидыванию равен 40º, угол бокового сползания автомобиля - 31°. В восьмом разделе произведен выбор основных узлов автомобиля. В девятом разделе рассчитана производительность автомобиля. Сменная производительность составляет  м3, годовая производительность - 7473,4 м3. В десятом разделе рассчитаны параметры гидроусилителя автомобиля.

Библиографический список


1. Кашев, Л.Е. Урал 375/4320 - Армейские автомобили 1960-1988 гг. Армейские автомобили / Л.Е. Кашев. - М.:ArmyBOOK, 2000. - 21 с.

. Расчет элементов тяговых машин: Методические указания с элементами НИРС / Г. М. Анисимов. - Л.: Темплан, 1982. -43 с.

. Сериков, М. А. Расчет тягово-динамических показателей тракторов и автомобилей: Учеб. пособие / М. А. Сериков. - Воронеж: Воронеж. гос. лесотехн. акад., 2000. - 83 с.

.Тяговые машины: Методические указания по курсовому проектированию для студентов специальности 0519 /В. Д. Валяжонков и др. - Л.: Темплан, 1982. - 51 с.


Не нашли материал для своей работы?
Поможем написать уникальную работу
Без плагиата!
Без нейросетей!