Реконструкция участка по ремонту агрегатов ООО 'Транспорт-К'. Ремонт коробки передач
Техническое задание
На разработку дипломного проекта студента 4 курса специальности 190604
техническое обслуживание и ремонт автомобильного транспорта.
Тема: Реконструкция участка по ремонту агрегатов ООО «Транспорт-К».
Ремонт коробки передач.
ОБЩАЯ ЧАСТЬ
Краткая характеристика АТП и участка.
РАСЧЁТНАЯ ЧАСТЬ
Расчет
периодичности ТО автоколонны № 3 для 30 автобусов, две технологически
совместимые группы
10 автобусов и
20
автобусов
ТЕХНОЛОГИЧЕСКАЯ
ЧАСТЬ
Оборудование
участка по ремонту агрегатов, предложения по реконструкции участка по ремонту
агрегатов, назначение, устройство, работа коробки передач, техническое
обслуживание, диагностика, способы восстановления первичного вала.
КОНСТРУКТОРСКАЯ
ЧАСТЬ
Краткая
характеристика приспособления.
ЭКОНОМИЧЕСКАЯ
ЧАСТЬ
Экономическая
целесообразность восстановления первичного вала.
ТЕХНИКА
БЕЗОПАСНОСТИ
Техника
безопасности при выполнении работы, охрана окружающей среды, противопожарная
безопасность.
ГРАФИЧЕСКАЯ
ЧАСТЬ
Лист
№ 1 схема участка А3.
Лист
№ 2 чертёж детали А3.
Лист
№ 3 чертёж приспособления А3.
8
Основные этапы работы
|
Содержание проекта
|
Сроки выполнения
|
|
начало
|
выполнено
|
|
ОБЩАЯ ЧАСТЬ
|
03.11.2009
|
30.04.2010
|
|
РАСЧЁТНАЯ ЧАСТЬ
|
30.04.2010
|
30.05.2010
|
|
ТЕХНОЛОГИЧЕСКАЯ ЧАСТЬ
|
10.05.2010
|
17.05.2010
|
|
КОНСТРУКТОРСКАЯ ЧАСТЬ
|
24.05.2010
|
24.05.2010
|
|
ЭКОНОМИЧЕСКАЯ ЧАСТЬ
|
20.05.2010
|
28.05.2010
|
|
ТЕХНИКА БЕЗОПАСНОСТИ
|
30.04.2010
|
01.06.2010
|
|
ГРАФИЧЕСКАЯ ЧАСТЬ
|
02.06.2010
|
09.06.2010
|
|
Защита проекта
|
10.06.2010
|
26.06.2010
|
Руководитель проекта__________ Вакалюк Б.В.
Консультант по экономике__________ Коженко В.М.
Министерство
общего и профессионального образования
Свердловской
области
ГОУ СПО СО
«Богдановичский политехникум»
Отзыв
руководителя проекта
Специальность
190604 техническое обслуживание и ремонт автомобильного транспорта.
ОТЗЫВ
РУКОВОДИТЕЛЯ ДИПЛОМНОЙ РАБОТЫ
на дипломную
работу студента Солдатова Ильи Александровича
выполненную
на тему: Реконструкция участка по ремонту агрегатов ООО «Транспорт-К». Ремонт
коробки передач.
Актуальность работы:
_____________________________________________________________
Оценка содержания дипломной работы:
_____________________________________________________________
Положительные стороны работы:
_____________________________________________________________
Замечания к дипломной работе:
_____________________________________________________________
Рекомендуемая оценка дипломной работы:
_____________________________________________________________
Дополнительная информация для ГАК:
_____________________________________________________________
Научный руководитель_________________ _______________
Подпись Ф. И. О.
_____________________________________________________________
Дата выдачи
Министерство
общего и профессионального образования
Свердловской
области
ГОУ СПО СО
«Богдановичский политехникум»
Направление
на рецензию
Уважаемый___________________________________________________
Направляем вам на рецензию дипломную работу студента
Солдатова Ильи Александровича
на тему: Реконструкция участка по ремонту агрегатов ООО «Транспорт-К».
Ремонт коробки передач.
Вашу рецензию просим предоставить не позднее__________________
Защита дипломной работы назначена на__________________________
Министерство
общего и профессионального образования
Свердловской
области
ГОУ СПО СО
«Богдановичский политехникум»
Рецензия
Специальность 190604 Техническое обслуживание и ремонт автомобильного
транспорта
РЕЦЕНЗИЯ
на дипломную работу студента Солдатова Ильи Александровича
выполненную на тему: Реконструкция участка по ремонту агрегатов ООО
«Транспорт-К». Ремонт коробки передач.
Актуальность работы:
_____________________________________________________________
Оценка содержания дипломной работы:
____________________________________________________________
Отличительные положительные стороны работы:
_____________________________________________________________
Практическое значение работы:
_____________________________________________________________
Недостатки и замечания по дипломной работе:
_____________________________________________________________
Рекомендуемая оценка дипломной работы:
_____________________________________________________________
Рецензент___________________ _____________
Подпись (Ф. И. О.)
____________________________________________________________
(Должность, место работы и печать.)
Дата выдачи
СОДЕРЖАНИЕ
ВВЕДЕНИЕ
. ОБЩАЯ ЧАСТЬ
.1 Характеристика АТП
. РАСЧЁТНАЯ ЧАСТЬ
.1 Выбор, корректирование нормативов ТО и ремонта
.2 Определение проектных величин коэффициента технической
готовности и коэффициента использования автомобилей
.3 Определение годового пробега автомобиля на АТП
.4 Определение годовой и сменной программы по ТО автомобилей
.5 Определение общей годовой трудоёмкости ТО и ТР подвижного
состава на АТП
.6 Определение общей годовой трудоёмкости работ по объекту
проектирования
.7 Определение количества ремонтных рабочих на АТП и объекте
проектирования
.8 Расчёт количества постов в зонах ТО и ТР и постов
диагностики
. ТЕХНОЛОГИЧЕСКАЯ ЧАСТЬ
.1 Оборудование на участке по ремонту агрегатов
.2 Предложения по реконструкции участка
.3 Назначение, устройство, работа коробки передач ЗИЛ-130
.4 Разборочные работы
.5 Диагностика
.6 Маршрутная карта
.7 Способы восстановления
.8 Сборочные работы
.9 Диагностика, проверка собранного узла
. КОНСТРУКТОРСКАЯ ЧАСТЬ
.1 Назначение, схема, устройство и работа приспособления
. ЭКОНОМИЧЕСКАЯ ЧАСТЬ
.1 Определение необходимого времени для проведения ремонта
первичного вала
.2 Материальные затраты
.3 Расчёт заработной платы
.4 Амортизация основных производственных средств
.5 Расчёт общей себестоимости работ
. ТЕХНИКА БЕЗОПАСНОСТИ
.1 Общие требования к охране труда
.2 Требования безопасности перед началом работы
.3 Требования безопасности во время работы
.4 Требования безопасности после окончания работы
ЗАКЛЮЧЕНИЕ
СПИСОК ИСПОЛЬЗОВАННОЙ ЛИТЕРАТУРЫ
ВВЕДЕНИЕ
ООО «Транспорт-К» смешанное автотранспортное предприятие. Осуществляет
перевозку грузов и пассажиров.
Служба эксплуатации и техническая служба состоят из: ЕТО; ТО-1 и ТО-2;
сезонное обслуживание; Д-1 и Д-2. Основные производственные участки: моторный,
агрегатный, механической обработки, сварочный, по ремонту электрооборудования,
по ремонту топливной аппаратуры, вулканизаторный, медницкий, по ремонту
кузовов. Есть склады запчастей, ГСМ, инструментальный.
На предприятии применяется поточный метод организации ТО. Есть осмотровая
канава. ТР производится агрегатным методом при котором агрегаты, требующие
текущего и капитального ремонта, заменяются отремонтированными из оборотного
фонда или новыми. Для производства цеховых работ созданы цеха: слесарно-механический,
по ремонту электрооборудования, топливный, аккумуляторный, медницкий,
сварочный, вулканизаторный, колодочный, по ремонту кузов и кабин, агрегатный. В
агрегатном цехе ремонтируют коробки передач, ПГУ, главные и рабочие цилиндры
сцепления, поворотные цапфы и другие агрегаты. За ремонтными рабочими
закреплено технологическое оборудование и необходимый инструмент. Ежесменные
обслуживания автомобилей выполняют сами водители с помощью бортового
инструмента. Заправка топливом осуществляется из раздаточных колонок.
На предприятии ООО «Транспорт-К» имеется агрегатный участок. На
агрегатном участке ремонтируют коробки передач, детали коробок передач,
пневмо-гидроусилители (ПГУ), главные и рабочие цилиндры сцепления, другие
детали сцепления, шкворни, поворотные цапфы и другие агрегаты. Агрегатный
участок-один из основных участков в ремонтном производстве на данном
предприятии. На участке из оборудования имеется: специальный стол для разборки
коробок передач, верстаки, стеллажи для разных деталей, то есть например где
ремонтируют коробки передач свой верстак и стеллаж для деталей, а где
ремонтируют например пневмо-гидро усилители (ПГУ) свои, слесарные тиски, наборы
инструментов, шкафы для хранения инструментов, рабочее место, где делают
различные прокладки, например для полуосей, стеллажи для хранения запчастей,
лебёдка, тележка для перевозки агрегатов, например коробок передач, токарный
станок, наждак, инструмент для уборки помещения, съёмники подшипников,
сверлильный станок. Оборудование на данном участке очень старое, не хватает
оборудования и поэтому агрегатному участку необходима реконструкция.
Коробка передач устанавливается на автомобиль, чтобы эффективно
использовать весь диапазон частоты оборотов коленчатого вала двигателя. Кроме
того, ещё одним предназначением коробки передач является создание возможности
регулировать крутящий момент на колёсах автомобиля.
Первичный вал коробки передач автомобиля ЗИЛ-130 изготовлен из стали 25
ХГМ вместе с ведущей шестернёй и венцом. Передним концом первичный вал
установлен на подшипнике в выточке коленчатого вала, а задним в гнезде передней
стенки картера коробки передач. Установка первичного вала выполнена так, что
только ведущая шестерня и венец помещены внутри картера, а на выступающей из
коробки шлицованной части вала установлена ступица ведомого диска сцепления.
Ось первичного вала совпадает с осью вторичного вала. Первичный вал вращается
вместе с промежуточным валом, так как их шестерни находятся в постоянном
зацеплении. В выточке первичного вала на установленный роликовый подшипник
передним концом опирается вторичный вал. Шестерни первичного вала находятся в
постоянном зацеплении и имеют косые зубья. На первичном валу выполнены боковые
конические выступы с внутренними зубьями для включения передач. Первичный вал
вращается в двух шариковых подшипниках. Шариковый подшипник, установленный в
стенке картера, служит задней опорой первичного вала. Для ремонта дефектов
первичного вала коробки передач применяют вибродуговую наплавку и наплавку под
слоем флюса. Ремонт первичного вала коробки передач ЗИЛ-130 производят на
агрегатном участке, оснащённом соответствующим оборудованием. Задача дипломного
проекта рассмотреть дефекты первичного вала коробки передач автомобиля ЗИЛ-130
и способы их устранения. Цель дипломного проекта разработать технологический
процесс восстановления первичного вала коробки передач ЗИЛ-130 при помощи
вибродуговой наплавки и наплавки под слоем флюса, выяснить необходима или нет
реконструкция агрегатного участка и если нужна то, что для этого необходимо.
1. ОБЩАЯ ЧАСТЬ
1.1 Характеристика АТП
ООО «Транспорт-К» смешанное автотранспортное предприятие. Осуществляет
перевозку грузов и пассажиров.
Предприятие состоит из:
. КПП
. Зона ожидания
. Участок ЕТО; ТО-1 и ТО-2
. Участок Д-1 и Д-2
. Участок ТР
. Гаражи для хранения подвижного состава
Схема руководства ОАО «Транспорт»:
. Директор
. Главный инженер
. Служба эксплуатации
. Техническая служба
. ОТК
. Плановый отдел и бухгалтерия
. Отдел снабжения
Служба эксплуатации и техническая служба состоят из: ЕТО; ТО-1 и ТО-2;
сезонное обслуживание; Д-1 и Д-2. Основные производственные участки: моторный,
агрегатный, механической обработки, сварочный, по ремонту электрооборудования,
по ремонту топливной аппаратуры, вулканизаторный, медницкий, по ремонту
кузовов. Есть склады запчастей, ГСМ, инструментальный.
Стоянки закрытая и открытая. На закрытой стоянке, то есть в гаражах стоят
грузовые автомобили и автобусы, а также служебные легковые машины. На открытой
стоянке стоят прицепы и полуприцепы. На предприятии организованы специализированные
бригады, выполняющие ТО и ремонт определённого вида. Некоторые ремонтные работы
выполняются со снятием агрегатов, узлов и приборов с автомобиля и с
направлением их для ремонта в цехи. Например снятие энергоаккумулятора на
автомобиле КАМАЗ. Специализированные бригады: бригада ЕТО, ТО-1 и ТО-2; бригада
ТР; участок диагностики Д-1 и Д-2; бригада по ремонту агрегатов.
Независимо от вида ТО первоочередными являются уборочно-моечные работы,
одной из задач которых является подготовка автомобиля к последующим операциям,
в том числе к ТО и придание автомобилю надлежащего внешнего вида.
Уборочно-моечные работы являются основной частью работ ЕТО, выполняются для
сохранения окраски кузова автомобиля и обеспечения качественного ТО и ремонта.
УМР включают в себя уборку, мойку, сушку (протирку) промытых частей
кузова и периодическую его полировку. Во время уборки удаляют мусор, пыль и
грязь из салона автобусов, протирают панель приборов, стёкла, рулевое колесо,
очищают сиденья и спинки. Кузова автобусов дезинфицируют, а также моют их полы
и стены. В качестве оборудования применяют стационарные и переносные пылесосы,
различные щётки и скребки, мётлы.
После возвращения с линии водитель выполняет осмотр автомобиля. С этой
целью осуществляется контроль состояния: дверей, стёкол, зеркал заднего вида,
противосолнечных козырьков, номерных знаков, механизмов дверей, рессор, колёс,
шин. Проверяется правильность и целостность опломбирования спидометра, действие
приборов освещения и световой сигнализации, звукового сигнала,
стеклоочистителей, омывателей ветрового стекла и фар, системы вентиляции,
системы отопления и обогрева стёкол в холодное время года. Внешним осмотром
проверяется: состояние гидроусилителя рулевого управления, люфт рулевого колеса
и состояние ограничителей максимальных углов поворота управляемых колёс,
герметичность гидроусилителя рулевого управления, привода тормозов и механизма
выключения сцепления, систем питания, смазки и охлаждения, состояние и
натяжение приводных ремней, работу агрегатов, узлов, систем, спидометра и
других КИП автомобиля на ходу.
На предприятии применяется поточный метод организации ТО. Есть осмотровая
канава. ТР производится агрегатным методом при котором агрегаты, требующие
текущего и капитального ремонта, заменяются отремонтированными из оборотного
фонда или новыми. Для производства цеховых работ созданы цеха:
слесарно-механический, по ремонту электрооборудования, топливный,
аккумуляторный, медницкий, сварочный, вулканизаторный, колодочный, по ремонту
кузов и кабин, агрегатный. В агрегатном цехе ремонтируют коробки передач, ПГУ,
главные и рабочие цилиндры сцепления, поворотные цапфы и другие агрегаты. За
ремонтными рабочими закреплено технологическое оборудование и необходимый
инструмент. Ежесменные обслуживания автомобилей выполняют сами водители с
помощью бортового инструмента. Заправка топливом осуществляется из раздаточных
колонок.
На участке диагностики проводятся диагностические работы. При Д-1 перед
ТО-1 проверяют: величину свободного хода педалей сцепления и тормоза; состояние
ручного тормоза; состояние и действие фар, подфарников, сигнальных фонарей,
переключателя света; работу жалюзей, стеклоочистителя, звукового сигнала,
воздушной и дроссельной заслонок; люфт рулевого колеса и состояние рулевого
привода; состояние и натяжение ремней вентилятора и генератора; герметичность
систем смазки, питания, охлаждения и вентиляции картера двигателя; состояние и
герметичность коробки передач, главного тормозного цилиндра; состояние
карданного вала, рессор, глушителя, передней балки; состояние кузова, подножек,
дверей кабины, стёкол, номерных знаков, окраску автомобиля. Кроме
диагностических операций перед ТО-1 регулируют: свободный ход педалей тормоза и
сцепления; давление воздуха в шинах; ручной тормоз; установку фар; натяжение
ремней вентилятора водяного насоса, генератора; привод дроссельной и воздушной
заслонок карбюратора.
При Д-2 перед ТО-2 проверяют: углы установки управляемых колёс и при
необходимости регулируют сходимость колёс; силы трения в рулевом механизме;
соотношение углов поворота управляемых колёс; зазоры в шкворневых соединениях и
подшипниках ступиц колёс; суммарные угловые зазоры в карданной передаче;
коробку передач на каждой передаче и главную передачу; КИП; давление масла в
системе смазки; производительность топливного насоса; работу сцепления,
карданного вала, коробки передач, главной передачи; состояние системы зажигания
и электрооборудования. В объём диагностирования перед ТО-2 входят все операции,
проводимые перед ТО-1 и операции по проверке технического состояния остальных
сборочных единиц и агрегатов автомобиля.
На предприятии ООО «Транспорт-К» имеется агрегатный участок. На
агрегатном участке ремонтируют коробки передач, детали коробок передач,
пневмо-гидроусилители (ПГУ), главные и рабочие цилиндры сцепления, другие
детали сцепления, шкворни, поворотные цапфы и другие агрегаты. Агрегатный
участок-один из основных участков в ремонтном производстве на данном
предприятии. На участке из оборудования имеется: специальный стол для разборки
коробок передач, верстаки, стеллажи для разных деталей, то есть например где
ремонтируют коробки передач свой верстак и стеллаж для деталей, а где
ремонтируют например пневмо-гидро усилители (ПГУ) свои, слесарные тиски, наборы
инструментов, шкафы для хранения инструментов, рабочее место, где делают
различные прокладки, например для полуосей, стеллажи для хранения запчастей,
лебёдка, тележка для перевозки агрегатов, например коробок передач, токарный
станок, наждак, инструмент для уборки помещения, съёмники подшипников,
сверлильный станок. Оборудование на данном участке очень старое, не хватает
оборудования и поэтому агрегатному участку необходима реконструкция.
Контроль качества работ производится ОТК методом приёмочного контроля
определённой выборки из общего числа автомобилей, подвергшихся ремонту.
Полученные данные сравнивают с нормативными.
Колонна
пассажирского автотранспорта имеет всего (А) 30 автобусов, которые представляют
собой 2 совместимые группы. Первая группа А
-10
автобусов; вторая группа А
-20 автобусов. Время начала и конца выхода автобусов
на линию 6
-7
; 14
-15
; 17
-19
. Время
работы предприятия с 6
утра до 8
вечера.
Среднесуточный пробег 150 км; количество рабочих дней в году 365; категория
условий эксплуатации II.
2.
РАСЧЁТНАЯ ЧАСТЬ
2.1 Выбор, корректирование нормативов ТО и ремонта
Корректирование
нормативов ТО-1 и ТО-2
где
-нормативная
периодичность ТО-1, ТО-1 3500 (км)
-нормативная
периодичность ТО-2, ТО-2 14000 (км)
-коэффициент
корректирования нормативов в зависимости от условий эксплуатации, 0.9
-коэффициент
корректирования нормативов в зависимости от природно-климатических условий, 0.9
(км)
(км)
Корректирование
нормативов трудоёмкости ЕО; ТО-1 и ТО-2
где
-нормативная
периодичность ЕО, ЕО 0.8 (чел. ч.)
-нормативная
периодичность ТО-1, ТО-1 5.8 (чел. ч.)
-нормативная
периодичность ТО-2, ТО-2 24.0 (чел. ч.)
-коэффициент
корректирования трудоёмкости ТО, 1.00
-коэффициент
корректирования трудоёмкости ТО, учитывающий размеры АТП и количество
технологически совместимых групп подвижного состава, 1.15
(чел. ч.)
(чел.
ч.)
(чел.
ч.)
Корректирование
нормативов пробега до КР
где
-исходная
норма межремонтного пробега, КР 200000 (км)
-коэффициент
корректирования трудоёмкости КР
(км)
Корректирование
трудоёмкости ТР
где
;
-величины коэффициентов корректирования, 0.7; 1.0
-коэффициент
корректирования
-исходная
трудоёмкость ТР, ТР 6.5 (чел. ч.)
-коэффициент
корректирования трудоёмкости ТР
;
-технологически совместимые группы, 10; 20
-коэффициент
корректирования нормативов в зависимости от условий эксплуатации, 1.1
-коэффициент
корректирования нормативов в зависимости от природно-климатических условий, 1.0
(чел.
ч.)
Корректирование
дней простоя в ТО и ТР; КР
где
-исходная
форма дней простоя в ТО и ТР, ТО и ТР 0.50 (дни/1000 км)
-исходная
форма дней простоя в КР, КР 20 (дни)
(дни/1000
км)
(дней)
2.2 Определение проектных величин коэффициента
технической готовности и коэффициента использования автомобилей
Определение
коэффициента технической готовности
где
-среднесуточный
пробег автомобиля, 150 (км)
-средневзвешенная
величина пробега до КР, (км)
A-общее
количество автомобилей данной марки, 30
(км)
Определение
коэффициента использования подвижного состава
где
-количество
рабочих дней в году, 365 (дней)
-приближённо
равен 0.93-0.97
2.3 Определение годового пробега автомобиля на АТП
где
-количество
рабочих дней в году
-среднесписочное
количество автомобилей
(км)
2.4 Определение годовой и сменной программы по ТО
автомобилей
Количество
ЕО; ТО-1 и ТО-2; СО за год
Для
ЕО:
Для
УМР:
Для
ТО-1 и ТО-2; СО
Определение
количества диагностики Д-1 и Д-2
Сменная
программа по УМР; ТО-1 и ТО-2; Д-1 и Д-2
Для
УМР:
Для
ТО-1:
Для
ТО-2:
Для
Д-1:
Для
Д-2:
где
-годовая
программа по соответствующему техническому воздействию (УМР; ТО-1 и ТО-2; Д-1 и
Д-2)
-количество
рабочих смен в сутках
2.5 Определение общей годовой трудоёмкости ТО и ТР
подвижного состава на АТП
Определение
трудоёмкости ЕО; ТО-1 и ТО-2; СО
Для
ЕО:
(чел.
ч.)
Для
ТО-1:
(чел.
ч.)
Для
ТО-2:
(чел.
ч.)
Для
СО:
(чел.
ч.)
где
-коэффициент
механизации показывает снижение трудоёмкости за счёт механизации работ ЕО,
принимается равный 1
С-доля
данного вида вспомогательных работ, принимается равной 0.2
2.6 Определение общей годовой трудоёмкости работ по
объекту проектирования
Определение
общей годовой трудоёмкости
Для
ТО:
(чел.
ч.)
Для
ТР:
(чел.
ч.)
Для
ТО и ТР:
(чел.
ч.)
Для
Д-1 и Д-2:
(чел.
ч.)
(чел.
ч.)
где
-количество
процентов, выпадающих на долю диагностических работ.
Определение
годовой трудоёмкости по зонам ТО, ТР
Для
ЕО:
(чел.
ч.)
(чел.
ч.)
Для
ТО-1:
(чел.
ч.)
(чел.
ч.)
(чел.
ч.)
(чел.
ч.)
(чел.
ч.)
(чел.
ч.)
(чел.
ч.)
Для
ТО-2:
(чел.
ч.)
(чел.
ч.)
(чел.
ч.)
(чел.
ч.)
(чел.
ч.)
(чел.
ч.)
(чел.
ч.)
Для
ТР:
(чел.
ч.)
(чел.
ч.)
(чел.
ч.)
(чел.
ч.)
(чел.
ч.)
(чел.
ч.)
(чел.
ч.)
(чел.
ч.)
(чел.
ч.)
(чел.
ч.)
(чел.
ч.)
(чел.
ч.)
(чел.
ч.)
(чел.
ч.)
(чел.
ч.)
(чел.
ч.)
(чел.
ч.)
(чел.
ч.)
(чел.
ч.)
(чел.
ч.)
(чел.
ч.)
2.7 Определение количества ремонтных рабочих на АТП и
объекте проектирования
Общее
технологически необходимое (явочное) количество ремонтных рабочих на АТП
Для
всех профессий на АТП:
Для
маляра:
где
-номинальный
годовой фонд времени рабочего (рабочего места), для всех профессий на АТП равен
2070; кроме маляра, для него равен 1830
Общее
количество рабочих для УМР и ЕО
(чел.)
(чел.)

(чел.)
Общее
явочное количество работников, занятых на ТО-1 и ТО-2
(чел.)
(чел.)
Общее
явочное количество работников, занятых на Д-1 и Д-2
(чел.)
(чел.)
Общее
явочное количество работников, занятых на ТР
(чел.)
2.8 Расчёт количества постов в зонах ТО и ТР и постов
диагностики
Расчёт
количества постов в зоне ТО-1 и ТО-2
где
-годовой
объём работ по зоне ТО-1 и ТО-2
-годовая
программа по ТО
-среднее
число рабочих одновременно работающих на одном посту, принимается равным 2-3
чел.
-время на
перемещение автомобиля при установке на пост и съезде с поста, принимается
равным 1-3 мин.
-продолжительность
работы зоны ТО за одну смену, принимается равной 8 ч. при пятидневной рабочей
неделе
-число
рабочих смен в сутках
-сменная
программа по ТО
-такт
поста, то есть время простоя автомобиля при обслуживании на данном посту
R-доля рабочего
времени зоны, приходящегося на одно обслуживание данного вида
Расчёт
количества линий в зоне ТО
где
-время
между очередными перемещениями автомобиля с поста на пост
Количество
основных постов в зоне ТР
Количество
резервных постов в зоне ТР
Общее
количество постов в зоне ТР
где
-число
рабочих дней зоны ТР в году
-число
рабочих смен зоны ТР
-число
исполнителей, одновременно работающих на одном посту ТР, принимается равным 1-2
чел.
-коэффициент
использования рабочего времени поста, приблизительно равен 0.90
-коэффициент,
учитывающий неравномерность поступления автомобилей в зону ЕО, принимается
равным для малого АТП 1.5
Расчёт
количества постов Д-1 и Д-2
где
-годовая
трудоёмкость Д-1 и Д-2
-число
рабочих дней постов диагностики в году
-число
рабочих смен постов диагностики
-число
исполнителей, одновременно работающих на одном посту диагностики, принимается
равным 1-2 чел.
-коэффициент
использования рабочего времени поста, приблизительно равен 0.85-0.90
3.
ТЕХНОЛОГИЧЕСКАЯ ЧАСТЬ
.1 Оборудование на участке по ремонту агрегатов
На
предприятии ООО «Транспорт-К» имеется агрегатный участок. На
агрегатном
участке ремонтируют коробки передач, пневмо-гидроусилители (ПГУ), главные и
рабочие цилиндры сцепления, другие детали сцепления, шкворни, поворотные цапфы
и другие агрегаты. Агрегатный участок-один из основных участков в ремонтном
производстве на данном предприятии. На участке из оборудования имеется:
специальный самодельный стол для разборки коробок передач, верстак, стеллажи
для разных деталей, 1 слесарные тиски, набор инструментов, шкаф для хранения
инструмента, небольшая кран-балка для подъёма коробок передач, тележка для
перевозки коробок передач, инструмент для уборки помещения, съёмники подшипников,
электро-гидравлический пресс. Оборудование на данном участке очень старое и
поэтому агрегатному участку необходима реконструкция.
3.2 Предложения по реконструкции участка
На
участке в ходе реконструкции необходимо добавить ванну для промывки деталей,
универсальный съёмник подшипников, стол для контроля и сортировки деталей, ларь
для обтирочных материалов, стенд для ремонта коробок передач, токарный станок,
стенд для испытания под нагрузкой коробок передач, наплавочную установку.
Добавка вышеперечисленного оборудования позволит более качественно
ремонтировать коробки передач.
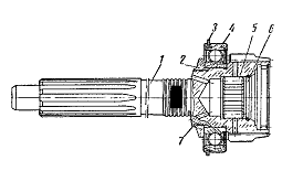
-коробка
передач; 2 и 3-зажимы; 4-рукоятка
Рис.
3.1 Поворотный стенд для разборки коробок передач
Для
разборки коробки передач на узлы используют поворотный стенд (рис. 3.1) на
котором можно одновременно установить 5 коробок передач. Коробку передач 1
фиксируют на стенде зажимами 2 и 3. Рукоятка 4 позволяет поворачивать коробку
передач в удобное для разборки положение.
Рис.
3.2 Стенд для испытания коробки передач под нагрузкой
а-общий
вид; б-регулятор нагрузки
а)
1-электродвигатель; 2-муфта; 3-эксцентриковые зажимы; 4-кронштейн; 5-коробка
передач; 6-карданный вал; 7-насос; 8-нагнетательный трубопровод; 9-
гидравлический регулятор; 10-трубопровод; 11-резервуар для масла; 12-манометр;
13-сварная рама
б)
1-корпус регулятора нагрузки; 2-диск с делениями; 3-рукоятка; 4-фиксатор;
5-стальная цементированная гильза; 6-стальная закалённая пробка; 7-жиклёр;
8-кольцо; 9-переходник; 10-предохранительный клапан; 11-пробки
Стенд
(рис 3.2, а) имеет сварную раму 13, на которой установлены приводное и
нагрузочное устройства и резервуар 11 для масла, на крышке которого смонтирован
гидравлический регулятор 9, позволяющий изменять величину нагрузки.
Испытываемую коробку передач 5 крепят к кронштейну 4 быстродействующими
эксцентриковыми зажимами 3.
Основные
параметры стенда приведены в технической характеристике.
Техническая
характеристика стенда
Приводное
устройство-электродвигатель АК 62-4 переменного тока мощностью 7 квт при 1480
об/мин
Нагрузочное
устройство шестерёнчатый насос
Устройство
для регулирования величины тормозного момента многопозиционный регулятор
Габаритные
размеры стенда, мм 2400х800х700
Вес
стенда, кг 805
Первичный
вал коробки передач через муфту 2 соединён с электродвигателем 1. Вторичный вал
соединён при помощи карданного вала 6 с насосом 7. Всасывающий патрубок насоса
соёдинён с резервуаром для масла трубопроводом 10, а нагнетательный трубопровод
8 с гидравлическим регулятором. Величину нагрузки, создаваемую гидравлическим
тормозом, контролируют по показаниям манометра 12, установленного на крышке
резервуара для масла.
Внутри
корпуса 1 регулятора нагрузки (рис. 3.2, б) имеется сквозное отверстие, в которое
вставлена стальная цементирующая гильза 5. В гильзу установлена стальная
закалённая пробка 6 с внутренним каналом, через который поступает масло от
насоса через переходник 9, закреплённый на торцовой части корпуса. В
противоположном торце пробки имеется шип, на котором имеется рукоятка 3. Под
рукояткой на корпусе регулятора установлен диск 2 с делениями, указывающими
положение рукоятки при испытании коробки на различных передачах. Для установки
пробки в положение, соответствующее установленной передаче испытуемой коробки,
предусмотрен фиксатор 4. Внутреннее пространство пробки может соединяться через
отверстие в пробке и гильзе, расположенные перпендикулярно оси пробки, с семью
каналами в корпусе регулятора. В шести каналах установлены жиклёры 7 и кольца 8.
Количество жиклёров и их сечения подбираются при тарировке стенда. Седьмой
канал, постоянно соединённый с внутренним пространством пробки, предназначен
для установки предохранительного клапана 10, который срабатывает при повышении
давления масла в системе выше допустимого предела. Снизу в каналы завёрнуты
пробки 11, через отверстия которых масло, подаваемое насосом, поступает в
резервуар. Поворотом рукоятки 3 в требуемое положение для испытания коробки
передач на данной передаче в гидравлической системе создаётся сопротивление,
соответствующее нагрузке, предусмотренной техническими условиями.
После
сборки коробка передач должна быть испытана на стенде. Перед испытанием в
маслоналивное отверстие заливают чистое трансмиссионное масло Тап-15. Режим
испытания коробки передач приведён в таблице 3.1.
Таблица
3.1-Режим испытания коробки передач
|
Условия испытания
|
Тормозной момент на ведомом
валу, кГм
|
Продолжительность, мин
|
|
Испытание без нагрузки при
переменных оборотах ведущего вала от 750 до 3000 об/мин на всех передачах
Испытание под нагрузкой при переменных оборотах ведущего вала от 750 до 3000
об/мин на: первой передаче
|
- 10,0
|
На каждой передаче при
максимальных оборотах не более 2-3 мин
|
|
второй третьей четвёртой
пятой задний ход
|
10,0 10,0 6,00 4,00 10,0
|
|
При проверке работы коробки передач в процессе её испытания не
допускается: заедания при переключении передач; самопроизвольного выключения и
включения шестерён; прослушивания заедания вилок о стенки пазов шестерён и
фланцев синхронизатора; стуков и ударов, указывающих на неправильное зацепление
шестерён; подтекания масла в местах соединений (незначительное появление
масляных пятен допускается).
Для проверки работы синхронизаторов вторую, третью, четвёртую и пятую
передачи следует переключать без выключения электродвигателя стенда. При
переходе на вторую передачу, со второй на третью, с третьей на четвёртую, с
четвёртой на пятую, а также в обратном порядке переключение должно происходить
бесшумно. Рычаг переключения передач необходимо переводить на включение с
выдержкой без рывков.
Выявленные дефекты при испытании коробки передач устраняют. После этого
коробку передач необходимо повторно проверить на стенде.
3.3 Назначение, устройство, работа коробки
передач ЗИЛ-130
Коробка передач служит для изменения крутящего момента, передаваемого от
коленчатого вала двигателя к карданному валу, для движения автомобиля задним
ходом и длительного разобщения двигателя от трансмиссии во время стоянки
автомобиля и при движении его по инерции.
Во время трогания автомобиля с места, при движении на подъём с грузом
крутящий момент на колёсах должен быть большим, чем при движении по
горизонтальному участку дороги, когда автомобиль движется по инерции и
сопротивление движению меньше. Для этого на автомобилях применяют шестерёнчатые
коробки передач.
В шестерёнчатой передаче, состоящей из двух шестерён, из которых меньшая
является ведущей, а большая ведомой, крутящий момент на ведомой шестерне будет
большим во столько раз, во сколько число зубьев ведомой шестерни будет больше
числа зубьев ведущей шестерни.
Число, получаемое от деления числа зубьев ведомой шестерни на число
зубьев ведущей шестерни, называется передаточным числом. Если в передаче
участвует несколько пар шестерён, то общее передаточное число получается
умножением передаточных чисел всех пар шестерён, участвующих в передаче.
Для получения крутящего момента, различного по величине и необходимого
для работы автомобиля в разных условиях, в коробке передач имеется несколько
пар шестерён с различным передаточным числом.
Если между ведущей и ведомой шестернями поместить промежуточную шестерню
и через неё передать крутящий момент, то ведомая шестерня изменит направление
движения на обратное.
Коробка передач состоит из картера, первичного вала с шестерней,
вторичного вала, промежуточного вала, оси шестерни заднего хода, набора
шестерён и механизма переключения передач. Картер коробки передач отлит из
чугуна и имеет верхнюю и боковую крышки, гнёзда для крепления валов и осей. В
нижней и боковой стенках сделаны отверстия для слива отработанного масла и
заполнения коробки свежим маслом.
Первичный вал (рис. 3.3) изготовлен из стали 25 ХГМ вместе с ведущей
шестерней и венцом. Передним концом первичный вал установлен на подшипнике в
выточке коленчатого вала, а задним в гнезде передней стенки картера. Установка
первичного вала выполнена так, что только ведущая шестерня и венец помещены
внутри картера, а на выступающей из коробки шлицованной части вала установлена
ступица ведомого диска сцепления.
-вал; 2-гайка; 3 и 6-замочные кольца; 4-подшипник; 5-ролики игольчатого
подшипника; 7-тонкий край гайки, вдавливаемый в паз вала
Рис. 3.3 Первичный вал ЗИЛ-130
Вторичный вал имеет шлицы и передним концом опирается на роликовый
подшипник, установленный в выточке первичного вала. Другой конец вторичного
вала в выточке картера коробки установлен на шариковом подшипнике. На шлицах
вторичного вала установлены передвижные шестерни и ступицы синхронизаторов.
Шестерни могут перемещаться по шлицам вдоль вала. Ось вторичного вала совпадает
с осью первичного вала.
Промежуточный вал состоит из шестерён различного диаметра, выполненных в
виде блока или закреплённых на валу. Блок шестерён посажен на ось на роликовых
подшипниках или вместе с валом на подшипниках установлен в гнёздах стенок
картера. Промежуточный вал вращается всегда вместе с первичным валом, так как
их шестерни находятся в постоянном зацеплении. Шестерни заднего хода одна или в
виде блока из двух шестерён вращаются на оси, закреплённой в отверстиях стенок
картера.
Механизм переключения передач служит для включения передач, установки
шестерён в нейтральное положение и для включения заднего хода. Передачи
включают перемещением шестерён или муфт синхронизатора на вторичном валу. В
зависимости от количества передвижных шестерён или муфт синхронизатора
определяют тип коробки. При двух передвижных шестернях или муфтах
синхронизатора коробка будет двухходовая, а при трёх трёхходовая. В зависимости
от числа передач, включаемых при движении вперёд, различают трёх, четырёх,
пятиступенчатые коробки передач. Механизм переключения передач размещён на
верхней или боковой крышке. Рычаг переключения передач может быть размещён
непосредственно на крышке коробки или на рулевой колонке.
Коробки передач классифицируются по изменению передаточного числа:
ступенчатые, безступенчатые, комбинированные. По связи между валами:
механическая связь, гидравлическая, электромагнитная. По управлению:
неавтоматическая, автоматическая, полуавтоматическая.
Ступенчатые коробки передач представляют собой зубчатый шестерёнчатый
механизм. Количество передач определяет ступенчатость коробки. Овальность
коробки определяется количеством передвигающихся синхронизаторов и зубчатых
муфт для включения передач.
Классификация ступенчатых коробок передач:
. По числу передач: 3; 4; 5; много.
. По числу валов: 2; 3; много.
. По зацеплению шестерён: с подвижным зацеплением; с постоянным; с
комбинированным.
Пятиступенчатая коробка передач автомобиля ЗИЛ-130 (рис. 3.6). На
автомобиле ЗИЛ-130 установлена пятиступенчатая трёхходовая коробка передач,
имеющая пять передач для движения вперёд и одну для движения задним ходом.
Коробка передач имеет два синхронизатора для включения второй, третьей,
четвёртой и пятой передач.
Шестерни первичного, промежуточного и вторичного валов, кроме шестерён
первой передачи, находятся в постоянном зацеплении и имеют косые зубья. На
промежуточном валу все шестерни, кроме шестерни первой передачи, изготовлены
отдельно и закреплены на нём шпонками. На вторичном валу шестерня первой
передачи посажена на шлицах, а остальные шестерни могут вращаться на валу
свободно. Сливное отверстие картера закрыто пробкой с магнитом для улавливания
металлических частиц. Сверху коробка передач закрыта крышкой, в которой
размещён механизм переключения передач. Два боковых люка закрыты штампованными
крышками.
Первая передача включается перемещением шестерни первой передачи
вторичного вала вперёд.
Вторая передача включается перемещением муфты синхронизатора второй и
третьей передач назад. Внутренние зубья муфты входят в зацепление с венцом на
шестерне второй передачи, закрепляя её не вторичном валу.
Третья передача включается перемещением муфты синхронизатора вперёд.
Внутренние зубья муфты входят в зацепление с венцом на шестерне третьей передачи,
закрепляя её на вторичном валу.
Четвёртая передача включается перемещением муфты синхронизатора четвёртой
и пятой передач назад. Зубья муфты через венец закрепляют шестерню четвёртой
передачи на вторичном валу.
Пятая передача включается перемещением вперёд этой же муфты
синхронизатора. При этом внутренние зубья муфты входят в зацепление с венцом
первичного вала, соединяя его непосредственно со вторичным валом (прямая
передача), промежуточный вал в передаче крутящего момента не участвует.
Задний ход включается перемещением шестерни первой передачи по шлицам
вторичного вала назад до включения её с шестернёй блока заднего хода. Передача
крутящего момента с промежуточного вала на вторичный будет происходить через
дополнительную шестерню, вследствие чего вторичный вал будет вращаться в
обратном направлении.
-первичный вал; 2; 15-шестерни постоянного зацепления; 3-внутренний
зубчатый венец включения каретки синхронизатора; 4-конусное кольцо
синхронизатора; 5-каретка синхронизатора 4 и 5 передач; 6-зубчатые венцы
каретки синхронизатора; 7; 8; 10; 12; 14; 18; 19; 22-шестерни; 9-каретка
синхронизатора; 11-сухари синхронизатора; 13-промежуточный вал; 16-стержень
переключения 1 передачи и заднего хода; 17-головка стержня переключения;
20-фиксатор рычага; 21-корпус рычага
Рис. 3.4 Механизм переключения передач
Таблица 3.2-Передаточные числа коробки передач автомобиля ЗИЛ-130
|
Передача
|
Автомобиль ЗИЛ-130
|
|
Первая
|
7,440
|
|
Вторая
|
4,100
|
|
Третья
|
2,290
|
|
Четвёртая
|
1,470
|
|
Пятая
|
1,000
|
|
Задний ход
|
7,090
|
Синхронизатор (рис. 3.5). Бесшумное включение передач возможно при
условии предварительного уравнивания окружных скоростей включаемых в зацепление
шестерён. Для этой цели служит синхронизатор.
Рис. 3.5 Синхронизатор ЗИЛ-130
В автомобиле ЗИЛ-130 применяют синхронизатор инерционного типа. На
шестернях второй, третьей и четвёртой передач и на первичном валу выполнены
боковые конические выступы с внутренними зубьями для включения. Синхронизатор
состоит из муфты с двумя зубчатыми венцами, посаженными на шлицах вторичного
вала, двух блокирующих колец с внутренними конусами, трёх пальцев и трёх
фиксирующих пальцев с пружинами и шариками. В каретке выполнено шесть
отверстий, имеющих по бокам конусные выточки.
Через три из них проходят пальцы, жёстко соединяющие блокирующие кольца.
В средней части пальцев сделаны выточки с конусными фасками. Через остальные
три отверстия проходят фиксирующие пальцы с конусными выточками посредине,
внутри которых помещены пружины и по два шарика. При перемещении муфты
синхронизатора блокирующие кольца, перемещаясь вместе с муфтой, подводятся до
соприкосновения с конусной поверхностью выступа включаемой шестерни. В
следствии разности чисел оборотов муфты синхронизатора и включаемой шестерни
происходит сдвиг блокирующего кольца по отношению к отверстиям диска, и пальцы,
опираясь на конические отверстия муфты, будут препятствовать дальнейшему
перемещению её с муфтой. Когда обороты шестерни и блокирующего кольца
уравняются, конические поверхности выточек пальцев и отверстий муфты не будут
препятствовать дальнейшему перемещению муфты и передача включится бесшумно.
Механизм переключения передач. Перемещение шестерён при включении и
выключении передач в коробке осуществляется при помощи механизма переключения.
Механизм переключения передач состоит из рычага, ползунов, вилок переключения,
фиксаторов, замков и предохранителя включения заднего хода. Рычаг переключения
передач на грузовых автомобилях установлен на крышке коробки передач, а на легковых
на рулевой колонке.
Рычаг, устанавливаемый на крышке коробки передач, имеет утолщение в виде
шаровой головки, входящей в гнездо прилива крышки. От проворачивания рычаг
удерживается фиксатором. В сверлениях крышки размещены ползуны, на которых
закреплены вилки переключения и переводные головки с пазами. В пазы переводных
головок входит нижний конец рычага. Вилки входят в выточки передвижных шестерён
или муфт синхронизаторов. Для включения передачи перемещают верхний конец
рычага в определённое положение, нижний конец рычага через переводную головку
перемещает ползун с вилкой и шестернёй до включения нужной передачи. Для
удержания шестерён коробки передач во включенном или нейтральном положении
служат фиксаторы.
Фиксатор состоит из шарика с пружиной, расположенных в канале,
высверленном в крышке коробки передач. На ползуне имеются выемки, количество
которых соответствует количеству включаемых данным ползуном передач, и одна
выемка для нейтрального положения.
При включении передачи или при нейтральном положении шарик под действием
пружины входит в выемку, фиксируя ползун в определённом положении. Чтобы
переместить ползун при переключении, необходимо приложить усилие, достаточное
для выталкивания шарика из выемки.
Во время переключения передачи нижний конец рычага может установиться на
стыке двух переводных головок и перемещать одновременно два ползуна и,
следовательно, включать две передачи. Так как вторичный вал не может вращаться
с двумя различными скоростями, то могут поломаться зубья шестерён. Чтобы не допустить
одновременного включения двух передач, применяют замки. Замок сделан в виде
шариков или стержней, размещённых в горизонтальном канале между ползунами. На
ползунах выполнены выемки против канала замков при их расположении
соответственно нейтральному положению. Длина стержня замка и диаметр двух
шариков равны расстоянию между ползунами плюс одна выемка. Переместить один из
ползунов невозможно, пока часть шарика или конец стержня не войдёт в выемку
соседнего ползуна и не застопорит его.
Для предотвращения от включения заднего хода при движении вперёд
применяют предохранитель, который состоит из плунжера с пружиной и размещён в
переводной головке. Включение заднего хода возможно только при значительном
усилии, прилагаемом к рычагу переключения.
1-шестерня 2 передачи промежуточного вала; 2-шестерня заднего хода;
3-шестерня третьей передачи ведомого вала; 4-шестерня 4 передачи;
5-промежуточный вал; 6; 15-шестерни постоянного зацепления; 7-картер коробки
передач; 8-шестерня 3 передачи; 9-шестерня 4 передачи; 10-конусное кольцо
синхронизатора; 11-сухари синхронизатора; 12-каретка синхронизатора 4 и 5
передач; 13-первичный вал; 14-направляющая втулка муфты выключения сцепления с крышкой
подшипника первичного вала; 16-стержень перключения 1 передачи и заднего хода;
17-головка стержня переключения; 18-крышка картера коробки передач; 19-ось
промежуточного рычага; 20-фиксатор рычага; 21-корпус рычага; 22-рычаг
переключения передач; 23-промежуточный рычаг; 24-вилка переключения 4 и 5
передач; 25-вилка переключения 2 и 3 передач; 26-шариковый фиксатор стержня;
27-стержень переключения 4 и 5 передач; 28-стержень переключения 2 и 3 передач;
29-каретка синхронизатора 2 и 3 передач; 30-шестерня 2 передачи; 31-вилка
переключения 1 передачи и заднего хода; 32-шестерня первой передачи и заднего
хода; 33-трубка вентиляции картера коробки передач; 34-крышка сальника;
35-фланец вала крепления кардана; 36-вторичный вал; 37-маслоотгонная шайба;
38-крышка заднего подшипника вторичного вала; 39-крышка заднего подшипника
промежуточного вала; 40-шестерня первой передачи; 41-крышка люка; 42-пробка
отверстия для выпуска масла; 43-втулка шестерни 4 передачи; 44-внутренний
зубчатый венец для включения каретки синхронизатора; 45-шток предохранителя
включения заднего хода; 46-предохранитель включения заднего хода; 47-корпус
предохранителя включения заднего хода; 48-блок шестерён заднего хода; 49-ось
блока шестерён заднего хода; 50-пробка маслоналивного отверстия
Рис. 3.6 Коробка передач ЗИЛ-130
Техническое обслуживание коробки передач ЗИЛ-130
На предприятии техническое обслуживание коробок передач заключается в
проверке уровня масла в коробке передач и проверке коробки передач на наличие
подтекания масла.
Предложения по улучшению технического обслуживания коробок передач.
Ежедневное обслуживание (ЕО). Проверить работу коробки передач при
движении.
Первое техническое обслуживание (ТО-1). 1. Проверить и, если нужно,
закрепить коробку передач и картер сцепления.
. Проверить и, если нужно, долить масло до уровня.
. Проверить работу коробки передач после обслуживания.
Второе техническое обслуживание (ТО-2). 1. Провести углублённый осмотр
коробки передач.
. Закрепить коробку передач к картеру сцепления и крышки картера.
. Закрепить крышки подшипников ведомого и промежуточных валов.
. Долить или заменить масло в картере коробки передач (по графику
смазки). Проверяют и доливают масло в картер коробки передач или раздаточной
коробки на ровной площадке. Для проверки уровня и доливки масла необходимо
отвернуть пробку заливного отверстия, если уровень масла находится у его края,
то масла в достаточном количестве, если масла меньше, то через воронку
необходимо добавить масла. Заменяют масло в коробке передач или в раздаточной
коробке тогда, когда оно тёплое. Перед сменой масла необходимо поставить задний
мост на козлы, отвернуть сливную пробку и слить масло. Завернуть пробку и
налить до ½ уровня керосина. Пустить двигатель, включить передачу и
поработать 1-2 мин, после чего слить керосин и, установив пробку на место,
залить свежее масло.
Могут применяться трансмиссионные масла: ТЭп-15 (ТМ-2-18); ТСп-10
(ТМ-3-9); ТСп-15к (ТМ-3-18); Тап-15в (ТМ-3-18); ТСз-9гип (ТМ-4-9з); ТАД-17и
(ТМ-5-18).
3.4 Разборочные работы
Снятие коробки передач
При снятии коробки передач необходимо отвернуть болты крепления крышки
пола кабины, снять его и отвернуть фланец крепления карданного вала.
Отсоединить регулировочную тягу сцепления и оттяжную пружину. Снять
картер с рычагом переключения передач. Отсоединить кронштейн промежуточной
опоры от поперечины рамы и опустить карданные валы, снять рычаги ручного
тормоза, отсоединить вал спидометра.
Для снятия рычага привода ручного тормоза с коробки передач надо
отвернуть два болта крепления сектора и один болт крепления рычага, снять
пластину рычага, рычаг привода тормоза в сборе, две распорные втулки и сектор
рычага.
Отвернуть болты крепления коробки передач к картеру сцепления с помощью
накидного ключа. Отсоединить от картера сцепления коробку передач и снять её
при помощи специального съёмника 32П-1270.
Сняв коробку передач с автомобиля, надо установить на место картер с
рычагом управления коробкой.
Перед разборкой необходимо слить масло, вывернуть пробку из спускного
отверстия, затем очистить и промыть коробку передач снаружи.
С помощью подвески (рис. 3.7) зацепить коробку, поднять её подъёмником и
установить на приспособление для разборки и сборки коробок передач.
Рис. 3.7 Подвеска для транспортировки и подъёма коробок передач
Разборка коробки передач
Снятие и разборка картера рычага переключения передач. Отвернуть четыре
болта крепления картера рычага, снять картер с рычагом в сборе и прокладку
картера.
Закрепить картер рычага в тиски, направив рычаг вниз. Отвернуть гайку крепления
оси промежуточного рычага, придерживая при этом головку оси, снять пружинную
шайбу и ось с промежуточным рычагом. Затем вынуть ось из отверстия рычага и
предохранитель. Вынуть из картера пружину, снять опору рычага, вынуть рычаг в
сборе и фиксатор рычага. Для снятия защитного чехла надо ослабить гайку и
отвернуть рукоятку.
Снятие и разборка первичного вала
Отсоединить оттяжную пружину от муфты подшипника выключения сцепления,
снять муфту с подшипником в сборе. Отвернуть четыре болта крепления крышки
переднего подшипника первичного вала и снять крышку с прокладкой.
Чтобы вынуть из гнезда картера первичный вал, надо выпрессовать шариковый
подшипник с помощью съёмника 40П-5019 (рис. 3.8) и снять вал с подшипником в
сборе.
Рис. 3.8 Съёмник 40П-5019
Снять замочные кольца и спрессовать подшипник с помощью приспособления
(рис. 3.9).
Рис. 3.9 Приспособление для разборки первичного вала
3.5 Диагностика
Необходимо соблюдать следующий порядок диагностики первичного вала
коробки передач ЗИЛ-130. Прежде всего проводится визуальный контроль детали
(невооружённым глазом), выявляются крупные трещины, пробоины, изломы, задиры,
риски, элементы коррозии и т. п. Далее с помощью раз-личных устройств и
приспособлений выявляют дефекты, связанные с нарушением взаимного расположения
базовых поверхностей и физико-механических свойств материала детали. После
этого ответственные детали проверяют на наличие скрытых дефектов (невидимых
глазу трещин и внутренних дефектов). И в завершении, если в детали отсутствуют
недопустимые дефекты, определяют её размеры и форму базовых поверхностей.
Контроль взаимного расположения базовых поверхностей заключается в
проверке отклонений от соосности, перпендикулярности, параллельности осей или
плоскостей и др. Для того, чтобы контроль деталей был эффективным, необходимо
правильно базировать их. Существуют два принципа базирования деталей: принцип
постоянства баз и принцип их совмещения
Отклонения от соосности шеек валов оцениваются при помощи индикаторов
часового типа с ценой деления 0,01 мм путём базирования детали в центрах и
вращения её вокруг оси. Величина радиального биения шеек (их несоосность)
определяется как разность отклонений индикаторов.
Отклонение от перпендикулярности фланца к оси вала оценивается при помощи
индикаторной головки, установленной перпендикулярно к торцу фланца на возможно
большем удалении от оси вала. При вращении вала величина биения торца фланца
относительно оси вала определяется по разности максимального и минимального
отклонений стрелки индикатора.
3.6 Маршрутная карта восстановления первичного
вала коробки передач ЗИЛ-130
Таблица 3.3-Маршрут восстановления первичного вала коробки передач
ЗИЛ-130
|
№ операции
|
№ перехода
|
Дефекты Наименование операций
и содержание переходов
|
|
1
|
2
|
3
|
|
1 2 3
1 2 3 4
|
1 2 3 4 5 1 1 1
2 3 4 5 1 1 1
|
Дефект 1 Износ шейки под
передний шариковый подшипник Подготовительная операция Ознакомиться с рабочим
местом и проверить его комплектность Изучить характеристику детали, условия
её работы, дефекты, способы ремонта Изучить оборудование, оснастку и
материалы, применяемые при выполнении операции Подготовить всё необходимое
для операции Подготовить наплавочную установку к работе Наплавочная операция
Выполнить наплавочную операцию Проверочная операция Контроль операции Дефект
2 Износ шейки под задний шариковый подшипник Подготовительная операция
Ознакомиться с рабочим местом и проверить его комплектность Изучить
характеристику детали, условия её работы, дефекты, способы ремонта Изучить
оборудование, оснастку и материалы, применяемые при выполнении операции
Подготовить всё необходимое для операции Подготовить наплавочную установку к
работе Наплавочная операция Выполнить наплавочную операцию Проверочная
операция Контроль операции Обслуживание рабочего места Привести в порядок
рабочее место
|
Карта на дефектацию первичного вала ЗИЛ-130
Таблица 3.4-Дефектация первичного вала ЗИЛ-130
|
|
Деталь: 130
|
|
Материал: сталь 25 ХГМ
|
|
Твёрдость: HRC 60-65
|
|
№
|
Возможные дефекты
|
Способ установления дефекта
и средства контроля
|
Размер, мм
|
Рекомендации по устранению
дефекта
|
|
|
|
По рабочему чертежу
|
Допустимый без ремонта
|
|
|
1
|
Обломы и трещины
|
Визуально
|
-
|
-
|
Соответствует норме
|
|
2
|
Износ шейки под передний
шариковый подшипник
|
Штанген-циркуль
|
-
|
24,950
|
Вибродуговая наплавка
|
|
3
|
Выкрашивание рабочей
поверхности зубьев
|
Визуально
|
-
|
-
|
Соответствует норме
|
|
4
|
Износ отверстия под
роликовый подшипник
|
Штанген-циркуль
|
-
|
44,040
|
Соответствует норме
|
|
5
|
Износ зубьев муфты по
длине, забоины и отколы на торцах зубьев
|
Штанген-циркуль
|
-
|
-
|
Соответствует норме
|
|
6
|
Износ зубьев муфты по
толщине
|
Штанген-циркуль
|
-
|
51,740
|
Соответствует норме
|
|
7
|
Износ конусной поверхности
под кольцо синхронизатора
|
Штанген-циркуль
|
-
|
41,0
|
Соответствует норме
|
|
8
|
Износ шлицёв по толщине
|
Штанген-циркуль
|
-
|
5,700
|
Наплавка под слоем флюса
|
|
9
|
Износ зубьев шестерни по
толщине
|
Штанген-циркуль
|
-
|
6,950
|
Соответствует норме
|
|
10
|
Износ шейки под задний
шариковый подшипник
|
Штанген-циркуль
|
60,023
|
59,980
|
Вибродуговая наплавка
|
|
|
|
|
|
|
|
|
|
3.7 Способы восстановления
При
толщине зуба (она определяется на высоте 6,128 мм) менее 6,950 мм вал
выбраковывают. Для определения состояния зубьев муфты в диаметрально
противоположные впадины зубьев устанавливают шарики
6,50 мм и замеряют размер. Если размер будет больше
51,740 мм, то зубья считаются изношенными и вал бракуют.
Износы
шеек под передний и задний шариковые подшипники устраняют вибродуговой
наплавкой, хромированием или осталиванием с последующим шлифованием под размер
рабочего чертежа.
Изношенные
шлицы по толщине восстанавливают наплавкой под слоем флюса или в среде
углекислого газа с последующим фрезерованием шлицёв, их термической обработкой
и шлифованием под размер рабочего чертежа.
Износ
конусной поверхности под кольцо синхронизатора, при котором размер будет менее
41,0 мм, и при проверке на краску, при котором пятно контакта будет занимать
менее 70% поверхности, требует выбраковки ведущего вала. Размер определяют
конусным калибром. Его малый диаметр должен быть 80 мм, а конусность 16
. Расстояние замеряют от торца калибра со стороны
малого диаметра конуса до поверхности после надевания его на конусную
поверхность кольца синхронизатора. Контактное пятно определяют перемещением
калибра относительно конусной поверхности кольца после покрытия его поверхности
краской.
Забоины
и отколы на торцах зубьев муфты устраняют зачисткой заходной части: при длине
зубьев менее 6,0 мм вал бракуют.
Износ
отверстия под роликовый подшипник устраняют расшлифовкой его под первый (
мм) или второй (
мм)
ремонтные размеры, а также постановкой соответствующего размера ДРД и
шлифованием её под размер рабочего чертежа.
Восстановление
вала вибродуговой наплавкой
Содержание
работы: изучение оборудования, оснастки, области применения и технологии
наплавочных работ; проектирование, оформление и выполнение наплавочной
операции.
Оборудование
и оснастка рабочего места
.
Наплавочная установка в комплекте (токарный станок, наплавочная головка,
источник сварочного тока, пульт управления).
.
Проволока электродная стальная углеродистая пружинная II-1,8 (ГО-СТ
9389-75).
.
Фартук, рукавицы, защитный экран, щётка-смётка.
Краткие
сведения о восстановлении деталей вибродуговой наплавкой.
Сущность
способа вибродуговой наплавки деталей состоит в том, что электродная проволока
подаётся из кассеты к наплавляемой поверхности специальным механизмом, который
одновременно с подачей проволоки вниз, к детали, придаёт ей колебательные
движения с определённой частотой (50-100 Гц) и амплитудой (до 3 мм).
К
детали и электродной проволоке подводится ток 80-300 А при напряжении 12-20 В.
В место соприкосновения проволоки с деталью подаются охлаждающая жидкость,
защитный газ или флюс. Процесс может вестись и без защиты дуги.
Цикл
наплавки включает в себя короткое замыкание (в момент касания электродом
детали), горение дуги (во время отрыва электрода от детали) и холостой ход (от
момента, когда дуга погасла, до следующего короткого замыкания).
При
включении в цепь тока индуктивности нарастание и падение импульсов тока
сглаживаются, длительность и устойчивость горения дуги возрастают.
Качество
наплавленного металла и производительность процесса зависят от положения
электрода относительно детали, определяемого углами
и
, и
величиной вылета
,
-угол
наклона электрода к оси вращения детали в вертикальной плоскости. С увеличением
угла улучшается свариваемость валика с основным металлом, но ухудшается
свариваемость валиков между собой;
мм-вылет
электрода,
-угол наклона электрода в поперечной плоскости для
деталей, диаметр которых менее 40 мм, 
.
Вибрация
электрода уменьшает тепловое воздействие на деталь, а охлаждающая жидкость
позволяет получить наплавленный металл с закалённой структурой. Более
качественные результаты получаются при наплавке метала постоянным током
обратной полярности.
Достоинства
способа: незначительная по глубине зона термического влияния; незначительная
деформация деталей после наплавки; высокая твёрдость и износостойкость
покрытия; высокая производительность процесса; возможность получения покрытия
различной толщины и механических свойств.
Недостатки
способа: металл шва пористый, неплотный, с большим количеством окислов,
неоднородной структуры, что снижает усталостную прочность деталей до 60% и
более. Указанные недостатки в определённой степени компенсируются
термомеханическим упрочнением.
Технологические
особенности способа
Вибродуговая
наплавка применяется для восстановления деталей из стали и чугуна, их наружных
и внутренних цилиндрических поверхностей, а также резьбовых поверхностей и
шлицёв (распределительные валы, крестовины кардана и дифференциала, разжимные
кулаки переднего и заднего тормозных механизмов, фланцы карданного и ведомого вала
КП и др.).
Наплавляемый
слой 0,3-2,0 мм при диаметре детали 15 мм и более.
При
восстановлении деталей с износом меньше 0,1 мм поверхность детали проточить или
прошлифовать до 0,15-0,20 мм на сторону.
Параметры
режима наплавки
Режим
вибродуговой наплавки обусловливается рядом электрических и кинематических
параметров, от которых в конечном итоге зависят производительность, толщина и
качество наплавленного слоя, его связь с основным металлом, износостойкость,
усталостная прочность.
К
электрическим параметрам относятся род тока и полярность, напряжение,
индуктивность сварочного контура цепи.
Кинематическими
параметрами являются скорость наплавки
,
скорость подачи электродной проволоки
, шаг
наплавки S, частота вращения детали n, частота и
амплитуда колебания электродной проволоки, место подвода проволоки к детали
(углы
и
), а
также количество и состав охлаждающей жидкости или защитного газа, диаметр детали
d и проволоки
.
Указания
по выполнению наплавочной операции
Уяснить
специализацию и организацию рабочего места, назначение и расположение
оборудования, оснастки деталей, документов и справочной информации. Проверить
по описи комплектность. Уяснить конструктивные элементы детали и
технологические требования к ним, вид и род трения, характер нагрузки,
агрессивность среды, вид и характер дефектов, способы и средства дефектации,
возможные методы и технологию ремонта, а также требования руководства по
капитальному ремонту. Изучить основные узлы комплекта оборудования для
вибродуговой наплавки, органы управления и порядок работы, способ установки
детали при наплавке, паспортные данные оборудования, принципиальную
электрическую схему установки, расположение электрода по отношению к
наплавляемой детали.
Ознакомиться
с особенностями вида обработки. Примечание. Электродвигатели и выпрямитель не
включать. Подобрать оборудование, приспособление, материалы. Установить
структуру операции (вспомогательные и технологические переходы). Изучить и
уяснить требования инструкции по технике безопасности. Проверить заземление
оборудования и наличие охлаждающей жидкости. Заправить электродную проволоку
через механизм подачи в мундштук. Проверить правильность подключения цепи
сварочного тока («+» подают на электродную проволоку). Установить деталь в
центры станка. Очистить наплавляемую шейку от загрязнений (до блеска).
Проверить радиальное биение наплавляемой шейки вала (
0,1 мм). Установить защитный экран. Запустить
сварочный преобразователь. Надеть фартук, рукавицы и защитные очки. Включить
электродвигатель насоса. Включить электродвигатель станка. При этом рукоятка
управления шпинделем станка должна находиться в нейтральном положении. Включить
сварочный ток. Рукоятку управления станком поставить так, чтобы деталь начала
вращаться по часовой стрелке, если смотреть со стороны задней бабки. Запустить
электродвигатель наплавочной головки (подачу проволоки). Зафиксировать время
начала наплавки. Наблюдать за процессом наплавки. Выполнить наплавку заданного
участка детали. Зафиксировать время окончания наплавки. Процесс наплавки
прекращается последовательным выключением сварочного тока, электродвигателей
наплавочной головки, станка, насоса подачи жидкости и преобразователя
сварочного тока. Осмотром определить наличие раковин, трещин, непроваров.
Измерить диаметр наплавленной шейки вала. Привести в исходное положение
инструмент, деталь, документы. Привести в порядок станок, приспособления,
инструмент. Знать основные характеристики оборудования и инструмента,
применявшихся при выполнении операции. Знать область применения работ при
ремонте деталей автомобилей и требования ЕСТД в части, касающейся операции.
Восстановление
деталей автоматической наплавкой под флюсом
При
наплавке под флюсом получается наиболее совершенная защита расплавленного
металла от воздуха, благодаря чему содержание в металле азота и кислорода незначительно
и металл обладает высокой пластичностью. Кроме того, флюс улучшает качество
наплавленного металла и обеспечивает его нормальное формирование при большой
силе тока (плотности тока), при которой происходит наплавка. Флюс, покрывающий
наплавленный металл, замедляет его охлаждение и увеличивает время пребывания в
жидком состоянии, что способствует очищению ванны от неметаллических частиц и
газов и, следовательно, получению наплавленного металла со значительно меньшим
количеством шлаковых включений и микропор.
Автоматической
наплавкой продольными валиками восстанавливают шлицы полуосей и карданных
валов. Цилиндрические же поверхности деталей, например шеек коленчатых валов и
др., восстанавливаются наплавкой по винтовой линии. Наплавка по винтовой линии
деталей небольших диаметров (до 50 мм) вызывает определённые трудности из-за
стекания металла, особенно при большой длине сварочной ванны. Для
предотвращения этого необходимо применять небольшую силу тока и низкое
напряжение (I=120-270 А; U=25-28 В). Износостойкость
деталей, восстанавливаемых наплавкой под флюсом, достигается легированием
наплавленного металла за счёт электродной проволоки или флюса. Применение
проволоки Нп-30ХГСА, Нп-2Х14, Нп-3Х13 и др. обеспечивает высокую
износостойкость наплавленного металла. Проволоки марок Нп-2Х14, Нп-3Х13
применяются обычно для наплавки ответственных деталей с высокой поверхностной
твёрдостью, проволока Нп-30ХГСА-для деталей, твёрдость которых не превышает HB
300-400.
В
качестве флюсов наибольшее распространение получили плавленые
высокомарганцовистые флюсы, содержащие свыше 30% MnO и
отличающиеся малой склонностью к образованию пор в металле наплавки и к
появлению в нём горячих трещин. В настоящее время для наплавки деталей под
флюсом применяется значительное число флюсов различных марок: АН-30, АН-348-А и
ОСЦ-45. Наиболее общеупотребительными являются флюсы АН-348-А и ОСЦ-45. Флюс
АН-30 применяется для высоколегированного наплавленного металла при
использовании легированной проволоки, содержащей не менее 0,5 % кремния.
Приведём для примера химический состав (в %) флюса ОСЦ-45: 38,0-43,0 MnO;
43,0-45,0
; 6,0-3,0
; 5,5 CaO;
2,5
; 1,5 FeO; 0,15 S; 0,88 Р. Кроме плавленых флюсов хорошие
эксплуатационные свойства металлопокрытий получаются при наплавке под
керамическими флюсами АНК-18; АНК-19, разработанными Институтом электросварки
им. О. Е. Патона. Керамические флюсы позволяют легировать наплавленный металл в
широком диапазоне при использовании дешёвой низкоуглеродистой проволоки Св-08.
Так, например, химический состав металла, наплавленного проволокой Св-08 под
флюсом АНК-19, содержит (в %): 0,49 С; 0,66 Mn; 0,34 Si;
3,15 Cr. Средняя твёрдость наплавленного металла HRC
45-49.
В
авторемонтном производстве для наплавки коленчатых валов применяют также смесь
флюса АН-348-А, 25% графита и 2% феррохрома. При этом наплавка ведётся
проволокой Нп-80.
На
качество наплавочных работ кроме материала электродной проволоки и флюса
большое влияние оказывают режимы и техника наплавки. Различие режимов наплавки
позволяет в широких пределах изменять глубину провара и, следовательно, долю
участия основного и электродного металлов в образовании наплавляемого валика,
т. е. регулировать его химический состав. Наплавка на больших скоростях даёт
меньшую глубину провара основного металла. В этом случае валик будет больше
легирован компонентами, входящими в основной металл. Наоборот, при наплавке на
небольших скоростях провар больше и наплавленный металл будет меньше легирован
за счёт основного металла. Расчёт примерного химического состава наплавленного
металла ведётся по формуле
,
где
-конечная или действительная концентрация какого-либо
элемента в металле наплавки, %;
-содержание
рассматриваемого элемента в электродной проволоке, %;
-содержание того же элемента в основном металле, %; m и n-соответственно
доли участия наплавляемого и основного металлов в образовании наплавленного
валика;
-изменение концентрации рассматриваемого элемента за
время сварки.
Зная
химический состав металла восстанавливаемой детали, химический состав и
свойства флюса и электродной проволоки, можно подсчитать примерное содержание в
металле наплавки углерода, кремния, марганца и др.
Значения
m, n и
для
отдельных элементов определяются по имеющимся в специальной литературе данным.
Возможность
рассчитывать заранее химический состав наплавленного металла и влиять на него
изменением режимов имеет большое практическое значение при восстановлении
изношенных деталей, в особенности деталей, изготовленных из легированных
сталей.
Автоматическая
наплавка деталей под флюсом ведётся на постоянном токе, при обратной полярности
на станках У-651, У-653, У-652 (для коленчатых валов) или наплавочными
аппаратами А-580М, ПАУ-1 и др. Для питания наплавочных установок током
применяются преобразователи постоянного тока ПСО-500 (укомплектован автомат
А-580М), ПСГ-500-1 или ПСУ-500 (укомплектован ПАУ-1).
Аппараты
А-580М и ПАУ-1 устанавливаются на суппорте любого токарного станка,
удовлетворяющего габаритам деталей и снабжённого редуктором для понижения
частоты вращения детали. Продольное перемещение головки осуществляется при
помощи суппорта станка.
Институтом
электросварки им. Е. О. Патона разработаны специальные наплавочные станки:
У-465 для наплавки цилиндрических и шлицевых поверхностей; У-427 для наплавки
шеек коленчатых валов; У-425 для наплавки наружных и внутренних поверхностей.
Эксплуатационные
свойства наплавленного металла в большей мере зависят от режима наплавки,
материала электродной проволоки и флюса. Для снижения припуска на последующую
механическую обработку деталей нужно выбирать режимы наплавки, обеспечивающие
получение ровной, гладкой поверхности наплавленного металла. Выбор режима
наплавки определяется размером детали, величиной износа и диаметром электродной
проволоки. Материал электродной проволоки и состав флюса выбираются в
зависимости от материала и поверхностной твёрдости детали, связанных с
условиями её работы.
От
износа зависит толщина наплавленного металла, в которую следует включать
припуск на механическую обработку.
Наиболее
целесообразно применять автоматическую наплавку деталей больших диаметральных
размеров. При наплавке деталей небольших размеров, чтобы удержать расплавленный
металл и шлак от стекания, электродную проволоку смещают с зенита детали в
сторону, противоположную направлению вращения детали. При диаметре наплавляемой
детали 35-650 мм и диаметре электродной проволоки 1,1-2,0 мм смещение может
быть в пределах 3-25 мм, оно устанавливается опытным путём таким образом, чтобы
не было стекания флюса и затекания шлака. Мундштук устанавливают под углом
к наплавляемой поверхности. Для удержания флюса на
поверхности детали в месте дуги целесообразно применять флюсоудерживающее
приспособление.
Во
избежание снижения первоначальной прочности деталей при наплавке необходимо
стремиться к минимальной глубине проплавления основного металла, соответственно
снижая силу тока. Хотя это мероприятие приводит к снижению производительности
процесса, к нему приходится прибегать, в особенности при наплавке ответственных
деталей, работающих при знакопеременных нагрузках. Уменьшить глубину
проплавления основного металла без снижения производительности процесса можно
наплавкой на многоэлектродных или полуавтоматических устройствах. При этом
происходит деление тока наплавки по числу электродов, что позволяет повысить
общую силу тока и производительность процесса. Однако наплавка деталей
несколькими электродами в ремонтном производстве пока не производится. Наиболее
высокое качество наплавки получается на постоянном токе при обратной
полярности. Силу тока приближённо можно определить по формуле
автомобиль коробка передача восстановление
,
где
d-диаметр электрода, мм.
Скорость
наплавки
,
Здесь
-коэффициент наплавки,
; I-сила
тока, А; G-масса 1 м наплавки, г.
Скорость
подачи электродной проволоки
,
где
d-диаметр электродной проволоки, мм;
-плотность наплавленного металла,
.
Частота
вращения детали
,
здесь
-скорость подачи электродной проволоки, м/мин; d-диаметр
проволоки, мм; h-толщина наплавленного слоя, мм; s-шаг
наплавки, мм/об; D-диаметр детали, мм;
-коэффициент
перехода металла электрода в основной металл.
Для
наплавки под флюсом
можно принять равным единице.
Продольная
подача наплавочной головки устанавливается с учётом того, чтобы каждый
последующий валик перекрывал предыдущий на одну треть его ширины. Режимы
наплавки должны обеспечивать получение наплавленного металла без трещин,
поэтому наплавку целесообразно вести при минимальной силе тока с минимальной
глубиной проплавления основного металла.
Примерный
режим наплавки применительно восстановлению автомобильных деталей наплавкой под
флюсом может быть следующим.
Диаметр
электродной проволоки, мм 1.6-1,8
Напряжение
дуги, В 22-27
Сила
тока наплавки, А 150-200
Индуктивность
витков дросселя РСТЭ-34 8-16
Скорость
подачи электродной проволоки, м/ч 1,5-2,2
Толщина
наплавленного слоя, мм 0,8-2,5
Продольная
подача, мм/об 3,5-5,0
Одной
из мер по устранению горячих трещин является предварительный подогрев детали.
Содержание углерода в наплавленном металле при этом может быть повышено без
опасения появления трещин, так как предварительный подогрев детали снижает
мгновенную скорость охлаждения металла, тем самым устраняя причину образования
горячих трещин. Однако при восстановлении деталей к предварительному подогреву
прибегают в редких случаях из-за опасности снижения физико-механических свойств
термически обработанных деталей.
Имеются
и другие способы восстановления деталей наплавкой под флюсом, например
порошковыми проволоками типа ПП-3Х2В8, ПП-Х10В14 и др.; порошковыми лентами
типа ЛМ-70Х3М или электродными лентами из различных марок сталей: 13Х; 60С2А;
50ХФА и др.
Однако
для применения этих способов к восстановлению автомобильных деталей необходимо
проведение исследований и разработка технологических процессов.
3.8 Сборочные работы
Сборка
и установка первичного вала
Для
сборки первичного вала надо установить его в приспособление и напрессовать
подшипник (натяг 0,003-0,038 мм). Установить в проточку замочное кольцо.
Вынуть
вал из приспособления и установить в гнездо роликовый подшипник.
Установить
в гнездо картера первичный вал с подшипником в сборе (посадка подшипника от
натяга 0,012 мм до зазора 0,038 мм) и направить конец вторичного вала в
роликовый подшипник первичного вала. Установить крышку подшипника первичного
вала с прокладкой, закрепить их болтами с пружинными шайбами. Надеть на
направляющую крышки муфту с подшипником включения сцепления и установить на
муфту оттяжную пружину.
Сборка
коробки передач
Установить
в пазы шпонку и последовательно напрессовать на вал предварительно подобранные
по шейкам шестерню второй передачи (натяг 0,005-0,055 мм), шестерню заднего
хода (посадка от натяга 0,04 мм до зазора 0,01 мм), шестерню третьей и
четвёртой передач (натяг 0,015-0,065 мм). Установить распорную втулку,
напрессовать шестерню постоянного зацепления (натяг 0,0150,065 мм) и закрепить
её замочным кольцом. Кольцо установить с помощью оправки. Все шестерни
промежуточного вала должны быть напрессованы до упора в торец.
Установить
картер коробки передач на приспособление. Вставить в Гнездо картера кольцо
переднего роликового подшипника промежуточного вала (посадка от натяга 0,01 мм
до зазора 0,033 мм).
Надеть
роликовый подшипник на передний конец промежуточного вала (зазор 0,015-0,047
мм). Вставить в картер промежуточный вал в сборе с шестернями, направив
последовательно сначала задний конец вала в гнездо шарикового подшипника, затем
установить в наружное кольцо передний конец вала с роликовым подшипником в
сборе.
Напрессовать
шариковый подшипник в сборе с замочным кольцом на задний конец промежуточного
вала (натяг 0,003-0,032 мм), направить его в гнездо картера, установить
подшипник вместе с валом в гнездо картера с помощью специальной оправки
(посадка от натяга 0,012 мм до зазора 0,038 мм). Навернуть гайку и затянуть её.
Момент затяжки не менее 250
(25
). Закрепить гайку, вдавив её тонкий край в паз вала.
Установить заднюю крышку с прокладкой и закрепить крышку болтами с пружинными
шайбами.
Установить
в выточку гнезда картера переднего подшипника стопорное кольцо и посадить его с
помощью оправки, вставить в гнездо заглушку и запрессовать её специальной
оправкой.
Вставить
в отверстие блока шестерён заднего хода роликовые подшипники, установив между
ними распорную пружину, установить блок в картер коробки, вставить ось блока
шестерён (с посадкой: конец оси большого диаметра от натяга 0,052 мм до зазора
0,004 мм, конец оси меньшего диаметра-с зазором 0,007-0,060 мм).
Установить
в выточку стопорную пластину и закрепить её болтом с пружинной шайбой.
Установка
коробки передач
Завернуть
пробку в спускное отверстие, залить масло ТМ-3-18 (Тсп-15к). Присоединить
коробку передач к картеру сцепления. Завернуть болты крепления коробки передач
к картеру сцепления с помощью накидного ключа. Установить на место сектор
рычага и две распорные втулки, рычаг привода тормоза в сборе, пластину рычага,
установить рычаг привода ручного тормоза на коробку передач, завернуть один
болт крепления рычага и два болта крепления сектора. Присоединить вал
спидометра, поставить рычаги ручного тормоза, присоединить кронштейн
промежуточной опоры к поперечине рамы, присоединить карданные валы. Установить
картер с рычагом переключения передач. Присоединить оттяжную пружину и
регулировочную тягу сцепления. Установить фланец крепления карданного вала, установить
крышку пола кабины, завернув болты её крепления.
3.9 Диагностика, проверка собранного узла
После
сборки в коробку передач необходимо залить масло до уровня контрольной пробки и
проверить её на специальном стенде.
Приработку
коробки передач следует производить от электродвигателя в течение 3-5 мин, на
каждой последовательно включенной передаче.
В
процессе приработки коробки передач проверяют нормальное включение передач,
отсутствие повышенных шумов шестерён в зацеплении и стуков, отсутствие течи
масла в манжетах и стыках, а также отсутствие других неисправностей.
Исправную
коробку передач установить на двигатель с помощью гидроподъёмника или подъёмной
тали, закрепить коробку передач на шпильках гайками с пружинными шайбами.
Момент затяжки гаек должен быть 120-150
(12-15
).
4.
КОНСТРУКТОРСКАЯ ЧАСТЬ
4.1 Назначение, схема, устройство, работа
приспособления
Рис. 4.1 Универсальный съёмник
Универсальный съёмник (рис. 4.1) подшипников предназначен для демонтажа
подшипников из корпуса детали, имеющей глухое гнездо, например для демонтажа
подшипников первичного вала коробки передач из гнезда маховика.
Устройство состоит из корпуса, двух подвижных губок с зацепами и силового
винта. Для удаления подшипника из гнезда предварительно вывинчивают шток и
сгибают губки до соприкосновения между собой. Съёмник со сжатыми губками
вставляют во внутреннюю обойму подшипника до захода зацепов губок за края
наружной обоймы. Вращением винтового штока губки раздвигаются и захватывают
своими выступами подшипник. Дальнейшим вращением винта, конец которого
упирается в дно гнезда, подшипник выпрессовывается. Без данного устройства из
глухого гнезда практически невозможно выпрессовать подшипник, не нарушая его
целостности.
Съёмник разработан Волосовским грузовым автопредприятием
Главленавтотранса. Съёмник может использоваться для демонтажа подшипников первичного
вала коробки передач ЗИЛ-130.
5. ЭКОНОМИЧЕСКАЯ ЧАСТЬ
5.1 Определение необходимого времени для
проведения ремонта первичного вала
Под затратами рабочего времени понимается необходимое время проведения
определённых работ.
Рабочее время - установленная законодательством продолжительность
рабочего дня, рабочей недели. Вместе с тем под рабочим временем понимается
период, в течение которого работник находится на предприятии в связи с
выполняемой им работой.
Таблица 5.1-Технологические операции при восстановлении, ремонте
первичного вала коробки передач ЗИЛ-130
|
№
|
Вид работы
|
Выполнение операции
|
Разряд
|
Трудоёмкость, чел. ч.
|
|
1
|
Снятие коробки передач
|
Снять коробку передач
|
3
|
0,58
|
|
2
|
Извлечение первичного вала
из снятой коробки передач
|
Извлечь первичный вал из
снятой коробки передач
|
3
|
0,27
|
|
3
|
Определение дефекта
|
Определить дефект
|
3
|
0,80
|
|
4
|
Вибродуговая наплавка
|
Произвести вибродуговую
наплавку
|
4
|
0,24
|
|
5
|
Установка первичного вала в
коробку передач
|
Установить первичный вал в
коробку передач
|
3
|
0,18
|
|
6
|
Установка коробки передач
на автомобиль
|
Установить коробку передач
на автомобиль
|
3
|
0,58
|
|
7
|
Проверка работоспособности
коробки передач
|
Проверить работоспособность
коробки передач
|
4
|
0,12
|
|
Итого: (чел. ч.)2,05
|
|
Общая трудоёмкость необходимая для восстановления, ремонта первичного
вала составляет 2,05 (чел. ч.).
5.2 Материальные затраты
Материальные затраты - часть издержек производства, затрат на
производство продукции, товаров, услуг, в которую включаются затраты на сырьё,
основные и вспомогательные материалы, топливо, энергию и другие затраты,
приравниваемые к материальным.
Таблица 5.2-Материальные затраты на восстановление первичного вала
коробки передач ЗИЛ-130
|
Наименование материальных
ресурсов
|
Единица измерения
|
Количество
|
Цена за единицу, руб.
|
Сумма, руб.
|
|
Дизельное топливо для
промывки
|
л
|
15,0
|
15,00
|
225,00
|
|
Электроэнергия
технологическая
|
12,02,0024,00
|
|
|
|
|
Электроэнергия на освещение
|
4,12,008,20
|
|
|
|
|
Электроды для наплавки
|
шт
|
50,0
|
20,00
|
1000,00
|
|
Газ для наплавки
|
баллон
|
2,0
|
260,00
|
520,00
|
|
Обтирочные материалы
|
кг
|
5,0
|
120,00
|
600,00
|
|
Смазка
|
кг
|
5,0
|
250,00
|
1250,00
|
|
Трансмиссионное масло
|
л
|
6,0
|
450,00
|
2700,00
|
|
Итого:
|
6327,20
|
Общая сумма материальных затрат необходимая для ремонта, восстановления
первичного вала составляет 6327,20 руб.
Где
С-сумма;
К-количество;
Ц
- цена за единицу.
5.3 Расчёт заработной платы
Заработная
плата- это
денежное
выражение стоимости рабочей силы;
сумма
денежных выплат за работу, выполняемую по трудовому договору;
цена
трудовых ресурсов, задействованных в производственном процессе;
выраженная
в денежной форме часть совокупного общественного продукта, поступающая в личное
потребление трудящихся в соответствии с количеством и качеством затраченного
труда;
часть
затрат на производство и реализацию продукции, направляемая на оплату труда
работников предприятия;
денежное
вознаграждение, получаемое работником за свой труд в размере, определяемом
законодательством и трудовым договором.
Право
на труд и его оплату не менее минимального размера оплаты труда в России
гарантировано Конституцией Российской Федерации.
Существует
три системы оплаты труда:
тарифная
система оплаты труда;
сдельная
форма оплаты труда;
повременная
форма оплаты труда.
Таблица
5.3-Расчёт суммы заработной платы участников ремонта
|
Профессия, должность
|
ЧТС, оклад, руб.
|
Отработанное время, ч.
|
Сумма заработной платы
|
|
Слесарь-ремонтник
|
106,00
|
2,05
|
217,30
|
|
Руководитель подразделения
|
15000,00
|
2,05
|
34,94
|
Расчёт суммы заработной платы работника, за выполнение операции,
связанной с восстановлением, ремонтом первичного вала составил 217,30 руб.,
руководитель подразделения получит за выполнение операции 34,94
руб. Заработная плата рассчитана без учёта районного коэффициента, премии
и резерва на отпуск.
,
Где
РВ
- количество часов для ремонта;
ЧТС
- часовая тарифная ставка, принимается равной 106 руб.
Таблица
5.4-Расчёт фонда оплаты труда
|
Работник
|
Сумма основной ЗП
|
Премия 20% 40%
|
Районный коэффициент 15%
|
Резерв на отпуск 10%
|
Общая сумма ФОТ
|
|
Слесарь
|
217,30
|
86,92
|
45,63
|
34,98
|
384,83
|
|
Руководитель 20% от оклада
|
34,94
|
13,98
|
7,34
|
5,63
|
61,89
|
|
Итого:
|
252,24
|
100,90
|
52,97
|
40,61
|
446,72
|
Итоговая заработная плата слесаря составляет 384,83 руб., с учётом
премии, районного коэффициента и резерва на отпуск. Руководитель подразделения
получит 61,89 руб., с учётом районного коэффициента, премии и резерва на
отпуск. Итоговая сумма, которую предприятие должно выплатить работникам
составляет 446,72 руб.
,
,
,
,
,
,
,
,
Где
П
- премия;
ЗП
- заработная плата;
РК
- районный коэффициент;
РО
- резерв на отпуск;
ОС
- общая сумма;
5.4 Амортизация основных производственных средств
Амортизация-
процесс перенесения по частям стоимости основных средств и нематериальных
активов по мере их физического или морального износа на стоимость производимого
продукта.
Амортизационные
отчисления- отчисления части стоимости основных фондов для возмещения их
износа. Амортизационные отчисления включаются в издержки производства или
обращения. Производятся всеми коммерческими организациями на основе
установленных норм и балансовой стоимости основных фондов, на которые
начисляется амортизация. Амортизационные отчисления производятся по
определённым нормам относительно балансовой стоимости объекта основных фондов.
Таблица
5.5-Расчёт амортизационных отчислений
|
Наименование
|
Цена за ед., руб.
|
Ко-лво. ед.
|
Сумма, руб.
|
Ср-ок экспл.
|
Амортиз-ция, руб.
|
Амортизационные от-числен-ия,
руб.
|
|
Здание
|
2000000,00
|
1
|
2000000,00
|
900
|
2000,00
|
25,63
|
|
Набор ключей
|
1500,00
|
1
|
1500,00
|
12
|
1500,00
|
19,22
|
|
Съёмник
|
1000,00
|
1
|
1000,00
|
12
|
1000,00
|
12,81
|
|
Набор отвёрток
|
1500,00
|
1
|
1500,00
|
12
|
1500,00
|
19,22
|
|
Приспособление для
запрессовки подшипников
|
1000,00
|
1
|
1000,00
|
12
|
1000,00
|
12,81
|
|
Наплавочная установка
|
7000,00
|
1
|
7000,00
|
60
|
119,00
|
1,52
|
|
Станок токарный
|
70000,00
|
1
|
70000,00
|
120
|
5600,00
|
71,75
|
|
Приспособление для проверки
соосности вала
|
10000,00
|
1
|
10000,00
|
120
|
80,00
|
1,03
|
|
Приспособление для проверки
биения вала
|
10000,00
|
1
|
10000,00
|
120
|
80,00
|
1,03
|
|
Итого:
|
2102000,00
|
|
2102000,00
|
165,02
|
Итоговая сумма амортизации, начисляемая, за один месяц работы составляет
12879,00 руб., итоговая сумма за единицу основных средств составляет 2102000,00
руб. Амортизационные отчисления составляют 165,02 руб.
А=С:СЭ
Где
А - Амортизация;
С - Сумма;
СЭ - Срок эксплуатации;
Срок эксплуатации более 12 месяцев:
,
Срок
службы менее 12 месяцев:
,
Где
-
амортизация, отнесённая на себестоимость;
-
месячная амортизация.
5.5 Расчёт общей себестоимости работ
Себестоимость
- стоимостная оценка используемых в процессе производства продукции (работ,
услуг) природных ресурсов, сырья, материалов, топлива, энергии, основных
фондов, трудовых ресурсов и других затрат на её производство и реализацию.
Таблица
5.6-Общая себестоимость восстановления первичного вала коробки передач ЗИЛ-130
|
Статьи затрат
|
Сумма затрат
|
|
Материальные затраты
|
6327,20
|
|
Затраты на оплату труда
работникам
|
384,83
|
|
Затраты на оплату труда
руководителя
|
61,89
|
|
Отчисления в социальный
фонд 26% от общей суммы заработной платы
|
116,15
|
|
Начисленная амортизация
|
165,02
|
|
Общепроизводственные
расходы, 20% от суммы предыдущих
|
141,10
|
|
Общехозяйственные расходы,
10% от суммы предыдущих
|
719,62
|
|
Производственная
себестоимость
|
7915,81
|
Итак, общая производственная себестоимость необходимая для ремонта,
восстановления первичного вала составляет 7915,10 руб., её можно уменьшить,
если сократить материальные затраты. Следовательно, если уменьшить материальные
затраты, то уменьшатся общепроизводственные и общехозяйственные расходы.
6. ТЕХНИКА БЕЗОПАСНОСТИ
6.1 Общие требования к охране труда
Под охраной труда понимают систему законодательных актов и
соответствующих им мероприятий, направленных на сохранение здоровья и
работоспособности трудящихся. Система организационных и технических мероприятий
и средств, предотвращающих производственный травматизм, носит название техника
безопасности.
Производственная санитария предусматривает мероприятия по правильному
устройству и содержанию промышленных предприятий и оборудования в санитарном
отношении (надежная вентиляция, надлежащее освещение, правильное расположение
оборудования и другое).
Промышленная гигиена ставит своей целью создание наиболее здоровых и
благоприятных в гигиеническом отношении условий труда, предотвращающих
профессиональные заболевания работающих.
Порядок проведения инструктажа. На автотранспортных предприятиях
организация работ по технике безопасности и производственной санитарии
возлагается на главного инженера. В цехах и на производственных участках
ответственность за безопасность труда несут начальники цехов и мастера.
Осуществление мероприятий по технике безопасности и производственной санитарии
контролируют старший инженер по технике безопасности и профсоюзные организации.
Указания старшего инженера по технике безопасности может отменить только
руководитель предприятия или главный инженер.
Одними из основных мероприятий по обеспечению безопасности труда является
обязательный инструктаж вновь принимаемых на работу и периодический инструктаж
всех работников предприятия. Инструктаж проводит главный инженер предприятия
или старший инженер по технике безопасности.
Все работники независимо от производственного стажа и квалификации должны
один раз в шесть месяцев проходить повторный инструктаж.
Требования безопасности при техническом обслуживании и ремонте автомобиля
на автотранспортном предприятии.
Требования безопасности при техническом обслуживании и ремонте
автомобилей необходимо принимать меры против их самостоятельного перемещения.
Запрещаются техническое обслуживание и ремонт автомобиля с работающим
двигателем, за исключением случаев его регулирования.
Подъемно-транспортное оборудование должно быть в исправном состоянии и
использоваться только по своему прямому назначению. К работе с этим
оборудованием допускаются лица, прошедшие соответствующую подготовку и
инструктаж.
Во время работы не следует оставлять инструменты на краю осмотровой
канавы, на подножках, капоте или крыльях автомобиля.
При сборочных работах запрещается проверять совпадение отверстия в
соединяемых деталях пальцами: для этого необходимо пользоваться специальными
ломиками, бородками или монтажными крючками.
Во время разборки и сборки узлов и агрегатов следует применять
специальные съемники и ключи. Трудно снимаемые гайки сначала нужно смочить
керосином, а затем отвернуть ключом. Отвертывать гайки зубилом и молотком не
разрешается.
Повышенную опасность представляют операции снятия и установки пружин,
поскольку в них накоплена значительная энергия.
Эти операции необходимо выполнять на стендах или с помощью
приспособлений, обеспечивающих безопасную работу.
Гидравлические и пневматические устройства должны быть снабжены
предохранительными и перепускными клапанами. Рабочий инструмент следует
содержание в исправном состоянии.
Требования производственной санитарии и промышленной гигиены. Помещения,
в которых рабочие, выполняют техническое обслуживание или ремонт автомобиля,
должны находиться под ним, необходимо оборудовать осмотровыми канавами,
эстакадами с направляющими предохранительными ребордами или подъемниками.
Приточно-вытяжная вентиляция должна обеспечивать удаление выделяемых
паров и газов и приток свежего воздуха. Естественное и искусственное освещение
рабочих мест должно быть достаточным для безопасного выполнения работ.
На территории предприятия необходимо наличие санитарно-бытовых
помещений-гардеробных, душевых, умывальных (работающие с этилированным бензином
обязательно должны быть обеспечены горячей водой).
Меры электробезопасности при техническом обслуживании и ремонте
автомобилей.
Опасность поражения электрическим током возникает при использовании
неисправных ручных электрифицированных инструментов, при работе с неисправными
рубильниками и предохранителями, при соприкосновении с воздушными и настенными
электропроводками, а также случайно оказавшимися под напряжением металлическими
конструкциями.
Электрифицированный инструмент (дрели, гайковерты, шлифовальные машины и
др.) включают в сеть напряжением 220 Вольт. Разрежается работать только
инструментами, имеющими защитное заземление. Штепсельные соединения для
включения инструмента должны иметь заземляющий контакт, который длиннее рабочих
контактов и отличается от них по форме. При включении инструмента в сеть
заземляющий контакт входит в соединения со штепсельной розеткой первым, а при
выключении выходит последним.
При переходе с электрифицированным инструментом с одного места работы на
другое нельзя натягивать провод. Не следует протягивать провод через проходы,
проезды и места складирования деталей. Нельзя держать электрифицированный
инструмент, взявшись одной рукой за провод.
Работать с электрифицированным инструментом при рабочем напряжении,
превышающем 42 В, можно только в резиновых перчатках и калошах либо стоя на
изолированной поверхности (резиновом коврике, сухом деревянном щитке).
Во избежание поражения электрическим током необходимо пользоваться
переносным и электролампами с предохранительными сетками. В помещении без
повышенной опасности (сухом, с не токопроводящими полами) можно использовать
переносные лампы напряжением 42 В, а в особо опасных помещениях (сырых, с
токопроводящими полами или то ко про водя щей пылью) напряжение не должно
превышать 12В.
Требования безопасности труда при ремонте автомобиля.
Общее требования:
наденьте и приведите в порядок рабочую одежду:
застегните обшлага рукавов рубашки и штанины брюк;
надежно зашнуруйте обувь;
уберите волосы под плотно облегающий головной убор, ношение которого
обязательно при работе на металлорежущем, электро-пневмо и другом
механизированном инструменте.
6.2 Требования безопасности перед началом работы
Внимательно осмотрите рабочее место, проверьте достаточность
освещения, уберите все мешающие работе посторонние предметы и детали.
- При необходимости закройте открытые канавы, траншеи, проверьте,
надежно ли уложены переходные трапики через канавы.
Подготовьте необходимое количество переходных трапиков,
лестниц-стремянок и т.д.
проверьте исправность и комплектность для работы инструмента,
приспособлений и средств индивидуальной защиты.
Неисправные инструменты, приспособления и средства защиты -
замените.
инструмент, приспособления, средства защиты расположите так,
чтобы избежать лишних движений и обеспечить безопасность работы.
перед началом технического обслуживания или ремонта автомашины или
механизма вывесите на рулевое колесо табличку с надписью:
«Двигатель не пускать - работают люди».
- при обслуживании автомобиля на гидроподъемнике вывесите табличку
на механизм управления подъемником с надписью: «Не трогать - под автомобилем
работают люди».
-проверьте, достаточно ли чисто вымыты, очищены от грязи и мусора
детали. Запрещается принимать на ремонт и техническое обслуживание не очищенные
от грязи и мусора двигатель и его детали.
6.3 Требования безопасности во время работы
При работах, связанных с провертыванием коленчатого и карданного валов,
дополнительно проверьте выключено ли зажигание, перекрыта ли подача топлива
(для дизельных двигателей), поставьте рычаг перемены передач в нейтральное
положение, освободите рычаг ручного тормоза. После выполнения необходимых работ
затяните ручной тормоз и вновь включите низшую передачу.
Требования безопасности труда при ремонта автомобиля.
Во время работы:
При пользовании ручным слесарным инструментом:
Пользуйтесь только исправным инструментом и приспособлениями.
Применяйте их только по назначению.
- При обработке деталей в тисках надежно зажимайте обрабатываемую
деталь.
Не работайте напильником без ручек или треснутыми, расколотыми
ручками.
Инструмент в инструментальный ящик укладывайте так, чтобы концы
его были направлены в сторону внутренней стенки ящика, а в сумку - ручкой
наружу.
При работе ключами с тарированным усилием следите, чтобы усилие
при затяжке гаек, болтов (винтов) на превышало величин, указанных в требованиях
чертежей, технических условий, техпроцессов.
Соблюдайте осторожность, не допускайте срыва ключа с гайки,
головки болта.
При работе съемника соблюдайте осторожность, поддерживайте
снимаемую деталь, чтобы не допустить ее падения.
При правке, (рихтовке) деталей предохраняете руки от ударов
молотка, кувалды и заусенцев. Работаете в рукавицах.
Отвертывать или завертывать болты, гайки путем удлинения гаечных
ключей вторыми ключами или трубами удлинителями - запрещается.
-Класть инструмент на оборудование (агрегаты транспортных средств),
коммуникации, перила ограждений или не огражденный край площадки, траншеи,
лесов и подмостей, распорки и откосы траншей, краев люков, камер и колодцев -
запрещается.
6.4 Требования безопасности после окончания
работы
После окончания работы, рабочая одежда должна быть постирана и убрана на
место в шкафчик рабочего, а обувь вымыта, просушена и убрана в шкафчик. Все
инструменты ключи должны быть убраны по местам, чтобы ни чего не валялось на
полу. Если пролили масло, бензин, тосол и т.д., то нужно посыпать деревянной
стружкой, а через не которое время подмести весь полностью бокс или гараж.
ЗАКЛЮЧЕНИЕ
Коробка передач необходима для более эффективного использования всего
диапазона оборотов и крутящего момента коленчатого вала двигателя автомобиля.
По принципу конструктивного исполнения механизма переключения коробки передач
могут быть механические и автоматические. В данной работе были рассмотрены
такие вопросы как назначение, устройство, принцип действия коробки передач
ЗИЛ-130, а также были рассмотрены назначение, устройство, принцип действия и
неисправности первичного вала коробки передач ЗИЛ-130. В одном из разделов были
рассмотрены основные неисправности первичного вала коробки передач ЗИЛ-130 и
способы их устранения. Выяснилось, что наиболее реальный способ устранения
неисправностей первичного вала-это вибродуговая наплавка, которая производится
на наплавочной установке. Также есть маршрут восстановления первичного вала и
материал из которого изготовлен первичный вал коробки передач ЗИЛ-130.
Данную работу можно использовать для изучения курса автомобилей в средних
учебных заведениях.
СПИСОК
ИСПОЛЬЗОВАННОЙ ЛИТЕРАТУРЫ
1.
Техническая эксплуатация автомобилей: учебник для ВУЗов. Под ред. Г. В.
Крамаренко. - 2-е изд.,
перераб. и доп. -
М.: Транспорт, 1983. -
488 с.
. Ройтман Б.
А., Суворов Ю. Б., Суковицин В. И. Безопасность автомобиля в эксплуатации. -М.: Транспорт, 1987. - 207 с.
. Талицкий И.
И., Чущев В. А., Щербинин Ю. Ф. Безопасность движения на автомобильном
транспорте: справочник. -
М.: Транспорт, 1988. -
158 с.
. Могила В.
М., Давыдов Л. Н., Конек Ю. С. Предупреждение дорожнотранспортных происшествий
на автомобильном транспорте. - 2-е изд., перераб. и доп. - М.: Транспорт, 1977. - 181 с.
. Коноплянко
В. И. Основы безопасности дорожного движения. - М.: ДОСААФ, 1978. - 128 с.