Причины и виды отказов

  • Вид работы:
    Реферат
  • Предмет:
    Другое
  • Язык:
    Русский
    ,
    Формат файла:
    MS Word
    207,33 kb
  • Опубликовано:
    2012-02-06
Вы можете узнать стоимость помощи в написании студенческой работы.
Помощь в написании работы, которую точно примут!

Причины и виды отказов






Реферат

По дисциплине

«Надежность технических систем и техногенный риск»

по теме:

«Причины и виды отказов»


Введение

Переход объекта из одного вышестоящего технического состояния в нижестоящее обычно происходит вследствие событий: повреждений или отказов. Совокупность фактических состояний объекта и возникающих событий, способствующих переходу в новое состояние, охватывает так называемый жизненный цикл объекта, который протекает во времени и имеет определенные закономерности, изучаемые в теории надежности. Включающие в себя такие понятия, как повреждения, отказ и т.д. Рассмотрим эти понятия как можно полноценнее.

Повреждение - событие, заключающееся в нарушении исправного состояния объекта при сохранении работоспособного состояния.

Отказ - это событие, заключающееся в нарушении работоспособного состояния объекта.

Применительно к отказу и повреждению рассматривают такие критерий, как причину, признаки, характер и последствия.

Под критериями отказа понимаются признаки, позволяющие установить факт нарушения работоспособности. Наиболее распространенными критериями отказов являются трещины, нарушения регулировок, износ и др.

Причинами отказов объектов могут быть дефекты, допущенные при конструировании, производстве и ремонте, нарушение правил и норм эксплуатации, различного рода повреждения, а также естественные процессы изнашивания и старения.

Признаками отказов объектов называются непосредственные или косвенные воздействия на органы чувств наблюдателя явлений, характерных для неработоспособного состояния объекта (падение давления масла, появление стуков, изменение температурного режима и т.д.).

Характером отказа (повреждения) являются конкретные изменения в объекте, связанные с возникновением отказа (обрыв провода, деформация детали и т.д.).

В данной работе я постараюсь рассмотреть классификацию, причины и последствия отказов в полном объеме.


1. Понятие отказа

Под отказом понимается событие, заключающееся в полной или частичной утрате работоспособности системы.

Отказ может быть связан с нарушением в выполнении каких-либо заданных функций (отказ функционирования) или с недостаточной квалификацией обслуживающего персонала, в результате которой система не выполняет заданные функции удовлетворительно. Отказы могут быть связаны с изменением параметров или характеристик системы, т.е. одна из основных функций выполняется плохо (отказ по параметру).

2. Классификация и характеристики отказов

Классифицировать отказы можно в зависимости от характера и особенностей, от момента возникновения. Перейдем к классификации отказов:

. По характеру изменения параметра до момента возникновения отказа:

внезапный отказ;

постепенный отказ.

. По связи с другими отказами:

независимый отказ;

зависимый отказ.

. По возможности последующего использования после возникновения отказа:

полный отказ;

частичный отказ.

. По характеру устранения отказа:

устойчивый отказ;

самоустраняющийся отказ (сбой или перемежающийся отказ).

. По наличию внешних проявлений:

очевидный (явный) отказ;

скрытый (неявный) отказ.

. По причине возникновения:

конструкционный отказ;

технологический отказ;

эксплуатационный отказ.

. По природе происхождения:

естественный отказ;

искусственный отказ (вызываемый намеренно).

. По времени возникновения отказов:

отказ при испытаниях;

отказ периода приработки;

отказ периода нормальной эксплуатации;

отказ последнего периода эксплуатации.

3. Характеристика отказов

Постепенные (износные) отказы характеризуются возникновением в результате постепенного протекания того или иного процесса повреждения, прогрессивно ухудшающего выходные параметры объекта.

Внезапные отказы возникают в результате сочетания неблагоприятных факторов и случайных внешних воздействий, превышающих возможности объекта к их восприятию. Внезапные отказы характеризуются скачкообразным характером перехода объекта из работоспособно в неработоспособное состояние.

Сложный отказ включает особенности двух предыдущих отказов.

К полным отказам относятся отказы, после которых использование объекта по назначению невозможно (для восстанавливаемых объектов - невозможно до проведения восстановления).

Частичные отказы - отказы, после возникновения которых объект может быть использован по назначению, но с меньшей эффективностью или когда вне допустимых пределов находятся значения не всех, а одного или нескольких выходных параметров.

Независимый отказ - отказ, не обусловленный другими отказами или повреждениями объекта.

Зависимый отказ - отказ, обусловленный другими отказами или повреждениями объекта.

Устойчивые отказы - отказы, которые можно устранить только путем восстановления (ремонта).

Отказы, устраняемые без операций восстановления путем регулирования или саморегулирования, относятся к самоустраняющимся.

Сбой - самоустраняющийся отказ или однократный отказ, устраняемый незначительным вмешательством оператора.

Перемежающийся отказ - многократно возникающий самоустраняющийся отказ одного и того же характера.

Явный отказ - отказ, обнаруживаемый визуально или штатными методами и средствами контроля и диагностирования при подготовке объекта к применению или в процессе его применения по назначению.

Скрытый отказ - отказ, не обнаруживаемый визуально или штатными методами и средствами контроля и диагностирования, но выявляемый при проведении технического обслуживания или специальными методами диагностики.

Большинство параметрических отказов относятся к категории скрытых.

Конструктивный отказ - отказ, возникший по причине, связанной с несовершенством или нарушением установленных правил и (или) норм проектирования и конструирования.

Производственный отказ - отказ, возникший по причине, связанной с несовершенством или нарушением установленного процесса изготовления или ремонта, выполняемого на ремонтном предприятии.

Эксплуатационный отказ - отказ, возникший по причине, связанной с нарушением установленных правил и (или) условий эксплуатации.

Деградационный отказ - отказ, обусловленный естественным процессом старения, изнашивания, коррозии и усталости при соблюдении всех установленных правил и (или) норм проектирования, изготовления и эксплуатации.

Искусственные отказы вызываются преднамеренно, например, с исследовательскими целями, с целью необходимости прекращения функционирования и т.п.

Отказы, происходящие без преднамеренной организации их наступления в результате направленных действий человека (или автоматических устройств), относят к категории естественных отказов.

Причины и последствия возникновения отказов

Причины возникновения отказов могут быть связаны с нарушением в выполнении каких-либо заданных функций (отказ функционирования) или с недостаточной квалификацией обслуживающего персонала, в результате которой система не выполняет заданные функции удовлетворительно. Отказы могут быть связаны с изменением параметров или характеристик системы, т.е. одна из основных функций выполняется плохо (отказ по параметру). Так же причинами отказов объектов могут быть дефекты, допущенные при конструировании, производстве и ремонте, нарушение правил и норм эксплуатации, различного рода повреждения, а также естественные процессы изнашивания и старения.

По признаку стадии происхождения дефекты можно разделить на три группы:

. Дефекты (ошибки) проектирования. Сюда можно отнести:

недостаточную виброзащищенность;

наличие повышенных напряжений;

неправильный выбор материалов;

неправильное определение предполагаемого уровня эксплуатационных нагрузок.

. Дефекты изготовления (производственные). К ним можно отнести:

дефекты;

дефекты механической обработки;

дефекты пайки;

дефекты термообработки;

дефекты сборки.

. Дефекты эксплуатации. Сюда можно отнести:

нарушение условий применения;

неправильное техническое обслуживание и ремонт;

наличие перегрузок и непредвиденных нагрузок;

применение некачественных эксплуатационных материалов.

Также причинами возникновения отказов являются:

. Конструкционный отказ, вызванный недостатками и неудачной конструкцией объекта;

. Производственный отказ, связанный с ошибками при изготовлении объекта по причине несовершенства или нарушения технологии;

. Эксплуатационный отказ, вызванный нарушением правил эксплуатации.

. Характер устранения;

. Устойчивый отказ;

. Перемежающийся отказ (возникающий / исчезающий).

К последствиям отказа относятся явления, процессы и события, возникшие после отказа и в непосредственной причинной связи с ним (остановка двигателя, вынужденный простой по техническим причинам).

Последствиями отказа являются:

. Легкий отказ (легкоустранимый);

. Средний отказ (не вызывающий отказы смежных узлов - вторичные отказы);

. Тяжелый отказ (вызывающий вторичные отказы или приводящий к угрозе жизни и здоровью человека).

. Дальнейшее использование объекта:

. Полные отказы, исключающие возможность работы объекта до их устранения;

. Частичные отказы, при которых объект может частично использоваться.

Основные показатели безотказности для невосстанавливаемых объектов

Невосстанавливаемый объект - это объект, который не подлежит восстановлению в результате отказа.

Вероятность безотказной работы - это вероятность того, что в пределах заданий наработки отказ объекта не возникает. На практике этот показатель определяется статистической оценкой:

 (1)

где No - число однотипных объектов, поставленных на испытания (находящихся под контролем); во время испытаний отказавший объект не восстанавливается и не заменяется исправным;

n(t) - число отказавших объектов за время t.

Из определения вероятности безотказной работы видно, что эта характеристика является функцией времени, причем она является убывающей функцией и может принимать значения от 1 до 0.

График вероятности безотказной работы объекта

Как видно из графика, функция P(t) характеризует изменение надежности во времени и является достаточно наглядной оценкой

Иногда практически целесообразно пользоваться не вероятностью безотказной работы, а вероятностью отказа Q(t). Поскольку работоспособность и отказ являются состояниями несовместимыми и противоположными, то их вероятности связаны зависимостью:

P(t) + Q(t) = 1. (2)

Согласно законам теории вероятности вероятность безотказной работы можно определить по формуле:

 (3)

где f(t) - плотность вероятности (согласно закона распределения).

Таким образом, зная плотность вероятности f(t), легко найти искомую величину P(t).

Связь между P(t), Q(t) и f(t) можно интерпретировать, как показано на рисунке 3.

Графическая интерпретация вероятности безотказной работы и вероятности отказа

отказ невосстанавливаемый наработка безотказный

Отметим, что не всегда в качестве наработки выступает время (в часах, годах). К примеру, для оценки вероятности безотказной работы коммутационных аппаратов с большим количеством переключений в качестве переменной величины наработки целесообразно брать количество циклов «включить» - «выключить». При оценке надежности скользящих контактов удобнее в качестве наработки брать количество проходов токоприемника по этому контакту, а при оценке надежности движущихся объектов наработку целесообразно брать в километрах пробега. Суть математических выражений оценки P(t), Q(t), f(t) при этом остается неизменной.

Средней наработкой до отказа называется математическое ожидание наработки объекта до первого отказа T1.

 (4)

Таким образом, средняя наработка до отказа равна площади, образованной кривой вероятности безотказной работы P(t) и осями координат.

Статистическая оценка для средней наработки до отказа определяется по формуле

 (5)

где No - число работоспособных однотипных невосстанавливаемых объектов при t = 0 (в начале испытания);

tj - наработка до отказа j-го объекта.

Отметим, что как и в случае с определением P(t) средняя наработка до отказа может оцениваться не только в часах (годах), но и в циклах, километрах пробега и другими аргументами.

Интенсивность отказов - это условная плотность вероятности возникновения отказа объекта, определяемая при условии, что до рассматриваемого момента времени отказ не наступил. Из вероятностного определения следует, что

 (6)

Статистическая оценка интенсивности отказов имеет вид:

 (7)

где n(Δt) - число отказов однотипных объектов на интервале Δt𝑖, для которого определяется интенсивность отказов;

Nср.𝑖 - число работоспособных объектов в середине интервала Δt𝑖 (см. рисунок 4).

 (8)

Схема для определения Nср

N𝑖+1 - число работоспособных объектов в конце интервала Δt𝑖.

Если при статистической оценке интенсивности отказов время эксперимента разбить на достаточно большое количество одинаковых интервалов Δt за длительный срок, то результатом обработки опытных данных будет график, изображенный на рисунке 5.

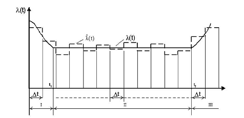
Кривая жизни объекта

Как показывают многочисленные данные анализа надежности большинства объектов линеаризованная обобщенная зависимость λ(t) представляет собой сложную кривую с тремя характерными интервалами (I, II, III). На интервале II (t2 - t1) λ = const. Этот интервал может составлять более 10 лет, он связан с нормальной эксплуатацией объектов. Интервал I (t1 - 0) часто называют периодом приработки элементов. Он может увеличиваться или уменьшаться в зависимости от уровня организации отбраковки элементов на заводе-изготовителе, где элементы с внутренними дефектами своевременно изымаются из партии выпускаемой продукции. Величина интенсивности отказов на этом интервале во многом зависит от качества сборки схем сложных устройств, соблюдения требований монтажа и т.п. Включение под нагрузку собранных схем приводит к быстрому «выжиганию» дефектных элементов и по истечении некоторого времени t1 в схеме остаются только исправные элементы, и их эксплуатация связана с λ = const. На интервале III (t > t2) по причинам, обусловленным естественными процессами старения, изнашивания, коррозии и т.д., интенсивность отказов резко возрастает, увеличивается число деградационных отказов. Для того, чтобы обеспечить λ = const необходимо заменить неремонтируемые элементы на исправные новые или работоспособные, отработавшие время t ≤ t2. Интервал λ = const соответствует экспоненциальной модели распределения вероятности безотказной работы. Здесь же отметим, что при л = const значительно упрощается расчет надежности и λ наиболее часто используется как исходный показатель надежности элемента.


Гамма-процентная наработка до отказа - наработка в течение которой отказ в объекте не возникнет с вероятностью γ, выраженной в процентах, иначе это минимальная наработка до отказа которую будут иметь гамма процентов объектов данного вида. Обычно γ =100%.


Заключение

Из всего выше изложенного можно сделать вывод, что отказ это неотъемлемая часть любой техники. Все имеет свой срок годности. Рано или поздно деталь изнашивается, деформируется, портится и т.д., что выводит из эксплуатации всю технику или частично. Это событие принято называть отказом. В свою очередь отказ является толчком для развития более современной технологии.


Библиографический список

1. Надежность технических систем: Справочник. / Ю.К. Беляев, В.А. Богатырев, В.В. Болотин. Под ред. И.А. Ушакова - М.: Радио и связь 1985

. Надежность технических систем. Бобров В.И. Учебное пособие - Москва: МГУП, 2004

. ГОСТ 27.002-89 «Надежность в технике. Основные понятия, термины и определения»


Не нашли материал для своей работы?
Поможем написать уникальную работу
Без плагиата!
Без нейросетей!