Измерение влажности и скорости движения воздуха, плотности жидкостей

  • Вид работы:
    Практическое задание
  • Предмет:
    Физика
  • Язык:
    Русский
    ,
    Формат файла:
    MS Word
    147,48 kb
  • Опубликовано:
    2011-05-09
Вы можете узнать стоимость помощи в написании студенческой работы.
Помощь в написании работы, которую точно примут!

Измерение влажности и скорости движения воздуха, плотности жидкостей

Измерение влажности и скорости движения воздуха, плотности жидкостей

Цель работы: изучить устройство и принципы работы приборов для измерения влажности и скорости движения воздуха, плотности жидкостей.

Измерение влажности воздуха

При перевозке некоторых скоропортящихся грузов требуется поддержание в грузовом помещении определенной влажности воздуха. Поэтому грузовое помещение необходимо вентилировать для регулирования его влажности в зависимости от вида СПГ, от его термической обработки.

Влажность воздуха характеризуется содержанием в нем определенного количества водяных паров.

Различают абсолютную и относительную влажность воздуха.

Абсолютная влажность - это масса водяного пара в 1 м3 влажного воздуха, кг/м3.

Относительная влажность j - это отношение количества водяных паров, содержащихся в воздухе, к количеству водяных паров, насыщающих воздух при данной температуре и давлении, выражаемое в процентах.

Относительная влажность определяется по формуле


где rП - плотность пара при его парциальном давлении и температуре влажного воздуха, кг/м3; rН - максимально возможное количество пара в 1 м насыщенного влажного воздуха, кг/м.

Иначе относительную влажность можно определить в процентах следующим образом:


где РП - парциальное давление, МПа; РН - давление насыщенного водяного пара при температуре воздуха, МПа.

Для измерения относительной влажности воздуха в изотермических вагонах применяют гигрометры, гигрографы и психрометры.

Гигрометры («гигро» - влажный) - приборы для определения абсолютной и относительной влажности воздуха.

Существуют несколько типов гигрометров, основанных на различных принципах:

а) весовые - состоят из системы V-образных трубок, наполненных гигроскопическим веществом, поглощающим влагу из воздуха. (Гигроскопичность - это свойство материалов поглощать влагу из воздуха за счет образования химического соединения с водой или за счет капиллярной конденсации);

б) пленочные - имеют чувствительный элемент из органической пленки, которая растягивается при повышении влажности и сжимается при её понижении;

в) волосные - основаны на свойстве обезжиренного человеческого волоса изменять свою длину при изменении влажности воздуха, что позволяет измерять относительную влажность от 30 до 100%.


Рис. 2. Гигрометр волосной

Специально обработанный человеческий волос (1) одним концом укреплен на винте (2) установочного устройства. Второй конец волоса закреплен в дужке (3), жестко связанной с осью (4) стрелки (5). Груз (7) всегда удерживает волос в натянутом состоянии. Изменение длины волоса, зависящее от изменения влажности воздуха, передается стрелке (5) гигрометра, которая перемещаясь относительно шкалы (6), указывает относительную влажность воздуха в процентах. Чем суше воздух, тем короче делается волос и наоборот. Таким образом, обезжиренный человеческий волос является датчиком влажности.

Достоинства гигрометра в том, что относительная влажность получается непосредственно в процентах и этим прибором можно определять влажность воздуха при температурах ниже 0 °С (без специальной подготовки прибора).

Недостатком этого прибора является необходимость частой проверки и малая точность показаний.

При измерении влажности гигрометр волосной устанавливается в камере или в грузовом вагоне в отвесном положении, в средней части помещения на высоте приблизительно 1,5 м от пола.

Гигрографы - приборы для непрерывной регистрации относительной влажности воздуха. Чувствительным элементом гигрографа служит пучок обезжиренных человеческих волос или органическая пленка, изменяющие свою длину в зависимости от влажности и перемещающие по-средством системы рычагов специальное пишущее перо. Запись происходит на разграфленной ленте, надетой на барабан, вращаемый часовым механизмом. В результате движения барабана в горизонтальном направлении, а пера - в вертикальном, на ленте вычерчивается непрерывная кривая (гидрограмма).

В зависимости от продолжительности оборота барабана гигрографы бывают суточные и недельные.

Психрометры - приборы для измерения влажности воздуха и его температуры. Существуют несколько типов: стационарные, аспирационные, дистанционные.

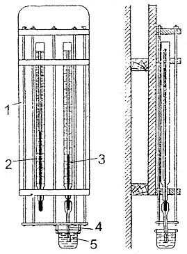
Стационарный психрометр Августа предназначен для измерения относительной влажности воздуха в стационарных условиях.

Рис. 2.2. Стационарный психрометр Августа

Принцип действия этого прибора (рис. 2.2) основан на разности показаний «сухого» (2) и «влажного» (3) термометров в зависимости от влажности окружающего воздуха.

Прибор состоит из двух термометров, укрепленных на щите (1). Чувствительная часть одного из них обернута тканью (батист) (4), конец которой опускается в трубку с дистиллированной водой (5). Таким образом, ртутный резервуар одного из термометров всегда остается смоченным, а другой - сухим. Вода, пропитывающая ткань, испаряясь с различной скоростью в зависимости от влажности и скорости движения воздуха, отнимает тепло у термометра и охлаждает его. В результате «влажный» термометр показывает более низкую температуру, чем «сухой». Чем суше воздух, тем энергичнее происходит испарение, тем больше будет разница между показаниями «сухого» и «влажного» термометров.

Затем для определения влажности воздуха пользуются психрометрическими таблицами по разности между «сухим» и «влажным» термометрами и показанию «влажного» термометра с помощью психрометрической таблицы определяют относительную влажность при скорости движении воздуха до 0,3 м/с.

Наиболее совершенным прибором для определения относительной влажности в стационарных и полевых условиях является аспирационный психрометр Ассмана. Искусственная вентиляция в приборе осуществляется пружинным вентилятором. Принцип действия этого психрометра (рис. 2.3) аналогичен психрометру Августа.

Прибор работает следующим образом: вращением вентилятора в прибор засасывается воздух, который обтекая резервуары термометров, проходит по воздухопроводной трубке (5) к вентилятору и выбрасывается им наружу через прорези. (На рис. 2.3 стрелками отмечено движение воздуха.) Благодаря протеканию вокруг резервуаров термометров потока воздуха с постоянной скоростью около 2,5 м/с «сухой» термометр показывает температуру этого потока, а показания «влажного» термометра будут меньше, так как он охлаждается вследствие испарения воды с поверхности ткани. И чем суше воздух, тем сильнее испарение воды, и тем больше разница в показаниях термометров.

Значение относительной влажности воздуха находится аналогично, как и при измерении стационарным психрометром Августа.

Дистанционное определение относительной влажности воздуха можно производить по принципу психрометра, т.е. по разности показаний «сухого» и «влажного» термометров сопротивления и далее с помощью психрометрической таблицы или номограммы. В этом случае один датчик помещают в батистовый чехол, постоянно смачиваемый водой. За счет отбора тепла на испарение воды он будет показывать более низкую температуру, чем «сухой» датчик. Разность показаний этих датчиков будет зависеть от влажности воздуха в помещении.

Измерение скорости движения воздуха

Анемометр состоит из крыльчатого или чашечного колесика, насаженного на ось счетчика (рис. 2.4). При проходе воздуха колесико вращается, а счетчик отсчитывает скорость. Существуют анемометры с часовыми механизмами, которые позволяют автоматически регистрировать скорость воздуха от 0,5 м/с и выше.

Принцип действия электроанемометра основан на зависимости температуры проволоки, нагретой постоянным током, от скорости воздуха, в котором находится проволочная нить. Температуру нагретой нити воспринимает «горячий» спай, «холодный» спай имеет температуру окружающего воздуха. Электротоки замеряются гальванометром.

Кататермометры - термометры с цилиндрическом сосудом для спирта применяют для незначительных скоростей воздуха (до 0,5 м/с) при его слабой естественной циркуляции в охлаждаемом помещении. Работа с прибором заключается в определении охлаждающего эффекта воздуха.

Анемометром определяют скорость движения воздуха на входе и выходе воздуха из воздухоохладителе в грузовом помещении вагона. Затем, имея среднее значение скорости воздуха в данном сечении канала определяют количество воздуха, проходящее в час по воздуховоду по формуле:

V в = 3600 · f · v,

где V в - объем воздуха, м3/час; f - площадь поперечного сечения канала, м2; v - средняя скорость воздуха в канале, м/с.

Измерение плотности растворов

Плотность раствора измеряют ареометром. Этот прибор (рис. 2.5) состоит из стеклянной трубки, нижняя часть которой имеет увеличенный диаметр и заканчивается шариком (1), заполненным мелкой дробью или ртутью. Верхняя тонкая трубка (2) имеет деления с обозначениями плотности жидкости (г/см3). Ареометр погружается в сосуд (3) с жидкостью тем глубже, чем меньше ее плотность.

По плотности раствора определяют содержание соли. Для этого после измерения ареометром плотности раствора по таблицам физических свойств раствора определяют процент соли в растворе. Измерив объем, занимаемый раствором, определяют содержание соли в растворе по формуле:

прибор жидкость гигрометр влажность

Gсоли = V · g · P/100,

где V - объем жидкости; g - удельный вес жидкости; P - процентное содержание соли.

Концентрация соли в растворе связана с температурой его замерзания. По мере увеличения концентрации соли до криогидратного состояния раствора температура замерзания его понижается, при увеличении концентрации в пределах выше криогидратного состояния, температура замерзания раствора повышается.

Для измерения плотности отдельных жидких пищевых и других продуктов существуют специальные ареометры. Например, лактометром измеряют плотность молока (т.е. жирность в процентах), спиртометром измеряют содержание спирта в растворе (в градусах).

Похожие работы на - Измерение влажности и скорости движения воздуха, плотности жидкостей

 

Не нашли материал для своей работы?
Поможем написать уникальную работу
Без плагиата!
Без нейросетей!