Складання зубчастих та черв’ячних передач

  • Вид работы:
    Реферат
  • Предмет:
    Другое
  • Язык:
    Русский
    ,
    Формат файла:
    MS Word
    1,04 Mb
  • Опубликовано:
    2011-08-06
Вы можете узнать стоимость помощи в написании студенческой работы.
Помощь в написании работы, которую точно примут!

Складання зубчастих та черв’ячних передач













Складання зубчастих та черв’ячних передач

1. Загальні відомості

Складені зубчасті передачі повинні задовольняти такі вимоги:

) міцність для передачі потрібних колових зусиль;

2) кінематична точність, тобто взаємне положення зубчастих коліс повинно відповідати складальному кресленню машин;

3) плавність та безшумність в роботі, тобто передача повинна легко та рівномірно прокручуватись вручну, а при роботі від двигуна видавати звук рівний, без ударів і посилень;

4) величини радіальних і бокових зазорів, а також плями торкання на робочих поверхнях повинні бути в межах допусків, встановлених технічним завданням;

5) корпуси і кожухи закритих передач не повинні виявляти течі мастила і найбільша стала температура його при роботі передачі під навантаженням не повинна перевищувати 65 °C при температурі повітря приблизно 20 °C.

6) відсутність заклинювання при нагріванні.

Складання зубчастих передач включає такі операції:

1) перевірка взаємного положення валів і осей передач;

) посадка на вал і закріплення зубчастих коліс;

3) забезпечення необхідного радіального і бокового зазорів;

4) перевірка дотику робочих поверхонь зубів;

5) монтаж всього вузла передачі на машині у випадках, якщо зубчасту передачу складено в окремому корпусі (наприклад, в корпусі редуктора).

Перевірка взаємного положення валів і осей забезпечується при монтажу валів на підшипниках і перед складанням зубчастих передач проводиться тільки перевірка за допомогою приладу або рівня та штихмаса.

Посадку зубчастих коліс на вал здійснюють, як правило, з невеликим натягом (на пресах із застосуванням центруючих пристроїв) чи навіть з зазором. Необхідно виключати посадки зубчастих коліс на шийках вала з великим натягом, щоб не було викривлення зубчастого профілю, що відбивається на роботі зчеплення. При встановленні зубчастих коліс зустрічаються такі похибки:

хитання зубчастого колеса на шийці вала;

радіальне биття зубчастого колеса (вінця);

торцеве биття;

нещільне прилягання колеса до упорного буртика вала.

Рис. 1. Перевірка паралельності валів

Контроль зубчастих коліс проводять наступним чином.

Хитання колеса перевіряють легким обстукуванням м’яким молотком.

Щільність прилягання до упорного буртика перевіряють щупом.

Радіальне і осьове биття контролюють рейсмусом чи індикатором 1 (рис. 2) в залежності від потрібної точності складання на плиті чи на місці встановлення передачі 2. У першому випадку вал розміщують на плиті призми 3 і шляхом зміни висоти однієї з регульованих призм добиваються паралельності осі вала площині плити. Після цього між зубцями коліс розміщують циліндричний калібр 4 (чи ролик), в який впирають кінець стиржня індикатора, і замічають положення стрілки.

Рис. 2. Перевірка вузла "зубчасте колесо-вал" на биття

Обертаючи вал і перекладаючи калібр через 3-4 зуба, визначають різницю в показах індикатора для всього колеса, яка і дає величину радіального биття колеса (звичайно воно допускається в межах 25-75 мкм).

Більш точні зубчасті передачі перевіряють також на торцеве (осьове) биття індикатором 6 (допускається в межах 0,10…0,15 мм). Для цього в пристрої необхідно передбачити центр 5 для упора вала.

У великосерійному і масовому виробництвах якість посадки колеса на вал контролюють на індикаторному пристрої при беззазорному зчепленні з еталонним зубчастим колесом. При обертанні складеного з’єднання неточність зчеплення викликає переміщення еталона, яке відмічається індикатором. Одночасно можна контролювати і торцеве биття зубчастого колеса.

Якщо при перевірці коліс на биття відхилення будуть отримані більше допустимих, то необхідно демонтувати зубчасті колеса, випресувати втулки, виправити гнізда, запресувати нові втулки і розточити їх. Колеса замінюють в тому випадку, якщо їх не можна розточити і запресувати в них нові втулки. Після цього проводять повторний контроль.

Забезпечення необхідного радіального та бокового зазорів. При встановленні валів із зубчастими колесами в корпус, як правило, зчеплення задовольняє технічним вимогам, якщо всі елементи з’єднання виконані в межах допусків.

Проте і за цієї умови можуть виникнути дефекти зчеплення в результаті несприятливого поєднання відхилень, кожне з яких знаходиться в межах допуску. Найбільш типовими дефектами зчеплення є:

а) збільшений зазор між зубцями по всьому вінцю в результаті відхилення в плюс відстані між осями отворів корпусу (AΔ на рис. 3) і найбільшого відхилення у мінус товщини зубців (С на рис. 3);

б) недостатній зазор між зубцями по всьому вінцю при найменшій граничній відстані між осями (AΔ на рис. 3) і найбільшій граничній товщині зубців (С на рис. 3);

в) нерівномірний зазор між зубцями як результат радіального биття зубчастого вінця відносно осі обертання та нерівномірної товщини зубців одного з коліс;

г) биття по торцю зубчастого колеса в результаті перекосу осі отвору колеса і осі отвору корпуса.

Рис. 3. Складові частини допуску на боковий зазор у зубчатому зачепленні

Ці дефекти можуть бути усунені підбором коліс при складанні виробу.

В умовах великосерійного і масового виробництва при складанні зубчастих передач виконання технічних вимог забезпечується відповідними технічними умовами на всі елементи з’єднання, що складається, а також стабільністю технологічного процесу складання.

Незалежно від ступеня точності коліс і передач встановлюють норми нормального гарантованого бокового зазору (який позначається літерою Х), що забезпечує компенсацію зменшення бокового зазору від нагрівання передачі. Норми гарантованого бокового зазору допускається змінювати. При цьому для циліндричних, конічних і черв’ячних передач застосовують одне із наступних з’єднань: С - з нульовим гарантованим зазором; Д - із зменшеним гарантованим зазором; Ш - зі збільшеним гарантованим зазором.

Боковий зазор jд (рис. 3) між неробочими поверхнями зубів коліс визначають щупом чи вузькою пластинкою свинцю, які прокатують між зубцями. Товщину розкатаної пластини вимірюють мікрометром. Крім того, застосовують спеціальні пристрої (рис. 4).

Рис. 4. Схема вимірювання бокового зазору у зчепленні

Перевірка дотику робочих поверхонь зубів. Якість зчеплення зубчастих коліс перевіряють також на фарбу. При обертанні ведучого колеса, бокові поверхні зубів якого покриті тонким шаром лазурі, на веденому колесі плями фарби повинні покрити середню частину бокової поверхні зубців (рис. 5, а). При неправильному контакті плями фарби зміщуються (рис. 5, б-г).

Рис. 5. Форми плям при контролі зчеплення на фарбу

Таблиця 1 Величина плями контакту зубців у передачі (у %)

Пляма контакту

Ступінь точності


3

4

5

6

7

8

9

10

11

По висоті

65

60

55

50

45

40

30

25

По довжині

95

90

80

70

60

50

40

30

25


При складанні рекомендується застосувати обкатування зубчастих коліс в парі при нормальній міжцентровій відстані в корпусі редуктора після його складання.

. Особливості складання конічних зубчастих передач

При складанні конічних зубчастих передач контролюють биття конуса виступів, найменший боковий зазор і прилягання (контакт) робочих поверхонь зубців, а також (за необхідності) перетин осей, відхилення міжосьового кута і зміщення вершини ділильного конуса.

Правильність перетину осей передачі перевіряють за допомогою оправок 1, кінці яких зрізані вздовж осі (рис. 6, а). Оправку встановлюють в отвір корпуса, і щупом вимірюють зазор між їх зрізаними пластинками. Отриману величину порівнюють з величиною, що отримана в результаті розрахунку розмірних ланцюгів (рис. 7).

Рис. 6. Перевірка осей конічної передачі

Кут між осями конічних зубчастих коліс перевіряють за допомогою гладкої контрольної оправки (рис. 6, б) і оправки 5 з наконечниками 3. Різниця величин зазорів між контрольною оправкою 1 і площинами 4 і 2 наконечника 3 свідчать про неточність кута між осями коліс.

Потрібний зазор між зубцями досягають шляхом регулювання зчеплення, тобто переміщенням коліс в осьових напрямках. При цьому переміщають обидва колеса, або одне з них. Регулювання здійснюють набором прокладок чи за допомогою регульованих гайок. Найбільшу сумарну величину прокладок визначають розрахунком відповідних розмірних ланцюгів (рис. 7). Застосовують сталеві чи латунні прокладки товщиною 0,005-1,5 мм. Набір прокладок встановлюють під опорні поверхні коліс. Зазор С і величина осьового переміщення коліс c при куті зчеплення a і куті вихідного конуса φ зв’язані

c = χ2sinasinφ.

Для спрощення регулювання зчеплення одне із зубчастих коліс попередньо встановлюють за координатою, заданою кресленням. Після його закріплення зазор регулюють осьовим переміщенням другого колеса.

Рис. 7. Схеми розмірних ланцюгів, що визначають точність збігу вершин ділильних конусів конічних зубчатих коліс

За плямами контакту, що отримуються при перевірці на фарбу конічних передач, можна робити висновок про прийнятний чи недостатній зазор зчеплення, перекіс осей зубчастих коліс та інші похибки складання. При перевірці конічних зубчастих коліс на фарбу пляма контакту повинна розташовуватись при обертанні без навантаження ближче до тонкого кінця зубця не доходячи до його краю по довжині на 1,5-3 мм і по висоті на 0,4-1 мм (рис. 8). Норми на контакт зубців конічних коліс трохи нижчі норм на контакт циліндричних коліс (табл. 1).

Рис. 8. Пляма контакту при перевірці зачеплення конічних колес

Похибки зчеплення спіральних конічних зубчастих коліс у вигляді відбитків фарби, що отримуються на зубцях веденого колеса при його обертанні в різні боки, наведені на рис. 9. Похибки усувають переміщенням одного чи обох зубчастих коліс вздовж їх осей. У знайденому положенні колеса фіксують прокладками чи регульованими гайками.

Рис. 9. Форми плям контакту конічних колес

3. Особливості складання черв’ячних передач

При складанні черв’ячних передач основну увагу треба приділити:

) збіганню середньої площини черв’ячного колеса з віссю черв’яка;

) правильності міжосьової відстані валів черв’ячного колеса і черв’яка;

) правильності положення валів (відсутність перекосу);

) додержанню встановленого бокового зазору в зчепленні та точності прилягання робочих поверхонь зубців.

Установку черв’ячного колеса по відношенню до черв’яка у відкритих передачах перевіряють одним з наступних способів:

) до ободу черв’ячного колеса (рис. 10, а) прикладають спеціальний шаблон і щупом вимірюють зазор С , між шаблоном і витками черв’яка;

) від вала черв’яка (рис. 10, б) опускають виски і за допомогою внутрішньоміра вимірюють відстань С, яка з обох сторін черв’яка повинна бути однаковою;

) при горизонтальному положенні черв’ячного колеса по відношенню до черв’яка (рис. 11) установку колеса перевіряють за допомогою точної лінійки, спеціально виготовленої призми і рівня.

Регулювання положення черв’ячного колеса виконується за рахунок прокладок, величина розміру яких (товщина) визначається розрахунком розмірного ланцюга (рис. 12).

Відхилення міжосьової відстані перевіряють мікрометром чи штихмасом із застосуванням контрольних оправок, які встановлюються у отвори безпосередньо чи через перехідні втулки.

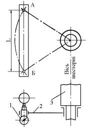
Перекіс осей черв’яка (лінія АБ) і черв’ячного колеса перевіряють індикатором 1 (рис. 13), який закріплено на держаку 2, встановленому на валу 3 черв’ячного колеса. Встановлюючи держак разом з індикатором в праве і ліве положення, фіксують покази індикатора. За різницею показів індикатора роблять висновок про наявність перекосу на довжині L. Граничні перекоси осей черв’ячної передачі повинні бути не більше 0,15 мм на 1000 мм довжини вала черв’яка.

Рис. 10. Перевірка встановлення черв’ячного колеса: а - спеціальним шаблоном; б - виском

Рис 38. Перевірка встановлення черв’ячного колеса:

- лінійкою; 2 - рівнем; 3 - призмою

Точність виготовлення черв’ячної передачі задається ступенем точності передачі і видом з’єднання за нормами бокового зазору.

Величина бокового зазору характеризується наявністю "мертвого ходу" в черв’ячній передачі. Зазор вимірюють щупом з робочого боку зубів при відтиснутому черв’ячному колесі в 4-х діаметрально протилежних місцях, повертаючи колесо на 90°, 180° і 270° від його початкового положення. Величину бокового зазору можна заміряти і індикатором.

Двигунок індикатора встановлюють перпендикулярно боковій поверхні одного із зубів і повертають черв’ячне колесо в той чи інший бік на величину бокового зазору. Збільшити боковий зазор можна підшабрюванням неробочої поверхні зубів колеса.

Коли виміряти боковий зазор важко, то контролюють кут оберту черв’яка при закріпленому колесі:

,

де Сn - боковий зазор у зчепленні, мкм;- осьовий модуль, мм;

φ - кут оберту черв’яка;1 - число заходів черв’яка.

Прилягання робочої поверхні зубів колеса до ниток черв’яка перевіряють на фарбу: на робочу поверхню витка черв’яка наносять тонкий шар фарби, потім обертають черв’як, притискаючи черв’ячне колесо робочою поверхнею зубів до черв’яка. Прилягання зубів колеса до витків черв’яка повинно бути рівномірним з розташуванням плям контакту на 60-70 % по довжині та висоті (рис. 14).

Рис. 12. Розмірні ланцюги, що визначають збіг середньої площини черв’ячного колеса з віссю черв’яка

Рис. 13. Схема перевірки перекосу осей

Рис. 14. Прилягання зубців до витків черв’яка

Остаточно складену і відрегульовану черв’ячну передачу необхідно перевірити на легкість обертання. Заїдання та важкий хід при прокручуванні передачі вказує на неточність складання чи похибку у виготовленні, які потрібно усунути, оскільки робота такої передачі призводить до зниження коефіцієнта корисної дії та швидкого зношування.

Складені черв’ячні передачі повинні задовольняти таким основним технічним вимогам:

) точна відповідність положення черв’яка і черв’ячного колеса складальному кресленню машини;

) рівномірність прокручування черв’ячної передачі без місцевих заїдань;

) відсутність завищених величин бокових і радіальних зазорів у порівнянні з допустимими межами;

) відсутність течі мастила в корпусі і корпусі закритих черв’ячних передач;

) максимально допустима стала температура підшипників при роботі під навантаженням 65-80 °C.

ВИКОРИСТАНА ЛІТЕРАТУРА

зубчастий передача зчеплення колесо

1. Воробьёв Л.Н. Технология машиностроения и ремонта машин. - М: Высшая школа, 1981. - 334 с.

. Основы технологии машиностроения / Под ред. В.С. Корсакова - М.М., 1977. - 416 с.

. Проектирование технологи / Под ред. Ю.М. Соломенцева. - М.М., 1990 - 416 с.

. Руденко П.А. Раздел 3. Технология изготовления машин: Конспект лекцій. - Чернишов, 1986. - 159 с.

. Справочник технолога-машиностроителя / Под ред А.Г. Косиловой и Р.К. Мещерякова. Т. 2. - М. М., 1986. - 496 с.

. Технология машиностроения (специальная часть) / Гусев А.А., Ковальчук Е.О., Колосов И.М. и др. - М.М., 1986. - 480 с.


Не нашли материал для своей работы?
Поможем написать уникальную работу
Без плагиата!
Без нейросетей!