|
Наименование
детали
|
Обозначение на
рисунке 1.1
|
Наименование
среза
|
Наименование
детали
|
Обозначение на
рисунке 1.1
|
Наименование
среза
|
|
Перед, спинка
|
1-2
|
Срез горловины
|
Подборт
|
1-2
|
Срез борта
|
|
1-3
|
Плечевой
|
|
2-3
|
Срез уступа
лацкана
|
|
3-4
|
Срез проймы
|
|
4-5
|
Верхний
|
|
4-5
|
Боковой
|
|
5-6
|
Внутренний
|
|
5-6
|
Нижний
|
Нижний и
верхний воротники
|
1-2; 3-4
|
Срез уступа
|
|
6-7
|
Срез борта
|
|
2-3; 2-8
|
Срез отлета
|
|
6-8
|
Срез шлицы
|
|
1-6; 4-5
|
Срез раскепа
|
|
2-9
|
Средний
|
|
5-6; 6-7
|
Срез стойки
|
|
8-9
|
Срез уступа
шлицы
|
|
7-8
|
Средний
|
|
2-7
|
Срез уступа
лацкана
|
Передняя и
задняя части половин брюк
|
1-2
|
Верхний
|
|
Верхняя и
нижняя часть рукава
|
1-2
|
Срез оката
|
|
2-3
|
Средний
|
|
2-3
|
Передний
|
|
3-4
|
Шаговый
|
|
3-4
|
Нижний
|
|
4-5
|
Нижний
|
|
4-5
|
Срез шлицы
|
|
1-5
|
Боковой
|
|
5-6
|
Срез уступа
шлицы
|
|
|
|
|
1-6
|
Локтевой
|
|
|
|
Практические функции, присущие отдельным видам одежды
(грации, пояса и др.), заключаются в фиксации отдельных участков тела в
определенном положении или придании им определенной формы.
Социально-эстетические функции одежды состоят в ее
способности отражать свою целесообразность, красоту и совершенство, нести в
себе определенную информацию. Они подразделяются на социальные и
художественно-эстетические.
Социальные функции характеризуют соответствие изделий
общественно-необходимым потребностям.
Художественно-эстетические функции одежды заключаются в ее
способности доставлять человеку удовлетворение своей художественностью, внешним
обликом, гармонией с окружающей средой.
Наиболее важными требованиями, предъявляемыми к одежде,
являются требования, обусловленные процессом потребления (потребительские) и
производства (промышленные).
Основные требования производителя одежды к своей продукции -
её конкурентоспособность и рентабельность.
Основные требования потребителя к одежде - её
функциональность, эргономичность, эстетичность и надежность в эксплуатации; к
тому же приобретение одежды должно быть экономически целесообразным для
потребителя. Потребительские требования к одежде можно подразделить на
эксплуатационные, гигиенические, эстетические, экономические.
Эксплуатационные требования обеспечивают прочность и
надежность одежды в эксплуатации, соответствие её условиям труда или отдыха.
Соответствие изделия предъявляемым эксплуатационным
требованиям достигается конструкцией (свобода движения создается за счет
специальных прибавок к размерам деталей, складок, разрезов и т.д.) и правильным
подбором материалов.
Гигиенические требования к одежде включают защиту тела от
воздействий неблагоприятных факторов внешней среды, обеспечение нормальной
жизнедеятельности организма. Гигиенические требования обеспечиваются
соответствующим подбором материалов, многослойностью и конструкцией изделия.
Эстетические требования включают художественное оформление
одежды, подбор материалов по цвету, рисунку, соответствие направлению моды.
Экономические требования состоят в соответствии стоимости
изделия покупательской способности потребителя, в минимизации затрат по уходу
за изделием в процессе его эксплуатации.
Одежда имеет определённые размеры и длины в соответствии с
размерными характеристиками фигур потребителей. Размерная характеристика
типовых фигур человека даётся в виде отдельных измерений, называемых размерными
признаками. В качестве главных размерных признаков приняты: обхват груди и
длина тела человека (рост). В качестве третьей размерной характеристики для
женщин принят обхват бедер, а для мужчин - обхват талии. Для мужских сорочек
используется еще один главный размерный признак тела - обхват шеи.
Выделение ведущих признаков позволяет установить количество
типовых фигур. Число типовых фигур зависит не только от числа ведущих
признаков, но и от интервала безразличия между ведущими признаками.
Интервалом безразличия называется промежуток,
внутри которого разница между размерами одежды не имеет значения для
потребителей.
В результате проведенных исследований в
научно-производственном объединении «Центральный научно-исследовательский
институт швейной промышленности» (НПО ЦНИИШП) разработана классификация мужских
и женских фигур по размерам с учетом интервала безразличия. Такая классификация
принимается во внимание при изготовлении одежды на предприятиях массового и
серийного производства, а также при изготовлении одежды - полуфабрикатов на
предприятиях сферы услуг.
При изготовлении одежды на индивидуального потребителя на
предприятиях сферы услуг размерную характеристику изделия устанавливают при
оформлении заказа.
Производственный состав швейных предприятий
Этапы и виды работ при производстве одежды
В зависимости от широты номенклатуры и объёма выпускаемых
изделий выделяют три основные типа производства:
- массовое;
- серийное;
- единичное.
Массовое производство характеризуется узкой номенклатурой
и большим объемом выпуска изделий, непрерывно изготавливаемых в течение
продолжительного времени. Характерно для предприятий массового производства
швейных изделий.
Серийное производство характеризуется ограниченной
номенклатурой изделий, изготавливаемых периодически повторяющимися партиями со
сравнительно большим объемом выпуска. Характерно для предприятий массового
производства и частично для предприятий индивидуального производства.
Единичное производство характеризуется широкой
номенклатурой изготовляемых или ремонтируемых изделий и малым объемом выпуска.
Характерно для предприятий сферы услуг.
К основным видам предприятий сферы услуг относятся ателье,
мастерские, Дома бытовых услуг, Дома моды. Это технически и территориально
обособленные предприятия, оказывающие производственные услуги населению. Они
имеют замкнутый цикл производства по изготовлению и ремонту одежды, начиная от
приёма заказов и заканчивая выдачей готовых изделий заказчику.
Каждое предприятие состоит из производственных цехов и
участков.
Цех - это подразделение предприятия, занятое
выполнением части производственного процесса. Участок выполняет функции цеха с
небольшим объемом работ.
Структурный производственный состав предприятия зависит от
его типа, мощности, видов услуг, оказываемых населению. На рисунках 4-6
приведены примеры структур предприятий различных типов.
Рисунок 4 - Производственный состав швейной фабрики массового
производства
Рисунок 5 - Производственный состав ателье
Рисунок 6 - Производственный состав Дома моды
Производственный процесс изготовления одежды состоит из
определенных этапов. Последовательность производственного процесса определяется
технической подготовкой производства и зависит от типа производства, мощности
предприятия и других факторов. На рисунках 7 и 8 приведены примеры этапов
производства одежды на предприятиях различных типов.
Рисунок 7 - Этапы производства одежды в условиях массового и
серийного производства
Моделирование и конструирование одежды
осуществляются в Домах моделей и в экспериментальных цехах предприятий. Под
моделированием в швейном производстве понимается создание модели какого-либо
швейного изделия. Для изготовления в массовом производстве на каждую модель
разрабатывается конструкция. Каждое изделие, выходящее из швейного цеха, должно
быть точной копией модели.
Моделирование и конструирование одежды
являются первыми, наиболее ответственными этапами производства одежды, так как
именно на этих этапах предопределяется качество готовой продукции,
закладывается рациональное использование сырья, обеспечивается повышение
производительности труда, устанавливаются материальные затраты на производство
изделия, определяются технология его изготовления и организация производства, уровень
механизации и автоматизации.
Подготовку материалов к раскрою
осуществляют в подготовительном цехе. Здесь производят приемку материалов, их
подсортировку по качеству, назначению, ширинам и длинам.
В раскройном цехе полотна материала
вручную или с применением машин в соответствии с расчетом настилают на
настилочные столы. На верхнее полотно настила наносят контуры деталей одежды и
вырезают по ним детали, применяя передвижные и стационарные раскройные машины.
Вырезанные детали (крой) подают в швейный цех.
В швейном цехе в соответствии с заранее
разработанной документацией детали кроя подаются на рабочие места, которые
расположены по ходу технологического процесса. Каждое рабочее место оснащено
необходимым оборудованием и инструментами для выполнения определенных работ
(операций). За каждым рабочим закреплено свое рабочее место.
Процесс пошива состоит из обработки
(заготовки) отдельных деталей и узлов и их сборки (монтажа). Количество рабочих
в технологическом потоке может быть от 15-20 до 200 и более человек. Готовое
изделие передается на отделку (чистка, влажно-тепловая обработка, пришивание
пуговиц, комплектование и пр.).
Предприятия массового производства наряду
с выполнением своей главной задачи - выпуска промышленной продукции крупными
партиями могут организовать и изготовление одежды по индивидуальным заказам.
Опыт работы ряда отечественных предприятий и некоторых зарубежных фирм показал,
что на промышленных предприятиях можно изготавливать изделия по индивидуальным
заказам в соответствии с выбранными моделями и тканью на фигуры различного
телосложения с использованием автоматизированного проектирования одежды (САПР).
Рисунок 8 - Этапы производства одежды по индивидуальным
заказам
На предприятиях, специализирующихся на выпуске изделий по
индивидуальным заказам населения, приём и оформление заказа производятся в
приёмном салоне. В салоне заказчику предоставляют наглядную информацию о
направлении моды, о стоимости и сроках выполнения заказов и другую информацию.
В салоне также выполняют операции по примерке и выдаче готовых изделий.
Подготовка материалов к раскрою осуществляются в
подготовительном цехе (или на складе материалов) или на участках запуска.
Участок запуска проектируется на крупных предприятиях с целью
оперативного управления производством. Участок запуска определяет единый
порядок движения изделий в условиях изготовления их по индивидуальным заказам.
Заказы в производство запускаются с участка запуска. Для этого все заказы
(отрезы тканей, детали кроя, прокладочные детали, изделия после примерки и
т.д.) поступают на участок запуска, где они комплектуются по сутко-партиям и
размещаются в ячейки стеллажей в соответствии с очередностью назначенных сроков
исполнения. Основой для организации ритмичной работы предприятия является
рассчитанная по этапам производства продолжительность производственного цикла
изготовления заказов, которая зависит от вида изделия, количества примерок,
организации приема заказов (через салон предприятия или сеть приемных пунктов)
и измеряется в днях от даты приёма заказа до сдачи готового изделия заказчику.
Подготовка изделия к примерке и пошив его после примерки
осуществляются в швейном цехе предприятия. Окончательная отделка изделия
производится в цехе централизованной отделки или в швейном цехе.
Раскрой материалов выполняется в закройном цехе.
Уточнение изделия после примерки производится закройщиком.
На крупных предприятиях сферы услуг действуют
экспериментальные цеха или группы, основной задачей которых является оказание
практической помощи предприятию в освоении новой моды, изготовлении
высококачественной одежды, во внедрении достижений технического прогресса и
научных разработок, новых видов услуг и форм обслуживания.
При изготовлении одежды выполняются ручные и машинные работы.
Ручные работы (Р) предусматривают воздействие на
обрабатываемый полуфабрикат иглой, мелом, ножницами и т.п. Эти виды работы
трудоёмки, качество их выполнения в наибольшей степени зависит от квалификации
исполнителя. В массовом производстве эти работы сводятся до минимума, а в
индивидуальном производстве занимают еще значительный удельный вес.
Машинные работы связаны с воздействием на полуфабрикат
рабочих инструментов швейных машин. Машинные способы обработки способствуют
повышению производительности труда и уровня качества изделий. Машинные работы
выполняют на стачивающих универсальных машинах (М) и специальных, выполняющих
определённые виды операций (СМ). Машинные работы выполняются также на машинах
полуавтоматического действия (Па). Полуавтоматы обеспечивают высокое качество,
стабильность выполнения операций, высокий уровень производительности труда. В
индивидуальном производстве применение полуавтоматов незначительно из-за малого
уровня их загрузки.
Утюжильные (У) и прессовые (Пр) работы выполняют
утюгами, на прессах и паровоздушных манекенах.
Выполнение работ при производстве швейных изделий может быть
осуществлено методами последовательного, параллельного или
последовательно-параллельного воздействия рабочих инструментов на полуфабрикат.
При последовательном методе рабочие инструменты воздействуют
на деталь, обрабатывая последовательно один участок за другим.
При параллельном методе рабочие инструменты воздействуют на
всю поверхность обрабатываемых деталей одновременно.
Параллельно-последовательный метод обработки представляет
собой комбинацию двух методов.
Совершенствование технологии производства направлено на
разработку таких технологических процессов, которые позволяют применять
параллельные методы обработки, малооперационную технологию.
Способы соединения деталей одежды
При изготовлении швейных изделий применяются различные
способы соединения деталей: ниточный, клеевой, сварной, комбинированный.
Ниточный способ соединения деталей одежды
Для соединения деталей одежды широко используются ниточные
швы, которые выполняются одной или несколькими строчками. Элементами ниточных
соединений являются стежок, строчка, шов.
Стежок - это один элемент структуры, полученный при
ниточном способе между двумя проколами материала иглой путём переплетения одной
или нескольких ниток.
Последовательный ряд повторяющихся однородных стежков
образует строчку.
Шов - соединение двух или нескольких слоев
материалов строчками.
Строчки по способу выполнения разделяют на ручные и машинные.
Характеристика строчки определяется исходя из данных о
способе соединения, назначения строчки и её технологических параметров.
Технологические параметры строчки содержат следующие
данные: количество ниток, образующих строчку; длину (или количество стежков в
10 мм строчки) и ширину стежка; номер иглы и ниток.
Длина стежка (L), выполняемого вручную, определяется длиной нити
(а), расположенной на лицевой стороне ткани, и интервалом (в)
между проколами материалами иглой (рисунок 9).
Стежки, образуемые под углом к линии строчки, измеряются и по
ширине (с).
В машинных строчках, в которых точное измерение длины одного
стежка затруднено, указывается количество стежков (п) в 1 см строчки.
Рисунок 9 - Параметры стежков
В основу классификации ручных стежков и строчек положен
характер переплетения в них ниток и расположения стежков на ткани; строчки,
выполняемые с применение данных стежков, называются по своему назначению.
На рисунке 10 приведена схема видов ручных стежков и строчек.
Ручные ниточные строчки выполняются с помощью швейных игл и
ниток. Номера игл и швейных ниток подбирают в соответствии с толщиной
обрабатываемых материалов и характером выполняемых работ.
Машинные стежки, строчки, ШВЫ
На современном уровне развития техники
большинство строчек ручного стежка при изготовлении одежды по заказам населения
могут быть заменены соответствующими машинными.
Машинные стежки разделяются на челночные и
цепные.
При образовании стежков на швейных машинах
происходит прокалывание сшиваемых материалов иглой с ниткой, вдетой в ушко,
образование петли из нитки иглы, переплетение и затягивание ниток стежка,
продвижение материала на длину стежка.
Переплетение ниток челночного стежка
происходит с помощью челнока, а цепного - с помощью петлителя.
Подачу верхней нитки и затягивание стежка
выполняет нитепритягиватель.
Продвижение материала на величину стежка в
большинстве швейных машин осуществляется зубчатой рейкой, расположенной в
прорези игольной пластины. На рисунке 11 приведена схема видов машинных
стежков.
Наиболее распространённой строчкой
челночного стежка является стачивающая строчка.
Стачивающая строчка широко применяется при
соединении деталей одежды.
Зигзагообразная строчка применяется для
выстегивания бортовых прокладок, пришивания кружев и предохранения срезов от
осыпания.
Строчки цепных стежков бывают одно- и
многониточные, сквозные и потайные.
Стачивающая однониточная цепная строчка
является легкораскаемой и используется для временного соединения деталей.
Двухниточная цепная стачивающая строчка
прочна и эластична. Эта строчка применяется для соединения деталей из
трикотажных полотен, а также при изготовлении изделий из любых тканей для
выполнения соединительных швов, в наибольшей степени подвергающихся
растягивающим нагрузкам.
Одно- и двухниточную цепные строчки с
зигзагообразным расположением стежков применяют для обметывания петель платья и
верхней одежды пальтово-костюмного ассортимента соответственно.
Обметочные строчки цепных стежков
предназначены для стачивания материалов при одновременном обметывании срезов.
Обметочные строчки однониточного стежка применяют для соединения меховых
шкурок; двухниточного стежка - для обмётывания срезов изделий из легкоосыпающихся
материалов, а также для обметывания подогнутых краев трикотажных изделий и
обмётывания срезов.
Потайную строчку цепного стежка применяют
для подшивания подогнутых краев деталей изделия, а также для выстегивания
лацканов и воротника.
На рисунках 12 и 13 приведены схемы
строчек челночного и цепного стежков.
Строчки цепного стежка при прочих равных
условиях требуют большего расхода ниток, чем строчки челночного стежка. Однако,
производительность машин цепного стежка выше, так как нижняя нитка в них
подаётся также с катушки или бобины, что исключает потери времени на смену
шпулек.
Расход ниток на строчку зависит от
структуры стежка, количества образующих его ниток и их натяжения, толщины
сшиваемых материалов, количества стежков в 1 см строчки и т.д.
Расход ниток на строчки можно определить
экспериментальным, расчетным способами или с помощью специального счётчика.
Экспериментальным путем можно установить длину каждой нитки
одного стежка для любой строчки (путем распускания строчки). Расход ниток для строчки
любой длины определяют по формуле:
L = m * l * lст,
где L - расход ниток, см;
m - число стежков в 1 см строчки;
l - длина строчки, см;
lст - длина ниток одного
стежка, см
Длину ниток для любой строчки можно определить расчетным
способом, предложенным А.В. Савостицким, на основе схемы, приведенной на
рисунке 14.
Длина нитки машинного стежка любой строчки складывается из
суммы длин частей нитки: частей, огибающих другую нитку в узлах переплетения
стежка l0, и частей, находящихся между узлами стежка lз (1-4).
Любая форма стежка приводится к прямоугольной форме путём
равномерного сжатия материалов в плоскости стежка по длине строчки. Поэтому
длину ниток стежка можно определить приближённо, принимая форму стежка как
прямоугольник, и вводя поправочный коэффициент k, учитывающий сжатие
материалов и частей ниток в переплетениях.
Рисунок 14 - Схема для определения расхода ниток на машинные
строчки
Тогда каждая нитка стежка будет состоять из нескольких
прямоугольных участков, длина которых определяется числом n одинаковых частей, длиной одного стежка
(см), шириной строчки b (см), толщиной материала h (см), умноженной на поправочный коэффициент k.
Расход ниток на строчку L можно определить, исходя из длины строчки l; числа отрезков в одном стежке,
расположенных вдоль строчки п1; поперек строчки - п2;
под углом к линии строчки - п3; в толщине материалов - п4.
Длина части 1 определяется по формуле:
Длина части 2 определяется по формуле:
Длина части 3 определяется по гипотенузе прямоугольного
треугольника, катетами которого являются длина и ширина стежка.
Длина части 4 определяется по формуле:
Суммируя эти части и умножая сумму на длину строчки, получаем
общую формулу для определения расхода ниток на различные строчки:
Для определения расхода ниток на конкретную строчку по её схеме
определяют значения п1, п2, п3,
п4 и подставляя их в общую формулу, получают расчетную формулу
для этой строчки. К примеру, для стачивающей двухниточной челночной строчки
челночного стежка (рисунок 12 а) п1 = 2; п2
= 0; п3 = 0; п4 = 2; в = 0.
Подставив эти значения в общую формулу, получим расчётную формулу для
определения расхода ниток для двухниточной челночной стачивающей строчки:
L = 2l (1+k*m*h)
В промышленности чаще используется метод определения расхода ниток
с помощью специального счётчика.
Сущность указанных способов определения
расхода ниток подробно изложена в литературе.
При выборе машинных стежков сопоставляют строчки,
образованные теми или иными стежками, не только по величине расхода ниток, но
и, прежде всего, по таким качественным показателям как распускаемость,
эластичность, прочность.
С помощью ручных и машинных строчек выполняют различные
технологические операции.
Терминология ручных и машинных работ приведена в таблице 2.
Таблица - Терминология ручных и машинных работ
|
Термин
|
Содержание
работы
|
Примеры
|
|
Стачивание
|
Соединение двух
и более равных или приблизительно равных по величине или значимости деталей
по совмещённым краям
|
Стачивание
переда и спинки по плечевым, боковым срезам, частей рукавов и др.
|
|
Притачивание
|
Соединение
мелких деталей с крупными или менее значимых с более значимыми
|
Притачивание
надставок к основной детали, клапана, листочки кармана к переду, детали
подкладки к детали из основного материала и пр.
|
|
Обтачивание
|
Соединение
деталей с последующим вывертыванием их
|
Обтачивание
борта переда, воротника
|
|
Втачивание
|
Соединение
деталей по замкнутому или полузамкнутому контуру
|
Втачивание
рукава в пройму, воротника в горловину изделия и пр.
|
|
Настрачивание
|
Прокладывание
строчки при наложении одной детали на другую для их соединения; закрепление
припусков шва, складки, направленных в одну сторону
|
Настрачивание
кокетки на основную деталь, манжеты на рукав, воротника на горловину и т.п.
|
|
Расстрачивание
|
Прокладывание
строчек на деталях для закрепления припусков шва, складки, направленных в
противоположные стороны
|
Расстрачивание
боковых швов в изделиях из кожи и др.
|
|
Застрачивание
|
Прокладывание
строчки для закрепления подогнутого края
|
Застрачивание
низа изделия, рукава, складок, защипов и пр.
|
|
Выстегивание
|
Соединение двух
и более деталей потайными или сквозными стежками для придания упругости и
формы
|
Выстегивание
нижнего воротника, части переда с прокладкой и т.д.
|
|
Смётывание
|
Временное
соединение двух или более деталей (на специальной машине или вручную)
|
Сметывание
частей спинки
|
|
Примётывание
|
Временное
соединение мелких деталей с крупными (на специальной машине или вручную)
|
Примётывание
клапана, кокетки к переду
|
|
Замётывание
|
Временное
закрепление подогнутого края детали (на специальной машине или вручную)
|
Замётывание
низа рукава и т.д.
|
|
Вмётывание
|
Временное
соединение по замкнутому или полузамкнутому контуру
|
Вмётывание
рукава в пройму, воротника в горловину и т.д.
|
|
Вымётывание
|
Временное
закрепление обтачанных краев деталей для сохранения формы
|
Вымётывание
края борта, воротника, клапана и др.
|
|
Подшивание
|
Прикрепление
подогнутого края потайными стежками
|
Подшивание низа
изделия, обтачки горловины и т.д.
|
|
Окантовывание
|
Обработка среза
полоской материала, тесьмой для отделки или предохранения от осыпания
|
Окантовывание
низа изделия, проймы, рукава, подкладки кармана и т.д.
|
|
Обмётывание
|
Закрепление
среза детали или прореза для предохранения от осыпания
|
Обмётывание
открытых срезов деталей, прорезных петель и др.
|
К швам, как и к одежде в целом,
предъявляются потребительские и промышленные (производственные) требования. К
потребительским требованиям относят внешнее оформление шва, целостность
строчки, равномерность стежков и др. Промышленные требования к швам определяют
расход ниток и материалов, трудоёмкость выполнения.
Качество выполнения швов зависит от
соблюдения их параметров: ширины шва, количества строчек и расстояния
между ними, частоты стежков, номера ниток и игл.
Ширина шва зависит от его конструкции. В
одних швах она определяется расстоянием от среза детали до скрепляющей строчки
(рисунок 15 а), в других - расстоянием от перегиба детали до строчки
(рисунок 15 б, в) и др.
Конструкция ниточных швов определяется
расположением деталей и строчек в шве и величиной припусков на швы. В
зависимости от конструкции и назначения ниточные швы делятся на соединительные,
краевые и отделочные.
С помощью соединительных швов выполняют
операции по соединению деталей изделий. Ширина соединительного шва зависит от
его конструкции, вида изделия, модели и свойств материалов. Частота строчки
определяется волокнистым составом ткани, назначением изделия, видом шва.
К соединительным швам относятся стачные,
накладные, настрочные, бельевые.
При выполнении стачных швов детали
складывают лицевыми сторонами внутрь, уравнивают срезы и стачивают. Припуски на
шов заутюживают или разутюживают.
При соединении деталей накладным швом с
открытым срезом деталь накладывают на другую без подгиба среза, с закрытым
срезом - подгибая его, и прокладывают строчку с помощью лапки - направителя.
Накладной шов с открытым срезом
применяется в основном для соединения прокладок, а с закрытым - для соединения
накладных карманов, кокеток, манжет с основными деталями.
При выполнении настрочного шва с открытыми
срезами срезы соединяемых деталей уравнивают и стачивают детали первой
строчкой, затем шов заутюживают и прокладывают отделочную строчку. При
выполнении настрочного шва с закрытым срезом срез настрачиваемой детали смещают
относительно нижней детали. Настрочные швы применяют при соединении деталей
изделий из плотных материалов, плохо поддающихся влажно-тепловой обработке.
Бельевые швы характеризуются тем, что
срезы деталей в них заключены между строчками, что повышает прочность
соединения. Выполняются бельевые швы на машинах со специальными лапками,
двухигольных машинах.
Краевые швы в кант применяют для обработки
краев клапанов, воротника, карманов и других деталей. Для их выполнения детали
складывают лицевыми сторонами внутрь и стачивают, затем шов вывертывают,
выправляют из одной детали кант и приутюживают. Кант может закрепляться
отделочной строчкой.
Обтачной шов в рамку простой применяется
при обработке прорезных карманов и обтачных петель. Обтачку обычно перегибают
пополам, заутюживают и притачивают к основной детали.
Шов в рамку сложный выполняют двумя
строчками. Обтачку притачивают к основной детали, шов разутюживают, затем
обтачкой огибают припуск на шов и для закрепления рамки прокладывают отделочную
строчку. Шов применяют при обработке карманов.
Швы в подгибку бывают с закрытыми,
открытыми, окантованными срезами и притачной подкладкой.
Окантовочные швы применяются для обработки
срезов и краев деталей.
Отделочные швы используются при обработке
складок, отделочных элементов.
Оборудование для выполнения ниточных швов
Швейные машины разнообразны по своему назначению, внешнему
виду, устройству. В зависимости от этого им присваивают номера (классы).
Швейные машины делятся на машины неавтоматического и полуавтоматического действия.
При выполнении операций на машине неавтоматического действия
исполнитель направляет и придерживает обрабатываемые детали, т.е. операции
выполняются с обязательным участием работающего.
Выполнение операций на машинах полуавтоматического действия
происходит в автоматическом режиме.
Основная доля швейного оборудования представлена в виде
конструктивно-унифицированных рядов. В такие ряды входят базовая машина и её
модификации.
В зависимости от назначения швейные машины подразделяются на:
- универсальные (общего назначения) - стачивающие машины
двухниточного челночного стежка;
- специальные (определенного
назначения) - для выполнения операций определённого наименования (подшивочные,
обметочные и др.);
- специализированные - для выполнения
определённых операций путем конструктивного изменения универсальных и
специальных машин (машины для втачивания рукавов, обтачивания бортов и др.);
- специальные полуавтоматы. Это машины для
обтачивания клапанов, пришивания пуговиц, изготовления петель и др.
Технологическая характеристика швейных машин включает в себя
следующие данные: класс, назначение, тип стежка, значение максимальной частоты
вращения главного вала, величину длины стежка, номера игл, дополнительные и
другие данные.
Основными рабочими органами швейной машины челночного стежка
являются: игла, челночный комплект, нитеподающее устройство, устройство для
продвижения материала, прижимная лапка.
Игла швейной машины (рисунок. 17) представляет собой
стальной стержень, состоящий из утолщенной части - колбы 6, и, собственно, иглы
- стержня с длинным подводящим и коротким отводящим желобками, с острием 3, с
ушком 2 на острие и выемкой над ушком 4. Эта часть называется лезвием иглы 7.
Иглы могут быть с одним длинным подводящим желобком и с двумя желобками. Колба
6 предназначена для закрепления иглы в игловодителе швейной машины. На колбе
расположена маркировка - название фирмы и номер иглы. Машинные иглы
характеризуются типом и номером. Тип иглы характеризует ее конструкцию и
предопределяет возможность применения иглы для конкретной швейной машины. Номер
- это диаметр лезвия в сотых долях миллиметра. Например, №90 - говорит о том,
что диаметр лезвия иглы составляет 0,9 миллиметра.
Рисунок 17 - Игла для швейных машин
Челноки швейных машин бывают двух видов:
1) колеблющиеся;
2) вращающиеся.
Вращающиеся челноки наиболее часто используются в швейных
машинах.
Нитеподающее устройство бывает трёх типов:
1) шарнирно-стержневое;
) вращающееся.
Основным органом двух первых устройств является рычаг с
усиком на конце, совершающий движения вверх и вниз по дуге или по сложной
траектории. Вращающийся нитеподатчик имеет четыре точки взаимодействия с ниткой
иглы.
Основным органом перемещения материала в швейных машинах
челночного стежка являются зубчатые рейки, которые перемещаются по
эллиптической траектории в вертикальной плоскости и прижимают материал к
подошве прижимной лапки, продвигая его на длину стежка. Реечные устройства
могут содержать одну рейку; две рейки, расположенные по одну сторону материала
и имеющие возможность перемещаться с различной скоростью; две рейки,
расположенные по разные стороны материала - сверху и снизу. Реечные устройства
различных типов позволяют выполнять швы с посадкой одного слоя материала
(например, при обтачивании воротника, края борта); при обработке изделий из
труднотранспортируемых материалов обеспечить качественное выполнение швов (при
обработке изделий из таких тканей на машинах с однореечным механизмом
продвижения материалов происходит стягивание строчки, появляется волнистость по
линии строчки).
К рабочим органам машин цепных стежков относятся иглы (прямые
и изогнутые - применяемые в машинах потайного стежка), крючки и петлители,
нитеподающие устройства и устройства продвижения материала.
Иглы машин цепного стежка по конструкции сходны с иглами
машин челночного стежка, но мелкий желобок у игл для машин цепного стежка имеет
такую же длину, как и глубокий. Такую конструкцию игла имеет с целью
предохранения игольной нитки от излишнего истирания о материал в процессе
образования стежка.
Это различие в конструкции игл объясняется ещё и тем, что в
процессе затягивания стежка принимает участие игла, и нитка должна
перетягиваться из предыдущего стежка при прокалывании материала иглой (в
машинах челночного стежка этого перетягивания нет).
Вместо челночных комплектов на машинах цепного стежка
установлены петлители (заправленные нитками) и крючки (без ниток). Петлители и
крючки имеют разнообразную конструкцию и способы перемещения относительно иглы
(в зависимости от разновидности выполняемых строчек и назначения швейной
машины).
Для обеспечения процесса образования стежков машины имеют
нитеподающие устройства для подачи игольных ниток и для ниток петлителей.
Нитеподающие устройства имеют различную конструкцию в зависимости
от вида выполняемых строчек.
Парк технологического оборудования для выполнения ниточных
строчек разнообразен по составу и многочислен по количеству классов
оборудования. На рисунке 18 приведена схема, иллюстрирующая разновидность
швейного оборудования неавтоматического действия. К машинам полуавтоматического
действия относятся полуавтоматы для пришивания пуговиц, крючков, петель и др.;
для выполнения закрепок и строчек сложных конфигураций; для обметывания петель
и др. Машины полуавтоматического действия обеспечивают стабильность качества
обработки при низкой трудоемкости выполнения операций. На предприятиях сферы
услуг применение машин полуавтоматического действия ограничено в связи с низкой
степенью их загрузки.
Увеличению производительности труда и повышению качества
выполнения операций способствует применение микропроцессорных систем управления
в швейных машинах. Оборудование с микропроцессорными системами управления
широко применяется на предприятиях массового производства.
Повышению производительности труда и уровня качества
обработки изделий на предприятиях любого типа способствует применение
специальных приспособлений (приспособлений малой механизации) к швейным
машинам. Согласно классификации, предложенной ЦНИИШП, все приспособления
разбиты на 6 групп:
1) приспособления для обеспечения параллельности строчки
краю соединяемых деталей или другому ориентиру;
2) приспособления для подгибания срезов одной детали;
) приспособления для одновременного подгибания срезов
нескольких деталей;
) приспособления для окантовки срезов;
) приспособления для фиксации мест расположения
обметочных петель;
) прочие приспособления.
Клеевые соединения деталей одежды
Методы клеевого соединения деталей одежды широко применяются
при изготовлении пальто, костюмов, жакетов и других видов одежды. Применение
этих методов дает возможность сократить затраты времени на изготовление изделия
и при этом улучшить его качество.
Клеевым называют неразъемное соединение, образующееся в
результате взаимодействия клеящего вещества со склеиваемыми материалами
химическим или термическим способом.
Наибольшее применение в швейной промышленности нашли клеевые
материалы из термопластичных полимеров: полиамидных (П-54, П-548, П-12/6/66,
ПКО-104) и полиэтиленовых (ПВД).
Сущность процесса склеивания с применением термопластичных
клеевых материалов заключается в следующем: при нагревании склеиваемых
материалов, находящихся под давлением, клей переходит в вязкотекучее состояние
и проникает в склеиваемые материалы на некоторую часть их толщины, где затем
при охлаждении затвердевает и образует клеевое соединение.
К клеевым соединениям, применяемым при изготовлении швейных
изделий, применяются следующие требования:
- прочность, характеризуемая двумя показателями -
пределом прочности при сдвиге и сопротивлением расслаиванию;
- эластичность и гибкость. Жесткость клеевых
соединений зависит не только от свойств самого клея, но и от толщины слоя клея,
способа нанесения клеевого покрытия (сплошное, точечное), жёсткости самих
материалов;
- водостойкость;
- устойчивость к химической чистке.
На качество клеевых соединений влияют: температура гладильной
поверхности, удельное давление на обрабатываемую деталь, продолжительность
воздействия тепла и давления, степень увлажнения обрабатываемых деталей.
При изготовлении швейных изделий применяют различные
термопластичные клеевые материалы, к которым относятся:
· Прокладочные материалы, представляющие собой
текстильные прокладочные материалы, на одну из сторон которых нанесено клеевое
покрытие (точечное регулярное, точечное нерегулярное, сплошное). Эти материалы
применяют для придания упругости деталям, увеличения их формоустойчивости,
жёсткости.
Прокладочные детали из материалов с клеевым покрытием
особенно широко применяются при изготовлении пальто, пиджаков, жакетов и т.д. Соединение
основных деталей (например, переда пальто, пиджаков, жакетов) с клеевыми
прокладочными деталями по всей или большей части их поверхности называется фронтальным
дублированием.
· Кромки, представляющие собой полоску материала
(чаще всего из хлопчатобумажной ткани), покрытую с одной стороны порошком клея.
Кромку прокладывают по низу изделия, вдоль линии проймы и в
других местах деталей для повышения их устойчивости к растяжению во время
эксплуатации одежды.
· Клеевые нити - моноволокно толщиной 0,3 ÷ 0,5 мм из полиамидной смолы или полиэтилена высокого давления.
Применяется клеевая нить для незаметного закрепления краёв
деталей (бортов, лацканов и др.), когда по модели не предусмотрена отделочная
строчка.
· Клеевая паутинка - волокнистый нетканый материал,
состоящий из волокон расплава полиамидов или полиэтилена высокого давления.
Клеевую паутинку применяют для закрепления подогнутых краев
деталей (низ изделия, низ рукава и др.), для закрепления деталей (бортов,
воротников и др.).
Клеевые соединения с применением термопластичных клеевых
материалов выполняют с помощью утюжильного или прессового оборудования
периодического или непрерывного действия.
Сварные соединения деталей одежды
Сварка является прогрессивным методом безниточного
соединения деталей одежды, основанным на термопластичности материалов.
Соединение образуется в результате сваривания
термопластических материалов путём доведения соединяемых поверхностей в зоне
контакта материалов до вязкотекучего состояния с последующей фиксацией.
В швейном производстве применяют термоконтактный,
высокочастотный и ультразвуковой способы сваривания.
Термоконтактный способ сваривания заключается в том, что
место соединения термопластичных материалов нагревают до температуры их
размягчения при непосредственном контакте с электронагревателем, в результате
чего при охлаждении образуется сварной шов. Термоконтактную сварку можно
выполнить ручным (с помощью утюгов, паяльников, нагреваемых роликов) или
механизированным (с помощью машины типа стачивающей швейной с нагревательным
элементом) способами.
Высокочастотный способ сваривания состоит в том, что
термопластичный материал перемещается между двумя пластинами (электродами), к
которым подается переменный электрический ток высокой частоты. В результате
поляризации молекул пластической массы материала происходит выделение тепла
внутри самого материала; за счет этого тепла и давления, оказываемого
электродами, происходит сваривание.
Высокочастотная сварка осуществляется на специальных
установках (УЗП-2500А, УЗП2-2,5Е и др.) и прессах (ЛГС-15 и др.).
Ультразвуковое сваривание состоит в том, что материал
подвергается воздействию ультразвуковых колебаний и одновременно давлению,
создаваемому металлическими излучателями, которые преобразуют электрические
колебания в механические. Под действием ультразвуковых колебаний соединяемые
поверхности термопластичных материалов нагреваются до вязкотекучего состояния и
свариваются. Для соединения деталей изделий ультразвуковой сваркой применяют
машину БШМ-1 и др. кл.; для выполнения петель и закрепок - ультразвуковую
установку УПУ-1 и др. кл.
В сварных швах не допускаются стягивание, растяжение, посадка
материала, прожоги, перекосы, смещения, продавливание. Концы сварных соединений
дополнительно не закрепляются.
Влажно-тепловая обработка швейных изделий
Влажно-тепловой называется обработка детали или изделия с
использованием влаги, тепла и давления. Влажно-тепловая обработка (ВТО)
основана на свойствах высокополимерных материалов, служащих сырьем для
изготовления одежды, изменять свое строение под действием влаги и тепла.
- При действии на материалы влаги и тепла они могут находиться
в трех состояниях (рисунок 19):
- стеклообразном, характеризующемся легкообратимыми
деформациями (область температур до tс);
- высокоэластичном, обладающим большими, но еще
обратимыми деформациями (область температур от tc до tm);
- вязкотекучем, характеризующемся резким
возрастанием необратимых деформаций (область температур выше tm)
При влажно-тепловой обработке используется температурный
режим в пределах tc - tm. Нагревание выше
температуры tm приводит к резкому и необратимому росту деформации в результате
перехода полимера в вязкотекучее состояние. Это состояние используется для
соединения деталей одежды термопластическими клеями и сваривания
термопластических материалов.
Исследования текстильных материалов показали, что
термодинамические кривые ткани подобны термодинамическим кривым монолитных
полимеров. Процесс влажно-тепловой обработки состоит из трёх стадий:
- первая стадия, на которой воздействие тепла и влаги на ткань
ослабляет действие межмолекулярных сил в волокнах;
- вторая стадия, на которой под действием сил
давления изменяется конфигурация цепей волокон;
- третья стадия, на которой после удаления влаги из
ткани и охлаждения восстанавливаются связи между молекулами при новой
конфигурации их цепей, закрепляя этим полученную на второй стадии форму.
Разные материалы различно реагируют на влажно-тепловую
обработку, что зависит прежде всего от их волокнистого состава. Для обеспечения
качественного выполнения ВТО, повышения производительности труда необходимо
уметь подбирать режимы обработки и строго их соблюдать.
Под режимами влажно-тепловой обработки понимается
диапазон значений основных факторов (температура, влажность, продолжительность
воздействия, давление) и их взаимосвязь.
Нарушение режимов влажно-тепловой обработки может привести к
появлению определённых дефектов: пятен, опалов, лас, усадки, опаливанию ворса,
изменению цвета и других дефектов.
Влажно-тепловая обработка включает: внутрипроцессную обработку
деталей и узлов изделия, целью которой является уменьшение толщины краев и швов
при сохранении их формы соответственно срезам деталей, получение складок,
вогнутых и выпуклых плавных поверхностей деталей, создающих форму; и
окончательную обработку, назначением которой является закрепление форм
внутрипроцессной обработки и придание товарного вида изделию.
Применяемые при влажно-тепловой обработке операции различны
по наименованию (таблица 3).
Таблица 3 - Терминология операций влажно-тепловой обработки
|
Наименование
операции
|
Определение
|
|
Разутюживание
|
Раскладывание
припусков на швы или складок на две стороны и закрепление их в этом положении
|
|
Заутюживание
|
Закладывание
припусков на швы в одну сторону, загибание края детали и закрепление их в
этом положении
|
|
Приутюживание
|
Уменьшение
толщины края или сгиба детали, шва, складки, удаление заминов
|
|
Сутюживание
|
Уменьшение
линейных размеров деталей на отдельных участках путем уплотнения материала
для получения желаемой формы
|
|
Оттягивание
|
Увеличение
линейных размеров на отдельных участках для получения желаемой формы
|
|
Отпаривание
|
Обработка
изделий паром для удаления лас
|
|
Декатирование
|
Влажно-тепловая
обработка материала для предотвращения последующей усадки
|
Оборудование для влажно-тепловой обработки
Влажно-тепловая обработка выполняется с помощью утюгов,
прессов, паровоздушных манекенов, гладильных столов.
В швейном производстве применяют утюги электрические, паровые
и электропаровые.
Электрические утюги имеют спиральный или трубчатый
электронагревательный элементы.
Электропаровой утюг имеет трубчатый электронагреватель с
терморегулятором. На подошве утюга находятся отверстия, через которые выходит
пар. Пар к утюгу поступает по резиновому шлангу.
Паровой утюг нагревается паром, поступающим от парогенератора
(или другого источника пара) через резиновый шланг в камеру подогрева подошвы.
Основным рабочим органом утюгов является подошва.
Утюги современных конструкций оснащены тефлоновыми обтяжками,
снабжены электронными терморегуляторами.
Гладильные столы оснащены разного вида утюгами, подушками,
имеют различные типы нагрева поверхности, могут иметь вакуумный отсос. На
предприятиях сферы услуг подобные гладильные столы применяются редко.
Прессы подразделяются: на универсальные и специальные в
зависимости от назначения, формы и размера установленных на них рабочих органов
(подушек); на легкие, средние и тяжелые в соответствии с усилием прессования; с
паровым, электрическим и смешанным обогревом подушек; с пневматическим
механизмом открывания и закрывания подушек (работает на сжатом воздухе),
гидравлическим (работает на масле) и электрическим программным, с
кнопочно-ручным и ручным управлением.
Применение паровоздушных манекенов не только повышает
качество окончательной ВТО, но и сокращает трудоёмкость её выполнения, так как на
манекене одновременно выполняется влажно-тепловая обработка всего изделия или
большей его части. На предприятиях индивидуального производства паровоздушные
манекены применяются редко из-за малой степени загрузки.
С целью повышения производительности труда и уровня качества
при влажно-тепловой обработке используют различные приспособления: специальные
колодки, шаблоны, пульверизаторы и др.
Общие сведения о процессах изготовления швейных
изделий
Процесс пошива швейных изделий занимает значительный удельный
вес в общем цикле технологического процесса их производства. Технология
изготовления швейных изделий постоянно совершенствуется на базе развития
моделирования и конструирования одежды, внедрения высокопроизводительного
оборудования, средств техоснастки, применения наиболее прогрессивных форм
организации труда, использования новых материалов и т.д.
Совершенствование процессов изготовления одежды может
осуществляться также за счет: замены ручных операций машинными; внедрения
параллельно-последовательных методов обработки, при которых за один переход
выполняется несколько операций; внедрения параллельных методов обработки с
широким использованием клеевых материалов. Наиболее перспективным направлением
является замена многооперационной технологии на малооперационную, при которой
обработка и сборка одного или нескольких узлов осуществляется за один
технологический переход.
Процесс изготовления одежды любого вида состоит из обработки
отдельных узлов и деталей и последующей их сборки. В процессах изготовления одежды
различных видов и из различных материалов имеется много общего, но есть и
существенные различия в технологии их обработки, вызванные особенностями их
конструкций и применяемых материалов.
Наибольшее многообразие имеет подкласс верхней одежды,
особенно изделия пальтово-костюмной группы. На рисунке 20 приведена общая схема
сборки узлов верхней одежды.
Двойной линией на схеме показаны узлы, которые могут быть или
не быть в изделии, а штриховой линией - узлы, обработка которых может
осуществляться в разное время в зависимости от общей последовательности сборки
изделия.
Методы обработки узлов различны. Они зависят от конструкции
изделия, ассортимента применяемых материалов, применяемого оборудования и
других факторов.
Методы обработки деталей одежды - это различные
сочетания операций, выполняемых в определенной последовательности для
соединения, обработки и отделки деталей.
Время, затрачиваемое на выполнение операции, называется оперативным
временем.
Оперативное время t0 состоит из основного
времени (например, машинного tм и вспомогательного tв, которое затрачивается
на перемещение деталей к рабочему месту, подкладыванию их под лапку швейной
машины и т.д.
t0 = tм + tв
Основное время - затраты времени на непосредственное
выполнение операции, может быть не только машинным (М), но и ручным (Р),
утюжильным (У), прессовым (Пр) и др.
Вспомогательное время в швейной промышленности
преимущественно бывает ручным. С развитием техники и организации производства
вспомогательное время в составе оперативного должно уменьшаться.
Большое значение для выпуска изделий высокого уровня качества
имеет правильный выбор методов обработки.
При изготовлении различных изделий применяется три метода
обработки:
- последовательный - последовательное выполнение всех операций
на всех участках детали одним или несколькими инструментами;
- параллельный - одновременное выполнение операций
одним или несколькими инструментами;
- параллельно-последовательный - сочетание
последовательного и параллельного методов.
Качество и трудоемкость изготовления
изделия зависят от технологии обработки и оборудования. Поэтому выбор методов
обработки является ' важным этапом при проектировании технологических
процессов.
Выбор методов обработки производится путем
сравнения возможных вариантов обработки узлов по сокращению затраты времени,
повышению производительности труда, качеству обработки.
Повышение производительности труда и
сокращение затраты времени определяются в зависимости от трудоёмкости обработки
узла при различных методах обработки по следующим формулам:

;
,
где Р/ пт - повышение
производительности труда по узлу, %;
- сокращение затраты времени по узлу, %;
tс - затраты времени на обработку узла при более трудоёмком
методе обработки, мин.;
tn - затраты времени на обработку узла при
менее трудоёмком методе обработки, мин.
Эффективность методов обработки целесообразно определять по
повышению производительности труда и сокращению затраты времени на всё изделие,
которые определяются по формулам:
;
,
где U - удельный вес затраты времени на данный
узел в общей затрате времени на изделие, %, вычисляется по формуле:
U = t/ T,
где t - затрата времени на обработку узла, мин.;
T - затрата времени на обработку изделия, мин.
Анализ экономии только трудоемкости затрат существенно
упрощает сравнительный анализ методов обработки. Однако он приемлем только в
тех случаях, когда известно, что применение нового метода в данных производственных
условиях не потребует дополнительных материальных затрат.
Под производственными условиями
подразумеваются тип производства, категория предприятия и мощность
технологического процесса.
Одним из главных показателей при выборе
методов обработки является качество. В связи с тем, что в технологическом
процессе контроль качества в основном осуществляется органолептически,
сравнение методов обработки отдельных узлов на этапе проектирования можно
выполнять по уровню механизации труда на операциях, определяющих качество
исполнения узла. Коэффициент механизации определяется по формуле:
,
где tм - затраты времени на выполнение всех механизированных операций
(машинных, спецмашинных, прессовых) по узлу, мин.;
tузла - трудоемкость обработки узла, мин.
При изготовлении одежды по заказам населения технологический
процесс на определённом этапе прерывается для проведения примерки с целью
максимального учёта особенностей заказчика.
К примерке отдельные узлы могут быть выполнены полностью или
частично; детали могут быть соединены окончательно или временно.
Степень готовности изделия к примерке может быть различной в
зависимости от фигуры заказчика, вида изделия, сложности фасона, конструкции
изделия, свойств материалов, квалификации закройщика, числа примерок и других
факторов.
Во всех случаях степень готовности должна быть рациональной, а
затраты времени на повторное выполнение отдельных операций после проведения
примерок - минимальными. Кроме того, изделие, подготовленное к примерке, должно
дать заказчику полное представление о форме, размерах деталей и отделочных
элементов.
К примерке должны быть выполнены операции влажно-тепловой
обработки, создающие форму отдельных деталей и изделия в целом. В изделиях
пальтово-костюмного ассортимента к примерке обрабатываются полностью все
конструктивные элементы переда, спинки. Рекомендуется обрабатывать карманы,
борта.
Для уточнения изделия по фигуре заказчика временно смётывают и
замётывают боковые и плечевые швы изделия, низ. Нижний воротник соединяют с
прокладкой и вмётывают в горловину. Рукав (или рукава) вметывают в пройму,
причем один из его швов соединён временно, низ рукава замётан.
При изготовлении по заказам населения изделий пальтово-костюмного
ассортимента можно использовать метод гибкой конструкции, что позволяет
сократить количество проводимых примерок и даже полностью исключить их.
Метод гибкой конструкции основывается на использовании базовой
конструкторской документации и специальных макетов, конструктивное устройство
которых (с разъёмами и подвижными соединениями между деталями) позволяет
подогнать макет на фигуре и выявить при этом особенности конструкции изделия
индивидуального назначения перед его раскроем.
Внедрение метода гибкой конструкции позволяет снизить трудоёмкость
изготовления изделия в швейном цехе за счёт сокращения количества операций по
временной сборке изделия, возможности использования более прогрессивных методов
обработки. Благодаря точному крою сокращаются затраты времени закройщиков,
связанные с проведением примерки и уточнением деталей изделия; экономятся нитки
для временного соединения деталей, более рационально используется
производственная площадь ателье. Уменьшение количества посещений заказчиком
ателье при изготовлении одного заказа обеспечивает дополнительно социальный
эффект.
Технологические процессы обработки и сборки
основных узлов швейных изделий
Начальная обработка основных деталей
Перед начальной обработкой выполняют работы, связанные с
запуском деталей в процесс. На всех деталях производят копирование меловых
линий, определяющих места расположения вытачек, карманов и т.п. Эту операцию
выполняют ручным способом или на специальной машине. Для сохранения линий
(например, линии низа изделия, рукава) по этим линиям прокладывают нитки
(вручную или на специальной машине).
При начальной обработке основных деталей создают их форму,
соответствующую фигуре заказчика, и выполняют отделочные операции (обработка
складок, рельефов, аппликаций, вышивка и т.д.).
Начальная обработка переда и спинки включает также обработку
вытачек, кокеток, соединение составных частей деталей.
Вытачки могут быть разрезными и неразрезными. Обрабатывают
вытачки стачными швами вразутюжку или взаутюжку. Для обеспечения плавного
перехода концы вытачек закрепляют (чаще всего с помощью кусочка материала с
односторонним клеевым покрытием).
|
|
|
|
а)
|
б)
|
Рисунок 21 - Обработка вытачек
а - неразрезная, обработанная с подкладыванием
полоски материала
б - разрезная с закреплением кусочком клеевого
материала
Соединение составных частей переда и спинки может быть
выполнено стачными, настрочными, расстрочными и другими швами (в зависимости от
модели и свойств материалов).
Распространенным элементом, выполняющим утилитарные и
эстетические функции, является шлица в среднем шве спинки. Методы обработки
шлиц различны и зависят от вида изделия, вида основных и прокладочных
материалов, от применяемого оборудования. Шлицы обрабатывают с прокладками из
хлопчатобумажных, нетканных материалов с клеевым покрытием и без него.
К начальной обработке основных деталей относится
влажно-тепловая обработка с целью формования. Начальная обработка переда в
изделиях, обрабатываемых с клеевой прокладкой, включает в себя фронтальное
дублирование переда (соединение переда с прокладкой из материала с клеевым
покрытием).
При начальной обработке для предохранения обрезных краев от
растяжения и сохранения конструктивных линий по проймам переда и спинки,
горловине, плечевым срезам прокладывают неклеевую кромку (клеевую кромку до
проведения примерки прокладывать не рекомендуется, так как во время проведения
примерки может быть намечена корректировка срезов).
Совершенствование начальной обработки основных деталей
достигается в основном за счёт применения клеевых прокладочных материалов,
применения прессов для дублирования деталей, применения специальных машин
взамен ручных работ при прокладывании строчек по меловым линиям и выполнении
других операций временного назначения.
Обработка карманов
Карманы верхней одежды очень разнообразны по внешнему виду,
конструкции, способам обработки.
В зависимости от места расположения на деталях карманы можно
разделить на две группы: внешние и внутренние (расположенные на деталях
внутренней части изделия).
Внешние карманы можно разделить на три основных вида:
- прорезные;
- расположенные в швах;
- накладные.
|
|
|
|
г
|
д
|
Рисунок 22 - Карманы швейных изделий
а - прорезной карман с обтачками (в рамку)
б - прорезной карман с листочкой
в-прорезной карман с клапаном
г - прорезные карманы в шве переда
д - накладной карман
Прорезные карманы могут быть с клапанами, листочками, с
двумя обтачками (в рамку) и др.
Деталями для обработки карманов являются:
- клапан, листочка - отделочные детали для
оформления прореза кармана; могут быть цельновыкроенными или обтачными с
подкладкой;
- обтачка - деталь для обработки срезов
прореза кармана;
- подкладка кармана - составляет внутреннюю
часть кармана; может быть цельновыкроенной или состоять их двух частей;
- подзор - закрывает подкладку кармана на
уровне входа в карман, предохраняет подкладку кармана от истирания; в кармане с
листочкой оформляет верхнюю часть прореза кармана;
- долевик - укрепляет участки основной
детали в концах кармана, предохраняет карман от растяжения в процессе его
обработки и при эксплуатации изделия; может быть выкроен из прокладочной
клеевой или неклеевой ткани.
Обработка прорезных карманов состоит из следующих основных
этапов:
- обработка отделочных деталей;
- обработка подкладки кармана;
- сборка кармана.
Отделочные детали (клапаны, листочки) в зависимости от
модели, вида материала могут иметь различную конструкцию и, соответственно,
различные способы обработки. Эти детали могут быть цельновыкроенными или
обтачными с подкладкой; с прокладками, с кромками или без них.
На рисунке 23 приведены примеры обработки клапанов и листочек
карманов.
Рисунок 23 - Обработка отделочных деталей карманов
а, б - с прокладками из неклеевого материала;
в - с клеевой прокладкой; г- с клеевой кромкой.
Клапан, представленный на рисунке 23 а, и листочка,
представленная на рисунке 23 б, обтачиваются подкладкой, а листочки,
показанные на рисунках 23 в, г обтачиваются только по боковым сторонам,
так как имеют технологичную конструкцию (цельновыкроены с подкладкой).
Детали, показанные на рисунках 23 а, в-с отделочной
строчкой, а на рисунках 23 б, г - без неё.
Обработка подкладки кармана заключается в соединении с
подкладкой обтачки (если предусмотрено моделью и технологией обработки кармана)
и подзора (в карманах с широкими листочками подзор может отсутствовать).
Перед сборкой кармана на основной детали намечают место
расположения кармана. С изнаночной стороны основной детали по линии кармана
располагают долевик.
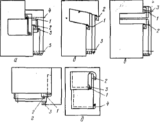
На рисунке 24 представлены два варианта обработки боковых
прорезных карманов с клапанами в мужском пиджаке.
а
б
Рисунок 24 - Обработка боковых карманов с клапанами
Метод, представленный на рисунке 24 б, предусматривает
применение неклеевых прокладочных материалов для прокладки клапана и долевика,
а метод, представленный на рисунке 24 а - клеевых. Нижняя часть прореза
кармана на рисунке 24 б обработана швом в сложную рамку, а на рисунке 24
а - в простую.
При прочих равных условиях метод, приведенный на рисунке 24 а,
является менее трудоемким.
Карманы с обтачками (в рамку) отличаются от карманов с
клапанами тем, что вместо клапана применяется вторая, верхняя обтачка. В связи
с этим внешняя часть подкладки кармана имеет подзор из основной ткани. Линия
прореза кармана может быть прямой или фигурной. В зависимости от этого прорез
обрабатывают обтачным швом в простую (рис. 25 а) или сложную (рис. 25 б)
рамку. В изделиях без подкладки или с подкладкой, отлетной по низу, срезы
подкладки кармана обрабатывают (на рис. 25 б срезы подкладки кармана
обмётаны).
В случае, если основная деталь (перед) изделия продублирован
прокладочным материалом с односторонним клеевым покрытием, долевик на участке
кармана может не предусматриваться (рис. 25 а).
|
|
|
|
а)
|
б)
|
Рисунок 25 - Обработка карманов в рамку
Карманы с листочкой широко применяют в различных видах
одежды. Схема последовательности сборки кармана с листочкой такая же, как и с
клапаном. Боковые карманы могут быть с настрочными (рис. 26 а) или с
втачными (рис. 26 б) концами листочек.

а б
Рисунок 26 - Обработка бокового прорезных карманов с листочками
При изготовлении пиджаков и жакетов широко применяются верхние
прорезные карманы с листочками. Наиболее сложным по обработке является верхний
карман с листочкой, широко применяемый в мужских пиджаках.
В зависимости от толщины материалов листочка притачивается к
переду без подкладки листочки (рис. 27 а) или с подкладкой (рис. 27 б).
|
|
|
|
а
|
б
|
Рисунок 27 - Обработка верхних прорезных карманов с
листочками
швейный изделие одежда материал
Карманы, расположенные в швах, различаются местом
расположения в изделии (в боковых швах, швах рельефов переда и др.) и способом
оформления входа в карман (без отделочных деталей, с клапаном, листочкой и
др.). Детали для обработки карманов в швах те же, что и для обработки прорезных
карманов. Процесс обработки карманов в швах, как и прорезных, состоит из трех
этапов.
На рисунке 28 приведен метод обработки карманов,
расположенных в швах рельефов переда. При данном методе применяются отрезные
обтачка и подзор. Менее трудоемким является метод, предусматривающий указанные
детали цельновыкроенными с основными деталями. Но применение цельновыкроенных
деталей не всегда возможно в связи с модельными особенностями изделий
(например, шов соединения частей переда на участке карманов имеет фигурную
форму) и может вызвать увеличение расхода материала на изделие при раскладке
лекал.
Рисунок 28 - Обработка кармана, расположенного в шве рельефа
переда
Для придания формоустойчивости по линии входа в карман
прокладывается кромка или прокладка.
Накладные карманы различаются способом
оформления входа в карман (с верхним и прорезным входом); видом отделки и
формой кармана (со складками, листочками, с прямыми углами, закруглёнными и
т.д.); способом соединения карманов с изделием.
Основными деталями для обработки накладных карманов являются:
собственно деталь накладного кармана, нить основы которой,
как правило, совпадает с нитью основы детали, на которой расположен карман;
отделочные детали для оформления входа в карман - клапаны,
листочки и т.п. (если предусмотрены моделью);
подкладка кармана, которая может отсутствовать, если это
предусмотрено техническим описанием на модель;
клеевая (или неклеевая) прокладка, если это предусмотрено
технологией обработки.
Обработка накладных карманов выполняется в два этапа:
заготовка накладных карманов;
соединение заготовленных карманов с основной деталью.
Соединение накладных карманов с основными деталями изделия
выполняется накладным, стачным или настрочным швом.
Рисунок 29 - Обработка накладных карманов
В методе, приведенном на рисунке 29 а, прокладка из
неклеевого материала настрочена на припуск верха накладного кармана; в методах
на рисунках 29 б прокладка из материала с односторонним клеевым
покрытием или из неклеевого материала (рисунок 29в) соединена с
накладным карманом с изнаночной стороны кармана. В первом и третьем вариантах
(рисунок 29 а, в) карман обтачан подкладкой, а затем настрочен на
основную деталь; во втором варианте (рисунок 29 б) подкладка кармана
притачивается к припуску верхнего края кармана, боковые и нижний края накладного
кармана заутюживаются по намеченным линиям; подкладку накладного кармана
притачивают к основной детали, а затем на основную деталь настрачивают
накладной карман.
Карман, приведенный на рисунке 29 в, обработан с
отделочным клапаном.
В изделиях из недорогостоящих тканей может быть применён
менее трудоемкий способ (рис. 29 г.). При заготовке такого кармана к
припуску на подгиб верхнего края кармана притачивают подкладку; боковые и
нижние срезы кармана вместе с подкладкой обмётывают, а затем карман вместе с
подкладкой притачивают к основной детали.
Совершенствование обработки карманов заключается в применении
клеевых прокладочных материалов; использовании двухигольных машин с ножом для
обработки прорезных карманов (притачивание одновременно двух обтачек, клапана и
обтачки, листочки и подзора к основной детали и разрезание основной детали по
линии входа в карман;); в заутюживании краёв накладных карманов с применением
специальных шаблонов; проектирования цельнокроеных обтачек в карманах,
расположенных в швах; и др.
Обработка и сборка бортов
Обработка и сборка бортов верхней одежды - трудоёмкий и
сложный процесс. Он складывается из трех этапов: обработки бортовой прокладки,
обработки подбортов и сборки бортов.
Конструкция и технология обработки бортовой прокладки
различна в зависимости от вида изделия и применяемых материалов для прокладок.
Обработка бортовой прокладки для женских и детских изделий
заключается в основном в притачивании надставок, стачивании вытачек,
настрачивании плечевых накладок и влажно-тепловой обработки. В изделиях с
отлетной подкладкой внутренние срезы бортовой прокладки обмётывают на
специальной машине.
Наиболее сложной является обработка бортовых прокладок для
мужских изделий. Совершенствование обработки бортовой прокладки возможно за
счёт применения клеевого скрепления её слоев, улучшения конструкции.
Обработка подбортов зависит от вида изделия и модели. Для
экономии материала подборта могут быть выкроены с наставками. Составные части
подбортов соединяют стачными или расстрочными швами. В изделиях из толстых
материалов внутренние срезы подбортов могут быть окантованы.
В изделиях с потайной застежкой на подбортах обрабатывают
петли. Сборку бортов выполняют различными способами в зависимости от
конструкции изделия и применяемых материалов.
Основными операциями, входящими в процесс сборки бортов,
являются следующие:
соединение переда с бортовой прокладкой;
прокладывание кромки по краю борта;
соединение подборта с передом.
В изделиях из синтетических материалов кромка по краю борта
может не прокладываться. Соединение переда с бортовой прокладкой выполняется на
специальной машине или ручным способом.
Современные методы обработки в основном предусматривают
исключение из пакета изделия бортовой прокладки за счет применения фронтального
дублирования основных деталей (соединения по всей или большей площади
поверхности детали с прокладкой из материала с односторонним клеевым
покрытием).
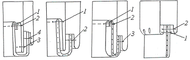
С целью предотвращения растяжения и деформации края борта и
закрепления внешнего среза бортовой (в случае применения неклеевой прокладки)
прокладки по краю борта прокладывается кромка.
Неклеевую кромку декатируют с целью предотвращения возможной
усадки в процессе дальнейшей влажно-тепловой обработки узла. Продекатированную
кромку намётывают с натяжением на определенных закройщиком участках, а затем
пришивают потайными стежками вручную или на специальной машине (рисунок 30 а)
или комбинированным способом (рисунок 30 б). Метод, приведенный на рисунке 30
б, применяется в изделиях из недорогостоящих тонких тканей. Более прогрессивным
является прокладывание клеевой кромки (рисунок 30 в).
а б в
Рисунок 30 - Способы прокладывания кромки по краю борта
Обтачивают борта подбортами с предварительным намётыванием
или без него. Обтачивание бортов без предварительного наметывания подбортов
выполняют на специализированных машинах типа 297 класса, позволяющих выполнять
посадку одного из слоев материала и снабжённых ножом для подрезки краев
обтачиваемых бортов.
Вымётывание бортов выполняется ручным способом или на
специальной машине типа 2222 класса.
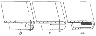
Закрепление шва обтачивания бортов выполняется различными
способами в зависимости от модели и материалов изделия. В изделиях без
отделочной строчки закрепление шва обтачивания может быть выполнено ручным
способом (рисунок 31 а), на специальной машине потайного стежка типа 761
класса (рисунок 31 б), на универсальной машине (рисунок 31 в) или
клеевым способом (рисунок 31 г., ж). При обработке края борта с
отделочной строчкой (рисунок 31 д, е) целесообразно применять
специальные лапки к машинам или направляющие линейки, позволяющие качественно
прокладывать строчки без предварительной наметки.
В отдельных моделях возможно проектировать подборта,
цельновыкроенные с передом (рисунок 27 е, ж). Обработка
края борта в таких изделиях менее трудоемка. В массовом производстве и на
предприятиях сервиса при изготовлении изделий мелкими партиями такая
конструкция деталей переда применяется не часто, т. к. может быть менее
экономичной при раскладке лекал.
Рисунок 31 - Обработка края борта
Совершенствование обработка бортов заключается в широком
применении клеевых материалов (прокладочных и скрепляющих); применении
специализированных машин при обтачивании и специальных машин при выметывании
бортов; применении технологических конструкций (если это не приводит к
увеличению расхода материала на изделие); применении прессов при
влажно-тепловой обработке готового узла; др.
Обработка воротников и соединение их с изделием
Воротники в пальто, пиджаках, жакетах, плащах и т.п.
различаются: конструкцией - воротники отложные, стойки, шаль и др.; формой - с
закругленными, острыми, тупыми концами и др.; применяемыми материалами -
воротники из основной ткани, из отделочного материала, из меха и др.; способами
обработки срезов отлета и концов воротника (обтачным; окантовочным швом; с
подгибом срезов верхнего воротника); способами соединения нижнего воротника с
горловиной (стачным швом, накладным).
Рисунок 32 - Виды воротников: а - стойка; б - отложной;
в-шаль; г - апаш
Воротник состоит из следующих деталей:
нижний воротник - может состоять из одной, двух или трёх
деталей (чаще всего - двух);
прокладка - может быть из клеевого или неклеевого материала;
верхний воротник.
Технология обработки воротников имеет много вариантов,
которые отличаются друг от друга вследствие применения различных материалов,
многообразия видов одежды и моделей.
Процесс обработки воротника состоит из трёх этапов: обработка
нижнего воротника; соединение нижнего воротника с верхним; соединение воротника
с изделием.
Методы и последовательность сборки воротника зависят от его
конструкции, свойств материалов и способов соединения деталей.
Обработка нижнего воротника заключается в соединении его
частей, соединения нижнего воротника с прокладкой, влажно-тепловой обработке.
Прокладку с нижним воротником соединяют ниточным или клеевым
способом. В зависимости от вида изделия и применяемых материалов для ниточного
соединения используют стачивающие или специальные машины потайного стежка.
Ниточное соединение прокладки с нижним воротником может быть
выполнено ручным способом.
После ниточного соединения с прокладкой нижний воротник
подвергается влажно-тепловой обработке с целью удаления неровностей и слабины
между строчками, затем воротник формуют в соответствии с моделью.
При клеевом способе соединение прокладки и формование нижнего
воротника могут быть совмещены. При изготовлении мужских пиджаков снижению
материалоемкости и трудоёмкости обработки воротников способствует применение
специального материала - фильца для нижнего воротника.
Соединение верхнего воротника с нижним по концам и отлету
может быть выполнено обтачным швом в кант (рисунки 33 а, б, в, г) и в
подгибку (рисунки 33 д, е).
Рисунок 33 - Обработка воротников
Обработка воротника обтачным швом в кант применяется при
изготовлении любых видов изделий. Способы закрепления шва обтачивания различны:
отделочной строчкой, если предусмотрено моделью (рисунок 33 г.);
пришиванием припусков швов обтачивания к прокладкам нижнего воротника потайными
стежками ручным способом или на специальной машине (рисунок 33 а);
настрачиванием припусков швов обтачивания на нижний воротник на универсальной
машине (рисунок 33 б); клеевым методом (рисунок 33 в).
Обработка воротника с применением шва вподгибку применяется в
основном при изготовлении мужских изделий. Припуски верхнего воротника
пришиваются к нижнему воротнику потайными стежками ручным способом или на
специальной машине (рисунок 33 д) или настрачиваются на нижний воротник
на специальной машине зигзагообразного стежка (рисунок 33 е).
В зависимости от свойств материалов при обработке воротника
может применяться прокладка не только для нижнего воротника, но и для верхнего
(рисунок 33 е). В зависимости от модели верхний воротник может быть
цельновыкроенным с нижним воротником (рисунок 33 ж).
Соединение воротника с горловиной изделия может быть
выполнено после обработки воротника (рисунок 34 а, в) или совмещено с
процессом обработки воротника (рисунок 34 б). Второй вариант применяется
при изготовлении изделий с воротниками шаль, апаш.
а б в
Рисунок 34 - Обработка и сборка воротников
Соединение воротника с изделием стачным швом (рисунок 34 а,
б) применяется при изготовлении всех видов изделий.
Соединение воротника с горловиной накладным швом (рисунок 34 в)
применяется в основном при изготовлении мужских пиджаков, пальто. Способ
соединения воротника с горловиной накладным швом менее трудоемкий за счет
исключения операции разутюживания шва втачивания нижнего воротника в горловину.
Скрепление припусков швов соединения с горловиной верхнего и нижнего воротников
может быть выполнено ручным способом или на специальной машине потайного
стежка, на универсальной машине, клеевым способом.
Совершенствование обработки и сборки воротников заключается в
применении специализированных машин при обтачивании и специальных машин при
вымётывании воротников; в применении клеевых прокладочных и скрепляющих
материалов; в применении специального материала «фильц» для нижних воротников
мужских пиджаков; в совершенствовании конструкции узлов, с целью создания формы
деталей воротника без дополнительных операций влажно-тепловой обработки и др.
Обработка рукавов и соединение их с изделием
Рукава в верхней одежде разнообразны по конструкции и
отделке. Они различаются покроем (втачные, реглан, цельновыкроенные,
комбинированные); количеством швов (одношовные, двухшовные, трехшовные);
отделкой низа (с шлицами, с разрезами, с манжетами притачными или отложными).
Наибольшее распространение имеют втачные двухшовные рукава.
Наиболее трудоемким узлом в обработке рукавов является низ
рукавов. Для увеличения устойчивости нижнего края рукавов по низу рукава
прокладывают прокладку из клеевого или неклеевого материала. Неклеевую
прокладку соединяют с рукавом ниточным (рисунок 35 а) способом вручную
или с применением специальной машины потайного стежка. Клеевую прокладку
соединяют с рукавом с помощью утюга или пресса (рисунок 35 б, в, г, д).
Подкладку рукава соединяют с верхом рукава после обработки
последнего или в процессе обработки. Шов притачивания подкладки к припуску низа
рукава прикрепляют к рукаву потайными ручными стежками или на специальной
машине (рисунок 35 а), на стачивающей машине (рисунок 35 б) или
клеевым способом (рисунок 35 д). По низу рукава, если предусмотрено
моделью, может быть проложена отделочная строчка (рисунок 35 в, г).
Рисунок 35 - Обработка низа рукава
Низ рукава может обрабатываться манжетами. Отложные манжеты
могут быть отрезными и обтачанными подкладкой (рисунок 36 а);
цельновыкроенными с рукавом (рисунок 36 б); отрезными, обтачанными
подкладкой манжеты, цельновыкроенными с рукавом (рисунок 36 в).
Притачные манжеты могут быть обтачанными подкладкой манжеты
или цельновыкроенными, как на рисунке 36 г.
Операция втачивания рукава в пройму относится к наиболее
ответственным операциям. Основным требованием при выполнении этой операции
является правильное распределение посадки по окату рукава.
а б в
г
Рисунок 36 - Обработка низа рукава с манжетами
Выполнение посадки контролируют совмещением надсечек,
расположенных по периметрам оката и проймы.
Совершенствование обработки и сборки рукавов заключается в
применении клеевых прокладочных и скрепляющих материалов, деталей технологичных
конструкций и др.
Особенности обработки юбок и брюк
Брюки и юбки имеют много общих узлов, что даёт право
объединить описание их технологии.
Застёжка в этих изделиях должна обеспечивать точное, прочное
соединение деталей. Она может располагаться спереди, в боковых швах, сзади (в
юбках). Обработка застежки брюк является более трудоемкой, чем застежка в
большинстве моделей юбок. Застёжка в мужских брюках может быть на петли и
пуговицы (рисунок 37 а) и тесьму «молния» (рисунок 37 б).
Обработка застежки на тесьму «молния» является менее трудоёмкой.
а б
Рисунок 37 - Обработка застежки брюк
Верхние срезы юбок и брюк обрабатываются поясом (отрезным или
цельнокроеным с основными деталями), обтачкой или окантовываться. Пояс брюк
часто обрабатывается корсажной лентой (рисунок 38 а). Пояс может быть
цельнокроеным (рисунок 38 б) или обтачным (рисунок 38 в).
Рисунок 38 - Обработка верхнего среза юбок и брюк
Нижние срезы юбок обрабатываются швами в подгибку с
закреплением шва ниточным или клеевым способом, могут быть окантованы,
обработаны оборкой и др.
Низ брюк может быть с цельновыкроенными манжетами (рисунок 39
е) или без них (рисунок 39 ж, з). Для увеличения прочности низа
брюк вдоль сгиба настрачивают тесьму, имеющую утолщенный край. Тесьму
располагают так, чтобы её утолщенный край выступал ниже подогнутого края брюк
на 1-2 мм.
Рисунок 39 - Обработка низа брюк и юбок
К наиболее трудоёмким и сложным в обработке узлам брюк и юбок
относятся карманы (за исключением накладных карманов, обработка которых менее
сложная).
В обработке карманов брюк и юбок много общего с обработкой
карманов пиджаков (пальто), но есть и некоторые особенности, которые
объясняются тем, что внутренние срезы деталей карманов, выведенные на изнанку изделия,
в брюках и юбках в основном не закрываются подкладкой, как в пиджаках (пальто).
При обработке карманов на деталях, не имеющих подкладки (например, на задней
части половины брюк) одной частью подкладки кармана закрывают все внутренние
срезы деталей кармана, поднимая верхний срез подкладки кармана до верхнего
среза задней части половины брюк, где он закрепится в шве притачивания пояса.
Другая часть подкладки кармана выполняет роль долевика. На рисунке 40 а приведена
схема обработки прорезного кармана «в рамку» на задней части половины брюк.
Такая обработка может применяться и при изготовлении юбок. Широко применяется
при изготовлении брюк боковой карман с отрезной боковой частью (рисунок 40 б).
В связи с тем, что брюки и юбки обрабатываются без подкладки
или с отметкой по низу подкладкой (юбки) внутренние срезы швов обрабатываются
(обмётываются, окантовываются). При обработке брюк из шерстяных материалов под
передние части половинок брюк прокладывают подкладку, которая частично
воспринимает растягивающие усилия и этим способствует сохранению формы брюк в
области коленей.
а - карман «в рамку» на задней части половины брюк
б - карман с отрезной боковой частью
Рисунок 40 - Обработка карманов в брюках и юбках
Для обеспечения проектируемой формы изделия основные детали
брюк, особенно из шерстяных тканей, при начальной обработке подвергают
формованию с помощью ВТО.
Совершенствование обработки брюк и юбок заключается в
совершенствовании конструкции с целью исключения необходимости производить
формование основных деталей; применении двухигольных машин при обработке
верхнего среза брюк, низа брюк, прорезных карманов; применении машин
двухниточного цепного стежка для выполнения швов, испытывающих повышенную
растягивающую нагрузку при эксплуатации (например, средний шов брюк),
применении клеевых прокладочных материалов и др.
Особенности изготовления женских платьев и мужских
сорочек
Женские платья, блузки, мужские сорочки и другие подобные
изделия изготавливаются в основном без подкладки; эти изделия подвергаются
частым стиркам. Поэтому эти изделия более тщательно по сравнению с пальто,
пиджаками, жакетами и др. подобными изделиями обрабатываются с изнаночной
стороны. Это достигается дополнительной отделкой внутренних срезов (обметыванием,
окантовыванием и т.п.).
Карманы женских платьев и верхних мужских сорочек, так же как
и верхней одежды, могут быть трех видов: прорезные, расположенные в швах
и накладные.
Листочки карманов платья выкраивают обычно вместе с
подкладкой.
Прорезные карманы «в рамку» обрабатывают двумя
обтачками из основного или отделочного материала.
На рисунке 41 приведены сборочные схемы обработки карманов.
Рисунок 41 - Обработка карманов платья
а) прорезной карман с клапаном б) прорезной карман с
листочкой
в) прорезной карман «в рамку» г) карман в шве рельефа переда
д) накладной карман
Непрорезные карманы располагают в швах,
складках, рельефах. Они могут быть с прямым или фигурным верхним краем,
а также с отделочными деталями. Обработка карманов в швах соединения частей
основных деталей довольно проста и состоит главным образом в присоединении
частей подкладки к деталям переда.
Накладные карманы в женских платьях разнообразны по форме.
Обработка накладных карманов состоит из двух этапов: обработки верхних,
боковых и нижних краев карманов и соединения карманов с изделием.
Застёжки в женских платьях и в мужских
сорочках разнообразны по конструкции. Несмотря на это, по характеру обработки
их можно разделить на три вида: застёжки в виде борта, застежки в
разрезах, обработанные планками и обтачками, и застежки в швах соединения
деталей. В отдельных моделях платья могут применяться комбинации двух
видов застежек. Различают также застёжки, доходящие и не доходящие до
низа изделия.
Воротники в женских платьях и мужских сорочках применяют
различной конструкции и изготавливают как из основного материала, так и из
отделочного. В зависимости от вида материала воротники обрабатывают с клеевой
или неклеевой прокладкой или без неё.
Процесс обработки воротников состоит из двух этапов:
обработки воротников и соединения их с изделием. Выбор способа обработки
воротников определяется их конструкцией и свойствами материалов. В отличие от
верхней одежды, в платьях, мужских сорочках применяют главным образом один
способ соединения верхнего воротника с нижним - до соединения с горловиной.
Прямые отложные воротники обычно проектируют цельновыкроенными
с нижним воротником. В связи с этим обработка такого воротника состоит только в
обтачивании концов обтачным швом в кант. Отложные воротники из двух частей
обтачивают по концам и отлету.
Воротники мужских сорочек, как правило, имеют кроме основной
прокладки дополнительные усилители, обеспечивающие повышенную формоустойчивость
воротников.
Рукава, применяемые в платьях и сорочках, могут быть
втачными, реглан, цельновыкроенными с передом и спинкой. Разнообразие рукавов в
женских платьях характеризуется также наличием манжет и разных отделочных
элементов. В мужских сорочках применяют в основном втачные рукава с
застегивающимися на пуговицы и петли манжетами.
В мужских сорочках рукава втачивают в проймы до стачивания
боковых срезов. Это дает возможность упростить выполнение данной
операции и обеспечить повышение производительности труда при одновременном
соединении боковых срезов сорочки и срезов рукавов.
В женском платье последовательность сборки рукава с проймой
зависит от конструкции рукава.
Совершенствование процессов изготовления платьев и мужских
сорочек заключается в сокращении числа операций по сборке узлов; применении
рациональных приемов обработки, совмещении ряда технологических
операций, широком применении приспособлений малой механизации.
Рациональное
использование материалов при изготовлении одежды
В себестоимости одежды массового и серийного производства до
90% составляет стоимость материалов. Поэтому рациональное использование
материалов имеет большое значение для производителей одежды. Понятие
рационального использования материалов включает все мероприятия для более
экономного его расходования как внутри рамки раскладки, так и с учетом
использования ширины и длины всего куска.
Раскрой материалов выполняют по контурам разложенных лекал.
Раскладка лекал представляет собой рамку, в которой нанесены
контуры деталей изделия с учетом технических требований, предъявляемых к
расположению лекал на ткани.
Раскладка лекал с соблюдением технических условий закладывает
основы высокого уровня качества одежды и экономного расходования материалов.
Экономичность раскладки лекал оценивают процентом
межлекальных выпадов, сравнивая его с нормативными данными.
Расчет процента межлекальных выпадов, Во, выполняют по
формуле:
Во= (Sp - Sл)*100/Sp,
где Sp - площадь раскладки лекал, см2;
Sл - площадь лекал, см2.
Основные факторы, влияющие на величину межлекальных отходов:
форма и размеры лекал, ширина материала, вид лицевой поверхности материала, вид
раскладки по числу комплектов лекал, сочетание размеро-ростов в раскладке,
расположение лекал в раскладке.
Площадь лекал определяется различными способами:
геометрическим, комбинированным, механизированным, способом взвешивания и др.
способами.
При раскрое существуют потери: межлекальные выпады; потери по
ширине; потери по длине настила; нерациональные остатки.
Главная задача нормирования - установление прогрессивных норм
расхода материалов.
Под нормой расхода понимают максимально допустимую
величину расхода материалов на изготовление единицы изделия.
К мероприятиям по разработке норм относят: измерение площадей
лекал, составление сочетаний размеро-ростов в раскладке, выполнение
экспериментальных раскладок лекал, определение норм расхода материалов
расчетным путем, подготовку документации.
В производстве действует два вида норм:
индивидуальные - разрабатываются на единицу продукции;
групповые - на планируемый объём одноименных видов продукции.
Предварительную норму длины раскладки, Нр, определяют по
формуле:
Нр=Sл * 100/ (100-Во)*Шо,
где Sл - площадь лекал заданных размеро-ростов,
округленная до 0,005 м2;
Во-отправной показатель межлекальных отходов,
округленный до 0,1, взятый с учётом влияния сочетаний размеро-ростов и ширины
рамки раскладки, %;
Шо - ширина рамки раскладки, м.
Норма расхода материала на настил, Нн, определяется по
формуле:
Нн=
*БI (1+Пд/100),
где
- означает суммирование, когда расчет
ведут по данным нескольких настилов, выполненных по одной карте расчета
настила;
Пд
- предельный норматив отходов по длине настила для материала данной группы, %;
Нрi - длина i-ой раскладки лекал, м;
Бi - число полотен в настиле (высота
настила).
Средневзвешенная норма расхода материала на модель, Нт,
м2, рассчитывается по формуле:
,
где S
л.ср. -
средневзвешенная площадь лекал на модель, м2;
Вср
- средневзвешенное количество межлекальных отходов;
Пд
- предельный норматив отходов по длине настила, %;
Пк
- предельный норматив отходов на ширину кромки, %
Для пальтовых и костюмных шерстяных тканей Пк не
учитывают, для остальных тканей
Пк = Шкр*100 / Штк
Плановая норма, Нпл, принятая в плановых
калькуляциях для анализа себестоимости продукции, - это норма на единицу
изделия данного прейскурантного номера. При этом учитывают величину заказа
каждой модели N, шт. и средневзвешенные нормы Нт,
м2
Заявочная норма, Нз, м2 для расчета
потребного количества материала рассчитывается по формуле:
Нз=Нпл*(1+
),
где Ро - норматив маломерных концевых остатков, %.
Задачей рационального использования кусков по длине является
подбор комбинаций полотен различной длины таким образом, чтобы сумма их была
равна длине куска материалов или отличалась от нее на возможно минимальную
величину.
Остатки до 15 см для шерстяных и до 10 см для остальных материалов
входят в фактический расход при раскрое. Остатки более указанных величин
считаются нерациональными (лоскутом).
Расчёт кусков выполняют перед раскроем.
Условием полного расчёта куска ткани является выполнение
уравнения:
L - (l1x1+ l2x2+
… + lixi)=0
б,
где L - длина
куска материала, м;
l1, l2, … li - длины настилов, м;
x1, x2, … xi - число полотен настилов;
б -
допустимая длина остатка, м.
Для предприятий массового производства рациональное использование
кусков материалов по длине является важной задачей, т. к. наличие и скопление
нерациональных остатков материалов требует решения вопроса их переработки.
Промышленные предприятия уделяют большое внимание вопросам рационального
использования материалов, т. к. экономия материалов является одним из основных
путей снижения себестоимости выпускаемой продукции.
Основы проектирования швейных предприятий сферы услуг
Особенностью производства одежды по индивидуальным заказам
является то, что конкретные модели, которые будут изготавливаться в
технологическом процессе, заранее не известны. Они поступают в виде
индивидуальных заказов из салона, приёмных пунктов и отличаются друг от друга
конструктивными и фасонными особенностями, размерами, технологическими
свойствами материалов.
Технологический процесс изготовления одежды по индивидуальным
заказам должен быть подготовлен к изготовлению любого заказа. Поэтому объектом
для проектирования технологических процессов изготовления одежды по
индивидуальным заказам принимается условное изделие средневзвешенной
трудоемкости, состоящее из изделия минимальной сложности и выделенных
усложняющих элементов. Условное изделие включает в себя фасонные,
конструктивные и технологические особенности обработки изделий с учетом
встречаемости их в совокупности заказываемых изделий.
Условное изделие составляется на базе нескольких конкретных
моделей. Базовые модели должны соответствовать требованиям, предъявляемым к
выбору объекта для проектирования технологического процесса: отвечать
направлению моды, отличаться друг от друга силуэтом, покроем, назначением,
сезонностью, конструктивными и технологическими особенностями обработки,
применяемыми материалами.
Для оценки условного изделия определяется среднее количество
заложенных в нем усложняющих элементов.
Для определения среднего количества усложняющих элементов
производится выделение элементов, составляющих обработку изделия минимальной
сложности, усложняющих элементов и отделочных работ согласно прейскуранта Б 01
(01-15).
Ку=Ку1-2+Ку3
Процент повторяемости фасонных, конструктивных и
технологических особенностей обработки определяется по формуле:
,
где М1 - число моделей, в которых
есть данный элемент;
М -
общее число моделей.
Количество усложняющих элементов, относящихся к 1 и 2 частям прейскуранта,
заложенное в условном изделии, определяется по формуле:
,
где К - количество усложняющих элементов,
характеризующих данную особенность обработки по прейскуранту Б01 (01-15);
П -
процент повторяемости элемента, %.
Для перевода отделочных работ, относящихся к 3-й части
прейскуранта Б01 (01-15) в количество усложняющих элементов необходимо
определить средневзвешенную цену отделочных работ.
Среднее количество отделочных работ рассчитывается по формуле:
,
где Ц0 - полная средневзвешенная цена за
отделочные работы в условном изделии, р.;
Цу - средневзвешенная
цена одного условного элемента, р., по 1-2 части прейскуранта Б 01 (01-15).
Средневзвешенная цена одного усложняющего элемента для
определенной категории ателье с учетом групп материалов, рекомендуемых для
изготовления условного изделия, определяется по формуле:
,
где n - =
1,2,3,4 - количество групп материалов, объединенных по сложности обработки по
прейскуранту Б 01 (01 - 15);
Цуn - цена обработки одного усложняющего
элемента n - й группы материала для определенной
категории предприятия, р;
Цn - процент повторяемости изделий, изготовляемых
из материалов n - й группы, %.
Среднее количество усложняющих элементов, заложенное в условном
изделии, выбранном в качестве объекта для проектирования, должно быть
достаточным для проектируемого вида изделия (для этого среднее количество
усложняющих элементов, заложенное в условном изделии, сравнивается со
среднеотраслевым значением).
Для выбранного объекта проектирования технологического процесса
составляется технологическая последовательность обработки с учетом
проектируемых методов обработки и выбранной степени готовности изделия к
примерке. На основе технологической последовательности определяется
трудоемкость изготовления условного изделия, состоящего из изделия минимальной
сложности и выделенных усложняющих элементов.
Т изд= Т min+ Тусл,
где Т изд - средневзвешенная затрата времени на
обработку изделия, мин.;
Т min - затрата времени на обработку изделия
минимальной сложности, мин.;
Тусл - затрата времени на обработку усложняющих элементов, мин.
При проектировании новых цехов, реконструкции и техническом
переоснащении действующих выполняется предварительный расчет, который позволяет
определить количество и размеры агрегатов, количество рабочих мест в процессе.
Исходными данными для выполнения предварительного расчета
являются ассортимент изготовления изделий, затрата времени на единицу изделия,
мощность процесса или площадь цеха (при реконструкции или техническом
переоснащении действующих предприятий).
Мощность технологических процессов швейных цехов определяется
двумя показателями: количеством рабочих в процессе или выпуском изделий в
смену. В зависимости от заданного показателя мощности предварительный расчет
процесса выполняется в определенной последовательности.
На первом этапе расчёта определяется такт процесса.
Такт процесса показывает сколько времени приходится на одного рабочего на
изготовление одного изделия (при бригадной форме организации труда); с другой
стороны такт показывает через сколько времени в процесс запускается или из
процесса выпускается одно изделие. При реконструкции или техническом
переоснащении действующего предприятия известны размеры швейного цеха.
При проектировании новых предприятий ширина цеха, как
правило, принимается равной 12 или 18 м, а длина берется кратной 6.
Нормативное число рабочих определяется исходя из производственной
площади швейного цеха по двум вариантам. По первому варианту число рабочих
определяется исходя из площади цеха и норматива производственной площади на
одного рабочего.
,
где Sц
- площадь цеха, м2;
Нс - санитарная норма площади на одного рабочего, м2.
При проектировании технологических процессов изготовления одежды
плательного ассортимента Нс составляет 6 м2,
пальтового - 7 м2.
По второму варианту число рабочих в швейном цехе определяется по
длине предварительно расставленных агрегатов в швейных цехах с учетом
рекомендуемых размеров проходов между агрегатами, столов запуска; расстояний от
стен цеха до агрегатов.
Таблица 4 - Варианты выполнения предварительного расчета процесса
|
Вариант 1
|
Вариант 2
|
Примечание
|
|
Исходные
данные
|
|
Тизд,
N
|
Тизд,
М
|
Тизд
- средневзвешенная трудоемкость обработки изделия, мин.; N - количество рабочих в процессе, чел.;
М - выпуск изделий в смену, ед.
|
|
Расчет
процесса по этапам
|
|
Этап 1
|
|
 R -
длительность рабочей смены, R=480 мин. t - такт процесса
|
|
|
|
Этап 2
|
|

|
|
|
|
Этап 3
|
|
Zагр
- длина двухрядного агрегата, м; Zрм - шаг рабочего места, м; Кср
- коэффициент, характеризующий среднее число рабочих мест, приходящееся на
одного рабочего в процессе; 2 - число рядов рабочих мест в агрегате. Рекомендуемые
значения Zрм, Кср: для пальто 1,25¸1,3 костюмов 1,2¸1,25 платья и мужских сорочек 1,1¸1,15
|
|
|
Дополнительный
расчет по секциям
|
|
Ni - число рабочих мест в i-й секции; i = 1,2,3 - количество секций, которое проектируется в конкретном
технологическом процессе; Тi
- трудоемкость обработки изделия в i-й
секции, мин.
|
|
|
Zагр-I
- длина агрегата i-й секции, м.
|
|
Рисунок 42 -