Утилизация радиоактивных отходов

  • Вид работы:
    Отчет по практике
  • Предмет:
    Экология
  • Язык:
    Русский
    ,
    Формат файла:
    MS Word
    970,00 kb
  • Опубликовано:
    2011-06-23
Вы можете узнать стоимость помощи в написании студенческой работы.
Помощь в написании работы, которую точно примут!

Утилизация радиоактивных отходов

Министерство образования Российской Федерации

Санкт-Петербургский Государственный Инженерно-Экономический Университет

Кафедра Современного Естествознания и Экологии







Отчет по учебной практике

Тема:

Утилизация радиоактивных отходов












Санкт-Петербург 2010 г.

Содержание

1.       Введение

2.       Метод (Технология) остекловывания РАО

.        Заключение

Список литературы.

1. Введение

Радиоактивные отходы (РАО) - жидкие, твёрдые и газообразные отходы, содержащие радиоактивные изотопы (РИ) в концентрациях, превышающих нормы, утвержденные в масштабе данной страны.

Классификация РАО:

Низкоактивные РАО - результат деятельности больниц, промышленных предприятий, а также ядерного топливного цикла. К ним относятся бумага, ветошь, инструменты, одежда, фильтры и т. д., содержащие малое количество преимущественно короткоживущих изотопов. Обычно эти предметы определяют как малоактивные отходы в качестве меры предосторожности, если они находились в любой области т. н. «активной зоны», часто включающей офисные помещения с крайне незначительной возможностью заражения радиоактивными веществами. Низкоактивные РАО обычно обладают не большей радиоактивностью, нежели те же предметы, отправленные на свалку из нерадиоактивных зон, например, обычных офисов. Данный тип отходов не требует изоляции во время транспортировки. Низкоактивные РАО делятся на четыре класса: A, B, C и GTCC (самый опасный).

Среднеактивные РАО обладают большей радиоактивностью и в некоторых случаях нуждаются в экранировании. К данному классу отходов относятся смолы <#"531934.files/image001.gif">

Рис. 1. Механизмы включения радионуклидов в остеклованном продукте. Слева -относительно однородный стеклопродукт фиксирует радионуклиды в структуру стекла. Справа - радионуклиды содержатся во включениях.

На самом деле остеклованные радиоактивные отходы всегда содержат то или иное количество включений, так что оба механизма иммобилизации реализуются одновременно.

К числу основных характеристик, определяющих выбор стекол в качестве матрицы при отверждении жидких отходов, относят:

(2) термическую и радиационную стойкость, гарантирующую отсутствие газовыделения и перехода радионуклидов в газовую фазу;

(3) механическую прочность;

(4) возможность включения в структуру стекла отходов, значительно различающихся по своему химическому составу;

(5) возможность обеспечения максимального концентрирования в процессе отверждения, благодаря чему происходит сокращение объема РАО

(6) наличие хорошо разработанной технологии получения стекла.

Наибольшее распространение для иммобилизации как высокоактивных, так и низко- и среднеактивных отходов получили боросиликатные стекла, основу которых составляют кремниево-кислородный трехмерный каркас, а бор играет роль модификатора , понижающего температуру варки и увеличивающего прочность стекла.

ТЕХНОЛОГИИ ОСТЕКЛОВЫВАНИЯ

Процесс включения радиоактивных отходов в стекло предусматривает предварительное смешивание их в виде кальцинированного порошка или шлама со стеклообразующими материалами (флюсом) и последующим плавлении полученной смеси (шихты). Cтеклообразующие добавки и отходы могут подаваться в плавитель отдельными потоками, соотношение которых поддерживается на уровне, обеспечивающем получение стекла заданного химического состава. Для плавления стекла обычно используют прямой джоулевый обогрев электрическим током, протекающим через расплав, или обогрев расплава индукционными токами высокой частоты. Принципиальная схема технологии остекловывания показана на рисунке 2.

При разработке составов стекол для отверждения РАО с целью получения высокостойкого продукта учитывают следующие факторы: флюс не должен содержать легколетучих компонентов и быть дорогостоящим; вязкость расплава при температуре варки должна составлять 2−10 Па, а его электропроводность − обеспечивать возможность выбора источника электронагрева. Температуру получения стеклообразных материалов (варки) определяют для каждого конкретного состава РАО, при этом учитывают такие факторы, как полнота разложения термически неустойчивых соединений, степень гомогенизации, достижение нужной для выбранного аппаратурного оформления вязкости расплава, степень аэрозолеобразования и перехода радионуклидов в газовую фазу. Варка боросиликатного стекла обычно проводится при температуре 1150−1250°С.

Рис.2. Принципиальная схема технологии остекловывания ЖРО.

Важной частью установок остекловывания является система газоочистки, очищающая отходящие газы из плавителей как от радионуклидов, так и химических загрязнителей.

Сокращение объема при остекловывании составляет 4,2 4,5. Унос наиболее летучего радиоактивного компонента отходов 134,137Cs не выше 3,5 %.

В качестве флюсующих добавок при получении силикатных стекол с РАО используют кремнезем, оксид алюминия, борный ангидрит, борную кислоту, при необходимости соединения лития или натрия. Флюсующими материалами могут служить природные материалы: датолитовый концентрат, различные глины, кварцевый песок. В результате переработки РАО с использованием силикатных стеклообразователей кроме стекол, не содержащих заметных кристаллических соединений, могут быть получены материалы других типов: стеклокомпозиционные и плавленные, напоминающие по своей структуре базальты - поликристаллические микрогетерогенные тела.

Кроме боросиликатных стекол для иммобилизации РАО используются фосфатные стекла с более низкой температурой варки (900−1000ºС), при получении которых к отходам добавляют фосфорную кислоту или фосфаты. Фосфатные стекла обладают более высокой способностью растворять оксиды металлов − компонентов отходов, в том числе MoO3, NaCl, NaSO4 (в случае боросиликатных стекол превышение пределов растворимости содержания в отходах сульфатов и хлоридов приводит к серьезной технологической проблеме: образованию на поверхности расплава отдельной фазы, так называемого хальмоза, обогащенного радионуклидами и обладающего высокой реактивностью). К недостаткам фосфатных стекол можно отнести более высокую склонность к расстекловыванию (кристаллизации), приводящую к снижению химической стойкости, повышенному уносу рутения из расплава. Кроме того, фосфатные расплавы обладают высоким коррозионным воздействием на керамические огнеупоры.

В качестве источника тепла на установках остекловывания используют печи сопротивления, индукционный средне- и высокочастотный и микроволновый нагрев, пропускание переменного тока через расплав и т.д. Использование печей сопротивления ограничено, поскольку сравнительно низкая теплопроводность расплавленной стекломассы (~3 Вт/(м·град)) препятствует равномерному распределению температуры в большом объеме расплава.

В установках остекловывания отходов используются керамические и металлические горячие и холодные (с охлаждением стенок) плавители. Наиболее распространенным является керамический плавитель (остекловывание РАО с их использованием проводится в США, ФРГ, Японии, России). Плавление стекломассы в нем осуществляется за счет тепла, выделяющегося при прохождении электрического тока, подводимого к электродам непосредственно через расплав. Длительная практика использования такого типа плавителей в производстве обычного стекла показала, что они позволяют проводить плавление очень сложных по составу стекол и получать конечный продукт высокого качества. Основные преимущества использования керамических плавителей следующие:

• большая технологическая гибкость, позволяющая получать стекла в широком диапазоне составов;

• высокая производительность при минимальных объемах рабочей камеры аппаратов;

• надежность и возможность относительно длительной (2-5 лет) эксплуатации плавителя;

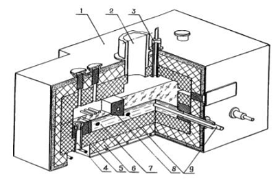
Рисунок 3 показывает схематично керамический плавитель, используемый при  одностадийном процессе остекловывания радиоактивных отходов среднего и низкого уровня активности. Он имеет установленную мощность электрообогрева 150 кВт при температуре расплава 1150−1250°C. При этом удельная производительность по стеклу составляет от 40 до 50 кг/м2час при удельном расходе энергии 3,2-3,4 кВт час/кг. Производительность плавителя составляет 50 кг стекла при остекловывании жидких отходов с концентрацией солей 200 г/л.

Существенные ограничения на применение керамического плавителя накладывают сложность его конструкции, большие габариты и масса, необходимость непрерывного режима работы и сложность ремонта и замены в случае выхода из строя. Тоже выведение такой установки из эксплуатации представляет собой важную проблему (демонтаж большой установки с высокими уровнями загразнения).

При использовании индукционного нагрева плавитель помещается внутри медного индуктора, вместе с конденсаторами образующего колебательный контур, соединенный с генератором.

Рис.3. Керамический плавитель для остекловывания радиоактивных отходов низкого и среднего уровня активности. 1-кожух, 2-выход отходящих газов, 3-ввод отходов, 4-слив расплава, 5-керамическая облицовка, 6-термоизоляция, 7-расплав стекла, 8-перегородка, 9-молибденовые электроды.

При подаче жидких отходов непосредственно в зону высоких температур расплава осуществляются процессы обезвоживания, кальцинации и плавления в одном аппарате. Водяной пар при контакте с расплавом может образовывать азеотропные смеси отдельных компонентов и летучие соединения. Кроме того, происходит механический унос частиц смеси. Одним из вариантов технологического оформления является постепенная подача раствора в тигель, при переработке расплавленный материал покрыт слоем кальцинированного твердого остатка, который в свою очередь покрыт слоем кипящего раствора. Находящийся на поверхности расплава твердый продукт является сорбентом для летучих соединений, слой жидкости частично задерживает аэрозоли.

Использование керамического плавителя в одностадийном процессе приводит к необходимости увеличивать поверхность варочной зоны, т.к. необходимая для обезвоживания перерабатываемых отходов энергия подводится через поверхность расплава.

Недостатком существующих вариантов технологических схем и установок остекловывания РАО является отсутствие надежных малогабаритных дистанционно управляемых плавителей, способных работать длительное время при высоких температурах, что связано в первую очередь с низкой коррозионной устойчивостью керамических огнеупоров. В последнее время были разработаны индукционные плавители с холодным тиглем (ИПХТ), которые являются перспективными как в производстве стекол различного назначения, так и при остекловывании РАО (рис. 4).

Основные преимущества таких плавителей обусловлены бесконтактным вводом энергии и отсутствием необходимости использования керамических огнеупоров (футеровкой служит сама шихта). Отсутствие проблем, связанных с коррозией огнеупоров, позволяет легко достигать температур 2000 - 3000ºС. Использование более высоких температур и наличие в плавителе активного гидродинамического режима (перемешивание расплава вихревыми токами) обеспечивает высокую однородность получаемого расплава и отвержденного материала. Кроме того, использование высоких температур создает возможность включения РАО не только в боросиликатные и фосфатные, но и безборатные стекла на алюмосиликатной или титаносиликатной основе и минералоподобные материалы.

Рис. 4. Индукционный плавитель “холодный тигель” (1 - индуктор; 2 -

металлический водоохлаждаемый тигель; 3 - сливное устройство; 4 - расплав; 5 - крышка; 6 - технологический люк; 7 - посадочное место для измерительной аппаратуры; 8 - смотровой люк; 9 - патрубок для загрузки отходов; 10 - патрубок для отвода отходящих газов).

Плавитель − холодный тигель, изготовленный из водоохлаждаемых медных трубок круглого или прямоугольного сечения, алюминия или нержавеющей стали, помещается внутри перемещаемого по высоте медного индуктора с зазором 12−20 мм. Параметры индуктора − диаметр, количество витков − рассчитываются с учетом емкости конденсаторной батареи. Плавитель снабжен водоохлаждаемой крышкой, в которой размещены технологический люк, патрубки и штуцера для установки контрольно-измерительных приборов, с помощью которых осуществляется контроль процесса.

Для тигля с полунепрерывным действием слив расплава производится через выпускное устройство. Слив может производиться с поверхности расплава (через боковую стенку или вертикально расположенное отверстие) или со дна (дистанционным открытием затвора, вертикальное и вращательное движение которого осуществляется электромеханическим приводом). Тигель непрерывного действия отличается наличием охлаждаемой водой перегородки, делящей его на зоны варки и выработки, как в КПДН. При необходимости тигель дополняется откидным (съемным) водоохлаждаемым дном.

Некоторые параметры процесса остекловывания радиоактивных отходов в аппарате ИПХТ показаны в Таблице 1.

Таблица 1. Состав и свойства стекол для иммобилизации эксплуатационных радиоактивных отходов АЭС с реакторами РБМК и ВВЭР в индукционном плавителе с холодным тигелем.

радиоактивный изотоп отходы утилизация

Таблица 2 показывает некоторые свойства остеклованных форм радиоактивных отходов, указывающие на исключительно высокую надежность удержания радионуклидов стеклом.

Важным элементом установки остекловывания среднеактивных ЖРО является система газоочистки, предназначенная для улавливания радионуклидов и макрокомпонентов отходов и шихты, продуктов их термического разложения, основную долю которых составляют оксиды азота. При выборе метода улавливания аэрозольного уноса из плавителя учитывается, что использование “мокрых” методов очистки приводит к образованию значительных объемов вторичных жидких отходов. Среди “сухих” методов улавливания наиболее предпочтительным является фильтрование газов, т.к. только оно способно обеспечить высокую эффективность очистки тонкодисперсных аэрозолей (около 1 мкм).


Таблица 2. Параметры остеклованных форм радиоактивных отходов.

В последние годы прорабатывается метод остекловывания зольного остатка от сжигания твердых радиоактивных отходов. Зольный остаток является пылящим продуктом и ввиду сокращения объема при сжигании концентрирует в себя радионуклиды из сжигаемых отходов. Обычно зольный остаток цементируют, однако наполнение им цементной матрицы невелико (порядка 20-30%) и, кроме того, устойчивость цементных блоков к выщелачиванию небольшая (скорость выщелачивания составляет порядка 10-3 -10-4 г/см2 сут). Преимущество остекловывания для иммобилизации зольных остатков состоит в том, что стекломатрицы значительно более устойчивы к выщелачиванию (скорость выщелачивания <10-5 -10-7 г/см2 сут).

Кроме того, при остекловывании объем иммобилизованных отходов значительно ниже, чем при цементировании.

Остекловывание зольного остатка с получения стеклокомозиционных материалов, состоящих как из стеклофазы, так и кристаллических включений, производят в плавителях различной конструкции, а также с применением порошкообразных металлизированных топлив.

Применение порошкообразных металлизированных топлив позволяет получать стеклокомпозит безаппаратно, т. е. непосредственно в контейнерах, поскольку процесс остекловывания идет автономно - за счет экзотеримических реакций окисления топлива. Для этого зольный остаток перемешивают с топливом в соотношении (мас.%) 60 : 40, смесь помещают в контейнер с двойными стенками и поджигают сверху, после чего процесс плавления и происходит в самоподдерживающемся режиме (рис. 5).

Рис. 5. Автономное остекловывание зольного остатка с помощью порошкообразного металлизированного топлива.

Унос радионуклидов при остекловывании зольного остатка невелик (<1−2%). Автономное остекловывание с помощью порошкообразного металлизированного топлива применяется также и для иммобилизации неорганических ионообменников (таких как отработавший клиноптилолит) и загрязненного глинистого грунта.

3. Заключение

В настоящее время одним из основных способов утилизации радиоактивных отходов остаётся их захоронение. Вопрос в каком виде их захоронить? Если это будут отходы, которые в необработанном виде сбрасываться в моря и океаны в бочках или цистернах, закачиваться в земную кору на большой глубине, бетонируются в могильниках в каких-либо формах, которые рано или поздно придут в негодность - конечно, это абсолютно недопустимо. Так как технологии не совершенны и пока еще не позволяют полностью избавиться от них, то на мой взгляд необходимо отходы преобразовывать в такой вид, который был бы стабилен и не опасен, и воздействие атмосферы не влияло бы на хранение отходов. Такой метод является - остекловывание.

Чем скорее ученые умы изобретут новые экологичные методы утилизации, тем лучше будет для людей и для планеты.

Список литературы:

1.       Батюхнова О.Г. Российская федерация, Бергман К. Швеция и др. Технологические и организационные аспекты обращения с радиоактивными отходами // Международное агентство по атомной энергии, Вена, 2005, с. 135 - 143.

2.       <http://slovari.yandex.ru/dict/bse/article/00064/53100.htm>

3.       <http://ru.wikipedia.org/>

.        www.ecologylife.ru/ecologists/metod-resh-prob-util-okr-sredy.html


Не нашли материал для своей работы?
Поможем написать уникальную работу
Без плагиата!
Без нейросетей!