Организация работ в электроустановках
ФЕДЕРАЛЬНОЕ
АГЕНТСТВО ПО ОБРАЗОВАНИЕ РОССИЙСКОЙ ФЕДЕРАЦИИ
СЕВЕРО-КАВКАЗСКИЙ
ГОРНО-МЕТАЛЛУРГИЧЕСКИЙ ИНСТИТУТ
(Государственный
Технологический Университет)
Электромеханический
факультет
Кафедра
Электроснабжения промышленных предприятий
КУРСОВАЯ
РАБОТА
НА
ТЕМУ: «Организация работ в электроустановках»
Владикавказ
2011
Введение
Цель организации
работ в электроустановках - это обеспечение надёжной, безопасной и рациональной
эксплуатации электроустановок и содержание их в исправном состоянии.
Организация эксплуатации электрохозяйства
включает:
определение конкретных задач электротехнического
персонала, его прав и обязанностей, подтверждаемых должностными инструкциями и
положениями;
специальную подготовку персонала;
технически грамотное составление графика
планово-предупредительного ремонта электрооборудования и своевременное и
квалифицированное выполнение его с соблюдением всех требований техники
безопасности;
чёткое оперативное обслуживание
электроустановок, заключающееся в производстве оперативных переключений
подготовки рабочих мест, в периодических осмотрах оборудования, проведение
мелкого ремонта, вызванного производственной необходимостью в порядке текущей
эксплуатации;
правильное ведение и хранение постоянной (схемы,
проекта, паспорта оборудования и др.) и оперативной (оперативный журнал,
наряды, оперативные схемы и др.) технической документации.
В данной курсовой работе:
приведены требования к персоналу, производящему
работы в электроустановках;
определены порядок и условия производства работ;
рассмотрены организационные и технические
мероприятия, обеспечивающие безопасность работ, испытаний и измерений в
электроустановках всех уровней напряжений.
Раздел 1. Схема ОРУ-110 кВ
Краткое описание схемы. В схеме используются три
основных гидрогенератора типа ЗГ-9500/500 мощностью 7,6 МВт каждый,
вырабатывающих электроэнергию напряжением 6,6 кВ, которая по кабельным линиям
через распределительное устройство закрытого типа попадает на силовые
трансформаторы, расположенные на ОРУ 110 кВ, и КРУН-1 6 кВ.
Для повышения напряжения используется блочная
схема: для каждого генератора установлен отдельный силовой трансформатор
ТДН-10000/110 с глухозаземленной нейтралью и устройством регулирования под
нагрузкой (РПН). Напряжение низкой ступени - 6,3 кВ; напряжение высокой ступени
115 кВ.
Для защиты и коммутации силовых трансформаторов
используются масляные камерные подстанционные выключатели МКП-110 с номинальным
током отключения 600 А. С Выключателей электроэнергия поступает на секцию шин
110 кВ и далее по ВЛ-16 и ВЛ-1 на подстанции Кармадон и Юго-Западная.
Для обеспечения работы измерительных приборов и
устройств релейной защиты на секции 110 кВ установлен трансформатор напряжения
НКФ-110 и трансформаторы тока ТВ-110.
Распределение электроэнергии 6 кВ осуществляется
на комплектных распределительных устройствах наружной установки. С отпаек ЗРУ 6
кВ по кабельным линиям электроэнергия поступает на КРУН0-1, откуда отходят
линии на ТСН-1 6/0,4 кВ и КРУН-2. Для предотвращения протекания токов короткого
замыкания и обеспечения гальванической развязки между КРУН-1 и КРУН-2
используется делительный трансформатор ТМ-4000/10. С КРУН-2 отходят фидеры для
питания близлежащих потребителй.
Рис. 1
Описание и характеристики элементов схемы.
Генераторы: ЗГ 9500. Предназначены для выработки
электроэнергии промышленной частоты 50 Гц и напряжением 6,6 кВ.
Рис. 2
Силовые трансформаторы.
Предназначены для повышения напряжения со ступени 6,3 кВ до ступени 110 кВ.
ТДН-10000/110 (Т - трехфазный; Д -
принудительное охлаждение дутьем; Н - регулирование под нагрузкой);
Рис. 3
Трансформаторы напряжения.
Измерительные трансформаторы
напряжения служат для понижения высокого напряжения, подаваемого в установках
переменного тока на измерительные приборы и устройства релейной защиты и
автоматики. Стандартное напряжение вторичной обмотки - 100 В.
НКФ-110 (Н - напряжения, К -
каскадный, Ф - в фарфоровой покрышке);
Рис. 4
- НОМ-6 (Н - напряжения, О -
однофазный, М - с естественным масляным охлаждением);
Рис. 5
ЗНОМ-6 (З - с заземляющим вводом
обмотки высшего напряжения, Н - напряжения, О - однофазный, М - с естественным
масляным охлаждением);
НТМИ-6 (Н - напряжения, Т -
трехфазный, М - с естественным масляным охлаждением, И - контроль изоляции);
Рис. 6
НАМИ-10/6 (Н - напряжения, А -
антирезонансный, М - с естественным масляным охлаждением, И - контроль
изоляции)
Рис. 7
Трансформаторы тока.
Предназначены для преобразования
тока до значения, удобного для измерения. Первичная обмотка трансформатора тока
включается последовательно в цепь с измеряемым переменным током, а во вторичную
включаются измерительные приборы. Стандартное значение тока вторичной обмотки -
5 А.
ТВ-110-300/5-0,5/10Р (Т - тока, В -
встроенный,
= 110 кВ,
= 300 А,
= 5 А, класс
точности: 0,5 - для измерительных приборов, 10 - для реле);
Рис. 8
ТПОЛ-10-1000/5 (Т - тока, П -
проходной, О - одновитковый, Л - с литой изоляцией,
= 10 кВ,
= 1000 А,
= 5 А);
Рис. 9
ТЛМ-10Т-150/5 (Т - тока, Л - с литой
изоляцией, М - модернизированный,
= 10 кВ,
= 150 А,
= 5 А)
Рис. 10
Выключатели масляные.
Предназначены для коммутации и
отключения номинальных токов нагрузки, токов перегрузки и короткого замыкания.
МКП-110 (М - масляный, К - камерный,
П - подстанционный);
Рис. 11
Номинальное напряжение, кВ: 10
Номинальный ток, А: 630 Номинальный
ток отключения, кА: 20
Рис. 12
Разъединители. Высоковольтные
коммутационные аппараты, предназначенные для разъединения и переключения
отдельных участков электрических цепей при отсутствии в них тока; создают
видимый (непосредственно) разрыв электрической цепи.
РВО-6/400 (Р - разъединитель, В -
внутренней установки, О - однополюсный,
= 6 кВ,
= 400 А);
Рис. 13
- РВЗ-10/1000 (Р - разъединитель, В
- внутренней установки, З - с заземляющими ножами,
= 10 кВ,
= 1000 А);
Рис. 14
РЛНД-110/600 (Р - разъединитель, Л -
линейный, Н - наружной установки, Д - двухколонковый,
= 110 кВ,
= 600 А);
Рис .15
Разрядники.
Предназначены для защиты
электрооборудования сетей переменного тока от различных перенапряжений;
представляет собой ряд искровых промежутков (ИП), последовательно с которыми
включены нелинейные сопротивления (т.е. сопротивления, величина которых зависит
от напряжения).
РВВМ-6 (Р - разрядник, В -
вентильный, В - винипластовый, М - с магнитным гашением дуги,
= 6 кВ);
Рис. 16
РВС-110 (Р - разрядник, В -
вентильный, С - станционный,
= 110 кВ);
Рис. 17
Раздел 2. Описание силового
трансформатора ТДН-10000/110
Силовые трансформаторы,
установленные на электростанциях и подстанциях, предназначены для
преобразования электроэнергии с одного напряжения на другое. Наибольшее
распространение получили трехфазные трансформаторы, так как потери в них на
12-15% ниже, а расход активных материалов и стоимость на 20-25% меньше, чем в
группе трех однофазных трансформаторов такой же суммарной мощности.
К основным параметрам трансформатора
относятся номинальные мощность, напряжение, ток, напряжение КЗ; ток XX; потери
XX и КЗ.
Номинальной мощностью трансформатора
называется указанное в заводском паспорте значение полной мощности, на которую
непрерывно может быть нагружен трансформатор в номинальных условиях места
установки и охлаждающей среды при номинальных частоте и напряжении.
2.1 Элементы конструкции
Рис. 18
Магнитопровод.
Магнитопровод, один из самых
важнейших узлов трансформатора, является его магнитной системой, а также служит
конструктивным основанием для установки и крепления обмоток, отводов и других
деталей. Магнитопровод должен обладать жесткостью конструкции, достаточной для
восприятия механических усилий, возникающих в процессе производства,
транспортировки и эксплуатации трансформатора.
Указанные функции магнитопровода
определяют его конструкцию состоящую из: активной части, непосредственно
проводящей магнитный поток, предназначенной для усиления электромагнитной связи
между обмотками трансформатора и неактивной части, придающей магнитопроводу
механическую жесткость и являющейся основанием для установки крепления деталей
узлов трансформатора.
Активную часть магнитопровода
выполняют из электротехнической стали. Отдельные участки активной части
магнитопровода в зависимости от их расположения относительно обмоток
трансформатора условно названы стержнями и ярмами.
Стержнями называют часть магнитной
системы, на которой располагаются обмотки трансформатора. Часть магнитной
системы, не несущей обмоток и служащей для замыкания магитной цепи, называют
ярмами.
По взаимному расположению стержней и
ярм магнитопроводы могут иметь плоское или пространственное исполнение.
К плоским относятся магнитопроводы,
у которых продольные оси расположены в одной плоскости. Эта конструкция
получила самое широкое распространение и долгие годы являлась основной.
Наиболее широко распространен
магнитопровод стержневого типа. Стержни такого магнитопровода располагаются в
трансформаторе, как правило, вертикально. Обмотки стержневого магнитопровода
имеют в основном цилиндрическую форму, в связи с чем поперечное сечение
стержней стремятся приблизить к кругу, образуемого внутренними витками обмотки.
Из-за больших технологических трудностей набора круглого сечения его выполняют
ступенчатой формы, набирая из пакетов различной ширины.
Форма сечения ярма стержневого
магнитопровода, как правило, повторяет форму сечения стерня, за исключением
нескольких крайних пакетов, ширина которых с целью улучшения условий фиксации
ярма увеличена до ширины соседнего внутреннего пакета.
Обмотки.
Обмотка трансформатора представляет
собой часть электрической цепи (первичной и вторичной), в связи с чем она
состоит из:
проводникового материала (обмоточный
провод, медный или алюминиевый);
изоляционных деталей.
В комплект обмотки входят также
вводные концы, ответвления для регулирования напряжения, емкостные кольца и
электростатические экраны емкостной зашиты от перенапряжений.
Непрерывная обмотка применяется
главным образом для крупных трансформаторов. Непрерывная обмотка состоит из
катушек, соединенных между собой последовательно. Катушки наматываются
прямоугольным проводом.
Характерной особенностью непрерывной
обмотки является выполнение так называемых перекладных катушек.
Перекладные катушки сначала
наматываются как обычно, начиная от цилиндра, а затем витки этих катушек
перекладываются в обратном порядке. Для облегчения перекладки натяжку провода
несколько ослабляют, а затем, после перекладки, провод, идущий с барабана,
опять натягивают. Благодаря такому способу намотки соединение катушек между
собой получается без обрыва провода, т.е. без применения паек. Вся обмотка при
этом получается более компактной и благодаря хорошей натяжке проводов
механически более прочной.
Непрерывная обмотка наматывается на
рейки и на бакелитовые цилиндры. Между катушками ставятся прокладки из
электрокартона, создающие каналы для охлаждения обмотки. Эти прокладки
укрепляются на рейках посредством выреза в виде "ласточкина хвоста ".
Бак.
В трансформаторах с масляным
охлаждением магнитопровод с обмотками помещен в бак, наполненный
трансформаторным маслом.
Омывая обмотки и магнитопровод,
трансформаторное масло отбирает от них тепло и, обладая более высокой
теплопроводностью, чем воздух, через стенки бака и трубы радиатора отдает ее в
окружающую среду. Наличие трансформаторного масла обеспечивает более надежную
работу высоковольтных трансформаторов, так как электрическая прочность масла
намного выше, чем воздуха. Масляное охлаждение интенсивнее воздушного, поэтому
габариты и вес масляных трансформаторов меньше, чем у сухих трансформаторов
такой же мощности.
В трансформаторах мощностью до 20-30
кВ*А применяют баки с гладкими стенками. У более мощных трансформаторов для
увеличения охлаждаемой поверхности стенки бака делают ребристыми или же
применяют трубчатые баки.
Масло, нагреваясь, поднимается вверх
и, охлаждаясь, опускается вниз. При этом масло циркулирует в трубах, что
способствует более быстрому его охлаждению.
У трансформаторов классов напряжения
110 кВ и выше для охлаждения применяют радиаторы.
Вводы.
Вводы предназначены для
присоединения обмоток к сборным шинам подстанции. Ввод состоит из трех основных
элементов:
токоведущей части (в виде стержня
или кабеля); к ее нижнему концу, находящемуся в масле в баке трансформатора,
присоединяют соответствующий отвод, соединенный с обмоткой, к ее верхнему
концу, находящемуся в воздухе, присоединяют ошиновку;
металлического фланца, служащего для
крепления к крышке бака;
фарфорового изолятора,
представляющего собой основу изоляционной конструкции ввода. В такой
конструкции присоединение ввода к отводу обмотки производится через люки в баке
трансформатора, что не вполне удобно. В этом отношении более удобны так
называемые "съемные вводы", так как их установку, так же как и снятие
с бака трансформатора, можно производить, не имея люков в баке. Масло,
заполняющее внутреннюю полость вводов напряжением до 35 кВ включительно,
сообщается с маслом трансформатора.
Маслонаполненные вводы 110 кВ и выше
(кроме вводов с твердой изоляцией) имеют собственный объем масла, который не
сообщается с маслом в баке трансформатора. Такие вводы имеют внутреннюю
довольно сложную бумажно-масляную или маслобарьерную в старых конструкциях
изоляцию. Верхняя и нижняя фарфоровые покрышки, стянутые втулкой, образуют
изолированный объем масла и обеспечивают внешнюю изоляцию.
Вводы 110 кВ изготовляют также с
твердой изоляцией. Для компенсации температурных изменений у негерметичных
вводов применяется расширитель с указателем уровня масла, а у герметичных
вводов - компенсирующее сильфонное устройство, помещенное в верхней части ввода
или же в отдельном выносном баке, соединенном трубкой с вводом. Давление во
внутренней полости герметичных вводов контролируется манометром. Расширители
негерметичных вводов имеют воздухоосушители с масляным затвором.
Расширитель
Конструктивно расширитель
представляет собой стальной цилиндрический бак, расположенный горизонтально над
баком и соединенный с ним трубой. Расширитель должен иметь съемное дно или люк
для возможности его окраски внутри и очистки от осадков, выделяющихся из масла.
Расширитель имеет указатель уровня
масла в нем с отметками уровня, соответствующими температуре масла -45, +15,
+40° С при неработающем трансформаторе.
Расширители с пленочной защитой
отличаются большим объемом подготовительных работ. Эластичную емкость перед
установкой в расширитель проверяют на маслоплотность путем заполнения емкости
воздухом до избыточного давления 3 кПА, при этом внешнюю поверхность покрывают
раствором мыльной пены для обнаружения мест утечек. После проверки внешняя
поверхность должна быть тщательно промыта.
Одновременно проверяют на
герметичность расширитель избыточным давлением воздуха 25 кПА. Пленку в
расширитель устанавливают на монтажной (ремонтной) площадке до установки
расширителя на трансформатор.
Расширители снабжаются
воздухоосушителями с масляным затвором. Назначение воздухоосушителя заключается
в извлечении влаги из воздуха, поступающего в расширитель при понижении в нем
уровня масла. Воздух при этом проходит через адсорбент (силикагель) и уже
осушенный поступает в расширитель. Масляный затвор служит для очистки воздуха и
пыли и предохранения адсорбента от увлажнения окружающим воздухом.
2.2 Основные дефекты, повреждения,
возникающие при эксплуатации
Повреждения или отклонения от
нормального режима работы могут быть вызваны различными причинами: недоработкой
конструкции, скрытыми дефектами изготовления, нарушениями правил перевозки,
технологии монтажа или правил эксплуатации, некачественным ремонтом. В
большинстве случаев повреждение происходит не сразу, а после более или менее
длительного воздействия неблагоприятного фактора. Своевременное выявление
возникающего дефекта позволяет принять меры по предупреждению его развития и
сохранению работоспособного состояния трансформатора.
Наиболее распространенным видом
повреждения силовых трансформаторов напряжением 110 кВ и более является
повреждение высоковольтных вводов. В настоящее время эксплуатируются
негерметичные и герметичные маслонаполненные вводы, а также вводы с твердой
изоляцией.
Аналогичное повреждение может
произойти и в том случае, если при ремонте ввода была плохо просушена бумажная
изоляция.
Герметичные вводы менее трудоемки в
эксплуатации и более надежны, чем негерметичные. В первые годы эксплуатации
наблюдались повреждения вводов из-за образования алюминиевой пыли в сильфонах
баков давления.
На устранение этого явления были
направлены мероприятия, предусмотренные директивными материалами. Выполнение
этих мероприятий не освобождает от необходимости продолжать контролировать
характеристики изоляции, сравнивая результаты измерений с данными, полученными
непосредственно после замены выносных баков давления..
Как в негерметичных, так и в
герметичных вводах может иметь место нарушение герметичности в зоне крепления
верхней контактной шпильки.
Нарушение может возникнуть
вследствие неправильной сборки узла, превышения создаваемого гибким спуском
радиального усилия над расчетным значением и т.д. Этот узел находится в самой
верхней точке трансформатора, и избыточное давление масла в нем, особенно в
холодное время (т.е. при минимальном уровне масла в баке-расширителе), близко к
нулю. При неплотностях влага может из атмосферы просачиваться в масло, создавая
увлажнение изоляции трансформатора.
Другим распространенным видом
повреждения трансформаторов является повреждение устройств регулирования
напряжения под нагрузкой (РПН). Нарушения в контактной системе избирателя могут
возникать от неправильной регулировки контактов (недостаточное или чрезмерное
нажатие, перекосы и др.), вследствие образования на контактах пленки окисла при
редких переключениях и несвоевременно выполненных прокрутках устройства, при
нарушениях в кинематической схеме.
Контактор устройства РПН может
повреждаться при неправильной регулировке его контактной системы и
кинематической схемы, а также вследствие несвоевременной замены
трансформаторного масла. Время между срабатыванием вспомогательных и
дугогасящих контактов контактора при переключении исчисляется десятыми долями
секунды. Если масло в контакторе потеряло свои дугогасящие свойства, процесс
гашения дуги затягивается и соседние отпайки (ответвления) регулировочной
обмотки трансформатора могут оказаться замкнутыми не через дугогасящий резистор,
а через электрическую дугу, что приводит к тяжелым авариям с деформацией
обмоток трансформатора.
К повреждениям устройств РПН могут
приводить увлажнение и загрязнение изолирующих деталей, изготовление этих
деталей из материалов, не предусмотренных технической документацией, ослабление
креплений и т.д. Нередки отказы вследствие нарушений в работе приводов.
К наиболее тяжелым последствиям
приводят повреждения обмоток и главной изоляции трансформаторов. Плохо
просушенные электрокартон или витковая бумажная изоляция, грязное или
увлажненное трансформаторное масло вызывают местное ослабление твердой изоляции
с возникновением ползущего разряда или без него с последующим пробоем. К
нарушению работы твердой изоляции приводит также несоблюдение размеров (между листами
электрокартона и др.), разбухание слабо намотанной изоляции, нарушения в работе
системы охлаждения, чрезмерные перегрузки трансформатора по току и напряжению и
др. В связи с разнообразием причин и тяжелыми последствиями от повреждений
витковой и главной изоляции своевременному выявлению этого вида нарушений в
работе трансформаторов уделяется наибольшее внимание.
В связи с постоянным ростом
энергетических мощностей растут мощности короткого замыкания (КЗ). Вследствие
этого роста, а также при ослабленной запрессовке обмоток электродинамическая
стойкость обмоток к воздействию внешних КЗ (называемых также
"сквозными" КЗ) может оказаться недостаточной. В результате при
внешних КЗ обмотка может деформироваться или разрушиться, хотя ее изоляция перед
повреждением находилась в хорошем состоянии.
Повреждения в активной стали
трансформатора приводят к менее тяжелым последствиям и связаны, как правило, с
образованием короткозамкнутых контуров внутри бака. Контур может образоваться
как внутри пакета магнитопровода, так и через какую-либо конструктивную
металлическую деталь, например через прессующее кольцо и элементы заземления
магнитопровода.
При современных бесшпилечных
магнитопроводах короткозамкнутый контур обычно сцеплен не с главным потоком
(замыкающимся только по активной стали), а с потоком рассеяния.
Короткозамкнутый контур вызывает повышенный местный нагрев (местный перегрев),
обычно в местах контактов, ухудшающий свойства трансформаторного масла. Если
своевременно не устранить дефект. то может произойти повреждение твердой
изоляции трансформатора.
И, наконец, существенное влияние на
общую работоспособность трансформатора оказывают вспомогательные узлы и
устройства. Так, например, повреждение маслонасоса в трансформаторах с системой
охлаждения Ц и ДЦ (также НЦ и НДЦ) приводит к попаданию металлических частиц и
других примесей в трансформаторное масло и, будучи несвоевременно выявленным,
вызывает серьезные аварии. При нарушении резиновых и других уплотнений
увлажняется трансформаторное масло. Неисправность стрелочного маслоуказателя
приводит к недопустимому снижению или превышению уровня масла и т.д.
Приведенный краткий обзор основных
видов повреждений показывает, что в большинстве случаев они развиваются
постепенно. Следовательно, если правильно поставить работу по проверке
состояния трансформаторов, возникающие дефекты можно выявить до того момента,
когда будет превышена какая-то критическая точка. Тогда можно будет
своевременно вывести трансформатор в ремонт, предотвратив возникновение аварии
или отказа, не допустить недоотпуск электроэнергии, снизить время и расходы на
ремонт.
Таблица 1 - Характерные повреждения
трансформаторов
|
Элементы
трансформатора
|
Повреждение
|
Возможные
причины
|
|
Обмотки
|
Межвитковое
замыкание
|
Естественное
старение и износ изоляции; систематические перегрузки трансформатора;
динамические усилия при сквозных коротких замыканиях
|
|
Замыкание
на корпус (пробой); междуфазное замыкание
|
Старение
изоляции, увлажнение масла и понижение его уровня; внутренние и внешние
перенапряжения; деформация обмоток вследствие динамических нагрузок при
коротких замыканиях
|
|
Обрыв
цепи
|
Отгорание
отводов обмотки в результате низкого качества соединения или
электродинамических нагрузок при коротких замыканиях
|
|
Переключатели
напряжения
|
Отсутствие
контакта
|
Нарушение
регулировки переключающего устройства
|
|
Оплавление
контактной поверхности
|
Термическое
воздействие сверхтоков на контакт
|
|
Перекрытие
на корпус
|
Трещины
в изоляторах; понижение уровня масла в трансформаторе при одновременном
загрязнении внутренней поверхности изолятора
|
|
Перекрытие
между вводами отдельных фаз
|
Повреждение
изоляции отводов к вводам или переключателю
|
|
Магнитопровод
|
Увеличение
тока холостого хода
|
Ослабление
шихтованного пакета магнитопровода
|
|
«Пожар
стали»
|
Нарушение
изоляции между отдельными пластинами стали или изоляции стяжных болтов;
слабая прессовка пластин; образование короткозамкнутого контура при
повреждении изоляционных прокладок между ярмом и магнитопроводом; образование
короткозамкнутого контура при выполнении заземления магнитопровода со стороны
вдов обмоток ВН и НН
|
|
Бак
и арматура
|
Течь
масла из сварных швов, кранов и фланцевых соединений
|
Нарушение
сварного шва от механических или температурных воздействий; плохо притерта
пробка крана; повреждена прокладка под фланцем
|
Раздел 3. Осмотр электроустановки
Осмотр трансформаторов (без отключения)
производится: в электроустановках с постоянным дежурным персоналом - 1 раз в
сут; в установках без постоянного дежурного персонала - не реже 1 раза в мес, а
на трансформаторных пунктах - не реже 1 раза в 6 мес.
В зависимости от местных условий, конструкции и
состояния трансформаторов указанные сроки их осмотра могут быть изменены лицом,
ответственным за электрохозяйство.
Внеочередные осмотры трансформаторов
производятся: при резком изменении температуры наружного воздуха (при резком
понижении температуры окружающей среды масло может уйти из расширителя) и
каждом отключении трансформатора действием газовой или дифференциальной защиты.
При осмотре трансформаторов должны проверяться:
показания термометров и мановакуумметров; состояние кожухов трансформаторов и
отсутствие течи масла, соответствие уровня масла в расширителе температурной
отметке и наличие масла в маслонаполненных вводах; состояние маслоохлаждающих и
маслосборных устройств, а также изоляторов; состояние ошиновки и кабелей,
отсутствие нагрева контактных соединений; исправность устройств сигнализации и
пробивных предохранителей; состояние сети заземления; маслоочистных устройств
непрерывной регенерации масла, термосифонных фильтров и влагопоглощающих
патронов, а также трансформаторного помещения.
Температуру масла трансформаторов мощностью
менее 100 кВ А контролируют ртутными термометрами. При большей мощности
трансформаторов для этой цели используют манометрические термометры, обладающие
меньшей точностью, чем ртутные. Поэтому время от времени их показания сверяют с
показаниями ртутных термометров.
По действующему ГОСТу температура верхних слоев
масла при максимально допустимой температуре окружающего воздуха (35 °С) не
должна превышать 95 °С, а превышение температуры масла над температурой
окружающей среды не должно быть более 60 °С. Допускается работа силовых
трансформаторов с отключенным дутьем, если температура верхних слоев масла не
превышает 55 °С, а нагрузка трансформатора - 100 % номинальной мощности.
Однако при длительной работе трансформатора с
предельной температурой сокращается срок его службы. Поэтому обычно
устанавливают режим работы трансформаторов, при котором температура масла
поддерживается на уровне 85 °С. Дальнейшее повышение температуры является
признаком перегрузки трансформатора, его неисправности или недостаточного
охлаждения. При работе трансформатора необходимо следить за уровнем и цветом
масла, находящегося в трансформаторе: уровень масла должен находиться на
контрольной черте; масло должно быть светло-желтого цвета.
При выполнении планового осмотра силового
трансформатора в соответствующем порядке проверяется:
Наличие и работоспособность (по косвенным
признакам) термосигнализаторов, маслоуказателей, газового, струйного реле,
отсутствие признаков нарушения их работоспособности, отсутствие газа (воздуха)
в газовом реле.
Состояние механического защитного кожуха и
контрольного кабеля от газового реле.
Уровни масла в расширителях основного бака
трансформатора и контактора, соответствие их температуре воздуха и масла
трансформатора.
Соответствие положения технологических задвижек,
перепускных кранов нормальному режиму работы трансформатора.
Полнота и достаточность мер по предотвращению
хищений трансформаторного масла, деталей и узлов трансформатора.
Отсутствие течей масла.
Состояние маслоприемника, маслостоков,
маслосборника, бортовых ограждений маслоприемника.
Состояние воздухоосушителей (комплектность, цвет
индикаторного силикагеля, наличие масла в масляных затворах).
Состояние маслонаполненных вводов и изоляторов
(отсутствие трещин, сколов, чистота фарфора, уровень давления масла, состояние
воздухоосушителей вводов, отсутствие течей масла).
Состояние ошиновки трансформатора (целостность,
наличие и положение термоиндикаторов, отсутствие нагрева контактных
соединений).
Состояние устройств РПН - зафиксировать
положение переключающего устройства (сравнить с указателем на щите управления),
число переключений, комплектность привода, его работоспособность, уровень масла
в баке контактора (для РПН типа РНТА), состояние арматуры привода.
Состояние заземляющих разъединителей,
короткозамыкателей, конденсаторов, разрядников.
Состояние и работоспособность вентиляторов
обдува трансформатора. Работоспособность автоматики обдува.
Раздел 4. Отключение
электроустановки и вывод её в ремонт
Для вывода силового трансформатора в ремонт
должны быть произведены в указанном порядке следующие действия:
Остановка генератора Г-1;
Отключение выключателя МКП-110 на ОРУ-110
Отключение выключателя ВМПЭ-10 в КРУН-1;
Отключение разъединителя РЛНД-1-110/600 на
ОРУ-110 и включение заземляющих ножей;
Отключение разъединителя РВЗ-1-10/1000 на
силовом кабеле, соединяющем генератор Г-1 с трансформатором Т-1, и включение
заземляющих ножей;
Во избежание обратной трансформации обязательно
отключаются не только силовые, но и измерительные трансформаторы, имеющиеся в
схеме данного присоединения со стороны как низшего, так и высшего напряжения
путем выемки предохранителей или отключением разъединителей с последующим
включением заземляющих ножей.
Раздел 5. Организационные
мероприятия, обеспечивающие безопасность работ в электроустановках
Безопасность проведения работ в электроустановках
но многом зависит от правильной организации работ, от выполнения ряда
организационных мероприятий. К организационным мероприятиям относятся:
-оформление работы нарядом или распоряжением; -допуск к работе; -надзор во
время работы; -оформление перерывов в работе, перевода на другое рабочее место,
окончания работы.
На любую работу, проводимую в электроустановках,
должно быть соответствующее разрешение. Выдача разрешения на проведение работ
фактически может рассматриваться как первый этап. Он обязательно должен
предшествовать проведению любых технических мероприятий и частично
организационных, заканчивающихся допуском бригады к работе.
В самом порядке оформления работ заложен принцип
обеспечения безопасности работающих. Правилами предусматриваются три вида разрешения
(задания) на выполнение работ в электроустановках. Они могут производиться либо
по наряду, либо по распоряжению, либо в порядке текущей эксплуатации. Правила
четко фиксируют, какой вид разрешения необходим для той или иной работы.
Наряд - это письменное задание на работу в
электроустановках, оформленное на бланке установленного образца и опредёляющее
место, объем работы, время начала и окончания работ, условия их безопасного
проведения, состав бригады и пр.
Допуск к работе.
Перед началом работы ответственный руководитель,
производитель работы и допускающий (старший дежурный) вновь проверяют,
выполнены ли все меры безопасности, и только после этого допускающий приступает
к допуску бригады :
проверяет по именным удостоверениям соответствие
состава бригады записям в наряде и квалификацию, - указывают бригаде место
работы и в присутствии бригады доказывает отсутствие напряжения на отключенных
и заземленных токоведущих частях вначале указателем напряжения, а затем
непосредственно прикосновением к ним рукой (в электроустановках напряжением 35
кВ и выше - показом наложенных заземлений) - инструктирует бригаду,
дополнительно разъясняя на рабочем месте состояние установки и возможные
опасности, - указывает расположенные поблизости части оборудования, оставшиеся
под напряжением, - дает разрешение производителю работ начинать работу и
вручает ему наряд.
После допуска производитель работ не имеет права
отлучаться с места работы и оставлять бригаду без надзора. Допуск к работе
производится ежедневно.
Надзор во время работы.
Производитель работ в процессе работы обязан
предотвращать возможные нарушения правил безопасности членами бригады. Если
производителю работ (наблюдающему) нужно отлучиться, то он должен оставить
вместо себя ответственного руководителя или вывести бригаду из помещения
электроустановки и закрыть вход в нее.
При необходимости члены бригады могут ненадолго
отлучаться с места работы. Производитель работы должен проинструктировать их о
пути безопасного передвижения. Оставаться в распределительном устройстве одному
члену бригады и даже производителю работ не разрешается.
Только при работах, по необходимости
производимых в разных помещениях или на разных присоединениях, разрешается
оставаться одному члену бригады с квалификационной группой не ниже 3. Порядок
работы при этом оговаривается в графе наряда « Особые условия».
Перерыв, переход на другое рабочее место,
окончание работы.
Если во время работы наступает перерыв, то вся
бригада обязана покинуть электроустановку и запереть вход в нее. Наряд остается
у производителя работ или наблюдающего. Без производителя работ или
наблюдающего никому из работающих приходить к месту работы не разрешается.
После окончания перерыва производитель работ или наблюдающий собирает бригаду,
сопровождает ее к месту работы и допускает к работе. Если перерыв в работе
вызван необходимостью пробного включения напряжения, все члены бригады покидают
электроустановку. Производитель работы сдает наряд. Бригада допускается к
работе после пробного включения заново.
При переходе на другое рабочее место ремонтной
бригады дежурный заново производит допуск.
Все переходы отмечаются в наряде.
На работу в разных местах или на разных этажах
одного электрического присоединения может быть выдан один наряд. В этих случаях
дежурный подготавливает все рабочие места, но допускает только на одно рабочее
место. При переходе ремонтной бригады на другое рабочее место дежурный заново
производит допуск.
По окончании работы (работа считается полностью
законченной) после уборки рабочих мест) ответственный руководитель осматривает
участок, удаляет бригаду с места работы и сдает наряд дежурному.
Дежурный проверяет состояние рабочих мест, после
чего закрывает наряд и подготавливает оборудование к включению, для этого он
отключает заземляющие ножи, снимает переносные заземления и проверяет в месте
хранения, все ли переносные заземления в наличие для того, чтобы на
присоединении, предназначенном для включения, не оставить забытых заземлений.
Раздел 6. Технические мероприятия,
обеспечивающие безопасность работ в электроустановках
Технические мероприятия, обеспечивающие
безопасность работ в электроустановках, выполняют в следующем порядке:
. Отключают напряжение и принимают меры,
исключающие его ошибочную подачу к месту работы: включают блокировку, ставят
механический запор на привод разъединителя, рубильника, снимают предохранители,
устанавливают временные ограждения, 2. Вывешивают предупредительные плакаты на
коммутационной аппаратуре, на постоянных и временных ограждениях, 3. К
заземляющему устройству присоединяют зажим переносного заземления, 4.
Проверяют, есть ли напряжение на отключенной для работы части установки, если
его нет, то немедленно накладывают на токоведущие части установки переносное
заземление. 5. на месте работы вывешивают плакат « Работать здесь».
Эти мероприятия выполняет дежурный персонал,
обслуживающий электроустановку.
Отключение напряжения - на месте работы
отключают оборудование, которое подлежит ремонту и те токоведущие части, к
которым при работе можно приблизиться на опасное расстояние или случайно
прикоснуться.
Отключенный участок отделяют со всех сторон
откуда может быть подано напряжение, видимым разрывом, создаваемым
разъединителями, рубильником, снятыми перемычками.
Работать на оборудовании, отделенном только
выключателем, не разрешается. Во избежание обратной трансформации со стороны
низшего напряжения силовые и измерительные трансформаторы отключают как от
высокого, так и от среднего и низшего напряжения.
Приводы разъединителей с ручным управлением
механически запирают навесным замком, специальным болтом или штифтом для
предупреждения их ошибочного или самопроизвольного включения. На приводах с
пневматическим управлением запирают вентиль подвода воздуха. В
электроустановках напряжением до 1000 В напряжение отключается коммутационными аппаратами
с ручным управлением.
Ограждение места работ и вывешивание плакатов.
Если расположенные вблизи места работ
токоведущие части не могут быть отключены, их надежно ограждают. Расстояние от
ограждения до токоведущей части, как правило, должно соответствовать
допустимому расстоянию в метрах в зависимости от напряжения в кВ токоведущих
частей: до 15 кВ - 0,7 м выше 15 до 35 кВ - 1,0 м выше 35 до 110 кВ - 1,5 м
В электроустановках напряжением до 1000 В
допускается не отключать допустимые прикосновению токоведущие части, если они
будут ограждены накладками из изолирующих материалов.
На временных ограждениях участка ремонтных работ
и на постоянных ограждениях соседних ячеек вывешиваются плакаты «Стой - высокое
напряжение».
На открытых подстанциях участок для ремонтных
работ выделяют с помощью каната, натягиваемого по периметру участка. На канате
закрепляют плакаты «Стой - высокое напряжение», обращая их внутрь, к месту
работы.
Если работы ведутся на высоте, то на
конструкции, на которой поднимаются к месту работы, вывешивают плакат «Влезать
здесь», а на соседних - «Не влезать - убьет». На месте работы вывешивают плакат
«Работать здесь».
Временные ограждения и плакаты запрещено
переставлять или убирать.
Вывешивать и снимать плакаты разрешается только
оперативному персоналу, осуществляющему подготовку рабочего места.
Чтобы исключить случайную или ошибочную подачу
напряжения на отключенное оборудование, на всех ключах управления и приводах
выключателей, разъединителей, рубильников вывешивают плакаты « Не включать -
работают люди».
Если отключения произведены для подготовки
работы на линии электропередачи, то вешают плакаты «Не включать - работа на
линии».
Проверка отсутствия напряжения.
После того, как напряжение отключено, необходимо
убедиться, что напряжение отсутствует, затем немедленно заземлить отключенные
токоведущие части. Для этого у места работ снимают постоянные ограждения
Переносное заземление присоединяют одним концом к шине заземляющего контура
(его свободные концы будут присоединены к токоведущей части после того как
удостоверятся в том, что напряжения на ней нет).
Отсутствие напряжения проверяют специальным
указателем.
Наложение и снятие заземлений.
После проверки отсутствия напряжения заземляют и
соединяют накоротко фазы тех токоведущих частей, на которых будут работать или
от которых может быть подано напряжение. Заземления накладывают со всех сторон,
откуда может быть подано напряжение, так чтобы отключенный для работы участок
находился между ними. Этим обеспечивается наиболее надежная защита работающих
от случайного появления напряжения.
В ячейке отходящей линии заземления ставят не
только со стороны шин, но и на ножах линейных разъединителей.
Переносные заземления, как правило,
устанавливают двумя работниками, один из которых должен иметь 4 квалификационную
группу. При единоличном оперативном обслуживании электроустановки одному
дежурному разрешается включение стационарных заземляющих ножей, а также
наложение переносных заземлений в установках напряжением до 1000 В.
В ПТЭЭП и ПТБ при ЭЭП и составленных на их
основе производственных инструкций детально указаны способы выполнения каждой
из возможных работ и условие, без наличия которых они не могут производиться.
Этот порядок организации работ, принятый на электроустановках, продиктован
опытом работы и там, где он соблюдается полностью, поражение электрическим
током - редкий случай.
НАРЯД-ДОПУСК № для работы в электроустановках
|
Ответственному
руководителю работ
|
|
допускающему
|
|
|
(фамилия,
инициалы)
|
|
(фамилия,
инициалы)
|
|
производителю
работ
|
|
наблюдающему
|
|
|
(фамилия,
инициалы)
|
|
(фамилия,
инициалы)
|
|
с
членами бригады
|
|
|
(фамилия,
инициалы, группа)
|
|
|
поручается
|
.
|
|
|
Работу
начать: дата
|
|
время
|
|
Работу
закончить: дата
|
|
время
|
|
|
|
|
|
|
|
|
|
|
|
|
|
|
|
|
Меры по подготовке рабочих мест
|
Наименование
электроустановок, в которых нужно провести отключения и установить заземления
|
Что
должно быть отключено и где заземлено
|
|
|
|
|
|
отдельные
указания
|
|
|
|
Наряд
выдал: дата
|
|
Подпись
|
|
Фамилия,
инициалы
|
|
|
Наряд
продлил по: дата
|
|
время
|
|
Подпись
|
|
Фамилия,
инициалы
|
|
|
|
|
|
|
|
|
|
|
|
Регистрация целевого инструктажа, проводимого
выдающим наряд
|
Целевой
инструктаж провёл
|
Целевой
инструктаж получил
|
|
Работник,
выдавший наряд
|
|
|
|
Ответственный
руководитель работ (производитель работ, наблюдающий
|
|
|
|
|
|
(фамилия,
инициалы)
|
|
|
|
(фамилия,
инициалы)
|
|
|
|
(подпись)
|
|
|
|
(подпись)
|
|
Разрешение на подготовку рабочих мест и на
допуск к выполнению работ
|
Разрешение
на подготовку рабочих мест и на допуск к выполнению работ выдал (должность,
фамилия или подпись)
|
Дата,
время
|
Подпись
работника, получившего разрешение на подготовку рабочих мест и на допуск к
выполнению работ
|
|
|
|
|
Рабочие
места подготовлены. Под напряжением остались:
|
|
|
|
|
|
|
Целевой
инструктаж провёл
|
Целевой
инструктаж получил
|
|
Допускающий
|
|
|
|
Ответственный
руководитель работ производитель работ, (наблюдающий), члены бригады
|
|
|
|
|
|
(фамилия,
инициалы)
|
|
|
|
(фамилия,
инициалы) (подпись)
|
|
|
|
|
|
|
|
|
|
|
|
(подпись)
|
|
|
|
|
|
|
|
|
|
|
|
|
|
|
|
|
|
|
|
|
|
|
|
|
|
|
|
|
|
|
|
|
|
|
|
|
|
|
|
|
|
|
|
|
|
Регистрация целевого инструктажа, проводимого
допускающим при первичном допуске
Ежедневный допуск к работе и время её окончания
|
Бригада
получила целевой инструктаж и допущена на подготовленное рабочее место
|
Работа
закончена, бригада удалена
|
|
Наименование
рабочего места
|
Дата,
время
|
Подписи
(подпись) (фамилия, инициалы)
|
Дата,
время
|
Подпись
производителя работ (наблюдающего) (подпись) (фамилия, инициалы)
|
|
|
допускающего
|
производителя
работ (наблюдающего)
|
|
|
|
|
|
|
|
|
Регистрация целевого инструктажа, проводимого
ответственным руководителем работ
|
Целевой
инструктаж провёл
|
Целевой
инструктаж получил
|
|
Ответственный
руководитель работ (производитель работ, наблюдающий)
|
|
|
|
Члены
бригады
|
|
|
|
|
|
(фамилия,
инициалы)
|
|
|
|
(фамилия,
инициалы) (подпись)
|
|
|
|
|
|
|
|
|
|
|
|
(подпись)
|
|
|
|
|
|
|
|
|
|
|
|
|
|
(производителем работ, наблюдающим)
Изменения в составе бригады
|
Введен
в состав бригады (фамилия, инициалы, группа)
|
Выведен
из состава бригады (фамилия, инициалы, группа)
|
Дата,
время (дата) (время)
|
Разрешил
(подпись) (фамилия, инициалы)
|
|
|
|
|
|
|
|
|
|
Работа
полностью закончена, бригада удалена, заземления, установленные бригадой,
сняты, сообщено (кому)
|
|
|
Дата
|
|
Время
|
|
|
(должность)
|
(фамилия,
инициалы)
|
|
|
|
|
|
|
|
|
|
|
Раздел 8. Ремонт электрооборудования
Капитальный ремонт трансформатора без разборки
его активной части включает в себя следующие стадии работ: разборку
вспомогательного оборудования; подъем съемной части бака (колокола) или крышки
и активной части (у трансформаторов с верхним разъемом бака) и установку их на
ремонтной площадке; осмотр и ремонт активной части; осмотр и ремонт
вспомогательного оборудования; контрольную подсушку или сушку изоляции активной
части; испытания.
Разборка вспомогательного оборудования. Перед
разборкой трансформатор осматривают снаружи, выясняют, какие неисправности
наблюдались в работе, проверяют работу систем охлаждения и устройств
переключения ответвлений обмоток; осматривают арматуру, сварные швы, армировку
изоляторов, уплотнения и составляют опись внешних дефектов. Затем измеряют
изоляционные характеристики, проводят сокращенный анализ масла из бака. Потом
сливают масло из бака с подсосом воздуха через осушитель.
После выполнения указанных работ демонтируют
приборы контроля, устройства защиты, автоматики и управления системой
охлаждения. Снятые приборы сдают в лабораторию на проверку.
Далее снимают расширитель, предохранительную
трубу, термосифонный фильтр и охладители. Отсоединяют и снимают с помощью
специальных траверс маслонаполненные вводы ВН и вводы НН. Перед снятием вводы
НН отсоединяют от гибких отводов через люки.
Подъем съемной части. Перед подъемом съемной
части равномерно ослабляют и снимают болты по всему периметру разъема бака.
Освобождают распорные болты между баком и активной частью. Выполняют строповку
крышки бака или колокола, приподнимают их с помощью лебедки или крана и
устанавливают на ремонтной площадке. У мощных трансформаторов с нижним разъемом
активная часть обнажается при снятии колокола. Для ремонта она, как правило,
остается на поддоне. У трансформаторов, баки которых имеют верхний разъем,
активная часть вынимается из бака и устанавливается на ремонтной площадке.
Осмотр и ремонт активной части. При ремонте
проверяется состояние изоляции обмоток, прессующих деталей обмоток, отводов и
болтовых соединений, изоляционных цилиндров, барьеров и перегородок;
магнитопровода и его заземления, изоляции стяжных шпилек, прессующих колец
ярмовых балок и бандажей; переключателя ответвлений обмоток.
Для осмотра обмоток и магнитопровода
трансформатора необходимо прежде всего демонтировать изоляционные перегородки и
другие элементы его главной изоляции. При снятии перегородок следует проверить,
не касаются ли они обмоток и отводов, а также нет ли следов электрических
разрядов между ними. Главную изоляцию проверяют внешним осмотром и считают ее
пригодной для дальнейшей эксплуатации, если электрокартон не хрупок и при
сгибании вдвое не ломается. Бакелитовые цилиндры осматривают и проверяют, нет
ли на их поверхности трещин, следов разряда, не расслаиваются ли они.
Поврежденные цилиндры заменяют новыми.
При осмотре изоляции обмоток проверяют, не имеет
ли она повреждений, разбуханий, и определяют ее механическую прочность. При
обнаружении преждевременного старения изоляции (хрупкость, потеря эластичности)
выясняют причины этого явления и принимают меры к их устранению. При осмотре
прессующих деталей (брусьев, шайб, колец) проверяют их состояние и
достаточность прессовки обмоток. Важно установить отсутствие деформации и
смещения обмоток, что может быть результатом слабой прессовки. При
необходимости обмотки подпрессовывают с помощью изоляционных брусьев и клиньев.
При осмотре отводов проверяют состояние их
изоляции, паек и контактов, а также крепящих отводы изоляционных деталей.
Разъемные контакты отводов разбирают и зачищают. Паяные контакты, имеющие
дефекты, переделывают заново. Нарушенную изоляцию контактов заменяют новой.
Магнитопровод осматривают во всех доступных для
осмотра местах. При этом проверяют плотность сборки пакетов стали, отсутствие
следов нагрева, целость заземления и соединений прессующих колец и ярмовых
балок с магнитопроводом. Степень прессовки стали магнитопровода проверяют
специальным ключом путем приложения к гайкам прессующих шпилек нормированных
усилий.
Состояние изоляции листов стали проверяют
измерением сопротивления постоянному току лаковой пленки пакетов стали и всего
магнитопровода.
Сопротивление изоляции стяжных шпилек,
прессующих колец и ярмовых балок проверяют мегаомметром на 1000- 2500 В.
Сопротивление изоляции при этом не нормируется, устанавливается лишь отсутствие
замыканий.
У трансформаторов, снабженных устройствами РПН,
проверяют исправность всех механизмов переключателя: валов, шестерен, кулачков
сцепления и пр. Обращается внимание на отсутствие люфтов в кинематической схеме
привода.
В процессе ремонта переключающего устройства
измеряют переходное сопротивление его контактов и силу контактного нажатия.
Переходное сопротивление одного контакта, измеренное микроомметром, не должно
выходить за пределы 10-20 мкОм. Силу контактного нажатия измеряют динамометром,
с помощью которого оттягивают подвижный контакт до тех пор, пока не выпадет
контрольный щуп, зажатый между контактами. Результаты измерений сравнивают с
паспортными данными.
После тщательного осмотра, проверки и устранения
всех выявленных дефектов и повреждений активная часть трансформатора
промывается струей сухого горячего (60 °С) масла той же марки, которым
трансформатор был заполнен до ремонта.
Осмотр и ремонт отдельных узлов и
вспомогательного оборудования. К осмотру и ремонту бака и его арматуры
приступают непосредственно после снятия колокола или выемки из бака активной
части. Наружную поверхность бака и крышки очищают от грязи, устраняют места
течи масла, заменяют уплотнения, восстанавливают поврежденную окраску
поверхности бака.
При ремонте расширителя и выхлопной трубы
выявляют и устраняют места течи масла в сварных швах. Осмотр внутренней
поверхности расширителя производят через боковые люки. При этом стенки
расширителя, отстойник и маслоуказатель очищают от загрязнений и промывают
горячим маслом. Заменяют все дефектные уплотнения. Проверяют целость мембраны
выхлопной трубы и качество ее уплотнения.
Термосифонные и адсорбционные фильтры проверяют
на отсутствие течи масла (при необходимости ремонтируют), очищают и заполняют
свежим высушенным адсорбентом. Воздухоосушитель также очищают, проверяют
исправность масляного затвора, заменяют основной и индикаторный силикагель.
Навесные радиаторы у трансформаторов с системой
охлаждения Д очищают, ремонтируют и промывают горячим маслом.
Циркуляционные насосы, вентиляторы и их
электродвигатели полностью разбирают, осматривают и заменяют износившиеся
детали (подшипники, рабочие колеса и пр.). У электродвигателей проверяют
состояние обмоток, паек, креплений. Мегаомметром на 500 В измеряют значение
сопротивления изоляции (допустимое значение не менее 0,5 МОм). Вентиляторы
дутья вместе с электродвигателями балансируют (значение вибрации должно быть не
более 60 мкм).
Маслонаполненные и фарфоровые вводы очищают и
осматривают для выявления трещин в фарфоре, проверки креплений, контактов,
надежности уплотнений. В маслонаполненных вводах заменяют масло. Ремонтные
работы, связанные с разборкой вводов, проводят в специализированных мастерских.
Сборка трансформатора после ремонта. После
выполнения ремонтных работ активную часть трансформатора, имеющего верхний
разъем, поднимают и опускают в бак. Затем устанавливают резиновые прокладки и
крышку бака. У трансформаторов с нижним разъемом устанавливают на поддон
съемную часть - колокол. Разъем равномерно стягивают болтами. Активную часть
раскрепляют внутри бака. После этого устанавливают вводы и соединяют их с
отводами от обмоток. Устанавливают газоотводные трубы. Расширитель и выхлопную
трубу пока не устанавливают, их люки и все отверстия в съемной части бака
плотно закрывают заглушками.
Собранный таким образом трансформатор проверяют
на герметичность путем создания в баке разрежения. Проверкой выявляется
качество сварных швов и уплотнений. Чтобы не повредились покрышки вводов при
создании вакуума в трансформаторе, их до начала проверки соединяют временными
резиновыми шлангами с вакуумным пространством бака. Трансформатор считают
герметичным, если не будет выявлено никаких дефектов и значительного изменения
первоначального значения разрежения в течении 1 ч.
Трансформатор выдерживают под вакуумом от 6 до
10 ч. Затем при работающем вакуумном насосе бак трансформатора заполняют сухим
при температуре 50-60 °С маслом до уровня на 150-200 мм ниже уровня крышки.
Вакуум в трансформаторе снимают постепенной подачей воздуха в пространство над
маслом через силикагелевый (цеолитовый) воздухоосушитель.
После заполнения трансформатора маслом проводят
его окончательную сборку: устанавливают расширитель и выхлопную трубу,
контрольно-сигнальные устройства; монтируют систему охлаждения и термосифонные
фильтры. Затем в трансформатор доливают масло до уровня, соответствующего
температуре окружающего воздуха.
На полностью собранном и залитом маслом
трансформаторе с регулированием напряжения над нагрузкой проверяют работу
переключающего устройства. Для этого у устройств серии РНТ снимают круговую
диаграмму, а у быстродействующих устройств серий РНОА и РНТА процесс работы
контактора еще и осциллографируют. Последовательность действия контактов
проверяют при медленном повороте выходного вала приводного механизма на 360°
(отсюда название - круговая диаграмма).

Рис. 19
Схема для снятия круговой диаграммы
переключающего устройства серии РНОА (а) и круговая диаграмма переключающего
устройства типа РНОА-110/1000 (б):
К1 - контактор нечетных ступеней; К2
- то же четных ступеней; П1 - переключатель (избиратель) нечетных ступеней; П2
- то же четных ступеней; Л1 и Л2 - лампы; В - источник постоянного тока; R1 и
R2- резисторы; РО - регулировочная обмотка; заштрихованная ча.сть диаграммы -
контакт замкнут, незаштрихо-ванная - контакт разомкнут; а - угол - интервал
между работой переключателя и контактора - не менее 45°
Для снятия круговой диаграммы,
например, устройства серии РНОА открывают люк контактора и к неподвижным
контактам присоединяют провода от ламп Л1 и Л2 . Питание на схему подают от
батареи 6-24 В. Вручную вращая рукоятку привода переключающего устройства, по
загоранию и погасанию ламп фиксируют моменты замыкания и размыкания контактов;
одновременно по лимбу (со шкалой от 0 до 360° и ценой деления 1°),
прикрепленному к крышке привода, замечают углы поворота вала. Для каждого
устройства серии РНОА заводом рекомендуется снимать круговую диаграмму в
определенном диапазоне положений при работе устройства в обе стороны. Круговую
диаграмму строят по значениям углов срабатывания контактов. Правильность работы
переключающего устройства оценивают сравнением полученных углов с заводскими
данными.
После снятия круговой диаграммы
процесс переключения осциллографируют для установления очередности и времени
срабатывания контактов контактора.
В заключение для определения
плотности всех соединений и сварных швов трансформатор в течение 3 ч испытывают
избыточным давлением столба масла высотой 0,6 м над высшим уровнем масла в
расширителе.
Контрольная подсушка и сушка
трансформаторов. Контрольная подсушка и сушка изоляции трансформаторов,
вводимых в работу после ремонта, проводится на ремонтной площадке:
Контрольная подсушка проводится в
тех случаях, когда продолжительность пребывания активной части на воздухе не
превысила допустимой и нет оснований предполагать, что изоляция значительно
увлажнена. Подсушка заключается в прогреве активной части (циркуляцией масла
через электронагреватели, токами КЗ, с помощью паровых нагревателей и другими
способами) в масле с температурой в верхних слоях 80°С. В процессе такого
прогрева периодически измеряются характеристики изоляции. Прогрев прекращается,
когда характеристики изоляции будут отвечать требованиям норм, но не раньше чем
через 24 ч, не считая времени нагрева до 80°С. Продолжительность контрольного
прогрева не более 48 ч. Если за это время характеристики изоляции не достигнут
требуемых значений, трансформатор подлежит сушке.
Сушка изоляции трансформаторов
состоит в том, что искусственно создаются условия; при которых влага
перемещается из внутренних слоев изоляции к поверхности и с поверхности в
окружающую среду. Перемещение влаги внутри материала происходит в соответствии
с физическими законами от более влажных слоев к менее влажным и от более
нагретых к менее нагретым. Перемещение влаги с поверхности изоляции в
окружающую среду происходит под действием разности давлений пара на поверхности
изоляционного материала и в окружающей среде. Таким образом, в процессе сушки
необходимо повышать давление пара у поверхности материала, что достигается его
нагревом, и понижать давление в окружающем пространстве путем создания вакуума
или вентиляции сушильного пространства сухим воздухом. При сушке изоляции сухим
воздухом активную часть трансформатора помещают в хорошо утепленную и
защищенную изнутри от возгорания камеру.
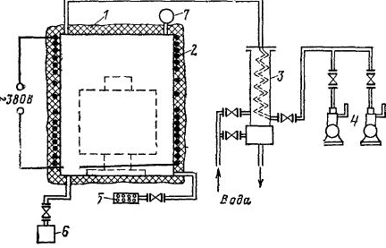
Рис. 20 - Сушка трансформатора в камере при
помощи воздуходувки: 1 - вентилятор; 2 - нагреватель; 3 - искроуловитель; 4 -
утепленная камера; 5 - регулировочный шибер; 6 - термометры; 7 - термопары на
обмотке
Сухой воздух в камеру подается от воздуходувки и
удаляется через вытяжное отверстие, унося с собой пары воды. Температура
входящего в камеру воздуха должна быть не выше 105 и выходящего не ниже 80-90
°С. Контроль за температурой ведется по термометрам. Количество воздуха,
подаваемого в камеру за i мин, должно быть в 1,5 раза больше объема камеры.
Наибольшее распространение в эксплуатации
получил индукционный способ сушки активной части в своем баке под вакуумом за
счет тепла, выделяющегося в стенках бака от вихревых токов. Вихревые токи
индуктируются специальной намагничивающей обмоткой, наматываемой на бак
трансформатора.
Для сушки активную часть опускают в совершенно
сухой бак; в различных местах активной части устанавливают термопары и
терморезисторы; крышку и все отверстия в баке тщательно уплотняют; стенки бака
утепляют стеклотканью; снаружи под теплоизоляцией устанавливают термометры.
Индукционную обмотку наматывают на бак с таким расчетом, чтобы в нижней части
находилось 60-65% общего числа витков, а остальные - в верхней части. Такое
расположение обмотки обеспечивает равномерный нагрев активной части. Питание
индукционной обмотки осуществляют от трансформатора мощностью 560-1000 кВ-А,
напряжением 380 В. Дно бака прогревают электрическими печами. Время нагрева
активной части до температуры 100-105 °С зависит от ее размеров, массы и класса
изоляции.
Рис. 21 - Схема сушки трансформатора в своем
баке под вакуумом
Для трансформаторов 110 кВ оно составляет 30-40
ч.
После проверки работы вакуумной системы подают
напряжение на индукционную обмотку 2, включают печи донного подогрева и
температуру в баке доводят до 100°С. Затем включают вакуумные насосы 4 и
открывают кран, через который в нижнюю часть бака подсасывается горячий воздух,
забираемый из поддонного пространства через фильтр 5. Для ускорения сушки режим
нагрева чередуют со снятием вакуума и быстрым охлаждением верхних слоев
изоляции, чтобы создать перепад температур между внутренними и внешними слоями
изоляции. Контроль за сушкой ведется непрерывно. Каждый час записывают
показания термометров и вакуумметра 7, производят измерения сопротивления
изоляции мегаомметром на 2500 В. Сушка считается законченной, если
устанавливается постоянное значение сопротивления изоляции и тангенса угла
диэлектрических потерь при неизменной температуре, а также прекращается
выделение влаги в охладительной колонке. После этого нагрев прекращают,
температуру в баке понижают до 80-85 °С и трансформатор заполняют сухим маслом
под вакуумом. Через 6-10 ч, когда изоляция пропитается маслом, активную часть
вскрывают для осмотра и подпрессовки обмоток, так как изоляция при сушке
усыхает.
Раздел 9. Ввод электроустановки в
работу
трансформатор ремонт
электроустановка
После ремонтных и монтажных трансформатор
вводится в работу осуществлением следующих переключений:
Включение цепей измерительных трансформаторов;
Включение разъединителей РЛНД-110, РВЗ-10,
отключение заземляющих ножей;
Включение выключателя ВМПЭ-10.
Пуск генератора Г-1.
Включение выключателя МКП-110 при достижении
синхронизма генератора с сетью.
Список литературы
1.
«Межотраслевые правила по охране труда (правила безопасности) при эксплуатации
электроустановок», Москва, «НЦ ЭНАС», 2007 г.
.
С.И. Лезнов, А.А. Тайц, Е.Н. Приклонский «Обслуживание электрооборудования
электростанций и подстанций», Москва, «Высшая школа», 1995 г.
.
А.А. Филатов «Обслуживание электрических подстанций оперативным персоналом»,
Москва, Издательство «Энергоатомиздат», 1999 г.
.
А.А. Филатов «Переключения в электроустановках 0,4 - 10 кВ распределительных
сетей», Москва, Издательство «Энергоатомиздат», 1999 г.
.
В.Б. Атабеков «Устройство и ремонт электрооборудования городских подстанций»,
Москва, Издательство «Высшая школа», 1993 г.
.
П.А. Умов «Обслуживание городских электросетей».
.
В.Н. Неклепаев, И.П. Крючков «Электрическая часть электростанций и подстанций»,
Москва, Издательство «Энергоатомиздат», 1989 г.
.
«Правила технической эксплуатации электроустановок потребителей», Москва, 2005
г.
.
С.А. Мандрыкин, А.А. Филатов «Эксплуатация и ремонт электрооборудования
электростанций и сетей», Москва, Издательство «Энергоатомиздат», 1992 г.
.
Э.М. Брусиловский, В.В. Петунин «Эксплуатация систем электроснабжения», Москва,
Издательство, 1993 г.
.
Правила устройства электроустановок, М., 2007г., 7-е издание.
.
«Типовая инструкция по переключениям в электроустановках», М. Издательство «НЦ
ЭНАС», 2008 г.