Проект электромеханического привода передвижения тележки

  • Вид работы:
    Дипломная (ВКР)
  • Предмет:
    Другое
  • Язык:
    Русский
    ,
    Формат файла:
    MS Word
    758,99 kb
  • Опубликовано:
    2011-11-16
Вы можете узнать стоимость помощи в написании студенческой работы.
Помощь в написании работы, которую точно примут!

Проект электромеханического привода передвижения тележки

Міністерство транспорту та зв’язку України

Дніпропетровський національний університет

залізничного транспорту імені академіка В.А. Лазаряна

Кафедра: «Прикладна механіка»









РОЗРАХУНКОВО-ПОЯСНЮВАЛЬНА ЗАПИСКА ДО

КУРСОВОГО ПРОЕКТУ З ДИСЦИПЛИНИ "ДЕТАЛІ МАШИН"

ЕЛЕКТРОМЕХАНІЧНИЙ ПРИВІД ПЕРЕСУВАННЯ ВІЗКА

Виконав:

студент групи 330-л

Горбань Р.Ю.

Прийняв: Анофріев П.Г.



Дніпропетровськ 2010

ОГЛАВЛЕНИЕ

1. ИСХОДНЫЕ ДАННЫЕ НА ПРОЭКТИРОВАНИЕ

. КИНЕМАТИЧЕСКИЙ РАСЧЕТ ПРИВОДА И ВЫБОР ЭЛЕКТРОДВИГАТЕЛЯ

. РАСЧЕТ ТИХОХОДНОЙ СТУПЕНИ РЕДУКТОРА

. РАСЧЕТ БЫСТРОХОДНОЙ СТУПЕНИ РЕДУКТОРА

. ПРЕДВАРИТЕЛЬНЫЙ РАСЧЕТ И КОНСТРУИРОВАНИЕ ВАЛОВ

. ЭСКИЗНАЯ КОМПОНОВКА

. РАСЧЕТ РЕАКЦИЙ НА ВАЛАХ

. ВЫБОР ПОДШИПНИКОВ КАЧЕНИЯ

. ВЫБОР И ПРОВЕРКА ШПОНОК

. РАСЧЕТ ВАЛА НА ВЫНОСЛИВОСТЬ

. РАСЧЕТ ЭЛЕМЕНТОВ КОРПУСА РЕДУКТОРА

. СМАЗКА РЕДУКТОРА

Список литературы

1. ИСХОДНЫЕ ДАННЫЕ НА ПРОЭКТИРОВАНИЕ

 

Спроектировать электромеханический привод передвижения тележки для подачи в ремонт и выкатки из ремонта дизелей локомотива.

Привод - с двухступенчастым цилиндрическим зубчатым редуктором и открытой зубчатой передачей; нагрузка постоянная; режим работы в две смены; привод - с реверсированием. Температура в зоне расположения привода: -250С до +350С. Строк службы редуктора - 15 лет; подшипников не менее 20000 часов. Электродвигатель и редуктор размещаются на съемной площадке. Заданы параметры: сопротивление передвижения тележки Q=16000 Н; скорость передвижения V=0,3 м/с; диаметр колес тележки D=950 мм.

Рис. 1. Электромеханический привод передвижения тележки

 

. КИНЕМАТИЧЕСКИЙ РАСЧЕТ ПРИВОДА И ВЫБОР ЭЛЕКТРОДВИГАТЕЛЯ


Мощность на выходе привода:

 кВт.

Общий КПД привода:

,

где ,, - КПД зубчатой передачи соответственно первой, второй и третей ступеней;

; ;

 - КПД муфты;

 - КПД пары подшипников.

Потребляемая мощность электродвигателя:

 кВт.

Выбираем электродвигатель типа 132М8/720 [табл. 18.36] с: Р=5,5 кВт; n=720 об/мин. Характеристики двигателя сводим в таблицу 1.

Таблица 1

Тип двигателя

Мощность, кВт.

Частота вращения, об/мин

1

2

3

132М8/720

5,5

720


Частота вращения выходного вала привода (колеса тележки):

 об/мин.

Общее передаточное отношение привода:


Принимаем стандартные значения передаточных чисел:

=5 - передаточное отношение быстроходной ступени;

=4 - передаточное отношение тихоходной передачи;

=6,3 - передаточное отношение открытой передачи.

Уточняем общее передаточное число привода:

.

Фактическая частота вращения валов:

выходной вал привода:


тихоходный вал:


промежуточный вал:


Угловые скорости валов:

тихоходный вал:


быстроходный вал:


промежуточный вал:


Вращательный момент на валах:

на тихоходном валу:


на быстроходном валу:


на промежуточном валу:


Данные расчета сведем в таблицу 2.

Таблица 2 Сводная таблица кинематических параметров


Частота вращения, об/мин

Угловая скорость, С-1

Вращательный момент, Нм

1

2

3

4

Быстроходный вал

720

75,36

65

Промежуточный вал

144

15

301

Тихоходный вал

36

3,77

1148

 

. РАСЧЕТ ТИХОХОДНОЙ СТУПЕНИ РЕДУКТОРА


Исходные данные:

Вращательный момент - Т3=1148 Нм;

Передаточное число - U2=4;

Угловая скорость колеса - ω3=3,77 с-1;

Строк службы передачи - LH=20000 час.

Колесо и шестерню изготавливаем из стали 40Х. Термообработка: колесо - улучшение НВ=269-302; шестерня - улучшение и закалка ТВЧ HRC=48-53.

Допускаемые напряжения.

Число циклов переменных напряжений:

для колеса

3=573·ω3·LН=573·3,77·20000=43,2·106 циклов;

для шестерни:

2=N3·U2=4·43,2·106=172·106циклов.

Число циклов перемены напряжения, соответствующая пределу контактной выносливости, определяем по графику [ст. 11 рис.2.1 (1)]:

для колеса - НВср=285, NНО=21·106,

для шестерни - HRCср=50, NНО=82·106.

Коэффициент долговечности при расчете по контактным напряжениям:

для колеса:

;

.

для шестерни:

;

.

Принимаем: КHL.3FL.3HL.2FL.2=1.

Допускаемые контактные напряжения и напряжения изгиба, соответствующие числу циклов NНО и N:

для колеса:

 МПа;

 МПа.

для шестерни:

 МПа;

 МПа.

Допускаемые контактные напряжения и напряжения изгиба с учетом времени работы передачи:

для колеса:

 МПа;

 МПа.

для шестерни:

 МПа;

 МПа.

Среднее допускаемое контактное напряжение:

 МПа.

 МПа.

Окончательно принимаем:

 МПа;

 МПа;

МПа.

Определяем межосевое расстояние.

Принимаем: ψа=0,4 [ст.13 (1)].

Тогда,

.

По таблице 2.3 К=1,12.

Тогда межосевое расстояние равно:


Принимаем стандартное значение межосевого расстояния мм.

Определяем предварительные размеры колеса.

Делительный диаметр:

 мм.

Ширина колеса:

 мм.

Принимаем b3=72 мм [табл.18.1 (1)].

Определяем модуль передачи:

 мм.

Принимаем m=3 мм [ст.13 (1)].

Определяем суммарное число зубьев

 зуба.

Принимаем  зубьев.

Определяем числа зубьев:

шестерни:

 зуба;

колеса:

 зуба.

Определяем фактическое передаточное отношение:

.

Определяем делительные диаметры:

шестерни:

 мм;

колеса:

 мм.

Диаметры окружности вершин и впадин:

шестерни:

 мм;

 мм.

колеса:

 мм;

 мм.

Определяем пригодность колеса.

Условие прочности заготовок:

колеса:

; .

шестерни:

 мм;

 мм;

 мм.

Определяем силы, действующие в зацеплении.

Окружная сила:

 

Н.Радиальная сила:

 Н.

Проверяем зубья колеса по напряжениям изгиба.

Определяем расчетное напряжение изгиба в зубьях колеса:

МПа,

где  - коэффициент, который учитывает неравномерность распределения нагрузки между зубьями колеса;

 - коэффициент, который учитывает неравномерность распределения нагрузки по ширине [табл.2.5 (1)];

 - коэффициент динамичности нагрузки при расчете на изгиб;

 - поправочный коэффициент;

 - коэффициент формы зуба [табл.2.6 (1)];

Проверяем зубья колес по контактным напряжениям.

,

где  - коэффициент распределения нагрузки между зубьями колеса;

 - коэффициент, который учитывает неравномерность распределения нагрузки по ширине [табл.2.3 (1)];

 - коэффициент динамичности нагрузки.


. РАСЧЕТ БЫСТРОХОДНОЙ СТУПЕНИ РЕДУКТОРА

Исходные данные:

Вращательный момент - Т2=301 Нм;

Передаточное число - U1=5;

Угловая скорость колеса - ω2=15 с-1;

Строк службы передачи - LH=20000 час.

Колесо и шестерню изготавливаем из стали 40ХН. Термообработка: колесо - улучшение НВ=269-302; шестерня - улучшение и закалка ТВЧ HRC=48-53.

Допускаемые напряжения.

Число циклов переменных напряжений:

для колеса

2=573·ω2·LН=573·15·20000=172·106 циклов;

для шестерни:

1=N2·U1=5·172·106=860·106 циклов.

Число циклов перемены напряжения, соответствующая пределу контактной выносливости, определяем по графику [ст. 11 рис.2.1 (1)]:

для колеса - НВср=285, NНО=25·106;

для шестерни - HRCср=52, NНО=90·106.

Коэффициент долговечности при расчете по контактным напряжениям:

для колеса:

;

.

для шестерни:

;

.

Принимаем: КHL.2FL.2HL.1FL.1=1.

Допускаемые контактные напряжения и напряжения изгиба, соответствующие числу циклов NНО и N:

для колеса:

 МПа;

 МПа.

для шестерни:

 МПа;

 МПа.

Допускаемые контактные напряжения и напряжения изгиба с учетом времени работы передачи:

для колеса:

 МПа;

 МПа.

для шестерни:

 МПа;

 МПа.

Среднее допускаемое контактное напряжение:

 МПа.

 МПа.

Окончательно принимаем:

 МПа;

 МПа;

МПа.

Диаметр внешней делительной окружности колеса:


где  - для прямозубого конического колеса;

КНВ=1,05-принимаем в зависимости от твердости колеса и коэффициента φd.

Угол делительных конусов колеса и шестерни:


Конусное расстояние:


Ширина колеса:

Внешний торцовой модуль передачи:

.

где  - коеф. концентрации напряжения;

 - для прямозубых колес.

Принимаем me=2мм.

Число зубьев колеса:

 зуба,

Принимаем  зуба.

Число зубьев шестерни:

 зуба,

Принимаем  зубьев.

Определяем фактическое передаточное отношение:

.

Определяем окончательные значения размеров колес.

Углы делительных конусов колеса и шестерни:


Определяем делительные диаметры:

шестерни:

 мм;

колеса:

 мм.

Внешние диаметры колес:


где хе1, хе2 - коэффициенты смещения, принимаемые по таблице.

Размеры заготовок шестерни и колеса:


Условие пригодности заготовок колес:

; .

Определяем силы, действующие в зацеплении.

Окружная сила на среднем диаметре колеса:

 Н.

где dm2=0,857 de2= 228мм.

Осевая сила на шестерне равна радиальной силе на колесе:


Радиальная сила на шестерне равна осевой силе на колесе:

;

Проверяем зубья колес по напряжениям изгиба.

Определяем расчетное напряжение изгиба в зубьях колеса:

,

 - коэффициент, который учитывает неравномерность распределения нагрузки по ширине [табл.2.5 (1)];

 - коэффициент динамичности нагрузки при расчете на изгиб;

 - коэффициент формы зуба [табл.2.6 (1)];

Напряжения изгиба в зубьях шестерни:


Значение коэффициентов YF1 и YF2 принимаем по таблице по эквивалентным числам зубьев.

Проверяем зубья колес по контактным напряжениям.

,


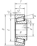
5. ПРЕДВАРИТЕЛЬНЫЙ РАСЧЕТ И КОНСТРУИРОВАНИЕ ВАЛОВ

Определение диаметров валов.

Быстроходный вал.

Рис.2. Эскиз быстроходного вала

Определяем диаметр хвостовика:

 мм,

Принимаем dв=25 мм.

Размеры отдельных участков вала конической шестерни определяем по формулам:


Принимаем .


Принимаем .


Принимаем dбп=50мм.

где t=2,2 мм, r=2 мм [табл.3.1 (1)].

Толщина венца конического зубчатого колеса определяем по формуле:

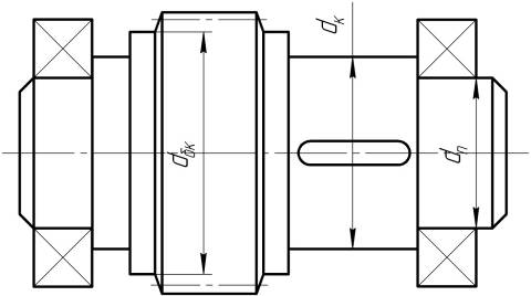
Тихоходный вал

Рис.3. Эскиз тихоходного вала

Определяем диаметр хвостовика:

 мм,

Принимаем d=50 мм.

Определяем длину хвостовика:

 мм.

Принимаем  мм.

Определяем диаметр вала под подшипник:

 мм.

Длина вала под подшипник равна:

 мм.

Определяем диаметр ступицы:

 мм,

где t=3 мм, r=3 мм [табл.3.1 (1)].

Принимаем dбп=70 мм.

Определяем диаметр ступицы вала под колесо:

 мм.

Определяем диаметр бурта:

 мм .

Промежуточный вал










Рис.4. Эскиз промежуточного вала

Определяем диаметр ступицы вала под колесо:

 мм

Принимаем dк=42 мм.

Определяем диаметр вала под подшипник:

 мм.

Принимаем dп=35 мм.

Определяем диаметр бурта:

 мм.

Принимаем,  мм.

Определяем диаметр бурта:

 мм,

где f=1,6 мм, r=3 мм [табл.3.1 (1)].

Принимаем, dбп=45 мм.

 

. ЭСКИЗНАЯ КОМПОНОВКА


Рис. 5. Эскизная компоновка редуктора

Приблизительная длина редуктора:


Расстояние а:

Расстояние между стенками редуктора по ширине:

 

.

7. РАСЧЕТ РЕАКЦИЙ НА ВАЛАХ

Расчёт реакций на опорах валов производим методами теоретической механики. Построение эпюр моментов методами сопротивления материалов.

Расчет реакций тихоходного вала

а) Реакции параллельные оси ОY:

Рис.6. Схема к расчету реакций тихоходного вала параллельных оси ОY

;

 Н;

;

 Н.

б) Реакции параллельные оси OX:

Рис.7.Схема к расчету реакций тихоходного вала параллельных оси ОX

;

 Н;

;

 Н.

в) Суммарные опорные реакции

 Н;

 Н.

Расчет реакций быстроходного вала

а) Реакции параллельные оси ОY:

Рис.8. Схема к расчету реакций быстроходного вала параллельных оси ОY

;

 Н;

;

 Н.

б) Реакции параллельные оси OХ:

Рис.9. Схема к расчету реакций быстроходного вала параллельных оси ОХ

;

 Н;

;

 Н.

в) Суммарные опорные реакции

 Н;

 Н.

Расчет реакций промежуточного вала.

Рис.10. Схема к расчету реакций промежуточного вала параллельных оси ОY

а) Реакции параллельные оси ОY:

;

 Н;

;

 Н.

б) Реакции параллельные оси OХ:

Рис.11. Схема к расчету реакций промежуточного вала параллельных оси ОХ

;

 Н;

;

 Н;

в) Суммарные опорные реакции:

 Н;

 Н.

 

. ВЫБОР ПОДШИПНИКОВ КАЧЕНИЯ


Исходные данные для выбора подшипников на тихоходный вал:

требуемая долговечность подшипника - Lh=20000 часов;

диаметр цапфы, на которую устанавливается подшипник - d=60 мм;

частота вращения вала - nб=36 об/мин;

нагрузки, действующие на опоры: R1=2181 Н; R2=1213 Н;

- характер нагружения - умеренные толчки ().

Назначаем шарикоподшипник радиальный однорядный №112.

Для него: С=29,6 кН; С0=18,3 кН.

Принимаем Х=1; Y=0.

Kt=1 - температурный коэффициент при T<100o C.

Определяем эквивалентную динамическую нагрузку:


Определяем требуемую динамическую грузоподъемность:


Так как  , то принятый подшипник подходит.

Определяем долговечность подшипника:


Так как 29635>20000,то подшипник пригоден.

Геометрические размеры и характеристики выбранного подшипника сводим в таблицу 3.

Таблица 3

№ подшипника

d,мм

D,мм

B,мм

r, мм

C, кН

C0, кН

112

60

95

18

2

29,6

18,3


Исходные данные для выбора подшипников на промежуточный вал:

требуемая долговечность подшипника - Lh=20000 часов;

диаметр цапфы, на которую устанавливается подшипник - d=35 мм;

частота вращения вала - nб=144 об/мин;

нагрузки, действующие на опоры: R1=2138 Н; R2=1488 Н; Fа2=942 Н;

- характер нагружения - умеренные толчки ().

Для промежуточного вала предварительно принимаем конический роликовый подшипник №2007197А с С=40,2кН, С0=30,5кН.

Определим осевые составляющие радиальных нагрузок подшипников:

где е=0,32 - осевой параметр выбранного подшипника.

Определим осевые силы, нагружающие подшипники:


Определим соотношение:

Тогда для первой опоры Х=1, Y=0;

Тогда для второй опоры Х=0,56, Y=2,21.

Определяем эквивалентную динамическую нагрузку:


Дальнейшие расчеты проводим по более нагруженному подшипнику.

Определяем требуемую динамическую грузоподъемность:


Так как  , то принятый подшипник подходит.

Определяем долговечность подшипника:

Так как 105062>20000,то подшипник пригоден.

Данные о подшипнике сводим в таблицу 4.

Таблица 4

№ подшипника

d,мм

D,мм

B,мм

C, кН

C0, кН

2007107A

35

62

18

40,2

30,5


Расчеты подшипников быстроходного вала проводим аналогично и принимаем конический роликовый подшипник № . Данные о подшипнике сводим в таблицу 5.

Таблица 5

№ подшипника

d,мм

D,мм

B,мм

C, кН

C0, кН

7208А

40

80

18

58,3

40


9. ВЫБОР И ПРОВЕРКА ШПОНОК


Выбор шпонок для всех валов проводим в зависимости от диаметра вала под шпонкой:

- для быстроходного вала:  мм, ;

для промежуточного вала:  мм, ;

для тихоходного вала:  мм, ;  мм, .

В качестве материала шпонок выбираем сталь 45 со следующими механическими свойствами: допустимое напряжение материала шпонки на смятие  МПа, допустимое напряжение материала шпонки на срез  МПа [ таб. 7.8 (1) ].

Проверка шпонок на смятие и срез.

Быстроходный вал.

 МПа;

 МПа,

где  - рабочая длина призматической шпонки.

Итак, напряжение среза и смятия шпонки обеспечено.

Промежуточный вал.

 МПа;

 МПа,

где  - рабочая длина призматической шпонки.

Итак, напряжение среза и смятия шпонки обеспечено.

Тихоходный вал.

 МПа;

 МПа,

где  - рабочая длина призматической шпонки.

 МПа;

 МПа,

где  - рабочая длина призматической шпонки

Итак, напряжение среза и смятия шпонок обеспечено.

Геометрические данные выбранных шпонок сводим в таблицу 6.

Таблица 6

Наименование вала

Диаметр вала, мм

Ширина шпонки b,мм

Высота шпонки h,мм

Глубина паза

Фаска мм





Вала t1,мм

Втулки t2,мм


Быстроходный

25

8

7

4

3,3

0,5

Промежуточный

42

12

8

5

3,3

0,5

Тихоходный

70

20

12

7,5

4,9

0,5


50

16

10

6

4,3

0,5

 

10. РАСЧЕТ ВАЛА НА ВЫНОСЛИВОСТЬ

электродвигатель редуктор подшипник тележка

Рассчитываем тихоходный вал в сечении под зубчатым колесом, которое ослаблено шпонкой.

Определяем коэффициент запаса прочности из условия:


где  и  - коэффициент по нормальным и касательным напряжениям.

Определяем коэффициенты по зависимостям:

;

;

где  и  - амплитуды напряжений цикла;

 и  - средние напряжения цикла.

Определяем амплитуды напряжений цикла:

 Па;

 Па,

где  Нм;

 и  - осевой и полярный моменты сопротивления сечения вала.

Определяем осевой момент сопротивления сечения вала:


Определяем предел выносливости вала:

 Па;

 Па,

где  и - предел выносливости:

 Па [табл.7.8 (1)];

 Па [табл.7.8 (1)],

 и  - коэффициент концентрации напряжений.

Определяем коэффициент концентрации напряжений по зависимостям:

;

,

где ,  - коэффициенты концентрации напряжений;

 - коэффициент влияния абсолютных размеров поперечного сечения [7.10 (1)];

 - коэффициент влияния шероховатости [7.11 (1)];

 - коэффициент влияния поверхностного упрочнения материала [7.12 (1)].

 

. РАСЧЕТ ЭЛЕМЕНТОВ КОРПУСА РЕДУКТОРА


Толщину стенки корпуса и крышки редуктора принимаем  мм.

Количество фундаментных болтов принимаем 6 штук.

Принимаем диаметр фундаментных болтов М20.

Диаметр стяжных болтов у подшипников:

Принимаем диаметр болтов М16.

Диаметр болтов, соединяемых фланцы корпуса и крышки:

Принимаем диаметр болтов М10.

Минимальные зазоры от поверхности корпуса или крышки до поверхности вершин колеса равны:

 мм;

Ширина фланца:

Толщина фланца:

Ширина лапы фундаментной плиты:

Толщина лапы фундаментной плиты:

Толщина ребер:

Диаметр болтов крышки люка:

Принимаем диаметр болтов М8.

Ориентировочная толщина литых крюков или ушек:

 

. СМАЗКА РЕДУКТОРА


Принимаем для двухступенчатого редуктора количество масла (из расчета 1 литр на 1 кВт передаваемой мощности) - 5 литров. Выбираем масло индустриальное ИС-45. Смазку подшипников осуществляем маслом, которое разбрызгивается передачей.

 

Список литературы

1       П. ф. Дунаев, О. П. Леликов. Детали машин. Курсовое проэктирование: учеб. пособие для машиностр. спец. техникумов. - М.: Высшая школа, 1984. - 336с.

         Л. И. Цехнович, И. П. Петриченко. Атлас конструкций редукторов. - Учебное пособие для вузов. Киев: „Вища школа”. Главное издательство, 1979. - 128с.

         Г. В. Смирнов. Расчет и выбор подшипников качения. Методическое руководство к курсовому проектированию по дисциплинам прикладной механики. ДИИТ. Днепропетровск, 1991 - 33с.

Похожие работы на - Проект электромеханического привода передвижения тележки

 

Не нашли материал для своей работы?
Поможем написать уникальную работу
Без плагиата!
Без нейросетей!