Особенности технологического процесса строительного и дорожного машиностроения

  • Вид работы:
    Отчет по практике
  • Предмет:
    Другое
  • Язык:
    Русский
    ,
    Формат файла:
    MS Word
    1,05 Mb
  • Опубликовано:
    2012-03-21
Вы можете узнать стоимость помощи в написании студенческой работы.
Помощь в написании работы, которую точно примут!

Особенности технологического процесса строительного и дорожного машиностроения

Введение

Практика является одним из важнейших этапов учебного процесса и представляет собой планомерную и целенаправленную работу по освоению избранной специальности, углубленному закреплению теоретических знаний, профессиональных и творческих исполнительских навыков.

Целями преддипломной практики являются:

изучить конструкции строительных, дорожных, подъемно - транспортных машин, выпускаемых заводом или разрабатываемых проектной организацией;

ознакомиться со структурой предприятия - базой практики, основными подразделениями, службами, правилами внутреннего распорядка, функциями отдельных служб;

ознакомиться с организацией работы в конструкторском бюро и его подразделениях;

изучить нормативную техническую документацию, применяемую на предприятии при проектировании машин;

ознакомиться с технологическими возможностями производства (оборудованием, инструментом, технологической оснасткой и т. д.);

изучить вопросы организации, планирования, экономики производства, перспективы развития.

ознакомиться с темой дипломного проектирования и выполнить патентный поиск по данной теме.

1 История и пути развития завода

конструкция строительная дорожная машина

В 1913 году товарищество братьев Мазья и Аранзон открыли в Могилеве по Днепровскому проспекту меднолитейное и механическое предприятие. Товарищество бралось за устройство мельниц, маслобойных и винокуренных заводов, продажу населению плугов, топоров, и т.д.

В 1920 году завод был национализирован и занимался ремонтом автомобилей, походных кухонь, изготовлением военных повозок.

В 1921 году начал выпуск плугов, борон, запасных частей для сельхозмашин.

В 1926 году освоил выпуск ручных молотилок, силосорезок, конных приводов, веялок, весов. Завод продолжал строиться.

В 1941 году завод, демонтировав оборудование, был эвакуирован вглубь страны.

В 1946 году началось восстановление завода, и он был передан в ведение Министерства строительного и дорожного машиностроения. С тех пор он получил новое название «Строммашина». Завод должен был выпускать машины для индустрии строительных материалов. 30-го октября 1946 года был собран первый пресс для производства шлакового кирпича. Именно с него начались автоматизированные высокопроизводительные поточные линии, выпускаемые заводом.

В 1950 году завод получил новые задания, которые потребовали расширения завода. Вновь строящиеся корпуса оснащались современным оборудованием. Быстро возросла номенклатура выпускаемых заводом машин и линий. Это линии по выпуску кровельного волнистого шифера, пресса и оборудование для изготовления кирпича, оборудование для тонкой керамики, агрегаты для выпуска мягких кровельных материалов (толь, рубероид и т.д.). Новым словом в машиностроении для строительной индустрии было создание автоматизированной линии для производства асбестоцементных труб. Впервые в мировой практике машиностроения была изготовлена автоматизированная линия для безпрокладочного производства асбестоцементных листов СМ 898, производительностью 6-8 тыс. штук условных плиток в час. Машины с маркой завода шли в Венгрию, Болгарию, Польшу, Индию, Иран, Турцию, во Францию, Италию, Индонезию.

В 1962 году заводу были переданы территория и цеха завода «Электродвигатель». По новому плану реконструкции были введены в строй цех металлоконструкций, инженерный корпус, крупнейший сборочно-малярный цех. Произошли изменения в производстве.

В 1962-65 гг. завод освоил и начал серийный выпуск грузовых и совершенно новой модели пассажирских лифтов грузоподъемностью 350-500 кг.

С 1965 по 1974 год, вплоть до образования Могилевского лифтостроительного завода, выпуск лифтов составлял половину общего объема производства «Строммашина», в год выпускалось 3400 лифтов.

После снятия лифтов с производства завод увеличил выпуск оборудования для производства асбестоцементного шифера, асбестоцементных труб, керамических изделий, рулонно-кровельных и гидроизоляционных материалов, армированного стеклохолста и других машин. Ежегодно изготавливалось до 150 наименований машин и автоматизированных линий. Заводом освоено производство около 600 наименований машин, которые периодически выпускаются по заказам промышленных предприятий страны и зарубежных государств. Изделия завода неоднократно были представлены на выставках в Москве, Познани, Лагосе, Загребе. Неоднократно отмечались свидетельствами и медалями.

С 1980 г. были освоены автоматизированные линии по:

производству кирпича СМК 350, производительностью 75 млн. шт. в год;

производству асбестоцементных волнистых листов типа СВ-40-175А, СМА 170, производительностью 7937 плиток в час; СМА 365 - производительностью 6217 плиток в час;

комплекс оборудования для 4-х метровых асбестоцементных труб СМА 256.

Сегодня «Строммашина» - современное, оснащенное уникальным оборудованием, многопрофильное машиностроительное предприятие, специализирующееся на выпуске технологических линий и отдельного оборудования для производства строительных материалов, железобетонных шпал, башенных кранов, нефтедобывающего, горно-шахтного оборудования, тюбингов чугунных, а также товаров народного потребления.

В конце 90-х годов руководством завода был взят курс на освоение видов изделий, в том числе для нетрадиционных для завода отраслей промышленности, переспециализацию производства, на изготовление импортозамещающей продукции, на расширение связей с проектными и научными организациями. Как показало время, это решение оказалось правильным, что позволило сохранить заводу высококвалифицированные кадры, технический потенциал.

С 1998 г. завод приступил к серийному выпуску вибрационного пресса М32-002 для производства тротуарной плитки, бортовых и стеновых камней. На базе вибропресса разработана технологическая линия с заготовительным отделением, и комплект механизации для обеспечения механизации процесса съема и складирования поддонов с готовыми изделиями.

Пресс вибрационный М32-002 стал лауреатом Республиканских конкурсов «100 лучших товаров Республики Беларусь», «100 лучших товаров на рынке России».

В результате принимаемых мер по освоению новых изделий в короткие сроки была освоена и запущена в серийное производство технологическая линия для производства железобетонных, предварительно напряженных шпал для главных магистральных путей, а также брусьев стрелочных переводов. При непосредственном участии завода проводилась модернизация и реконструкция действующих предприятий по изготовлению железобетонных шпал и созданию новых производств. Грамотная маркетинговая политика, высокое качество выпускаемой продукции позволили завоевать лидерство в СНГ по изготовлению шпального оборудования.

В 2002 году освоено изготовление более сложных форм для изготовления шпал с принципиально новым анкерным скреплением - АРС. Завод выполнил заказ, разработав конструкторскую документацию, изготовив и поставив на Горновский завод ЖБШ, Новосибирской области, оборудование для производства универсальных 3-х колейных шпал, которые позволят провести модернизацию Сахалинской железной дороги с узкой на стандартную.

Завод изготовил и поставил в Монголию 90 новых 8-ми местных форм под скрепление АРС, а также набор специально доработанного оборудования под эти формы в количестве 23 единиц общей массой 437 тонн.

В 2003 г. совместно с итальянской фирмой «OLMI» заводом были изготовлены 450 форм и часть оборудования с технологией производства шпал со стержневой арматурой. Это линия будущего, т.к. на тех же площадях в два раза возрастает производительность.

География поставок оборудования для производства железобетонных шпал обширна; от севера (Чудово), юга (Краснодарский край), от запада (Микашевичи) до востока (Хабаровск).

Завод имеет международный и российский сертификаты соответствия требованиям международного стандарта ИСО 9001:2000.

В 2004 году завод освоил выпуск чугунных тюбингов для крепления шахтных стволов. Для Краснослободского рудника РУП «ПО «Беларуськалий» была изготовлена тюбинговая крепь общим весом 10000 тонн. Этому предшествовала большая работа по подготовке производства, изготовлению модельной оснастки, опок, приспособлений, инструмента, реконструкции литейного производства. В настоящее время ведется поставка тюбингов и деталей крепления для шахтных стволов для нового Березовского рудника.

В 2005 году освоено производство, а в 2006-2007 гг. производилась активная поставка чугунных тюбинговых колец для строительства новых линий Московского метрополитена диаметром 5,5; 9,5; 9,8 м.

Новым этапом сотрудничества с РУП ПО «Беларуськалий» явилось изготовление уникального шагающего отвалообразователя ОШ 1600/110, предназначенного для приема и транспортирования на отвалы мягких вскрышных пород. Конструктивно отвалообразователь выполнен в виде ленточного транспортера длиной 150 м, высотой 36 м и общей массой 590 т. В настоящее время оборудование смонтировано и успешно эксплуатируется. В 2008 году начато изготовление новой модели ОШ 1200/110 с более высокими техническими характеристиками по сравнению с ранее изготовленным.

Завод неоднократно выигрывал тендеры (в связи с приемлемым соотношением цена - качество) и поставлял запчасти для проходческого комбайна ПК-8М и другого оборудования. Освоено изготовление 17 видов барабанов диаметром от 400 до 1500 мм для различных типов конвейеров, 3 вида редукторов повышенной сложности, ковшей с цепями из нержавеющей стали и многое другое.

Завод успешно сотрудничает с ПО «Беларусьнефть». Начинали с производства запасных частей, а C 2003 года изготовлен первый образец привода штангового глубинного насоса ПШГНТ. Он успешно прошел эксплуатационные испытания и с 2003 года запущен в серийное производство привод штангового глубинного насоса ПШГНТ, проводятся работы по освоению более мощных новых типоразмеров приводов типа «Вулкан», ведется разработка привода штанговых насосов ПШГНТ-10-3-5500.

В 2005 году в состав завода вошло РУП НТЦ «Строммаш» с выполнением проектных работ по созданию нового поколения оборудования для производства стеновых керамических материалов мощностью от 10 до 100 млн. шт. условного кирпича в год. Изготовителем основного оборудования комплекса является завод «Строммашина». Оборудование поставлялось в Россию, Казахстан. В Республике Беларусь данное оборудование применено на построенном в 2008 году по инициативе Президента РБ А.Г. Лукашенко Лоевском кирпичном заводе.

В перспективе - освоение полностью автоматизированных линий для производства кирпича методом пластического формования производительностью 20, 30, 40, 50 млн. шт. кирпича в год.

В последние годы заводом освоено автоматизированное оборудование для производства керамического кирпича методом полусухого формования на базе пресса СМ1085В. На базе этого оборудования возможно создание заводов любой мощности кратной 10 млн. шт./год. Заводом изготовлено и поставлено данное оборудование для пяти кирпичных заводов в России.

Сегодня без башенных кранов не может обойтись ни одна стройка. Но их парк стремительно стареет. На сегодняшний день износ парка башенных кранов в целом по республике составляет более 80 процентов. Согласно подготовленной министерством архитектуры и строительства РБ «Государственной комплексной программы развития материально-технической базы строительных организаций на 2006-2010 гг.» предусмотрена полная замена 732 из 1211 башенных кранов. Импорт машин для строительной отрасли не может считаться единственным выходом из создавшейся ситуации. В связи с этим Минстройархитектуры РБ предложило ряду промышленных предприятий рассмотреть возможность изготовления башенных кранов, а также запасных частей для кранов, находящихся в эксплуатации. Изучив документацию, специалистами завода было заявлено, что «Строммашина» при наличии уникального высокотехнологичного оборудования, квалифицированных кадров, большого опыта производства машин и механизмов в состоянии выпускать башенные краны. В кратчайшие сроки на заводе проведена технологическая подготовка производства, получены лицензия на право проектирования и изготовления и Разрешение № 11-057-2006 Проматомнадзора МЧС РБ на право изготовления крана башенного КБМ-401П.

Мобильный самомонтирующийся башенный кран КБМ-401П предназначен для механизации подъемно-транспортных работ при возведении жилых, гражданских и промышленных зданий и сооружений различной этажности с элементами строительных конструкций массой до 10 тонн.

В кране применены оригинальные системы управления механизмами с широким использованием современных покупных изделий, в том числе импортных. Система управления крана комплексная, выполняет функции требований безопасности, регистратора параметров и устройства координатной защиты зон работы кранов.

Передвижной полноповоротный башенный кран оснащен унифицированными механизмами, монтируется и демонтируется при помощи собственных механизмов и автокрана грузоподъемностью 8 тонн, перевозится в собранном виде на подкатных тележках.

Первый белорусский башенный кран был собран в сентябре 2006 года, а уже сегодня на стройках республики эксплуатируются более 200 кранов. С каждым годом завод наращивает объемы выпуска башенных кранов, ведется освоение новых моделей с учетом потребностей строительной отрасли.

На протяжении последних двух лет заводом освоен выпуск совершенно нового комплекса оборудования, включая гидропресс, для производства пазогребневых гипсовых плит. Данное оборудование внедрено на ОАО «БелГИПС», г. Минск а также поставлено на ряд предприятий Российской Федерации.

По программе «Энергосбережение» освоено производство дробилок древесных отходов ДДО. Их использование позволяет снизить расходы на перевозку древесных отходов, которые используются в виде топлива. Дробилка агрегатируется как навесное оборудование с тракторами «Беларусь».

Совместно с белорусско-российско-чешским предприятием «Экосфера-М» освоено оборудование для производства топливных брикетов из осадков иловых отходов, лигнина.

Завод выпускает также широкую гамму замочно-скобяных изделий (замки врезные, накладные, висячие, устройства запирающие кодовые, защелки, завертки, петли, скобы, доводчики дверные), малогабаритные станки (сверлильные, заточные, токарные), потребительские товары (печное литье, насосы ножные, дрели, тиски, доски гладильные, секаторы), кемпинговую мебель.

Завод тесно сотрудничает с проектными и научно-исследовательскими организациями Белоруссии, России, Украины. Это позволяет постоянно совершенствовать уже выпускаемое оборудование, а также разрабатывать новые виды продукции, соответствующие лучшим мировым образцам.

Подтверждением высокого качества и надежности выпускаемого оборудования является созданная и сертифицированная система менеджмента качества на соответствие требованиям международного стандарта ИСО 9001-2008, СТБ ISO 9001-2009, ГОСТ Р ИСО 9001-2008.

За высокое качество выпускаемой продукции заводу присужден и вручен Диплом лауреата Премии Правительства Республики Беларусь за достижения в области качества.

РПУП «Могилевский завод «Строммашина» путем смену формы собственности преобразован в открытое акционерное общество «Могилевский завод «Строммашина».

 

2. Назначение, область применения, классификация трубоформовочных машин


Асбестоцементная промышленность - отрасль промышленности строительных материалов, производящих изделия, которые используются в строительстве зданий и трубопроводах различного назначения.

Асбестоцементные трубы нашли широкое применение в строительстве, так как они обладают рядом значимых преимуществ: они не гниют и не подвергаются коррозии, не склонны к обрастанию и при этом обладают низкой теплопроводностью и большой прочностью.

Асбестоцементная промышленность выпускает следующие виды труб:

. Напорные трубы марок ВТ-3, ВТ-6, ВТ-9 и ВТ-12, предназначенные для устройства водопроводов.

Первые две буквы в обозначении марки указывают, что эта труба предназначена для устройства водопроводов; цифры же показывают наибольшее рабочее давление в водопроводе, при котором можно применять трубы этой марки. В зависимости от давления, а значит от марки, различна толщина стенок в трубах одного диаметра: чем выше марка трубы, тем больше толщина ее стенки.

. Безнапорные трубы, предназначенные для устройства канализационных трубопроводов, для прокладки телефонных кабелей, вентиляционных сетей и т.п.

. Трубы газа - и паропроводные на давление газа не выше 0,5 МПа.

. Трубы для обсадки водозаборных скважин.

В данной дипломной работе разрабатывается трубоформовочная машина для изготовления 4-ёх метровых асбестоцементных труб, диаметром 100 мм, которые пользуються наибольшим спросом на рынке строительных материалов.

В настоящее время существует три способа производства асбестоцементных изделий: мокрый способ - из асбестоцементной суспензии, полусухой - из асбестоцементной массы и сухой - из сухой асбестоцементной смеси. Наиболее широкое распространение получил мокрый способ. Два других применяют только в опытных установках.

Технологическая схема производства асбестоцементных изделий мокрым способом состоит из следующих основных процессов: складирования и хранения основных материалов; составления смески асбеста из нескольких сортов и марок, распушки смески асбеста, приготовления асбестоцементной массы, силосования (складирования) асбестоцементной массы, формования асбестоцементных изделий, предварительного твердения отформованных изделий, механической обработки изделий, твердения изделий, складирования.

Трубоформовочные машины классифицируют по длине получаемого изделия, по количеству сетчатых целиндров, по производительности.

По количеству сетчатых цилиндров различают с одним, двумя и тремя цилиндрами.

По производительности бывают 207 и 165 усл.м/ч.

Асбестоцементыые трубы производят на круглосетчатых трубоформовочных машинах. В отличие от листо-формовочных эти машины имеют, как правило, два сетчатых цилиндра, а вместо форматного барабана - съемную форматную скалку с диаметром, равным внутреннему диаметру труб. Кроме того, усилена прессовая часть с системой валов («экипажем давления»), а специальное приспособление позволяет изменять их давление при разных толщине стенки и диаметрах труб.

К прочностным показателям асбестоцементных труб предъявляют более высокие требования, чем к листовым изделиям. В связи с этим формование наката в производстве труб происходит путем последовательного напластования более тонких пленок (0,15-0,3 мм), чем в производстве листовых изделий.

Волокна асбеста навиваются в основном по окружности в направлении вращения форматной скалки, что способствует повышению прочности труб. Кроме того, с целью повышения прочностных показателей труб применяют асбест более высоких марок.

Для облегчения съема труб с форматных скалок их развальцовывают на специальных аппаратах (каландрах) или на самой формующей машине. После каландрирования трубы освобождают от скалок и подают на роликовый конвейер воздушного твердения, где за счет вращения опорных валиков и самих труб последние приобретают правильную форму.

Твердение асбестоцементных труб производят в три стадии: предварительное воздушное твердение на роликовом конвейере, совмещенное с обкаткой; гидротермальное твердение в водных бассейнах или на конвейерах гидротермальной обработки; окончательное твердение на складе в течение 10-14 сут.

Предварительное твердение на роликовом конвейере происходит при температуре 30-35°С и относительной влажности не менее 80%. Продолжительность этого этапа 6-8 ч. Для предотвращения деформации в концы труб вставляют металлические или деревянные пробки, которые извлекают после приобретения трубами достаточной прочности.

Трубы большого диаметра подают на предварительное твердение со скалками или заменяют скалки на деревянные сердечники. Для ускорения предварительного твердения труб их увлажняют горячей водой.

Твердение труб в водных бассейнах (железобетонных резервуарах длиной 10-12 м) происходит при температуре воды 40-60 °С. Продолжительность твердения в зависимости от температуры воды и марки цемента для безнапорных труб не менее 1-2 сут, для напорных труб - не менее 2-3 сут и газопроводных труб - не менее 3-5 сут. Применение водных бассейнов для гидротермального твердения требует их перегрузки с помощью мостового крана, что обусловливает разрыв в технологическом потоке производства труб.

В связи с этим целесообразнее использовать конвейеры гидротермальной обработки, где совмещаются первая и вторая стадии твердения труб. Такой конвейер состоит из конвейеров предварительного и комбинированного твердения.

Конвейер комбинированного твердения представляет собой цепной конвейер, заключенный в камеру, в стенах и потолке которой вмонтированы форсунки для разбрызгивания воды с температурой 50-55 °С на внутреннюю и наружную поверхности труб. Продолжительность твердения изделий на этом этапе 15-25 ч.

После гидротермального твердения трубы поступают на механическую обработку - обрезку торцов и обточку концов труб или разрезку на муфты с последующей их расточкой. Окончательное твердение труб происходит на складе в течение 10-14 сут при температуре не ниже 15°С и относительной влажности не менее 80 %.

3. Анализ научно-технической литературы и патентный обзор


3.1 Анализ научно-технической литературы

В развитии конструкций трубоформовочной машины характерно:

1)   повышение производительности;

2)      увеличение прочности получаемого изделия;

)        увеличение уменьшение габаритов;

)        совершенствование технологии получения изделия, что позволяет экономить энергоресурсы;

)        совершенствование вспомогательных механизмов, что способствует получению более качественных изделий;

)        применение средств автоматического управления рабочими процессами и т. д.

Перспективным типажом предусмотрено изготовление ряда формовочных машин работающих по принцепу сухого и полусухого способа получения изделия.

3.2 Патентный обзор

В ходе патентного обзора была найдена следующая разработка, на которую получен патент.

Патент номер SU 903126: [Приложение Б].

Машина для изготовления асбестоцементных труб.

Изобретение может быть использовано в промышленности строительных материалов, в частности для изготовления асбестоцементных труб.

Известны машины для изготовления асбестоцементных труб, содержащие опорный вал с экипажем давления, форматные скалки, механизмы подкола, каландрирования и смены скалок, а также механизм транспортирования скалок с трубами и без них, выполненный с верхними и нижними опорными направляющими и приводными цепями с захватами для скалок .

Недостатками известных машин являются жесткие удары и повышенные нагрузки на экипаж давления в моменты загрузки скалки на позицию формования и выгрузки скалки с трубой в захваты, цепных контуров, что снижает надежность работы машины и увеличивает уровень шума.

Кроме того, в известных машинах скалка с трубой из зоны формования выгружается на нижние опорные направляющие и транспортируется захватами нижних ветвей цепных контуров с размещением соответственно механизмов подкола и каландрирования в зоне нижних направляющих, что затрудняет наблюдение при выполнении операций подкола и каландрирования, а также усложняет техническое обслуживание.

Цель изобретения - повышение надежности работы и улучшение условий обслуживания машины.

Достигается указанная цель тем, что в машине для изготовления асбестоцементных труб, содержащем опорный вал с экипажем давления, форматные скалки, механизмы подкола, каландрирования и смены скалок, а также механизм транспортирования скалок с трубами и без них, выполненный с верхними и нижними опорными направляющими и приводными цепями с захватами для скалок, последние выполнены в виде шарнирно присоединенных к цепям парных рычагов-держателей, консольный конец каждого из которых имеет паз, взаимодействующий со скалкой, причем механизмы подкола и каландрирования расположены у верхних опорных направляющих, выполненных по концам с поворотными стрелками.

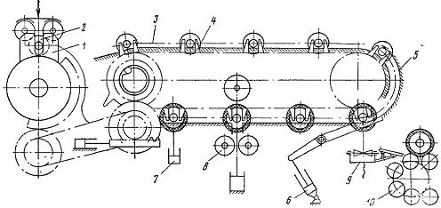
На рисунке 1 схематично изображена предлагаемая машина, вид сбоку.

Машина включает опорный вал 1, экипаж давления 2, два цепных контура 3, к которым одной стороной на шарнирах 4 закреплены попарно рычаги-держатели 5. Другой стороной рычаги-держатели посредством открытого паза опираются на скалки 6, расположенные на верхних 7 и нижних 8 опорных направляющих и опорном валу 1. Верхняя опорная направляющая 7 с обоих концов заканчивается шарнирно соединенными с ней поворотными стрелками 9 и 10. В свободном состоянии под действием собственной массы стрелка 9 опирается на нижнюю опорную направляющую 8, а стрелка 10 под действием противовеса 11 развернута вверх. Цепные контуры 3 огибают ведущие звездочки 12 и натяжные звездочки 13. Ведущие звездочки 12 жестко соединены с ведущим валом 14, а натяжные 13 закреплены консольно на индивидуальных подвижных опорах вращения 15. Механизм подкола 16 и каландр 17 размещены в зоне верхних ветвей цепных контуров 3. Подъемник 18, поворотная люлька 19, рольганг 20 и механизм извлечения 21 расположены на одной оси. В крайнем верхнем положении подъемник 18 специальными выступами стыкуется с нижней опорной направляющей 8 для придания жесткости вертикальным направляющим подъемника.

Рычаги-держатели 5 развернуты открытой частью паза вниз и опираются на скалки 6, удерживая их на всех позициях.

После навивки трубы и подъема экипажа давления 2 происходит шаговое перемещение цепных контуров 3 верхними ветвями от опорного вала. При этом движении цепных контуров скалка 6 с навитой трубой подается рычагами-держателями 5 по стрелкам 9 и верхним опорным направляющим 7 на позицию подкола 16. Одновременно по нижним опорным направляющим 8 рычагами-держателями 5 нижних ветвей цепных контуров 3 на опорный вал 1 подается скалка для навивки трубы. Стрелки 9 поворачиваются вокруг оси, пропуская скалку, после чего снова под действием собственной массы возвращаются в исходное положение, т. е. опираются на опору 8. По окончании шагового перемещения цепных контуров 3 опускается экипаж давления и начинается навивка следующей трубы.

В период шагового перемещения цепных контуров 3 находившаяся на позиции подкола 16 скалка с трубой передается на каландр 17, а с позиции каландра - на подъемник 18. При этом, перемещаясь с позиции 50 каландра по наклонному участку верхней опорной направляющей 7 на подъемник 18, скалка с трубой под действием своей массы поворачивает стрелки 10 до соприкосновения их с нижними опорными направляющими 8. Находившаяся на подъемнике скалка до подхода скалки с трубой успевает пройти открытую под действием противовеса 11 стрелку 10 по нижней опорной направляющей 8 в направлении к опорному валу.

Таким образом, как при шаговом перемещении цепных контуров 3, так и на позициях навивки трубы, подкола и каландрирования скалки удерживаются рычагами-держателями 5. В период опускания скалки с трубой подъемником 18 на поворотную люльку 19 и выполнения операций извлечения скалки механизмом извлечения 21, поворота люльки для выдачи трубы на конвейер, возврата скалки по рольгангу. 20 и подъема ее подъемником вверх рычаги-держатели 5 на этой позиции удерживаются в горизонтальном положении упорами.

Использование трубоформовочной машины, для производства асбестоцементных труб длиной 4 м малых диаметров, с предлагаемым устройством для транспортирования и смены скалок ,позволяет повысить надежность работы машины, а обеспечение выгрузки скалки с трубой на верхние опорные направляющие с размещением в зоне верхних ветвей цепных контуров механизмов подкола и каландрирований улучшает условия обслуживания и обзор при работе машины.

Предмет изобретения:

Машина для изготовления асбестоцементных труб, содержащая опорный вал с экипажем давления, форматные скалки, механизмы подкола, каландрирования и смены скалок, а также механизм транспортирования скалок с трубами и без них, выполненный с верхними и нижними опорными направляющими и "приводными цепями с захватами для скалок, отличающаяся тем, что, с целью повышения надежности работы и улучшения условий обслуживания, захваты для скалок механизма транспортирования выполнены в виде шарнирно присоединенных к цепям парных рычагов-держателей, консольный конец каждого из которых имеет паз, взаимодействующий со скалкой, причем механизмы подкола и каландрирования расположены у верхних опорных направляющих, выполненных по концам с поворотными стрелками.

Рисунок 1 - Схема предлогаемой машины

Так же в ходе патентного поиска был найден и проанализирован следующие патенты.

Патент номер SU 419398: [Приложение Б].

Установка для изготовления асбестоцементных труб.

Изобретение относится к промышленности строительных материалов.

Известны установки для изготовления асбестоцементных труб, включающие трубоформовочную машину с устройством для подачи 5 скалок в формующую часть и вывода их оттуда, форматные скалки, транспортер скалок с захватами и направляющими, механизмы подачи скалок в захваты транспортера, подкалывания и каландрирования труб, извлечения скалок из труб, конвейер термовлажностной обработки.

В известной установке механизм извлечения скалок из труб ненадежен в работе, кроме того, при скатывании с желоба съемной тележки на конвейер термовлажностной обработки происходит деформация труб от ударов.

Предлагаемая установка снабжена рольгангом приема скалок, установленным под механизмом их подачи в захваты транспортера, а механизм извлечения скалок из труб смонтирован на приводной тележке, примыкающей в крайних позициях к рольгангу приема скалок и конвейеру термовлажностной обработки. Вильчатый захват механизма извлечения скалок из труб выполнен поворотным в плоскости паза относительно оси скалки и снабжен толкателем под копир и пружиной для возврата в исходное положение. Такое выполнение установки позволяет упростить конструкцию и улучшить качество труб.

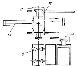
На рисунке 2 представлена кинематическая схема установки; на рисунке 3 - схема работы механизма извлечения скалок из труб; на рисунке 4 - конструкция захвата механизма извлечения скалок, вид сбоку; на рисунке 5 - тоже, вид сверху.

Установка состоит из следующих основных узлов: трубоформовочной машины с устройством 1 для подачи и вывода скалок, комплекта скалок 2, транспортера 3 с захватами 4 и направляющими 5, механизма 6 подачи в захваты транспортера, механизмов подкалывания 7 и каландрирования 8, рольганга 9 приема скалок, конвейера 10 термовлажностной обработки, механизма 11 извлечения скалок из труб, установленного на тележке 12 с приводом в виде гидроцилиндра 13. Рольганг 9 установлен под механизмом 6. Тележка 12 имеет возвратно-поступательное движение вдоль оси конвейера термовлажностной обработки. Вильчатый захват 14 выполнен поворотным в плоскости паза вокруг оси скалки, снабжен толкателем 15 и пружиной 16 для возврата в исходное положение до упора толкателя в ограничитель 17. Захват смонтирован на пластине 18, имеющей пазы для регулировки по высоте.

Трубы формуются известным способом. По окончании формования очередной трубы экипаж давления поднимается и скалка с навитой трубой рычагами устройства подачи и вывода скалок подается под захваты нижней ветви транспортера 3. При обратном ходе рычагов устройства 1 транспортер 3 совершает шаговое передвижение и своими захватами перемещает скалку на одну позицию. Левая скалка верхней ветви скатывается по направляющим к рычагам устройства 1 и переносится ими на позицию навивки.

На второй позиции нижней ветви транспортера 3 по бокам скалки расположены два гидроцилиндра, штоки которых, связанные с иглами, подкалывают трубу.

На третьей позиции скалка с трубой устанавливается на держатели, которые опускают ее на вращающиеся ролики каландра. Одновременно опускается верхний ролик, прижимающий трубу к нижним вращающимся роликам. После каландрирования скалка с трубой вновь поднимается до уровня нижних направляющих.

Через несколько циклов скалка с трубой поступает на позицию механизма подачи скалок в захваты транспортера, где при опускании рычагов выводится из захватов и по пандусу выкатывается на конвейер термовлажностной обработки.

После этого свободная скалка, находящаяся на тележке 12, выталкивается механизмом извлечения скалок на рольганг 9 и при подъеме рычагов механизма 6 подается в захваты транспортера скалок. Тележка 12 перемещается гидроцилиндром к конвейеру термовлажностной обработки. Толкатель 15, попадая на неподвижный копир, поворачивает вильчатый захват механизма извлечения скалок в горизонтальное положение пазом в направлении скалки с трубой. После сцепления захвата с цапфой скалки подается команда на медленное движение тележки со скоростью конвейера термовлажностной обработки и одновременно на извлечение скалки из трубы. Толкатель сходит с копира, и захват под действием пружины поворачивается в исходное вертикальное положение.

После извлечения скалки тележка механизма 11 возвращается к рольгангу 9. Цикл повторяется.

Предмет изобретения:

Установка для изготовления асбестоцементных труб, включающая трубоформовочную машину с устройством для подачи и вывода форматных скалок, транспортер скалок с захватами и направляющими, механизмы подачи скалок в захваты транспортера, подкалывания труб, каландрирования, извлечения скалок из труб, а также конвейер термовлажностной обработки, отличающаяся тем, что, с целью улучшения качества труб и упрощения конструкции, она снабжена рольгангом приема скалок, установленным под механизмом подачи скалок в захваты транспортера, а механизм извлечения скалок из труб смонтирован на приводной тележке, установленной с возможностью перемещения вдоль конвейера термовлажностной обработки, и выполнен с подпружиненным вильчатым захватом поворотным в плоскости паза, взаимодействующим с копиром.

Рисунок 2 - Кинематическая схема установки

Рисунок 3 - Схема работы механизма извлечения скалок из трубы

Рисунок 4 - Конструкция захвата механизма извлечения скалок, вид сбоку


Рисунок 5 - Конструкция захвата механизма извлечения скалок, вид сверху

Патент номер SU 472008: [Приложение Б].

Механизм выемки форматной скалки из асбестоцементной трубы

Изобретение относится к промышленности строительных материалов и может быть использовано в производстве асбестоцементиых труб.

Известен механизм выемки форматной скалки из асбестоцементной трубы, включающий транспортер скалок и размещенный под ним неподвижный рольганг, подъемник, тяговый орган с поворотным захватом, смонтированный на тележке, установленной с возможностью перемещения вдоль конвейера термовлажностной обработки от привода.

Цель изобретения - расширение диапазона диаметров обрабатываемых труб.

Это достигается тем, что механизм снабжен установленной над неподвижным рольгангом опрокидывающейся люлькой, выполненной с пазами под его ролики.

На рисунке 6 изображен предлагаемый механизм, вид сбоку; на рисунке 7 - то же, вид сверху; на рисунке 8 - схема работы опрокидывающейся люльки; на рисунке 9 - поворотный захват, вид сбоку; на рисунке 10 - тяговый орган.

Механизм состоит из следующих основных узлов: транспортера 1 скалок, расположенного под ним неподвижного рольганга 2, тягового органа 3 с поворотным захватом 4, смонтированного на тележке 5, опрокидывающейся люльки 6, конвейера термовлажностной обработки 7 и подъемника 8.

Тележка 5 установлена с возможностью перемещения вдоль конвейера термовлажностной обработки от привода 9. Опрокидывающаяся люлька 5 размещена над неподвижным рольгангом 2, выполнена с пазами 10 в настиле под его ролики, и приводится в действие гндроцилпидром 11.

Тяговый орган 3 выполнен в виде электротельферноп тележки, установленной с возможностью перемещения по опорной направляющей 12 тележки 5. На тележке 5 смонтирован также опорный рольганг 13.

Для увеличения сцепления с опорной направляющей 12 электротельферная тележка оснащена подпружиненными роликами 14, размещенными с нижней стороны направляющей 12.

Поворотный захват 4 выполнен в виде защелки со скошенной поверхностью 15 и снабжен Т-образным пазом 16 под цапфу форматной скалки 17.

При извлечении форматной скалки из трубы малого диаметра на конвейере термовлажиостнои обработки механизм работает следующим образом.

Из захватов транспортера 1 скалка с трубой опускается подъемником 8 на поворотную люльку, находящуюся в промежуточном положении, как показано на рисунке 6 (настил люльки расположен выше биконнческих роликов неподвижного рольганга 2). В нижнем положении подъемник нажимает на рычаги 18, поднимая их радиусную часть, после чего люлька 6 опрокидывается гидроцилндром 11 вправо и скалка с трубой скатывается по наклонному пандусу 19 на радиусную часть рычагов 18. Затем люлька возвращается в крайнее нижнее положение, при котором ролики неподвижного рольганга 2 выступают над настилом, имеющим соответствующие пазы 10.

В это время тележка 5 находится в крайнем левом положении и свободная скалка, находящаяся на опорном рольганге 13 тележки 5, тяговым органом 3 надвигается на неподвижный рольганг 2, с которого подъемником 8 поднимается в захваты транспортера 1. Рычаги 18 при этом освобождаются и опускают скалку с трубой на конвейер термовлажностной обработки 7.

Тележка 5 с повышенной скоростью перемещается вправо, захват 4 скошенной поверхностью наезжает па цапфу форматной скалки с трубой, находящейся на конвейере термовлажностной обработки и поворачивается вокруг своей оси. При совпадении осей цапфы форматной скалки и Т-образного паза 16 захвата 4 последний опускается в исходное положение, входя в зацепление с форматной скалкой. При этом тележка 5 начинает двигаться со скоростью целей конвейера термовлажностной обработки, а тяговый орган, перемещаясь по опорной направляющей 12, извлекает форматную скалку из трубы на опорный рольганг 13.

После извлечения скалки тележка 5 возвращается в крайнее левое положение и цикл повторяется.

Извлечение скалки из трубы большего диаметра осуществляется на люльке следующим образом. Тележка 5 постоянно находится в крайнем левом положении. Подъемником 8 скалка с трубой с транспортера 1 опускается на люльку 6, находящуюся в промежуточной позиции, при этом цапфа скалки попадает в Т-образный паз захвата 4. Тяговым органом 3 скалка извлекается из трубы на опорный рольганг 13, люлька опрокидывается вправо, скатывая трубу по наклонному пандусу 19 на ролики конвейера термовлажностной обработки 7. Люлька возвращается в крайнее нижнее положение и тяговый орган 3 подает скалку на ролик неподвижного рольганга 2, откуда подъемником 8 она подается в захваты транспортера 1. Далее цикл повторяется.

Предмет изобретения

Механизм выемки форматной скалки из асбестоцементной трубы, включающий транспортер скалок и размещенный под ним неподвижный рольганг, подъемник, тяговый орган с поворотным захватом, смонтированный на тележке, установленной с возможностью перемещения вдоль конвейера термовлажностной обработки от привода, отличающийся тем, что, с целью расширения диапазона диаметров обрабатываемых труб, он снабжен установленной над неподвижным рольгангом, опрокидывающейся люлькой, выполненной с пазами под его ролики.

Рисунок 6 - Механизм выемки форматной скалки из асбестоцементной трубы

Рисунок 7 - Механизм выемки форматной скалки из асбестоцементной трубы, вид сверху

Рисунок 8 - Схема работы опрокидывающейся люльки

Рисунок 9 - Поворотный захват, вид сбоку

Рисунок 10 - Тяговый орган.

3.3 Описание модернизации конструкции

В данном дипломном проекте разработана модификация трубоформовочной машины СМА - 274А с разработкай автомата смены скалок с внедрением следующих номеров патентов: SU 903126, SU 419398, SU 472008.


- система питания; 2 - аппарат питания; 3 - станина; 4 - автомат смены скалок; 5 - комплект скалок; 6 - электрооборудование; 7 - гидрооборудование; 8 -конвеер обрезки труб; 9 - транспортёр обрезков; 10 - мешалка обрезков.

Рисунок 11 - Общий вид модернизированной конструкции

Целью изобретения является:

повышение надежности работы и улучшения условий обслуживания;

улучшения качества труб и упрощения конструкции;

расширения диапазона диаметров обрабатываемых труб.

Заключение

За время прохождения преддипломной практики на ОАО «Могилевский завод «Строммашина» мы ознакомились с историей и структурой предприятия, организацией работы в конструкторских бюро, отдела главного конструктора и отдельных служб; изучили конструкции подъемно - транспортных машин, выпускаемых на предприятии, организацию проектирования машин, изготовления и испытания опытных образцов, постановки машин на серию; приобрели навыки конструирования деталей машин.

Похожие работы на - Особенности технологического процесса строительного и дорожного машиностроения

 

Не нашли материал для своей работы?
Поможем написать уникальную работу
Без плагиата!
Без нейросетей!