Моделирование справочной телефонной сети

  • Вид работы:
    Дипломная (ВКР)
  • Предмет:
    Информатика, ВТ, телекоммуникации
  • Язык:
    Русский
    ,
    Формат файла:
    MS Word
    122,56 kb
  • Опубликовано:
    2011-06-22
Вы можете узнать стоимость помощи в написании студенческой работы.
Помощь в написании работы, которую точно примут!

Моделирование справочной телефонной сети

Министерство образования и науки Российской Федерации

ФЕДЕРАЛЬНОЕ АГЕНТСТВО ПО ОБРАЗОВАНИЮ

Государственное образовательное учреждение высшего профессионального образования

«СЕВЕРО-КАВКАЗСКИЙ ГОСУДАРСТВЕННЫЙ ТЕХНИЧЕСКИЙ УНИВЕРСИТЕТ»

Кафедра автоматизированных систем обработки информации и управления

 



ПОЯСНИТЕЛЬНАЯ ЗАПИСКА

к курсовому проекту (работе) по Моделированию систем

на тему:

Моделирование справочной телефонной сети



Автор проекта (работы)

14.062011  М.А. Абреков


Ставрополь, 2011

АННОТАЦИЯ

моделирование справочная телефонная сеть

В курсовой работе моделируется работа справочной телефонной сети города. Телефонная сеть состоит из пяти операторов и автоматического коммутатора.

В данной курсовой работе производится исследование моделируемого объекта с целью выделения основных составляющих процесса его функционирования, строится обобщенная схема модели, и проводится анализ результатов моделирования системы.

Курсовая работа состоит из пояснительной записки и инструментально-программного комплекса, позволяющего исследовать загруженность процессоров, а также ряд других параметров.

Содержание

ВВЕДЕНИЕ

.1 Описание моделируемой системы

.2      Структурная схема модели системы и ее описание

.3      Временная диаграмма и ее описание

.4      Q-схема системы и ее описание

.5      Укрупненная схема моделирующего алгоритма

.6      Построение Блок-диаграммы GPSS модели

.7 Математическая модель

.8 Получение и интерпретация результатов моделирования

.9      Описание возможных улучшений в работе системы

ЗАКЛЮЧЕНИЕ

СПИСОК ИСПОЛЬЗУЕМЫХ ИСТОЧНИКОВ

ПРИЛОЖЕНИЕ. ЛИСТИНГ ПРОГРАММЫ

ВВЕДЕНИЕ


Целью курсовой работы является: смоделировать работу справочной телефонной сети города.

Задача заключается в составлении и исследовании модели справочной телефонной сети и определении основных характеристик моделируемой системы:

ü  количество отказов;

ü  коэффициент загрузки операторов.

Актуальность имитационного исследования подобных систем не вызывает сомнений в связи со следующими положениями:

стоимость натуральных экспериментов почти всегда больше стоимости машинных экспериментов с моделью;

измерение ряда показателей качества функционирования на реальных системах принципиально не возможно и может быть проведено только при изменении самой системы.

В качестве языка алгоритмизации выбран язык GPSS/PC, из-за его ориентации на построение моделей таких систем, в которых возможно возникновение очередей различного рода и возможности описать как алгоритм функционирования исследуемой системы, так и воздействие случайных факторов на систему. В курсовой работе был использован материал следующих литературных источников:

)        Советов Б.Я. Яковлев С.А. Моделирование систем. Курсовое проектирование: Учеб. Пособие для вузов по спец. АСУ. - М.: Высш. шк., 1998. - 135 с.

)        Советов Б.Я., Яковлев С.А. Моделирование систем: Учеб. Для вузов - 3-е изд., перераб. И доп. - М.: Высш. шк., 2001.- 343 с.

)        Советов Б.Я. Моделирование систем. Практикум: Учеб. Пособие для вузов/Б.Я.Советов, С.А. Явовлев. - 2-е изд., 295 с.

1.1 Описание моделируемой системы


Пять операторов работают в справочной телефонной сети города 09. Автоматический коммутатор переключает очередного абонента на того оператора, у которого очередь наименьшей длины. Допустимая длина очереди перед каждым оператором - 2 абонента. Если все очереди имеют максимальную длину, то очередной вызов получает отказ. Вызовы поступают каждые 15±3 с.

Смоделировать обслуживание 200 вызовов. Определить количество отказов и коэффициенты загрузки операторов.

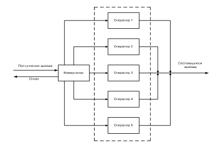
1.2 Структурная схема модели системы и ее описание


Рисунок 1.1 - Структурная схема модели

На структурной схеме (рисунок 1.1) изображены следующие элементы моделируемой системы:

·        Поток - вызовов

·        Коммутатор - проводит проверку очередей перед каждым оператором

·        Пять операторов телефонной сети

1.3 Временная диаграмма и ее описание


Анализ условия задачи и структурной схемы позволяет сказать, что в процессе работы телефонной справочной сети возможны следующие ситуации:

)        Безотказный режим работы, когда все вызовы состоялись;

)        Режим работы с отказами, когда все очереди заполнены и очередной вызов получает отказ.

Более детально процесс функционирования телефонной справочной сети можно представить на временной диаграмме (рисунок 1.2).

Рисунок 1.2 - Временная диаграмма

На временной диаграмме:

·        Оси Н1, Н2, Н3, Н4, Н5- ожидание вызовов в очереди 1, 2, 3, 4, 5 соответственно;

·        Оси К1, К2, К3, К4, К5 - обслуживание вызовов оператором 1, 2, 3, 4, 5 соответственно;

·        tож - время ожидания вызова в соответствующей очереди;

·        tоб - время обслуживания вызова соответствующим оператором.

С помощью временной диаграммы можно выявить все особые состояния сети, которые необходимо будет учесть при построении детального моделирующего алгоритма.

 

.4 Q-схема системы и ее описание


Так как описанные процессы являются процессами массового обслуживания, то для формализации задачи используем символику Q-схем. В соответствии с построенной концептуальной моделью и символикой Q-схем структурную схему данной СМО (рисунок 1.1) можно представить в виде, показанном на рисунке 2.1, где И - источник, К - канал, Н - накопитель.

Рисунок 2.1 - Q-схема

Источник И имитирует процесс поступления вызова. Автоматический коммутатор переключает вызов на того оператора у которого очередь наименьшей длины. Если все очереди имеют максимальную длину, то очередной вызов получает отказ. Если накопитель Н1 заполнен, то клапан 1 закрыт, а клапан 6 открыт; если накопитель Н2 заполнен, то клапан 2 закрыт, а клапан 7 открыт; если накопитель Н3 заполнен, то клапан 3 закрыт, а клапан 8 открыт; если накопитель Н4 заполнен, то клапан 4 закрыт, а клапан 9 открыт; если накопитель Н5 заполнен, то клапан 5 закрыт, а клапан 10 открыт. В результате если все накопители Н1, Н2, Н3, Н4, Н5 переполнены, т.е клапаны 6, 7, 8, 9, 10 открыты то вызов теряется, что соответствует уходу вызова из сети не обслуженным. В противном случае вызовы поступившие в накопители Н1, Н2, Н3, Н4, Н5 обслуживаются операторами К1, К2, К3, К4, К5 соответственно.

 

1.5 Укрупненная схема моделирующего алгоритма


Рисунок 3.1 - Укрупненная схема

На рисунке 3.1 представлены следующие блоки:

Блок 1 - Начало работы системы;

Блоки 3 - Выполняется проверка количества поступивших вызовов;

Блоки 4 - Выполняется поиск наименьшей очереди среди существующих 5 очередей;

Блоки 5 - Проверяется суммарное количество вызовов ожидающих в очереди;

Блок 6 - Вызов становиться в выбранную очередь;

Блок 7 - Происходит обслуживание оператором которому соответствует выбранная очередь;

Блок 8 - Выполняется обработка результатов работы сети;

Блок 9 - Результаты выводятся на экран в виде отчета;

Блок 10 - Конец работы сети.

 

1.6 Построение Блок-диаграммы GPSS модели


Рисунок 3.2 - Блок-диаграмма

1.7 Математическая модель


При построении дельного моделирующего алгоритма необходимо определить переменные и уравнения математической модели. В нашем случае это будут:

t - среднее время поступления вызовов в сеть;

tоб - среднее время обслуживания вызовов оператором;

T - общее время работы системы;

Кзаг - коэффициент загруженности оператора;

N - максимальное количество вызовов, которое может обслужить один оператор за общее время работы сети;

Ui - количество вызовов которые попадут на обслуживание к i-му оператору за общее время работы сети;

M - общее количество вызовов поступающих в сеть.

Уравнения модели:

M = 200; T = t*M = 15*200 = 3000;


Если M >=N тогда ,  иначе

U1 = N = 120;      U2 = 200-120 = 80; U3 = 200-(120 + 80) = 0; U4 = 0; U5 = 0;

 

      

1.8 Получение и интерпретация результатов моделирования


GPSS World Simulation Report - kod.50.1

, June 15, 2011 01:59:07

TIME END TIME BLOCKS FACILITIES STORAGES

.000 3053.541 12 2 0

VALUE UNSPECIFIED11.00010000.000

LOC BLOCK TYPE ENTRY COUNT CURRENT COUNT RETRY

GENERATE 202 0 0

SELECT 202 0 0

TEST 202 0 0

TEST 202 0 0

QUEUE 202 0 0

SEIZE 202 1 0

DEPART 201 0 0

ADVANCE 201 1 0

RELEASE 200 0 0

TERMINATE 200 0 011 SAVEVALUE 0 0 0

TERMINATE 0 0 0

ENTRIES UTIL. AVE. TIME AVAIL. OWNER PEND INTER RETRY DELAY

124 0.994 24.488 1 201 0 0 0

78 0.631 24.702 1 202 0 0 0

MAX CONT. ENTRY ENTRY(0) AVE.CONT. AVE.TIME AVE.(-0) RETRY

1 1 124 1 0.678 16.705 16.841 0

1 0 78 60 0.035 1.385 6.000 0

0 0 0 0 0.000 0.000 0.000 0

0 0 0 0 0.000 0.000 0.000 0

0 0 0 0 0.000 0.000 0.000 0

XN PRI M1 ASSEM CURRENT NEXT PARAMETER VALUE

0 3033.050 201 6 71.000

XN PRI BDT ASSEM CURRENT NEXT PARAMETER VALUE

203 0 3065.517 203 0 1

0 3080.977 202 8 92.000

Анализ результатов

Результаты, полученные в ходе моделирования, отражают основные особенности функционирования телефонной справочной сети и позволяют качественно и количественно оценить ее поведение.

Из полученных в ходе моделирования результатов видно, что все поступившие в сеть вызовы были обслужены т.е отказов в обслуживании не произошло. Коэффициенты загрузки 1-го и 2-го оператора равны 0.994 и 0.631 соответственно, а у остальных операторов коэффициенты загрузки равны нулю, следовательно, они небыли задействованы.

Результаты, полученные в ходе моделирования, не противоречат результатам, которые были получены при построении математической модели сети. При проведении аналитического расчета характеристик данной сети были получены следующие результаты: коэффициенты загрузки 1-го и 2-го оператора равны 1 и 0.666 соответственно, а у остальных операторов коэффициенты загрузки равны нулю.

 

1.9 Описание возможных улучшений в работе системы

 

Основываясь на результатах, полученных в ходе моделирования и аналитического расчета можно дать следующие рекомендации для повышения эффективности функционирования данной сети:

следует исключить из сети операторов которые не используются при функционировании сети т.е коэффициент загрузки которых равен нулю.

Для этого необходимо в программном коде (ПРИЛОЖЕНИЕ. ЛИСТИНГ ПРОГРАММЫ) произвести следующие изменения:

)        В блоке select в поле «С» записать цифру 2;

)        В блоке test в поле «А» записать «Q1+Q2», а «B» записать цифру 4.

Окончательный вариант модели с результатами будет выглядеть следующим образом:

GPSS World Simulation Report - kod.60.1, June 17, 2011 03:03:28

TIME END TIME BLOCKS FACILITIES STORAGES

.000 3053.541 11 2 0

NAME VALUE UNSPECIFIED10.00010000.000

LABEL LOC BLOCK TYPE ENTRY COUNT CURRENT COUNT RETRY

GENERATE 202 0 0

TEST 202 0 0

QUEUE 202 0 0

SEIZE 202 1 0

DEPART 201 0 0

ADVANCE 201 1 0

RELEASE 200 0 0

TERMINATE 200 0 010 SAVEVALUE 0 0 0

TERMINATE 0 0 0

FACILITY ENTRIES UTIL. AVE. TIME AVAIL. OWNER PEND INTER RETRY DELAY

124 0.994 24.488 1 201 0 0 0

78 0.631 24.702 1 202 0 0 0

QUEUE MAX CONT. ENTRY ENTRY(0) AVE.CONT. AVE.TIME AVE.(-0) RETRY

1 1 124 1 0.678 16.705 16.841 0

1 0 78 60 0.035 1.385 6.000 0

CEC XN PRI M1 ASSEM CURRENT NEXT PARAMETER VALUE

0 3033.050 201 5 61.000

FEC XN PRI BDT ASSEM CURRENT NEXT PARAMETER VALUE

203 0 3065.517 203 0 1

0 3080.977 202 7 82.000

 

 

ЗАКЛЮЧЕНИЕ


При моделировании системы были решены все поставленные задачи и получены результаты.

Была спроектирована модель телефонной справочной сети, определены характеристики сети и проведен ряд экспериментов с моделью, в ходе которых установлены зависимости выходных данных от входных параметров, а также даны рекомендации, позволяющие повысить эффективность функционирования данной телефонной справочной сети. Были сделаны выводы о качестве системы и возможном её улучшении.

СПИСОК ИСПОЛЬЗУЕМЫХ ИСТОЧНИКОВ


1.      Советов Б.Я. Моделирование систем. Практикум: Учеб. Пособие для вузов/Б.Я.Советов, С.А. Явовлев. - 2-е изд., перераб. И доп - М.: Высш. шк., 2003.- 295 с.

.        Советов Б.Я., Яковлев С.А. Моделирование систем: Учеб. Для вузов - 3-е изд., перераб. И доп. - М.: Высш. шк., 2001.- 343 с.

.        Советов Б.Я. Яковлев С.А. Моделирование систем. Курсовое проектирование: Учеб. Пособие для вузов по спец. АСУ. - М.: Высш. шк., 1998. - 135 с.

ПРИЛОЖЕНИЕ. ЛИСТИНГ ПРОГРАММЫ


simulate15,3MIN Oper,1,2,,QL (Q1+Q2),4,met1P$Oper P$OperP$Oper 25,10 P$Oper 1 SAVEVALUE countOtkaz+,11200

Похожие работы на - Моделирование справочной телефонной сети

 

Не нашли материал для своей работы?
Поможем написать уникальную работу
Без плагиата!
Без нейросетей!