|
№ опер.
|
Операция
|
Режимы резания
|
t мм
|
I
|
|
|
S об/мин
|
V м/мин
|
n мин-1
|
|
|
|
005
|
Фрезерно-центровал
|
0,1
|
163,4
|
249
|
10
|
1
|
|
|
0,2
|
14,9
|
815
|
3,15
|
1
|
|
010
|
Токарная черновая
|
0,5
|
111,2
|
125
|
3,5
|
2
|
|
015
|
Токарная черновая
|
0,5
|
90
|
100
|
3
|
1
|
|
025
|
Токарная чистовая
|
0,34
|
111,2
|
125
|
1,6
|
1
|
|
030
|
Токарная чистовая
|
0,34
|
115
|
125
|
1,5
|
1
|
|
050
|
Фрезерная
|
0,2
|
13,8
|
200
|
4,5
|
1
|
|
125
|
Шлифовальная
|
0,005
|
36,7
|
90
|
0,25
|
1
|
|
120
|
Шлифовальная
|
0,005
|
28,3
|
90
|
0,3
|
1
|
|
040
|
Токарная получистовая
|
0,350,25
|
41,2
|
117
|
0,35
|
1
|
|
045
|
Токарная чистовая
|
0,03
|
58
|
160
|
1,5
|
1
|
|
060
|
Расточка чистовая
|
0,1
|
78,5
|
500
|
7
|
1
|
|
080
|
Сверлильная
|
1,25
|
15,78
|
750
|
3,35
|
1
|
|
|
0,14
|
2,5
|
100
|
1,08
|
1
|
|
085
|
Сверлильная
|
1,75
|
18,8
|
600
|
4,25
|
1
|
|
|
руч
|
5,9
|
190
|
1,25
|
1
|
|
130
|
Палировальная
|
|
29,8
|
100
|
|
|
.8
Техническое нормирование времени
Норма штучного времени рассчитывается по формуле (2.34):
[4](2.34)
гдеТ0
- основное время, мин; Т0 =
(мин)
Тв.
- вспомогатнльное время, мин;
Тоб.
- время обслуживания, мин;
Тот.
- время на отдых и личные надобности,
мин;
Lpx -
длина рабочего хода
n - число
оборотов шпинделя
S - подача
Тв.,Тоб.,Тот.
Определяем по нормативам нормы времени по операции. Сведем в таблицу.
Таблица
2.8 Сводная таблица технических норм времени по операциям
|
Проектируемый вариант
|
Тшт
|
8,88
|
4,27
|
9,96
|
5,94
|
16,21
|
3,18
|
1,803
|
3,93
|
9,62
|
10,95
|
6,2
|
4,14
|
4,21
|
5,13
|
90,47
|
|
Тот
|
0,54
|
0,25
|
0,6
|
0,36
|
0,98
|
0,19
|
0,68
|
0,23
|
0,58
|
0,66
|
0,6
|
0,24
|
0,25
|
0,32
|
|
|
Тоб
|
0,39
|
0,19
|
0,44
|
0,26
|
0,73
|
0,14
|
0,053
|
0,17
|
0,43
|
0,49
|
0,24
|
0,18
|
0,19
|
0,23
|
|
|
Топ
|
7,95
|
3,83
|
8,92
|
5,32
|
14,5
|
2,85
|
1,07
|
3,53
|
8,61
|
9,8
|
5,1
|
3,72
|
3,77
|
4,58
|
|
|
Тв
|
0,25
|
0,25
|
0,32
|
0,15
|
0,4
|
0,1
|
0,1
|
0,23
|
0,26
|
0,3
|
0,3
|
0,3
|
0,12
|
0,08
|
|
|
То
|
7,7
|
3,58
|
8,6
|
5,2
|
14,1
|
2,75
|
0,97
|
3,3
|
8,35
|
9,5
|
4,8
|
3,42
|
3,65
|
4,5
|
|
|
Базовый вариант
|
Тшт
|
8,88
|
4,27
|
9,96
|
5,94
|
16,21
|
3,18
|
1,803
|
3,93
|
9,62
|
10,95
|
5,55
|
4,14
|
4,21
|
5,13
|
89,5
|
|
|
Тот
|
0,54
|
0,25
|
0,6
|
0,36
|
0,98
|
0,19
|
0,68
|
0,23
|
0,58
|
0,66
|
0,36
|
0,24
|
0,25
|
0,32
|
|
|
|
Тоб
|
0,39
|
0,19
|
0,26
|
0,73
|
0,14
|
0,053
|
0,17
|
0,43
|
0,49
|
0,24
|
0,18
|
0,19
|
0,23
|
|
|
|
Топ
|
7,95
|
3,83
|
8,92
|
5,32
|
14,5
|
2,85
|
1,07
|
3,53
|
8,61
|
9,8
|
4,95
|
3,72
|
3,77
|
4,58
|
|
|
|
Тв
|
0,25
|
0,25
|
0,32
|
0,15
|
0,4
|
0,1
|
0,1
|
0,23
|
0,26
|
0,3
|
0,15
|
0,3
|
0,12
|
0,08
|
|
|
|
То
|
7,7
|
3,58
|
8,6
|
5,2
|
14,1
|
2,75
|
0,97
|
3,3
|
8,35
|
9,5
|
4,8
|
3,42
|
3,65
|
4,5
|
|
|
№ опер.
|
005
|
010
|
015
|
025
|
030
|
050
|
125
|
120
|
040
|
045
|
060
|
080
|
085
|
130
|
Σ
|
|
Наиме. опер.
|
Фрезерно-центров
|
Токарная черновая
|
Токарная черновая
|
Токарная чистовая
|
Токарная чистовая
|
фрезерная
|
Шлифов.
|
Шлифов.
|
Токарная получист.
|
Токарная чистовая
|
Расточка получист.
|
Сверлильн.
|
Сверлильн.
|
Шлифовал.
|
|
3. КОНСТРУКТОРСКАЯ ЧАСТЬ
.1
Разработка станочного приспособления
Требуемая точность обработки обеспечивается определением положения
заготовки относительно режущего инструмента.
Положение заготовки и отверстия, которое необходимо обрабатывать,
обеспечивая ее базирование на упоре. Выбранная схема базирования из-за точности
изготовления установки упоров обеспечивает минимальные погрешности базирования.
Установку заготовок выполняют - осуществляя плотный контакт базовой
поверхности детали с корпусом, а так же упором за счет срабатывания
пневмоцилиндра и прижима держателей. Т.е. для полной ориентацией заготовки
выбираются 2 базовые поверхности с тем, чтобы выполнялось условие неотрывности
баз от опор, т.е. при сохранении плотного неподвижного контакта между ними
заготовка не могла сдвинуться и провернуться относительно координатных осей.
При выполнении условия неотрывности заготовка лишается всех степеней
свободы.
Для обеспечения необходимой точности обрабатываемой детали при
конструировании приспособления необходимо выбрать такую схему, при которой
будет соблюдаться условие:
[6 стр
150]∆
ε - действительное значение погрешностей базирования заготовки в
приспособлении.
εдоп -
допускаемое значение погрешностей базирования заготовки в приспособлении.
Допускаемое
значение погрешностей базирования заготовки в приспособлении. εдоп
ориентировочно определяется по формуле:
εдоп =δ-w
где:δ - допуск выдерживаемого размера δ = 600мкм
w - точность обработки, получаемая при выполнении данной
операции.
При
отсутствии обоснованных данных о точности обработки, получаемой при выполнении
данной операции ( при фрезеровании шпон паза) может приниматься средняя
точность обработки w=460 мкм [6]
εдоп =
600-460 = 140 мкм
действительное
значение погрешности базирования заготовки в приспособлении ε определяют из геометрических связей, свойственных
схеме базирования.
В
данном случае, так как установочная и технологическая базы совмещены,
погрешность базирования ε=0.
Таим
образом, условие ε
≤ εдоп удовлетворяется.
Расчетная
суммарная погрешность приспособления ∆пр определяется по
формуле:
∆пр
≤
δ - (k1ε + ∆уст + k2 w)
δ - допуск на обработанную деталь1 - коэффициент равный 0,8-0,852
- коэффициент равный 0,6-1,0
wуст - точность обработки на данной операции
∆уст
- погрешность установки
∆уст
- это смещение заготовки при закреплении. Она зависит от типа
приспособления и главным образом от характера зажима и не зависит от схемы
базирования и метода обработки.
∆уст
=
εб - погрешность
базирования εб = 0
εз -
погрешность закрепления εз = 70 мкм
Таблица
71 [6]
∆уст
=
Определив
погрешность базирования
ε, рассчитав погрешность установки ∆уст
и точность обработки w,
рассчитываем суммарную погрешность приспособления ∆пр
∆пр
= 0,6 - (0 + 0,007 + 0.8 х 0,46) = 0,162 мм
Затем
значение суммарной погрешности приспособления ∆пр распределяем
по отдельным составляющим звеньям размерной цепи. Суммарная погрешность
приспособления ∆пр состоит из следующих погрешностей
составляющих звеньев размерной цепи
∆пр
=
Σ δи + δу + δз
где
δи -
погрешность изготовления деталей
δу -
погрешность установки приспособления на станке
δз -
погрешность в следствии конструктивных зазоров необходимых для насадки на
установочные элементы приспособления
3.1.2
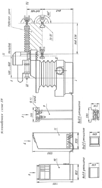
Описание станочного приспособления для фрезерования шпоночного паза
Это приспособление для вертикально - фрезерного станка модели 6М13ПБ
служащего дла фрезерования шпоночного паза в детали «Водило».
Приспособление пневматические тиски позволяет повысить производительность
труда, улучшить качество обрабатываемой поверхности.
В приспособлении применяется пневмоциллиндр Ø 100 Н7/К6 с
давлением в пневмосистеме 0,4 - 0,5 МПа.
Ход поршня приспособления - 140мм.
Усилие зажима 8000 Н и максимальный диаметр обрабатываемой детали 90 мм,
а минимальный диаметр 40 мм.
Приспособление имеет небольшие габаритные размеры, что позволяет без
особых усилий установить приспособление на стол станка.
Рис.4 Расчетная схема писпособления
Приспособление производится в действие нажатием кнопки «Пуск». При этом
под действием силы, действующей на поршень пневмоциллиндра приводят в действие
шток с зубчатой рейкой. Рейка входит в зацепление с шестерней. Вращаясь
шестерня (19) передает свій крутящий момент на передачу винт - гайка (9).
Тиски зажимают заготовку.
3.1.3
Определение диаметра пневмоцилиндра
Необходимо определить исходное усилие рu, которое необходимо приложить к
силовому механизму во фрезерном приспособлении для надежного закрепления детали
с усилием Q на операции фрезерования паза
шпоночной фрезой.
Обработка паза производится при следующих условиях:
Фреза шпоночная 22N9
ГОСТ 91140-78 с числом зубьев Z=3.
Обрабатываемая
деталь изготовлена из Стали 45 имеющая твердость НВ 156÷241 и предел прочности на растяжение
Скорость
резания V=12,7 м/мин; глубина резания t=9мм,
подача Sz=0,2 мм/зуб; ширина фрезерования
В=22мм.
Окружная
сила при фрезеровании определяется по формуле:
[5 стр.
9]
По
справочнику определяем коэффициенты для шпоночной фрезы.
Тогда:
Исходное
усилие определяется по формуле:
[5
стр.51]
А
зажимное усилие Q:
После
подстановки значения Q получили:
Где:
β - дополнительный угол которым учитываются потери на трение скольжения в
шарнирах β=1°
η=0,85
-
Коэффициенты надежности закрепления
К0
- гарантированный коэф запаса надежности закрепления К0 =1,5
К1
- учитывает величину силы резания для черновой К1 =1,2 и чистовой К1
= 1
К2
- учитывает увеличение силы резания К2 = 1,2 ÷ 1,4
К3
+ К4 + К5 + К6 = 1
После
подстановки этих значений получим:
К=1,5·1·1,4·1·1·1·1=2,1
Положим,
что конструктивные размеры зажимного устройства и плечи сил имеют следующие
значения:
(l1)а=75 мм;(l2)в=130мм;а=10мм;в=15 мм;
Принимаем
f1=0,25;Рн=1,1Рz;Рv=0,20Рz.
Тогда:
Определим
диаметр пневмоцилиндра по формуле:
[5 стр
30]
Где
η
= 0,85 и ρ = 4 кгс/см2
После
подстановки получим:
Принимаем:диаметр
пневмоцилиндра D=100 мм
диаметр
штока dшт=25мм
3.2
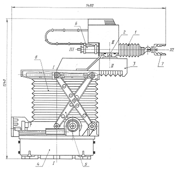
Описание приспособления для сверления 6 отверстий
В качестве приспособления для сверления 6 отверстии принимаются
шестишпиндельные сверлильные головки.
Это приспособление предназначено для вертикально - сверлильного станка.
Применение данного приспособления позволяет повысить производительность труда,
улучшить качество обрабатываемой поверхности.
Преимущество приспособления заключается в том, что одновременно
производится сверление шести отверстий, что позволяет сократить время на данной
операции.
Крутящий момент подается на сверлильную головку со станка на поводок 26.
Через зубчатое колесо 11 крутящий момент подается на зубчатые колёса 12 (3
штуки). На том же валу находится зубчатое колесо 13 (3 штуки). С зубчатого
колеса 13 крутящий момент передается через шестерни 14 на шпинделя
приспособления. На 2 шестерни 14 приходится 1 колесо 13.
Число
оборотов станка n = 63
при
подачи S=0,34 об-1.
Сверлильная
головка потребляет мощность при резании 3 кВт при крутящем моменте 77,3 Нм, а
осевая сила резания 5656 Н.
Сверлильная
головка несложна в конструкции, простота и надежность в работе тоже одно из
преимуществ данного приспособления.
Приспособление
имеет две направляющие для прихвата кондукторной плиты
Рис.5
Схема приспособления
3.2.1
Расчет шестишпиндельной сверлильной головки
Кинематическая схема расположения зубчатых колес и шестерен
Рис. 6. Определение мощности резания на шпинделе
Скорость резания равна:
[2]
S= 0,34 мм/об;t=15;D=30
Где:
Кзv - коэф. учит. одинарную заточку сверла. Кзv=0,75
S - подача;D -
диаметр сверла
Сv=7;q=0,4;y=0,7;m=0,2;Т=2,5
·Ктu=60 мин
Ктu - коэф. изменения стойкости.
Определяем
крутящий момент
[2]
Cм=0,0345;q=2;у=0,8;Кр=0,59
Определяем
мощность резания
[2]
Мощность
потребляемая головкой
Имеем
6 шпинделей мощностью резания по 0,5 кВт
Мг=0,5·6=3
кВт
Осевая
сила резания:
[2]р=68;q=1;х
- ;у=0,7
Р
станка - 4000 кгс
Определяем
числа оборотов валов
nI=
63 об/мин (число оборотов шпинделя станка)
nII=
= 104,3 об/мин
nIII=
= 114,73 об/мин
определяем
подачу инструмента
[2]
Рассчитываем
валы.
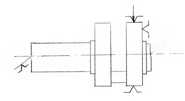
Расчет
ведем шпинделя сверлильной головки, т.к. он имеет наименьший диаметр, большую
длину.
Расчетная
схема
Определяем
усилие Р
Где:
d=m·z
D= 4·10-3·20=0.08
(м)
Тогда:
Осевое
усилие Т находим по формуле:
Т=Р·tgα,
где
α - угол зацепления α=20°
Т=1932,5·tg20°=703.3 Н
ΣМа=ВВ·2·60·10-3 -·P·60·10-3
=0
АВ=ВВ=
ΣМа=Вг·2·60·10-3 -·Т·60·10-3
=0
Аг=Вг=
Изгибающий
момент Мu равен:
Строим
эпюры
Эпюра
Мu - горизонтальных сил
Эпюра
Мu - вертикальных сил
Эпюра
изгибающих моментов Мu
Эпюра
крутящих моментов Мкр
Эпюра
Мэкв
Подбор
подшипников качения
Подбор
производим по динамической грузоподъемности
Спотр
≤ Спасп[7 стр 22]
С
=
L - ресурс
(млн.обор)
Lh -
ресурс в часах, принимаем 20 000 часов
n - частота
вращения.
Эквивалентная
нагрузка Р0 = 565,5 кгс; р - показатель степени для шариковых
подшипников р=3
< Спасп
Спасп=3750
кгс
Принимаем
шариковый однорядный упорный подшипник №8208 ГОСТ 6874 - 75. Для шарикового
радиального подшипника Р=440 кгс.
< Стабл
= 2620
Принимаем
подшипник №307 ГОСТ 8338 - 75
Проверка
зубьев колес на выносливость по контактным и изгибным напряжениям.
Уточненный
коэф. нагрузки k=1,28 он отличается от принятого ранее k=1,5
в меньшую сторону → рабочие напряжения оказываются меньше допускаемых.
Проверку
зубьев шестерен и колес на выносливость по напряжениям изгиба производится по
уравнению:
[7]
Модуль
зубчатых колес и шестерен m=2 ширина венцов 35 мм
[σ-1]=5000 кг/см2
Z1=48у1=0,456
Z2=29у2=0,414
Z3=22у1=0,384
Z1=20у1=0,371
Условия
изгибной прочности выполняются
Расчет
шпонок
Деталь
поз. 56, 57, 58
Деталь
позиции 56:
Шпонка
12х8х32 ГОСТ 23360 - 78
Деталь
позиции 57:
Шпонка
12х8х45 ГОСТ 23360 - 78
Деталь
позиции 58:
Шпонка
10х8х36 ГОСТ 23360 - 78
Условие
прочности
[7]
Мкр
- передаваемый крутящий момент.
d - диаметр вала
(см)
h - высота
сечения шпонки (см)
lр - рабочая длина шпонки (см)
lp=l-b
[σ] см - допустимое напряжение снятия, для
неподвижных соединений [σ] см = 1200 кг/см2
[σ] см > σсм
Для
шпонки позиции 56
d = 4см
Мкр
= 1546 кгс·см
h = 0,8 см
lp=l
Для
шпонки позиции 57
d = 4см
Мкр
= 4638 кгс·см
h = 0,8 см
lp=4,5
Для
шпонки позиции 57
d = 3,5 см
Мкр
= 773 кгс·см
h = 0,8
см
lp=3,6
[σ] см > σсм
.3
Средство активного контроля
Контрольные автоматы и полуавтоматы, при проверке уже обработанных
деталей, отсортировывают диффективные детали от годных или рассортировывают
готовые детали по размерам на группы [8]
Рис.8 Схема пневмоконтактного устройства для измерения наружного
диаметра.
Уменьшение размеров и шлифуемого вала1 вызывает изменение положения губок
2 и рычага 3 измерительной скобы 4. Перемещение рычага 3 увеличивает или
уменьшает зазор между плоскостью рычага и соплом трубки 5 пневматического
прибора этим самым изменяет давление воздуха в камере.
Прибор имеет стрелку - указатель и электроконтктный датчик.
Воздух от заводской сети, проходя через пневмотический фильтр и
стабилизатор давления 7, очищается от пыли и влаги и получает строго
определенное давление. Измерение размера детали указывается стрелкой на шкале
пневмоэлектроконтактного датчика 6, а когда размер детали достигает заданной величины,
электроконтакт срабатывает, пневмоэлектроконтактный датчик 6 через электроблок
8 выдаёт команду органам станка на переключение с режима шлифования на режим
доводки и на отвод шлифовального круга и измеритель скобы.
Подвод и отвод измерительной скобы осуществляется гидравлическим
устройством 9.Пневмоэлектроконтактный датчик 6 кроме шкалы со стрелкой снабжен
также светосигнальным устройством в виде лампочек 10.
Настройка измерительной скобы на необходимый размер осуществляется по
образцовым деталям; при настройке измерительной губки 2 перемещают,
устанавливают сопло трубки 5 и регулируют контакты пневмоэлектроконтактного
датчика 6.
3.4
Транспортер для уборки стружки
.4.1
Описание конструкции и принципы работы шнекового транспортера для уборки стружки
Достижение высокого уровня производительности труда в значительной мере
связано с обеспечением комплексной механизации трудоёмких работ. Одни из
средств решения этой задачи является подъёмнотранспортная техника. Среди
большого разнообразия подъёмнотранспортных средств различного назначения,
современная технология большинства производственных процессов определила очень
важную роль обширной группе машин и установок непрерывного транспорта. Эти
машины и установки дают возможность целесообразно организовать поточный
механизированный и автоматизированный производственный процесс, обеспечивая
комплексные транспортные и погрузо-разгрузочные операции для основных и
вспомогательных грузов.
Большое распространение в различных отраслях народного хозяйства, промышленности
нашли винтовые транспортеры. Рабочем органом в винтовых транспортерах является
винт вращающейся в закрытом жёлобе, нижняя часть которого несет форму
полуцилиндра. Перемещение груза вдоль жёлоба происходит при вращении винта.
Транспортируемый груз удерживается от вращения вместе с винтом силой тяжести и
силой трения о стенки жёлоба.
Технико-экономическая эффективность применения транспортерах
обеспечивается их достоинствами, которые и легли в основу выбора данного типа
для механизации уборки стружки, шнековое транспортирование эффективно при
уборке дробленной стружки, а также спиральной стружки. Выгодность шнека по
сравнению со скребковыми транспортерами, где требуется при увеличении длины
транспортера ставить дополнительные пневмоцилиндры, простотой устройства,
невысокой стоимостью изготовления, малыми размерами в поперечном сечении,
безопасности в работе и обслуживании.
К недостаткам винтовых транспортеров следует отнести:
Большой расход электроэнергии;
Заклинивание при попадании посторонних предметов.
Несмотря на указанные недостатки винтовые транспортеры получили широкое
распространение.
Одним из видов транспортёров является проектируемый транспортер.
Основным элементом этого транспортера является винт поз.12, жёлоб поз.
11, привод, который состоит из эелектродвигателя 7, муфты 6, редуктора
5,применение в производстве редуктора обеспечивает высокий КПД и
эксплуатационную долговечность.
Привод установлен в головной части транспортера
Конструкция данного типа позволяет обес печить удобный доступ для осмотра
и смазки его частей, разбор привода бес снятия винта и демонтаж винта без
разбора привода.
Рис.9 Схема транспортер
.4.2
Расчет шнекового транспортера для уборки стружки
Расчет винтовых транспортеров сводится к определению следующих
параметров:
Производительности транспортера Q (м/ч), зависящий от диаметра винта, n (об-1) ; коэффициента
наполнения поперечного сечения винта ψ; либо к определению диаметра винта при
заданной производительности транспортера.
Определим ориентировочно вес металла уходящего в стружку. С учетом
неравномерности ориентировочно задаем производительность транспортера Q=0,5 (м/ч).
По формуле:
(м/ч)[9]
Где:С - поправочный коэффициент связанный с углом наклона транспортера.
je - вес груза
ψ - коэф наполнения поперечного сечения
винта.
S -
шаг винта
D -
диаметр винта.
n -
число оборотов винта
ориентировочно выбираем Ø винта: D=160мм
S=0,8÷0,128;n=50об-1;ψ=0,125 [9 табл. 39 ]j=0,4 m/м3
Данный
диаметр винта не обеспечивает заданную производительность транспортера. По
формуле [9] выбираем шнеки.
D=200 мм
,75>0,5
При
D=200 мм определим скорость транспортирования по
формуле:
Где:
S - шаг винта
n - число
оборотов винта
Определяем
мощность на валу винта
W0 = 2,5 - коэф сопротивления зависящий от свойств
перемещаемого груза.
Н
- высота перемещаемого груза.
Определяем
мощность на валу электродвигателя
,
Где
η
- КПД передачи
[10 стр
4]
По
литературе [10] выбираем эл.двигатель АОП2 - 8
Характеристика
двигателя:
N=10 кВт;n=1500
об-1;
По
литературе [9] выбираем редуктор рм - 350; i=30,12 на
основе данных о Эл. двигателе, мощности и числа оборотов.
3.5
Промышленный робот типа «Универсал-5»
Многоцелевые ПР типа «Универсал-5» применяются для автоматизации
погрузочно-разгрузочных работ, обслуживания различного технологического
оборудования, межоперационного и межстаночного транспортирования объектов
обработки и выполнения других вспомогательных операций.
Общий вид и техническая характеристика ПР «Универсал-5.02» приведены ниже
Исполнительным механизмом ПР является манипулятор, который обеспечивает
установку в пределах рабочей зоны захватного механизма - схвата. Манипулятор
имеет четыре степени подвижности руки 1 в сферической системе координат,
которые реализуются механизмами: поворота 2 относительно оси П-П, выдвижения 3,
руки 1 вдоль оси III - III, поворота 4 руки относительно
вертикальной оси I - I, подъема 5 руки вдоль оси I - I. Две ориентирующие степени подвижности рабочего органа -
схвата 7 создают механизмы 6 вращения кисти руки относительно ее продольной оси
III - III и поперечной оси IV-IV. Подвижные
механизмы манипулятора защищены от попадания пыли, грязи и масла ограждением 8.
Установочные перемещения руки осуществляются с помощью
электромеханических следящих приводов, а ориентирующие движения кисти руки и
зажим-разжим схвата - пневмоцилиндрами.
Пневмоблок 9, которым комплектуется ПР, предназначен для подготовки,
регулирования подачи сжатого воздуха из заводской сети и блокирования работы
манипулятора при падении давления ниже допустимого.
Блок 10 тиристорных электроприводов формирует управляющие напряжения в
якорной цепи электродвигателей постоянного тока.
Устройство программного управления 11 позиционного типа имеет возможность
записи программы в режиме обучения (по первому циклу) и формирует управляющие
сигналы на блок 10, а также технологические команды управления циклом работы
манипулятора и обслуживаемого оборудования.
Принципиальные кинематическая, пневматическая и электрическая схемы ПР
«Универсал-5.02» приведены на листе 55.
Блоки тиристорного электропривода ЭПТ6-У5.02 обеспечивают управление в
следящем режиме электродвигателями постоянного тока типа СЛ-569 и СЛ-661,
установленными в механизмах четырех программируемых степеней подвижности
манипулятора.
Механизмы электроприводов включают в себя зубчатые или червячные
редукторы, параметры которых даны в кинематической схеме. Обратная связь
исполнительных механизмов манипулятора по положению и скорости осуществляется потенциометрическими
датчиками типа ППМЛ, приводящимися с помощью зубчатых редукторов и
тахогенераторов типа СЛ-121,.которые приводятся в движение специальными
зубчатыми или ременными механизмами.
Пневмоблок, которым комплектуется ПР, предназначен для подготовки сжатого
воздуха, подаваемого из заводской сети к манипулятору, а также для циклового
управления двумя ориентирующими движениями кисти руки и захватным устройством.
Приводы этих движений осуществляются от пневмоцилиндров. Для преобразования
поступательного перемещения поршня во вращательное движение кисти руки
используются винтовой копир (в приводе поворота кисти руки относительно ее
продольной оси) и передача рейка-шестерня (в приводе качания кисти относительно
поперечной оси). Привод зажима и разжима губок схвата осуществляется рычажным
механизмом, присоединенным к штоку пневмоцилиндра. Соединение механизмов
манипулятора между собой и устройством аналогового позиционного программного
управления типа АПС-1 производится в соответствии с принципиальной электрической
схемой.
Базовым узлом манипулятора является механизм поворота. В неподвижном
корпусе 1 на радиально-упорных подшипниках 2 установлена подвижная планшайба 3,
получающая вращение от механизма привода 4, который установлен в корпусе 1.
Механизм привода поворота состоит из электродвигателя 5 постоянного тока,
червячного редуктора 6 и жестко связанного с валом червяка 7 тахогенератора 8.
Крутящий момент на планшайбу 3 передается через цилиндрическую зубчатую
передачу, колесо 9 которой находится в зацеплении с выходной шестерней 10
редуктора.
На специальном кронштейне 11, закрепленном на корпусе 1, установлен
потенциометрический датчик положения 12, валик которого получает вращение через
зубчатую передачу. Разрезная шестерня 13 привода находится в зацеплении с
зубчатым колесом 9. На крышке 14, предохраняющей от попадания в
радиально-упорные подшипники 2 пыли и грязи, установлено ограждение 15, внутри
которого укладывают два витка электрокабеля. В крышке 14 закреплен угольник 16,
в который ввернута труба 17 воздуховода. Через трубу 17, на переднем конце
которой установлен обратный клапан 18, сжатый воздух проходит к угольнику 19, а
от него по шлангу подается к пневмоцилиндрам механизма руки.
На неподвижном корпусе 1 установлен дополнительный кронштейн 20 с
амортизирующими резиновыми пластинами, которые являются ограничителями поворота
подвижной планшайбы 3.
С целью выбора люфта в механизме привода червячное колесо 21 выполнено
разрезным: нижняя половина колеса надета на шлицевый вал 22, а верхняя - на ступицу
его нижней половины. Выбор люфта производится эксцентриком 23 путем поворота
верхней половины червячного колеса относительно нижней. После установления
требуемого бокового зазора (0,02...0,06 мм) обе половины червячного колеса 22
закрепляются винтами 24.
На планшайбе механизма поворота установлен механизм подъема манипулятора.
Механизм подъема манипулятора выполнен в виде пространственного рычажного
устройства (типа пантографа), неподвижные нижние шарниры которого закреплены в
кронштейне 1 на основании 2. Подвижные нижние шарниры пантографа установлены на
каретке 3, которая перемещается на роликах 4 по направляющим 5. При
горизонтальном движении каретки 3 пантограф перемещается вертикально вместе с
верхней платформой 6. К платформе крепится механизм поворота руки и скалка 7,
являющаяся направляющей для конических роликов 8 каретки 9, в которой
установлены верхние подвижные шарниры 10 пантографа.
Механизм привода подъема манипулятора состоит из двух электродвигателей
11 постоянного тока, установленных соосно относительно друг друга на основании
2, редуктора 12 и винтовой передачи 13. Контроль перемещения выполняется с
помощью потенциометрического датчика 14, соединенного с помощью зубчатой
передачи 15 с ходовым винтом. Обратная связь по скорости осуществляется
тахогенератором 16, который соединен зубчато-ременной передачей 17 с входным
валом редуктора 12.
Винтовая передача 13 конструктивно представляет собой винт 18 с
трапецеидальной резьбой, установленный в опорах на подшипниках качения. В
корпусе 20 каретки 3 установлены две полугайки 19. Для компенсации погрешности
расположения опор винта относительно направляющих 6 корпус 20 имеет осевой люфт
(0,01... 0,03 мм) и радиальный зазор (0,5 мм) относительно каретки 3.
Для выбора бокового зазора в зацеплении цилиндрических колес редуктора 12
и передачи 15 привода датчика положения (потенциометра) 14 ведомые зубчатые
колеса 21 и 22 выполнены разрезными с разводящими пружинными кольцами.
Для уравновешивания нагрузки в конструкции механизма подъема применены
две пружины 23 в опоре винта и две пружины 24 в верхней части пантографа.
Механизм поворота руки относительно вертикальной оси II - II (см. рис.), установленный на верхней платформе механизма
подъема, представляет собой редуктор с цилиндрическими зубчатыми и червячными
передачами.
Механизм выдвижения руки относительно ее продольной оси выполнен в виде
двухступенчатого редуктора с цилиндрическими зубчатыми колесами и
зубчато-реечной передачи.
В состав руки манипулятора входят механизмы качания и поворота кисти со
схватом. Корпус 1 руки выполнен в виде полой гильзы, внутри которой размещены
пневмоцилиндры качания и поворота кисти 2. На корпусе руки крепится зубчатая
рейка 3 и три стальные направляющие 4 для опорных роликов, установленных в
корпусе каретки 5, которая монтируется на механизме поворота руки.
Привод качания кисти 2 состоит из пневмоцилиндра 6, шток 7 которого с
помощью тяги 8 жестко связан с зубчатой рейкой 9, зацепляющейся с валом -
шестерней 10. Подача воздуха в цилиндр 6 (в левую или правую полость)
осуществляется через штуцеры 11 и 12. Ограничение вращения вала-шестерни 10
происходит посредством упора, регулируя который можно получить разные углы
качания кисти или полностью заблокировать это движение.
Для обеспечения плавности движения предусмотрено демпфирующее устройство,
состоящее из поршня 13, который перемещается вместе со штоком 7 в цилиндре 14,
заполненном маслом. В поршне 13 имеется калиброванное отверстие, через которое
масло выжимается из одной полости в другую при перемещениях поршня 13.
Механизм вращения кисти 2 включает в себя правую часть общего с
механизмом качания пневмоцилиндра 6, шток 15 которого жестко связан при помощи
соединительной втулки и дополнительного полого штока 16 с ползуном 17. Ползун
17 представляет собой полый толстостенный цилиндр, в котором прорезан
двухзаходный винтовой паз с шагом 130 мм. В паз входят два шарикоподшипника 18,
сидящие на осях водила 19.
При поступательном движении ползуна 17 подшипники 18, копируя винтовой
паз, поворачивают водило 19 и шарнирно связанную с ним кисть 2, которая
установлена на подшипниках 20 в корпусе 1 руки. Ползун 17 удерживается от
поворота роликами 21, катящимися по дополнительным пазам на стенках гильзы 1.
Ролики 21 установлены консольно на осях, одним концом запрессованных в тело ползуна
17.
Угол вращения кисти 2 руки можно регулировать, закладывая шарики
диаметром 8 мм в кольцевой канал круглого сечения в стыке между фланцами гильзы
1 и крышки 22. Внутрь этого канала, запертого двумя упорными винтами 23, через
кольцевой паз входит палец 24, жестко запрессованный одним концом в хвостовой
части кисти 2.
Плавность движения кисти руки обеспечивается демпфирующим устройством в
виде поршня с калибрующим отверстием, выполненным заодно со штоком 14. Поршень
демпфера перемещается в замкнутой полости, внутрь которой залито масло.
С целью расширения технологических возможностей ПР предусмотрена
возможность закрепления захватного механизма на кисти в четырех различных
положениях, которые точно фиксируются штифтом в корпусе 25 схвата по отверстиям
в крышке 22 кисти 2.
Привод губок 26 схвата осуществляется от пневмоцилиндра 27, закрепленного
на корпусе 25. Для зажима схвата воздух подается в рабочую полость цилиндра 27,
шток которого посредством проушины 28 и оси 29, запрессованной в нее, поворачивает
фигурные рычаги 30, шарнирно связанные с корпусом 25, и губки 26. Разжим губок
26 схвата осуществляется пружинами 31 после сброса давления воздуха в цилиндре
27.
Техническая характеристика
1. Грузоподъемность,
кг50
2. Число
степеней подвижности 6
3. Наибольшая
величина перемещения;
3.1. вокруг вертикальной оси I-I, град340
3.2. вдоль оси I-I, мм400
3.3. вдоль горизонтальной оси III-III, мм630
.4. вокруг вертикальной оси II-II, град.240
3.5. вокруг оси III-III, град......180
3.6. вокруг оси IV-IV, град180
4. Наибольшая
скорость:
4.1. вокруг оси I-I. поворота, град/с. 84
4.2. вертикального ходаруки, вдольоси I-I, м/с0,27
.3. выдвижения руки вдоль оси III-III,
м/с1,08
4.4. поворота руки вокруг оси II-II,град/с.132
5. Точность
позиционирования, мм., ±1
6. Масса (вместе с устройством управления),кг690
Промышленный робот «Универсал - 5»
.6
Проектирование механического участка
.6.1
Назначение и описание участка
Механический участок состоит их технологического оборудования,
предназначенного для механической обработки детали «Водило».
Тип производства - крупносерийный.
Участок находится в одноэтажном здании цеха, в цехе имеются подсобные
помещения, расположенные в двухэтажной пристройки.
Расчет качества основного технологического оборудования, основных и
вспомогательных рабочих (см. в организационно-экономической части)
Численность основных рабочих: Чосн=11 чел.
Численность вспомогательных рабочих : Чвп.=2 чел.
Определяем количество младшего обслуживающего персонала:
% от (Чосн + Чвп)
Количество
ИТР и счетно-контролного персонала:
%
от (Чосн + Чвп)
Rитр = 1 чел.Rскп = 1 чел
Таблица
№ 6
|
Категория работающих
|
Всего
|
% к производственным
рабочим
|
% от общего количества
|
|
Производственные рабочие
|
22
|
|
|
|
Вспомогательные рабочие
|
6
|
40
|
|
|
МОП
|
1
|
|
2
|
|
Служащие:
|
2
|
|
17
|
|
из них:
|
|
|
|
|
ИТР
|
1
|
|
|
|
Счетно-конторский персонал
|
1
|
|
|
|
Итого:
|
31
|
|
|
3.6.2
Расчет площадей
Площадь участка складывается из основных площадей, занимаемых
оборудованием для основных технологических операций и площади вспомогательных
отделений.
Расчет основной площади ведем по удельной площади на 1 станок (вместе с
проходами).
Основная площадь участка равна 165 м2
Площадь заточного отделения определяется 10 - 12 м2 на единицу
оборудования заточного отделения
Fзо = 12 · 4 = 48 м2
Площадь инструментально - раздаточной кладовой (ИРК) 0,3 м2 на
единицу оборудования [11].
Fирк = 0,3 · 150 = 45 м2
При числе основного оборудования в цехе 150 штук.
Площадь контрольного отделения 2% от площади участка
Fк
= 32,3 м2
Площадь отделения приготовления, раздачи СОЖ - 0,2 м2 на 1
обслуживающий станок
Fсож = 0,2 · 150 = 30 м2
Площадь службы механика 20 м2.
Площадь службы электрика 20 м2.
Определение площадей бытовых помещений:
Гардеробные
Площадь гардеробных принимается из расчета 1 шкаф (0,34 м2) на
рабочего.[11]
Fгар = 0,34 · 130 = 45 м2
Душевые:
Площадь под кабины определяется из расчета 1 кабина (1,62 м2)
на 20 человек.
n =
принимаем
7 кабин.
Площадь
тамбура между душевыми 4 м2
Площадь
места для переодевания определяем из расчета 3 места (по 1 м2)
Fпер = 3 · 7 · 1 = 21 м2
Площадь
под умывальники определяется из расчета 1 кран (1,75 ÷ 1,5 м2).
n =
принимаем
7 кранов
Fкр = 7 · 1,15 = 12,25 м2
Площадь
под санузлы равна:
Fсан=20 м2
Площадь
кабинета начальника цеха принимаем равной 30 м2, а заместителя
начальника цеха 20 м2
4. БЕЗОПАСНОСТЬ ЖИЗНЕДЕЯТЕЛЬНОСТИ
.1
Введение
В нашей стране вопросам охраны здоровья трудящихся, создания безопасных и
высокопроизводительных условий труда уделяется большое внимание. Успешно
решается задача оздоровления и обеспечения условий труда.
Успешно осуществляется комплексная механизация важнейших производственных
процессов в промышленности, строительстве и сельском хозяйстве. В широких
масштабах производится механизация ручного труда. Повсеместно внедряется
научная организация труда и современное высокопроизводительное оборудование.
Благодаря этому имеет место не только рост объема обрабатываемой продукции, но
и улучшение условий труда на предприятии.
Задача дальнейшего совершенствования условий труда требует также
улучшения контроля за соблюдением действующих норм и правил по технике
безопасности. В правилах, нормах, инструкциях, стандартах и других нормативных
документах изложены требования техники безопасности, подлежащие выполнению в
процессе работы и эксплуатации сооружений.
.2 Общие
санитарно-технические требования к устройству промышленных предприятий
Эти требования отражаются в санитарных нормах и правилах СН 245-71. Они
предусматривают определенные требования к территории предприятия, его
водоснабжению, канализации, к производственным и непроизводственным (вспомогательным)
зданиям и сооружениям.
4.2.1
Санитарный класс и размеры санитарно-защитной зоны
Учитывая выброс в атмосферу вредных веществ (пыль, пары, газ) и
производственный шум, предприятия располагают на определенном расстоянии от
жилых и общественных зданий, создавая так называемую санитарно-защитную зону.
Согласно санитарным нормам. Промышленные предприятия в зависимости от
выделения вредных веществ и условий технологического процесса, с учетом
проведения мероприятий по очистке вредных выбросов в атмосферу делят на пять
классов. Машиностроительные предприятия в соответствии с СН 245-71 относятся к
пятому классу. Ширина санитарно-защитной зоны составляет 50 м.
4.2.2
Основные требования к конструкции здания
Промышленные предприятия располагают на территории населенного пункта в
специальных, выделенных для них районах, а в некоторых случаях - за пределами
населенного пункта. Площадь для строительства предприятий должна выбираться с
учетом аэродинамических характеристик и рельефа местности, прямого солнечного
облучения и естественного проветривания. Вспомогательные помещения следует
располагать в пристройках к производственным зданиям.
.3
Неблагоприятные факторы
.3.1
Защита от шума
В машиностроении одним из основных технологических процессов является обработка
резанием. Эксплуатация металлорежущих станков сопровождается генерированием
шума. Токарные автоматы генерируют шум интенсивностью 82¸99 дБ с преобладанием звуковой
энергии в области 250¸4000 Гц. Испытание человеческого уха воздействием шумовых эффектов
приводит к поражению органа слуха, вызывает нарушение со стороны многих органов
и систем человека.
Генерация шума в производственных условиях, как правило, обусловлена
многообразием причин, что создает известную трудность в борьбе с этим фактором
и обычно требует одновременно комплекса мероприятий:
устранение причины шума;
изоляция источника шума;
уменьшение плотности звуковой энергии, отраженной от стен;
рациональная планировка здания;
применение средств индивидуальной защиты
Наиболее рациональный путь борьбы с шумом - улучшение конструкции
оборудования. Это - применение пластиков, виброгасящих устройств, косозубых
зацеплений передач, замена возвратно-поступательных движений планомерно
вращающимися.
Для уменьшения шума, передающегося по трубам, предусматривается отделение
источника шума от трубопровода специальными компенсаторами. Ослабление шума
достигается применением под полом упругих прокладок без жесткой связи их с
несущими конструкциями здания, установкой вибрирующего оборудования на
амортизаторы. Применяются звукопоглощающие штукатурка и плитки.
4.3.2
Защита от вибрации
Вибрация как фактор производственной среды встречается во многих областях
народного хозяйства, в том числе и в машиностроении. Более того, вибрация
используется как необходимый фактор в ряде технологических процессов, например,
в виброуплотнении. Вибрацией сопровождается работа неподвижных и подвижных
механизмов, и агрегатов, в основу действия которых положено вращательное и
возвратно-поступательное движение.
Для уменьшения вибрации и его вредного влияния на человеческий организм
предусмотрен специальный фундамент под крепление станочного оборудования,
полностью предотвращающий вибрацию полов. Прочие вибрации незначительны.
Уменьшению вибрации способствует жесткое крепление узлов и деталей, применение
виброочистителя.
4.4 Общие
требования безопасности к производственному оборудованию
.4.1
Мероприятия и предохранительные устройства в цехе
Для создания полной безопасности в цехе, где расположен проектируемый
станок, предусмотрены следующие мероприятия и предохранительные устройства:
приспособления, обеспечивающие безопасность пуска и остановки механизмов;
опознавательная окраска всех движущихся частей оборудования;
ограждение движущихся и опасных частей механизмов;
звуковые сигналы;
ограждение, защищающее от прикосновения к инструменту, от отлетающей в
процессе резания стружки, от разбрызгивающейся СОЖ;
для защиты рабочего от удара электрическим током перед станком
устанавливается деревянная решетка или деревянная подставка.
4.4.2 Техника
безопасности при эксплуатации проектируемого станка
Конструкция станка безопасна для обслуживающего персонала. Все
вращающиеся части станка защищены кожухами и ограждены. В станке применены
блокирующие устройства и контрольные приборы, следящие за нормальной работой
станка. На станке имеется местное освещение.
При работе станка необходимо применять следующие меры безопасности:
запрещается эксплуатация станка с открытыми дверцами шкафа, снятыми
кожухами конечных выключателей;
выключение электродвигателей с последующим снятием напряжения должно
осуществляться: при обнаружении неисправности оборудования; при перерывах в
подаче электроэнергии; при временном прекращении работы для уборки, чистки и
смазки оборудования;
запрещается устанавливать и обрабатывать на станке заготовки, имеющие
отклонения от чертежа по припуску;
запрещается работать на станке с неисправной системой контроля и
сигнализации;
установку инструментов, их наладку производить только в исходном
положении механизмов станка;
не пользоваться открытым огнем вблизи гидропривода, не скапливать
промасленную ветошь около гидропривода. Что может привести к самовозгоранию;
при монтаже гидропривода обязательно устанавливать перепускные клапаны
для сброса давления в аварийных случаях, устанавливать кнопку аварийного
отключения.
.5
Классификация производств по взрывной, взрывопожарной и пожарной опасности
Металлообрабатывающие мероприятия по пожароопасности относятся к
категории Д производства, в которых обрабатываются негорючие материалы и
вещества в холодном состоянии (СНиП 2II-90-81). Помещения относятся к классу
П-I, т.к. содержатся горючие жидкости - минеральные масла. Проектируемый станок
должен снабжаться первичными средствами пожаротушения (СНиП II-Г-3-62).
Предусмотрены следующие противопожарные мероприятия:
необходимо строго следить за состоянием электросети, не допускать ее
перегрузки, пробоя изоляции и загорания проводов, следить за исправностью
предохранителей;
запрещается курить на рабочих местах; для курения отводятся специальные
места;
самовозгорающиеся отходы, ветошь складываются в специальную тару с
крышками;
необходимо соблюдать чистоту на всей площади в цехе смонтирована
специальная сигнализация и телефонная связь с целью оповещения о пожаре.
Для тушения пожара используются химические и воздушно-механические пены,
благородные газы и сыпучие материалы, покрывала из асбестовой ткани. Наиболее
распространенное из химических веществ огнетушения - углекислота, которая
разлагается с получением углекислого газа СО2. Углекислые
огнетушители типа ОУ-2 необходимо применять для тушения пожаров на станке и при
горении электропроводки. При тушении СО2 станок может находиться под
напряжением.
Аппараты пожаротушения подразделяют на подвижные, стационарные и
огнетушители. Стационарные установки могут быть автоматическими или с
дистанционным управлением.
К числу организационных мероприятий по обеспечению пожарной безопасности
относятся применение негорючих и трудногорючих материалов вместо пожароопасных.
Должна вестись разработка и внедрение норм и правил пожарной безопасности.
4.6
Электробезопасность
Основными причинами травматизма при проведении производственного процесса
являются поражение электрическим током и образование статического
электричества. Электрический удар - наиболее опасный вид поражения электрическим
током, возникает при непосредственном контакте с токоведущей частью.
Статическое электричество образуется при движении сухого пыльного воздуха со
скоростью выше 20 м/с. Следствием этого является взрыв или пожар.
По электроопасности помещение цеха машиностроительного предприятия
относится к помещению с повышенной опасностью. Питание электродвигателей
металлорежущих станков и электрошкафов проводится от сети напряжением 380 В.
Переменного тока частотой 50 Гц.
При использовании электроэнергии необходимо соблюдать следующие меры
безопасности:
станочная проводка должна быть защищена от воздействия СОЖ и масел;
электрошкафы должны быть защищены от разбрызгивающейся СОЖ и масел;
все нетоковедущие части станка должны быть заземлены.
4.7 Расчёт
заземления
По степени опасности поражения электрическим током механический цех
относится к производствам с повышенной опасностью, следовательно, токоведущие
части должны быть надежно изолированы, а металлические части, которые могут
оказаться под напряжением, должны иметь заземление.
Исходные данные для расчёта: заземлитель предполагается выполнить из
горизонтальных стержней электродов, уложенных параллельно друг другу на
одинаковой глубине tо = 0,6 м, длиной l = 15 м,
сечением s = 4 х 30 мм. Тип заземлителя - групповой. Для расчета
принимаем rизм = 140 Ом×м.
. Согласно ПУЭ, нормируемое сопротивление заземления должно быть не более
Rн = 4 Ом при Р≤100 кВт и Rн = 10 Ом при Р
> 100 кВт. Выбираем Rн = 10 Ом
. Определяем расчетное сопротивление удельное грунта с учетом коэффициента
сезонности по формуле:
rрасч = rизм×y
где y - коэффициент
сезонности.
Для II климатической зоны:
y = 3,5 /15, с.150/
Подставив данные в формулу, получим:
rрасч..= 140×3,5 = 490 Ом
. Вычислим расчетное значение сопротивлений горизонтальных электродов
(суммарное сопротивление) Rг по формуле:
(8.1)
где
rрасч. -
расчетное удельное сопротивление, Ом × м
t - глубина
от поверхности земли
l - длина
заземлителей
d - для
полосы шириной b = 30 мм, d = 0,5´30 = 15
мм = 0,015м,
Ом (8.2)
.При
Rгор>Rн определяем
минимальное необходимое количество горизонтальных полос по формуле и
округляем до ближайшего большего целого числа.:
По таблице (15, стр.121-122, табл. 3-6) находим коэффициент использования
для горизонтальных электродов.
При h1 = 1, требуемое число заземлителей
определяется по формуле:
(8.3)
n
= 10
По таблице (15, стр.121-122, табл.3-6) выбираем контур, состоящий из
10-ти параллельно уложенных полос с расстоянием между ними 5 м, тогда h2 = 0,49.
Сопротивление контурного заземления определяется по формуле:
Ом
>
По
таблице (15, стр.121-122, табл.3-6) выбираем контур, состоящий из 10-ти
параллельно уложенных полос с расстоянием между ними 10 м, тогда h3 = 0,64.
Сопротивление
контурного заземления определяется по формуле:
Ом
<
,
Схема устройства рассчитанного контура
4.8
Освещение
.8.1
Расчёт общего искусственного освещения
Используя
метод коэффициента использования применяющийся для расчета общего равномерного
освещения на горизонтальной рабочей поверхности, выбираем тип светильников в
соответствии с классом помещения (воздушная среда с содержанием пыли 1,5мг/м3),
УПД-500 таблица 20 и 21
Количество
светильников - 55 шт; Nл=55
Количество
ламп в светильнике - 1 шт
Схема
расположения светильников
Рассчитаем
высоту светильников над полом участка
h=H+2,5,
м(6.6)
где Н - высота смежного оборудования, м
Н=6м - высота головки кранового рельса
h=6+2,5=8,5
м
Принимаем
по литературе
стр.101коэффициент неравномерности освещения Zн=1,15
Найдем
индекс помещения
=bl
/ [h(b+l)](6.7)
где b - ширина помещения, м: b=18 м- длина помещения, м: l=36 м
h -
высота подвеса светильников, м: h= 8,5
м= 18·36/ [8,5 (18+36)]=1,4
По типу светильников и индексу помещения находим коэффициент
использования ([14], таблица 22) h= 0,62
Коэффициент
запаса для светильников работающих в производственном помещении с средой,
содержащей в рабочей зоне 1…5 мг/м3 пыли. К
=1,4
Определим
требуемый световой поток лампы
лк(6.8)
где Е - минимальная освещенность участка выбранная по нормам, лк;
Е=200 лк, [14] таблица 17
S -
площадь участка, м2;
S=648
м2
zн=1,15 - коэффициент рассеянья
Ф=
лк
По
требуемому световому потоку выбираем ближайшую стандартную лампу по таблице 19
[14]. Лампа накаливания общего назначения на напряжение 220 В Г220-500-1.
Мощность 500 Вт. световой поток 8300 лк
Найдем
фактическую освещенность
Ефак=
(6.9)
Еф=
=204 лк
Еф=204
лк Е=200 лк
разница
составляет:
Данное
значение допустимо.
Определяем
мощность осветительной установки
Р=Рл·N,
кВт(6.10)
где
Рл - мощность одной лампы, кВт
Рл=0,5
кВт
Р=
0,5·55=27,5 кВт
4.9
Аварийное освещение, организация, источники питания, включения
В случае отключения общей сети освещения в производственных условиях
может быть прервана работа. Для этих целей устраивается аварийное освещение,
которое представляет собой часть светильников общего освещения и питается током
от отдельного источника, в случае отключения основной сети продолжает гореть.
Аварийное освещение необходимо для продолжения работ. Освещенность,
которую оно обеспечивает, должно быть не менее 5% от величины,
предусматриваемой нормами для рабочего освещения лампами накаливания при
системе общего освещения.
4.10
Гигиена труда, спецодежда
Гигиена труда на производстве имеет большое значение. Она непосредственно
связана со здоровьем трудящихся и сказывается на производительности труда.
Рабочие, обслуживающие автоматические линии, должны иметь специальную
одежду, не имеющую свободных концов для предотвращения из захвата движущимися
частями станков. Для защиты глаз от попадания отлетающей стружки и
разбрызгивающейся СОЖ используют защитные очки. Во время работы возможно
загрязнение открытых участков тела пылью, маслом, применяемая СОЖ содержит
соду, керосин, мыльные растворы, щелочи, что способствует раздражению кожи.
Длительное соприкосновение с пылью, маслом и СОЖ может привести к серьезным
кожным заболеваниям. Во избежание этого, по окончании работы рекомендуется
применять душ, а если нет, то промывать лицо и руки с мылом.
Спецодежда рабочих хранится в специальных шкафах.
5. ОРГАНИЗАЦИОННО-ЭКОНОМИЧЕСКАЯ ЧАСТЬ
В данном дипломном проекте рассматривается эффект применения нового
технологического процесса изготовления детали «Водило».
Базовый вариант технологии применяется на заводе «Тамбовполимермаш».
Деталь «Водило» служит для крепления зубчатых колес (сателлитов) с
подвесными осями. Деталь является одной из основный деталей мотор-редуктора
МРМЗ - 355 Щ.
«Водило» - сварное из стали 45.
Целью организационно - экономической части является расчет экономической
части проектируемого варианта технологии изготовления детали. Для это требуется
найти сумму капитальных вложений по базовому и проектируемому вариантам, затем
следует расчет технологической себестоимости по двум вариантам с учетом
изменения разряда рабочих, потребления на Эл. энергию, затраты на ремонт и т.д.
По окончанию расчетов делаем вывод о целесообразности применения
проектируемого варианта технологического процесса.
5.1
Расчетная часть
.1.1
Исходные данные
1. Изготовление детали - Водило.
. Вес заготовки - 34 кг.
. Технологический процесс.
|
Наименование Операций
|
Норма времени, мин
|
|
Фрезерная
|
12,1
|
|
Токарная
|
56
|
|
Шлифовальная
|
10,9
|
|
сверлильная
|
14,6
|
. Режим работы участка: трехсменный, 8 часов в смену с двумя выходными
днями в неделю.
. Объем производства в базовом и плановом году не меняется и составляет N=156000 изделий в год.
5.1.2
Расчет капитальных вложений
Объем капитальных вложений складывается из стоимости технологического
оборудования, производственных и бытовых площадей.
Потребность в оборудовании рассчитываем исходя из трудоемкости годового
выпуска деталей:
Трудоемкость годового выпуска = Норма времени на обработку в часах *
Объем производства.
Таблица 1. Технологический процесс обработки детали - шестерни и
трудоемкость годового выпуска.
|
№ п/п
|
Наименование Операции
|
Норма времени на обработку,
мин
|
Разряд работ
|
Трудоемкость годового
выпуска, н×ч
|
|
|
Базовый
|
Проектный
|
|
Базовый
|
Проектный
|
|
1
|
Фрезерная
|
14
|
12,1
|
4
|
36400
|
31460
|
|
2
|
Токарная
|
56
|
56
|
4
|
145600
|
145600
|
|
3
|
Шлифовальная
|
12
|
10,9
|
5
|
31200
|
28340
|
|
4
|
Сверлильная
|
16
|
14,6
|
3
|
41600
|
37960
|
а) Годовой действительный фонд времени работы оборудования.
=5400
час.
где
B - количество выходных дней (52×2);
П
- количество праздничных дней (11);
n - количество
смен, n=1;
f -
продолжительность смены (8 час.)
k - коэффициент
учитывающий простои оборудования в плановых ремонтах (0,9)
б)
Потребность в оборудовании на выпуск N=180000 шт. в год.
где
t - штучно-калькуляционное время, мин (из табл. 1),
F
- годовой действительный фонд времени работы
оборудования, мин.
|
операция
|
базовый
|
проектный
|
|
Фрезерная
|

|
|
|
Токарная
|
|
|
Шлифовальная
|

|
|
|
Сверлильная
|

|
|
Результаты расчета сводим в таблицу и рассчитываем стоимость
оборудования.
Таблица 2. Стоимость оборудования.
|
№ п/п
|
Наименование оборудования
|
Количество, шт.
|
Цена един.
|
Стоимость, млн.руб.
|
|
|
базовый
|
проектный
|
млн.руб
|
базовый
|
проектный
|
|
1.
|
Фрезерная
|
7
|
6
|
1,8
|
12,6
|
10,8
|
|
2.
|
Токарная
|
27
|
27
|
1,5
|
40,5
|
40,5
|
|
3.
|
Шлифовальная
|
6
|
5
|
2
|
12
|
10
|
|
4.
|
Сверлильная
|
8
|
7
|
0,7
|
5,6
|
4,9
|
|
Всего:
|
48
|
45
|
|
70,7
|
66,2
|
в) Балансовая стоимость оборудования:
a = 0,13
KOб
= 70 700 000 руб.
KOп
= 66 200 000 руб.
г)
Стоимость производственных площадей:
где
n - число единиц основного технологического
оборудования, шт.
начальное
значение i=0, в этом случае количество единиц оборудования
увеличивается на 1.
Soед - площадь, занимаемая одним станком (в среднем
принято 5 м2)
b - коэффициент,
учитывающий дополнительную площадь (15%)
Sпр - прочая площадь (50 м2)
Цs
- стоимость одного м2 производственной площади - 3000 руб. (ежегодно
уточняется).
д)
Стоимость бытовой площади (3,5 т. руб. за 1 м2 и принимается 25% от
производственной):
Sбытбаз=0,25*978
000 руб. = 244 500 руб.
Sбытпр =0,25*926
250 руб. = 231 562,5 руб.
е)
Стоимость прочих основных средств (20% от основного технологического
оборудования):
Sпрбаз=0,2*70
700 000= 14 400 000 руб.
Sпрпр =0,2*66
200 000 = 13 240 000 руб.
Сводим
единовременные затраты в таблицу.
Таблица
3. Объем капитальных вложений.
|
№ п/п
|
Наименование Затрат
|
Сумма, руб.
|
|
|
базовый
|
Проектный
|
|
1.
|
Стоимость основного
технологического оборудования
|
70 700 000
|
66 200 000
|
|
2.
|
Стоимость прочих основных
средств
|
14 400 000
|
13 240 000
|
|
3.
|
Стоимость производственных
площадей
|
978 000
|
926 000
|
|
4.
|
Стоимость бытовой площади
|
244 500
|
231 562,5
|
|
Итого капитальный вложений
|
86 062 500
|
80 597 812,5
|
5.1.3
Расчет себестоимости продукции
а) Расчет стоимости заготовки, Цз
=34·15=510
руб.
где
В - вес заготовки, 34 кг
S - стоимость 1
кг 15 руб. (от 8 до 15).
б)
Расчет отходов производства:
= 15 руб.
где
Вотх - чистый вес детали 33 кг.
в)
Стоимость материалов
г)
Расчет заработной платы основных производственных рабочих, З
проводим
в табличной форме.
Таблица
4. Базовый вариант.
|
№ п/п
|
Наименование Операции
|
Разряд работ
|
Норма времени, час
|
Час. тариф. ставка, руб
|
Зарплата, руб.
|
% премирования
|
Зарплата с премией, руб.
|
|
1.
|
Фрезерная
|
4
|
0,229
|
20
|
4,58
|
12
|
5,13
|
|
2.
|
Токарная
|
4
|
0,933
|
20
|
18,66
|
12
|
20,9
|
|
3.
|
Шлифовальная
|
5
|
0,2
|
30
|
6
|
12
|
6,72
|
|
4.
|
Сверлильная
|
3
|
0,266
|
15
|
3,99
|
12
|
4,47
|
|
37,22
|
|
|
|
|
|
|
|
|
|
|
Таблица 5. Проектный вариант.
|
№ п/п
|
Наименование Операции
|
Разряд работ
|
Норма времени, час
|
Час. тариф. ставка, руб
|
Зарплата, руб.
|
% премирования
|
Зарплата с премией, руб.
|
|
1.
|
Фрезерная
|
4
|
0,202
|
20
|
4,033
|
12
|
4,52
|
|
2.
|
Токарная
|
4
|
0,933
|
20
|
18,66
|
12
|
20,9
|
|
3.
|
Шлифовальная
|
5
|
0,1816
|
30
|
5,45
|
12
|
6,10
|
|
4.
|
Сверлильная
|
3
|
0,2433
|
15
|
3,65
|
12
|
4,09
|
д) Расчет дополнительной зарплаты (12 % от основной):
Дб
= 37,22*0,12 = 4,4664 руб.
Дпр
= 35,62*0,12= 4,2744 руб.
е)
Отчисления в единый социальный фонд, О:
Об
= (37,22+4,4664)*0,358 = 14,92 руб.
Опр
= (35,62+4,2744)*0,358 = 14,28 руб.
ж)
Затраты на содержание и обслуживание оборудования:
Зсб
= 5400 час * 142 * 12 руб./156000 = 58,986 руб.
Зспр
= 5400 час * 136 * 12 руб./156000 = 56,493 руб.
где
Fд -
годовой действительный фонд времени работы оборудования, час;
n - количество
единиц оборудования, шт.;
b - средняя
стоимость работы одного машино-часа, руб. (принимается по данным завода - 12
руб.);
N - годовой
выпуск изделий, шт.
з)
Общепроизводственные затраты (принимаются на уровне заводских или - 90% от
основной зарплаты ОПР):
Об
= (37,22)*90/100 = 33,498 руб.
Опр
= (35,62)*90/100 = 32,058 руб.
и)
Общехозяйственные затраты (принимаются на уровне заводских или - 830% от
основной зарплаты ОПР):
Общб
= 37,22*830/100 = 30,89 руб.
Общпр
= 35,62*830/100 = 29,56 руб.
к)
Прочие затраты принимаются в размере 5 % от производственной себестоимости:
Прб
= (510 - 15 + 37,22+ 4,4664 + 14,92 + 58,986 + 33,498 + 30,89)*0,05 = 33,75
руб.
Прпр
= (510 - 15 + 35,62+ 4,2744 + 14,28 + 56,493 + 32,058 + 29,56)*0,05 = 33,39
руб.
к)
Полная себестоимость, Сп.
Расчеты
сводим в таблицу.
Таблица
6. Себестоимость изготовления шестерни.
|
№ п/п
|
Статьи калькуляции
|
На единицу
|
Изменения + увеличение -
уменьшение
|
|
|
базовый
|
проектный
|
|
|
1.
|
Стоимость заготовки
|
510
|
510
|
0
|
|
2.
|
Возвратные отходы
|
15
|
15
|
0
|
|
3.
|
Зарплата основных производственных
рабочих
|
37,22
|
35,62
|
-1,6
|
|
4.
|
Дополнительная зарплата
|
4,4664
|
4,2744
|
-0,192
|
|
5.
|
Отчисления в единый соц.
фонд
|
14,92
|
14,28
|
-0,64
|
|
6.
|
Затраты на содержание и
обслуживание оборудования
|
58,986
|
56,493
|
-0,507
|
|
7.
|
Общепроизводственные
затраты
|
33,498
|
32,058
|
-1,44
|
|
8.
|
Общехозяйственные затраты
|
30,89
|
29,56
|
-1,33
|
|
9.
|
Прочие затраты
|
33,75
|
33,39
|
-0,36
|
|
10.
|
Коммерческие затраты
|
22,16
|
21,92
|
-0,24
|
|
11.
|
Полная себестоимость
|
760,9
|
752,6
|
-8,3
|
м) Коммерческие расходы, К (принимаются в размере 3% от производственной
себестоимости с учетом прочих затрат):
Кб = 738,67 * 0,03 = 22,16 руб.
Кпр = 730,67* 0,03 = 21,92руб
За счет снижения трудоемкости изготовления детали себестоимость
снизилась.
5.1.4
Расчет технико-экономических показателей
а) Расчет численности рабочих:
явочная (принимается исходя из количества станков и сменности работы), Чя.
Чяб = 48·3 = 144чел.
Чяпр = 45·3·= 135 чел.
списочная численность, Чс.
Чс = Чя×к, (принимаем к=1,15);
где к - коэффициент перехода от явочной к списочной.
Чсб = 48·3·1,15 = 165,6 =166 чел.
Чспр = 45·3·1,15 = 155,25 = 155 чел.
Таблица 7. Штатное расписание участка.
|
№ п/п
|
Занимаемая должность
|
Кол. Чел.
|
Месячный оклад, руб.
|
% премии
|
Годовой ФОТш, руб.
|
|
1.
|
Начальник участка
|
3
|
3000
|
30
|
140 400
|
|
2.
|
Технолог
|
3
|
2800
|
30
|
131 040
|
|
3.
|
Нормировщик
|
3
|
2000
|
30
|
93 600
|
|
4.
|
Кладовщик
|
3
|
800
|
20
|
34 560
|
|
5.
|
Инструментальщик
|
3
|
800
|
20
|
34 560
|
|
6.
|
Крановщик
|
3
|
1800
|
30
|
84 240
|
|
7.
|
Уборщица
|
3
|
500
|
20
|
21 600
|
|
Всего ФОТш
|
21
|
¾
|
¾
|
540 000
|
в) Определяем общий фонд оплаты труда ОПР, ФОТ
(37,22+4,47)·3·156000
= 19 510 920 руб.
(35,62+4,28)·3·156000
= 18 673 200 руб.
, руб.
где
F эф - эффективный годовой фонд времени одного
рабочего, ч.;
Ст
- часовая тарифная ставка, руб.;
Кп
- коэффициент премирования (принимается 1,3).
ФОТврбаз=
19 510 920 · 0,2 = 3 902 184 руб.
ФОТврпр=
18 673 200 · 0,2 = 3 734 640 руб.
общий
ФОТ:
руб.
ФОТб
= 540 000 + 19 510 920 + 3 902 184 = 23 953 104 руб.
ФОТпр
= 540 000 + 18 673 200 + 3 734 640 = 22 947 840 руб.
г)
Определяем среднюю зарплату, Фср.:
Фсрб
= 23 953 104/(166·12) = 12 024,65 руб.
Фсрпр
= 22 947 840/(155·12) = 12 337,55 руб.
где
Ч0 - общая списочная численность участка, чел.
д)
Выработка на одного работающего в шт:
В=N/Чс
Объем
производства, Опр :
где
Ц - оптовая цена предприятия, руб. (Ц= Полная себестоимость + 30%, руб.).
Цб
= 760,9 + 760,9 · 0,3 = 989,17 руб.
Цпр
= 752,6 + 752,6 · 0,3 = 978,38 руб.
Опрб
= 156000 · 989,17 = 154 310 520 ед.·руб.
Опрпр
= 156000 ·989,17 = 154 310 520 ед.·руб.
Вб
= 156 000 /166 = 939,8 ед./чел.
Впр
= 156 000 /155 = 1 006,5 ед.· ед./чел.
е)
Прибыль П:
где
Сп - полная себестоимость продукции.
Пб
= (989,17 - 760,9) · 156000 = 35 610 120 руб.
Ппр
= (989,17 - 752,6) · 156000 = 36 904 920 руб.
Рентабельность
продукции:
R = П/(Сп*N) *
100%
Rб = 35 610 120 / (760,9 · 156 000) · 100 = 30 %
Rпр = 36 904 920 / (752,6 · 156 000) · 100 = 31,4 %
5.1.5
Определение эффективности проекта
а) Срок окупаемости, То:
Тоб
= 86 062 500 / (35 610 120*0,76) = 3,18 года;
Топр
= 80 597 812,5 / (36 904 920 *0,76) = 2,8 года;
где
m - коэффициент, учитывающий налогообложение прибыли (m=0,76).
б)
Экономия от снижения себестоимости продукции
Э
= (760,9 - 752,6) · 156 000= 1 294 800 руб.
Сводим
технико-экономические показатели в таблицу.
Таблица 8.
Технико-экономические показатели проекта.
|
№ п/п
|
Показатели
|
Ед. изм.
|
Базовый
|
Проектный
|
Изменения + повышение -
снижение
|
|
1
|
2
|
3
|
4
|
5
|
6
|
|
1.
|
Объем производства
продукции:
|
¾
|
¾
|
¾
|
¾
|
|
- в натуральном выражении
|
шт.
|
156 000
|
156 000
|
0
|
|
- в стоимостном выражении
|
руб.
|
154 310 520
|
154 310 520
|
0
|
|
2.
|
Выработка продукции на
одного работающего
|
шт.
|
939,8
|
1 006,5
|
+ 66,65
|
|
3.
|
Численность: - ППП -
рабочих
|
чел.
|
21 166
|
21 155
|
0 - 11
|
|
4.
|
Фонд оплаты труда
|
руб.
|
23 953 104
|
22 947 840
|
- 1 005 264
|
|
5.
|
Средняя заработная плата
|
руб.
|
12 024,65
|
12 337,55
|
+ 312,9
|
|
6.
|
Срок окупаемости проекта
|
лет
|
3,18
|
2,8
|
- 0,38
|
|
7.
|
Цена продукции
|
руб.
|
989,17
|
978,38
|
- 10,79
|
|
8.
|
Себестоимость продукции
|
руб.
|
760,9
|
752,6
|
- 8,3
|
|
9.
|
Рентабельность продукции
|
%
|
30
|
31,4
|
-
|
|
10.
|
Прибыль
|
руб.
|
35 610 120
|
36 904 920
|
+ 1 294 800
|
|
11.
|
Объем капвложений
|
руб.
|
86 062 500
|
80 597 812
|
- 5 464 688
|
|
12.
|
Экономия от снижения
себестоимости
|
руб.
|
1 294 800
|
ЗАКЛЮЧЕНИЕ
технологический станочный фрезерование транспортер
В результате совершенствования технологического процесса изготовления
детали “Водило”, при том же объёме выпуска продукции и при снижении численности
рабочих выработка продукции на одного работающего увеличилась на 66 штук, срок
окупаемости снизился на 4 месяца, повысилась прибыль, экономия от снижения себестоимости
составила 1 294 800 рублей. Значит - проект эффективен.
СПИСОК
ЛИТЕРАТУРЫ
1. Горбацевич А.Ф. «Курсовое проектирование по технологии
машиностроения» Минск 1974 г.
2. Косилова А.Г. «Справочник технолога машиностроителя»
в 2-х томах. Москва Машиностроение 1985 г.
. Барановский Ю.В. «Режимы резания металлов»
справочник Москва Машиностроение 1972 г.
. Общемашиностроительные нормативы вспомогательного
времени и времени на обслуживание рабочего места, на работы выполняемые на
металлорежущих станках. Москва Массовое производство 1974 г.
. Уткин Н.Ф. и др. «Расчет зажимных устройств
приспособлений» Ленинград 1976 г.
. Антонюк «Справочник по расчету и конструированию
станочных приспособлений» Москва 1974 г.
. Чернавский С.А. и др. «Курсовое проектирование
деталей машин» Москва 1988 г.
. Журавлев «Допуски и технические измерения» Москва
1965 г.
. Спиваковский А.Н. «Транспортирующие машины» Москва
1979 г.
. Коровавский Г.Л. Окороков С.П. «Справочник по
асинхронным двигателям и пускорегулируемой аппаратуре» Москва Энергия 1969 г.
. Зюзин В.И. Аксенов В.И. «Пособие по дипломному
проектированию» Москва 1974 г.
. Альбом схем и чертежей «Промышленные роботы в
машиностроении» Ю.М. Соломенцев, Москва, Машиностроение 1987г.
. Юдин Е.Л. «Охрана труда в машиностроении» Москва
1976 г.
. Кифринг Г.М. «Справочник для проектирования
электрического освещения» Москва 1969 г.
. Методические указания по расчету экономического
эффекта.