Параметры эжектора

  • Вид работы:
    Дипломная (ВКР)
  • Предмет:
    Другое
  • Язык:
    Русский
    ,
    Формат файла:
    MS Word
    7,32 Mb
  • Опубликовано:
    2011-06-16
Вы можете узнать стоимость помощи в написании студенческой работы.
Помощь в написании работы, которую точно примут!

Параметры эжектора

РЕФЕРАТ

система восстановления давления, эжектор, сопло эжектора, шевроны, коэффициент эжекции, степень сжатия.

Цель работы состоит в обработке и верификации расчетной модели эжектора с шевронами на основе экспериментально полученных данных, с подробным исследованием основных характеристик смешения, на основе которого были сделаны выводы о преимуществах такой конструкции эжектора.

В исследовательском разделе данной работы проводится численное моделирование и расчет:

- исследование влияния конструкции с шевронами на характеристики смешения, коэффициент эжекции и степень сжатия.

- верификация применяемой трехмерной модели течения на основе экспериментально полученных данных и поиск подходящего критерия для оценки завершенности смешения.

В данной научной работе не предусмотрен технологический раздел, исходя из поставленных задач.

В результате работы приведены рекомендации и сделаны выводы, сделанные в ходе исследования.

СОДЕРЖАНИЕ

Введение

1. СОСТОЯНИЕ ВОПРОСА, ОБЗОР ЛИТЕРАТУРЫ, ПОСТАНОВКА ЗАДАЧИ

2. Численное моделирование

2.1 Исходные данные

2.2 Геометрия эжектора и шевронов

2.3 Особенности построения сетки при расчете эжектора с шевронами

3. АНАЛИЗ РЕЗУЛЬТАТОВ

4.1 Верификация результатов численного моделирования

4.2 Анализ визуализации полученных результатов

4.3 Поиск критерия оценки завершенности смешения

ЗАКЛЮЧЕНИЕ

СПИСОК ИСПОЛЬЗУЕМЫХ ИСТОЧНИКОВ

Введение

Сверхзвуковые мощные химические газовые лазеры - одна из самых перспективных и уникальных областей лазерной техники. На сегодняшний день HF/DF и кислород-йодные лазеры являются самым мощным источником непрерывного когерентного излучения (время действия от 10 до 1000 с). Это системы, работающие по открытому циклу - отработанные газообразные продукты лазерной смеси после генерации в области резонатора удаляются в окружающую среду. Однако вследствие специфики параметров газовой смеси возникают сложности с её откачкой. Низкое статическое давление потока в резонаторной полости не позволяет совершить выхлоп в атмосферу с помощью пассивного диффузора, поэтому возникает необходимость в использовании некоторых дополнительных систем откачки.

Наиболее простым вариантом решения этой проблемы является использование вакуумных емкостей большого объема. Однако такое решение может обеспечить только импульсный режим работы лазера, к тому же с большими промежутками времени между импульсами. Кроме того, оно неприменимо в мобильных лазерных системах, которые являются одним из самых перспективных направлений. Поэтому сегодня в качестве СВД (системы восстановления давления) для мобильных систем чаще всего рассматривают вариант эжекторной СВД, где давление лазерного газа после диффузора повышается до атмосферного уровня с помощью сверхзвукового эжектора.

Одним из главных параметров эжектора является коэффициент эжекции, который определяется, как отношение расхода продуктов работы лазера и эжектирующего газа:

K = Gs/Gp

(где Gs - расход эжектируемого газа, Gp - расход эжектирующего газа)

и степень сжатия (отношение давления на выходе из эжектора к давлению на входе):

ε = Pвых/Pвх

В СВД химических лазеров K<<1 (порядка 0.1 и меньше - зависит от типа лазера) Это означает, что требуется большой запас компонент, обеспечивающих работу эжектора. Поэтому СВД определяет массогабаритные характеристики системы лазер-СВД. Кроме того, учет СВД в энергетическом расчете лазерной системы значительно меняет общую оценку эффективности. Анализ показывает, что удельные выходные энергетические характеристики химических HF/DF-лазеров и COIL, без учета СВД и с ним, принципиально различны вне зависимости от способа расчета, и разница эта составляет, как минимум, порядок величины.

В целом, лазер и СВД необходимо рассматривать как единую жестко интегрированную систему. В связи с этим, очевидна необходимость в их совместном анализе, многофункциональном, учитывающим не только добавочный расход компонентов и энергии на СВД, но обеспечивающим комплексную верификацию по всем характеристикам, включая энергетические.

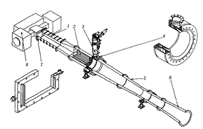
1 - сверхзвуковой диффузор

- теплообменник

- парогазогенератор

- сопло эжектора

- камера смешения эжектора

- дозвуковой диффузор

- бустер

- лазер

Рисунок 1. Общий вид системы лазер-СВД.

На первый взгляд, при расчете СВД применимы методы и экспериментальные данные, использующиеся при расчете выхлопных систем сверхзвуковых аэродинамических труб (одномерные полуэмпирические методики). Однако, как показывает практика, в случае СХЛ эти способы фактически перестают работать. Связано это с целым рядом серьезных факторов. Прежде всего, форма лазерного канала (прямоугольная, с большим отношением h/b<<1) сильно отличается от преимущественно цилиндрической формы аэродинамической трубы, что оказывает серьезное влияние на течение. Помимо этого, в аэродинамических трубах в качестве рабочей среды используется, как правило, холодный воздух (с µ=29 г/моль и Т=300К), а лазерный газ - горячий и легкий газ (µ=8-10 г/моль и Т=1100÷1400К) при низком давлении. Таким образом, характерные числа Рейнольдса в лазерной системе на несколько порядков ниже оных в аэродинамической трубе, что обеспечивает большую толщину пограничного слоя и более сильное влияние вязких эффектов. Также спецификой газового потока в химическом лазере является наличие в нем тепловыделения. К тому же многотрубная система эжекции, использующаяся в лазерах для уменьшения общей длины тоже является характерной особенностью.

Все эти обстоятельства вынуждают к тому, чтобы при расчете СВД производить трехмерные расчеты реальных вязких течений с помощью современных программных пакетов, в частности CFX или Fluent. Однако даже такой метод оставляет необходимость в теоретической и экспериментальной верификации полученных результатов - сказывается отсутствие единой теории турбулентности.

Одной из необходимых задач при проектировании эжектора является повышение эффективности смешения с помощью конструктивных решений. Чем интенсивнее происходит смешение, тем лучше расходные характеристики СВД. Улучшение же интенсификации смешения производится посредством формирования в зоне смешения вихрей, для чего используются специальные устройства - щелевые насадки, табы или шевроны. В данной работе мы остановимся на применении шевронов - их особенность состоит в наибольшей эффективности при сильных нерасчетностях струи.

Как уже было сказано, одной из важнейших составляющих анализа и расчета СВД является верификация расчетов, полученных с помощью программных пакетов трехмерного моделирования течений. Верификация - это понятие комплексное. Прежде всего она включает в себя проверку состоятельности выбранной модели турбулентности и эмуляции прочих физических параметров. Кроме того, полная верификация не представляется возможной без проведения экспериментальной проверки и подтверждения численных результатов. Таким образом, одной из задач, решаемых в данной работе, является верификация расчетной модели эжектора с шевронами с помощью известных экспериментальных результатов.

Другая важная задача, которую стало возможным решить именно благодаря современным программным пакетам - полная визуализация результатов расчета. Она позволяет наглядно показать качественные преимущества и недостатки разных моделей, на основе чего можно сделать необходимые выводы, избежав громоздких проверочных расчетов. В работе проведена визуализация всех основных параметров газового течения в двух вариантах: модель эжектора с шевронами и без них.

Наконец, в конкретном случае повышения эффективности смешения в эжекторе с применением специальных устройств, необходимо провести точную оценку интенсивности обеспечиваемого смешения. В данной работе для этого был произведен специальный расчет дисперсии концентрации активного и пассивного газов по сечению эжектора, на основе чего были построены графики, позволяющие качественно оценить завершенность смешения.

1. Состояние вопроса, обзор литературы, постановка задачи

Работа эжекторов интенсивно исследовалась в течение многих лет, как об этом свидетельствуют обзоры, в которых даются ссылки более чем на 350 работ, посвященных эжекторам и проблемам, связанными с ними (Российский патент - Патент № 2222849 СВД для сверхзвуковых химических лазеров) [3].

Существует несколько видов усовершенствования эжекторов. В литературе приводится описание конструкции, и результаты экспериментального исследования газового эжектора с одной форкамерой [4], одной камерой смешения и одним регулирующим элементом, но обеспечивающего большую (до 500) степень сжатия. Высоконапорный газ подводится в таком эжекторе через 45 наклонных сверхзвуковых сопл, расположенных вокруг и вдоль камеры смешения по спирали. Кроме большой степени сжатия, такой эжектор имеет на 30% лучшие экономические характеристики, чем известные многоступенчатые эжекторы.

Для получения больших степеней сжатия в газовых и паровых струйных компрессорах традиционно применяются многоступенчатые конструкции. Преимущество многоступенчатых эжекторов перед одноступенчатыми вытекает из непрерывного повышения вдоль камеры смешения статического давления низконапорного газа и смеси, что приводит к снижению скорости высоконапорного газа в последующих ступенях. При этом в эжекторе одновременно снижаются и потери на смешение струй (удар), и потери в скачках уплотнения на выходе из камеры смешения. Проведенные в 1958г. Ю. Н. Васильевым расчеты показали, что с увеличением числа ступеней характеристики идеального многоступенчатого эжектора непрерывно улучшаются. В 1962 г. С.А. Христиановичем и Б.А. Урюковым была разработана теория «дифференциального эжектора», т. е. многоступенчатого эжектора с бесконечно большим числом ступеней (рис.1.1.а). В работе С.А. Христиановича и Б.А. Урюкова рассмотрены оптимальные характеристики идеального газового эжектора, необходимые для оценки качества всех газовых эжекторов, а также найдены его некоторые оптимальные геометрические и газодинамические соотношения.

Применяемые в настоящее время системы газовых эжекторов имеют, как правило, ограниченное число ступеней (3-4). Это связано с наличием значительных потерь на трение в длинных камерах смешения и потерь в промежуточных диффузорах. С увеличением числа ступеней эти потери также растут, что снижает эффективность газовых эжекторов с большим числом ступеней и не позволяет реализовать характеристики дифференциального эжектора в конкретных схемах эжекторов.

В струйных компрессорах давно известен и применяется способ уменьшения длины камеры смешения путем подвода активного газа через большое число отдельных сопел. В схемах одноступенчатых эжекторов при центральном подводе активного газа его сопла можно расположить по сечению любым наперед заданным образом и получить несколько параллельно работающих эжекторов с меньшими поперечными и соответственно продольными размерами. В случае периферийного подвода активного газа со стенки камеры смешения процессы смешения и распределения активного газа по сечению являются взаимосвязанными и имеют некоторые взаимные ограничения. Тем не менее, проведенные в 1954-1957 гг. В. К. Щукиным и Б.В. Кульпиным опыты показали, что и в этом случае (рис. 1.1б) при увеличении числа сопел характеристики эжектора вначале улучшаются, а оптимальная длина камеры смешения уменьшается. Первая попытка создания на базе данного одноступенчатого эжектора систем газовых эжекторов с большой степенью сжатия принадлежит, по-видимому, В.Т. Харитонову, хотя многосопельно - многоступенчатые паровые эжекторы известны давно. Ряд работ в этом направлении был выполнен также Ю. Н. Васильевым.

Так же в литературе описывается и другой способ усовершенствования эжектора, а именно ГАЗОВЫЙ ЭЖЕКТОР С НЕЦИЛИНДРИЧЕСКОЙ ПЕРФОРИРОВАННОЙ СТЕНКОЙ НА ГРАНИЦЕ СМЕШИВАЕМЫХ СТРУЙ [5]. На основании анализа течения смешиваемых струй в перфорированном насадке сопла газового эжектора сделан вывод о том, что применение нецилиндрических перфорированных стенок может улучшать предельные характеристики эжектора на всех его режимах, в том числе и при больших приведенных расходах низконапорного газа. Приводятся результаты экспериментального исследования серии эжекторов с конической перфорированной стенкой. При оптимальных параметрах стенки на режиме q (λ1) = 0,8 получена втрое большая степень сжатия, чем у классического эжектора.

Оптимальным режимом работы газового эжектора при больших отношениях давлений смешиваемых газов и малых коэффициентах эжекции является критический режим. В этом случае сверхзвуковая высоконапорная струя, вытекая в пространство с пониженным давлением, расширяется и поджимает низконапорную струю. М.Д. Миллионщиков и Г.М. Рябинков показали [8], что в минимальном сечении низконапорной струи на критическом режиме устанавливается звуковая скорость. В эжекторе с заданной геометрией при постоянном отношении полных давлений смешиваемых газов изменением степени сжатия нельзя увеличить коэффициент эжекции выше критического значения. Наступление критического режима [9], ограничивает возможности газового эжектора, значительно снижая его максимальную степень сжатия и максимальный коэффициент эжекции по сравнению с тем, что дают уравнения механики без рассмотрения вопроса о совместимости струй в камере смешения. Поэтому одним из путей улучшения характеристик газового эжектора является изменение условий «запирания» низконапорной струи.

Так же существует метод усовершенствования эжекторов с помощью интенсификации смешения (происходит задержка установления режима запирания газа в сечение запирания). В экспериментальном исследовании эжектора с сужающейся камерой показано, что интенсификация смешения при соответствующем уменьшении длины камеры позволила улучшить расходные характеристики. В качестве устройств формирования вихрей использованы щелевые насадки, шевроны, табы. Зубцы (треугольной формы), являющиеся непрерывным продолжением внутренней поверхности сопла, в современной литературе называется шевронами. Шевроны эффективны при больших нерасчетностях струи.

Поэтому эксперименты с ними выполнены при уменьшенных расходах низконапорного газа. Реальная модель была испытана в ИТПМ (Институт теоретической прикладной механики), наряду с щелевыми насадками и табами.

Лучшего результата удалось достичь при использовании коротких тупых зубцов насадка. В этом случае лучший результат получен при использовании конуса камеры d53/d39 с углом наклона образующей - 3,5°. Эжектор удалось запустить при длине цилиндрического участка до 100мм, давление запуска `p0p ≈ 37.

В этом эжекторе по-прежнему использовалось профилированное сопло с углом наклона выходной кромки ≈1°. Зубцы, являющиеся непрерывным продолжением внутренней поверхности сопла с углом излома до 3°, в современной литературе называются шевронами. Насадок содержал 6 шевронов в виде равносторонних треугольников, вырезанных в конической поверхности с углом наклона образующей +2,5° и примыкающих друг к другу без промежутков рис. 1.17 с мерным соплом d=12 мм получены рекордные значения k=0,177 при ε=11,5 (`p0s = 0,087; Gs = 0,0264 кг/с). Для справки: значения получены при `p0p ≈ 33,4; Gp = 0,148 кг/с; нерасчетность струи n=1,8; расчетный приведенный расход в выходном сечении горла q(λ)=0,9; рассчитанный по одномерной теории коэффициент скорости на входе в горло λ=1,39.

Наилучший результат (максимальный коэффициент эжекции или максимальная степень сжатия) показал вариант с 8 шевронами.

ε = 13,374; n = 0,148.

Про оптимум от 6-8.

Видно, что вариант с 6 шевронами очень близок к варианту с 8. Разница составляет 3%.

Проведено сравнение двух вариантов эжекторов, с насадком и без него. Наличие насадка увеличивает коэффициент эжекции на 17%.

Исследовано влияние количества шевронов на коэффициент эжекции. Выяснено, что наибольший коэффициент эжекции соответствует эжектору с насадком с 8 шевронами, а наименьший эжектору с насадком с 4 шевронами. Следовательно, система восстановления давления на базе эжектора с 8 шевронами будет иметь меньшие габариты и веса, чем прочие исследованные эжекторы с четырьмя и шестью шевронами.

Из состояния вопроса, проведенного анализа литературы и на основе уже проведенных расчетов, был выбран базовый вариант для постановки задачи.

Исходные данные: одноступенчатый эжектор с 7 шевронами с центральным соплом активного газа.

Активный газ - воздух , Tа = 285 К, Gа =0.148 кг/с

Пассивный газ- воздух, Tа = 285 К, Gа =0.0264 кг/с

Таким образом, цель нашей работы состоит в обработке и верификации расчетной модели эжектора с шевронами на основе экспериментально полученных в ИТПМ данных, с подробным исследованием основных характеристик смешения, на основе которого необходимо сделать выводы о преимуществах такой конструкции эжектора.

1.            Верификация расчетных данных численного моделирования с помощью имеющихся опытных результатов.

2.      Анализ процесса смешения посредством визуализации картины течения в камере смешения.

.        Поиск наилучшего критерия для оценки завершенности и эффективности смешения активного и пассивного газов в эжекторе.

2. Численное моделирование

2.1 Исходные данные

Все расчеты производились в программном продукте CFX5 предназначенном для трехмерных расчетов газодинамических течений. CFX5 решает систему нестационарных уравнений Навье - Стокса записанных в виде законов сохранения с учетом вязкости и турбулентности, при этом использовалась "SST" (Shear-Stress Transport) двухпараметрическая модель турбулентности, являющаяся разновидностью стандартной k- модели Ментера:

. Уравнение неразрывности


2. Уравнение движения


3. Уравнение энергии


. Закон Джоуля

5. Уравнение Менделеева - Клапейрона


6. Закон Фурье.

.

.

.

.

.

.

Двенадцать уравнений и двенадцать неизвестных, а именно: ρ, ū, σх, σу, σz, τxy, τxz, τyz, е,`q, Т, Р.

Учитываются трение и теплопроводность.

Всю геометрию строим в Solid Works. Файл записывается в формате «IGES». Затем импортируем в CFX5. Для уменьшения объема вычислений, размер сектора выбирается как минимальный элемент симметрии.

Рис. 2.1 - Общий вид расчетного сектора в CFX5.

2.2 Геометрия эжектора и шевронов

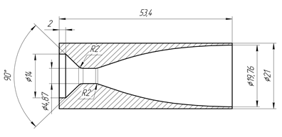
На рисунке 2.1 представлена общая геометрия системы эжектор-сопло, которая использовалась в экспериментах и при численном моделировании. На рисунке 2.2 показана подробная геометрия сверхзвукового сопла, а на рисунке 2.3 - сопловой насадок с использовавшимися шевронами.

Рисунок 2.1. Геометрия эжектора.

Рисунок 2.2. Геометрия сопла.

Геометрия насадков содержит шевроны (7 штук) в виде треугольников, вырезанных в конической поверхности и примыкающих друг к другу без промежутков.

Рис 2.3. Геометрия насадка с шевронами.

2.3 Особенности построения сетки при расчете эжектора с шевронами

В целях соответствия CFX-модели реальному течению, необходимо было обеспечить более детальный вариант сетки при расчете варианта с шевронами, как более сложного и представляющего непосредственный интерес. Основные особенности применявшейся сетки перечислены ниже.

Основная величина ячеек - 2мм. На её основе строится сетка вдали от границ и прочих областей, нуждающихся в более точном представлении.

 

Рисунок 2.4. Основная конфигурации сетки.

В пограничном слое существуют высокие градиенты всех параметров поперечном направлении, а в продольном направлении они очень малы. Поэтому для уменьшения объемов вычислений используют опцию инфляции, т.е. в поперечном направлении пристеночную область разбиваем с мелким шагом, а в продольном с более крупным. Ячейки имеют форму призм. В данной опции задаем следующие параметры сетки:

Количество слоев - 10

Коэффициент уменьшения толщены ячеек - 1.3

Толщина пограничного слоя - 1.0

Пример разбиения сетки в зоне пограничного слоя с учетом инфляции показан на рис. 2.5.

Рисунок 2.5. Пограничный слой на нижней и верхней поверхностях сопла.

Затем создаем сгущения сетки в зонах с большими градиентами изменения параметров. Функция Mesh Control. В них мы задаем параметры сгущения сетки (рисунок 2.6).

Нижняя и верхняя поверхности сопла:

Размер элемента сетки = 0,8

Коэффициент уменьшения толщены ячеек = 1,2

Радиус = 0

Рисунок 2.6.

Камера смешения:

Размер элемента сетки = 1,2

Коэффициент геометрической прогрессии = 1,2

Радиус = 5,0

Рисунок 2.7. Сетка в горле и дозвуковом диффузоре.

Горло и дозвуковой диффузор (рисунок 2.7):

Размер элемента сетки = 1,5

Коэффициент геометрической прогрессии = 1,2

Радиус = 5,0

Входная часть трубы:

Размер элемента сетки = 0,6

Коэффициент геометрической прогрессии = 1,2

Строим еще 4 Mesh Control для линии, которая располагается на границе смешения потоков (рисунок 2.8) активного и пассивного газа, с параметрами:

Параметр

Mesh Control 1

Mesh Control 2

Mesh Control 3

Mesh Control 4

Размер элемента

1,2

0,8

0,8

0,9

Радиус

0,0

4,0

4,0

4,0

Коэффициент геометрической прогрессии

1,2

1,3

1,3

1,3


Рисунок 2.8.

Для плоскостей задаем следующие граничные условия:

Втекание - для входа активного и пассивного газа (рисунок 2.9)

Рисунок 2.9

OPENING - для зоны выхода смеси. Означает возможность и втекания и вытекания потока (Рис. 2.10)

Рисунок 2.10

На боковых плоскостях задаются граничные условия симметрии (Рис. 2.11)

Рисунок 2.11

По умолчанию на оставшихся поверхностях задаются граничные условия WALL - адиабатические стенки.

3. Анализ результатов

.1 Верификация результатов численного моделирования

В результате расчетов была получена расходная характеристика эжектора (4 точки: 25, 50, 75 и 100% Gпассивного) - зависимость величины обратной степени сжатия от расхода пассивного газа.

Рисунок 3.1. Зависимость величины обратной степени сжатия от расхода пассивного газа для 6 шевронов.

При этом были обнаружены следующие нюансы: при расчетах на сетке с параметром ячейки 2 мм без применения функции сгущения сетки вдоль линии смешения активного и пассивного потоков было получено, что, начиная с нагрузки в 50% и выше, получилось большое отклонение в степени сжатия от экспериментальных данных, причем на 75% и 100% нагрузки расхождения составляют 25% и 37%.

Рисунок 3.2. Зависимость величины обратной степени сжатия от расхода пассивного газа для 6 шевронов с грубой и мелкой сетками.

Однако следует отметить, что в расчетах при 100% расходе активного газа, противодавлении на выходе эжектора 1 атм. и нагружении пассивным газом, эжектор «срывало» (ударно волновая структура в камере смешения разрушалась). Поэтому расход активного газа был увеличен до 110% от номинального и все дальнейшие расчеты проводились с этим значением.

После изменения сетки (было добавлено сгущение в зонах с высокими градиентами), результаты стали гораздо ближе к экспериментальным. Отличия составляют 0.1÷1%. Можно сделать вывод о применимости данной модели в дальнейших расчетах и её высоком соответствии реальному прототипу - верификация прошла успешно.

3.2 Анализ визуализации полученных результатов

На основе имеющихся результатов численного моделирования был проведен детальный анализ и сравнение распределений соответствующих параметров в моделях эжектора с шевронами и без них. Здесь представлены результаты визуализации параметров с краткими выводами по сравнению разных вариантов. Представлены распределения числа Маха, давления, плотности, температуры, концентрации, кинетической энергии турбулентности вдоль канала эжектора и в нескольких сечениях поперек него.

Рисунок 3.3. Продольное распределение числа Маха в модели с шевронами.

Рисунок 3.4. Продольное распределение числа Маха в модели без шевронов.

Рисунок 3.5. Продольное распределение массовой доли активного газа в модели с шевронами.

Рисунок 3.6. Продольное распределение массовой доли активного газа в модели без шевронов.

Рисунок 3.7. Продольное распределение плотности потока в модели без шевронов.

Рисунок 3.8. Продольное распределение плотности потока в модели с шевронами.

Рисунок 3.9. Продольное распределение давления потока в модели с шевронами.

Рисунок 3.10. Продольное распределение давления потока в модели без шевронов.

Рисунок 3.11. Продольное распределение температуры потока в модели с шевронами.

Рисунок 3.12. Продольное распределение температуры потока в модели без шевронов.

Рисунок 3.13. Продольное распределение кинетической энергии турбулентности в модели с шевронами.

Рисунок 3.14. Продольное распределение кинетической энергии турбулентности в модели без шевронов.

Рисунок 3.15. Распределение массовой доли активного газа в поперечных сечениях в модели с шевронами.

Рисунок 3.16. Распределение массовой доли активного газа в поперечных сечениях в модели без шевронов.

Рисунок 3.17. Распределение числа Маха в поперечных сечениях в модели с шевронами.

Рисунок 3.18. Распределение числа Маха в поперечных сечениях в модели без шевронов.

Рисунок 3.19. Распределение кинетической энергии турбулентности в поперечных сечениях в модели с шевронами.

Рисунок 3.20. Распределение кинетической энергии турбулентности в поперечных сечениях в модели без шевронов.

Рисунок 3.21.

Рисунок 3.22.

Рисунок 3.23

Рисунок 3.24.

Рисунок 3.25.

Рисунок 3.26.

Рисунок 3.27. Изоповерхности массовой доли активного (красный цвет) и пассивного (синий цвет) газов (по 30%) в варианте с шевронами.

Рисунок 3.28. Изоповерхности массовой доли активного и пассивного газов (по 30%) в варианте без шевронов.

Вышеприведенные рисунки представляют собой практически полную визуализацию течения, позволяющую отслеживать все происходящие процессы и делать выводы о характере течения в разных вариантах конструкции. По продольным и поперечным распределениям числа Маха можно отследить зоны сверхзвукового и дозвукового потока и увидеть местоположение и характер скачков уплотнения. Распределение массовой доли активного газа и кинетической энергии турбулентности позволяют анализировать интенсивность смешения и определить непосредственную область активного смешивания в обоих случаях. Давление, плотность и температура дают более полную физическую картину протекающих в эжекторе процессов. Так, по распределениям плотности и давления (рисунки 3.7-3.10) определяем, что в варианте с шевронами восстановление давления и скачки уплотнения происходят раньше (ближе к входу в эжектор), чем в варианте без них. В то же время, по поперечным распределениям массовой доли (рисунки 3.15-3.16) оказывается, что в варианте без шевронов в последнем сечении (горло эжектора) наблюдается даже более равномерное смешивание газов, чем при использовании шеврона. Тем не менее, следует помнить, что приоритетным критерием при расчете эжектора является не равномерность смешения, а величина коэффициента эжекции и степень сжатия, по которым конструкция с шевронами представляется более выгодной.

Кроме того, поперечные распределения числа Маха, концентрации и кинетической энергии турбулентности показывают сложную картину смешения по совокупности угловых секторов. Наблюдается образование вихревой конфигурации смешения, происходящей более интенсивно по сравнению со стандартной кольцевой схемой эжектора без шевронов. На рис. 3.17 мы видим более высокое распределение числа Маха, особенно в первых двух сечениях, что способствует повышению величины коэффициента эжекции. Кроме того, любопытно сравнение поперечных распределений кинетической энергии турбулентности (рисунки 3.19-3.20) - в варианте с шевронами возрастание турбулентности явно сдвинуто “вперед”, однако её падение происходит даже раньше, чем при стандартной конструкции.

Также приведены поперечные распределения векторов скорости (рисунки 3.21-3.26), которые показывают интересующие нас аспекты смешения - обмен импульсами. По ним детально видно влияние шевронов на образование завихрений и усложнение конфигурации смешения. А по специально построенной картине изоповерхностей концентрации активного и пассивного газа (рисунки 3.27-3.28) полностью визуально определена область смешения и преимущество конструкции с шевронами.

3.3 Оценка завершенности смешения

С помощью функции поперечной дисперсии концентрации активного и пассивного газов, были сняты значения дисперсии в нескольких характерных сечениях эжектора для двух вариантов конструкции и построены графики её зависимости от расстояния от среза сопла. Дисперсия вычислялась посредством введенной функции:


Где n - концентрация газа, S - площадь плоскости, на которой считается дисперсия, MO(n) - мат. ожидание концентрации газа, которое определялось по формуле:


Величина дисперсии нормировалась по сумме величин мат. ожиданий концентраций активного и пассивного газов (рисунки 3.29-3.30, соответственно), а также отдельно по мат. ожиданию активного и пассивного газов (рис. 3.31-3.32, соответственно).

Рисунок 3.29

Рисунок 3.30

эжектор шеврон смешение сетка

Рисунок 3.31

Рисунок 3.32

Дисперсия определялась через характерные равные расстояния, равные 68 мм, в тех же сечениях, в которых определялись поперечные распределение в разделе 4.2. По оси Y отложена безразмерная величина нормированной дисперсии, по оси Х - расстояние от среза сопла в калибрах, равных Dср=56,6 мм. Как видно из рисунков, несмотря на некоторое превосходство по малости дисперсии концентрации активного газа в средних сечениях (рисунки 3.29, 3.31) в конструкции с шевронами, в целом она проигрывает по этому показателю стандартной конструкции, особенно в сечении горла. Как упоминалось выше, аналогичные результаты показывает анализ поперечных распределений массовой доли активного газа.

Учитывая известный выигрыш конструкции с шевронами в коэффициенте эжекции, из этого можно сделать вывод, что в качестве критерия оценки качества смешения нельзя использовать функции концентрации или массовой доли - они не дают нужного результата. Для успешного анализа эффективности конструкции эжектора необходимо искать некоторый новый критерий, близкий, очевидно, не к характеристикам смешения, а к процессу обмена импульсами и количеством движения, который и обуславливает эффективность эжекторного смешения.

Рисунок 3.33

Рисунок 3.34


В ходе обозначенного выше поиска, в качестве критерия была также опробована величина произведения ρ*υ (плотности на проекцию скорости потока) и ρ*υ^2. Полученный результат (на рисунках 3.33-3.34) позволяет говорить о большем соответствии анализу эффективности течения, однако в сечении горла снова наблюдается некоторый выигрыш у конструкции без шевронов. Можно сделать предположение о том, что анализировать процесс смешения с помощью единого критерия возможно только в определенной области внутри камеры смешения (до горла). Однако необходимо отметить, что вопрос поиска наилучшего критерия остается открытым.

Заключение

Цель работы состояла в разработке методики расчета и улучшения параметров эжектора, верификации и обработке результатов численного моделирования, и поиске наилучшего критерия для оценки эффективности смешения.

Задачи были успешно выполнены, и был получен следующий результат.

1.  Примененная расчетная модель эжектора была верифицирована и проверена на соответствие реальному прототипу посредством сравнения обратной степени сжатия в нескольких характерных точках. Анализ показал, что при надлежащей точности сетки отличия составили не более 1%, что доказывает полную применимость данной модели.

2.      С помощью средств CFX была проведена детальная визуализация течения. Полученные результаты показали подробную схему получаемого при использовании шевронов звездообразного смешения, а также позволили наглядно определить получаемое преимущество в степени сжатия и проанализировать течение по разным параметрам.

.        Был проведен поиск подходящего критерия для оценки завершенности смешения с помощью введенной функции дисперсии. Его результаты позволили сделать вывод о том, что применение критериев, относящихся непосредственно к интенсивности смешения (концентрации газов), не даёт необходимых результатов при анализе эффективности эжекторной конструкции. Был найден более подходящий критерий, который, тем не менее, нуждается в дальнейшей проверке и изучении. Остается открытым вопрос поиска критерия, более связанного непосредственно с конечными характеристиками - коэффициентом эжекции и степенью сжатия, однако определяемого с помощью первичных параметров течения. Таким образом, был сделан вывод о том, что равномерность смешения не влияет непосредственно на величину коэффициента эжекции.

Список используемых источников

1.       Борейшо А.С.. Мощные мобильные химические лазеры. Квантовая электроника, 85, №5, 2005, стр. 35-45.

2.      Борейшо А.С., Мальков В.М., Савин А.В., Киселев И.А., Орлов А.Е., Шалимов В.П.. Система восстановления давления мощных газовых химических лазеров. Теплофизика и аэромеханика, 2001, том №8, №4, стр. 605-623.

.        Сайт http://www.rosspatent.ru

.        Аркадов Ю.К.. Компактные газовые эжекторы большой степени сжатия с расположением сопла по спирали. ˝Ученые записки ЦАГИ˝, 1984, №6, Том XV.

.        Аркадов Ю.К.. Газовые эжекторы с нецилиндрической перфорированной стенкой на границе смешиваемых струй. ˝Ученые записки ЦАГИ˝, 1976, №3, Том VII.

.        Аркадов Ю. К.. Газовые эжекторы с соплом, перфорированным продольными щелями. ˝Изв. АН СССР. МЖГ˝, 1968, №2.

.        Васильев Ю.Н.. Теория сверхзвукового газового эжектора с цилиндрической камерой смешения. В сб. ˝Лопаточные машины и струйные аппараты˝, вып. 2. М., ˝Машиностроение˝, 1967.

8.      Абрамович Г.Н.. Прикладная газовая динамика. Изд. 2-е, Гостехиздат, 1976, 888 с.

.        Харитонов В. Т.. Исследования эффективности газового эжектора с цилиндрической камерой смешения. Теплоэнергетика, 1958, №4.

.        Соболев А.В., Запрягаев В.И., Мальков В.М. Улучшение расходных характеристик газовых эжекторов.

12.    CFX-5.6// <http://www.ansys.com/cfx>

.        CFX-5.6, Tutorials. CFX Ltd. The Gemini Building, Fermi Avenue Harwell International Business Centre Didcot Oxfordshire OX11 OQR United Kingdom.

14.    CFX-5.6, Build, Post, Pre. CFX Ltd. The Gemini Building, Fermi Avenue Harwell International Business Centre Didcot Oxfordshire OX11 OQR United Kingdom. 2003.

Похожие работы на - Параметры эжектора

 

Не нашли материал для своей работы?
Поможем написать уникальную работу
Без плагиата!
Без нейросетей!