Механика и алгоритмы управления роботами
Курсовая
работа по предмету:
Механика
и алгоритмы управления роботами
Задание
Кинематическое исследование механизма
манипулятора
определить необходимые перемещения звеньев
определить траекторию движения захвата из точки
(0,2; 0,2; 0,2) в точку (0,8; 0,5; 0,7), если закон движения №4
определить скорости и ускорения движения
звеньев.
реализовать программу расчетов
построить графики:
траектории движения захвата в ZOX
скорости и ускорения захвата
скорости и ускорения 1-ого звена.
Начальные данные
|
Координаты
xyz точек (метр)
|
Закон
движения
|
Вывести
на печать и построить графики движения звена
|
Плоскость
движения
|
Угол
движения детали
|
|
Начало
движения A
|
Начало
движения B
|
|
|
|
|
|
0,2
0,2 0,2
|
0,8
0,5 0,7
|
4
|
1
|
ZOX
|
60
|
Рис. 1
Кинематика управления манипулятором:
вывести законы движения во времени
для детали и захвата;
реализовать программу расчетов.
построить графики:
траектории движения захвата детали в
ZOX, если угол движения детали 60°;
скоростей и ускорений ведомых
звеньев;
проверить решение графическим
способом.
Введение
На протяжении долгого времени
человечество пыталось уйти от ручного труда. На это было много причин, главные
из которых огромные силовые и временные затраты. Механизмы, создаваемые
человеком усложнялись и совершенствовались. Трудно себе представить современную
фабрику или завод, на котором не было бы ни одного робота. Но для того, чтобы
робот работал необходимо уметь им управлять и хорошо представлять, как он
функционирует. Данная курсовая работа направлена на кинематическое исследование
механизма манипулятора и освоение кинематики его управления.
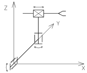
Кинематическое исследование
механизма манипулятора. Определение необходимых перемещений звеньев
Рис. 2
=0.2; L2=0.2
В точке А: L3=0.2; j=0; ψ=0
В точке В: L3= 1.08 м; j=0.529 рад; ψ=0.279 рад
Определение траектории, скоростей и
ускорений
Перемножив полученные матрицы и
вектор L, получим следующие законы для изменения координат захвата по времени:
Перемещение, скорость и ускорение
находятся по 4 закону:
f T<=T1
then:=H*Sqr(T) / (2*T1*(Tau - T1));:=H/(T1*(Tau-T1))*T;:=H/(T1*(Tau-T1));elseT<=(Tau-T1)
then:=H*(2*T-T1)/(2*(Tau-T1));:=H/(Tau-T1);:=0;T<=Tau
then:=H*(1-Sqr(Tau-T)/(2*T1*(Tau-T1)));:=H/(T1*(Tau-T1))*(Tau-T);:=-H/(T1*(Tau-T1));
+;
текст программыUnit1;,
Messages, SysUtils, Variants, Classes, Graphics, Controls, Forms,, StdCtrls,
ExtCtrls, Grids, ComOBJ;= class(TForm): TButton;: TButton;: TTimer;:
TStringGrid;: TImage;: TImage;: TImage;: TImage;: TImage;:
TImage;FormCreate(Sender: TObject);Button1Click(Sender:
TObject);Timer1Timer(Sender: TObject);public end;: TForm1;
{$R
*.dfm}=0.2; ay=0.2; az=0.2;=0.8; by=0.5; bz=0.7;=0.2; L2=0.2;=0.0; aPsi=0.0;
aL3=0.2;=0.52955776771375359150; bPsi=0.27980931571248899761;
bL3=1.0862780491200215724;,T1,dT,T,tx,ty,tz:Single;,HPsi,Hl3,qFi,qPsi,qL3,q1Fi,q1Psi,q1L3,q2Fi,q2Psi,q2L3:Single;,Kol_Step:Integer;Low_2(H,Tau,T1,T:Single;
var q,q1,q2:Single);T<=T1 then:=H*Sqr(T) / (2*T1*(Tau -
T1));:=H/(T1*(Tau-T1))*T;:=H/(T1*(Tau-T1));elseT<=(Tau-T1)
then:=H*(2*T-T1)/(2*(Tau-T1));:=H/(Tau-T1);:=0;T<=Tau
then:=H*(1-Sqr(Tau-T)/(2*T1*(Tau-T1)));:=H/(T1*(Tau-T1))*(Tau-T);:=-H/(T1*(Tau-T1));;;GetX(Fi,Psi,L3:Single):Single;
//
Result:=L3*cos(Fi)*cos(Psi)+L2*sin(Fi)+L1*sin(Fi);:= Cos(fi)*Cos(Psi)*L3 -
Sin(Fi)*L2;;GetY(Psi,L3:Single):Single;:= Sin(psi)*L3 +
L1;;GetZ(Fi,Psi,L3:Single):Single;
Result:=
Sin(Fi) * Cos(Psi)*L3 + Cos(Fi)*L2;;TForm1.FormCreate(Sender:
TObject);:=2;:=0.45;_Step:=40;;TForm1.Button1Click(Sender:
TObject);i:integer;StringGrid1 do begin[0,1]:='Fi'; Cells[0,2]:='Psi'; Cells[0,3]:='L3';[0,4]:='V(Fi)';
Cells[0,5]:='V(Psi)'; Cells[0,6]:='V(L3)';[0,7]:='a(Fi)'; Cells[0,8]:='a(Psi)';
Cells[0,9]:='a(L3)';:=Kol_Step+2;[1,0]:='0';i:=2 to Kol_Step+1
do[i,0]:=FloatToStr(Tau/Kol_Step*(i-1));;:=0;:=ax; ty:=ay; tz:=az;Image4.Canvas
do begin.Color:=clGreen;(10+Round(ax*200),300);(10+Round(ax*200+0.7*ay*200),300-Round(0.7*ay*200));(10+Round(0.7*ay*200),300-Round(0.7*ay*200));(10+Round(ax*200+0.7*ay*200),300-Round(0.7*ay*200));(10+Round(ax*200+0.7*ay*200),300-Round(0.7*ay*200+az*200));;:=0;:=-aFi+bFi;
HPsi:=ABS(-aPsi+bPsi); HL3:=ABS(-aL3+bL3);:=aFi; qPsi:=aPsi; qL3:=aL3;Fi:=0;
q1Psi:=0; q1L3:=0;Fi:=0; q2Psi:=0; q2L3:=0;StringGrid1 do
begin[Step+1,1]:=FloatToStr(qFi);[Step+1,2]:=FloatToStr(qPsi);[Step+1,3]:=FloatToStr(qL3);[Step+1,4]:=FloatToStr(q1Fi);[Step+1,5]:=FloatToStr(q1Psi);[Step+1,6]:=FloatToStr(q1L3);[Step+1,7]:=FloatToStr(q2Fi);[Step+1,8]:=FloatToStr(q2Psi);[Step+1,9]:=FloatToStr(q2L3);;.Canvas.MoveTo(20+Step*5,200-Round(qFi*200));.Canvas.MoveTo(20+Step*5,200-Round(q1Fi*300));.Canvas.MoveTo(20+Step*5,100-Round(q2Fi*80));.Canvas.MoveTo(20+Step*5,200-Round(q1L3*300));.Canvas.MoveTo(20+Step*5,100-Round(q2L3*80));:=(Tau/Kol_Step);.Interval:=round(dT*10);.Enabled:=true;;TForm1.Timer1Timer(Sender:
TObject);,y,z:Single;(Step);.Enabled:=False;:=T+dT;_2(HFi,Tau,T1,T,qFi,q1Fi,q2Fi);_2(HPsi,Tau,T1,T,qPsi,q1Psi,q2Psi);_2(HL3,Tau,T1,T,qL3,q1L3,q2L3);:=qFi+aFi;:=qPsi+aPsi;:=qL3+aL3;:=GetX(qFi,qPsi,qL3);:=GetY(qPsi,qL3);:=GetZ(qFi,qPsi,qL3);Image4.Canvas
do begin.Color:=clBlack;(10+Round(x*200+0.7*y*200),300-Round(0.7*y*200+z*200));.Color:=clGreen;(10+Round(x*200),300);(10+Round(x*200+0.7*y*200),300-Round(0.7*y*200));(10+Round(0.7*y*200),300-Round(0.7*y*200));(10+Round(x*200+0.7*y*200),300-Round(0.7*y*200));(10+Round(x*200+0.7*y*200),300-Round(0.7*y*200+z*200));;Step=Kol_Step:=bFi;
qPsi:=bPsi; qL3:=bL3;Fi:=0; q1Psi:=0; q1L3:=0;Fi:=0; q2Psi:=0;
q2L3:=0;;StringGrid1 do
begin[Step+1,1]:=FloatToStr(qFi);[Step+1,2]:=FloatToStr(qPsi);[Step+1,3]:=FloatToStr(qL3);[Step+1,4]:=FloatToStr(q1Fi);[Step+1,5]:=FloatToStr(q1Psi);[Step+1,6]:=FloatToStr(q1L3);[Step+1,7]:=FloatToStr(q2Fi);[Step+1,8]:=FloatToStr(q2Psi);[Step+1,9]:=FloatToStr(q2L3);;.Canvas.LineTo(20+Step*5,200-Round(qFi*200));.Canvas.LineTo(20+Step*5,200-Round(q1Fi*200));.Canvas.LineTo(20+Step*5,100-Round(q2Fi*50));.Canvas.LineTo(20+Step*5,200-Round(q1L3*200));.Canvas.LineTo(20+Step*5,100-Round(q2L3*50));:=x;
ty:=y; tz:=z;Step<Kol_Step then Timer1.Enabled:=True;
end;.
Построение графиков
|
Fi
|
Psi
|
L3
|
V(Fi)
|
V(Psi)
|
V(L3)
|
a(Fi)
|
a(Psi)
|
a(L3)
|
X
|
Y
|
Z
|
|
0,00
|
0,00
|
0,00
|
0,20
|
0,00
|
0,00
|
0,00
|
0,00
|
0,00
|
0,00
|
0,20
|
0,20
|
0,20
|
|
0,05
|
0,00
|
0,00
|
0,20
|
0,04
|
0,02
|
0,06
|
0,76
|
0,40
|
1,27
|
0,20
|
0,20
|
0,20
|
|
0,10
|
0,00
|
0,00
|
0,21
|
0,08
|
0,04
|
0,13
|
0,76
|
0,40
|
1,27
|
0,21
|
0,20
|
0,20
|
|
0,15
|
0,01
|
0,00
|
0,21
|
0,11
|
0,06
|
0,19
|
0,76
|
0,40
|
1,27
|
0,21
|
0,20
|
0,20
|
|
0,20
|
0,02
|
0,01
|
0,23
|
0,15
|
0,08
|
0,25
|
0,76
|
0,40
|
1,27
|
0,22
|
0,20
|
0,20
|
|
0,25
|
0,02
|
0,01
|
0,24
|
0,19
|
0,10
|
0,32
|
0,76
|
0,40
|
1,27
|
0,23
|
0,20
|
0,21
|
|
0,30
|
0,03
|
0,02
|
0,26
|
0,23
|
0,12
|
0,38
|
0,76
|
0,40
|
1,27
|
0,25
|
0,20
|
0,21
|
|
0,35
|
0,05
|
0,02
|
0,28
|
0,27
|
0,14
|
0,44
|
0,76
|
0,40
|
1,27
|
0,27
|
0,21
|
0,21
|
|
0,40
|
0,06
|
0,03
|
0,30
|
0,30
|
0,16
|
0,51
|
0,76
|
0,40
|
1,27
|
0,29
|
0,21
|
0,22
|
|
0,45
|
0,08
|
0,04
|
0,33
|
0,34
|
0,18
|
0,57
|
0,00
|
0,00
|
0,00
|
0,31
|
0,21
|
0,22
|
|
0,50
|
0,09
|
0,05
|
0,36
|
0,34
|
0,18
|
0,57
|
0,00
|
0,00
|
0,00
|
0,34
|
0,22
|
0,23
|
|
0,55
|
0,11
|
0,06
|
0,39
|
0,34
|
0,18
|
0,57
|
0,00
|
0,00
|
0,00
|
0,36
|
0,22
|
0,24
|
|
0,60
|
0,13
|
0,07
|
0,41
|
0,34
|
0,18
|
0,57
|
0,00
|
0,00
|
0,00
|
0,38
|
0,23
|
0,25
|
|
0,65
|
0,15
|
0,08
|
0,44
|
0,34
|
0,18
|
0,57
|
0,00
|
0,00
|
0,00
|
0,41
|
0,23
|
0,26
|
|
0,70
|
0,16
|
0,09
|
0,47
|
0,34
|
0,18
|
0,57
|
0,00
|
0,00
|
0,00
|
0,43
|
0,24
|
0,27
|
|
0,75
|
0,18
|
0,09
|
0,50
|
0,34
|
0,18
|
0,57
|
0,00
|
0,00
|
0,00
|
0,45
|
0,25
|
0,29
|
|
0,80
|
0,20
|
0,10
|
0,53
|
0,34
|
0,18
|
0,57
|
0,00
|
0,00
|
0,00
|
0,48
|
0,25
|
0,30
|
|
0,85
|
0,21
|
0,11
|
0,56
|
0,34
|
0,18
|
0,57
|
0,00
|
0,00
|
0,00
|
0,50
|
0,26
|
0,31
|
|
0,90
|
0,23
|
0,12
|
0,59
|
0,34
|
0,18
|
0,57
|
0,00
|
0,00
|
0,00
|
0,52
|
0,27
|
0,33
|
|
0,95
|
0,25
|
0,13
|
0,61
|
0,34
|
0,18
|
0,57
|
0,00
|
0,00
|
0,00
|
0,54
|
0,28
|
0,34
|
|
1,00
|
0,26
|
0,14
|
0,64
|
0,34
|
0,18
|
0,57
|
0,00
|
0,00
|
0,00
|
0,56
|
0,29
|
0,36
|
|
1,05
|
0,28
|
0,15
|
0,67
|
0,34
|
0,18
|
0,57
|
0,00
|
0,00
|
0,00
|
0,30
|
0,38
|
|
1,10
|
0,30
|
0,16
|
0,70
|
0,34
|
0,18
|
0,57
|
0,00
|
0,00
|
0,00
|
0,60
|
0,31
|
0,39
|
|
1,15
|
0,32
|
0,17
|
0,73
|
0,34
|
0,18
|
0,57
|
0,00
|
0,00
|
0,00
|
0,62
|
0,32
|
0,41
|
|
1,20
|
0,33
|
0,18
|
0,76
|
0,34
|
0,18
|
0,57
|
0,00
|
0,00
|
0,00
|
0,64
|
0,33
|
0,43
|
|
1,25
|
0,35
|
0,19
|
0,79
|
0,34
|
0,18
|
0,57
|
0,00
|
0,00
|
0,00
|
0,66
|
0,34
|
0,45
|
|
1,30
|
0,37
|
0,19
|
0,81
|
0,34
|
0,18
|
0,57
|
0,00
|
0,00
|
0,00
|
0,67
|
0,36
|
0,47
|
|
1,35
|
0,38
|
0,20
|
0,84
|
0,34
|
0,18
|
0,57
|
0,00
|
0,00
|
0,00
|
0,69
|
0,37
|
0,50
|
|
1,40
|
0,40
|
0,21
|
0,87
|
0,34
|
0,18
|
0,57
|
0,00
|
0,00
|
0,00
|
0,71
|
0,38
|
0,52
|
|
1,45
|
0,42
|
0,22
|
0,90
|
0,34
|
0,18
|
0,57
|
0,00
|
0,00
|
0,00
|
0,72
|
0,40
|
0,54
|
|
1,50
|
0,44
|
0,23
|
0,93
|
0,34
|
0,18
|
0,57
|
0,00
|
0,00
|
0,00
|
0,74
|
0,41
|
0,56
|
|
1,55
|
0,45
|
0,24
|
0,96
|
0,34
|
0,18
|
0,57
|
0,00
|
0,00
|
0,00
|
0,75
|
0,43
|
0,59
|
|
1,60
|
0,47
|
0,25
|
0,98
|
0,30
|
0,16
|
0,51
|
-0,76
|
-0,40
|
-1,27
|
0,76
|
0,44
|
0,61
|
|
1,65
|
0,48
|
0,26
|
1,01
|
0,27
|
0,14
|
0,44
|
-0,76
|
-0,40
|
-1,27
|
0,77
|
0,45
|
0,63
|
|
1,70
|
0,50
|
0,26
|
1,03
|
0,23
|
0,12
|
0,38
|
-0,76
|
-0,40
|
-1,27
|
0,78
|
0,47
|
0,65
|
|
1,75
|
0,51
|
0,27
|
1,05
|
0,19
|
0,10
|
0,32
|
-0,76
|
-0,40
|
-1,27
|
0,79
|
0,48
|
0,66
|
|
1,80
|
0,51
|
0,27
|
1,06
|
0,15
|
0,08
|
0,25
|
-0,76
|
-0,40
|
-1,27
|
0,79
|
0,48
|
0,68
|
|
1,85
|
0,52
|
0,28
|
1,07
|
0,11
|
0,06
|
0,19
|
-0,76
|
-0,40
|
-1,27
|
0,80
|
0,49
|
0,69
|
|
1,90
|
0,53
|
0,28
|
1,08
|
0,08
|
0,04
|
0,13
|
-0,76
|
-0,40
|
-1,27
|
0,80
|
0,50
|
0,69
|
|
1,95
|
0,53
|
0,28
|
1,08
|
0,04
|
0,02
|
0,06
|
-0,76
|
-0,40
|
-1,27
|
0,80
|
0,50
|
0,70
|
|
2,00
|
0,53
|
0,28
|
1,09
|
0,00
|
0,00
|
0,00
|
0,00
|
0,00
|
0,00
|
0,80
|
0,50
|
0,70
|
Траектория движения захвата и график пути
первого звена (по заданию).
Рис. 3
Графики скорости и ускорения захвата
Рис. 4
Графики скорости и ускорения первого
звена

Рис. 5
Кинематика управления манипулятором
Постановка задачи
Во второй части курсовой работы
манипулятор будет рассматриваться в плоскости ZOX. В этой плоскости под углом
60° деталь
движется из заданной точки и имеет постоянную скорость. Задача заключается в
отыскании законов, позволяющих изменяя размеры звеньев манипулятора за
указанное время движения захватить эту деталь.
Вывод формул
Пользователем задаются:
Координаты и скорость движения
детали в плоскости ZOX (Xd,Zd,Vd)
Длина руки робота (L3)
Построим проекцию робота в плоскости
ZOX
В плоскости ZOX видно только L2 и L3
Законы:=Vd*cos60° Vdz=Vd*sin60°=Xd+Vdx*t=Zd+Vdz*t здесь t-
шаг времени
Скорость в точке
захвата:=Vdx+(Xc-Xd)/T=Vdz+(Zc-Zd)/T где T=-t/ln(0,001)
Xc:=L3*cos(Fi)-L2*sin(Fi);:=L3*sin(Fi)+L2*cos(Fi);
Берем производную от Xc, Zc. И в
итоге, после домножения одного уравнения на sin(Fi) или cos(Fi), а затем
преобразования уравнений, получаем следующие формулы:
V:=(Vcx*sin(Fi))-(Vcz*cos(Fi));:=((Vcx*cos(Fi))+(Vcz*sin(Fi)))/L3;
Координаты в точке
захвата:=Xc+Vcx*t=Zc+Vcz*t
Построение графиков
Входные параметры: координаты детали
(0,700), скорость детали 0,2 м/с, длина руки робота 1 м, угол наклона руки 100
градусов, время движения равно 4.
|
|
V
|
W
|
Xd
|
Yd
|
Xr
|
Yr
|
|
0,00
|
0,00
|
0,00
|
0,00
|
700,00
|
720,00
|
707,00
|
|
0,20
|
-0,48
|
0,34
|
20,00
|
734,60
|
742,20
|
707,30
|
|
0,40
|
-0,28
|
0,42
|
60,00
|
803,90
|
637,00
|
750,00
|
|
0,60
|
-0,09
|
0,47
|
100,00
|
873,20
|
553,50
|
798,00
|
|
0,80
|
0,07
|
0,47
|
140,00
|
942,50
|
489,60
|
851,00
|
|
1,00
|
0,20
|
0,44
|
180,00
|
1012,00
|
444,70
|
909,30
|
|
1,20
|
0,31
|
0,37
|
220,00
|
1081,00
|
418,30
|
973,00
|
|
1,40
|
0,38
|
0,31
|
260,00
|
1150,00
|
408,60
|
1042,00
|
|
1,60
|
0,42
|
0,24
|
300,00
|
1220,00
|
412,60
|
1116,00
|
|
1,80
|
0,45
|
0,19
|
340,00
|
1289,00
|
427,20
|
|
2,00
|
0,46
|
0,15
|
380,00
|
1358,00
|
449,50
|
1272,00
|
|
2,20
|
0,47
|
0,12
|
420,00
|
1427,00
|
477,20
|
1352,00
|
|
2,40
|
0,47
|
0,09
|
460,00
|
1497,00
|
508,70
|
1432,00
|
|
2,60
|
0,47
|
0,08
|
500,00
|
1566,00
|
542,80
|
1512,00
|
|
2,80
|
0,46
|
0,06
|
540,00
|
1635,00
|
578,80
|
1591,00
|
|
3,00
|
0,46
|
0,05
|
580,00
|
1705,00
|
615,90
|
1670,00
|
|
3,20
|
0,45
|
0,04
|
620,00
|
1774,00
|
654,00
|
1747,00
|
|
3,40
|
0,44
|
0,04
|
660,00
|
1843,00
|
692,60
|
1824,00
|
|
3,60
|
0,44
|
0,03
|
700,00
|
1912,00
|
730,60
|
1897,00
|
|
3,80
|
0,44
|
0,03
|
740,00
|
1982,00
|
740,00
|
1982,00
|
Рис. 6
Рис. 7
Рис. 8
кинематический
манипулятор захват звено
Текст программы
unit Unit1;,
Messages, SysUtils, Variants, Classes, Graphics, Controls, Forms,, Grids,
StdCtrls, ExtCtrls, ComOBJ;= class(TForm): TStringGrid;: TTimer;: TButton;:
TImage;: TImage;: TImage;: TLabel;: TButton;FormCreate(Sender:
TObject);Timer1Timer(Sender: TObject);Button1Click(Sender:
TObject);Button2Click(Sender: TObject);public end;: TForm1;
{$R
*.dfm},VDY,Vd,Alpha,T,Tau,TCatch,d,dT:Single;,Yd,Xd0,Yd0,L,L3,Fi,Fi0:Single;_CX,Cur_CX,Old_CY,Cur_CY,Old_DX,Cur_DX,_DY,Cur_DY,Old_V,Cur_V,Old_W,Cur_W,X_c,Y_c:Single;,LF,Takt:Integer;:Boolean;InitManipul;:=Vd*1000*cos(Alpha*pi/180);:=Vd*1000*sin(Alpha*pi/180);:=(Tau/1.7)/ln(10);:=0;
Fail:=False;:=Xd0; Yd:=Yd0;:=L3;
Fi:=Fi0;;InitStrGr(T:word;V,W:Single);i:word;Form1.StringGrid1
do[0,1]:='V';[0,2]:='W';:=T+2;i:=0 to T
do[i+1,0]:=FloatToStrF(i*dT,ffGeneral,4,2);[T+1,1]:=FloatToStrF(V/1000,ffGeneral,4,2);[T+1,2]:=FloatToStrF(W,ffGeneral,4,2);;;DrawGraf;MT,MV,MW:Single;Cx=15;
Cy=100; dH=10;Form1 do
begin.Canvas.Pen.Color:=clBlue;.Canvas.MoveTo(Round(Old_CX/10),250-Round(Old_CY/10));.Canvas.LineTo(Round(Cur_CX/10),250-Round(Cur_CY/10));.Canvas.Pen.Color:=clRed;.Canvas.MoveTo(Round(Old_DX/10),250-Round(Old_DY/10));.Canvas.LineTo(Round(Cur_DX/10),250-Round(Cur_DY/10));:=(image2.Width-2*Cx)/(Tau/dt);:=(image2.Height-2*dH)/(2*Vd*3*1000);.Canvas.MoveTo(Round((CX+(Takt-1)*MT)),220-Round((CY-Old_V*MV)));.Canvas.LineTo(Round((CX+Takt*MT)),220-Round((CY-Cur_V*MV)));:=(Image3.Width-2*Cx)/(Tau/dT);:=(Image3.Height-2*dH)/2;.Canvas.MoveTo(Round((CX+(Takt-1)*MT)),250-Round((CY-Old_W*MW)*2));.Canvas.LineTo(Round((CX+Takt*MT)),250-Round((CY-Cur_W*MW)*2));_CX:=Cur_CX;
Old_CY:=Cur_CY;_DX:=Cur_DX; Old_DY:=Cur_DY;_V:=Cur_V;
Old_W:=Cur_W;;;TForm1.FormCreate(Sender: TObject);:=0; Yd0:=700; Vd:=0.2;:=60;
L3:=1000; Fi0:=100;:=4; d:=1; dT:=0.2;:=500; LF:=20000;
Takt:=0;(Takt,0,0);;TForm1.Button1Click(Sender: TObject);;.Enabled:=true;.Interval:=round(dt*500);:=0;_CX:=H*cos(Fi0*pi/180)+L3*Sin(Fi0*pi/180);_CY:=H*sin(Fi0*pi/180)-L3*cos(Fi0*pi/180);_c:=Old_CX;
Y_c:=Old_CY;_DX:=Xd0; Old_DY:=Yd0;_V:=0; Old_W:=0;;TForm1.Timer1Timer(Sender:
TObject);RFi,V,W,VCx,VCy:Single;(Takt);:=Fi*pi/180;_c:=H*cos(RFi)+L*Sin(RFi);
Y_c:=H*sin(RFi)-L*cos(RFi);:=VDX+((Xd-X_c)/T);
VCy:=VDY+((Yd-Y_c)/T);_c:=X_c+VCx*dT; Y_c:=Y_c+VCy*dT;:=Xd+VDX*dT;
Yd:=Yd+VDY*dT;:=TCatch+dT;L<=0 then
L:=1;:=(VCx*sin(RFi))-(VCy*cos(RFi))+H/2;:=((VCx*cos(RFi))+(VCy*sin(RFi)))/L;(Takt,V,W);:=Xd+(VDX*dT);
Yd:=Yd+(VDY*dT);:=L+(V*dT);:=Fi+(W*dT*180/pi);_CX:=X_c; Cur_CY:=Y_c;_DX:=Xd;
Cur_DY:=Yd;_V:=V; Cur_W:=W;;(abs(X_c-Xd)<=d) and (abs(Y_c-Yd)<=d) then
begin.Caption:='Goal';.Enabled:=false;;TCatch>Tau then begin.Enabled:=false;.Caption:='Out
of time';;L>LF then begin.Enabled:=false;.Caption:='Out of
Speed';;;StrGridToExcel(SG:TStringGrid; InverceRows:Boolean);, Workbook:
OLEVariant;, EndCol, BeginCol, BeginRow, i, j: integer;:=
CreateOleObject('Excel.Application');.Application.EnableEvents:= false;:=
ExcelApp.WorkBooks.Add;:=0;:=0;:=SG.ColCount+1;:=SG.RowCount+1;InverceRows
theni:=BeginCol to EndCol doj:=BeginRow to EndRow
do.WorkSheets[1].Cells[i+1,j+1]:=StrToFloat(SG.Cells[i,j]);.WorkSheets[1].Cells[i+1,j+1]:=SG.Cells[i,j];;i:=BeginCol
to EndCol doj:=BeginRow to EndRow
do.WorkSheets[1].Cells[i+1,j+1]:=StrToFloat(SG.Cells[j,i]);.WorkSheets[1].Cells[i+1,j+1]:=SG.Cells[j,i];;;.Visible:=
true;;TForm1.Button2Click(Sender: TObject);(StringGrid1,True);;
end.