Организация работы поточной линии обработки детали

  • Вид работы:
    Дипломная (ВКР)
  • Предмет:
    Другое
  • Язык:
    Русский
    ,
    Формат файла:
    MS Word
    578,49 kb
  • Опубликовано:
    2011-06-26
Вы можете узнать стоимость помощи в написании студенческой работы.
Помощь в написании работы, которую точно примут!

Организация работы поточной линии обработки детали

Исходные данные

Вариант 13

Деталь: Вилка

Заготовка: ОТЛИВКА 2ГР СЛОЖН. 5ГР СЕР-ТИ

Материал: Чугун СЧ35 ГОСТ 1412-85

Масса заготовки: 0,300 кг

Режим работы: 2 смены

Масса детали: 0,150 кг

Годовой план выпуска: Nг = 300 000 шт.

Номинальный фонд работы оборудования: ФН = 4000 ч.


Операция, Модель станка

Наименование инструмента

Разряд

tшт

tм.а.

tв.н.

tв.п.

5

Вертикально-фрезерная 6Р13В3-37

фреза Ø 100 (3-13) штангенциркуль кл. точн. 2(3-66) сверло (3-07)

3

2,68

1,56

0,45

0,22

10

Плоскошлифовальная 3П722

круг ПП600х75х305 кл. А(3-55) микрометр кл. точн. 2 (3-69) тиски (3-97)

3

0,25

0,15

0,04

0,02

15

Сверлильная 2Г125

сверло(3-02) сверло (3-03) линейка кл. точн. 2(3-63)

4

0,68

0,40

0,11

0,06

20

Протяжная 7Б56

протяжка Ø 50х500 (3-42) штангенциркуль кл. точн. 2 (3-66)

2

0,36

0,21

0,06

0,03


Содержание

Введение

. Расчёт такта поточной линии

. Расчёт потребного количества рабочих мест

. Выбор вида поточной линии

. Разработка стандарт-плана линии

. Расчет заделов на линии

. Расчет численности рабочих

. Обоснование применения и выбор типа промышленных роботов

Заключение

Список использованных источников

Введение


Целью написания данной курсовой работы является планирование и организация автоматической линии для отдельного участка механического цеха машиностроительного предприятия. Совершенствование организации производства на промышленных предприятиях является актуальной задачей современного этапа развития народного хозяйства нашей страны. Важная роль в решении этого вопроса принадлежит машиностроению - ведущей отрасли промышленности. Эта отрасль добилась огромных успехов и обладает большим производственным потенциалом. Однако в отрасли имеются значительные резервы в использовании наличных мощностей. Внутрисменные простои оборудования на отдельных предприятиях составляют больше 50% рабочего времени, уникальное, дорогостоящее оборудование, станки с ЧПУ, обрабатывающие центры, автоматические линии фактически используются не в полной мере.

Прогрессивные формы организации труда, производственных процессов должны обеспечивать высокую степень использования всех элементов производства. Организация производства по своей сути предопределяет наилучший вариант функционирования производственного процесса, любое отклонение от которого вносит элемент дезорганизации. В общем смысле организация производственного процесса - это наиболее рациональное сочетание в пространственном и временном аспекте основных элементов производства: труда, средств и предметов труда.

Основные причины недоиспользования техники, трудовых ресурсов кроются в несовершенстве организации производства, в отставании её развития от технического базиса производства. Прогрессивные формы организации труда, производственных процессов должны обеспечивать высокую степень использования всех элементов производства.

Современный уровень развития производства характеризуется высокой динамичностью, что предопределяет круг проблемных задач:

достижение необходимого соответствия между техническим и организационным совершенствованием производственных процессов;

обеспечение заинтересованности коллектива предприятия, его подразделений во внедрении передовых форм организации производственных процессов и в постоянном их совершенствовании;

совершенствование системы управления организацией производства на предприятии в целях повышения эффективности организационных решений.

 

1. Расчёт такта поточной линии


Такт поточной линии - это средний интервал времени между выпуском обрабатываемых деталей. Он рассчитывается исходя из годовой программы выпуска деталей. Для одно предметной поточной линии такт потока (r) рассчитывается по формуле (1.1).


В формуле (1.1) действительный фонд времени работы поточной линии в планируемом периоде, ч; NВ = 300000 шт. - программа выпуска деталей. Действительный фонд времени зависит от вида оборудования, его ремонтной сложности и, следовательно, среднего простоя его в ремонте, сложности наладки. Действительный фонд времени определим по формуле (1.2).

ФД = ФН [1 - (αР + αН)] = 4000*[1-(0,07 + 0,09)] = 4000(1 - 0,16) = 3360 ч.(1.2)

В формуле (1.2) ФН = 4000ч - фонд времени работы поточной линии при работе; коэффициент, учитывающий потери времени, связанные с проведением плановых ремонтов и всех видов обслуживания; αН = 0,09 - коэффициент потери времени на настройку оборудования во время смен. Поэтому, согласно (1.2) высчитаем такт поточной линии и получим (1.3).

 (1.3)

2. Расчёт потребного количества рабочих мест

В поточном производстве потребное количество рабочих мест (оборудования) определяется для каждой технологической операции. Расчётное число рабочих мест определяется согласно формуле (2.1).

(2.1)

В формуле (2.1) норма штучного времени на i-ой операции, мин; r = 0,672 мин. такт потока. Расчётное число рабочих мест, как правило, получается дробным. Поэтому по каждой операции устанавливается принятое число рабочих мест . При установлении  допускается перегрузка в небольших пределах (до 5-6 %), особенно если расчётное число рабочих мест округляется до единицы или до двух. В этом случае перегрузка может быть компенсирована некоторым повышением режимов обработки. Поэтому, если расчётное число рабочих мест не более чем на 5-6% превышает целое число, его округляют до ближайшего меньшего числа, одновременно наметив мероприятия по уменьшению .

По формуле (2.1) определяем расчётное число рабочих мест на каждой операции , а также принятое число рабочих мест mnpi в пределах 5-6% от .

Токарная операция: mP1=2,68/0,672 = 3,9881;mПР1 = 4.

Специально-фрезерная операция: mP2=0,25/0,672 = 0,472; mПР2 = 1.

Зубострогальная операция: mP3=0,68/0,672 = 1,012; mПР3 = 1.

Кругло шлифовальная операция: mP4=0,36/0,672 = 0,636;mПР4 = 1.

Полученные значения  и  заносим в таблицу 2.1.

Коэффициент загрузки рабочих мест определяется в процентах по каждой операции технологического процесса и по линии в целом. Коэффициенты загрузки  по каждой операции определяются по формуле (2.2).

(2.2)

Расчёт  будем вести в таблице 2.1.

Коэффициент загрузки по линии в целом рассчитаем по формуле (2.3).

(2.3)

Полученные значения занесем в таблицу 2.1.

Таблица 2.1 - Расчёт количества рабочих мест

Наименование операции

Наименование оборудования

Параметры




tшт, мин.

mр

mпр

KЗ, %

1

Вертикально-фрезерная

6Р13В3-37

2,68

3,9881

4

2

Плоскошлифовальная

3П722

0,25

0,472

1

3

Сверлильная

2Г125

0,68

1,012

1

4

Протяжная

7Б56

0,36

0,636

1


Итого:


3. Выбор вида поточной линии


При обосновании вида поточной линии особое внимание должно уделяться возможности превращения прерывно-поточного производства в непрерывно-поточное путем синхронизации - обеспечением равенства или кратности продолжительности выполнения технологических операций такту потока. Но так как у нас средний коэффициент загрузки на линии выше 0,85, то есть составляет 0,87, то, следовательно, поточная линия является непрерывной.

При наличии нескольких рабочих мест на отдельных операциях непрерывно-поточной линии, необходимо осуществлять разметку конвейера, которая может быть цифровой и цветовой. Применение цветовой разметки в дополнение к цифровой обеспечивает значительное уменьшение повторяемости разметочных знаков (которое называется периодом конвейера), особенно в том случае, если она используется для наибольшего нечетного числа рабочих мест. Период конвейера определяется как наименьшее кратное из числа рабочих мест по операциям (без операций с цифровой разметкой). Длину непосредственно рабочей части конвейера Lp определим по формуле:

(3.1)

В формуле (3.1) K0 - число операций; l - шаг конвейера, м.

Определим скорость конвейера v по следующей формуле:

(3.2)

Наиболее удобной является скорость до 3 м/мин.

Следует отметить, что снижение скорости конвейера пропорционально увеличивает транспортный задел на линии.

Продолжительность цикла обработки детали Тц определяется по формуле:

(3.3)

4. Разработка стандарт-плана линии


Организация работы и оперативное планирование зависят от разновидности поточной линии.

При прерывно-поточном процессе производства продолжительность отдельных операций не синхронна с тактом потока. Вследствие разной производительности оборудования, используемого на смежных операциях, перемещение деталей от операции к операции не регламентируется во времени.

Различные формы организации массового производства требуют применения определенных методов оперативно-производственного планирования, в частности при разработке стандарт-планов.

Для каждой непрерывно-поточной линии должен быть построен стандарт-план работы, который регламентирует расстановку рабочих по операциям, определяет загрузку рабочих и оборудования. Перед построением стандарт-плана выявляется возможность многостаночной параллельной работы. Стандарт-план определяет способ и период передачи деталей с операции на операцию (по одной детали или транспортными партиями, через такт или через несколько тактов), периодичность и количество подач заготовок на первую операцию.

Стандарт-план работы непрерывно-поточной линии составляется на такой отрезок времени, который достаточен для выявления повторяемости процесса производства на данной линии. Разработанный стандарт-план актуален на протяжении такого отрезка календарного времени, пока в производственной программе не произойдут существенные изменения. Стандарт-план одно предметной непрерывно-поточной линии, характерный для производства детали вал-шестерня представлен на рис. 4.1.

Рисунок 4.1 - Стандарт-план одно предметной непрерывно-поточной линии с однорядным расположением оборудования

5. Расчет заделов на линии


На поточных линиях различают следующие виды заделов:

по назначению и характеру образования - технологический; транспортный; оборотный; страховой;

по месту образования - линейные, или межоперационные, заделы; межлинейные (между смежными линиями в пределах одного цеха) или межцеховые, когда смежные линии находятся в разных цехах.

В курсовом проекте будем рассчитывать только линейные заделы.

Технологический задел - это количество деталей, находящихся в данный момент в процессе обработки, или заготовок, установленных на станках. Определяется по следующей формуле:

 (5.1)

В формуле (3.3) Крм - количество рабочих мест (станков) на линии; nустi - количество одновременно обрабатываемых деталей или установленных заготовок на i-м рабочем месте. Транспортный задел - количество деталей или заготовок, которые находятся в процессе передачи с одной операции на другую. Он зависит от степени синхронности смежных операций.

На автоматических линиях транспортный задел точно фиксируется специальными приспособлениями транспортных устройств и не требует расчета.

На непрерывно-поточных неавтоматических линиях транспортный задел зависит от способа передачи деталей и заготовок. Так как способ передачи деталей и заготовок, исходя из стандарт-плана линии, осуществляется по штучно, то транспортный задел рассчитаем по следующей формуле:

 (5.2)

В формуле (5.2)  - количество единиц оборудования или рабочих мест на i-ой операции. Так как выбранная нами линия является непрерывно-поточной, то для нее не введется расчет оборотного и страхового заделов.

 

6. Расчет численности рабочих


Расчёт численности рабочих мест основного производства можно производить двумя методами: по числу рабочих мест и по трудоёмкости работ. На поточных линиях применяется только первый метод. Если станочник работает на одном или нескольких станках, тогда занятость рабочего в течение смены будет соответствовать загрузке рабочих мест.

При определении потребности в рабочих необходимо первоначально выявить возможность перевода рабочих на многостаночное обслуживание. Основным фактором, обеспечивающим возможность многостаночного обслуживания при механической обработке, является превышение времени машинно-автоматической работы над временем ручной работы. Чем больше это соотношение, тем большее количество станков может обслуживать один рабочий.

При организации многостаночной работы необходимо учитывать коэффициент оптимальной занятости рабочего. Рабочие, обслуживая несколько станков, осуществляют переходы от станка к станку с грузом или без него. На основе исследований установлено, что коэффициент оптимальной занятости () уменьшается с увеличением массы обрабатываемых деталей, расстояния их перемещения и числа деталеопераций. Приближённые значения коэффициентов оптимальной занятости () приведены в таблице 6.1

Таблица 6.1 - Коэффициенты оптимальной занятости рабочего ()

Масса обрабатываемой детали, кг

Число деталеопераций, выполняемых на рабочем месте в течение смены


до 500

501-1200

1201-1900

1901-2600

1-7

1

1

1

1

8

0,99

0,97

0,96

0,95

9

0,93

0,92

0,91

0,89

10

0,88

0,87

0,85

0,84

11

0,84

0,81

0,8

0,78

12

0,78

0,76

0,74

0,73

13

0,73

0,7

0,69

0,68

14

0,67

0,65

0,64

0,62

16

0,57

0,54

0,51

18

0,46

0,43

0,42

0,41

20

0,35

0,33

0,31

0,3


Т.к. масса детали m=1,500кг, а число деталеопераций, выполняемых на рабочем месте в течение смены вычисляется по следующей формуле:

, где(6.1)

(6.2)

В формуле (6.2) NВ = 300000 шт. - производственная программа; nраб - количество рабочих дней в году при двусменном режиме работы, равное 250 дней.

Следовательно,

(6.3)

Тогда согласно таблице 6.1 получаем значение коэффициента .

Нормативное количество станков, обслуживаемых одним рабочим с учётом многостаночного обслуживания (), можно определить по формуле (6.4).

(6.4)

В формуле (6.1) время машинно-автоматической работы, мин; вспомогательное неперекрывающееся время, включая время активного наблюдения, мин; вспомогательное перекрывающееся время, мин; время перехода рабочего от станка к станку, мин. Расчётное количество станков округляется до ближайшего целого числа. Если на станках выполняются разные операции, принимается значение  того станка, для которого оно меньше.

Для расчёта  можно воспользоваться формулой (6.5).

.(6.5)

В формуле (6.5) продолжительность операции, мин.

Длительность цикла при многостаночном обслуживании () рассчитывается согласно формуле (6.6).

(6.6)

В формуле (6.4) время машинно-автоматической работы, мин; вспомогательное неперекрывающееся время, включая время активного наблюдения, мин; время простоя станка, мин (в нашем случае будем считать, что простоя станков не будет, т.е. ).

Численность рабочих-станочников по каждой операции с учётом многостаночного обслуживания () рассчитывается по формуле (6.7).

.(6.7)

В формуле (6.7) расчётное число рабочих мест по данной операции с учётом многостаночного обслуживания.

Рассчитываем по формулам (6.4)-(6.6) время перехода (), нормативное число станков () и длительность цикла при многостаночном обслуживании ()для каждой операции.

Вертикально-фрезерная операция

tпер(1) = tшт(1) - tм.а.(1) - tв.н.(1) - tв.п.(1) = 2,68 - 1,56 - 0,45 - 0,22 = 0,45 мин.(6.8)

(6.9)

TЦ.М.(1) = tм.а.(1) + tв.н.(1) = 1,56 + 0,45 = 2,01 мин(6.10)

Плоскошлифовальная операция

tпер(2) = tшт(2)-tм.а.(2)-tв.н.(2)- tв.п.(2) = 0,25- 0,15-0,04 - 0,02 = 0,04 мин.(6.11)

(6.12)

TЦ.М.(2) = tм.а.(2) + tв.н.(2) = 0,15 + 0,04 = 0,19мин.(6.13)

Сверлильная операция

tпер(3) = tшт(3) - tм.а.(3) - tв.н.(3) - tв.п.(3) = 0,68 - 0,4 - 0,11 - 0,06 = 0,11 мин.(6.14)

(6.15)

TЦ.М.(3) = tм.а.(3) + tв.н.(3) = 0,4 + 0,11 = 0,51 мин.(6.16)

tпер(4) = tшт(4)-tм.а.(4)-tв.н.(4)-tв.п.(4) = 0,36-0,21-0,06-0,03 = 0,06 мин.(6.17)

(6.18)

TЦ.М.(4) = tм.а.(4) + tв.н.(4) = 0,21 + 0,06 = 0,27 мин.(6.19)

Все рассчитанные значения занесём в таблицу 6.2. Расчёт численности рабочих-станочников по каждой операции и в целом на поточную линию с учётом многостаночного обслуживания () согласно формуле (6.7) рассчитаем в таблице 6.2.

Таблица 6.2 - Расчёт необходимого количества рабочих-многостаночников

Наименование операции

Наименование оборудования

Параметры




mр

H,мин.

TЦ.М.,мин.

QМ

1

Вертикально-фрезерная

6Р13В3-37

4

2

2,01

2

2

Плоскошлифовальная

3П722

1

2

0,19

1

Сверлильная

2Г125

1

2

0,51

1

4

Протяжная

7Б56

1

2

0,27

1


Общее число рабочих на линии:

5


В результате получаем, что явочное число рабочих, необходимое для работы на поточной линии ЧЯВ = 5 человек - это число рабочих-станочников, которые должны ежедневно выходить на работу в плановом периоде. Списочное число рабочих () - это число рабочих, которые должны обеспечить функционирование оборудования в течение плановой продолжительности его работы.  рассчитываем согласно формуле (6.20).

(6.20)

В формуле (6.20) ФД = 3360ч. - действительный фонд времени работы оборудования; ФЭФ = 2000ч. - эффективный фонд рабочего времени одного работающего.

Численность рабочих вспомогательного производства можно рассчитать на основе трудоемкости работ или норм обслуживания. При выполнении курсового проекта необходимо определить численность следующих профессий: наладчиков, контролеров, ремонтников (для выполнения плановых ремонтов), дежурных слесарей, смазчиков оборудования, нормы обслуживания для которых приведены в табл. 6.3. Расчет численности вспомогательных рабочих i-й профессии ведется по формуле:

(6.21)

В формуле (8.21) åUi - сумма единиц обслуживания по i-й профессии; kсм - количество смен работы; Ноi - норма обслуживания по i-й профессии (см. табл. 6.3).

Значит, численность наладчиков равна:

(6.22)

Значит, численность контролеров равна:

(6.23)

Значит, численность ремонтников равна:

(6.24)

Значит, численность дежурных слесарей равна:

(6.25)

Значит, численность смазчиков оборудования равна:

(6.26)

Таблица 6.3 - Нормы обслуживания на одного рабочего в одну смену

Профессия

Разряд

Единица обслуживания

Норма обслуживания

Наладчик оборудования по типам станков: токарные, сверлильные, плоскошлифовальные, суперфинишные, доводочные агрегатные, фрезерные, резьбообрабатывающие, зубодолбежные, круглошлифовальные, хонинговальные, протяжные токарно-револьверные, карусельные, одношпиндельные токарные полуавтоматы, зубопротяжные, внутришлифовальные, зубофрезерные

 4  5  5

 станок  ”  ”

 16  12  7

Станочник по ремонту оборудования

3

ед.ремонтной сложности

1500

Слесарь по межремонтному обслуживанию

3

500

Электромонтер по межремонтному обслуживанию

3

1000

Смазчик

3

1000

Контролер-приемщик

3 4

рабочий”

40 25

Кладовщик-раздатчик инструмента и приспособлений

2

50

Рабочий по доставке инструментов и приспособлений на рабочие места

2

станочник

50

Стропальщик и крановщик

3

50

Уборщик производственных помещений

2

м2

1500


На рисунке 6.1 приведена организация многостаночной работы.

автоматический механический машиностроительный робот

Рисунок 6.1 - Циклограммы многостаночного обслуживания

 

7. Обоснование применения и выбор типа промышленных роботов


Промышленный робот - это автоматический манипулятор с программным управлением. Существенным отличием промышленного робота от автооператора или “механической руки”, является наличие собственных систем привода, программного управления и значительное расширение манипуляционных возможностей. Различают роботы трёх поколений.

Промышленных роботов обычно относят к роботам первого поколения. Основными их характеристиками являются: грузоподъемность, тип компоновки, радиус обслуживания, вертикальный и горизонтальный ход руки, число степеней подвижности.

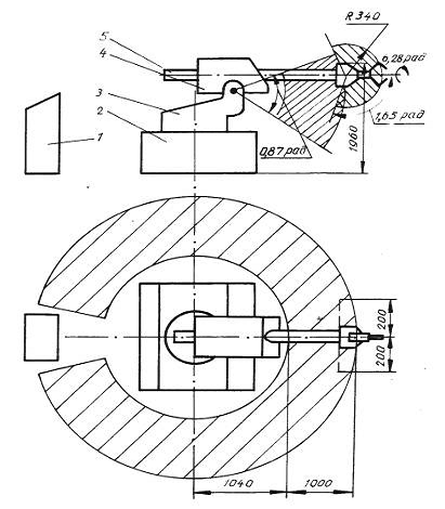
На рисунке 7.1 представлены компоновка и рабочая зона робота “Универсал-15.01”.

Рисунок 7.1 - Компоновка и рабочая зона робота “Универсал-15.01”:

- система программного управления (СПУ); 2- манипулятор с механизмами поворота и перемещения; 3- поворотная платформа; 4- корпус руки с механизмом выдвижения и вращения; 5- кисть с механизмом поворота и захвата

Первичной ячейкой роботизированного производства является гибкий производственный модуль, представляющий совокупность промышленных роботов, технологического и вспомогательного оборудования, организованных в пространстве и предназначенных для выполнения одной или нескольких технологических операций в автоматическом режиме.

Оборудование, входящее в гибкий производственный модуль, представляет три подсистемы: обработки, обслуживающую, контроля и управления.

В подсистему обработки входит основное технологическое оборудование, допускающее сопряжение с промышленными роботами. Применяемое в механообрабатывающих цехах оборудование отличается большим диапазоном степени механизации и автоматизации движений рабочих органов. По уровню автоматизации его можно разделить на четыре группы:

) ручное закрепление заготовок и деталей в приспособлении и ручное управление рабочими органами станка;

) ручное закрепление заготовок и деталей в приспособлении и включение станка;

) механизированное закрепление заготовок и деталей в приспособлении и ручное управление рабочими органами станка;

) механизированное закрепление заготовок и деталей в приспособлении и автоматическое включение станка (станки-полуавтоматы).

Оценка станочных приспособлений для установки и закрепления обрабатываемой детали производится по трем признакам: степени механизации, точности базирования траектории установочных движений руки промышленного робота. Применение промышленного робота исключает возможность использования оснастки с ручным зажимом. Поскольку точность позиционирования промышленного робота составляет 2-4 мм (например, “Универсал-15.01” имеет точность позиционирования 2 мм), он не всегда имеет возможность устанавливать деталь непосредственно в оснастку. При такой точности деталь устанавливается предварительно на специальные призмы с досыпкой до упора в базовые поверхности специальными пневмоцилиндрами по команде от системы программного управления промышленного робота.

В зависимости от выполняемых функций вспомогательное оборудование можно классифицировать на транспортные, подающие и принимающие устройства, ориентаторы заготовок (деталей), приёмно-передающие устройства.

Транспортные устройства обеспечивают перемещение обрабатываемых деталей между последовательно расположенными гибкими производственными модулями, формирование оборотных заделов и в некоторых случаях могут выполнять функции внутрицехового транспорта.

Подающие устройства предназначены для размещения заготовок и выдачи их к месту захвата роботом, а принимающие устройства должны обеспечить приём детали в месте разгрузки робота.

Ориентаторы (кантователи) предназначены для ориентации заготовки непосредственно перед взятием её промышленным роботом в случае, когда манипуляционных возможностей промышленного робота недостаточно.

Приемно-передающие устройства осуществляют гибкую связь между отдельными модулями и могут выполнять одновременно функции транспортных, подающих и принимающих устройств.

Система управления должна: подавать управляющие команды оборудованию, приспособлению, транспортным средствам; контролировать положение детали; передавать информацию о готовности элементов выполнять программу и др.

Заключение

В результате выполнения данной курсовой работы мною была разработана и спланирована автоматическая линия по производству вал-шестерни из легированной стали. Был решён ряд задач, связанных с выбором и обоснованием вида поточной линии и типа промышленных роботов, были рассчитаны задели на линии, такт автоматической линии, потребное количество рабочих мест и рабочих-станочников, необходимых для работы на спроектированной поточной линии при двухсменном режиме работы, а также был разработан стандарт-план линии, который регламентирует расстановку рабочих по операциям, определяет загрузку рабочих и оборудования, способ и период передачи деталей с операции на операцию, периодичность и количество подач заготовок на первую операцию.

При выполнении этой курсовой работы мною был закреплен теоретический и практический материал, изучаемый в курсе “Организация производства и управление предприятием”. Эта работа позволила получить лучшее представление о процессе проектирования, стадиях разработки и принципах функционирования реальных поточных линий на производственных предприятиях, позволила приобрести опыт использования нормативной исходной информации, научиться самостоятельно оценивать варианты и принимать решения на основе количественного анализа.

 

Список использованных источников


1.      Методические указания по выполнению курсовой работы “Организация и планирование автоматической линии”

.        Сачко Н.С., Бабук И.М. Организация и планирование машиностроительного производства (курсовое проектирование) - Мн.: УП “Технопринт”, 2001г.

Похожие работы на - Организация работы поточной линии обработки детали

 

Не нашли материал для своей работы?
Поможем написать уникальную работу
Без плагиата!
Без нейросетей!