Автоматизация участка по обработке зубчатого колеса
Содержание
ТЕХНИЧЕСКОЕ ЗАДАНИЕ
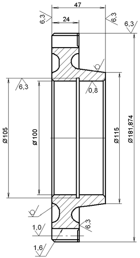
ЭСКИЗ ДЕТАЛИ
Введение. Разработка планировки
1.1 Расчет режимов резания
.2 Нормирование операций технологического процесса
.3 Выбор оборудования
1.3.1 Выбор основного технологического оборудования
.3.2 Выбор вспомогательного оборудования
1.4 Разработка ГПС - планировка РТУ
II. Выбор датчиков и разработка циклограммы работы ГПС
- РТу
III. Разработка технологических наладок для станков с
ЧПУ
IV. Разработка отсекателя заготовок
ЗАКЛЮЧЕНИЕ
СПИСОК ИСПОЛЬЗОВАННОЙ ЛИТЕРАТУРЫ
ПРИЛОЖЕНИЯ
ЭСКИЗ ДЕТАЛИ
Введение
На сегодняшний день в машиностроении сложилась тенденция к применению
прогрессивных технологий. Это, прежде всего, выражается в использовании в
производстве автоматизированного и автоматического оборудования: ГПМ, ГАУ, ГАЛ,
ГПС, РТК, РТУ, РТЛ и АТТС.
Гибкая производственная система (ГПС) - это совокупность или отдельная
единица технологического оборудования и системы обеспечения его
функционирования в автоматическом режиме, обладающая свойствами автоматической
переналадки при производстве изделий произвольной номенклатуры в установленных
пределах значений их характеристик.
По организационной структуре ГПС формируются в виде производственных
модулей (ГПМ), гибких автоматических линий (ГАЛ) и участков (ГАУ), а также в
виде гибких производственных цехов и заводов.
В механообрабатывающем производстве ГПС представляет собой развитую
автоматизированную систему, управляемую от ЭВМ; такая система включает в себя
комплекс обрабатывающего оборудования, связанного автоматизированной
транспортно-складской системой (АТСС), автоматизированную систему
инструментообеспечения (АСИО) и систему автоматического контроля (САК).
В результате применения этих технологий в будущем станет возможным
повсеместное использование безлюдных технологий.
Целью данной курсовой работы является автоматизация участка по обработке
зубчатого колеса (шестерни).
I. Разработка
планировки
1.1 Расчет режимов резания
При назначении элементов режимов резания необходимо учитывать характер
обработки, тип и размеры инструмента, материал его режущей части, материал и
состояние заготовки, тип и состояние оборудования.
Элементы режимов резания:
1. Глубина резания: t: при
черновой обработке назначают по возможности максимальную t, равную всему припуску на обработку
или большей его части (75%); при чистовой обработке - в зависимости от
требований точности размеров и шероховатости обработанной поверхности.
2. Подача s: при черновой обработке выбирают максимально возможную
подачу, исходя из жесткости и прочности системы СПИД, мощности привода станка,
прочности твердосплавной пластинки и других ограничивающих факторов; при
чистовой обработке - в зависимости от требуемой степени точности и
шероховатости обработанной поверхности.
Подача на оборот (мм/об):
Где: So - табличное значение подачи; Ki - поправочные коэффициенты на
скорость резания в зависимости от предела прочности sв или твердости НВ обрабатываемого
материала, от состояния обрабатываемой поверхности П, от периода стойкости Т,
от главного угла в плане j,
от марки твердого сплава ТС, от формы заточки инструмента, от глубины обработки
Н, от ширины обработки В, от жесткости инструмента.
3. Скорость резания v
(м/мин): рассчитывают по формуле, установленной для каждого вида обработки,
которая имеет общий вид:
где:
Vтабл - табличное значение скорости резания;
Ki - поправочные
коэффициенты на скорость резания в зависимости от предела прочности sв или твердости НВ обрабатываемого материала, от состояния обрабатываемой
поверхности П, от периода стойкости Т, от главного угла в плане j, от марки твердого сплава ТС, от формы заточки инструмента, от глубины
обработки Н, от ширины обработки В, от жесткости инструмента.
4. Число оборотов(об/мин) шпинделя определяется по формуле:
где:
d - наибольший диаметр обрабатываемой детали;
v - скорость
резания (м/мин).
Результаты
расчетов режимов резания сведем в таблицу 1
Таблица 1.1 Результаты расчетов режимов резания
|
№
|
Операция
|
t, мм
|
s,мм/об
|
V,м/мин
|
n, об/мин
|
|
05
|
Черновое подрезание
наружной цилиндрической поверхности (кольца)- Æ181.74/Æ148
|
1
|
0,9
|
124
|
217,13
|
|
Черновое подрезание торца
(кольца) - Æ115/Æ100
|
1,1
|
0,9
|
120
|
210,15
|
|
Чистовое растачивание
цилиндрической поверхности Æ100
|
1,5
|
0,9
|
214
|
374,73
|
|
Чистовое растачивание
цилиндрической поверхности Æ105
|
1,6
|
0,9
|
112
|
196
|
|
Черновое подрезание торца - Æ181.74/Æ100
|
1,1
|
0,9
|
122
|
213,63
|
|
Чистовое обтачивание
цилиндрической поверхности -
Æ181.74
|
1,3
|
0,9
|
118
|
206,63
|
|
Фрезерование 38 зубьев
|
2,2866115,57
|
|
|
|
|
10
|
Шлифование внутренней
цилиндрической поверхности Æ105
|
0,01
|
24
|
55м/сек
|
157,07
|
|
15
|
Шлифование 38 зубьев
|
0,02
|
15
|
30м/сек
|
6370
|
Между операцией 05 и операцией 10 производится термическая обработка
детали с целью цементации зубьев. После термообработки производится
дробеструйная обработка.
.2
Нормирование операций технологического процесса
Норма времени - это регламентированное время выполнения некоторого объема
работ в определенных условиях одним или несколькими исполнителями
соответствующей квалификации. В машиностроении норма времени обычно
устанавливается на технологическую операцию.
Штучное время обработки детали:
где
Тао - время автоматической обработки, состоит из времени на совершение
инструментом холостых и рабочих ходов:
Время
холостых ходов:
Где
Li - длина i-ого холостого хода, мм- скорость быстрого перемещения станка,
мм/мин.- количество холостых ходов.
Время
рабочих ходов:
где
Tр.х.i - время i- ого рабочего хода, мин.
L
- длина обрабатываемой поверхности, мм;- длина врезания, перебега и ускоренного
подвода инструмента, мм. Для станков с ЧПУ в большинстве случаев принимается
1-2 мм вследствие высокой жесткости системы СПИД.- число рабочих ходов;-
частота вращения заготовки или инструмента, об/мин;- подача на один оборот,
мм/об.
Результаты
расчетов приведены в таблице 1.2.
Вспомогательное
время:
Вспомогательное время, включающее Тв.у. на установку и снятие заготовки и
машинно-вспомогательное время Тм.в., включает комплекс приемов, связанных с
позиционированием, ускоренным перемещением рабочих органов станка, подводом
инструмента вдоль оси в зону обработки и последующим отводом, автоматической
смены режущего инструмента путем поворота револьверной головки (резцодержателя)
или из инструментального магазина. Эти элементы времени зависят от скоростей
перемещений рабочих органов и длины перемещений. При составлении программы
управления (ПУ) следует учитывать возможность совмещения приемов и назначать
такую последовательность выполнения переходов обработки, чтобы Тм.в. было
минимальным. Значения Тв.у. и Тм.в. назначаются по справочным данным.
Вспомогательное время Твсп рассчитывается для каждой операции. Результаты
расчетов занесены в таблицу 1.2.
Оперативное время находиться по формуле:
Тобс
- время организационного обслуживания рабочего места. В состав работ по данному
обслуживанию: осмотр, нагрев системы СПУ и гидросистемы, опробование
оборудования, получение инструмента от мастера в течение смены, смазывание и
очистка станка в течение смены, предъявление контролеру ОТК пробной детали,
уборка станка и рабочего места по окончанию работы. К техническому обслуживанию
рабочего места относятся: смена затупившегося инструмента, коррекция
инструмента на заданные размеры, регулирование и подналадка станка в течение
смены, удаление стружки из зоны резания в процессе работы.
Тпер
- время на личные потребности, мин.
Время
обслуживания рабочего места и время на личные потребности, назначается в
процентах от оперативного времени
Штучно-калькуляционное
время:
Где
N - размер партии деталей, запускаемых в производство;
Тп-з
- подготовительно-заключительное время на партию.
Подготовительно-заключительное
время Тп-з при обработке на станках с ЧПУ состоит из затрат времени Тп-з1 из
затрат Тп-з2, учитывающих дополнительные работы, и времени Тп-з3 на пробную
обработку детали:
В затраты Тп-з1 включено время на получение наряда, чертежа,
технологический документации на рабочем месте в начале работы и на сдачу в
конце смены. На ознакомление с документами и осмотр заготовки затрачивается 4
мин; на инструктаж мастера - 2 мин; на установку рабочих органов станка или
зажимного приспособления по двум координатам в нулевое положение - 4 мин; на
установку перфоленты - 2 мин; итого на комплекс приемов - 12 мин. Для всех
станков с ЧПУ принята единая норма Тп-з1 = 12 мин. Тп-з3 выбираем в зависимости
от числа режущих инструментов и числа измеряемых по диаметру поверхностей.
05 Токарная операция.
05.1. Подрезка торца - Æ181.74/Æ148
Глубина снимаемого слоя: t=1
мм;
Подача
на оборот:
Скорость
резания:
Число
оборотов шпинделя:
05.2. Черновое
подрезание
торца - Æ115/Æ100
механический деталь циклограмма автоматический
Глубина снимаемого слоя: t=1.1
мм;
Подача
на оборот:
Скорость
резания:
Число
оборотов шпинделя:
.3. Чистовое
растачивание цилиндрической поверхности - Æ100
Рабочий ход №1:
Глубина снимаемого слоя: t=1.45
мм;
Подача
на оборот:
Скорость
резания:
Число
оборотов шпинделя:
Рабочий
ход №1:
Глубина
снимаемого слоя: t=0.05 мм;
Подача
на оборот:
Скорость
резания:
Число
оборотов шпинделя:
05.4. Чистовое
растачивание цилиндрической поверхности - Æ105
Глубина снимаемого слоя: t=1.6 мм;
Подача
на оборот:
Скорость
резания:
Число
оборотов шпинделя:
05.5. Черновое
подрезание торца - Æ181,74/Æ100
Глубина снимаемого слоя: t=1.1
мм;
Подача
на оборот:
Скорость
резания:
Число
оборотов шпинделя:
05.6. Чистовое
обтачивание цилиндрической поверхности - Æ181,74
Глубина снимаемого слоя: t=1.3
мм;
Подача
на оборот:
Скорость
резания:
Число
оборотов шпинделя:
05.7. Фрезерование
зубьев.
число
проходов.
число
заходов.
10 Шлифовальная операция.
продольная
или поперечная подача на двойной ход изделия в долях ширины шлифовального
круга.
частота
вращения детали.
ширина
шлифовального круга.
длина
рабочего хода.
15 Зубошлифовальная операция.
Полученные
расчеты сведем в таблицу 1.2
Таблица 1.2 Технологическое нормирование операций
|
№ оп.
|
Операция
|
Тосн, мин
|
Тв, мин
|
Топ, мин
|
Тпер+Tобс, мин
|
Тп-з, мин
|
Тшт_к, мин
|
|
1
|
Токарная
|
11,09
|
1,23
|
12,32
|
1,232
|
27
|
14,10
|
|
2
|
Шлифовальная
|
0,057
|
0,4
|
0,6577
|
0,0657
|
13
|
0,9835
|
|
3
|
Зубошлифовальная
|
5,5
|
0,6
|
6,1
|
0,61
|
13
|
7
|
1.3 Выбор оборудования
1.3.1 Выбор
основного технологического оборудования
Определение
необходимого количества технологического оборудования.
Перед выбором основного технологического оборудования необходимо
определить требуемое его количество для обеспечения выполнения поставленного
задания.
Расчетное количество оборудования определяется по формуле:
, где
-
штучное время на соответствующей операции;
- объем
партии (
);
- годовой
фонд работы оборудования (
).
Коэффициент
загрузки оборудования по времени определяется следующим образом:
, где
-
принятое количество оборудования.
Полученные результаты сведем в таблицу:
Таблица 1.3. Расчет количества основного оборудования
|
№ оп.
|
Наименование операции
|
Тшт_к , мин
|
nрасч
|
nпр
|
ηосн
|
|
1
|
Токарная
|
14,10
|
0,7344
|
1
|
0,73
|
|
2
|
Шлифовальная
|
0,9835
|
0,0512
|
1
|
0,05
|
|
3
|
Зубошлифовальная
|
7
|
0,3646
|
1
|
0,36
|
Общее количество применяемого основного оборудования: N = 3.
Выбор
оборудования
Технологическое оборудование определяет технико-экономические
характеристики ГПС, а также показатели обрабатываемых изделий. С учетом
поставленного технического задания и технологии получения конечного изделия
выбираем следующее технологическое оборудование:
С целью концентрации операций на одном рабочем месте (операция 05)
используем токарный станок с ЧПУ модели ИРТ180ПМФ4, позволяющий в условиях
автоматизированного производства при патронном закреплении обрабатываемой
заготовки выполнять операции точения, фрезерования плоскостей, пазов,
производить сверление и растачивание отверстий, а также нарезать резьбу.
Таблица 2 Характеристики токарного станка ИРТ180ПМФ4
|
№
|
Параметр
|
Значение
|
|
1
|
Наибольшие размеры
обрабатываемой поверхности: Диаметр, мм Длина, мм
|
200 165
|
|
2
|
Число управляемых координат
(в том числе одновременно), шт:
|
3(2)
|
|
3
|
Число индексируемых позиций
револьверной головки, шт:
|
12
|
|
4
|
Дискретность перемещений:
Линейных (X и Z), мм Угловых (С)
|
0,001 0,001
|
|
5
|
Частота вращения шпинделя,
1/мин:
|
20…4000
|
|
6
|
Рабочие скорости: По Х,
мм/мин По С, 1/мин
|
1…5000 0,01…16
|
|
7
|
Установочные перемещения:
По Х, м/мин По Z, м/мин По С, 1/мин
|
10 15 16
|
|
8
|
Наибольшее усилие резания
по Х и Z, кН:
|
4; 6
|
|
9
|
Наибольший крутящий момент
на шпинделе, Нм:
|
630
|
|
10
|
Точность позиционирования,
мкм: По Х По Z
|
16 20
|
|
11
|
Мощность привода главного
движения, кВт:
|
18,3…25
|
|
12
|
Габаритные размеры (длина х
ширина х высота), мм:
|
2751 х 2170 х 1650
|
|
13
|
Масса станка (с
дополнительным оборудованием), кг:
|
3000
|
Для достижения точности и значений шероховатости применим следующие
шлифовальное оборудование: внутришлифовальный станок 3А227В и зубошлифовальный
станок 5843
Внутришлифовальный станок 3А227В предназначен для шлифования внутренних
цилиндрических поверхностей. Данную модель выбираем, так как она соответствует
по размерам, массе обрабатываемой детали.
Зубошлифовальный станок 5843 предназначен для шлифования зубьев. Данную
модель выбираем, так как она соответствует параметрам детали и параметрам
зубьев, которые мы должны получить.
1.3.2 Выбор вспомогательного оборудования
Для построения ГПС наряду с основным оборудованием применяют и
вспомогательное, которое обеспечивает работу основного оборудования в
автоматическом режиме в течение заданного срока. К таким вспомогательным
средствам относят: робототехническое оборудование (загрузка-разгрузка, смена
инструмента, приспособления); средства складирования заготовок, готовых
изделий, приспособлений, инструментов; транспортно-накопительные устройства,
контрольно-измерительные средства и др.
Для поштучной выдачи заготовки из магазина будем использовать отсекатель.
Отсекатель на выходе содержит склиз для перемещения заготовки в зону действия
промышленного робота и ее точного позиционирования.
Для транспортировки заготовки от отсекателя к токарному станку ИРТ180ПМФ4
будем использовать встроенный промышленный робот М10П62.01. Данный робот имеет
сферическую систему координат, поэтому его можно использовать для сложных
движений и точного позиционирования руки робота. После токарной обработки деталь поступает на склиз, который направляет
заготовку в магазин стержневого типа. Данный магазин удобен для складирования
простыми средствами.
С целью обеспечения точной установки заготовки в патроне основного
оборудования и удобства автоматической загрузки-выгрузки заготовок для
шлифовальных операций применим промышленный робот "Универсал-5".
Данный робот выбираем с учетом грузоподъемности и возможности точного
позиционирования схвата руки робота.
Транспортировка деталей на участок термической обработки и обратно к
накопителю перед шлифовальным станком производится с помощью автоматических
транспортных тележек, которые перевозят детали в магазинах.
1.4 Разработка ГПС - планировка РТУ
Роботизированные комплексы для механообработки заготовок типа тел
вращения могут иметь различные компоновочные схемы в зависимости от выполняемых
ими технологических задач. Наибольшее применение в машиностроении получили РТК,
состоящие из автоматизированных станков (токарных, кругло-шлифовальных,
многоцелевых и др.), оснащенных накопительными устройствами для заготовок и
деталей, системой программного управления и обслуживаемых с помощью ПР. В
первую очередь такие РТК предназначаются для серийного изготовления деталей
мелких и средних размеров с небольшим временем обработки. Комплексы могут
оснащаться как встроенным в станок, так и внешним ПР напольного или портального
типа.
Разработанный участок состоит из трех единиц технологического
оборудования: токарного центра, внутришлифовального станка и зубошлифовального
станка. Обслуживание станков производится двумя промышленными роботами со
сферическими системами координат.
Обработка заготовок начинается по мере поступления заготовок на участок с
помощью транспортной тележки. Она подвозит и разгружает магазины с заготовками.
Максимальная емкость магазина - 8 заготовок.
Дальше производится поштучная выдача заготовок в зону встроенного
промышленного робота токарного станка с помощью отсекателя и склиза.
ПР токарного станка захватывает заготовку со склиза и переносит ее в зону
станка. После обработки заготовки на первом установе ПР переворачивает
заготовку и снова вставляет ее в патрон.
После токарной обработки ПР по склизу отправляет заготовку в магазин
стержневого типа.
Транспортная тележка с помощью встроенного ПР ставит магазин себе на
платформу и отвозит его на термообработку.
После термообработки заготовки подвергаются отделочным операциям -
шлифованию.
Для этого в начале производится их поштучная выдача с помощью отсекателя
того же типа, что и для токарной обработки. После отсекателя заготовка с
помощью промышленного робота "Универсал-5" транспортируется в зону
внутришлифовального станка. После шлифования внутренней цилиндрической
поверхности производится шлифование зубьев на зубошлифовальном станке 5843.
Обработка на этом станке осуществляется длительное время, поэтому чтобы
внутришлифовальный станок не простаивал ПР осуществляет его дополнительную
загрузку с других участков.
После шлифовальных операции готовые детали складируются в магазин
стержневого типа с помощью склиза.
II. Выбор датчиков и разработка циклограммы работы ГПС - РТу
Технические средства для контроля объектов на нижнем (исполнительском)
уровне АСУ ГАУ определяются их назначением, конструкцией и условиями работы.
Для металлорежущих станков ими могут быть датчики перемещений рабочих органов,
путевые (контактные и бесконтактные) выключатели, датчики контроля параметров
процесса (усилия резания, температуры в шпиндельном узле, положения режущей
кромки инструмента, виброускорений в резцовой головке, работы привода и
другие), обеспечивающие работу станка в автоматическом режиме. Промышленные
роботы обычно оснащаются датчиками позиционирования и касания (для контроля
захвата изделия), а транспортно-накопительные устройства - датчиками типа
путевых выключателей.
В качестве датчиков "включения/выключения" приводов станков, а
также шагового конвейера применен вращающийся трансформатор. Особенностью
такого датчика является непрерывное измерение перемещения контролируемого
органа и преобразование результатов измерения в непрерывный электрический
сигнал, модулированный по фазе.
Для определения "наличия/отсутствия" заготовки в захватном
устройстве ПР и в патроне станка, его состояния станка "зажат/разжат"
применены тактильные датчики. В общем случае такие датчики состоят из
воспринимающего давление со стороны объекта слоя (либо фольга, либо резина с
металлическими вкраплениями) и контакторов, вместе они образуют систему реле.
В качестве датчиков положения, определяющих состояние рабочих органов
оборудования, применены индуктивные бесконтактные выключатели, путевые
микровыключатели, а также фотодатчики.
Описание циклограммы
Циклограмма - это графическое отображение взаимодействия
технологического, вспомогательного и транспортного оборудования в пределах ГАУ.
Циклограмма также позволяет определить состояние всех элементов ГАУ в
определенный момент времени.
Рассмотрим построение циклограммы, описывающей момент времени обработки
детали, начиная с поступления ее на участок до отправки ее на термообработку.
Поступление заготовок на участок регистрирует датчик контактный датчик S3. Далее срабатывает отсекатель -
датчик S1. После отделения одной заготовки от
остальных она поступает на склиз - датчик S19 (путевой микропереключатель). По его сигналу промышленный
робот токарного станка делает установочные движения над заготовкой - датчики S4, S7, S10, S13. Датчики S4, S10 и S13 фиксируют угловое перемещение руки
робота, а датчик S7 линейное
перемещение в зоне склиза.
После точного позиционирования схвата промышленного робота над заготовкой
происходит зажим ее - датчик S16 и
проверка наличия ее в схвате - S18.
После срабатывания датчика S9
патрон зажимает заготовку - S21.
Наличие заготовки фиксируется тактильным датчиком - S23.
Далее промышленный робот, чтобы не мешать процессу обработки, убирает
свою руку из зоны обработки - датчики S9, S12.
После этого включается привод станка и производится обработка детали на
1-ом установе. Промышленный робот по окончанию обработки и отводу режущего
инструмента возвращается в свое прежнее положение в зоне станка - S12 и S9. Схват ПР зажимает заготовку - датчик S16. Проверяется наличие заготовки в
схвате - S18 и патрон станка разжимается - S22.
Схват отходит от патрона (S9) ,
делает переустанов (S12) и снова
вставляет заготовку в патрон (S9).
Патрон зажимает заготовку - S21,
проверяется ее наличие - S23.
Рука робота отходит - S9 и S6. Производится окончательная
обработка заготовки на токарном станке ИРТ180ПМФ4.
Обработанная деталь захватывается рукой промышленного робота - датчики S9→S6→S16→S18. Патрон разжимается (S22) и промышленный робот перемещает
заготовку на входной склиз магазина стержневого типа (S9, S4, S13 и S7, S17.
В качестве датчиков S4, S5, S6, S20
используют вращающиеся трансформаторы. Данный вид датчиков позволяет точно
определить угловое перемещение.
Датчики S3, S19 и S1, S2, S9 и S7, S8 и S19 служат для определения крайних положений руки робота. Они
являются не точными и реализуются с помощью микропереключателей различных
конструкций.
Датчики S10-S17 и S21, S22 служат для определения положения
руки робота по вращению приводящих в движение двигателей робота. Они
преобразуют угловое перемещение в электрический сигнал.
Тактильные силомоментные датчики - S18 и S23 -
служат для определения наличия заготовки.
III. Разработка технологических наладок для станков
с ЧПУ
Для обработки конкретной поверхности детали необходимо определить, каким
образом будет перемещаться инструмент. Для этого определяется траектория его
движения, включающая рабочие ходы, сопровождающиеся снятием слоя металла, и
холостые ходы.
Рабочие ходы движения инструмента определяют контур детали, геометрическую
точность получаемой поверхности (размер, шероховатость). Холостые ходы
характеризуются быстрым перемещением инструмента с точным позиционированием в
заданной точке.
Траектория движения инструмента в станках с ЧПУ задается с помощью
специальных кодов(функций), записываемых в управляющую программу в определенной
последовательности.
Также в программе задается система координат, в которой описывается
перемещение инструмента. С помощью специальных кодов можно управлять также и
вспомогательными операциями (подача СОЖ, смена инструмента).
Наиболее часто используемые функции при программировании
Таблица 3.1 Основные функции ЧПУ
|
Функция
|
Назначение
|
|
G00
|
Быстрое перемещение в
начальную точку
|
|
G01
|
Линейная интерполяция
|
|
G02/G03
|
Круговая интерполяция по
часовой стрелке/против часовой стрелки
|
|
G17/G18/G19
|
Выбор плоскости XOY/XOZ/YOZ
|
|
G33
|
Нарезание резьбы с
постоянным шагом
|
|
G40
|
Отмена коррекции
|
|
G41/G42
|
Инструмент подходит
слева/справа относительно заготовки
|
|
G43/G44
|
Коррекция инструмента
положительная/отрицательная
|
|
G60
|
Точное позиционирование
|
|
G81/G82
|
Сверление без задержки/с
задержкой в конце
|
|
G90/G91
|
Абсолютная/относительная
система координат детали
|
|
G92
|
Переход из системы
координат станка в систему координат детали
|
|
G94/G95
|
Подача в (мм/мин)/(мм/об.)
|
|
G96/G97
|
Скорость в
(м/мин)/(об./мин)
|
|
Вспомогательные функции
|
|
M02
|
Конец программы
|
|
M03/M04
|
Вращение шпинделя по
часовой стрелке/против часовой стрелки
|
|
M05
|
Останов шпинделя
|
IV. Разработка отсекателя заготовок
Отсекатель служит для поштучной выдачи заготовок в зону промышленного
робота из магазина шахтного типа. Заготовки поступают на участок в уже
упорядоченном виде в магазине.
Для заготовки типа зубчатого колеса (шестерни) будем использовать магазин
шахтного типа. Данный магазин выберем высотой равной 400 мм. Такая высота
магазина позволяет доставлять на участок сразу 8 заготовок.
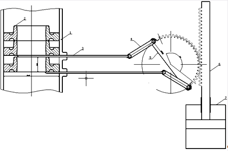
Отсекатель будем разрабатывать следующего вида:
Данная схема содержит магазин (1), заготовки (2), пластины отсекателя
(3), планки для передачи движения (4), зубчатый сегмент (5), рейку (6) и
гидроцилиндр (7).
Последовательность работы отсекателя следующая. В первоначальный момент
времени нижняя пластина отсекателя удерживает все заготовки. Потом обе пластины
отсекателя начинают одновременно двигаться в взаимнопротивоположном направлении
- верхняя пластина влево, а нижняя в правую сторону. Верхняя пластина отделяет
верхние заготовки от нижней и та под действием силы тяжести падает вниз. То
есть нам необходимо сообщить пластинам отсекателя синхронное взаимное
противоположное движение (качания).
Это совершается следующим образом. Поступательное движение поршня
гидроцилиндра двигает рейку. Рейка через зубчатую передачу преобразует свое
поступательное движение во вращательное движение зубчатого колеса. А зубчатое
колесо в свою очередь передает движение пластинам отсекателя.
Расчет отсекателя состоит в следующем:
· расчет зубчатого сегмента передающего движение;
· расчет планок создающих кинематическую связь зубчатого колеса
с пластинами отсекателя;
· расчет зубчатой передачи между зубчатым сегментом и рейкой;
· выбор гидроцилиндра.
Составим схему замещения отсекателя.
Пластина отсекателя должна переместится на расстояние 2m, равное диаметру заготовки Æ184.5 мм. Расстояние между пластинами
равно высоте заготовки 2h=49.2
мм.
Пусть длина планки, передающей движение, равняется m=92,25 мм.
Тогда радиус точки B
будет следующим:
Следовательно
.
Сегмент
зубчатого колеса равен:
Это
почти 180°. Поэтом вместо сегмента будем использовать в отсекателе половину
зубчатого колеса.
Задачу
выбора гидроцилиндра будем решать, применяя закон сохранения энергии. Энергия,
переданная поршнем гидроцилиндра равняется энергии, возникающей при движении
пластин отсекателя.
Энергия
поршня:
(4.1)
, (4.2)
где
А1 и А2 - работа сил трения пластины верхней и нижней
соответственно.
, (4.3)
где
- коэффициент трения между металлом заготовки и
металлом пластины;
- массы
заготовок действующих на пластины;
-
расстояния, на которые сдвинулись пластины.
Следовательно,
, (4.4)
где
М - масса заготовки.
Длина
дуги на которую вращался зубчатый сегмент равен следующему выражению:
, (4.5)
где
- радиус сегмента;
- угол,
на который повернулся сегмент.
То
есть:
(4.6)
Подставим
выражения (4.4) и (4.6) в формулу (4.1). Получим следующее:
Отсюда,
Для
экономии металла возьмем
=100 мм.
(из
справочных данных по физике).
Тогда
Ход
поршня найдем из выражения (4.6):
Исходя
из требуемой силы и хода поршня выбираем гидроцилиндр по ГОСТу
Рассчитаем
параметры реечной передачи по формулам данным в справочниках. Данные расчеты
сведем в таблицу 4.1:
|
№ п-тра
|
Наименование параметра
|
Значение
|
|
1
|
Модуль зуба, m
|
4
|
|
2
|
Шаг нормальный, 12,56
|
|
|
3
|
Высота зуба, 10
|
|
|
4
|
Ширина рейки, 12
|
|
|
5
|
Линейное перемещение рейки L,
соответствующее углу поворота колеса, 1.74γ
|
|
|
6
|
Угол поворота колеса при
перемещении рейки на L, 
|
|
|
7
|
Количество зубьев, z
|
50
|
|
8
|
Делительный диаметр
зубчатого колеса, d
|
200
|
|
9
|
Диаметр вершин зубьев
|
208
|
|
10
|
Диаметр впадин зубьев
|
190
|
ЗАКЛЮЧЕНИЕ
В результате проведенной работы разработал ГПС по механообработке детали
типа зубчатое колесо (шестерня). Данная ГПС состоит их трех единиц
технологического оборудования. Причем одна единица основного оборудования стоит
параллельно двум единицам оборудования отделочных операций (шлифовальных).
Транспортировка обрабатываемых деталей производится с помощью АТСС, включающая
автоматическую тележку и в зоне локальных перемещений применены промышленные
роботы со сферическими системами координат. Таким образом, эта система
представляет собой роботизированный технологический участок по обработке
деталей типа "Зубчатое колесо" при их патронном закреплении.
На технологическом и вспомогательном оборудованиях установлены датчики,
позволяющие определить состояние системы в определенный момент времени. Выбор
датчиков произведен в соответствии с видом установленного оборудования, типом
приводов механизмов рабочих органов и в соответствии требованиями эксплуатации
оборудования.
В заключительной части работы произвел расчет механизма поштучной выдачи
заготовок - отсекателя.
Список использованной литературы
1.
Справочник
технолога машиностроителя в двух томах. Под ред. Косилова А.Г., Мещерекова. М.:
"Машиностроение" 1981.
2.
Таблицы с
режимами резания
3.
Справочник
технолога-машиностроителя. Под ред. Анурьева В.И.: В трех томах. М.:
"Машиностроение" 1992.
4.
Промышленные
роботы в машиностроениии. Альбом схем и чертежей. Под ред. Соломенцева Ю.М.,
М.: "Машиностроение" 1987.
5.
РТК и ГПС в
машиностроении. Альбом схем и чертежей. Под ред. Соломенцева Ю.М., М.:
"Машиностроение" 1989.
6.
Промышленные
роботы. Справочник. Козырев Ю.Г. М.: "Машиностроение" 1983.
7.
Программное
управление станками. Под ред. Сосонкина В.Л., М.: "Машиностроение"
1981.
8.
Промышленные
роботы: конструкция, управление, эксплуатация. Костюк В.И., К.: "Выща
школа" 1985.
9.
Станочное
оборудование автоматизированного производства. Бушуев В.В. В двух томах. М.:
"Станкин" 1993.
10.Курсовое проектирование по теории механизмов и машин:
Учеб. пособие для инж.-техн. спец. вузов/В.К. Акулич, П.П. Анципорович, Э.И.
Астахов и др.; Под общ. ред. Г.Н.Девойно. - Мн.: Высш. шк., 1986. - 255 с.: ил.
11.Детали машин: Учебник для студентов машиностроительных
и механических специальностей вузов/ Решетов Д.Н. - М.: Машиностроение, 1989. -
496 с.: ил.
Приложение 1
Модель
структуры
|
ТП1
|
Операция 05
|
Установ 05.1
|
Позиция 05.1.1
|
Переход 05.1.1.1
|
Р.х. 05.1.1.1
|
|
|
|
Позиция 05.1.2
|
Переход 05.1.2.1
|
Р.х. 05.1.2.1
|
|
|
|
Позиция 05.1.3
|
Переход 05.1.3.1
|
Р.х. 05.1.3.1.1
|
|
|
|
|
|
Р.х. 05.1.3.1.2
|
|
|
|
Позиция 05.1.4
|
Переход 05.1.4.1
|
Р.х. 05.1.4.1.1
|
|
|
Установ 05.2
|
Позиция 05.1.1
|
Переход 05.2.1.1
|
Р.х. 05.2.1.1.1
|
|
|
|
Позиция 05.1.2
|
Переход 05.2.2.1
|
Р.х. 05.2.2.1.1
|
|
|
|
Позиция 05.1.3
|
Переход 05.2.3.1
|
Р.х. 05.2.3.1.1
|
|
Операция 10
|
Установ 10.1
|
Позиция 10.1.1
|
Переход 10.1.1.1
|
Р.х. 10.1.1.1.1
|
|
Операция 15
|
Установ 15.1
|
Позиция 15.1.1
|
Переход 15.1.1.1
|
Р.х. 15.1.1.1.1
|
Приложение 2
Модель
содержания
Технологический процесс 1
|
Поступление
|
|
Транспортировка
|
|
Транспортировка (ЦТО и
обратно)
|
|
На склад
|
|
|
|
|
|
|
|
|
Операция 1.1
|
|
Операция 1.2
|
|
Операция 1.3
|
|
Операция 05.1
|
Зажим заготовки
|
|
Переустановка
|
|
Снятие
|
|
|
|
|
|
|
Уст 05.1.1
|
|
Уст 05.1.2
|
|
Установ 05.1.1
|
Подвод блока инструментов
|
|
Смена инструмента
|
|
Смена инструмента
|
|
Смена инструмента
|
|
Отвод блока инструмента
|
|
|
|
|
|
|
|
|
|
|
Поз. 05.1.2.1
|
|
Поз. 05.1.2.2
|
|
Поз. 05.1.2.3
|
|
Поз. 05.1.2.4
|
|
Позиция 05.1.1.3
|
Подвод инструмента
|
|
Отвод инструмента
|
|
|
|
|
Переход 05.1.1.3.1
|
|
Переход 05.1.1.3.1
|
Врезание
|
|
Врезание
|
|
Выход
|
|
|
|
|
|
|
Рабочий Ход 05.1.1.3.1.1
|
|
Рабочий Ход 05.1.1.3.1.2
|
|