Система передачи тревожных сообщений по радиоканалу
Введение
беспроводная
сигнализация код радиоволна
В настоящее время, в виду изменившейся
социально-политической обстановки, заметно вырос уровень преступности в стране,
что требует необходимость принятия, и осуществления комплекса мер
совершенствования служб вневедомственной охраны, создания эффективного
противодействия преступным посягательствам.
Важным направлением совершенствования охраны
является тактическое перевооружение пунктов централизованной охраны и
охраняемых объектов. Новые технологии средств обнаружения вторжения на
охраняемый объект имеют много преимуществ благодаря разработке микрочипов,
перезаряжаемых батарей и современных методов обнаружения вторжения на
охраняемый объект. Структурная схема системы охранно-пожарной сигнализации
приведена на рис. В.1.
В состав комплексной защиты, представленной на
рис. В. 1. входят:
- детекторы
вторжения;
- пожарные
детекторы;
- устройства
оповещения (это сирена и строб-вспышка);
устройство управления, осуществляющее
переключение системы защиты в режим охраны, снятие с охраны, включение режимов
дневного наблюдения и других режимов. Обычно оно представляет собой клавиатуру,
с которой пользователи имеют право на управление системой.
Причем система может быть автономной (без
передачи сообщений на пульт централизованной охраны), здесь непосредственно сам
охранник, находящийся на охраняемом объекте, регистрирует сообщения, приходящие
от датчиков на пульт управления. В случае централизованной охраны сообщения
передаются на пульт централизованной охраны применяя в качестве канала связи
проводную линию или радиоканал.
Целью данного дипломного проекта является
разработка системы передачи тревожных сообщений по радиоканалу, которая должна
удовлетворять условиям высокой помехозащищенности и достоверности.
Информация о проникновении в дом граждан или
офис, пожаре, должна оперативно передаваться на пульт охраны, также как и сама
информация должна собираться с максимальной достоверностью, поэтому задача
разработки радиоэлектронной системы передачи тревожных сообщений является
важной и актуальной.
1. Анализ технического задания
Несмотря на то, что проводные системы передачи
тревожных сообщений занимают ведущее место в системах централизованного
наблюдения, остается большое число нетелефонизированных объектов (квартир
граждан, гаражей, дач, а также предприятий и организаций в стройиндустрии и так
далее) для которых данные системы охраны непригодны.
Причем, учитывая изменение экономической
ситуации на рынке кабельной продукции, а также изменившиеся отношения с
организациями связи, а именно удорожание оказываемых ими услуг по обслуживанию
используемых для охраны телефонных линий, наиболее перспективным и экономически
выгодным является использование для связи с системой централизованного наблюдения
- радиоканала.
Среди многочисленных устройств и систем
охранно-пожарной сигнализации данные системы занимают особое место. Это
обусловлено, с одной стороны важными дополнительными преимуществами, такими,
как отсутствие соединительных проводов и быстрота установки, с другой,
возникновение ряда специфических особенностей, связанных с надежностью канала
связи, помехоустойчивостью, ресурсом источников питания и другими
особенностями.
Большое значение в развитии систем радиоохраны
имело использование на практике первой отечественной радиосистемы передачи
извещений «Струна» с автоматизированной тактикой ВЗЯТИЯ/СНЯТИЯ, периодическим
контролем канала, предназначенной для организации в выделенном радиочастотном
диапазоне охраны до 20 нетелефонизированных объектов и объектов временного
хранения материальных ценностей. В системе «Струна» для повышения
помехозащищенности используются помехозащищенные коды, имеется автоматический
переход на резервное питание от источника постоянного тока напряжением 12
вольт, возможность подключения внешних световых и звуковых оповещателей,
измерение уровня сигнала с каждого объекта, большая информативность системы
позволяет распознавать следующие извещения: «Проникновение 1», «Проникновение
2», «Пожар», «Взят», «Снят», «Вызов милиции», «Вызов электромонтера», «Авария»,
«Номер объекта». Для наглядности рассмотрим вариант использования системы
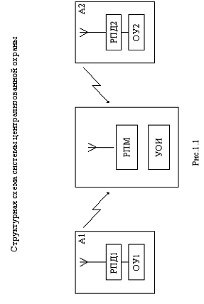
«Струна» при организации централизованной охраны, показанный на рис.1.1.
Из рис.1.1 видно, что на пульт централизованной
охраны (ПЦО) приходят сообщения с объектов и через радиоприемное устройство
(РПМ) обрабатываются в устройстве обработки и индикации (УОИ). На охраняемых
объектах установлены объектовые устройства (ОУ) и радиопередатчики (РПД). К ОУ
подключены все шлейфы с датчиками охраняемого объекта.
Несмотря на выше перечисленные достоинства при
передаче информации по радиоканалу, существуют и некоторые недостатки, такие
как отсутствие обратной связи с объектами. Клиент не имеет возможности
удостовериться в приеме объекта под охрану, и вынужден все равно дозваниваться
и убеждаться во взятии объекта под охрану. Существенными недостатками также
являются большие габариты и вес около пяти килограмм.
Также с увеличением количества объектов
вероятности совпадения на входе приемника двух кодов от различных объектов
увеличивается, такой ошибочный код пропускается и ожидается следующий цикл
передачи, следовательно, максимально возможное время прохождения сигнала
тревоги и при опросе двадцати объектов может составить до 2,5 минут, что
недопустимо по тактическим соображениям охраны объектов.
Рис
Одной из самых последних новинок «C&K
Systems» является беспроводная система охранной сигнализации «Spread Net»,
использующая разработанную NASA технологию передачи сигналов в распределенном
спектре (зачастую под уровнем эфирного шума), что увеличивает надежность
прохождения сигнала, защиту его от искажения, подавления и сканирования.
Данную систему можно без преувеличения отнести к
устройствам уникальным для гражданского применения. До настоящего времени
системы такого класса использовались только для военных целей, специальной и
космической связи. Прежде всего, достоинство системы заключается в шумоподобном
сигнале, состоящем из 126 элементов разных частот со спектром, распределенным в
широкой полосе частот. Со спектральной точки зрения такой сигнал выглядит как
шум. Таким образом, крайне сложно не только зафиксировать его параметр, но даже
обнаружить факт работы системы. Поэтому структура используемого сигнала
обеспечивает высокую помехоустойчивость системы. Для подавления сигнала
необходимо создать помеху в широкой полосе частот, что достаточно сложно
технически. Но даже при постановке такой помехи система зафиксирует тревогу.
Таким образом, для построения радиосистем
передачи извещений необходимо, как показывает опыт их развития, выполнение ряда
обязательных условий. Во-первых, необходимо наличие нескольких выделенных
частотных радиоканалов, обеспечивающих высокую помехозащищенность, возможность
контроля каналов связи и электромагнитную совместимость одновременно работающих
систем радиоохраны. Во-вторых, принцип передачи сигналов должен определяться из
конкретного назначения системы и сферы ее применения.
При внедрении охранно-пожарной системы всегда
уделяют большое внимание таким показателям, как количество абонентов, которых
можно к ней подключить, и дальность действия. К разрабатываемой системе может
подключиться до 100 абонентов с расстояния не более 1,5 км. Если бы система
была проводной, то можно представить какую нагрузку принимала бы АТС, к которой
было бы подключено большое количество таких систем. Радиус действия системы
является средним показателем систем такого рода и ее можно с успехом
использовать не только в средних по площади городах, но и в крупных, применяя
ретрансляторы.
В данной работе ведется разработка приемной
части, где входные сигналы представляют собой дискретный частотный сигнал,
который обладает высокой помехозащищенностью, так как передаваемый сигнал-код
состоит из 53 элементов, где каждый элемент передается на определенной частоте
и в определенной последовательности.
Для подавления такого сигнала надо создать
помеху в широкой полосе частот, что достаточно сложно технически, причем сама
посылка, будет иметь очень малую длительность, что также затрудняет
качественную постановку помехи.
В техническом задании задана общая длительность
посылки без учета защитных интервалов Тобщ=1,38 мс. Принимая длительность
защитного интервала tзи=2tи, определим
длительность посылки охранного сообщения с учетом защитных интервалов Тпс=4,134
мс. При выборе центральной частоты сигнала основной упор делается на то, что
диапазон частот примерно до 110 МГц очень сильно загружен, поэтому для
устранения влияния на нашу систему других передающих станций мы поднялись на
частоту f0 = 167 МГц, с
числом каналов М = 53 и полосой пропускания каждого канала fк
= 22,5 кГц с учетом защитных интервалов. Частотная и временная диаграммы
используемого сигнала приведены на рис.1.2 и рис.1.3 соответственно.
В качестве индикатора будут использоваться либо
светодиоды, либо цифровой индикатор. Дальнейшие параметры нашего устройства,
такие как напряжение питания и отношение сигнал/шум на входе приемника являются
наиболее распространенными для такого рода устройств охранно-пожарной
сигнализации.
2. Обзор методов и средств приема
тревожных сообщений
Из пункта 1 следует, что наша система должна
быть многоканальной, чтобы обеспечивать высокую помехозащищенность. Рассмотрим
некоторые виды многоканальных систем в качестве применения их в системах
охранной сигнализации, такие как системы частотного и временного уплотнения,
методы параллельного и последовательного частотного анализа.
В широко распространенных на практике
классических системах частотного уплотнения в качестве канальных используются
такие сигналы Sk(t), частотные спектры которых практически не перекрываются.
Следует подчеркнуть, что при частотном
уплотнении длительность канальных сигналов Tk
равна длительности сообщений, они передаются в неперекрывающихся частотных
полосах, но во времени могут иметь произвольное взаимное расположение.
Следовательно, системы с классическим частотным уплотнением относятся к разряду
асинхронных систем.
Частотное разделение каналов обычно
осуществляется на основе одновременного выделения всех каналов группой
полосовых разделительных фильтров, настроенных на частоты своего канала.
Примерный вид амплитудного спектра SS(w)
группового сигнала при частотном уплотнении и амплитудно-частотных
характеристик разделительных фильтров k(w)
на приеме показан на рис.2.1 соответственно сплошными и пунктирными линиями.
С помощью полосовых фильтров можно полностью
разделить сигналы, если их спектры не перекрываются. Для этого необходимо,
чтобы каждый сигнал индивидуального канала Sk(t) занимал ограниченную полосу
частот. Но эти сигналы имеют конечную длительность и вследствие этого, строго
говоря, обладают неограниченным спектром. Если спектр искусственно ограничить,
то возникают искажения сигнала, причем чем круче срез ограничивающего фильтра,
тем сильнее эти искажения.
Если же спектры не ограничить, то с учетом
неидеальности разделительных фильтров возникают большие переходные помехи. Как
искажение сигналов за счет ограничения их спектров, так и появление переходных
помех снижают качество (верность) связи. На практике для обеспечения нужного
качества при частотных методах уплотнения оставляют защитные частотные
промежутки между спектрами индивидуальных сигналов (занимающие до 20 % общей
полосы частот группового сигнала FS),
что, конечно, снижает эффективность системы частотного уплотнения. Классическая
структурная схема системы связи с частотным уплотнением показана на рис.2.2.
Сообщения b1(t), b2(t),...,bn(t),
дискретные или непрерывные, сначала модулируют поднесущие f1, f2,...,fn, образуя
индивидуальные сигналы S1(t), S2(t),…,Sn(t), а затем
сигнал
модулирует
общую несущую, образуя линейный сигнал Sл(t),
поступающий в канал. Принятый сигнал сначала детектируется (демодулируется) в
общем детекторе, а затем, при помощи полосовых разделительных фильтров ПФ1,
ПФ2,...,ПФn, выделяются
индивидуальные сигналы. Поднесущие f1, f2,...,fn выбираются
так, чтобы спектры индивидуальных сигналов не перекрывались и были разделены
необходимыми защитными интервалами.
Так как можно независимо выбирать
любой из возможных видов модуляции (манипуляции) поднесущих и общей несущей,
существует большое количество различных систем частотного уплотнения. При
уплотнении дискретными сообщениями поднесущие чаще всего модулируются по
частоте, а в качестве вторичной модуляции применяется однополосная, балансная,
амплитудная и частотная.
Рис
При временном уплотнении элементы
индивидуальных сигналов Sk(t) передаются по линии связи
поочередно (последовательно), но в общей полосе частот. Учитывая условие
ортогональности, можно видеть, что индивидуальные сигналы Sk(t) остаются
взаимно ортогональными при произвольных значениях параметров импульсов, при
которых обеспечено отсутствие перекрытия. Это означает, что в системах с
временным уплотнением (разделением) каналов возможен любой из известных видов
импульсной модуляции. Системы связи с временным уплотнением строятся как
синхронные. Структурная схема многоканальной системы связи с временным
уплотнением приведена на рис.2.3.
Здесь на передаче и приеме показаны
синхронно вращающиеся механические разделители, которые на практике заменяются,
электронной схемой. Посредством распределителя передачи сообщения от отдельных
источников bk(t) поочередно
модулируют (по тому или иному параметру) периодически поступающие от
импульсного генератора импульсы. Поскольку образующийся на выходе импульсного
модулятора групповой сигнал SS(t) является
низкочастотным, при дальней связи, как правило, применяется вторичная модуляция
гармонической несущей f0. На приеме, после детектирования
(выделения SS(t)), синхронный
распределитель распределяет индивидуальные сигналы по своим каналам.
Индивидуальные фильтры нижних частот (ФНЧ) на приеме устраняют спектральные
компоненты вне полосы частот сигналов bk(t.). Вследствие
ограниченности полосы пропускания реального канала на его выходе отдельные
импульсы сигнала расплываются, что создает предпосылки для возникновения
переходных помех между соседними каналами. Для снижения переходных помех обычно
полосу пропускания группового тракта расширяют до величины порядка Зn/Т или при
заданной полосе соответственно уменьшают число каналов n, или вводят
защитные временные интервалы между импульсами индивидуальных каналов.
Все это снижает эффективность систем
с временным уплотнением. Причиной переходных помех может быть также
многолучевое распространение радиоволн (например, в КВ связи), в результате
чего запаздывающий луч, несущий сигнал одного канала, может интерферировать с
первым лучом, соответствующим другому каналу. Для защиты от таких помех часто
вводят защитный интервал, равный максимальному времени запаздывания Dtmax между
лучами с соизмеримой интенсивностью.
Важные преимущества систем временного уплотнения
(метод последовательной передачи информации источников) перед частотными
системами (метод параллельной (во времени) передачи информации источников) -
относительная простота каналообразующей аппаратуры, понижение требований к
амплитудным характеристикам тракта и, что особенно важно для радиосвязи,
независимость пик-фактора сигнала от числа уплотняемых каналов. Для импульсных
систем с активной паузой пиковая мощность передатчика определяет и пиковую
мощность сигнала в индивидуальном канале. Это обстоятельство обуславливает
энергетический выигрыш систем временного уплотнения перед системами частотного
уплотнения с той же производительностью. Сущность параллельного частотного
анализа заключается в том, что все частотные составляющие в определенной полосе
частот, называемой полосой обзора, выявляются одновременно. Параллельный
частотный анализ осуществляется с помощью большого числа резонаторов со
смещенными резонансными частотами. Все резонаторы одновременно находятся под
воздействием радиоизлучения. Структурная схема панорамного устройства
параллельного анализа приведена на рис.2.4.
Из рис.2.4 видно, что преселектор устройства
имеет достаточно широкую полосу пропускания, равную полосе обзора, в которой
ведется частотный анализ. Эту часть схемы принято называть широкополосным
трактом (ШПТ). В ШПТ происходит усиление составляющих анализируемого спектра до
уровня, необходимого для нормальной работы последующих элементов анализатора. В
смесителе (См) спектр переносится в область более низких (обычно промежуточных)
частот. При этом частотные интервалы между составляющими спектра и соотношение
их амплитуд не нарушается.
Каждый фильтр будет откликаться на воздействие
частотной составляющей, находящейся в пределах его полосы пропускания. По числу
и расположению на шкале частот возбужденных фильтров можно судить о структуре
исследуемого спектра. Точность измерения частот спектральных составляющих будет
определяться шириной полосы пропускания каждого фильтра. Точное определение
частоты любой составляющей невозможно. Можно лишь утверждать, что она находится
в пределах полосы пропускания данного фильтра.
Таким образом, точность частотного анализа
определяется полосой пропускания каждого фильтра. Общее число фильтров должно
быть таким, чтобы их суммарная полоса пропускания равнялась полосе обзора. Следовательно,
повышение частотной точности в той же полосе обзора приводит к необходимости
увеличения общего числа фильтров
N=Ф0/DFСТ,
где Ф0 - полоса обзора;
DFСТ
- статическая полоса пропускания каждого фильтра.
Сущность последовательного частотного анализа
состоит в том, что частотные составляющие радиоизлучения в определённой полосе
обзора выявляются последовательно (поочередно). Панорамные устройства
последовательного анализа получили широкое распространение благодаря простоте
их осуществления. В устройствах этого типа в простейшем случае достаточно иметь
один узкополосный резонатор (одну резонансную систему).
На практике находят применение панорамные
устройства с перестройкой резонатора и с перемещением спектра по оси частот.
Структурная схема такого устройства приведена на рис.2.5. В процессе
перестройки резонатора его частота, плавно изменяясь, последовательно совпадает
с частотными составляющими исследуемого радиоизлучения. Для определения частоты
каждой составляющей спектра и частотного интервала между ними перестройка
резонатора должна быть согласована во времени с процессом отображения
результатов анализа на индикаторе.
Переходные процессы в резонаторах панорамных
устройств последовательного анализа, обусловленные перестройкой резонатора или
возбуждением его напряжением с плавно меняющейся частотой, накладывают
существенные ограничения на скорость проведения анализа. Поэтому устройства
этого типа применяют при исследовании процессов, характер которых изменяется
достаточно медленно по сравнению со временем проведения анализа. При
исследовании быстро меняющихся процессов или кратковременных радиоизлучений
последовательный анализ возможен лишь при их периодическом повторении, причем
периодичность повторения должна быть выше или, во всяком случае, соизмерима с
периодом просмотра полосы обзора.
Из сказанного выше можно сделать вывод, что наша
система будет или громоздкой, или недостаточно качественной. Наиболее
оптимальный выход из этого положения видится в использовании акустоэлектроники.
При реализации устройств обработки сигналов
особое место принадлежит акустоэлектронике, которая охватывает вопросы
возбуждения, распространения, приема высокочастотных акустических волн в объеме
и на поверхности твердых тел, а также взаимодействие этих волн с
электромагнитными полями. Основные материалы, используемые в современной
акустоэлектронике - пьезоэлектрические диэлектрики и пьезоэлектрические
проводники.
Среди различных типов акустических волн для
широкого использования в технике выделяются поверхностные акустические волны
(ПАВ) благодаря простоте возбуждения и приема, а также доступности на всем пути
распространения для отвода и обработки.
Устройства на ПАВ не только в состоянии
эффективно выполнять отдельные уникальные операции по обработке сигналов, но и
служить основой для многофункциональных подсистем: согласованной фильтрации,
обработки сигналов в реальном масштабе времени, фурье-процессоров и т.п. В этом
перечне особое место принадлежит полосовым фильтрам ПАВ, что обусловлено, в
первую очередь, широким разнообразием реализуемых частотных характеристик. Это
могут быть полосовые фильтры с высокой прямоугольностью АЧХ или, наоборот, со
сложной формой АЧХ (чебышевской, гауссовской, треугольной, трапециевидной и
др.) при заданной линейной или нелинейной ФЧХ, режекторные фильтры, частотные
дискриминаторы, преобразователи Гильберта, дифференциаторы и т.п. Кроме того, в
настоящее время уже достигнуты высокие параметры полосовых фильтров ПАВ,
близкие к предельным, и ряд разработок фильтров освоен в серийном и массовом
производстве.
Помимо своих уникальных электрических
характеристик, фильтры ПАВ выгодно отличаются от своих аналогов малыми
размерами, механической прочностью, высокой надежностью, обуславливаемой
качеством исходных материалов и процессом их обработки. Использование же
достижений фотолитографии и групповой полупроводниковой технологии при
изготовлении позволяют получить хорошую воспроизводимость параметров и
сравнительно низкую стоимость фильтров ПАВ.
Полоса пропускания фильтров ПАВ обратно
пропорциональна числу электродов в преобразователях и может быть реализована в
пределах от 0,1% до 100%. Полоса пропускания фильтров на ПАВ - резонаторах
может быть сужена до 0,01%.
Фильтры ПАВ могут обеспечить наименьший
коэффициент прямоугольности Кп = 1,1...1,15 по уровням (40/3) дБ, близкий к
теоретическому пределу Кп = 1,0. Кроме того, интегральные пьезофилътры на
основе локализации энергии, ПАВ имеют габаритные индексы избирательности потерь
на порядок меньше, чем у фильтров других типов.
Таким образом, из проведенного анализа можно
сделать вывод, что в метровом и части дециметрового диапазонов интегральные
пьезоэлектрические фильтры на ПАВ практически не имеют конкурентов по своим
габаритам и качественным характеристикам. Возможность изготовления
пьезоэлектрических фильтров по планарной технологии ИМС делает их весьма
перспективными для использования в микроэлектронной аппаратуре.
Поэтому, используя устройства на ПАВ мы сможем
добиться требуемого уровня помехозащищенности без усложнения устройства. Так
как помехозащищенность устройства охранно-пожарной сигнализации является важным
критерием в оценке устройств такого рода.
3.Выбор и обоснование структурной
схемы
Среди большого разнообразия схем используемых
для многоканальной обработки мы рассматривали, в разделе 2 только четыре, как
наиболее широко применяемых на практике. Каждая из схем обладает своими
недостатками, которые будут сильно влиять на помехоустойчивость нашей системы.
Например, при частотном уплотнении (рис.2.2), так как сигналы имеют конечную
длительность и вследствие этого обладают неограниченным спектром, то при его
искусственном ограничении возникает искажение сигнала, причем, чем круче срез
ограничивающего фильтра, тем сильнее эти искажения. Если же спектры не
ограничивать, то с учетом неидеальности разделительных фильтров возникают
большие переходные помехи. Как искажение сигналов за счет ограничения их спектров,
так и появление переходных помех, снижают качество, т.е. верность связи. Также
система, будет очень сложной, так как наличие в нашем случае 53-х каналов будет
подразумевать наличие 53-х полосовых фильтров, детекторов и фильтров нижних
частот. При временном уплотнении (рис.2.3) система хоть и имеет сравнительную
простоту каналообразующей аппаратуры перед частотным уплотнением, но вследствие
ограниченности полосы пропускания реального канала, на выходе канала отдельные
импульсы сигнала расплываются, что создает предпосылки для возникновения
переходных помех между соседними каналами. Также система с временным
уплотнением синхронная, что заставляет сопрягать по синхронизации приемник и
передатчик, что вызывает дополнительные трудности при реализации системы.
Панорамные устройства, как и любые другие
радиоприемные устройства, подвержены воздействию всех видов радиопомех. Причем
панорамные устройства, имеющие широкополосные входные цепи, имеют значительно
меньшую помехозащищенность. Наличие радиопомех, также как и комбинационных
частот, приводит к искажению истинной картины сигнала. Однако, принимая
специальные меры по улучшению основных характеристик панорамных
радиоприемников, можно с их помощью решать большое число очень важных задач
частотного анализа сигналов. Возможности панорамных устройств в значительной
степени определяются методом частотного анализа.
При параллельном частотном анализе (рис.2.4.),
как и при частотном уплотнении, резко возрастает количество узлов с увеличением
числа каналов, что делает устройство дорогим, а также возникают проблемы с
настройкой узкополосных фильтров (резонаторов). Последовательный частотный
анализ (рис.2.5.) с перестраиваемым резонатором иногда вызывает большие
трудности при схемной реализации. Применение простых резонаторов не
обеспечивает высокой избирательности и оптимальной формы резонансной кривой.
Сложные же резонансные системы трудно перестраивать в широких пределах,
сохраняя равномерную амплитудно-частотную характеристику во всей полосе
перестройки.
Все эти недостатки в той или иной степени можно
убрать, применяя качественно иной подход к построению приемника. Использовать в
качестве основных элементов приемника дисперсионные линии задержки. Структурная
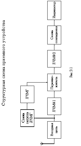
схема приемного устройства изображена на рис.3.1.
На схеме приняты следующие условные графические
обозначения: ЛЧМФ1, ЛЧМФ2 - линейные частотно - модулированные фильтры; ЛЧМГ -
линейный частотно - модулированный генератор.
Здесь применен алгоритм ЛЧМ-преобразований на
аналоговых фурье-процессах, в силу относительной простоты реализации,
технологичности, малых габаритных размеров, низкой потребляемой мощности,
быстродействия, большого числа точек преобразования и широких функциональных
возможностей.
Рис
Конкретно в структурной схеме на рис.3.1
используется алгоритм типа свертка-перемножение-свертка, который кратко может
быть записан в виде
(3.1)
где этот алгоритм приводит к свертке
сигнала S(t) в фильтре
1, отклик которого Uф1; перемножение Uф1 с
ограниченным во времени сигналом Uг1 с линейной частотной модуляцией;
свертке полученного после перемножения сигнала, в фильтре 2, отклик которого Uф2.
В выражении (3.1) знаками «+» и «-»
обозначены положительные и отрицательные наклоны характеристик группового
времени запаздывания устройств, используемых для формирования и свертки
ЛЧМ-сигналов, а знак «*» соответствует операции свертки. Таким образом, для преобразования
фурье-сигнала в ЛЧМФ1 выполняется дифференциальная задержка стробированного во
времени входного сигнала, затем перемножение выходного отклика ЛЧМФ1 с
ЛЧМ-сигналом с противоположной по знаку крутизной частотной модуляции и,
наконец, свертка в ЛЧМФ2.
Принцип обработки данного приемного
устройства будет заключаться в том, что частотные компоненты входного сигнала
будут задержаны на время, определяемое их собственной частотой и крутизной
дисперсионных характеристик ЛЧМФ1 и ЛЧМФ2. После перемножения, преобразованные
частотные компоненты входного сигнала будут терять различие в частотной
области, и приобретать его во временной области.
В схеме совпадений будет зашита
последовательность задержек ожидаемых сигналов, т.е. с какой частотой
приходящий сигнал будет задержан на определенный временной интервал,
относительно предыдущего сигнала, следующий сигнал уже с другой частотой будет
задержан на какое-то другое время относительно его, затем будет производиться
сравнение порядка и самих задержек с эталонной последовательностью. В случае
совпадения последовательности на индикаторе будет отображаться номер
сработавшего объекта, если совпадений нет, то входной сигнал будет
игнорироваться.
4. Разработка функциональной схемы
приемника
.1 Состав и работа функциональной
схемы
Реализация структуры радиоприемного устройства,
приведенного на рис.3.1, на функциональном уровне может быть описана с помощью
схемы, представленной на рис.4.1. На схеме приняты следующие условные
графические обозначения: Ус1, Ус2, Ус3, Ус4, Ус5, Ус6 - усилители; ПФ -
полосовой фильтр; ЛД1, ЛД2 -линейные детекторы; КП1, КП2 - компараторы; Д.Ц. -
дифференциальная цепь; OB1,
OB2 - одновибраторы;
УГ1, УГ2 - управляемые генераторы; ГКРИ - генератор коротких радиоимпульсов;
ДЛЗ - дисперсионная линия задержки; Огр - ограничитель; ЛЧМФ1, ЛЧМФ2 - линейные
частотные модулированные фильтры; П - перемножитель; Кл - ключ; Уст.Сч.Зд. -
устройство счета задержки; Уст.Ф.Адр. - устройство формирования адреса; ПЗУ -
постоянное запоминающее устройство; Сх.Ср. - схема сравнения; И - индикатор.
Временные диаграммы, поясняющие работу
функциональной схемы, представлены на рис.4.2. Эти диаграммы составлены не для
всех узлов функциональной схемы, а лишь для основных ее характерных точек.
Рассмотрим работу функциональной схемы. Как
отмечалось ранее, на вход приемника поступает дискретный частотный сигнал с
центральной частотой f0
= 167 МГц (рис.4.2,а). Пройдя необходимое усиление в Ус1, сигнал поступает на
ПФ, который вырезает полосу Df=1.2
МГц, для выделения нужного нам диапазона частот (рис.4.2,б). Чтобы в дальнейшем
запустить ЛЧМГ надо сформировать короткий импульс с частотой fс=12,8
кГц, которая будет равна частоте следования принимаемых сигналов, что делает
УГ1 (рис.4.2,ж).
Рис
Чтобы обеспечить высокую помехозащищенность
устройства надо создать внутреннюю синхронизацию, что делает цепь от ЛД1 до
УГ1. Рассмотрим работу этой цепи подробнее. ЛД1 выделяет огибающую принимаемого
сигнала (рис.4.2,в), т.к. после линейного детектора возникают большие затухания
сигнала, ставится Ус2. Для создания короткого импульса, необходимого для
запуска ОВ1, используется цепь с компаратором и дифференциальной цепью
(рис.4.2,г и рис.4.2,д). Чтобы обрезать отрицательные импульсы, последовательно
с Д.Ц. подключается диод. Принцип работы ОВ1 заключается в том, что
одновибратор формирует такую длительность импульса, чтобы в течение этого
импульса работал УГ1, выдавая 53 коротких импульса, необходимые для обработки
53-х кодовой принимаемой последовательности. Таким образом, длительность
импульса ОВ1 будет равна длительности посылки охранного сообщения Тобщ = 4,134
мс (рис.4.2,е). В свою очередь УГ1 запускает ГКРИ, который вырабатывает 53
коротких радиоимпульса (рис.4.2,з), необходимых для возбуждения ДЛЗ. Поскольку
ДЛЗ вносит достаточно большое затухание сигнала, то на ее входе и выходе ставят
Ус4 и Ус5, а затем ограничитель, чтобы амплитуда отклика была одинаковой в
пределах всей его длительности. Ключ используется для того, чтобы обрезать
нежелательное продолжение отклика ДЛЗ (рис.4.2,к), который бы вносил
погрешность обработки второй принимаемой частоты. Управление ключом
осуществляет ОВ2, который вырабатывает импульс равный длительности полезного
отклика ДЛЗ Тстр = 50 мкс (рис.4.2,и). Также для создания защитного интервала
между обрабатываемыми сигналами Тстр немного меньше, чем интервал между
сигналами.
ЛЧМФ1 выполняет дифференциальную задержку
стробированного по времени входного сигнала. При этом начальная задержка tнф
ЛЧМФ1 должна быть такой, чтобы ЛЧМГ успел выдать свой ЛЧМ сигнал (рис.4.2,к и
рис.4.2,л). 3атем происходит усиление сигнала в Ус3 и перемножение выходного
отклика ЛЧМФ1 с ЛЧМ сигналом с противоположной по знаку крутизной частотной
модуляции, после чего частотные компоненты входного сигнала теряют различия в
частотной области и приобретают его во временной области. При этом каждая
преобразованная частотная компонента ставится согласованной с ЛЧМФ2. В
результате свертки в ЛЧМФ2 получаем временной сигнал, комплексная огибающая
которого соответствует спектру Uлчмф2(bt)
входного сигнала (рис.4.2,м).
После детектирования в ЛД2 и необходимого
усиления в Ус6 получаем короткие импульсы (рис.4.2,н), при этом интервал между
ними разный. Затем эти импульсы запускают УГ2, сбрасывает счетчик устройства счета
задержки и служат информацией для устройства формирования адреса, обращаясь к
ПЗУ. По спадающему фронту этого импульса начинает работать УГ2, формируя
счетные импульсы (рис.4.2,п), для определения задержки в устройстве счета
задержки. В ПЗУ «зашита» последовательность задержек и затем в схеме сравнения
(Сх.Ср.) будет определяться правильность прихода принимаемого дискретного
частотного сигнала. При совпадении задержек на индикаторе будет отображаться
номер объекта, на котором сработала сигнализация.
.2Требования, предъявляемые к
функциональным узлам
Прежде всего, предъявляются высокие требования к
ДЛЗ. ЛЧМФ1 должен быть с центральной частотой f0ф1=167
МГц, полоса Wф1=1,2 МГц,
длительность импульсного отклика Тф1=20 мкс. При этом начальная задержка tнф1
должна быть такой, чтобы обрабатываемый сигнал не пришел раньше, чем ЛЧМ сигнал
с генератора. ЛЧМФ2 должен иметь f0ф2
= 250 МГц, Wф2 = 1,8 МГц, tнф2
=30мкс. ЛЧМГ с fог = 418
МГц, Wг = 3 МГц, Тг = 50
мкс, период повторения Тп = 78 мкс. При этих параметрах ЛЧМФ1, ЛЧМФ2 и ЛЧМГ
коэффициент.
который характеризует работу ЛЧМ
преобразования на основе алгоритма свертка-перемножение-свертка. При таком
коэффициенте g между
интервалами анализа имеются защитные участки, необходимые из-за отличия
амплитудно-частотной характеристики (АЧХ) ЛЧМФ1 от прямоугольной. Для
эффективного подавления дальних боковых лепестков, обеспечивается использование
ДЛЗ на отражательных решетках, в которых особенности геометрии решеток
обеспечивают на краях полосы плавный характер изменения АЧХ.
ГКРИ должен формировать радиоимпульс
длительностью от 20 нс до 200 нс, при этом амплитуда импульсов должна быть
достаточной для возбуждения ДЛЗ, примерно около 10 В. Это обеспечивает Ус4 с
усилением 20 дБ. Так как после ДЛЗ возникают большие затухания сигнала (до 60
дБ), то ставится Ус5 с усилением 40 дБ. Такие же функции выполняют усилители
Ус2 и Ус6 с усилением до 40 дБ.
5. Расчет электрической
принципиальной схемы каскада совпадения
.1 Расчет параметров и характеристик
входного сигнала каскада совпадения
Как ранее было отмечено, сигнал, прошедший
весовую обработку в ЛЧМФ2, поступает на каскад совпадений, где информация,
заключенная в задержке между сигналами, идентифицируется в номер срабатывающего
передатчика (объекта). Далее будет разрабатываться принципиальная схема каскада
совпадений для одного охраняемого объекта, так как эти блоки будут идентичны.
Исходя из требований, рассмотренных в пункте
4.2., на выходе ЛЧМФ2, при начатой работе устройства, появится отклик с
центральной частотой f0ф2
= 250 МГц и длительностью Тф = 30 мкс, в течении Тф появится полезный сигнал,
исходя из /1/, длительностью
С учетом затуханий в ЛЧМФ1, ЛЧМГ и
ЛЧМФ2 и порядков усиления Ус1 до Ус5 (п. 4.2) на выходе ЛЧМ.Ф2 появится сигнал
порядка -18 дБм /1/. Где дБм показывает ослабление сигнала по отношению к
условному «0 дБ», соответствующий абсолютному значению U0 = 775 мВ,
при этом
(5.1)
Преобразовывая выражение (5.1) и
делая соответствующие подстановки, определим амплитуду сигнала Um на выходе
ЛЧМФ2, Um»100 мВ.
Анализируя рассчитанные параметры
входного сигнала делаем вывод, что для дальнейшей обработки его в ТТЛ логике,
требуется обрабатываемый сигнал продетектировать и усилить до уровня логической
1.
5.2 Расчет линейного детектора и
усилительного каскада
В качестве линейного детектора
используем классическую схему импульсного детектора, а усилительный каскад
построим на операционном усилителе (рис.5.1). Так как входной сигнал имеет
достаточно малый уровень Um < 0,2 В то коэффициент
передачи детектора Кд « 1. Линейная зависимость Кд от амплитуды сигнала
приводит к квадратичной детекторной характеристике
, (5.2)
где m -
коэффициент модуляции, примем равным m = 0,8 /2/.
Кд приемом равным, исходя из /З/, Кд
= 0,1.
Таким образом, по формуле (5.2)
вычислим
При выборе параметров С1 и R1 надо
исходить из условия
,
где Тн - период несущего колебания,
равный
tи -
продолжительность импульса, равная 0,5 мкс.
Исходя из этих данных выберем R1 = 10 кОм и
С1 = 6,8 пФ.
Выбор постоянной времени
разделительной цепи производят по соображениям защиты от длительно действующей
помехи /З/
где Rвх оу -
входное сопротивление ОУ. Конкретно для микросхемы К140УД7 Rвх оу = 400
кОм.
Отсюда
Выберем из существующих
конденсаторов С2 = 6,8 пФ.
Основным критерием выбора диода
является максимальная частота до которой сохраняется нормальное
функционирование элемента. Из справочника /5/ выберем в качестве VD1 КД521Б.
Так как стандартный выходной уровень
логической 1 микросхем ТТЛ составляет 2,4 ... 2,7 В, то необходимо усилить
обрабатываемые импульсы примерно в 350 раз. Применяя классическую схему
усилителя на ОУ (рис.5.1.), рассчитываем R2 и R3 ,
исходя из формулы
.
Таким образом, исходя из нужного
усиления, выберем R2 = 300 Ом и R3 = 100 кОм.
В качестве ОУ выберем операционный усилитель среднего класса точности с
внутренней частотной коррекцией К140УД7 с резистором R4 = 10 кОм,
корректирующем установку нуля.
.3 Выбор схемы управляемого
генератора
С помощью элементов ТТЛ (буферных,
И, ИЛИ) можно проектировать генераторы, у которых выходная частота колебаний
превышает 30 МГц. На рис.5.2. показана схема управляемого генератора, причем
элементы DD2 и DD1.2 введены
в линейный усилительный режим с помощью резистора отрицательной обратной связи R1 = R2 = 220 Ом.
Элемент DD1.3
применяется здесь как буферный, чтобы уменьшить влияние нагрузки на частоту
генератора /4/. Частоту тактовых импульсов управляемого генератора будем
выбирать из условия того, что их длительность должна быть минимум в 2 раза
меньше длительности импульса, поступающего на вход тактового генератора, tи = 0,5 мкс.
Таким образом, частота тактового
генератора
Так как из существующих кварцевых
резонаторов нет такого номинала частоты, то выберем кварцевый резонатор РК336NА-6АП-8000к,
имеющего частоту 8 МГц. Осуществление деления тактовой частоты с 8 МГц на 4 МГц
производит микросхема DD3 счетчик К555ИЕ7. При такой
схеме подключения (рис.5.2) он производит деление частоты на 2. Свою работу
управляемый генератор начинает с приходом логической 1 на элемент DD2, таким
образом, начинает работу по спаду положительного импульса, приходящего на
элемент DD1.1. тЭлементом «И» будет являться микросхема К555ЛАЗ. В качестве
элемента «НЕ» выберем микросхему К555ЛН1, которая содержит до 6 инверторов в
одном корпусе.
5.4 Расчет схемы устройства
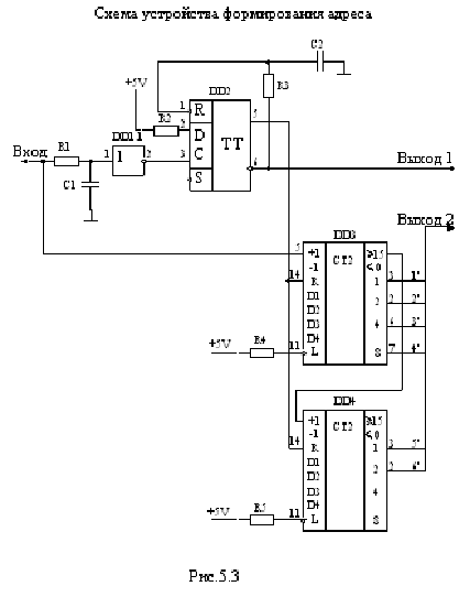
формирования адреса
Принципиальная схема устройства
формирования адреса изображена на рис.5.3. Принцип работы схемы заключается в
том, что блок счетчиков DD3 и DD4, собранный
на двух микросхемах К555ИЕ7, осуществляет формирование адреса для ПЗУ при
подсчете приходящих импульсов на тактовый вход счетчиков с входа
рассматриваемой схемы. То есть каждому приходящему импульсу соответствует адрес
ПЗУ. Чтобы осуществлять периодический сброс счетчиков по истечении всей
посылки, состоящей из 53 импульсов, используется цепь, включающая элементы R1, C1, R3, C2 и триггер D - типа. Где
при логической 1 на входе D по спаду импульса отрицательной
полярности на входе С триггер устанавливается в единичное состояние и
происходит сброс счетчиков. Чтобы сброс происходил по истечении всей
длительности посылки, используется цепь R1C1, постоянная времени которой
выбирается из соображения поддержки логической 1 на входе DD1.1 в
течение длительности посылки, но так как импульсы приходят с периодом 78 мкс,
рассчитаем элементы R1 и C1 исходя из этого
t1цепи > 78 мкс >
R1C1.
Таким образом, выберем R1 = 1 кОм и C1 = 0,1 мкФ.
Так как после окончания посылки на выходе триггера установится логическая 1 -
сброс счетчиков, то для того чтобы перевести счетчики в режим счета
используется цепь R3C2, причем
постоянная времени должна быть больше длительности посылки Тпс = 4,134 мс, то
есть
t2цепи
> 4,134 мс > R3C2
Таким образом, выберем R3 = 100 кОм,
и C2 = 0,1 мкФ.
Так как число импульсов в посылке
53, то для их счета используется 2 счетчика микросхем К555ИЕ7, преобразующие
номер прихода импульса в 6 - битный двоичный код. В качестве элемента DD1.1
используется инвертор К555ЛН1, а в качестве триггера DD2 микросхема
К555ТМ2.
5.5 Выбор схемы счета задержки
Принципиальная схема счета задержки
изображена на рис.5.4. Работа данной схемы заключается в следующем: на вход 1
поступают тактовые импульсы УГ с частотой 4 МГц. На вход 2 поступают импульсы
сброса счетчиков и на вход 3 - тактовые импульсы регистра. Счет задержки
осуществляют микросхемы К555ИЕ7, а с приходом обрабатываемых импульсов на вход R счетчиков
происходит сброс и начинается счет новой задержки между импульсами. Так как на
выходе 1 элемента DD2 происходит деление тактовой
частоты на 2, то может возникнуть ошибка на краях обрабатываемого импульса,
поэтому этот выход не используется в первом счетчике DD2. При приходе импульса
на тактовый вход регистра DD4, логические состояния,
которые были на входе, переходят на выход регистра и затем на схему сравнения.
В качестве регистра DD4 используется микросхема К555ИР23.
.6 Выбор ПЗУ и схемы сравнения
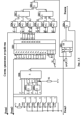
Принципиальная схема устройства
сравнения приведена на рис.5.5. Выбор ПЗУ осуществляется из условия
информационной емкости, то есть какое максимальное количество информации туда
можно поместить, также важным критерием является количество адресов, которые
будем использовать у ПЗУ. Как говорилось выше, схема формирования адреса
задействует шесть адресов ПЗУ (Вх2), но это только для одной 53 кодовой
последовательности. Нам надо учесть тот факт, что каждый передатчик имеет свою
уникальную кодовую последовательность, несущую информацию о номере сработавшего
передатчика. Таким образом, в ПЗУ приемника должна быть «зашита» своя
уникальная последовательность задержек, отличная от других ПЗУ приемника или
приемников. Эту задачу (формирование уникальных последовательностей задержек)
выполняют семь переключателей: SW1, SW2, SW3, SW4, SW5, SW6, SW7. То есть
потребуется некоторое количество адресов. Исходя из этого, в качестве ПЗУ
выберем микросхему К573РФ6А. Чтобы она находилась все время в режиме
считывания, вход 22 микросхемы «посажен» на землю. Информативная емкость
К573РФ6А составляет 64 кБит, что полностью удовлетворяет нашим требованиям, то
есть 53 кодов по шесть бит с учетом того, что таких последовательностей
задержек хранится 100.
Далее при приходе данных с ПЗУ на
схему сравнения (элементы DD4.1, DD4.2, DD4.3, DD4.4, DD5.1, DD5.2, DD7.1 и DD7.2) и
задержки, состоящей из 6 бит (Вх1) выносится решение о совпадении кодов. Если
произошло несовпадение кодов, то на выходе DD6.1
образуется логический 0, который переводит триггер DD3 в
состояние логической 1 на выходе. Окончательное решение о приходе сигнала
производит элемент DD6.2. Где на вход 5 подается
логический 0 с элемента DD1, когда приходит 53 импульс, что соответствует в
двоичном коде 110101. Если произошло несовпадение кодов, как говорилось выше,
то на входе 4 DD6.2 логическая 1, тогда и на выходе останется логическая 1.
Таким образом, если сравнение прошло верно, и на входе 4 DD6.2
логический 0, то с приходом кода 111111, который формируется на входе DD1 с
помощью DD8.1 и DD8.2, на
входе 5 DD6.2 логический 0. Тогда и на выходе DD6.2 тоже логический 0 и
выносится решение о сработавшем передатчике на охраняемом объекте. Чтобы
обратно перевести триггер DD3 в состояние логического 0 на его выходе, при
несовпадении кодов, на вход R его подается логический 0 (Вх.3) по
истечении всей посылки принимаемого сигнала, то есть происходит сброс входа S триггера
DD3 и на его выходе логический 0.
На выходе DD6.2 всегда
поддерживается логическая 1 элементом DD1. При совпадении кодов и с приходом 53
импульса на схему формирования адреса, происходит принятие решения о
сработавшем передатчике. В качестве элементов «ИЛИ» DD4.1, DD4.2, DD4.3, DD4.4, DD5.1 и DD5.2
используем микросхемы К561ЛП2, в качестве DD7 -
КР531ЛЕ7, DD6 - К555ЛЛ1, DD1 - К555ЛА2, DD8.1 и DD8.2 -
К555ЛН1, триггером DD3 является К555ТМ2.
Рис
6. Выбор антенны и расчет входных
параметров энергетических характеристик радиоприемного устройства
.1 Выбор антенны радиоприемного
устройства
Учитывая, что в качестве передающей антенны
используется штыревая антенна, скорректируем условия технического задания,
отказавшись от круговой поляризации. Поэтому в качестве приемной антенны
выберем антенну типа "Волновой канал".
Антенны такого типа получили широкое
распространение в различных профессиональных устройствах радиосвязи и
радиолокации. Большинство антенн промышленного изготовления также являются
антеннами типа "Волновой канал". Это связано с тем, что такие антенны
достаточно компактны и обеспечивают получение большого коэффициента усиления
при сравнительно небольших габаритах.
Антенна "Волновой канал" состоит из
набора элементов: активного - вибратора и пассивных - рефлектора и нескольких
директоров, установленных на одной общей стреле.
Принцип действия антенны в следующем. Вибратор
определенной длины, находящийся в электромагнитном поле сигнала, резонирует на
частоте сигнала, и в нем наводится ЭДС. В каждом из пассивных элементов также
наводится ЭДС, и они переизлучают вторичные электромагнитные поля. Эти
вторичные поля, в свою очередь, наводят дополнительные ЭДС в вибраторе. Размеры
пассивных элементов и их расстояния от вибратора должны быть выбраны такими,
чтобы дополнительные ЭДС, наведенные в вибраторе вторичными полями, были в фазе
с основной ЭДС, наведенной в нем первичным полем. Тогда все ЭДС будут складываться
арифметически, обеспечив увеличение эффективности антенны по сравнению с
одиночным вибратором. Для этого рефлектор делается немного длиннее вибратора, а
директоры - короче.
Симметричное расположение элементов антенны
относительно направления на передатчик создает условия для сложения наведенных
ЭДС в вибраторе только для сигнала, приходящего с главного направления.
Сигналы, приходящие под углом к главному направлению, создают в вибраторе ЭДС,
сдвинутые по фазе относительно основного, и поэтому складываются алгебраически
так, как складываются векторы. Их векторная сумма получается меньше
арифметической. Сигнал же, приходящий с заднего направления, создает в
вибраторе наведенные ЭДС, противофазные основной, и они вычитаются. Таким
образом, обеспечивается направленное свойство антенны, формируется узкая
диаграмма ее направленности, что соответствует увеличению коэффициента
усиления.
Элементы антенн "Волновой канал"
расположены в пространстве горизонтально, и такие антенны используют ''для
приема сигналов с горизонтальной поляризацией, когда вектор напряженности
электрического поля Е также горизонтален. Для приема сигналов с вертикальной
поляризацией антенна должна быть повернута на 90° так, чтобы ее элементы стали
вертикальными.
В связи с тем, что элементы антенны расположены
в разных точках пространства, фазы наведенных в них первичным полем ЭДС будут
зависеть от координат каждого элемента и их размеров, так как от длины элемента
зависит его резонансная частота, а фаза наведенной ЭДС зависит от настройки
элемента. Для хорошего согласования антенны с фидером ее входное сопротивление
должно иметь чисто активный характер. Отсюда становится ясно, насколько сложно
проектирование антенн типа "Волновой канал", особенно при большом
количестве элементов антенны. В настоящее время разработано множество вариантов
таких антенн с разным числом директоров различных размеров и с различным
расстоянием между ними.
Антенну следует настраивать изменением длины
каждого элемента и расстояний между ними при контроле формы диаграммы
направленности, значения и характера входного сопротивления антенны. Настройка
требует специальных полигонных условий, исключающих влияние местных предметов,
и специальных приборов: генератора дециметрового диапазона волн достаточно
большой мощности, индикатора напряженности поля, измерителя полных
сопротивлений антенн. Не всегда в процессе настройки удается одновременно
добиться того, чтобы входное сопротивление антенны было чисто активным и имело
нужное значение. Приходится мириться с полученным значением входного
сопротивления антенны при его чисто активном характере. Но при этом кроме
настройки антенны приходится также дополнительно осуществлять настройку ее
согласования с фидером. Многоэлементные антенны "Волновой канал",
используемые в профессиональной аппаратуре, подлежат обязательной
индивидуальной настройке на заводе, а в состав аппаратуры входит устройство,
позволяющее корректировать согласование антенны с фидером в процессе
эксплуатации.
Практика показывает, что антенна "Волновой
канал" не нуждается в настройке и обеспечивает получение паспортных
характеристик, если она содержит не более трех элементов: вибратор, рефлектор и
только один директор. Коэффициент усиления такой антенны составляет 6 дБ, что
вполне достаточно для ее использования в зоне ближнего приема. Угол раствора
главного лепестка диаграммы направленности по половинной мощности составляет
120°. В связи с переотражением сигнала и, как следствие, возможной перемене
поляризации, необходима дополнительная настройка антенны.
.2 Расчет входных параметров
энергетических характеристик радиоприемного устройства
Как известно, при создании системы стремятся
получить наилучшие характеристики и параметры для определенных условий ее
работы. Одним из важных параметров радиоприемного устройства является
чувствительность приемника или мощность порогового сигнала Рс мин. Она должна
быть достаточной для извлечения информации с заданной достоверностью при
наличии помех, включая и собственный шум приемника, приведенный к его входу.
Данный параметр можно вычислить исходя из мощности излучаемых передающей
антенной колебаний Ри , ее коэффициента усиления Gи
, коэффициента усиления приемной антенны Gп
и длины радиоволны lи.
Таким образом, плотность потока мощности,
создаваемая излучаемым сигналом, в месте расположения приемной антенны на
расстоянии D от передающей
антенны, согласно /6/, можно записать в следующем виде:
.
Мощность сигнала в приемной антенне
, (6.1)
где Ап = l2иGп/(4p) - эффективная площадь
антенны.
Как видно из формулы (6.1), при
увеличении дальности D мощность принимаемого сигнала падает и достигает
порогового уровня Рс = Рс мин, ограничивающего максимальное значение дальности
радиолинии. Так как в разрабатываемой системе в качестве передающей антенны
используются ненаправленная штыревая антенна, то ее коэффициент усиления примем
равным 1. Коэффициент усиления приемной антенны, как уже отмечалось выше составляет
6 дБ (2 раза). Длину волны lи
рассчитаем для центральной частоты диапазона f0=167 МГц
Для разрабатываемой системы мощность
излучаемых передающей антенной колебаний Ри = 20 мВт, дальность действия
системы Dmax = 1,5 км и Dmin = 150 м.
Таким образом, чувствительность
приемника
Но реальная чувствительность
приемника
,
где к - постоянная Больцмана;
Т0 - шумовая температура приемника;
Nш -
коэффициент шума (для данного типа приемника с сжатием импульсов эта величина
составляет 11 дБ;
Df - полоса принимаемого сигнала;
qвх -
отношение сигнал - шум на входе приемника, исходя из технического задания
отношение сигнал - шум на входе приемного устройства составляет не менее 10 по
мощности.
Сопоставим заданное отношение сигнал
- шум с пороговым отношением сигнал - шум, необходимым для достижения
вероятности ложной тревоги F = 10-6. Согласно /11/ пороговое
отношение сигнал - шум при данной вероятности ложной тревоги и вероятности
правильного обнаружения D = 0,9 составляет 6,45 по мощности,
что полностью удовлетворяет требованию технического задания.
Таким образом, реальная чувствительность
приемника
Рассчитаем динамический диапазон
приемника исходя из формулы
.
Примем Рвх мах = Рс2 , объясняя это
тем, что это максимальная входная мощность приемника, с которой он будет
работать, то есть определяет наибольший порог чувствительности.
Отсюда, динамический диапазон
приемника
Учитывая то, что данная система может
использоваться в городских условиях, где затухание в среде до приемника
достигает до -41 дБ (112 раз), рассчитаем чувствительность, учитывая эти
затухания
Таким образом, сравнивая вычисленный параметр с
реальной чувствительностью, делаем вывод, что и при работе в сильно застроенном
городском районе приемное устройство сохраняет свою работоспособность.
7. Составление матрицы кодов и
протокола обмена
7.1
Составление матрицы кодов
Наибольшее распространение на практике получили
дискретные частотные (ДЧ) сигналы, обладающие только одним частотным элементом
во временной полосе. Подобные сигналы называются сигналами первого порядка.
Структура ДЧ сигнала определяется местоположением элементов сигнала на частотно
- временной плоскости, а взаимное расположение элементов - их задержкой во
времени относительно начала координат. Аналогично можно описать расположение
элементов, используя их задержки относительно друг друга, то есть интегралов
между ними. При использовании М частот в сигнале, количество возможных
различных интегралов, как положительных, так и отрицательных, между парой
элементов составляет 2(М-1). Это дает возможность образовать 2(М-1) пару
частотных строк, которые дают не более одного совпадения при попарном сложении
этих строк и любом временном сдвиге. Для оптимальных ДЧ сигналов возможны два
варианта (при четном и нечетном числе М). Тогда объем оптимальной системы ДЧ
сигналов будет иметь вид:
(7.1)
Исходя из выше сказанного, можно
выработать алгоритм построения оптимальных и квазиоптимальных систем ДЧ
сигналов. В табл. 7.1 приведены правила образования последовательностей {aj(n)}; ограничения, налагаемые на
определенные коэффициенты; объем системы и оценка ВКФ.
Таблица 7.1 Алгоритмы построения
оптимальных и квазиоптимальных систем ДЧ сигналов
|
Правила
образования последовательностей
|
Коэффициенты
|
Объем
системы
|
Максимум
ВКФ
|
|
aj(n) º
c0aj+n(mod
M+1)
|
M
|
1/M
|
|
|
aj(n) º
jn+c0(mod
M)
|
M-11/M
|
|
|
|
aj(n) º
jn2+c1n+c0(mod M)
|
(M-1)M2/M
|
|
|
|
aj(n) º
jnr+c0(mod
M)
|
M-11/M
|
|
|

Mr-1
(M-1)Mr-2
M(r+1)/2-1
В первой строке табл.7.1 число а - первообразный
корень по модулю простого числа М+1. Все остальные правила основаны на
степенных сравнениях по модулю простого числа М. В четвертой строке числа r
и М-1 взаимно-простые, то есть (r,
М-1) = 1.
Первая строка табл.7.1 дает алгоритм построения
оптимальной системы с максимальным объемом Lmax,
равным числу элементов в сигнале М, а вторая и четвертая строки дают алгоритмы,
при которых L = M-1.
Остальные строки табл.7.1 дают алгоритмы
построения систем, близких к оптимальным, но большего объема. Так, ДЧ сигналы,
построенные по алгоритмам, представленным в третьей и шестой строках табл.7.1,
имеют пробелы во времени. Это происходит из-за появления частотных элементов,
совпадающих по времени.
Из рассмотренных выше алгоритмов, создающих
оптимальные системы ДЧ сигналов, наиболее простым является алгоритм первой
строки. Проектируемая система имеет число элементов М = 53 и соответственно М+1
= 54, что является простым числом. Поэтому, используя этот алгоритм, можно
построить кодовую последовательность, при этом получится оптимальная система,
удовлетворяющая требованиям технического задания.
Используя данный алгоритм для построения кодовых
последовательностей с различными значениями М и а, была написана программа,
распечатка которой и самой последовательности при М = 53 и а = 5 представлены в
приложении 2.
.2 Разработка протокола обмена
информацией между ПЦН и объектовыми приборами
Исходя из условия технического задания
необходимо предусмотреть разработку мер по контролю канала передачи охранных
сообщений, что является необходимым для полноценного функционирования
радиоохранной системы. Данное условие предусматривает необходимость установки
на ПЦН еще и передатчика, который через определенные промежутки времени будет
запрашивать приемник, расположенный на объекте, и в случае отсутствия ответа на
несколько запросов будет выдавать сигнал тревоги. Учитывая, что целью данной
работы является разработка приемной части системы, то ограничимся лишь
разработкой протокола обмена информацией между ПЦН и объектовыми приборами.
Опираясь на американский стандарт примем, что
система будет выдавать сигнал тревоги при отсутствии подтверждения на 2
запроса. Интервал между запросами примем равным времени прибытия группы
реагирования, то есть 7 минут.
Используя матрицу кодов, запишем протокол обмена
информацией между ПЦН и объектовыми приборами в следующем виде:
-я строка - синхронизация;
-я строка - номер объекта;
-я строка - начало передачи;
-я строка - индивидуальный код;
-я строка - окончание передачи.
8. Моделирование характера
распространения радиоволн в частотном диапазоне при передаче тревожного
сообщения
В системах сухопутной радиосвязи распространение
радиоволн, подобное распространению в свободном пространстве, существует только
на очень коротких трассах без препятствий. Можно считать, что для большинства
трасс условия распространения соответствуют условиям распространения в пределах
прямой видимости над ровной поверхностью с небольшими поправками на ее
характер.
Мощность, поступающая в приемную антенну,
расположенную на некотором расстоянии от передающей, находится по формуле:
(8.1)
где Pи = 20 мВт -
мощность передаваемого сигнала;
Gи = 1 -
коэффициент усиления передающей антенны;
Gп = 2 -
коэффициент усиления приемной антенны;
lи
= 1,8 м - длина волны;
h
- коэффициент потерь в среде распространения;- расстояние между антеннами;
L -
коэффициент запаса на неучитываемые факторы (обычно
L = 3…10).
Для точного расчета энергетического
потенциала радиолиний необходимо учитывать виды поверхностей, так как
коэффициент потерь в среде распространения меняется в зависимости от объектов,
находящихся на пути распространения радиоволн. В частности для данной
разработки представляют интерес следующие виды поверхностей:
. открытые районы - участки с
небольшим числом препятствий, таких как деревья или строения;
. пригородные зоны - участки с
одноэтажными домами, небольшими деревьями и строениями;
. городские районы - участки, плотно
застроенные высотными зданиями.
Очевидно, что при распространении
радиоволн в открытых районах, сигнал будет получать наименьшие затухания.
При распространении сигнала в
пригородной зоне коэффициент потерь в среде возрастет, что непосредственно
отразится на мощности принимаемого сигнала.
При распространении сигнала в
условиях города обнаруживается эффект «многолучевости», заключающийся в том,
что сигналы в точку расположения приемной антенны приходят разными путями, по
прямому и после отражения от препятствий.
Однако, помимо недостатков, явление
«многолучевости» оказывает и положительное действие. В условиях города,
застроенного высотными зданиями, сигнал ослабляется в «мертвой зоне» - зоне,
закрытой препятствиями, где сигнал может ослабляться до 30 дБ. Если же вблизи
этой зоны расположены препятствия, отражающие радиосигналы, то есть выполняющие
роль естественных пассивных ретрансляторов, то площадь «мертвой зоны»
уменьшается.
Точную оценку затуханий радиоволн,
проходящих через такие препятствия, как группа деревьев, получить трудно,
потому что на распространение радиоволн влияет высота деревьев, их форма, и
даже плотность листьев.
Наряду с препятствиями, возникающими
на пути распространения радиоволн, большое влияние на качество принимаемого
сигнала оказывают земные источники естественных помех, которые включают в себя
естественные излучения, такие как атмосферные шумы и статическое электричество.
Используя формулу (8.1), построим
зависимость мощности, поступающей в приемную антенну, от коэффициента потерь в
среде, принимая коэффициент запаса на неучитываемые факторы L = 5 и
расстояние между антеннами D = 1,5 км. Данная зависимость
представлена на рис.8.1.
Из рис.8.1 видно, что при отсутствии
потерь в среде (h = 1)
мощность на входе приемника составит порядка 7,2×10-11 Вт, а если коэффициент потерь
равен 0,1, то мощность составит порядка 8×10-12 Вт.
Исследуем также влияние коэффициента
запаса на характер распространения радиоволн. При этом выберем среднее значение
коэффициента потерь h = 0,7 и
расстояние между антеннами D = 1,5 км. Зависимость мощности в
приемной антенне от коэффициента запаса на неучитываемые факторы представлена
на рис.8.2.
Из рис.8.2 видно, что в зависимости
от разных коэффициентов запаса мощность на входе приемника меняется от 2,6×10-11 Вт до
8,5×10-11 Вт.
Построим также зависимость
принимаемой мощности от расстояния между антеннами, принимая h = 0,7 и L = 5. данная
зависимость приведена на рис.8.3.
Из рис.8.3 видно, что при удалении
передающей антенны на 1,5 км от приемной, мощность, поступающая на вход
приемной антенны составляет порядка 6×10-11 Вт, что значительно превышает реальную
чувствительность приемника и дает возможность использования системы на более
большие расстояния.
9. Технико - экономическое
обоснование проекта
.1 Обоснование целесообразности
разработки системы
Главным фактором потребительского
выбора является полезность приобретаемого товара, то есть в данном случае
полезность нашей системы охранной сигнализации с приемом данных по радиоканалу.
Как уже отмечалось выше, спрос на подобные системы высок, так как в сложившейся
обстановке, когда уровень преступности очень высокий, предприниматели,
директора банков, предприятий, да и простые граждане хотят защитить свои
материальные ценности и ценности, которые сданы под их ответственность, от
посягательств на них преступников. В частности, рассматривается
целесообразность разработки системы с передачей охранных сообщений по
радиоканалу. Целесообразность разработки данной системы очевидна, так как
проводная охранная система такого рода использует телефонные линии АТС за
которые надо платить, а в разрабатываемой системе за канал связи никакой платы
не взимается.
Если обращаться к вопросу о
финансовых возможностях потребителя, то можно сказать следующее. Подобные
системы закупают вневедомственная охрана и частные фирмы, занимающиеся
централизованной охраной объектов. Цена на системы охранной сигнализации с
передачей данных по радиоканалу колеблется от 10 тысяч рублей до 50 тысяч
рублей, например отпускная цена, рассмотренной в разделе 1 системы «Струна 2»,
с завода изготовителя составляет порядка 20.000 рублей. В сложившейся
экономической обстановке в стране закупка товаров фирмами и организациями по
таким ценам не вызывает больших затруднений.
При осуществлении своего выбора потребитель
исходит не только из того, нужен или нет ему наш продукт, но и из целого ряда
влияющих факторов. К ним относится, в первую очередь, цена нашей системы охраны
по сравнению с существующими аналогами, а также сравнительные данные
технических и эксплуатационных характеристик, к которым относятся надежность,
ремонтопригодность, унификация с другими системами. Очевидно, что для
возникновения спроса на нашу продукцию необходим ее выигрыш, как по цене, так и
по техническим параметрам по сравнению с имеющимися аналогами.
В качестве базы для сравнения возьмем
радиосистему передачи извещений «Струна 2», так как это единственная в страна
система такого рода. Так как в данном проекте разрабатывается приемная часть
системы, то в дальнейшем будем сравнивать приемник радиосистемы «Струна 2» с
разрабатываемым приемником, учитывая, что стоимость приемника «Струна 2»
составляет порядка 5000 рублей.
9.2 Затраты на техническую
подготовку производства
Затраты на техническую подготовку производства
включают в себя зарплату разработчиков (основную, дополнительную, отчисления на
социальные нужды), затраты на материалы и комплектующие для создания образца,
накладные расходы. Зарплату разработчиков удобно определять исходя из табл.
9.1. При этом часовая ставка исполнителя определяется из выражения
.
В настоящее время заработная плата инженера
11-го разряда составляет 405 рублей, а технического руководителя 16-го разряда
- 735 рублей.
При проведении расчётов необходимо учитывать,
что дополнительная заработная плата составляет 20 % от основной заработной
платы работников, а отчисления на социальные нужды - 38,5 % от суммы основной и
дополнительной заработной платы.
Тогда дополнительная заработная плата будет
равна 300 рублей.
Отчисления на социальные нужды будут равны 693
рубля.
Таким образом, общая сумма, которая уйдет на
зарплату разработчиков будет равна 2493 рубля.
Рассчитаем теперь затраты на материал для
образца, исходя из табл.9.2.
Таким образом, на материалы и комплектующие
будет затрачено всего 775 рублей. Причем на транспортные расходы еще уйдет от
3% до 5% от этой суммы, что составит 35 рублей.
Отсюда получим общую сумму, которая будет
затрачена на материал для образца, она составит 810 рублей.
Накладные расходы будут составлять 200 % от
основной заработной платы, то есть 3000 рублей.
Общие же затраты на техническую подготовку
производства составят 6303 рубля.
Таблица 9.1
|
Этапы
работы
|
Исполнители
|
Объем
работы, час
|
Часовая
ставка, руб
|
Сумма,
руб
|
|
1.Подготовка
исходных данных для разработки
|
Технический
руководитель, инженер
|
4
4
|
4,34
2,39
|
17,36
9,56
|
|
2.Изучение
литературы
|
инженер
|
250
|
2,39
|
597,5
|
|
3.Разработка
структурной и принципиальной схем
|
Инженер,
инженер
|
40
40
|
2,39
2,39
|
95,6
95,6
|
|
4.Разработка
конструкции
|
Инженер
|
52
|
2,39
|
124,28
|
|
5.Изготовление
рабочих чертежей
|
Инженер
|
52
|
2,39
|
124,28
|
|
6.Изготовление
испытательного образца
|
Инженер
|
16
|
2,39
|
38,24
|
|
7.Снятие
характеристик
|
Инженер
|
8
|
2,39
|
19,12
|
|
8.Построение
графиков проверка расчетов,
|
Инженер
|
150
|
2,39
|
358,5
|
|
9.Составление
отчета
|
Инженер
|
8
|
2,39
|
19,12
|
|
ИТОГО
|
|
624
|
|
1500
|
Таблица 9.2
|
Наименование
материала
|
Единицы
измерения
|
Расход
на изделие
|
Цена,
руб
|
Затраты,
руб
|
|
1.Стеклотекстолит
СТЭФ
|
кг
|
0,12
|
300
|
36
|
|
2.Провод
МГГФ
|
3
|
5
|
15
|
|
3.Сталь
листовая
|
кг
|
0,5
|
25
|
12,5
|
|
4.Канифоль
|
кг
|
0,1
|
50
|
5
|
|
5.Припой
ПОС-61
|
кг
|
0,1
|
120
|
12
|
|
6.Лак
|
кг
|
0,1
|
100
|
10
|
|
7.Краска
|
кг
|
0,2
|
200
|
40
|
|
8.Раствор
хлорного железа
|
литр
|
0.1
|
25
|
2,5
|
|
ИТОГО
|
|
|
|
133
|
|
Комплектующие
узлы устройства
|
|
Входная
цепь
|
шт
|
1
|
11
|
11
|
|
Схема
запуска
|
шт
|
1
|
18
|
18
|
|
Генератор
ЛЧМ
|
шт
|
1
|
32
|
32
|
|
Фильтры
ЛЧМ
|
шт
|
2
|
25
|
50
|
|
Перемножитель
|
шт
|
1
|
50
|
50
|
|
Индикатор
|
шт
|
1
|
100
|
100
|
|
Аккумулятор
|
шт
|
1
|
250
|
250
|
|
Антенна
|
шт
|
1
|
50
|
50
|
|
Комплектующие
изделия разрабатываемого блока
|
|
1.Конденсаторы
КМ-5А
|
шт
|
3
|
8
|
24
|
|
2.Резисторы
С2-0,25
|
шт
|
7
|
1
|
7
|
|
3.Операционный
усилитель
|
шт
|
1
|
8
|
8
|
|
4.Счетчики
К555ИЕ7
|
шт
|
4
|
3
|
12
|
|
5.Регистр
К555ИР23
|
шт
|
1
|
5
|
5
|
|
6.Триггер
К155ТМ2
|
шт
|
1
|
3
|
3
|
|
7.Схема
«ИЛИ» К555ЛН1 К555ЛЛ1
|
шт
шт
|
1
4
|
2
3
|
2
12
|
|
8.ПЗУ
К573 РФ-2
|
шт
|
1
|
8
|
8
|
|
ИТОГО
|
|
|
|
642
|
9.3 Расчет себестоимости и цены
изделия
Себестоимость - это сумма затрат, связанных с
производством и реализацией продукции. Рассчитывается по статьям калькуляций.
. Затраты на материалы и комплектующие для
образца (табл. 9.2).
. Основная заработная плата производственных
рабочих. Определяется умножением прогнозируемой трудоемкости на часовую ставку
выполненных работ. Расчет приведен в табл. 9.3.
Таблица 9.3
|
Вид
работ
|
Трудоемкость,
час
|
Часовая
ставка, руб
|
Основная
заработная плата, руб
|
|
монтажные
|
4
|
1,3
|
5,2
|
|
сборочные
|
2
|
1,3
|
2,6
|
|
регулировочные
|
2
|
2,39
|
4,78
|
|
испытания
|
1
|
2,39
|
2,39
|
|
ВСЕГО
|
9
|
-
|
14,97
|
. Дополнительная заработная плата рабочих
составляет 20% от основной заработной платы
Пд = 0,2·Посн = 0,2·14,97 = 3 руб.
. Отчисления на социальные нужды составляет
38,5% от суммы основной и дополнительной заработных плат
Псоц = 0,385· (Посн + Пд) = 0,385·(14,97 + 3) =
6,92 руб.
. Расходы на эксплуатацию и обслуживание
производства составляют порядка 180 % от основной заработной платы
Рэо = 1,8·Посн = 1,8·14,97 = 26,95 руб.
. Цеховые расходы составляют 100% от основной
заработной платы рабочих
Рц = Посн = 14,97 руб.
. Общезаводские расходы составляет 80% от
основной заработной платы рабочих
Рз = 0,8·Посн = 0,8·14,97 = 11,98 руб.
Таким образом, производственная себестоимость,
определенная как сумма всех семи статей калькуляции, будет равна
Спр = 888,79 руб.
Полная себестоимость определяется как сумма
производственной себестоимости и внепроизводственных расходов, составляющих 5%
от производственной себестоимости. Таким образом, получим
С = 888,79 + 0,05×888,79
= 933,23 руб.
Теперь, определяя цену на изделие, рассчитаем
планируемую прибыль, которая составляет 20% от полной себестоимости
П = 0,2·933,23 = 186,65 руб.
Отпускная цена без налога на добавочную стоимость
(НДС) состоит из полной себестоимости и планируемой прибыли
Цпредпр = С + П = 933,23 + 186,65 = 1119,88 руб.
Налог на добавленную стоимость составляет 20% от
цены предприятия
НДС = 0,2·1119,88 = 223,98 руб.
Полная отпускная цена предприятия
Ц = Цпредпр + НДС = 1119,88 + 223,98 = 1343,86
руб.
9.4 Расчет эксплутационных издержек
у потребителя
Данный расчет производится в сравнении с
аналогом, которым является система передачи тревожных сообщений «Струна 2».
. Амортизационные отчисления. Учитываются как
15% от первоначальной стоимости (ПС)
ПС = Ц + ТЗР + М,
где ТЗР - транспортные заготовительные расходы
(3..5% от Ц);
М - затраты на монтажные работы (30% от Ц).
Для разрабатываемого устройства
ПС = 1343,86 + 53,75 + 403,16 = 1800,77 руб.
Для аналога разрабатываемого устройства
ПС = 5000 + 200 + 1500 = 6700 руб.
Таким образом, амортизация (А) разрабатываемого
устройства
А = 0,15·1800,77 = 270,16 руб.
Амортизация системы передачи тревожных сообщений
«Струна 2»
А = 0,15·6700 = 1005 руб.
. Расходы на электроэнергию
Зэл = Т·Р·Тср,
где Т - тариф за 1 кВт/час ( Т = 0,4 рублей );
Р - потребляемая мощность;
Nг - среднее число
часов работы системы в течение года.
Исходя из того, что охрана помещения обычно
ведется в нерабочее время, а именно порядка 15 часов в сутки, и с учетом
выходных дней получим Nг
»
6500 часов.
Для разрабатываемой системы Р = 0,001 кВт, а для
аналога разрабатываемой системы Р = 0,003 кВт. При этом
Зэл.разр.уст. = 0,4·0,001·6500 = 2,6 руб.
Зэл.аналога = 0,4·0,003·6500 = 7,8 руб.
. Заработная плата обслуживающего персонала
Пперс = Посн + Пд + Псоц,
где Посн - основная заработная плата;
Пд - дополнительная плата (20% от основной
заработной платы);
Псоц - отчисления на социальные нужды (38,5% от
суммы основной и дополнительной зарплаты обслуживающего персонала).
Основную заработную плату определим, как
Посн = Nг·Т,
где Nг
- число часов работы в год ( 6500 часов );
Т - тарифная ставка в час ( 1,12 рублей ).
Тогда
Посн = 6500·1,12 = 7280 руб,
Пд = 0,2·7280 = 1456 руб,
Псоц = (7280 + 1456)×0,385
= 3363,3 руб,
Пперс = 7280 + 1456 + 3363,3 = 12099,3 руб.
. Затраты на текущий ремонт (3% от цены
устройства)
Зт.р.разр.устр. = 0,03·1343,86 = 40,32 руб.
Зт.р.аналога. = 0,03·5000 = 150 руб.
Таким образом, общие эксплутационные затраты за
год составят
И' = А + Зэл + 3т.р. + Пперс
Для разрабатываемого устройства
И'2 = 270,16 + 2,6 + 40,32 + 12099,3 = 12412,3
руб.
Для аналога разрабатываемого устройства
И'1 = 1005 + 7,8 + 150 + 12099,3 = 13262,1 руб.
9.5 Расчет капитальных вложений при
производстве изделия и определение годового экономического эффекта
Здесь учитываются затраты на техническую
подготовку производства и плюс дополнительные капитальные вложения (КВ) на
покупку оборудования.
Производство данного изделия не требует затрат
на переоборудование предприятия поэтому дополнительные KB
не будем учитывать.
Таким образом затраты на техническую подготовку
производства будут составлять 6303 рубля.
Произведем расчет годового экономического
эффекта от внедрения проектируемой радиоохранной системы. Как было обосновано
ранее, базой для сравнения возьмем радиоохранную систему «Струна 2». Годовой
экономический эффект определим по формуле:
(9.1)
где З1, З2 - приведенные затраты
соответственно базовой и проектируемой системы, руб;
В1, В2 - интегральные коэффициента
качества базовой и проектируемой радиоохранной системы, в натуральных единицах;
(Р1+Ен)/(Р2+Ен) - коэффициент
"долговечности", учитывающий изменение срока службы проектируемой
системы по сравнению с базовой;
Р1 и Р2 - доли отчислений на
восстановление базовой и разрабатываемой системы;
К'1, К'2 - сопутствующие
капиталовложения потребителя при использовании базовой и проектируемой системы,
руб;
И'1, И'2 - годовые эксплуатационные
издержки потребителя при ис-
пользовании им базовой и
проектируемой системы, руб;
А2 - годовой объем производства
проектируемой системы в расчетном году в натуральных единицах.
Рассчитаем приведенные затраты
соответственно базовой и проектируемой системы по формуле:
З = С + Ен·К
где С - себестоимость системы;
Ен - коэффициент экономической
эффективности капитальных вложений, зависит от ставки рефинансирования
Центробанка (начиная с 6 февраля 2000 года 38 %, Eн = 1,38);
К - капиталовложения;
Вследствие отсутствия информации о
себестоимости системы «Струна 2», являющейся базой для сравнения, предположим
одинаковую рентабельность производства обеих систем
Ц1 = С1 + П1 + НДС1;
Ц2 = С2 + П2 + НДС2,
где Ц1, Ц2 - цена соответственно
системы являющейся базой для сравнения и проектируемой системы;
Цены радиоохранной системы «Струна
2» и проектируемой системы известны, и составляют соответственно
Ц1 = 5000 руб,
Ц2 = 1343,86 руб.
Рассчитаем приведенные затраты для
радиоохранной системы «Струна 2».
Ц1 = С1 + П1 + НДС1
П1 = 0,15·С1
НДС = 0,2·( С1 + П1 )
Ц1 = С1 + 0,15·С1 + 0,2·( С1 +
0,15·С1 ) = 1,38·С1
Принимая, что капитальные вложения в базовое и
разрабатываемое устройство равны и составляют 6303 рубля, а также учитывая, что
ставка рефинансирования приходящаяся на 624 часа работы равна Ен = 0,29,
получим приведенные затраты для радиоохранной системы «Струна 2»:
З1 = С1 + Ен·К1 = Ц1/1,38 + Ен·К1 = 5000/1,38 +
0,29·6303 = 5451,06 руб.
Рассчитаем приведенные затраты для проектируемой
системы.
З2 = С2 + Ен·К2
где С2 = 933,23 руб - полная себестоимость;
Ен = 0,29 - ставка рефинансирования Центробанка,
приходящаяся на
часа работы;
К2 = 6303 руб - капитальные вложения в
разработку.
З2 = 933,23 + 0,29·6303 = 2761,1 руб.
Интегральные коэффициента качества В1 и В2
базовой и проектируемой радиоохранной системы, в натуральных единицах
определены в табл. 9.4.
Таблица 9.4 Интегральные коэффициенты качества
|
Функции Радиоприемного устройства
|
Значение
параметра
|
Вес
показателя
|
Предварительная
оценка «Струны 2»
|
Предварительная
оценка проектируемой системы
|
В1
|
В2
|
S В1
|
S В2
|
|
«Струна
2»
|
Проектируемая
система
|
|
|
|
|
|
|
|
|
1.
Радиус действия, км
|
3
|
1,5
|
4
|
1
|
0,5
|
4
|
2
|
6,39
|
6,4
|
|
2.
Количество каналов
|
1
|
53
|
3
|
0,02
|
1
|
0,06
|
3
|
|
|
|
3.
Скорость переда- чи информации, кБод
|
2
|
0,4
|
2
|
1
|
0,2
|
2
|
0,4
|
|
|
|
4.
Ток потребления, мА
|
250
|
83
|
1
|
0,33
|
1
|
0,33
|
1
|
|
|
Доли отчислений Р1 и Р2 рассчитываются как
величины обратно пропорциональные срокам службы радиоохранной системы «Струна
2» и проектируемой системы.
Так как предполагается, что сроки службы систем
такого типа одинаковы и составляют в среднем 5 лет (с учетом морального
старения), тогда получим:
Р1 = Р2 = 0,1638
Сопутствующие капиталовложения потребителя равны
нулю.
К'1 = К'2 = 0
Подставляя рассчитанные значения в формулу
годового экономического эффекта (9.1), и предполагая годовой объем продукции
равным 100 единицам, получим:
Эг = 334895 руб.
10.
Безопасность и экологичность проекта
.1 Системный анализ безопасности
устройства на этапе разработки
В настоящее время анализ безопасности и анализ
надежности перекрываются и используются как равнозначные. Поэтому в данном
разделе уделим большее внимание надежности разрабатываемой системы. Так как
разрабатываемое устройство относится к классу охранных систем, то к ней должны
предъявляться высокие требования по надежности. Система должна обеспечивать
малый уровень ложных срабатываний и высокий уровень вероятности правильного
обнаружения сигнала, приходящего с охраняемого объекта. Таким образом, на этапе
разработки мы должны учесть возможные причины, приводящие к аварийной ситуации.
Рассмотрение причин конкретной аварии проводится
с привлечением системного анализа - совокупности методологических средств,
используемых для подготовки и обоснования решений по проблемам безопасности.
Цель системного анализа безопасности состоит в
том, чтобы выявить причины, влияющие на появление нежелательных событий, таких
как аварии, травмы, пожары и разработать мероприятия, уменьшающие вероятность
их проявления. Любая опасность реализуется, принося ущерб по какой-то причине
или нескольким причинам. Без причин нет реальных опасностей. Следовательно,
предотвращение опасностей или защита от них базируется на знании причин. Между
реализованными опасностями и причинами существует причинно-следственная связь;
опасность есть следствие некоторой причины, которая, в свою очередь, является
следствием другой причины и т.д. Таким образом, причины и опасности образуют
иерархические, цепные структуры, которые напоминают ветвящиеся деревья.
Построение «деревьев» является эффективной процедурой выявления причин
различных нежелательных событий (аварий, травм, пожаров и т.п.).
Для разрабатываемого устройства основной
аварийной ситуацией является невозможность идентификации сигнала, принимаемого
с охраняемого объекта.
Рассмотрим причины этой аварийной ситуации.
Прежде всего, возникает вопрос, исправны ли приемник и передатчик системы.
Рассуждая дальше, так как система является охранной, возникает вероятность
того, что преступник попытается повлиять на работоспособность системы,
например, создать помеху, которая бы глушила сигнал, излучаемый передатчиком.
Также возникает вероятность того, что аварийная ситуация произойдет по
халатности оператора.
Так как в данном дипломном проекте
разрабатывается приемное устройство, то в дальнейшем рассмотрим причины,
которые привели к неисправности приемника. Например, нет электропитания в сети,
это в свою очередь может произойти из-за ремонта линии электросвязи, который
привел к временному обесточиванию охраняемого объекта. Также есть вероятность,
что преступник выключил электропитание на объекте.
Другой причиной неисправности приемника может
быть выход из строя элементов приемника. Это может случиться из-за перегрева
этих элементов и из-за нестабильности напряжения в сети. В свою очередь
перегрев элементов может произойти из-за непродуманности конструкции и плохой
вентиляции устройства. Преступник тоже может каким-то образом вывести из строя
приемник, повредив физически корпус или антенну устройства. На основе выше
изложенных рассуждений составим «дерево отказов» на этапе эксплуатации системы,
которое покажет основные причины аварийной ситуации - необнаружение сигнала с
охраняемого объекта.
10.2 Разработка мероприятий по
повышению надежности и безопасности устройства
Ввиду специфики применения разрабатываемого
устройства все перечисленные выше события предотвратить невозможно, так как
нельзя выпускать из виду факт диверсии. Однако, анализируя «дерево отказов»,
можно произвести ряд мер по повышению надежности устройства. Из рис.10.1 видно,
что одной из основных причин неисправности приемника является отсутствие
электропитания в сети, в связи с ее ремонтом или вывода из строя преступником.
В любом из этих случаях система автоматически перейдет на аварийное питание -
аккумулятор, который обязательно входит в набор охранной сигнализации. Вариант
того, что преступник попытается заглушить радиосигнал - практически
неосуществим, так как система использует специальный радиосигнал с высоким
уровнем помехозащищенности. Предусматривая выход из строя элементов приемника,
можно усилить блок питания, серьезно отнестись к разработке конструкции
устройства и выбору элементной базы, а также предусмотреть благоприятный
температурный режим работы устройства.
К примеру, предусматривая опасность выхода из
строя элементов приемника из-за их перегрева, надо предусмотреть охлаждение в
условиях естественной конвекции и применением радиаторов, также использовать
принудительную вентиляцию на пульте централизованной охраны, если
разрабатываемая система используется в жарких климатических условиях.
10.3 Защита окружающей среды на всех
этапах жизненного цикла приемного устройства
На этапах разработки и эксплуатации системы
опасности для экологической системы не возникает, поэтому рассмотрим более
подробно защиту окружающей среды на этапах изготовления и утилизации приемного
устройства.
На этапе изготовления основной вред окружающей
среде приносят токсичные газы (оксид углерода, фтористый водород) и аэрозоли
(свинец и его соединения), которые выделяются на участках пайки и лужения
печатных плат. Вредные химические вещества попадают в вентиляционный воздух,
тем самым загрязняя атмосферу. Для предохранения атмосферы от выбросов в нее
химических веществ следует применять сухие пылеулавливатели, электрические
фильтры. Фильтры типа Д и Д-КЛ, производящие ультразвуковую очистку
вентиляционных выбросов от высокотоксичной пыли. Среди основных типов
материалов, используемых в фильтрах для тонкой очистки газовых выбросов от
примесей, рекомендуется использовать стеклоткань ТССНФ, имеющую хорошую
термостойкость и химическую стойкость к различным средам.
Также на этапе изготовления существует опасность
загрязнения гидросферы отходами производства. При изготовлении печатных плат
используют различные химические составы (хлорное железо и т. п.), часть из
которых может попасть в сточные воды. Исходя из выше сказанного следует, что
необходимо разработать ряд мер по отчистке этих вод. В соответствии с видами
процессов, происходящих при очистке, все существующие методы принято делить на
механические, физико-химические и биологические. При механической очистке
сточных вод от взвешенных веществ используют процеживание, отстаивание,
фильтрование и т.п. В настоящее время существенно увеличилась роль физико-химических
методов (флотация, экстракция, нейтрализация, ионообменная и электрохимическая
отчистка) в связи с использованием оборотных систем водоснабжения.
Биологическая отчистка сточных вод применяется для выделения из них
тонкодисперсионных и растворенных органических веществ и основана на
способности микроорганизмов использовать для питания органические вещества,
содержащиеся в сточных водах. Из рассмотренных выше способов отчистке
гидросферы остановимся на электрохимической отчистке, как наиболее оптимальной
при изготовлении нашей системы.
Наряду с вышеперечисленными видами загрязнений
существует опасность загрязнения литосферы, так как данное производство не
безотходное. При нарезке, пайке, травлении печатных плат, изготовлении и
покраске корпуса остаются отходы, содержащие вредные компоненты, которые
необходимо собирать и отправлять на полигон для переработки.
На этапе утилизации корпус приемного устройства
можно использовать вторично, для размещения в нем другого устройства. Печатные
платы могут быть разобраны на отдельные элементы и использованы для
изготовления другой аппаратуры. Ненужные и неисправные элементы приемного
устройства складываются в спецконтейнер для централизованной утилизации.
Таким образом видно, что при выполнении
требований по защите окружающей среды от загрязнений, никакого вреда экосистеме
нанесено не будет.
11.
Разработка конструкции радиоприемного устройства
Целью данного дипломного проекта является
разработка приемной части радиоохранной системы, корпус которой должен удовлетворять
следующим требованиям:
1) конструкция
корпуса должна обеспечивать заданный тепловой режим всех элементов аппаратуры;
2) конструкция
корпуса должна обеспечивать минимальные паразитные связи между отдельными
частями изделия;
3) корпус
должен иметь жесткую и прочную конструкцию и обеспечивать защиту всех
расположенных в нём элементов от механических повреждений;
4) корпус
должен позволять легко и быстро подключать прибор к другим блокам без пайки;
5) в
конструкции корпуса должны быть предусмотрены специальные места для укладки
жгутов, соединяющих отдельные части устройства;
6) конструкция
корпуса должна обеспечивать легкий доступ к расположенным в нем блокам для
замены, ремонта, осмотра;
7) конструкция
корпуса должна обеспечивать безопасность человека при обслуживании изделия;
8) корпус
должен удовлетворять требованиям технической эстетики.
Конструкция радиоприемного устройства, а также
ее габаритные размеры показаны на рис.11.1.
Радиоприемное устройство выполнено в виде
законченного конструктивного блока. На передней панели расположены светодиоды,
отображающие подачу питания на устройство и переход на аварийное питание. Также
индикация номера сработавшего передатчика на охраняемом объекте, в качестве
индикатора применяется индикатор на жидких кристаллах. Кроме того, на передней
панели расположен переключатель кодов, закрытый крышкой. На задней стенке блока
выведен разъем под антенну. Вентиляция приемника осуществляется через прорези,
сделанные в верхней части корпуса. На задней стенке блока также расположены 5
клемм, на которые поступает питание «+12 В» и «+5 В» от устройства обработки
пульта централизованной охраны, в свою очередь, разъем имеет клемму «Корпус» и
2 клеммы «Выход». Радиоприемное устройство имеет на нижней стенке блока
амортизаторы. Надписи на передней панели выполнить эмалью ЭМ ПФ-115 белого
цвета. Конструкцию корпуса выполнить из листовой стали и покрыть черной эмалью
ЭМ ХС-110'7 ГМ.
Список используемых источников
.
Кочемасов В.Н. и др. Акустоэлектронные фурье-процессоры / В.Н. Кочемасов, Е.В.
Долбня, Н.В. Соболь;
под
ред. В.Н. Кочемасова. - М. : Радио и связь, 1987. -168с. Ил.
.
Екимов В.Д., Павлов К.М.
Проектирование
радиоприемных устройств. Издание второе. - М. : Радио и связь, 1970г. -398 с.
.
Справочник по учебному проектированию приемно-усилительных устройств; / Белкин
М.К., Белинский В. Г., Мазор Ю.А.; под ред. Д-ра техн. Наук М.К. Белкина .
-Киев: Высшая школа. Главное изд-во, 1982г. - 447с.
.
Шило В.Л. Популярные цифровые микросхемы: Справочник. - М. : Радио и связь,
1987г. - 352с.
.
.Бирюков С.А. Применение интегральных микросхем серий ТТЛ. - М. : «Патриот»,
«Радио», 1992г. - 120с.
.
Мартынов В. А., Селиков Ю.И. Панорамные приемники и анализаторы спектра. / под
ред. Г.Д. Заварина. - второе издание, переработанное и дополненное. - М. :
Советское радио, 1980г. - 352с., ил.
.
Кловский Д.Д. Теория передачи сигналов. Учебник для ВУЗов. - М. : Связь, 1973г.
- 268 с.
.
Помехозащищенность радиосистем со сложными сигналами / Г.И.Тузов / В.А.Сивов и
др.; под редакцией Г.И Тузова.- М.: Радио и связь, 1985.- 254с.
.
Орлов B.C.,
Бондаренко B.C.
Фильтры на поверхностных акустических волнах.- М. : Радио и связь, 1984г.-
272с.
.
Лезин Ю.С. Введение в теорию и технику радиотехнических систем.- М. : Радио и
связь, 1986г.- 280с.