Сотовая система связи
Федеральное
агентство по образованию
РГРТУ
Кафедра
РТУ
Пояснительная
записка к курсовому проекту по дисциплине:
«Сети
и системы радиосвязи и средства их информационной защиты»
на
тему:
«Сотовая
система связи»
Выполнил:
ст. гр.715
Енин
И.В.
Проверил:
Паршин
Ю.Н.
Рязань
2011г.
Содержание
Введение
. Основные
характеристики стандарта GSM
. Структура сотовой сети
связи
. Расчет основных
параметров сотовой сети связи
расчет числа
радиоканалов
определение размерности
кластера
расчет числа радиоканалов,
используемых одной БС
расчет допустимой
телефонной нагрузки
расчет числа абонентов
обслуживаемых одной БС
расчет количества
базовых станций
расчет радиуса зоны
обслуживания базовой станции
расчет величины
защитного расстояния
расчет мощности передатчика
БС
расчет эффективности
использования радиоспектра
. Разработка
частотно-территориального плана сети
Заключение
Список использованной
литературы
сотовая
связь расчет сеть
Введение
Сотовая радиотелефония является
сегодня одной из наиболее интенсивно развивающихся телекоммуникационных систем.
Важной особенностью системы сотовой радиосвязи является весьма эффективное
использование выделяемого для работы системы радиочастотного спектра -
многократное использование одних и тех же частот в несмежных сотах, применение
различных методов доступа. Уже только это позволило увеличить число
обслуживаемых абонентов и повысить качество связи. В работе системы применяется
принцип деления некоторой территории на зоны, или "соты", радиусом
обычно 0,5-10 километров. Сеть составляют разнесённые в пространстве
приёмопередатчики, работающие в одном и том же частотном диапазоне, и
коммутирующее оборудование, позволяющее определять текущее местоположение
подвижных абонентов и обеспечивать непрерывность связи при перемещении абонента
из зоны действия одного приёмопередатчика в зону действия другого.
В 1973 году была представлена первая
структурная схема мобильной телефонной сети. Мобильная станция (МС),
расположенная в автомобиле или грузовике, соединяется по радиоканалу с ближайшей
базовой станцией (БС). Базовая станция, в свою очередь, по фиксированному
(кабельному или радиорелейному) каналу соединяется с мобильной телефонной
станцией (МТС), названной мобильной не потому, что она движется, а потому, что
работает с мобильными станциями. От МТС сигнал идет в обычную телефонную сеть.
Отдельные МТС соединяются между собой по выделенным или коммутируемым каналам.
Коммутатор МТС и базовые станции определяются как мобильная телефонная
"система", т.е. оборудование, на котором строится собственно сеть. С
одной стороны, эта система стыкуется с мобильными телефонами, с другой- с
традиционными телефонными сетями.
Основные составляющие сотовой сети в
настоящее время - это сотовые телефоны и базовые станции. Базовые станции
обычно располагают на крышах зданий и вышках. Будучи включённым, сотовый
телефон прослушивает эфир, находя сигнал базовой станции. После этого телефон
посылает станции свой уникальный идентификационный код. Телефон и станция
поддерживают постоянный радиоконтакт, периодически обмениваясь пакетами. Связь
телефона со станцией может идти по аналоговому протоколу (AMPS, NAMPS, NMT-450)
или по цифровому (DAMPS, CDMA, GSM, UMTS). Если телефон выходит из поля
действия базовой станции, он налаживает связь с другой (англ. handover).Сотовые
сети могут состоять из базовых станций разного стандарта, что позволяет
оптимизировать работу сети и улучшить её покрытие. Сотовые сети разных
операторов соединены друг с другом, а также со стационарной телефонной сетью.
Это позволяет абонентам одного оператора делать звонки абонентам другого
оператора, с мобильных телефонов на стационарные и со стационарных на
мобильные.
В 1982 году CEPT (Conference of
European Posts and Telegraphs) в целях изучения и разработки общеевропейской
системы сотовой подвижной связи общего пользования создала рабочую группу,
получившую название GSM (Groupe Special Mobile). В 1989 году дело создания GSM
перешло к ETSI (European Telecommunication Standards Institute), а в 1990 году
были опубликованы спецификации первой фазы GSM. К середине 1991 года стали
поддерживаться коммерческие услуги GSM, а к 1993 году функционировало уже 36
сетей GSM в 22 странах, и еще 25 стран выбрали направление GSM или поставили
вопрос о его принятии. Несмотря на то, что система GSM была стандартизована в
Европе, на самом деле она не является исключительно европейским стандартом.
Сети GSM внедрены, либо планируются к внедрению почти в 75 странах Европы,
Ближнего и Дальнего Востока, Африки, Южной Америки и в Австралии. В начале 1994
года число абонентов GSM во всем мире достигло 1,3 миллиона человек. К началу
1995 года их насчитывалось уже более 5 миллионов. Аббревиатура GSM приобрела новое
значение - Global System for Mobile communications.
1.
Основные характеристики стандарта GSM
В соответствии с рекомендацией СЕРТ
1980 г., касающейся использования спектра частот подвижной связи в диапазоне
частот 862-960 МГц, стандарт GSM на цифровую общеевропейскую (глобальную)
сотовую систему наземной подвижной связи предусматривает работу передатчиков в
двух диапазонах частот:
· 890-915 МГц (для
передатчиков подвижных станций - MS),
· 935-960 МГц (для
передатчиков базовых станций - BTS).
В стандарте GSM используется
узкополосный многостанционный доступ с временным разделением каналов (NB ТDМА).
В структуре ТDМА кадра содержится 8 временных позиций на каждой из 124
несущих.Для защиты от ошибок в радиоканалах при передаче информационных
сообщений применяется блочное и сверточное кодирование с перемежением.
Повышение эффективности кодирования и перемежения при малой скорости
перемещения подвижных станций достигается медленным переключением рабочих
частот (SFH) в процессе сеанса связи со скоростью 217 скачков в секунду.
Для борьбы с интерференционными
замираниями принимаемых сигналов, вызванными многолучевым распространением
радиоволн в условиях города, в аппаратуре связи используются эквалайзеры,
обеспечивающие выравнивание импульсных сигналов со среднеквадратическим
отклонением времени задержки до 16 мкс.
Система синхронизации рассчитана на
компенсацию абсолютного времени задержки сигналов до 233 мкс, что соответствует
максимальной дальности связи или максимальному радиусу ячейки (соты) 35 км.
В стандарте GSM выбрана гауссовская
частотная манипуляция с минимальным частотным сдвигом (GMSK). Обработка речи
осуществляется в рамках принятой системы прерывистой передачи речи (DTX),
которая обеспечивает включение передатчика только при наличии речевого сигнала
и отключение передатчика в паузах и в конце разговора. В качестве
речепреобразующего устройства выбран речевой кодек с регулярным импульсным
возбуждением/долговременным предсказанием и линейным предикативным кодированием
с предсказанием (RPE/LTR-LTP-кодек). Общая скорость преобразования речевого
сигнала - 13 кбит/с.
В стандарте GSM достигается высокая
степень безопасности передачи сообщений; осуществляется шифрование сообщений по
алгоритму шифрования с открытым ключом (RSA).
В целом система связи, действующая в
стандарте GSM, рассчитана на ее использование в различных сферах. Она
предоставляет пользователям широкий диапазон услуг и возможность применять
разнообразное оборудование для передачи речевых сообщений и данных, вызывных и
аварийных сигналов; подключаться к телефонным сетям общего пользования (PSTN),
сетям передачи данных (PDN) и цифровым сетям с интеграцией служб (ISDN).
Основные характеристики стандарта GSM
|
Частоты передачи подвижной станции приема базовой станции, МГц
|
890-915
|
|
Частоты приема подвижной станции и передачи базовой станции, МГц
|
935-960
|
|
Дуплексный разнос частот приема и передачи, МГц
|
45
|
|
Скорость передачи сообщений в радиоканале, кбит/с
|
270, 833
|
|
Скорость преобразования речевого кодека, кбит/с
|
13
|
|
Ширина полосы канала связи, кГц
|
200
|
|
Максимальное количество каналов связи
|
124
|
|
Максимальное количество каналов, организуемых в базовой станции
|
16-20
|
|
Вид модуляции
|
GMSK
|
|
Индекс модуляции
|
ВТ 0,3
|
|
Ширина полосы предмодуляционного гауссовского фильтра, кГц
|
81,2
|
|
Количество скачков по частоте в секунду
|
|
Временное разнесение в интервалах ТDМА кадра (передача/прием)
для подвижной станции
|
2
|
|
Вид речевого кодека
|
RPE/LTP
|
|
Максимальный радиус соты, км
|
до 35
|
|
Схема организации каналов комбинированная
|
TDMA/FDMA
|
2.
Структура сотовой сети связи
Область, накрываемая сетью GSM,
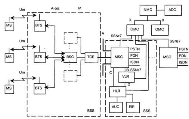
разбита на соты шестиугольной формы. Функциональное построение и интерфейсы,
принятые в стандарте GSM, иллюстрируются структурной схемой рис, 1.
Рисунок 1. Структурная схема сотовой сети связи
Система состоит из трех составных
частей:
Подвижная станция
Помимо терминала подвижная станция
MS (Mobile Station) содержит пластиковую карточку, которую называют модулем идентификации
абонента SIM (Subscriber Identity Module), благодаря которой абонент работает с
телефоном как с банкоматом, причем с помощью одной карточки можно звонить из
разных аппаратов. После включения питания подвижная станция запрашивает
PIN-код, трехкратный ошибочный набор которого приводит к полному отключению
аппарата. До начала сеанса связи сеть через радиоканал проверяет
"полномочия" подвижной станции с помощью процедуры аутентификации.
Каждый терминал имеет уникальный международный идентификатор мобильного
оборудования, SIM-карта содержит международный идентификатор мобильного
абонента, секретный ключ для аутентификации, и другую информацию.
Подсистема базовых
станций
BSS (Base Station Subsystem) тоже
складывается из двух частей: из базовой приемопередающей станции BTS (Base
Transceiver Station) и контроллера базовой станции BSC (Base Station
Controller).Интерфейс Abis, связывающий эти части, позволяет оперировать
компонентами, созданными различными производителями. Радиопокрытие BSS делится
на территории - их принято называть - "соты", каждая покрывается
одной BTS.управляет протоколами радиоканалов с MS. На крупной густонаселенной
территории может располагаться много BTS, и поэтому к ним предъявляются очень
строгие требования (четкость границ, надежность, переносимость и малая
стоимость).управляет радиоресурсами одного или нескольких BTS, контролирует
предоставление радиоканала, регулировку частоты, управление перемещаемыми из
ячейки в ячейку вызовами (хендоверами) и является связующим звеном между подвижной
станцией и центром коммутации услуг подвижной связи MSC (Mobile services
Switching Center). ТСЕ- транскодер, обеспечивает преобразование выходных
сигналов канала передачи речи и данных MSC (64 кбит/с ИКМ) к виду,
соответствующему рекомендациям GSM по радиоинтерфейсу (Рек. GSM 04.08). В
соответствии с этими требованиями скорость передачи речи, представленной в
цифровой форме, составляет 13 кбит/с. Этот канал передачи цифровых речевых
сигналов называется "полноскоростным". Стандартом предусматривается в
перспективе использование полускоростного речевого канала (скорость передачи
6,5 кбит/с).
Сетевая подсистема
Как уже было отмечено, основной
компонент сетевой подсистемы - центр MSC. Он управляет подвижным абонентом:
регистрирует, идентифицирует, обновляет информацию о местонахождении,
осуществляет хендоверы, маршрутизирует вызовы при роуминге абонентов, а также
обеспечивает соединение с фиксированными сетями. Перечисленные услуги
обеспечиваются различными функциональными элементами HLR, VLR и др. (см.
рис.1), доступ к которым возможен через сеть системы общеканальной сигнализации
SS7 (Signalling System No. 7). Сеть SS7 является обязательным условием создания
сети стандарта GSM.
Опорный регистр местонахождения HLR
(Home Location Register) и визитный регистр местонахождения VLR (Visitor
Location Register), вместе с MSC, обеспечивают возможности маршрутизации и
роуминга. HLR содержит все данные административного характера о каждом
зарегистрированном абоненте в соответствующей данному HLR сети GSM, а также информацию
о его текущем местонахождении. Информация о местонахождении абонента, как
правило, предоставляется в виде сигнального адреса VLR, ассоциированного с
подвижной станцией. VLR содержит выборочную административную информацию из
опорного регистра, необходимую для управления вызовом и предоставления всего
комплекса услуг для каждого подвижного абонента, который в этот момент
находится в географической зоне, управляемой данным VLR. Другие два регистра
используются для обеспечения аутентификации и безопасности.
3.
Расчет основных параметров сотовой системы связи
Расчет числа радиоканалов
Общее
число частотных каналов, выделенных для развертывания сотовой сети связи в
данном месте, определяется по формуле
где
-
целая часть числа
,
-
полоса частот, занятая одним частотным каналом системы сотовой связи -
частотный разнос между каналами.
Определение размерности кластера
Необходимо
выбрать размерность кластера такой, чтобы обеспечить относительное время
нахождения сигнала ниже порога заданного в задании. Для направленной антенны:
|
C
|
q
|
q0
|
 
|
|
|
|
7
|
4.58
|
9
|
0.01874
|
0.28184
|
12.00451
%
|
|
9
|
5.19615
|
9
|
0.01055
|
0.28184
|
2.31882 %
|
|
12
|
6
|
9
|
0.00558
|
0.28184
|
0.08068 %
|
Полученное значение
,
соответствующее размерности кластера С=9, удовлетворяет условию технического
задания при заданном значении q0
= 9.
Для
всенаправленной антенны отношение сигнал помеха на краю соты ровно:
Относительное
время нахождения сигнала ниже порогового уровня соответствует вероятности
нахождения помехи выше уровня сигнала:
Расчет числа радиоканалов, которые используются одной БС
Число
частотных каналов, которые используются для обслуживания абонентов в одном
секторе соты, определяется по формуле
где
-
число секторов.
Расчет допустимой телефонной нагрузки
Величина
допустимой телефонной нагрузки в одном секторе одной соты определяется
приближенным соотношением:
,
Эрл,
при
условии, что вероятность блокирования вызова не превышает величины:
где
,
-
число частотных каналов в секторе,
- число абонентов,
которые могут одновременно использовать один частотный радиоканал. В данном
случае величина
=8,
т.к. используется цифровой стандарт GSM.
Расчет числа абонентов, которые обслуживаются одной БС
При заданной активности
одного
абонента в час наибольшей нагрузки можно рассчитать число абонентов, которые
обслуживаются одной БС по формуле
Расчет количества
базовых станций
Минимально необходимое число базовых
станций на заданной территории обслуживания определяется соотношением:
где
-
заданное число абонентов, которых обслуживает сотовая сеть связи.
Расчет радиуса зоны обслуживания базовой станцией
Величину
радиуса соты можно определить, используя выражение
где
коэффициент 1,21 учитывает отличие формы соты от окружности. Отметим, что
максимальный радиус соты в стандарте GSM ограничен величиной допустимой задержки распространения сигнала и
равен 35 км.
Расчет величины защитного расстояния
Величина
защитного расстояния между БС с одинаковыми частотными каналами определяется
соотношением
Расчет Модели распространения радиоволн в сотовых системах связи
Метод Okumura разработан на
основе данных измерений уровней сигнала от передатчика в нескольких частотных
диапазонах в Токио и его пригородах. Выбор этого метода наиболее предпочтителен
для урбанизированных областей, где расстояния относительно невелики - менее 30
км, эффективная высота передающей антенны менее 200 м, эффективная высота
приемной антенны менее 10 м, и местность относительно плоская. Использование
этого метода для других случаев или при больших расстояниях может оказаться
неприемлемым. Однако, используя метод Okumura-Hata, можно
рассчитать основные потери на городских и сельских трассах.
Формулы Hata для основных
потерь на трассе для городских зон:
где:
f=900 МГц
- несущая частота передатчика,
- высота антенны
базовой станции,
- поправочный
коэффициент,
- высота антенны МС,
- расстояние от передатчика
до приемника.
Для
среднего города:

=

Расчет мощности передатчика одного частотного канала БС
Необходимую мощность на
выходе передатчика БС
в
дБВт при распространении радиоволн в открытом пространстве определяют в
зависимости от характера местности, пользуясь основным уравнением связи:
,
дБВт
Где:
- коэффициенты усиления
антенны БС и МС;
- затухание на трассе
распространения с учетом всех добавок;
- чувствительность
приемника МС;
- длина фидера, которая
равна или больше высоты расположения антенны БС;
- погонное ослабление
фидера (Типовые значения затухания кабеля на частоте 900 МГц равно
=0,2
дБ/м)
- потери в фидере БС;
Расчет эффективности использования радиоспектра
Эффективность использования
радиоспектра для системы связи оценивается радиоемкостью соты:
Интегральая эффективность:
4. Разработка частотно- территориального плана сети
Размерность кластера С=9, число
частот равно Nk = 12. Тогда
территориальное размещение БС можно осуществить согласно Рисунку 2.
Рисунок 2. План территориального размещения БС
Заключение
В результате выполнения курсовой
работы была спроектирована сотовая система подвижной радиосвязи стандарта GSM, удовлетворяющая
требованиям технического задания.
Популярность стандарта GSM в настоящее время
настолько высока, что GSM понимается сейчас как “глобальная система подвижной радиосвязи”. GSM и его варианты, в
частности модификация, спроектированная в данной работе - GSM - 900, приняты и
развиваются в Европе, Азии, Африке, России и Северной Америке. Число стран,
использующих GSM, и количество операторов связи постоянно возрастает.
Стандарт GSM, кроме того,
предоставляет ряд услуг связи, которые не реализованы в других стандартах
сотовой связи. К ним относятся:
) Использование
интеллектуальных SIM - карт для доступа к каналу и услугам связи;
) Закрытый для прослушивания
радиоинтерфейс;
) Шифрование передаваемых
сообщений;
) Аутентификация абонента и
идентификация абонентского оборудования по криптографическим алгоритмам;
) Использование служб
коротких сообщений, передаваемых по каналам сигнализации;
) Автоматический роуминг
абонентов различных сетей (международный и национальный);
) Межсетевой роуминг
абонентов GSM с абонентами некоторых других сетей (DCS 1800, PCS 1900, DECT), а также со
спутниковыми сетями наземной подвижной связи (Iridium, Globastar, Inmastar - P).
Стандарт GSM принадлежит ко второму
поколению - 2G. В настоящее время сотовые операторы, в том числе и в России,
запустили в коммерческую экплуатацию сети третьего поколения. Использование
связи 3G поможет абонентам использовать дополнительные сервисы из - за
увеличения скорости передачи данных. В частности, с помощью сотового телефона
можно будет организовывать видеоконференции.
В настоящее время запущены сети
WiMAX и LTE четвертого поколения (4G). Первую
в мире сеть LTE в Стокгольме и Осло
запустил альянс TeliaSonera/Ericsson - расчётное значение максимальной скорости
передачи данных к абоненту составляет 382 Mbps и 86 Mbps - от абонента.
Учитывая темпы научно - технического
прогресса, в скором времени возможности абонентов сотовых сетей многократно
возрастут.
Список использованной литературы.
1. Проектирование
сотовых сетей связи. Методическое пособие, РГРТУ
2. Паршин Ю. Н.
Проектирование сотовых систем связи. Методическое пособие
. Попов В. И.
Основы сотовой связи стандарта GSM. - М.: Эко-Трендз, 2008.
. Журнал
"Сети" №6 1996г. Самуйлов К.Е., Никитина М.В. "Сети сотовой
подвижной связи в стандарте GSM"