Технология ремонтно-строительных работ

  • Вид работы:
    Контрольная работа
  • Предмет:
    Строительство
  • Язык:
    Русский
    ,
    Формат файла:
    MS Word
    505,84 kb
  • Опубликовано:
    2011-09-24
Вы можете узнать стоимость помощи в написании студенческой работы.
Помощь в написании работы, которую точно примут!

Технология ремонтно-строительных работ

Министерство образования и науки Республики Казахстан

Восточно-казахстанский государственный технический университет им. Д. Серикбаева

Факультет Строительство здании и сооружений и транспортных коммуникаций

Кафедра архитектуры и строительства

КОНТРОЛЬНАЯ РАБОТА

по дисциплине:

Технология и организация ремонтно-строительных работ





Выполнил: студент

группы 09-СТз-3

Беденко Е.

Проверил преподаватель:

Уздембаева Ж.К.



Усть-Каменогорск 2011

СОДЕРЖАНИЕ

1. Причины, вызывающие необходимость усиления оснований и фундамент при реконструкции и капитальном ремонте

1.1 Проведение инженерно-геологических изысканий

.2 Усиление оснований

.2.1 Принципы, организация и технология производства работ при усилении оснований закреплением грунтов

.2.2 Принципы, организация и технология производства работ при усилении оснований глубинным уплотнением грунтов

.3 Принципы и способы ремонта и усиления фундаментов

. На примере промышленного здания покажите подсчет объема работ и составление калькуляции затрат при ремонте рулонной кровли

Список литературы

АННОТАЦИЯ

В процессе написания контрольной работы были рассмотрены следующие вопросы:

. Причины, вызывающие необходимость усиления оснований и фундамент при реконструкции и капитальном ремонте.

. Усиление оснований.

. Принципы и способы ремонта и усиления фундаментов.

В первом вопросе раскрыты причины необходимости усиления оснований и фундаментов. Среди причин усиления оснований и фундаментов рассмотрены ошибки, допущенные при изысканиях, проектировании, строительстве и эксплуатации, а также объективные факторы (изменение гидрогеологических условий, динамические и сейсмические воздействия и т. п.). Одной из основных причин появления и развития сверхнормативных деформаций фундаментов являются изменение свойств основания и его недостаточная несущая способность.

Во втором вопросе рассмотрены способы усиления оснований: усиление путем закрепления грунтов и повышение прочности оснований глубинным уплотнением грунтов, а также принципы, организация и технология производства работ при применении данных способов.

В третьем вопросе рассмотрены основные способы усиления фундаментов мелкого заложения с их краткой характеристикой:

усиление и восстановление кладки фундаментов цементацией;

ремонт и усиление фундаментов материалами на основе полимеров;

усиление и восстановление кладки фундаментов цементацией;

устройство защитных растворных рубашек;

частичная замена кладки фундамента;

устройство обоймы с увеличением площади подошвы фундамента;

способ усиления с обжатием основания;

усиление путем подведения конструктивных элементов под подошву фундаментов.

Также рассмотрены вопросы изменения конструктивного решения фундаментов и усиления фундаментов сваями, способом «стена в грунте», опускными колодцами.

1. Причины, вызывающие необходимость усиления оснований и фундамент при реконструкции и капитальном ремонте

.1 Проведение инженерно-геологических изысканий

Выбор способа усиления оснований и фундаментов, организация и технология производства работ по усилению во многом зависит от причин, вызывающих необходимость усиления. Основными причинами усиления оснований и фундаментов являются увеличение нагрузки на грунты оснований и тело фундаментов, а также деформации и повреждения грунтов оснований и конструкций фундаментов.

Увеличение нагрузки происходит в результате изменений технологических нагрузок, при надстройке зданий, изменениях конструктивного решения и ряде других случаев, возникающих при реконструкции зданий и сооружений.

Большая часть повреждений надземных конструкций зданий связана с деформациями и повреждениями оснований и фундаментов. Причинами их появления являются ошибки, допущенные при изысканиях, проектировании, строительстве и эксплуатации, а также объективные факторы (изменение гидрогеологических условий, динамические и сейсмические воздействия и т.п.).

При инженерно-геологических изысканиях могут быть допущены ошибки, связанные с неточностями определения физико-механических и прочностных характеристик грунтов, с недостаточным числом геологических выработок, с использованием предпосылок о том, что грунты оснований под фундаментами при эксплуатации будут оставаться такими же, какими они были при выполнении изыскательских работ. Иногда инженерно-геологические изыскания проводятся намного раньше строительства и за время до начала производства работ по ряду причин условия могут значительно измениться.

При проектировании ошибки возникают из-за некорректно выполненных инженерно-геологических изысканий, не учета влияния расположенных вблизи зданий и подземных коммуникаций, несоблюдения правил проектирования в особых условиях строительства, неполного учета влияния эксплуатационных факторов и др.

К широко распространенным конструктивным ошибкам, относятся, например:

− сохранение в основании насыпных грунтов, способных с течением времени значительно уплотняться и приводить к развитию сверхнормативных деформаций;

− несоблюдение установленной глубины заложения фундаментов, исключающей возможность промерзания пучинистых грунтов под подошвой.

При реконструкции зданий и сооружений к ошибкам подобного рода, например, относятся:

− расположение вновь проектируемых фундаментов под столбы и колонны в непосредственной близости от существующих фундаментов стен без устройства дополнительных конструктивных мероприятий, направленных на предохранения грунтов под подошвой существующих фундаментов от воздействия дополнительного давления;

− устройство вновь проектируемых фундаментов в случаях непосредственного примыкания их к существующим с глубиной заложения ниже подошвы последних;

− увеличение высоты подвальных помещений за счет выемки грунта, что в ряде случаев приводит к значительному сокращению глубины заложения подошвы фундаментов со стороны подвала;

− перераспределение нагрузок на фундаменты без учета их действительной несущей способности;

− устройство пристроек или увеличения их этажности без достаточных данных о грунтах основания.

При новом строительстве к ошибкам относятся различные нарушения возведения фундаментов, например:

− длительный простой открытых котлованов, в результате которого грунты подвергаются воздействиям

(промерзание, оттаивание, набухание, размягчение и т.д.), ухудшающим свойства грунтов;

− нарушение структуры грунтов под динамическим воздействием работающих механизмов, что особенно

опасно для водонасыщенных пылеватых грунтов;

− засыпка пазух котлованов водопроницаемыми грунтами;

− неточности в разбивке фундаментов и их несоответствие проектным размерам;

− применение бетонов пониженной по сравнению с проектной марки;

− произвольная замена конструкций и материалов;

− некачественное выполнение стыков и сопряжений.

При ремонтно-строительных работах кроме указанных выше могут быть ошибки, связанные с нарушениями технологии, например:

− пробивка проемов фундаментов без предварительной установки разгружающих перемычек и прогонов;

− откопка котлована около ранее возведенных фундаментов на глубину, превышающую проектную, и некачественная его обратная засыпка;

− затапливание котлована производственными или хозяйственными водами.

При эксплуатации возможно ухудшение условий работы и возникновение деформаций, например, из-за вымывания, уноса и разжижения грунтов при протечках подземных систем водоснабжения, канализации, теплотрассы и др.; систематического замачивания грунтов и фундаментов из-за неудовлетворительного состояния отмостки, тротуаров по периметру здания, неисправного состояния водосточных труб и т.п.

Одной из основных причин появления и развития сверхнормативных деформаций фундаментов являются изменение свойств основания и его недостаточная несущая способность.

Наиболее часто изменение свойств грунтов бывает связано с изменением их влажностного режима. Изменение гидрогеологических условий селитебной зоны происходит из-за интенсивной застройки территории, нарушающей условия поверхностного стока; увеличения площадей асфальтовых и других покрытий, при которых в связи с изменением теплового режима происходит конденсация и скопление влаги в грунтах; утечки воды из коммуникаций (водопровода, канализации и др.).

Кроме перечисленных, к усилению может привести и ряд других причин, например, разрушения от динамических воздействий.

Следует отметить, что в процессе эксплуатации основания и фундаменты работают как единая система, испытывающая одновременно воздействие многих из перечисленных факторов (изменение свойства оснований, эксплуатационные воздействия, природные явления, хозяйственная деятельность вблизи зданий и др.). Как правило, эти факторы либо оказывают одновременное негативное воздействие на основания и фундаменты, либо, воздействуя на один элемент этой системы, в конечном итоге приводят к необходимости усиления всей системы.

.2 Усиление оснований

Все способы усиления оснований можно разделить на две основные группы:

− усиление путем закрепления грунтов;

− повышение прочности оснований глубинным уплотнением грунтов.

1.2.1 Принципы, организация и технология производства работ при усилении оснований закреплением грунтов

Усиление оснований путем закрепления грунтов заключается в связывании части грунта. Закрепление повышает механическую прочность, водоустойчивость, долговечность. В зависимости от технологии закрепления и процессов, происходящих в грунте, методы закрепления делятся на три вида: химические, физико-химические и термические.

Сущность химических методов состоит в том, что в грунт через предварительно погруженные в него перфорированные трубы (инъекторы) нагнетают маловязкие растворы. Находясь в грунте растворы вступают в химическую реакцию с грунтом и, отверждаясь в нем, улучшают химические свойства основания.

Химические способы делятся на две группы. К первой относятся способы, использующие силикатные растворы и их производные, ко второй - способы, применяющие органические полимеры (акриловые, карбомидные, резорцино-формальдегидные, фурановые смолы и т.п.).

Наибольшее распространение имеют способы силикатизации. Материалом для силикатизации является жидкое стекло - коллоидный раствор силиката натрия.

При однорастворной силикатизации в грунт инъецируется гелеобразующий раствор, состоящий из двух или трех компонентов: растворы силиката натрия и отверждающего реагента (растворов кислот, органических составов). В результате протекающей реакции грунт цементируется гелем кремниевой кислоты.

При двухрастворной силикатизации процесс закрепления сводится к поочередному нагнетанию в грунт раствора силиката натрия и раствора хлористого калия. В процессе взаимодействия растворов образуется гидрогель кремниевой кислоты. Песок после инъекции становится водонепроницаемым.

При газовой силикатизации в качестве отвердителя силиката натрия используется углекислый газ.

Газ нагнетают в грунт для его предварительной активизации. После этого инъецируют силикат натрия, а затем в грунт подают углекислый газ. Способ применяется для песчаных и просадочных лессовых грунтов, а также грунтов с высоким содержанием органических веществ. Закрепленные пески приобретают прочность 0,8…1,5МПа, а лессовые грунты 0,8…1,2 МПа.

При электросиликатизации используется комбинированное применение постоянного электрического тока и силикатных растворов. Способ предназначен для закрепления переувлажненных мелкозернистых грунтов и супесей, а также лессовых грунтов, в которые жидкое стекло проникает с трудом (коэффициент фильтрации менее 0,1 м/сут.).

При аэросиликатизации грунтов используют сжатый воздух, который подают в грунт вместе с закрепляющим раствором жидкого стекла. Подача сжатого воздуха позволяет получить в грунте радиально направленные от инъектора лучеобразные участки закрепленного грунта.

При больших объемах закачки тампонажных материалов применяют глинисто-силикатные растворы, представляющие собой смеси водных растворов высокодисперсных глин с небольшой добавкой силиката натрия. Силикат натрия инъецирует возникновение в порах грунта эластичного геля, обеспечивающего водонепроницаемость грунтового массива.

К другим химическим методам относятся аммонизация и смолизация.

При аммонизации в грунт под небольшим давлением нагнетается газообразный аммиак. Метод позволяет придать лессовым грунтам свойства непросадочности.

При смолизации в грунты инъецируются водные растворы синтетических смол (карбомидных, эпоксидных, фурановых и др.) вместе с отвердителями (кислотами, кислыми солями). После взаимодействия с отвердителями смола полимеризуется. Смолизация используется при закреплении песчаных с коэффициентом фильтрации 0,5…45 м/сут. и лессовых грунтов. Грунты становятся водонепроницаемыми и имеют прочность на сжатие до 1…5 МПа.

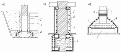
Выбор способа и зон химического закрепления грунта зависит от характеристик основания, формы и размеров фундамента, действующих нагрузок. Зоны закрепления в плане могут быть ленточными, сплошными, прерывистыми, кольцевыми и фигурными (рисунок 1). В зависимости от этого и свойств грунта определяется расстояние между инъекторами и их положение (вертикальное, наклонное, горизонтальное, комбинированное (рисунок 2).

Рисунок 1 - Зоны химического закрепления грунтов оснований: а - ленточная; б - сплошная; в - столбчатая; г- кольцевая

Рисунок 2 - Варианты расположения инъекторов при закреплении грунтов оснований: 1 - фундамент; 2 - инъектор; 3 - зона закрепления; 4 - шахта

К физико-химическим методам закрепления грунтов относятся цементация, грунтоцементация, битуминизация и глинизация.

При цементации в грунт через инъекторы нагнетается цементный, цементно-песчаный или цементно-глинистый раствор. Добавка глин до 5 % способствует улучшению качества работ. Метод применяют для закрепления песчаных, крупнообломочных грунтов и трещиноватых скальных пород.

При грунтоцементации для укрепления оснований устраивают грунтоцементные (илоцементные) сваи. Для устройства свай грунт в пробуриваемой скважине перемешивается с вяжущим материалом без выемки его из скважины. Метод применяется для закрепления слабых грунтов при возведении вблизи эксплуатируемых зданий новых, создании подземных конструкций в слабых грунтах (например, илосвай, грунтоцементных ленточных фундаментов и т.п.), устройстве противофильтрационных завес и др.

При глинизации для заполнения скважин используют глиняные растворы. Применяется она в трещиноватых породах, имеющих коэффициент фильтрации от 5 до нескольких тысяч метров в сутки.

При битуминизации в качестве инъецируемого вещества используют разогретый битум или холодную битумную эмульсию. Способ рекомендуется для песчаных грунтов с коэффициентами фильтрации 10…50м/сут. Из-за сложности технологии метод применяется очень ограниченно.

Термическое закрепление грунтов (обжиг) применяются в основном при закреплении просадочных грунтов. В пробуренных в грунте скважинах сжигают газообразное, жидкое или твердое топливо.

Одновременно в скважину подают воздух. Обжиг производят при температуре 400…800°С в течение 5…10дней. Вокруг скважины образуется столб закрепленного грунта диаметром 1,5…3,0 м с прочностью 1…3 Па.

Иногда в практике применяется электротермический способ обжига грунта. В качестве источника используются нихромовые электронагреватели. Скважины во всех случаях могут пробуриваться вертикально, наклонно и горизонтально.

Работы по усилению оснований перечисленными выше методами инъекцирования должны выполняться в определенной последовательности.

Перед производством работ по закреплению грунтов следует:

− уточнить расположение подземных коммуникаций, а также расположение и состояние сооружений, находящихся вблизи места закрепления;

− подготовить бригаду исполнителей, предварительно прошедших курс обучения технологии производства работ;

− обеспечить наличие предусмотренного проектом комплекта оборудования и материалов;

− выполнить контрольное закрепление грунта и провести его испытания.

Производство закрепления грунтов включает последовательно следующие виды работ:

− подготовительные и вспомогательные работы, включая приготовление закрепляющих растворов;

− работы по погружению в грунты инъекторов и бурению, а также по оборудованию инъекционных скважин;

− нагнетание закрепляющих реагентов в грунты;

− извлечение инъекторов и заделку инъекционных скважин;

− работы по контролю закрепления.

Подготовительные и вспомогательные работы выполняют до начала основных работ. К ним относятся: подготовка и планировка территории; подводка электроэнергии, горячего и холодного водоснабжения, канализации; установление (при необходимости) геодезического наблюдения за осадками фундаментов; размещение на площадке химреагентов и материалов; оборудование стационарного узла приготовления растворов (при объеме закрепления более 10 тыс. м3 грунта); размещение мест погружения инъекторов или бурения инъекционных скважин; согласование возможности проведения работ с электронадзором и лицами, ответственными за подземные коммуникации; приготовление закрепляющих растворов рабочих концентраций; выполнение контрольных работ по закреплению грунтов.

Погружение инъекторовв грунты для последующей инъекции закрепляющих реагентов может производиться забивкой, задавливанием или установкой в предварительно пробуренные инъекционные скважины. Выбор способа погружения зависит от вида грунтов, естественно-исторических условий территории и глубины закрепления.

Погружение инъекторов в грунты забивкой применяют при силикатизации и смолизации песчаных грунтов, а также при закреплении просадочных лессовых грунтов на глубине до 15 м.

Для забивки инъекторов применяют ударные инструменты механического или пневматического типа. Забивка осуществляется по заходкам в последовательности, заданной проектом. При забивке инъекторов черезжелезобетонные плиты фундаментов, полы, отмостки в них предварительно бурятся отверстия с последующей их промывкой водой или продувкой сжатым воздухом.

Способ задавливания инъекторов в грунты предусматривает предварительное устройство вдоль фундаментов специальных технологических выработок (шахт), заглубленных на 0,5…1 м ниже подошвы фундамента (см. рисунок 2, в). Задавливание инъекторов производится с помощью гидро-домкратных устройств в горизонтальном направлении.

В качестве опорной служит стена выработки.

Погружение и установка инъекторов в предварительно пробуренные инъекционные скважины применяется преимущественно при силикатизации просадочных лессовых грунтов на глубине более 15 м, а также при обычной и вспомогательной цементации. Бурение ведется вертикальными и наклонными скважинами.

Для предупреждения выбивания раствора при нагнетании его в скважины следует принимать меры, предупреждающие отклонение скважин от проектного положения путем установки кондукторов, а также бурения скважин на двойном расстоянии в плане друг от друга, т.е. через одну. После завершения работ на скважинах первой группы производят бурение и нагнетание растворов в скважины второй очереди.

Бурение инъекционных скважин для вспомогательной цементации зоны контакта подошвы фундамента с основанием (для предотвращения возможных утечек закрепляющих реагентов через полости и трещины фундаментов) рекомендуется производить колонковыми станками сплошным забоем с продувкой воздухом. В стесненных условиях допускается бурение пневмоударными станками. Бурение ведется наклонными скважинами через обратную засыпку с установкой обсадной трубы, затем по фундаменту с небольшим заглублением в грунты основания. Расстояние между скважинами 2…3 м.

Нагнетание закрепляющих реагентов следует выполнять отдельными заходками в объеме и технологической последовательности, предусмотренной проектом. В однородные по водопроницаемости грунты нагнетание производится от устья в глубину или из глубины к устью. В неоднородных по водопроницаемости грунтах слой с большей водопроницаемостью закрепляют в первую очередь. Состав и количество закрепляющих реагентов, параметры инъекции и диаметр скважин назначаются проектной организацией по результатам контрольного закрепления. При этом давление нагнетания не должно преаосходить нагружающего давления по подошве фундаментов.

Перед нагнетанием закрепляющих реагентов инъектор должен быть промыт водой или продут воздухом под давлением, не превышающим предельно допустимого, указанного в проекте.

Величина расхода при нагнетании закрепляющих химических растворов или смесей от одного инъектора или действующей части скважины назначается проектом и уточняется при контрольном закреплении; в процессе нагнетания величина расхода жидких реагентов контролируется по расходомерной шкале или счетчику расходомера.

При нарушении нормального хода процесса нагнетания химических растворов в грунты нагнетание следует прекратить и возобновить только после устранения причин, вызвавших нарушения.

Растворы допускается нагнетать при температуре грунта в зоне закрепления не ниже 0 °С.

При двухрастворной силикатизации жидкое стекло и раствор хлористого кальция нагнетаются рядами с чередованием инъекторов через один ряд. Раствор хлористого кальция следует нагнетать как можно быстрее после нагнетания жидкого стекла. Перерывы между нагнетанием жидкого стекла и хлористого кальция зависят от скорости грунтовых вод и составляют от 1…2 ч при скорости грунтовых вод 1,5…3 м/сут. до 6…24 ч при скорости грунтовых вод 0…0,5 м/сут. При данном способе каждый раствор нагнетается отдельным насосом. Нельзя допускать смешения растворов в баках, шлангах, насосах и инъекторах. Оборудование, использованное для нагнетания жидкого стекла, может использоваться и для нагнетания раствора хлористого кальция (или наоборот) только после тщательной промывки его горячей водой.

.2.2 Принципы, организация и технология производства работ при усилении оснований глубинным уплотнением грунтов

Для повышения прочности оснований за счет уплотнения грунтов используются механические способы, устройство грунтовых свай, включение в основание жестких элементов.

Способ устройства грунтовых свай основан на погружении штампов, которые образуют скважины с вытеснением грунта радиально в стороны. В результате этого грунт вокруг скважины уплотняется.

Погружение штампа выполняется проколом, забивкой, вибрированием. В отформованную скважину засыпают местный грунт или песок, песчано-гравийную смесь, щебень и снова ее отформовывают. Операции повторяют до тех пор, пока усредненная плотность грунтового массива не станет равной требуемой. Наибольший эффект уплотнения достигается при шахматном расположении скважин. Расстояние между осями скважин зависит от диаметра уплотняющего органа и требуемого коэффициента уплотнения.

Недостатком такого способа является наличие при забивке элементов колебаний, могущих вызвать недопустимые осадки зданий.

Следует учитывать, что глинистые грунты в меньшей степени реагируют на вибрацию, чем пески. Чтобы деформировались глинистые грунты, требуется продолжительное воздействие вибрации. Довольно быстро реагируют на динамические воздействия водонасыщенные пески и супеси, находящиеся в рыхлом состоянии или в состоянии средней плотности. Фундаменты реконструируемых зданий в таких грунтах могут подвергаться значительным неравномерным осадкам вследствие уплотнения или выдавливания из-под них грунта.

Опасность колебаний при забивке элементов, вызывающих осадку зданий, существенно зависит не только от вида грунта, но и глубины погружения оболочки или сваи, расстояния от них до существующих зданий и ряда других факторов. С увеличением расстояния амплитуды смещений быстро затухают. Большое влияние на это оказывают грунтовые условия. Использование молотов меньшего веса приводит к снижению амплитуд смещений грунта и зоны их влияния. Значения амплитуд максимальны при погружении трубы или сваи на глубину 3…6 м. Увеличение амплитуды на глубине может быть связано не только с особенностями геологического строения площадки, но и с перерывами в погружении сваи, например в тиксотропных грунтах.

Применение ударного способа погружения уплотняющих элементов в условиях тесной застройки требует предварительной оценки возможных неблагоприятных последствий.

Одним из перспективных способов погружения элементов, используемых для образования скважин при глубинном уплотнении грунтов, является вливание. Машины для вдавливания по типу рабочего органа могут быть гидравлическими и механическими. Гидравлические работают с одним или несколькими цилиндрами.

Механические устройства имеют канатно-блочный (полиспастный) привод, цепной или с ходовым винтом.

В условиях реконструкции для устройства скважин перспективно применение раскатывающих проходчиков скважин. Особенность процесса раскатывания скважин - формообразование цилиндрической полости в грунте катками, эксцентрично установленными на бурильной штанге (без ударов, как это имеет место при ударно-канатном бурении).

Для устройства скважин при глубоком уплотнении грунтов могут быть использованы пневмопробойники.

Под действием ударов корпус внедряется в грунт. Обратному его перемещению препятствуют силы трения между корпусом и грунтом. Скважина образуется за счет раздвижки и уплотнения грунта.

Применение пневмопробойников целесообразно в сжимаемых связных необводненных грунтах; глубинапробиваемых скважин зависит от свойств грунта, определяется устойчивостью стенок скважины и может достигать 15…20 м и более. Максимальный диаметр скважины может быть 350 мм при диаметре пробойника 130 мм и до 600 мм - при диаметре образуемой (пробойником с расширителем) скважины 300 мм. Производительность пневмопробойника зависит от физико-механических свойств грунта, диаметра пробиваемых скважин, энергии единичного удара, частоты ударов и т.д.

Реже при устройстве скважин применяется взрывная технология. При использовании для образования скважин энергии взрыва в толще уплотняемого грунта проходят скважину-шпур диаметром 60…80 мм. В нее опускают заряд малобризантного взрывчатого вещества, состоящий из цепочки патронов массой 50 г, расположенных через 15…20 см один от другого. В результате взрыва диаметр скважины увеличивается до 400…500мм, а вокруг нее образуется зона уплотняемого грунта диаметром около 1 м.

После образования скважин перечисленными выше способами, их заполняют грунтом. Грунт в скважину засыпают слоями 0,5…0,7 м и уплотняют. Для уплотнения используют трамбовки, имеющие форму параболического клина. При массе ударного снаряда не менее 1 т для уплотнения порции грунта в 250…300 кг необходимо произвести 25 ударов. Плотность грунта в теле сваи достигает 1,8…1,85 т/м3.

Следует отметить, что применение глубинного уплотнения грунтов оснований ремонтируемых и реконструируемых зданий ограничено. Пробивка скважин сваебойными агрегатами и взрывы вызывают значительные динамические воздействия на существующие здания и оборудование. Применение бурового способа при устройстве грунтовых свай снижает степень уплотнения грунта вокруг скважин. Связано это с тем, что грунт при бурении извлекается из скважины. В слабых грунтах достичь необходимого уплотнения набивкой не удается, так как стенки скважин, особенно наклонных, недостаточно устойчивы.

Указанные недостатки исключаются при использовании для глубинного уплотнения оснований существующих зданий технологии винтового продавливания скважин. Технология позволяет различным сочетанием приемов проводить глубинное уплотнение или закрепление основания. При глубинном уплотнении скважины засыпаются сыпучими материалами, а при закреплении - твердеющими материалами. Суть уплотнения в этом случае заключается в следующем. Вначале спиралевидным снарядом проходят скважину, заполняют ее грунтами уплотняют грунт. В тех случаях, когда однократное заполнение скважины грунтом недостаточно, глубинное уплотнение можно осуществить путем многократного заполнения скважин и прохода снаряда, достигая необходимой несущей способности основания под заданные нагрузки, что особенно важно в условиях реконструкции. При промежуточных заполнениях скважин грунт засыпают без уплотнения. Уплотняют грунт только при последнем заполнении.

При бурении скважин спиралевидными снарядами повышается устойчивость стенок скважин, что позволяет в некоторых случаях сократить затраты труда и материалов на выполнение работ по глубинному уплотнению оснований реконструируемых зданий.

Глубинное упрочнение оснований с использованием вяжущих материалов (закрепление грунтов) выполняется по следующей технологии. Вначале в грунте спиралевидным снарядом проходят первичную скважину диаметром, меньшим заданного, а затем скважину заполняют закрепляющим материалом. После этого по оси первичной скважины снарядом большего диаметра проходят скважину проектного диаметра, вдавливая закрепляющий материал в грунт. Под напором погружаемого снаряда закрепляющий материал проникает в грунт через стенки скважины и ее дно. При этом закрепляющий материал частично перемешивается с грунтом, что способствует образованию вокруг скважины оболочки повышенной прочности (рисунок 3).

В качестве твердеющей смеси может быть использована любая композиция, отверждающаяся с грунтом, например, химические реагенты, применяемые для химического закрепления грунтов (фенолформальдегидная, карбамидная и другие смолы, жидкое стекло), а также цементно-песчаные и цементные растворы. Для предотвращения выдавливания закрепляющего материала из скважины на поверхность первичную скважину заполняют закрепляющим материалом на 1…1,5 м ниже ее устья, а диаметр первичной скважины должен быть менее 0,8 диаметра проектной скважины. В зависимости от характера грунтовых напластований закрепление можно выполнять выборочно на отдельных участках, причем толщина закрепляемых слоев по длине скважины может быть различной.

Рисунок 3 - Схема устройства скважины с использованием вяжущего материала: а-д- последовательность устройства скважины:

- снаряд малого диаметра; 2 - вяжущий материал; 3 - снаряд большого диаметра; 4 - слой закрепленного грунта; 5 - скважина проектного диаметра; 6- материал заполнения скважины

По окончании упрочнения грунта скважины заполняют грунтом или другим материалом с уплотнением.

Расстояние между скважинами определяют исходя из условий обеспечения совместной работы грунта в массиве, а также необходимой несущей способности укрепляемого основания.

Для уплотнения слабых водонасыщенных грунтов, в том числе и обводненных лессовых, можно использовать грунтоизвестковые сваи. В процессе гашения известь в скважине увеличивается в троекратном объеме. Развивающееся при этом давление существенно укрепит стенки скважины.

Глубинное уплотнение может быть выполнено в виде вертикальных или наклонных скважин; может быть также принято и комбинированное расположение скважин.

Рисунок 4 - Вариант упрочнения основания песчаными сваями:  - здание; 2 - фундамент; 3 - песчаные сваи; 4 - зона упрочнения; 5 - насыпной грунт; 6 - торф

Выбор способа глубинного уплотнения основания зависит от конкретных условий реконструируемогообъекта, диаметра скважин, материала, используемого для упрочнения и др.

.3 Принципы и способы ремонта и усиления фундаментов

Выбор способов ремонта и усиления ленточных и столбчатых фундаментов мелкого заложения зависит от причин, вызывающих необходимость усиления, особенностей конструктивного решения фундаментов, действующих нагрузок, а также от инженерно-геологических условий и степени стесненности рабочей площадки. От принятого способа усиления или ремонта существенным образом зависит организация и технология производства работ.

Основные способы усиления фундаментов мелкого заложения с их краткой характеристикой даны ниже.

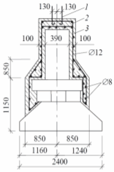
Усиление и восстановление кладки фундаментов цементацией. Способ применяется, когда кладка ослаблена по всей толще, а увеличения нагрузки на фундамент нет. Цементация производится путем нагнетания в пустоты фундамента через инъекционные трубы цементного раствора консистенции под давлением 0,2…1,0 МПа (рисунок 5). Через один инъектор заполняется пространство диаметром 0,6…1,2 м.

Обычно число мест инъекции зависит от степени разрушения кладки фундаментов. Работы по укреплению целесообразно вести захватками длиной 2,0…2,5 м. Иногда для уменьшения расхода раствора боковые поверхности фундамента перед цементацией покрывают цементной штукатуркой.

Ремонт и усиление фундаментов материалами на основе полимеров.

Способ основан на использовании полимербетонов, полимерных растворов и мастик для заделки трещин в теле фундаментов и инъецирования их внутрь. Для заделки трещин шириной 2 мм и более и раковин глубиной менее 50 мм используются полимеррастворы и полимермастики. Если разрушения более значительны и имеются обнажения арматуры, восстановление выполняют полимербетоном или полимер-раствором, нанесением торкрет-бетона. При наличии пустот, трещин и других дефектов внутри тела для укрепления его используют инъекционное лечение полимерными смесями смол с отвердителями. В связи с высокой стоимостью смол инъецирование их ограничивается небольшими объемами дефектов.

Рисунок 5 - Усиление кладки фундамента при ее большом износе инъекцией цементного раствора: 1 - инъекторы; 2 - фундамент; 3 - цементный раствор

Устройство защитных растворных рубашек. Способ применяется при ремонте незначительных наружных повреждений фундаментов. Для этого в кладку в шахматном порядке через0,5 м заделываются металлические анкеры, к которым прикрепляется арматурная сетка, и затем наносится раствор на крупном песке простым оштукатуриванием или торкретированием. Иногда вместо раствора наносят бетон, применяя пневмо-набрызг или укладку в опалубку.

Данный способ обычно применяется совместно с другими мерами усиления. Из-за появления трещин в ступенях ленточного фундамента их усилили путем устройства над ступенями продольных железобетонных балок (рисунок 6). Балки опираются на контрфорсы, ширина которых определяется по расчету на смятие кладки в местах пересечения ригеля контрфорса с кладкой стены. Расстояние между контрфорсами находится из расчета балок на изгиб.

Весь фундамент заключается в железобетонную рубашку, монолитно-связанную с балками.

Рисунок 6 - Вариант усиления кладки ленточного фундамента:

- фундамент; 2 - трещины в ступенях; 3 - продольная балка на ступени; 4 - контрфорс; 5 - рубашка; 6 - рандбалки; 7 - стена здания

Частичная замена кладки фундамента производится при ремонтах со средней степенью разрушения тела фундамента. Способ применяется когда нагрузка на фундамент увеличивается, а несущая способность основания достаточна.

Усиление железобетонных фундаментов обоймами ввиду простоты и надежности устройства получило широкое распространение в практике. Обоймы, устраиваемые без углубления фундамента, могут выполняться как без увеличения площади подошвы, так и с ее уширением. По материалу они могут быть бетонными и железобетонными. Последние более надежны, так как охватывают усиливаемый фундамент, обжимая его при усадке бетона.

Обоймы без увеличения площади подошвы фундаментов устраиваются редко. Их применяют в тех случаях, когда тело фундамента имеет недостаточную прочность, а его подошва и основание находятся в хорошем состоянии. На рисунке 7 приведена схема усиления обоймой без уширения сборных отдельных фундаментов под столбами в жилом доме.

Рисунок 7 - Вариант усиления железобетонной обоймой сборного отдельного фундамента: 1 - анкерные болты; 2 - сварные сетки; 3 - обойма

Обоймы с увеличением площади подошвы фундамента устраиваются в фундаментах мелкого заложения, выполненных из различных кладок, бетона или железобетона. Изготовление обойм возможно как на всю высоту фундамента, так и на часть высоты (рисунок 8).

Рисунок 8 - Схемы усиления ленточных фундаментов бетонными обоймами: а - обойма у подошвы; б, в - трапецеидальная и прямоугольная обоймы на всю высоту тела фундамента;

1 - фундамент; 2 - обойма; 3 - штрабы; 4 - балка усиления

Применяют данный способ при необходимости увеличения нагрузки на фундамент и недостаточной несущей способности основания. По этим причинам обоймы достаточно часто используют для усиления бутовых и бутобетонных фундаментов при надстройке или других видах реконструкции зданий старой постройки. Некоторые схемы таких усилений даны на рисунке2. Обоймы устраивают как в подвальных, так и бесподвальных зданиях. Возможные схемы усиления обоймой фундаментов и стен подвала приведены нарисунке 10.

Рисунок 9 - Варианты усиления бутовых и бутобетонных фундаментов: а - обоймами с креплением их балками и штрабами; б - арматурными элементами; в- жестким металлическим каркасом;

1 - существующий фундамент; 2 - обойма усиления; 3 - металлическая балка; 4 - арматурные стержни; 5 - металлический каркас

основание фундамент кровля грунт

Рисунок 10 - Варианты усиления обоймами стен (а), (б) и столбов (в) подвала: 1 - стена подвала и фундамента; 2 - столб; 3 - обойма; 4 - арматурные стержни; 5 - арматурные тяжи; 6 - хомуты

Для обеспечения хорошего сцепления бетона обоймы с фундаментом поверхность его очищают и дополнительно обрабатывают, нанося насечки или устраивая штрабы (рисунок 8). При необходимости дополнительного увеличения сцепления обоймы с фундаментом ее анкеруют путем устройства шурфов и установки в них анкерных стержней.

В ленточных фундаментах противоположные стенки обоймы крепят между собой анкерами или поперечными балками (рисунок 9). Выбор способа зависит от конкретных условий. Например, в случае, когда материал тела фундамента достаточно прочен и требуется только уширение подошвы, сопряжение боковых обойм можно выполнить с помощью арматурных элементов (рисунок 9). Для этого через пробитые в кладке отверстия (шаг около 2 м) пропускаются П-образные арматурные стержни и затем к ним привариваются продольные стержни. При таком устройстве снижается давление по подошве фундамента, повышается жесткость здания и возможность восприятия дополнительных усилий, возникающих, например, при неравномерных деформациях грунтов оснований.

Аналогичное решение возможно и при устройстве ленточных сборных фундаментов (рисунок 11, а). В этом случае совместная работа фундаментов и обойм обеспечивается горизонтальными штрабами в кладке стен и пропущенными через швы арматурными стержнями.

Рисунок 11 - Варианты усиления сборных ленточных фундаментов с помощью: а - горизонтальных штраб и монолитной обоймы; б- металлического каркаса и монолитной обоймы;

1 - фундамент; 2 - обойма; 3 - арматурные стержни

При необходимости значительного увеличения площадей подошвы применяются более жесткая система разгрузочных балок с устройством подкосов, опирающихся на кладку (рисунок 9, в). Для обеспечения жесткости в продольном направлении балки между собой связывают уголками и арматурными стержнями. После обетонирования фундамент имеет повышенную несущую способность. На рисунке 11, б приведено подобное решение для сборного ленточного фундамента. Толщина обоймы и требуемая величина уширения подошвы определяются расчетами с учетом повышения расчетной нагрузки в случае реконструкции или снижения несущей способности грунтов при эксплуатации. При необходимости не только уширения подошвы, но и повышения прочности тела стен подвала или колонн обоймы фундаментов и стен делают едиными (рисунок 10).

После усиления уширенная часть фундамента начинает воспринимать часть действующей и дополнительной нагрузок. В случаях большого увеличения нагрузок элементы уширения должны быть введены в работу путем предварительного обжатия основания. В настоящее время в практике имеется значительное количество способов обжатия. Для ленточных фундаментов, в частности, может быть применен способ, разработанный Н.И. Страбахиным. Суть его заключается в установке с двух сторон фундамента дополнительных железобетонных сборных блоков уширения, нижнюю часть которых стягивают анкерами из арматурной стали, пропущенными сквозь них и существующие фундаменты. Верхняя часть блоков отжимается от поверхности фундаментов клиньями или домкратами. В результате этого блоки поворачиваются вокруг нижней, закрепленной анкерами точки, и подошвой обжимают неуплотненный грунт основания. После обжатия зазор между блоками и фундаментом расклинивается и заполняется бетоном (рисунок 12, а).

Рисунок 12 - Варианты усиления с предварительным обжатием основания: 1 - фундамент; 2 - блоки; 3 - тяжи; 4 - фиксированная затяжка; 5 - прижимной щит; 6 - антифрикционное покрытие; 7 -клинья; 8 - поперечная балка;9 - обжатое основание; 10 - домкрат;11 - сборный банкет; 12 - бетон

Известен и другой способ усиления с обжатием основания. Суть его заключается в установке по периметру фундаментов блоков обоймы, которые путем горизонтальных усилий обжатия тяжами вдавливаются в грунт (рисунок 12, б). Для облегчения погружения блоков в грунт поверхность контакта блоков и фундамента смазываются антифрикционными материалами. При стягивании тяжей, пропущенных через прижимные щиты, блоки усиления сдавливаются и сползают вниз вдоль фундамента, обжимая тем самым грунт. После обжатия между блоками и поперечными балками, проходящими через стену здания, устанавливаются клинья, а блоки связывают фиксирующей затяжкой.

Рассмотренные способы пригодны в случаях, когда фундамент не имеет консолей. При наличии их применяют, например, способ, схема которого дана на рисунке 12, в. В этом случае, с помощью домкратов через заранее уложенные бетонные элементы на грунт основания передается давление, несколько меньшее, чем под подошвой фундамента. Перед снятием домкратов устанавливают распорные клинья, а затем устраивают бетонную обойму.

Усиление путем подведения конструктивных элементов под подошву фундаментов. В качестве дополнительных элементов, подводимых под существующие фундаменты, используют плиты, столбы и сплошные стены. Возможные схемы усиления даны на рисунке 13.

В случае незначительного увеличения глубины заложения с одновременным уширением подошвы фундамента под нее подводят железобетонные плиты (рисунок 13, а). Для этого на участках длиной 1…2 м грунт под фундаментом откапывают и на месте изготавливают монолитную железобетонную плиту или монтируют сборные железобетонные элементы. После обжатия грунта в основании промежуток между плитой и подошвой фундамента заполняют бетоном, тщательно уплотняя его вибраторами.

Отдельные столбы под фундамент подводят в тех случаях, когда возможна передача нагрузки на более прочный грунт, расположенный на небольшой глубине от подошвы. Столбы располагают по линии или в шахматном порядке на определенном расстоянии друг от друга (рисунок 13, б, в).

Рисунок 13 - Варианты усиления подведением конструкций под фундаменты в виде: а - железобетонных плит; б, в - отдельных столбов; г - сплошной стены;

- фундамент; 2 - столб; 3 - шурф; 4 - сплошная стена; 5 - плита; 6 - арматурный каркас

При значительном ослаблении тела фундамента и необходимости его заглубления иногда более выгодно сделать разборку старого и построить новый с необходимой глубиной заложения. Для ленточных фундаментов последовательность операций устройства фундаментов приведена на рисунке 14. Вначале через стену пропускают разгружающие балки, надежно опирая их на опоры из шпальных клеток или домкраты. Последние более удобны, так как позволяют регулировать положение балок. После передачи нагрузки от стен на опоры старый фундамент разбирается отдельными захватками длиной 2,0…3,5 м и устраивается новый на более глубокой отметке. Между новым фундаментом и стеной для обеспечения их совместной работы производится инъецирование песчано-цементного раствора под давлением. Затем осуществляется засыпка котлована и демонтаж разгружающих конструкций.

Изменение конструктивного решения фундаментов. В практике используются приемы усиления путем переустройства столбчатых фундаментов в ленточные (рисунок15). Для этого между столбами устраивают железобетонную стену в виде перемычки, нижнюю часть которой подводят под подошву существующего фундамента. Перемычка охватывает также подколонник.

Рисунок 14 - Переустройство ленточного фундамента с разборкой старой кладки фундамента

В случае незначительного повышения несущей способности перемычка может выполняться с уширенной подошвой. При необходимости устройства подвала перемычку делают на всю высоту столбов

Рисунок 15 - Переустройство столбчатых фундаментов в ленточные: 1 - столбчатый фундамент; 2 - железобетонная перемычка; 3 - арматурные каркасы; 4 - уширенная часть перемычки

При значительном увеличении нагрузки столбчатые фундаменты переустраиваются в перекрестно-ленточные иплитные, а ленточные в плитные (рисунок 16).

Рисунок 16 - Переустройство ленточных фундаментов в плитные:

- ленточный фундамент; 2 - отверстия в ленточном фундаменте; 3 - подводимая плита; 4 - пропуски плиты под ленточным фундаментом; 5 - арматурные каркасы

Усиление фундаментов сваями. Сваи применяют для передачи нагрузки от фундаментов на более прочные слои грунта в тех случаях, когда основание имеет высокую деформативность и наблюдаются подземные воды, осложняющие процесс уширения или заглубления фундаментов.

Во всех случаях усиление производят двумя приемами: пересадкой фундамента на выносные сваи или подведением свай под подошву фундамента. Выносные сваи применяют при высоком уровне грунтовых вод, а подводимые при низком. В ленточных фундаментах выносные сваи устраиваются с одной или двух сторон фундамента, в столбчатых фундаментах они располагаются как с двух противоположных сторон, так и по всему периметру (рисунок 17). Подводимые под подошву сваи могут устанавливаться в один, несколько рядов или кустами. Головы свай с усиливаемыми фундаментами соединяются ростверками, выполняемыми в виде железобетонных поясов для ленточных фундаментов или железобетонных обойм для столбчатых. Длину свай назначают по расчету в зависимости от характеристик грунтов и нагрузок на фундамент. В практике применяется большое количество способов усиления фундаментов сваями различного конструктивного решения. Некоторые из них рассмотрены ниже.

Рисунок 17 - Переустройство столбчатых (в, г) фундаментов: 1 - усиливаемый фундамент; 2 - свая; 3 - ростверк; 4 - рандбалка; 5 - поперечные балки; 6 - рычажный ростверк

Усиление набивными и буронабивными сваями. Набивные сваи устраивают погружением в основание обсадочных труб диаметром 250…375 мм с последующим извлечением из них грунта и заполнением их бетоном с трамбованием или уплотнением сжатым воздухом (пневмонабивные сваи). Иногда могут быть использованы набивные сваи, выполняемые по технологии винтового продавливания. Скважины образуются спиралевидными снарядами, при проходке которых грунт не извлекается, а уплотняется. В случае устройства буронабивных свай пробуривают скважины, устанавливают арматурные каркасы и бетонируют ствол.

При усилении столбчатых фундаментов набивными и буронабивными сваями вначале бетонируют сваи.

Затем головы свай с арматурными выпусками связывают железобетонной обоймой, выполняемой вокруг существующего фундамента (рисунок 18, а). Концы свай должны быть заглублены в прочный грунт. Для усиления могут быть поставлены две, четыре или больше свай, расположенных симметрично.

При усилении ленточных фундаментов выносные сваи размещают параллельными рядами с обеих сторон фундамента. Вынос свай определяется удобством расположения бурового оборудования.

Рисунок 18 - Варианты усиления ленточных (а, б) истолбчатых (в) фундаментов набивными сваями:

- фундамент; 2 - ростверк; 3 - набивные сваи; 4 - зона уплотненного грунта; 5 - металлические балки; 6 - балка, бетонируемая на месте

В случаях усиления выносными сваями фундаментов из бутовой кладки в них на требуемой высоте устраивают штрабы, в которые монтируют металлические продольные балки (рандбалки). Под продольными балками устанавливают поперечные металлические балки. Шаг балок 2,0…3,5 м. После установки балок по верху свай бетонируется ленточный ростверк. Для обеспечения совместной работы фундамента и установленных свай производят расклинивание промежутка между ростверком и поперечными балками. Схема такого решения приведена на рисунке 18, б.

В сборных ленточных фундаментах может использоваться вариант, схема которого приведена на рисунке 18,в. При этом в стене фундамента отверстия не пробивают, а поперечные железобетонные балки изготавливаютна месте, объединяя их арматурными стержнями, пропускаемыми через горизонтальные швы кладки. Балки работают совместно со стеной за счет сил трения и сцепления.

Усиление вдавливаемыми сваями. В настоящее время накоплен большой опыт повышения несущей способности фундаментов вдавливаемыми сваями. Сваи могут быть как цельными, так и составными из отдельных элементов. Этот способ имеет целый ряд преимуществ: отсутствие динамических и вибрационных воздействий на здание при устройстве усиления, нет необходимости в усиленном армировании ствола сваи, высокая точность установки свай, минимальное загрязнение окружающей среды и незначительные энергозатраты при устройстве.

Ленточные фундаменты можно усиливать с помощью выносных вдавливаемых свай из трубчатых элементов длиной 0,8…1,2 м, располагаемых попарно с двух сторон стены, схема подобного усиления приведена на рисунке 19, а. Сваи погружают домкратами, усилия от которых передаются на железобетонные балки, изготавливаемые совместно со сплошным железобетонным поясом, который затем омоноличивается со сваями.

Рисунок 19 - Варианты усиления фундаментов трубчатыми задавливаемыми сваями:

- фундамент; 2 - металлические трубчатые сваи; 3 - арматурный каркасоголовка сваи; 4 - оголовок; 5 - железобетонная балка; 6 - стена; 7 - отверстия; 8 - наддомкратная балка; 9 - клинья; 10 -уголки; 11 - домкрат

Вдавливание свай осуществляется одновременно с двух сторон стены. Трубчатые элементы по мере вдавливания стыкуются между собой с помощью сварки. После вдавливания, демонтажа домкратов и упорных балок заполняются полости свай бетоном, устанавливаются арматура и опалубка оголовок свай и через отверстия в балке производится их бетонирование. В ряде случаев под ленточные фундаменты сваи можно подводить в один ряд. Работы выполняют из шурфов, откопанных до подошвы или ниже подошвы фундаментов (рисунок 19, б).

Для передачи нагрузки на сваю между домкратом и сваей устанавливается распределительная подушка.

Чтобы не снимать домкрата после каждого вдавливания, его приваривают к подушке. После вдавливания звена поршень домкрата поднимают вверх и сваю наращивают очередным звеном. При вдавливании необходимого количества звеньев сваю закрепляют с помощью уголков и клиньев, убирают домкрат и заполняют полость трубы бетоном, а шурф - бутобетоном.

В строительной практике часто используют составные вдавливаемые железобетонные сваи "Мега". Сваи состоят из трех типов секций; головной, рядовых и нижней (рисунок 20). Сначала отрывают шурф ниже подошвы фундамента и устанавливают нижнюю секцию. Затем на нее прикрепляют головную секцию и сверху ставят домкрат, упирающийся в специальный распределительный элемент. После вдавливания нижней секции домкрат демонтируют, снимают головную секцию, устанавливают рядовую секцию, затем головную и монтируют снова домкрат. После вдавливания установленной рядовой секции операцию повторяют до тех пор, пока конец сваи не достигнет проектной отметки. На последнем этапе промежуток между распределительным элементом и сваей расклинивают и заполняют бетоном. В случае передачи больших нагрузок сваи "Мега" делают выносными в два ряда (рисунок 20, б). При этом они связываются поперечными железобетонными балками.

Усиление буроинъекционными сваями позволяет производить работу без разработки котлованов, обнажения тела фундаментов и нарушения структуры грунта основания. Сущность этого способа заключается в устройстве под фундаментом жестких корневидных свай, передающих большую часть нагрузки на более плотные слои грунта. Сваи выполняют вертикальными или наклонными с помощью установок вращательного бурения, позволяющих пробуривать скважины через расположенные выше стены и фундаменты.

Рисунок 20 - Варианты усиления фундаментов железобетонными задавливаемыми сваями:

- фундамент; 2 - распределительный элемент; 3 - железобетонная балка; 4 - клинья; 5 - домкрат; 6, 7, 8 - соответственно головная, рядовая и нижняя секции свай

В скважины устанавливают арматурные каркасы и через инъекционные трубы нагнетают цементно-песчаный раствор или мелкозернистый бетон. Отличительной особенностью данного типа свай является их малый диаметр (127…190 мм) и относительно большое по сравнению к диаметру заглубление (более 100). Наибольшее распространение буроинъекционные сваи получили при усилении оснований и фундаментов реконструируемых и реставрируемых зданий. Сваи имеют значительную прочность на растяжение, поэтому их иногда используют в качестве анкеров в конструкциях, подверженных воздействию горизонтальных сил. Некоторые схемы усилений буроинъекционными сваями приведены на рисунке 21.

Усиление фундаментов способом «стена в грунте». Способ применяют при усилении фундаментов, расположенных вблизи фундаментов других зданий, на стесненной площадке, в сложных грунтовых условиях и т.п. Конструктивные решения усиления (глубокими стенами или прямоугольными столбами) зависят от причин усиления грунтовых условий, величины и характера нагрузок на фундамент, а также ряда других факторов

Рисунок 21 - Варианты усиления фундаментов буроинъекционными сваями:

- стена здания; 2 - подводимый потолок; 3 - буроинъекционные сваи; 4 - существующие сваи; 5 - распределительные плиты

Например, при устройстве глубоких выемок или подвалов вблизи существующего фундамента, усиление производится глубокими стенами, возводимыми между выемкой и фундаментом (рисунок 22, а). При этом повышение устойчивости стены достигается устройством анкерных креплений. Увеличение несущей способности столбчатых фундаментов может обеспечиваться возведением вокруг них глубоких стен или столбов прямоугольного сечения с двух- или четырехсторонним расположением (рисунок 22, б, в), а иногда в виде замкнутого короба (рисунок 22, г). Стены и столбы объединяются с фундаментом железобетонной обоймой. При необходимости одновременного увеличения устойчивости основания и усиления фундамента устраивают параллельные глубокие стены, объединенные стенами-перемычками меньшей глубины (рисунок 22, д). За счет заключения в жесткую обойму при таком решении значительно повышается устойчивость основания и одновременно усиливается фундамент.

Иногда усиление фундаментов производят комбинированными способами, одновременно устраивая «стены в грунте» и сваи, а также применяя различные способы закрепления грунтов и оснований.

Рисунок 22 - Схемы усиления фундаментов способом "стена в грунте":

- фундамент; 2 - стена в грунте или прямоугольный столб; 3 - выемка; 4 - анкер; 5 - стена в виде короба; 6 - глубокие ленты или стены; 7 - стены-перемычки

Усиление фундаментов опускными колодцами позволяет повысить несущую способность за счет заключения грунта основания в жесткую обойму. Колодец (круглый или прямоугольный в плане) опускают по мере выемки грунта по наружному периметру его стен. При этом основание фундамента сохраняется ненарушенным и заключается в обойму (рисунок 23). Размеры колодца в плане и его глубина определяются расчетом, при этом грунт внутри колодца рассматривается как тело в жесткой обойме.

Рисунок 23 - Усиление фундамента опускным колодцем: а - установка опускного колодца перед погружением; б- погружение колодца на проектную глубину; 1 - фундамент; 2 - колодец; 3 - котлован; 4 - обжимаемое основание

При усилении ростверков в случае большой степени их износа устраивают железобетонные обоймы. Возможная схема обоймы дана на рисунке 24, а. Арматура обоймы должна быть замкнутой по периметру ростверка.

По возможности ее следует делать предварительно напряженной. В случае оплывающих грунтов и наличия большого количества воды усиление производят с применением способа "стена в грунте" (рисунок 24, б). Иногда и под ростверк подводят дополнительные железобетонные ленты, усиливая тем самым ростверк и верхние участки свай (рисунок 24, в).

Рисунок 24 - Усиление ростверков свайных фундаментов: 1 - сваи; 2 - ростверк; 3 - железобетонная обойма; 4 - зацементированный щебень; 5 - замкнутое ограждение «стена в грунте»; 6 - железобетонная лента

Усиление свайных фундаментов в случае их недостаточной несущей способности можно выполнять задавливание дополнительных свай или наращивание существующих свай дополнительными секциями. Чаще всего устраивают дополнительные выносные сваи. Пример последнего дан на рисунке25.

Рисунок 25 - Вариант усиления свайных фундаментов выносными сваями: 1, 2 - сваи и ростверк фундамента; 3 - отверстие для пропуска горизонтальной балки; 4 - поперечная балка; 5 - продольная балка; 6 - новый ростверк; 7 - дополнительная выносная свая; 8 - плотный грунт

. На примере промышленного здания покажите подсчет объема работ и составление калькуляции затрат при ремонте рулонной кровли

Таблица 1

Ведомость определения номенклатуры и объёмов работ при ремонте рулонной кровли

Наименованиеработ

Состав работ

Эскизы, формулы и правила подсчёта

Единица измерения по ЕНиР

Количество

Примечание

1

Разборка кровли из рулонных и штучных материалов

72,06×19,385

100 м2

13,97

Сб20.Е20-1-107

2

Ремонт местами рулонного покрытия

1. Расчистка основания (при снятом покрытии). 2. Покрытие новым материалом. 3. Разогревание готовой мастики (при ремонте на горячей мастике)

72,06×19,385×2

1 м2 сменяемого слоя

2794

Сб20.Е20-1-108

 

Таблица 2

Калькуляция трудовых затрат при ремонте рулонной кровли

Виды работ

Ед. изм.

Объём работ (количество)

Норма на единицу измерения

Общая потребность

Состав звена рабочих по ЕНиР

Наименование машин

ЕНиР





Маш.-ч.

Чел.-ч.

Маш/см

Чел/дн




1

Разборка кровли из рулонных и штучных материалов

100 м2

13,97

-

8,8

-

15,367

Кровельщик 2р-1


Сб20.Е20-1-107

2

Ремонт местами рулонного покрытия

1 м2 сменяемого слоя

2794

-

0,16

-

55,08

Кровельщик 3р-1 2р-2


Сб20.Е20-1-108



Таблица 3

График производства работ при ремонте рулонной кровли

Виды работ

Объём работ

Трудоемкость,чел.-день

Потребныемеханизмы

Процент выполнения нормы

Продолжительность работ

Сменность

Число рабочихв смену

Состав звенарабочих по ЕНиР



Ед. изм.

Кол-во

По ЕНиР

Принятая

Наиме-нование

Кол-во маш.-см





Профессия, разряд

Кол-во

1

2

10

11

12

13

Разборка кровли из рулонных и штучных материалов

100 м2

13,97

15,367

14,0

-

-

108,9

3,5

2

2

Кровельщик 2р-1

1


2
















































2

Ремонт местами рулонного покрытия

1 м2

2794

55,88

54,0

-

-

103,4

9,0

2

3

Кровельщик 3р-1, 2р-2

3



















































СПИСОК ЛИТЕРАТУРЫ

1. Коновалов, П.А. Основания и фундаменты реконструируемых зданий / П.А. Коновалов. - М. :Стройиздат, 1988.

. Симагин, В.Г. Основания и фундаменты после перерыва в строительстве / В.Г. Симагин, П.А. Коновалов. - М. : Изд-во АСВ, 2004.

. Швец, В.Б. Усиление и реконструкция фундаментов / В.Б. Швец, В.И. Феклин, Л.К. Гинзбург. - М.:Стройиздат, 1985.

. ЕНиР N 7


Не нашли материал для своей работы?
Поможем написать уникальную работу
Без плагиата!
Без нейросетей!