Проектирование 2-х этажного здания кафе на 72 места площадью 319,7 м2

  • Вид работы:
    Дипломная (ВКР)
  • Предмет:
    Строительство
  • Язык:
    Русский
    ,
    Формат файла:
    MS Word
    177,44 kb
  • Опубликовано:
    2011-07-24
Вы можете узнать стоимость помощи в написании студенческой работы.
Помощь в написании работы, которую точно примут!

Проектирование 2-х этажного здания кафе на 72 места площадью 319,7 м2

1. Исходные данные


Схема планировочного решения:


Район строительства - г. Мурманск;

Нэт=3,3 м - высота этажа;

Н0=0,8 м - высота от уровня пола до низа окна;

Нц=0 м - высота цоколя (пол первого этажа заливаем по земле);

Нф=1,9×1,2=2,28 м - высота фундамента;

Нп=0,3 м - высота парапета;

Нок=1,76 м - высота окон (1,16 м - высота окон технических помещений и помещения персонала);

Нд=2,3 м - высота дверей;

2. Объемно-планировочное решение

Проектируемое общественное здание - кафе молодежное на 72 места. Здание имеет два этажа. Первый и второй этажи связаны двумя лестницами. Здание имеет два входа: главный вход и служебный вход через комнату для персонала. Подвал не предусмотрен.

Минимальная высота помещений до низа выступающих конструкций 2.7 м. Причем все помещения одного этажа имеют одинаковую высоту.

Помещения кафе подразделяются:

помещения для посетителей;

производственные;

складские;

административные и бытовые помещения для персонала.

Обслуживание посетителей производится в зале кафе на втором этаже через официантов. В этом зале находится буфет и зона приема пищи, оснащенная столами. Для совмещения приема пищи и досуга на первом этаже предусмотрен развлекательный зал - караоке.

На первом этажа предусмотрен гардероб для верхней одежды посетителей, рассчитанный на количество мест вместимости зала с коэффициентом к=1,1, учитывающим задержку посетителей в зале.

Санитарные узлы для посетителей предусмотрены со входами с вестибюля. Они представляют собой раздельные уборные для мужчин и женщин. Оснащены мойками и сушилками для рук.

Производственные помещения сгруппированы для удобства по двум этажам. Так на втором этаже находятся горячий цех, холодильные камеры, моечная. Эти помещения непроходные. Удобство объясняется тем, что персонал горячего цеха имеет прямой доступ к продуктам камер. Посуда, используемая в цехе сразу направляется в моечную, что благоприятствует выполнению санитарных норм. Кроме того, продукция горячего цеха сразу же направляется в зал с посетителями, что удобно для работы официантов.

На первом этаже сгруппированы кондитерский цех и кладовые, что также объясняет удобство доступа к продуктам. Цех оснащен моечным помещением, чтобы не переносить грязную посуду на второй этаж.

Также на первом этаже предусмотрены помещения персонала, что не мешает пребыванию посетителей в зале кафе.

Площади помещений подобраны по рекомендуемым площадям норм проектирования. Они приведены в следующей таблице. Коридоры в экспликации не указаны, но их площади проставлены в плане.

Таблица 1. Экспликация помещений

N по плану

Наименование

Площадь, м2.

1.

Тамбур

4,28

2.

Санузел

6,84

3.

Санузел

6,74

4.

Гардероб

11,96

5.

Контора

6,64

6.

Помещение персонала

7,72

7.

Кладовые

10,56

8.

Кондитерский цех

28,01

9.

Моечная

8,59

10.

Зал-караоке

73,93

11.

Вестибюль

30,57

12.

Зал - кафе

183,53

13.

Буфет

9,44

14.

Горячий цех

15.

Холодильные камеры

13,05

16.

Моечная

14,32


Конфигурация здания в плане:


Технико-экономические показатели по зданию:

. Площадь застройки: Пз = 319,7м2.

. Строительный объём: Ос = Пз × hзд = 319,7м2× 6,9 м = 2205,93м3.

. Рабочая площадь: Пр = 442,33 м2

. Общая площадь: По = 545,89 м2.

. Планировочный коэффициент k1 = Про = 442,33/545,89= 0,81 м22.

. Объёмный коэффициент k2 = Оср = 2205,93/442,33= 4,98м32.

Таблица 2. ТЭП по зданию

Наименование

Ед. изм.

Показатели

1.

Площадь застройки

м2

319,7

2.

Строительный объем

м3

2205,93

3.

Рабочая площадь

м2

442,33

4.

Общая площадь

м2

545,89

5.

Планировочный коэффициент

м22

0,81

6.

Объемный коэффициент

м32

4,98



3. Генеральный план участка

планировочный здание генеральный строительный

Участок в плане размерами 150 м ´ 200 м. Главный фасад ориентирован на юг. Кондитерский и горячий цеха, холодильные камеры ориентированы на север. Здание расположено в жилой зоне вблизи магистралей.

С западной стороны здания предусмотрена автостоянка для посетителей площадью 460 м2. Расстояние между кафе и стоянкой 6 м. Предусмотрены тротуары и дорожки, ведущие к зданию.

Разгрузочная зона находится с северо-восточной стороны здания. Она расположена у служебного входа в здание, через которое и ведется разгрузка товаров.

Минимальное расстояние от здания до магистрали 11,5 м.

Радиус скругления дорог 12 м.

Озеленение участка в виде газонов, лиственных деревьев рядовой и групповой посадки.

Технико-экономические показатели по генплану

. Площадь застройки: Sз = 4169,72м2.

. Площадь участка: Sуч = 150 × 200= 30000 м2.

. Плотность застройки: rз =Sз/Sуч ×100%=4169,72/30000 ×100%=14%

. Площадь дорог и площадок: Sд. и п. = 10985м2.

. Коэффициент использования территории kи.т.=(Sз+Sд. и п.)/Sуч=

=(4169,72+10985)/30000 = 0,51м22.

. Площадь озеленения Sоз = 14845,28м2.

7. Степень озеленения

Стоз = Sоз/Sуч 100%=14845,28/30000×100%=49,48%

Таблица 3 ТЭП по генплану

Наименование

Ед. изм.

Показатели

1.

Площадь застройки

м2

2.

Площадь участка

М2

30000

3.

Плотность застройки

%

14

4.

Площадь дорог и площадок

м2

10985

5.

Коэф. использования территории

м22

0,51

6.

Площадь озеленения

м2

14845,28

7.

Степень озеленения

%

49,48



4. Конструктивное решение здания

В данной работе использована каркасная конструктивная система. Основные несущие элементы: колонны и ригели. По конструктивной схеме - здание с продольным расположением ригелей. Класс здания по капитальности II (общественное здание массовой застройки), степень долговечности - II (50-100 лет), степень огнестойкости - 3Б (здание на основе металлического каркаса).

Конструктивные элементы

Фундамент:

Отдельно стоящий монолитный, выполненный из железобетона. Глубина заложения 2,28 м. Подколонники имеют размеры 900x900 мм, фундаментные подушки 1500x1500 мм. Толщина фундаментных подушек 300 мм. Фундаментные балки укладываются в продольном и поперечном направлениях под внешними стенами. Они имеют прямоугольное сечение 300x350 мм.

Колонны:

Металлические двутаврового сечения 400x260 мм, двухэтажные. Сетка колонн имеет размеры 6x6 м и 3x6 м.

Ригели:

Укладываются на металлические уголки, приваренные к колоннам, в продольном направлении каркаса.

Стены:

Наружные стены представляют собой вентилируемый фасад, состоящий из следующих слоев: гипсокартон (25 мм), металлический лист (1 мм), минерало-ватная плита (120 мм), воздушный зазор (50 мм), фасадные кассеты (15 мм). Внутренние перегородки из гипсокартона толщиной 100 мм.

Лестницы:

В данном проекте использованы двухмаршевые лестницы, которые опираются на ригели двутаврового сечения. Ширина марша 1500 мм.

Расчет лестницы:

=Hэт/Hст=3300/150=22 ступени. В марше 11 ступеней.

Перекрытия:

Система перекрытия состоит из ригелей и прогонов

Таблица. Спецификация металлических элементов

Марка

Размеры, мм

Кол-во.

Р!

5700x400x260

16

Р2

3000x400x260

1

ПР1

6000x240x240

18

ПР2

3000x240x240

34


Кровля:

Использовано плоское бесчердачное покрытие с внутренним водоотводом. На покрытии устроены две водоприемные воронки диаметром 250 мм, связанные с чугунными стояками, проходящими внутри здания. Покрытие невентилируемое, состоит из пароизоляции, которая укладывается на плиту перекрытия, теплоизоляции и гидроизоляции. В качестве пароизоляции используется 1 слой рубероида на битумной мастике. В качестве теплоизоляции используются минераловатные плиты повышенной жесткости. В качестве гидроизоляции применяются 2 слоя рулонного гидроизоляционного материала (изопласт). Уклон 0,5%.

Окна:

По конструктивному решению использованы окна в виде стеклопакетов с двойным остеклением. Материал переплета - пластик. В качестве светопрозрачного материала используется оконное листовое стекло.

На втором этаже здания выполнено двойноек заполнение из органического стекла зенитных фонарей.

Двери:

Все двери здания с глухими полотнами однопольные и двупольные. По способу открывания распашные.

Таблица 5. Ведомость заполнения оконных и дверных проемов

Марка

Размеры, мм

Кол-во.

ОК1

890x1160

ОК2

2680x1760

8




1790x2300

2


600x2000

3


900x2300

11




5. Отделка здания

 

5.1 Внутренняя отделка

Наименование помещения

Пол

Стены

Потолок

Тамбур, гардероб, контора, помещение персонала, вестибюль.

Линолеум

Гипсокартон, водоэмульсионная краска

Штукатурка

Санузлы, кондитерский и горячий цеха, моечные, помещения холодильных камер, кладовые.

Керамическая плитка

Гипсокартон, кафельная плитка, штукатурка

Штукатурка

Зал-кафе, зал - караоке, буфет.

Дощатый пол

Гипсокартон, водоэмульсионная краска

Навесной потолок


Экспликация полов

№ помещ по про-екту

Тип пола по про-екту

Схема пола

Элементы пола и их толщина

Площадь пола, м2

1

Линолеум

1 - плита перекрытия 200 мм; 2 - выравнивающая стяжка 3 мм; 3 - линолеум 5 мм

4,28


4




11,96

5




6,64

6




7,72

11




30,57






2

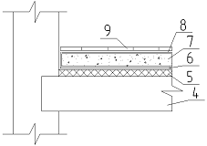
Полы из керамической плитки

4 - плита перекрытия 200 мм; 5 - звукоизоляция 24 мм; 6 - гидроизоляция из пленки (заводится на стены на 70 мм) 3 мм; 7 - выравнивающая стяжка 50 мм; 8 - клеящая мастика 3 мм; 9 - керамические плитки 13 мм

6,84


3




6,74

7




10,56

8




28,01

9




8,59

14




30,43

15




13,05

16




14,32







№ помещ по про-екту

Тип пола по про-екту

Схема пола

Элементы пола и их толщина

Площадь пола, м2

10

Дощатый пол

73,93


12




183,53

13




9,44

 

Наружная отделка:

Отделка стен выполнена в виде вентилируемого фасада с использованием фасадных кассет. Цоколь отделан керамогранитом более темного цвета, чем цвет стен. Козырек над входом изготовлен из поликарбоната. При главном входе в здание кафе выполнен тамбур.

6. Архитектурно-строительные расчеты

.1 Теплотехнический расчет наружной стены

Исходные данные:

Средняя расчетная температура внутреннего воздуха: tвн= 16 оС;

Населённый пункт - г. Мурманск.

Температура наиболее холодной пятидневки tн.о. = -27 оС;

Температура отопительного периода tо.п. = -3,2 оС;

Продолжительность отопительного периода nо= 272 сут.


Определение требуемого сопротивления теплопередаче Rотр:

Rотр исходя из условий энергосбережения определяются с учетом ГСОП (градусо-сутки отопительного периода)

ГСОП=(tв - tот.пер.)∙ zот.пер,

где tв - расчетная температура внутреннего воздуха, °С;от.пер. - средняя температура периода со среднесуточной температурой≤8 °С;от.пер - продолжительность, сут., периода со среднесуточной температурой t ≤8 °С;

ГСОП=(16 - (-3,2))∙ 272= 5280

Промежуточное значение Rотр определили интерполяцией:отр=2,784 м2∙С / Вт.

Rотр исходя из санитарно-гигиенических (комфортных) условий определяют по формуле:


где n - коэффициент, принимаемый в зависимости от положения наружной поверхности ограждающих конструкций по отношению к наружному воздуху;в - расчетная температура внутреннего воздуха, °С;н - расчетная зимняя температура наружного воздуха, °С, равная температуре наиболее холодной пятидневки, обеспеченностью 0.92;

∆ tн - нормативный температурный перепад между температурой

внутреннего воздуха и температурой на внутренней поверхности ограждающей конструкции, °С;

αв - коэффициент тепловосприятия, Вт/ м2 °С;

 м2∙С / Вт.

Из двух полученных значений Rотр выбираем большее и принимаем его за минимально допустимое, т.е.отр = 2,784 м2°С / Вт.

6.2 Определение фактического сопротивления теплопередаче Rоф для многослойной однородной конструкции стены

Rоф =1/αв + ∑δii + 1/αн,

где αв - коэффициент тепловосприятия (для наружных стен и покрытий αв = 8.7 Вт/ м2×°С);

δi - толщина отдельных слоев ограждающей конструкции, м;

λi - коэффициент теплопроводности материалов отдельных слоев, Вт/м×°С;

αн - коэффициент теплоотдачи (для наружных стен и для покрытий αн = 23 Вт/ м2×°С).

Rоф =1/8,7 + 0,025/0,21 + 0,001/58+ x/0,04 + 1/23 ³ Rотр= 2,78 м2×°С / Вт;

x ³ 0,1 м; Возьмем x=0,12 м.

Rоф =1/8,7 + 0,025/0,21 + 0,001/58+ 0,12/0,04 + 1/23 = 3,28м2×°С / Вт;

dст=0,025 + 0,001+ 0,12+ 0,05+0,015= 0,211 м = 211 мм.

Так как в состав многослойной ограждающей конструкции входит теплоизоляционный слой, то в этом случае необходимо проверить, не будет ли конденсироваться влага в утеплителе (в результате чего нарушаются его защитные свойства). Для этого необходимо построить график распределения температур внутри конструкции стены, а затем проверить, где будет находиться температура точки росы, при которой возможна конденсация влаги.

Для построения графика распределения температур необходимо определить температуру на внутренней и наружной поверхностях стены, а также на границах конструктивных слоев по формулам:

;

;

;

где τв - температура на внутренней поверхности стены, °С;

τx - температура на границах слоев, °С;

τн - температура на наружной поверхности стены, °С;

tв - температура внутреннего воздуха, °С;

tн - температура наиболее холодной пятидневки, обеспеченностью 0.92, °С;

Rоф - общее сопротивление теплопередаче (фактическое), м2×°С / Вт;

Rв - сопротивление тепловосприятию (Rв =1/αв), м2×°С / Вт;

Rx - сопротивление теплопередаче слоев, расположенных между внутренней поверхностью стены и рассматриваемой границей, м2×°С / Вт;

∑R - сумма сопротивлений всех слоев, м2×°С / Вт.

°С;

°С;

°С;

°С;

График распределения температур


При влажности 60% и при tв=16оСр=8,24оС - температура точки росы.

Т.е. плоскость возможной конденсации находится внутри минерально - ватной плиты, поэтому на путях водяных паров перед теплоизоляцией укладывают слой пароизоляции - слой полиэтиленовой пленки.

 

.2 Теплотехнический расчет покрытия


Необходимые данные: , Вт/м*0С

= 2,78м2*0С / Вт


1/8,7+0,2/2,04+0,003/0,17+Х/0,076+0,01/0,17>2,78

Принимаем х=0,2 м.

Делаем пересчет:

1/8,7+0,2/2,04+0,003/0,17+0,2/0,076+0,01/0,17>2,47

2,92м2*0С / Вт >2,47м2*0С / Вт

 

.3 Теплотехнический расчет световых проемов:


 определяем по разнице температур: 16+27=43 0С, принимаем по таблице СНиП =0,31 м2*0С / Вт.

Принимаем стеклопакеты с двойным остеклением, для которых  м2*0С / Вт.

Для витража на 2 этаже применяем заполнение из органического стекла двойное  м2*0С / Вт

6.4 Светотехнический расчет

Расчет выполняем согласно СНиП II-4-79.

Цель светотехнического расчета - определение требуемой площади световых проемов.

Световой район - I.

Площадь светового проёма находится по формуле:

,

где  - коэффициент естественной освещенности,

 - коэффициент запаса, определяется по таблице;

 - световая характеристика окон. Определяется по таблице 26 СНиП II-4-79.

- коэффициент, учитывающий затенение окон противостоящими зданиями. Определяется по таблице 27 СНиП II-4-79.

В данном случае  = 1;

 - общий коэффициент светопропускания;

;

- коэффициент светопропускания материала;

 - коэффициент, учитывающий потери света в переплетах светопроема

 и  определяются по таблице 28 СНиП II-4-79;

- коэффициент, учитывающий повышение  при боковом освещении благодаря свету, отражаемому от поверхностей помещения и от подстилающего слоя, прилегающего к зданию. Определяется по таблице 30 СНиП II-4-79.

 - средневзвешенный коэффициент отражения потолка, стен и пола;

;

 - коэффициенты отражения соответственно потолка, стен и пола;

= 0,7

= 0,6

= 0,35

 - площади потолка, стен и пола.

Расчет 10 помещения - зал-караоке:

=*m*C

m=1,2; C=1; =0,4*1,2*1=0,48

=1,2п=12150 мм, В =9080 мм (по плану), lп/В = 1,31=1760 мм, В/ h1 =5,16

ηо = 19

Кзд=1


τ1=0,8 τ2=0,65 τ3=1 τ4=1 τ5=1

τ0=0,8*0,65*1*1*1=0,52

Определение r1:

lp=B-1000 мм=9080-1000=8080 мм

lp/В=8080/9080=0,89

Sпотол=73,93м2, Sстен=19,22м2, Sпол=73,93м2

ρср = (0,7·73,93+ 0,6·19,22+ 0,3·73,93)/(73,93+ 19,22+73,93) = 0,51

r1 находим по таблице 30 СНиП II-4-79.

r1 = 5

2)

Площадь окна принятого = 4,7 м2.

Расчет 14 помещения - горячий цех:

=*m*C

m=1,2; C=1; =0,4*1,2*1=0,48

=1,2п=6700 мм, В =6081 мм (по плану), lп/В = 1,11=1760 мм, В/ h1 =3,45

ηо = 18

Кзд=1


τ1=0,8 τ2=0,65 τ3=1 τ4=1 τ5=1

τ0=0,8*0,65*1*1*1=0,52

Определение r1:

lp=B-1000 мм=6081-1000=5081 мм

lp/В=5081/6081=0,84

Sпотол=30,43м2, Sстен=20,77м2, Sпол=30,43м2

ρср = (0,7·30,43+ 0,6·20,77+ 0,3·30,43)/(30,43+ 20,77+30,43) = 0,52

r1 находим по таблице 30 СНиП II-4-79.

r1 = 3,1

м2

Площадь окна принятого = 4,7 м2.

Список использованной литературы


1.  Строительные нормы и правила: СНиП 2.01.01-82. Строительная климатология и геофизика. - Введ. 01.01.84. - М.: Госстрой СССР, 1984. - 109 с.

2.      Строительные нормы и правила: СНиП 23-01-99. Строительная климатология. - Введ. 01.01.2000. - М.: Госстрой России, 2000. - 67 с.

.        Строительные нормы и правила: СНиП II-3-79*. Строительная теплотехника. - Введ. 01.07.79. - М.: Госстрой СССР, 1979. - 25 с.

.        Строительные нормы и правила: СНиП II-4-79*. Искусственное освещение. - Введ. 01.07.79. - М.: Стройиздат, 1980. - 48 с.

.        Белановская Е.В. Основы функционального проектирования гражданских зданий.: Учеб. Пособие. - Череповец: ГОУ ВПО ЧГУ, 2006. - 192 с.

.        Великовский Л.Б. Архитектура гражданских и промышленных зданий. Т. 4. Общественные здания. - М: Стройиздат, 1977. - 108 с.

.        Коваленко Ю.Н., Шевченко В.П., Михайленко И.Д. Краткий справочник архитектора. - К.: Будивельник, 1972. - 703 с.

Похожие работы на - Проектирование 2-х этажного здания кафе на 72 места площадью 319,7 м2

 

Не нашли материал для своей работы?
Поможем написать уникальную работу
Без плагиата!
Без нейросетей!