Удаление и утилизация навоза

  • Вид работы:
    Дипломная (ВКР)
  • Предмет:
    Сельское хозяйство
  • Язык:
    Русский
    ,
    Формат файла:
    MS Word
    270,21 kb
  • Опубликовано:
    2011-11-19
Вы можете узнать стоимость помощи в написании студенческой работы.
Помощь в написании работы, которую точно примут!

Удаление и утилизация навоза

Содержание

 

Введение

. Разработка генерального плана животноводческой фермы

.1 Требования, предъявляемые к генеральному плану животноводческой фермы

.2 Требования к участку строительства животноводческой фермы

.3 Основные типа производственных помещений и определение потребности в них

.4 Расчет структуры стада

.5 Расчет хранения грубых кормов

.6 Расчет хранения сочных кормов

.7 Расчет навозохранилища

.8 Расчет потребности воды

.9 Благоустройство территории фермы

. Проектирование технологического удаления и утилизация навоза

.1      Общие сведения

.2      Механизация удаления навоза

.3 Типы установок по навозоудалению

.4      Выбираю скребковый транспортер

.4.1 Удаление навоза из животноводческих помещений

.4.2 Транспортировка навоза от животноводческих помещений к местам обработки

. Охрана окружающей среды

.1 Влияние сельского хозяйства

. Охрана труда

.1 Техника безопасности и производственная санитария

Выводы и предложения

Список использованной литературы

Введение

Требования к участку строительства животноводческой фермы. Расчет хранения грубых и сочных кормов. Механизация удаления и утилизации навоза. Основные типа производственных помещений и определение потребности в них. Типы установок по навозоудалению.

Одной из основных задач сельского хозяйства - это снабжение населения качественными и недорогими продуктами питания. Животноводство при этом играет немаловажную роль. Решение данной задачи может быть достигнуто на основе комплексной механизации и автоматизации всех отраслей сельского хозяйства при минимальных затратах сил, средств и энергии.

Курсовой проект закрепляет и систематизирует знания студента по общетехническим и специальным предметам, вырабатывает умение пользоваться пособиями, справочной и периодической литературой, также достижениями науки и передового опыта при решении конкретных практических задач.

Животноводческий комплекс - это предприятие, предназначенное для равномерного круглогодового производства высококачественной продукции на основе применения промышленной технологии научной организации труда, высокого уровня концентрации и специализации производства на базе комплексной механизации, автоматизации и поточной организации производственных процессов. Он состоит из зданий основного и вспомогательного назначения, расположенных на одном участке и объединенных единым процессом производства конечной или промежуточной продукции.

Животноводство является важнейшим звеном агропромышленного комплекса. Эта отрасль даёт человеку ценные продукты питания, а также сырьё для промышленности.

Снабжение населения качественными и не дорогими продуктами питания - одна из основных задач сельского хозяйства. Животноводство, при этом, играет немаловажную роль. Решение данной задачи может быть достигнуто на основе комплексной механизации и автоматизации всех отраслей сельского хозяйства при минимальных затратах сил, средств и энергии

Наличие ферм небольших размеров, особенно в скотоводстве, сохраниться и в дальнейшем. Это предопределяется проблемой кормовых угодий, а также необходимостью удовлетворения потребностей населения, например глубинных районов, в свежих животноводческих продуктах.

Основные направления прогрессивной технологии в животноводстве - это поточно-цеховая система содержания животных, групповое обслуживание их и внедрение новых приемов, обеспечивающих более полное использование генетического потенциала.

На создание и укрепление материально-технической базы животноводства государством выделяются крупные капиталовложения. Организация эффективного использования техники, производственная эксплуатация и квалифицированное техническое обслуживание её является в настоящее время самыми важными задачами инженерно-технической службы в сельском хозяйстве.

Специалисты хозяйств, механизаторы-животноводы должны хорошо знать зоотехнические требования, основы промышленной технологии, устройство машин и оборудования, правила монтажа, эксплуатации и обслуживания.

В данном проекте представлен комплекс по производству молока с разработкой технологической линии удаление и утилизация навоза.

Поголовье - 400 голов.

Главной отличительной чертой всякой промышленной технологии является резкое сокращение затрат труда и средств на производство единицы продукции. Поэтому промышленной можно назвать только такую технологию, которая обеспечивает производство продукции высокого качества с минимально возможными на данном этапе (или близкими к ним) удельными затратами труда и средств.

Перспектива и схема генерального плана с поголовьем на 400 голов с привязным содержанием приведен на листе 1. План схемы технологической линии удаления и утилизация навоза приведен на листе 2.

1. Разработка генерального плана животноводческой фермы

.1 Требования, предъявляемые к генеральному плану животноводческой фермы

Генеральный план животноводческой фермы является частью перспективного и организационно-хозяйственного плана и служит основным документом размещения, планировки и застройки участка фермы. Животноводческая ферма состоит из комплекса сооружений и помещений для размещения животных (коровников, телятников и др.) и зданий, связанных с обслуживанием и кормлением животных (кормоцеха, складских помещений, хранилища кормов и т.д.). Ферма должна оборудоваться устройствами для механизации трудоемких процессов, а также водопроводом и канализацией. Территория фермы должна иметь ограждение и барьер из зеленых насаждений и деревьев.

При составлении генерального плана нужно учитывать:

Удобство выполнения на участке производственных функций.

Наиболее рациональное размещение зданий и сооружений хозяйственно-производственного центра по отношению к окружающим с-х. угодьям, дорогам общего пользования.

Наиболее рациональное использование рельефа и площади участка, благоустройства, озеленения. Все здания и сооружения, входящие в состав животноводческих ферм, надо размещать так, чтобы были обеспечены наилучшие условия для правильной организации хозяйства, соблюдены экологическая безопасность и безопасность жизнедеятельности людей. Кроме того, необходимо учитывать возможность максимальной механизации трудоемких процессов с наименьшими затратами.

Для этого все постройки на территории фермы располагают компактно, что сокращает протяженность трубопроводов и внутрифермских дорог. Животноводческие здания, для которых требуется большой разрыв от жилых зданий, обычно располагают в глубине участка фермы и ниже кормовых построек с соблюдением между зданиями для содержания животных одного и того же разрыва, не менее 30 м.

Склад для грубых кормов, силосные траншеи целесообразно располагать вблизи проездов, связывающих с кормоцехом и в непосредственной близости от основной транспортной дороги, по которой доставляются корма на ферму.

Здания и сооружения ферм размещают по их функциональным особенностям, по возможности компактнее, но с соблюдением между ними и постройками жилой зоны санитарно-зооветеринарных и противопожарных разрывов.

Таблица 1 - Противопожарные разрывы

Степень огнестойкости  одного здания

Разрыв при степени огнестойкости другого здания, м


2

3

4,5

2  3  4,5  Склад грубых кормов

10 12 16 100

12 16 18 150

16 18 20 150


Необходимая минимальная величина санитарных разрывов между животноводческими и жилыми сооружениями составляет 150 м . В отдельных случаях, при использовании в качестве естественной преграды зеленых насаждений и при пересеченном рельефе, санитарно-зооветеринарные разрывы можно уменьшить с разрешения местных органов государственной санитарной инспекции.

Животноводческие здания рекомендуется располагать длинной осью с севера на юг с отклонением до 30 градусов для более равномерной внутренней освещенности, но по отношению к направлению господствующих ветров торцевой или угловой частью. Постоянно действующие выходы должны находиться с подветренной стороны здания. Выгульные дворы располагаются в непосредственной близости от коровников и огораживаются высоким плотным забором из расчета на каждую взрослую голову скота 15 м2, молодняка - 10 м2. Навозохранилища располагают ниже животноводческих зданий с подветренной стороны на расстоянии 60 м. Вокруг них устанавливают земляные отмостки и канавы для отвода поверхностных вод и производят посадку зеленых насаждений с наветренной стороны. Кормоцех располагают так, чтобы он имел удобную связь со складами кормов и располагался вблизи животноводческих помещений. Противопожарные емкости по 100 м3 с радиусом действия 100 м располагают вокруг строений. Места въезда и выезда на территорию фермы оборудуют дезбарьерами, ширина которых равна ширине проезда (прохода), длина 1...1,5 м и глубина 0,1...0,15 м.

1.2 Требования, предъявляемые к участку для строительства животноводческой фермы

Участок для строительства фермы следует выбирать на возвышенном сухом месте, не затапливаемый дождевыми и талыми водами, а также водами рек во время паводков, в удалении от заболоченных и малярийных мест. Уровень весенних вод при паводках должен быть не менее чем на 1-2 м ниже уровня самой низкой точки участка, а наивысший уровень грунтовых вод на участке не менее чем на 0,5 м ниже подошвы фундамента зданий или подвалов.

Пути сообщения с сельскохозяйственными угодьями, пастбищами и водопоями для животных должны быть наиболее короткими и удобными, но не должны пересекать жилую зону. Участок фермы следует располагать на краю селения с подветренной стороны. Если ферма расположена у реки, то ниже делают защиту водоема от загрязнения.

Рельеф участка должен быть ровным с небольшим уклоном 2-3% для стока поверхностных вод в сторону, противоположную жилой зоне. Желательно иметь общий уклон на юг для обеспечения хорошей инсоляции. Почвы должны обладать хорошей дренирующей способностью и иметь прочные грунты для обеспечения строительства оснований зданий с наименьшими затратами.

Участок занимаемый фермой отвечает практически всем перечисленным требованиям. Он располагается на возвышенном сухом месте с небольшим уклоном на юг, в километре от поселка. Глубина залегания грунтовых вод составляет 4-5 м. Участок расположен в лесной зоне, что уменьшает затраты на озеленение территории фермы и создает благоприятные условия работы. В 300 м от фермы проходит шоссейная дорога.

1.3 Обоснование типа производственных помещений и определение потребности в них

Тип производственных помещений и потребность в них зависят от вида и структуры поголовья животных, принятой системы содержания. В связи со специализацией и концентрацией в животноводстве предлагается размещать на комплексах, фермах животных разного вида. Это позволяет снизить затраты труда и себестоимость единицы продукции.

К производственным помещениям относятся: постройки для содержания животных, кормоцех, комбикормовый завод, молочная, бойня и другие. Производственные здания строят по типовым проектам или конструкторским разработкам. При выборе проекта необходимо предусмотреть выполнение следующих зоотехнических и инженерных требований: внедрение комплексной механизации и автоматизации технологических процессов; применение прогрессивной технологии содержания и кормления животных и птицы; соблюдение норм строительного проектирования по содержанию паров и пыли в воздухе, по его температуре и влажности, концентрации ядовитых газов; соответствий площади пола, объема помещений и размеров элементов зданий нормам для размещения поголовья животных или птицы; обеспечение противопожарных и санитарных норм; выполнение ремонта и дезинфекции всех элементов зданий; максимальное использование местных строительных материалов.

При проектировании производственных построек исходят из нормы площади помещения и фронта кормления на одно животное. Для помещений крупного рогатого скота нормы площади на одно животное при привязном содержании составляют 5...6 м2, на откорме 3,5...4 м2. Фронт кормления зависит от возраста и колеблется в пределах 0,5...1,0 м.

На молочной ферме или комплексе, кроме помещений для содержания коров, используют родильные отделения или цехи, помещения для ремонтного молодняка, карантинные помещения, а также телятники. Поэтому необходимо знать, какое поголовье животных должно находиться в указанных помещениях.

Производственные помещения для приготовления кормов, обработки и переработки продукции также подбирают по типовым проектам и наносят на генеральный план, как и помещения для содержания животных.

Планировка территории животноводческой фермы полностью соответствует нормативным требованиям. Четыре коровника и телятник расположены продольными осями с севера на юг, угловой частью по отношению к направлению господствующих ветров. Выгульные дворы находятся с подветренной стороны зданий. Навозохранилища расположены в 60 м от территории фермы с подветренной стороны. Склады кормов находится в непосредственной близости с животноводческими помещениями и имеют удобную связь между собой. При выборе местоположения кормоцеха учтено расположение производственных помещений и хранилищ кормов, что обеспечивает поточность производственного процесса с минимальными перемещениями кома.

1.4 Расчет структуры стада

В структуру стада, кроме дойных коров Моб = 400, входят еще коровы находящиеся в родильном отделении Мр, сухостойные коровы и ремонтный молодняк Мср, коровы находящиеся в карантине Мкр, и телята до 20-дневного возраста Мт.

Число коров находящихся в родильном отделении определим по формуле

Мр=0,18 Моб=0,18×400=72 кор.

Число сухостойных коров и ремонтного молодняка

Мср=0,15 Моб=0,15×400=60 кор.

Число коров находящиеся в карантине

Мкр=0,11 Моб=0,11×400=44 кор.

Число телят до 20-дневного возраста

Мт=0,08 Моб=0,08×400=32 тел.

1.5 Расчет хранилища грубых кормов

Потребность в кормах для комплексов и ферм подсчитывают, зная поголовье животных или птицы и кормовые рационы. Последние выбирают в зависимости от вида животных или птицы, их продуктивности и т.д. Плановый годовой удой на одну корову принимаем равный 4000 кг. Расчет суточной потребности в кормах производится по формуле

Pc=n1m1+n2m2+…+nnmn, (1.1)

где n1, n2,…,nn - суточная норма выдачи корма в расчете на одно животное для различных групп, кг; m1, m2, ..., mn - поголовье животных в группах.

Годовая потребность (кг) в кормах

Pг=Pс.лtлk+Pс.зtзk, (1.2)

где Рс.л и Рс.з - суточный расход кормов в летний и зимний периоды года, кг; tл и tз - продолжительность летнего и зимнего периодов использования данного вида корма, дн.; k - коэффициент, учитывающий потери кормов во время хранения и транспортировки (для концентрированных кормов k = 1,01; для корнеплодов, k = 1,03; для силоса, сенажа и сена k = 1,1; для зеленой _асссы k = 1,05).

Суточная потребность в сене в зимний период

Pcсз=4×400+4×192+5×50+4×42=3637 кг.

Суточная потребность в сене в летний период

Pcсл=6×100=600 кг.

Годовая потребность в сене

Pгс=3637×215×1,1+600×150×1,1=959150 кг.

Общая вместимость хранилища (м3) для хранения годовых запасов корма

V=Pг/ρ , (1,3)

где Рг - годовая потребность в кормах, кг; ρ - плотность корма при хранении, кг/м3.

Vc=959150/80=11989 м3.

Вместимость хранилища выбираем по таблице 2, равную 6000 м3.

Таблица 2- Примерная вместимость и коэффициент использования вместимости хранилищ

Вид хранилища

Vх, м3

έ

Траншея для хранения силоса и сенажа

500, 750, 1000, 1500, 2000, 3000, 4000, 5000, 6000

0,95...0,98

Хранилище (скирда)

1000, 1500, 2000, 2500, 3000, 4000

1,0

Траншея или бурт для корнеплодов

150, 200, 250, 300, 350, 400, 450, 500

0,85…0,90

Склад концентрированных кормов

500, 1000, 1500, 2000, 2500, 3000, 3500, 4000, 5000, 6000

0,65.. .0,75


Потребное число хранилищ

=V/(Vх έ), (1.4)

где Vx - вместимость хранилища, м3 (табл. 2); έ - коэффициент использования вместимости хранилища (см. табл. 3).

Таблица 3 - Рекомендуемые размеры хранилищ

Хранилище

Ширина, м

Высота, м

Силоса

12…18

2…3

Сенажа

6, 9, 12, 16

2,5…3

Сена

5…6

2…4

Соломы

5…6

4


Nc=11989/(6000×0,7)=2,8.

Окончательно принимаем количество хранилищ сена 3. Выбрав вместимость хранилища, ширину и высоту, определяют его длину (м)

=Vx/(Bh), (1.5)

где В - ширина хранилища, м (табл. 3.10); h - высота хранилища, м (см. табл. 2).

Lc=6000/(6×4)=250 м.

1.6 Расчет хранилища сочных кормов

Суточная потребность в сенаже в зимний период

Pcснз=4×400+4×192+10×150+4×126=4372 кг.

Годовая потребность в сенаже

Pгсн=4372 ×215×1,1=1033978 кг.

Общая вместимость хранилища (м3) для хранения годовых запасов корма

Vc=1033978/600=1723 м3.

Вместимость хранилища выбираем по таблице 1, равную 2000 м3. Потребное число хранилищ

Nc=1723/(2000×1)=0,86.

Окончательно принимаем количество хранилищ сенажа 1.

Выбрав вместимость хранилища, ширину и высоту, определяют его длину (м)

Lc=2000/(6×3)=111 м.

Суточная потребность в силосе в зимний период

Pcслз=23×400+23×192+23×126=16514 кг.

Годовая потребность в силосе

Pгсл=16514×215×1,1=3905561 кг.

Общая вместимость хранилища (м3) для хранения годовых запасов корма

Vc=3905561/900=4339м3.

Вместимость хранилища выбираем по таблице 2 , равную 5000 м3. Потребное число хранилищ

Nc=4339/(5000×1)=0,8.

Окончательно принимаем количество хранилищ силоса 1.

Выбрав вместимость хранилища, ширину и высоту, определяют его длину (м)

Lc=5000/(6×3)=277 м.

Суточная потребность в корнеплодах в зимний период

Pcкпз=6×400+6×192+2×50+6×126=4608 кг.

Годовая потребность в корнеплодах

Pгкп=4608×215×1,03=1020441 кг.

Общая вместимость хранилища (м3) для хранения годовых запасов корма

Vc=1020441/900=1134м3.

Вместимость хранилища выбираем по таблице 2, равную 700 м3. Потребное число хранилищ

Nc=1134/(700×1)=1,62.

Окончательно принимаем количество хранилищ корнеплода 2.

Выбрав вместимость хранилища, ширину и высоту, определяют его длину (м)

Lc=700/(6×3)=27 м.

Суточная потребность в концентратах в зимний период

Pскцз=3,3×400+3,3×192+3×50+3,3×42=2669,4 кг.

Суточная потребность в концентратах в летний период

Pcкцл=2,6×400+2,6×192+2×50+2,6×42=2166,8кг.

Годовая потребность в концентратах

Pгкц=2669,4×215×1,01+2166,8×150×1,01=907934,4 кг.

Общая вместимость хранилища (м3) для хранения годовых запасов корма

Vc=907934,4 /600=1513 м3.

Вместимость хранилища выбираем по таблице 2, равную 2000 м3. Потребное число хранилищ

Nc=1513/(2000×1)=0,7.

Окончательно принимаем количество хранилищ концентрированных кормов 1.

Запас концентрированных кормов на комплексе (ферме) должен составлять 16% потребного количества. Для его хранения строят склады, а в последнее время - механизированные склады, сблокированные с кормоцехом, что повышает эффективность применения механизации и уменьшает потери кормов. Общая вместимость (м3) складских помещений для концентрированных кормов

Vк= 16 Рг/100 ρ

Vк=16×907930/100×600=242 м3

Площадки временного хранения кормов строят с учетом имеющихся уклонов для стока поверхностных вод и удобных подъездных путей.

На территории фермы достаточно двух траншей размером 45x12x2,5 м3 для хранения сочных кормов. Траншеи обеспечиваю удобную загрузку и трамбовку при закладывании зеленой массы. А выгрузка производится грейдерным погрузчиком ПУ-0,5 в транспортную тележку 2ПТС-4М-785А.

1.7 Расчет навозохранилища

При каждой животноводческой ферме необходимо устраивать навозохранилище. В данном проекте навозохранилище находится в северо-восточной стороне от животноводческой фермы.

Для расчета емкости навозохранилища берется выход навоза от одного животного, (см таблицу 4) умножается на количество животных данного вида и суммируется выход навоза от каждой группы животных.

Таблица 4 - Примерный суточный выход навоза

Вид животных и птицы

Смесь мочи и кала, помет, кг

Вид животных и птицы

Смесь мочи и кала, помет, кг

Коровы

55,000

Свиньи на откорме

6,600

Нетели

27,000

Отъемыши

2,400

Молодняк

14,000

Лошади

20,000

Телята

7,500

Овцы

4,000

Хряки

11,100

Утки

0,423


Суточный выход навоза определяется по формуле

,                 (1.6)

где m1 - количество коров, m1 = 400 головы; q1 - суточный выход, навоза от одной коровы, q1 = 55 кг; m2 - количество молодняка крупного рогатого скота, m2 = 60 голов;; q3- суточный выход навоза, q3 -27 кг; q2 - суточный выход навоза, q2 = кг; m3 - количество телят КРС, m3 = 32 голов; q3 - суточный выход навоза от одного теленка, q3 = 7,5 кг.

= 400 х 55 + 60 х 27 + 32 х 7,5 = 23840кг.

Годовой выход навоза определяется по формуле

,        (1.7)

где Dк - количество дней привязного содержания, Dк =365 дней.

год = 23840 х 365 = 8701,6 т.

Объем навозохранилища определяется по формуле

   (1.8)

где - объемный вес навоза,  = 0,5 т/м.


Размеры навозохранилища определяются, исходя из объема допускаемой высоты складирования навоза, которая равна 1,5...2,5 м.

       (1.9)

где Fн - площадь навозохранилища, м2; h - высота складирования навоза, h =2,5 м.

Для хранения навоза достаточно двух навозохранилищ размерами 100x22x2 м3 и одного дополнительного размерами 90x12x2,5 м3.

1.8 Расчет потребности воды

Для выбора размеров и параметров сооружений системы водоснабжения необходимо знать характер и число потребителей, нормы суточного расхода воды.

Расход воды в течение суток, летом и зимой неравномерен: днем и летом больше, ночью и зимой меньше .

Среднесуточный расход воды (л/сут) на ферме определяется по формуле .

       (1.10)

где    qt - суточные нормы расхода воды одним типом потребителей, литров; mi - число потребителей, имеющих одинаковую норму расхода.

Принимаем следующие нормы расхода воды в расчете на одну голову для животных: коровы молочные - 100, молодняк крупного рогатого скота - 60, телята - 20. Тогда

т.cp =100*208+60*60+20*32=25040 л / сут

Для расчета водопроводных сооружений и оборудования необходимо знать максимальные расходы воды: суточный, часовой, секундный. Максимальный суточный расход воды равен .

,     (1.11)

где kcyт - коэффициент суточной неравномерности потребления (принимаем kcyт=1,3) [6].

 

.

Средний часовой расход воды [9]

.        (1.12)

.

Максимальный часовой расход воды

.  (1.13)

где kч - коэффициент часовой неравномерности потребления (принимаем kч = 2,5) .

.

Правильный выбор kcyт и kч имеет важное значение. При повышенных коэффициентах система водоснабжения обходится дорого, а при пониженных - возникают перебои в подаче воды .

Секундный расход воды .

,    (1.14)


По максимальному суточному расходу выбирают вместимость водонапорных баков и резервуаров, по максимальному часовому расходу водоподъемное оборудование, а по секундному расходу - диаметр трубы.

На ферме водозабор производится из озера, с динамическим уровнем 60 м3, дебитом 15 м3/ч. Вода подается в водонапорную башню вместимостью V=40 м3. Скважина полностью обеспечивает потребности фермы в питьевой воде высокого качества.

1.9 Благоустройство территории фермы

Внешние и внутренние благоустройства территории животноводческой фермы являются одним из важных элементов строительства.

Строительство хороших дорог, посадка деревьев и кустарников, строительство ограждений, выполнение освещения, улучшение бытовых условий и т.д. должно соответствовать правильной организации участка животноводческой фермы.

Главное в благоустройстве животноводческой фермы являются планировка территории, строительство дорог с применением укрепляющих добавок во избежание размывания и порчи дорог тракторами и автомобилями в сырую и дождливую погоду.

Существенным элементом благоустройства фермы является озеленение. Территория животноводческой фермы со всех сторон обсаживается деревьями и кустарниками, что придает ей благоприятный вид. Наличие достаточного освещения в помещениях для содержания животных способствует повышению производительности труда, уменьшает случай травматизма, улучшает условия содержания животных и создает благоприятные условия для работы обслуживающего персонала.

Для дезинфекции транспорта и посетителей необходимы дезбарьеры и санпропускники, расположенные в воротах главного входа и въезда на территорию животноводческой фермы. Для обогрева дезбарьеров и их дезсредств в холодную погоду используются электронагревательные батареи.

На животноводческой ферме проложены дороги с гравийным покрытием, предусмотрено хорошее освещение, также предусмотрены бытовые помещения: гардеробные, умывальные, душевые, туалеты. Для улучшения благоустройства предлагается асфальтирование дорог, озеленение газонов, также необходимо провести работы по ремонту зданий.

2. Проектирование технологической линии удаление и утилизация навоза

.1 Общие сведения

Ежегодно на животноводческих фермах и комплексах страны скапливается громадное количество навоза (до 1 млрд. т). Своевременное его удаление и использование - важная народно-хозяйственная проблема, значение которой еще более возрастает в связи с укрупнением животноводческих ферм, совершенствованием их технической оснащенности, повышением требований к санитарно-гигиеническим условиям содержания животных и к качеству производимых продуктов. При этом еще до недавнего прошлого вопросы удаления и использования навоза рассматривались лишь с точки зрения получения большого количества органических удобрений.

При внедрении промышленных методов получения животноводческой продукции, выход навоза на крупных животноводческих комплексах резко увеличивается, что создает опасность загрязнения окружающей среды. Так, по свидетельству ученых, откормочное предприятие мощностью в 100 тыс. голов скота по количеству образующихся отходов эквивалентно городу с населением более 1 млн. человек. Поэтому в настоящее время проблему удаления и использования навоза следует рассматривать, принимая во внимание в первую очередь вопросы защиты окружающей среды, вероятность заболевания животных, а также значение навоза как удобрения. Кроме того, продолжаются работы над использованием навоза для производства кормов и кормовых добавок.

Проблема механизации удаления и использования навоза включает в себя три больших вопроса: удаление навоза из животноводческих помещений и транспортировка его в хранилища; складирование, обеззараживание и хранение навоза; использование навоза. Эти вопросы взаимосвязаны, поэтому, решая один из них, необходимо в такой же степени решать и другие.

Изучение передового опыта проектирования и эксплуатации животноводческих ферм и комплексов показало, что в зависимости от консистенции навоза, технологии его использования, способа содержания животных меняются и технические средства для очистки помещений и площадок, конструкция и размеры навозохранилищ, способы обезвоживания навоза.

Навоз представляет собой сложную полидисперсную многофазную среду, включающую в себя твердые, жидкие и газообразные вещества. Основную часть навоза составляет влага.

Твердый навоз имеет влажность до 81 %, полужидкий (пастообразный) - 82 ... 88 %, жидкий (бесподстилочный) навоз - 88 ... 93 % на фермах крупного рогатого скота и до 97 % на свинооткормочных фермах. Состояние навоза на фермах крупного рогатого скота зависит от способа содержания животных, наличия подстилки, способа удаления навоза и некоторых других факторов.

Газообразные вещества образуются во время хранения как твердого, так и жидкого навоза. Газообразование усиливается при повышении температуры, увеличении сроков хранения, а также количества подстилки и остатков кормов в навозе. Выделяющийся при анаэробном брожении навоза газ содержит 55 ... 65 % метана, 35 ... 45 % углекислоты, 3 % азота, 1 % водорода, 0 ... 1 % кислорода, 0 ... 1 % сероводорода и некоторое количество аммиака. Этот газ опасен для людей и животных. Возможность отравления создается летом, а также при длительном хранении навоза под щелевыми полами и во время выпуска его из каналов. Поэтому в таких местах надо хорошо организовать вентиляцию. Уже при содержании сероводорода в воздухе - 0,03 % появляются первые признаки отравления. Безопасной считается концентрация не выше 0,0002 %. Животные и люди могут переносить содержание углекислоты в воздухе до 2 %. При 4 % появляются первые признаки отравления, затем наступает потеря сознания.

На большинство показателей, характеризующих физико-механические свойства навоза, влияет влажность навоза, которая, в свою очередь, зависит от первоначальной влажности экскрементов, вида и количества применяемой подстилки, от ее первоначальной влажности, принятой системы уборки навоза и других факторов.

Объемная масса навоза зависит от размера его частиц и соотношения различных фракций, влажности, вида, количества и качества подстилочного материала, от степени разложения навоза и многих других факторов. Объемная масса навоза колеблется в довольно широких пределах: 400 ... 1010 кг/м3. При беспривязной системе содержания скота на глубокой несменяемой подстилке объемная масса ненарушенного навоза находится в пределах 880 ... 980 кг/м3.

При эксплуатации машин и механизмов для удаления навоза большое значение имеют коэффициенты трения скольжения, покоя, а также липкость навоза. Липкость характеризуется значением усилия (г/см2), необходимого для отрывания пластины от налипшей на нее массы навоза при определенных и постоянных условиях: начальном давлении на пластину, времени контакта и др. Способность навоза к налипанию на рабочие органы машин обусловлена его видом и состоянием поверхности.

Разрабатывая технологическую схему удаления навоза, инженер должен иметь представление об этих показателях.

Большое значение имеет температура замерзания навоза. Моча коров замерзает при температуре -2,85 °С, смесь навоза с мочой при -2,08 °С, твердые выделения при -1,1 °С. Плотный соломистый навоз примерзает к металлическим поверхностям рабочих органов при -2...-2,2 °С. Навоз влажностью 92% и выше замерзает при -0,41 °С.

Навоз - наилучшее органическое удобрение для полей, потому что имеет в своем составе значительное количество органических и минеральных веществ, легко усваиваемых растениями. Например, навоз крупного рогатого скота состоит из органических веществ 20,3 %, азота 0,45, фосфора 0,23, калия 0,50 и извести 0,40 %. В зависимости от условий содержания скота количество органических и минеральных веществ в свежем навозе изменяется в 2 ... 4 раза. Общее количество этих веществ в жидком навозе практически постоянно.

При продолжительном хранении жидкого навоза часть органических и минеральных веществ теряется. Потери в значительной мере зависят от способа хранения. Так, из жижи, хранящейся в жижесборниках в течение первого месяца, теряется до 6 %, а за год 10 ... 15 % азота. Периодическое перемешивание навоза при длительном хранении увеличивает потери азота до 20 ... 25 %.

2.2 Механизация удаления навоза и типы установок

Механизация удаления навоза из животноводческих помещений может быть осуществлена механическим, гидравлическим и пневматическим способами. Классификация устройств для удаления навоза из помещений приведена на рисунке 4.2.1.

Мобильные средства (бульдозерная лопата, навешиваемая на трактор или самоходное шасси) применяются при удалении твердого навоза из помещений, выгульных дворов и площадок.

Стойло дли скота при такой системе удаления навоза необходимо удлинять по сравнению с обычным на 5 см. Глубина навозной канавки-прохода должна составлять 20 ... 25 см. При меньшей глубине ее или при полужидком навозе, получаемом из-за недостатка подстилки или плохого ее качества, он попадает на край стойла. Для сгребания навоза обратно в канавку подсобный рабочий при достаточном количестве хорошей подстилки затрачивает на 1 т навоза 4 ... 8 мин, если же подстилки мало или она плохого качества - до 12 мин. При использовании мобильных средств следует устраивать жижесборники.

Мобильные агрегаты удаляют из коровника 1 т навоза за 10 ... 25 мин, при этом затраты ручного труда составляют 0,5 ... 1,2 мин в расчете на корову в сутки.

На затраты рабочего времени влияют высота стенки навозной канавки-прохода, количество и качество подстилки, навыки рабочего, организация труда и др.

Один из недостатков работы мобильных средств механизации - большее загрязнение навозного прохода, чем при работе стационарных установок. Загрязнение можно значительно снизить за счет достаточного количества хорошей подстилки и высокой культуры труда. Чтобы холодный воздух не проникал в коровник при удалении навоза зимой, необходимо создавать воздушные тепловые завесы.

Загрязнение воздуха коровника выхлопными газами трактора наблюдается при запуске или работе трактора с не отрегулированным двигателем и при плохой вентиляции. Поэтому надо ставить соответствующие нейтрализаторы. К шуму трактора коровы быстро привыкают, и он их мало беспокоит.

Рис. 2.1 Классификация устройств для удаления навоза из помещений.

Стационарные установки включают в себя скребковые транспортеры кругового и возвратно-поступательного движения, а также канатно-скреперные установки и подвесные дороги.

Скребковый транспортер типа ТСН (рис. 2.2) состоит из горизонтального и наклонного транспортеров, имеющих индивидуальные приводы и работающих независимо друг от друга.

Горизонтальный транспортер, устанавливаемый в навозном канале животноводческого помещения, включает в себя шарнирную разборную цепь с прикрепленными к ней скребками, поворотные звездочки и натяжное устройство. Цепь приводится в движение от электродвигателя мощностью 4 кВт через клиноременную передачу и редуктор.

2.3 Типы уборочных транспортеров

Рис. 2.2. Скребковый транспортер ТСН-3,0Б

- поворотное устройство; 2 - горизонтальный транспортер; 3 - монтажное устройство горизонтального транспортера; 4 - привод горизонтального транспортера; 5 - наклонный транспортер; 6 - натяжное устройство наклонного транспортера; 7 - привод наклонного транспортера.

Наклонный транспортер имеет два канала, в которых движется замкнутая цепь со скребками. Он грузит навоз в транспортные средства и обычно устанавливается в торце животноводческого помещения, в тамбуре. Под верхним концом транспортера располагают тракторную тележку.

При работе транспортера ТСН навоз, сброшенный в канал, передвигается в нижний поворотный сектор наклонного транспортера и подается им в тракторную прицепную тележку.

В процессе эксплуатации регулируют натяжение цепи транспортера. Слабо натянутая цепь соскакивает с поворотных и ведущей звездочек, находит на ведущую звездочку, вызывая неравномерное движение (рывки) и преждевременный выход транспортера из строя. Натягивают цепь специальным устройством. Транспортер марки ТСН-160 имеет автоматическое натяжное устройство.

Нельзя сбрасывать навоз на неподвижную ветвь транспортера, так как в этом случае при пуске транспортера резко перегружаются цепь и механизмы привода. Кроме того, могут подниматься скребки транспортера, что значительно снижает его производительность и ухудшает качество работы.

Особое внимание уделяют обслуживанию наклонного транспортера, находящегося за пределами животноводческого помещения и работающего в более тяжелых условиях, особенно при низких температурах. Сначала включают наклонный транспортер, затем горизонтальный. Выключают транспортеры в обратном порядке.

Штанговые скребковые транспортеры возвратно-поступательного движения используют для удаления навоза из коровников, свинарников, птичников. Часто аналогичные транспортеры применяют для раздачи кормов. Эти транспортеры менее металлоемки и более надежны по сравнению с транспортерами кругового движения. Шарнирное крепление скребка облегчает его замену и позволяет при перестановке упоров изменять направление движения транспортируемой массы. Гибкая связь между штангами дает возможность устанавливать их в различных плоскостях и использовать каждую штангу со скребками для различных технологических операций. Благодаря возвратно-поступательному движению скребков транспортируемый материал подается к месту назначения с минимальным перемещением. В результате значительно уменьшаются нагрузки на рабочие органы транспортера и сокращается продолжительность его работы.

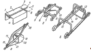
Рис. 2.3. Типы скреперов:

а - короб; б - стрела; в - каретка; г - лопата; 1 - направляющая; 2 - короб; 3 - шарнир; 4 - тяговый орган; 5 - стенка; 6 - тяга; 7 - упор; 8 - тяговый крюк; 9 - опорный ролик; 10 - рама; - поворотная лопасть;12 - шарнир; 13 - скребок; 14 - рама; 5 - тяговый крюк; 16 - зажим; 17 - тяга; 18 - трос; 19 - шарнир; 20 - скребок; 21 - цепь.

Скреперные установки, движущиеся также возвратно-поступательно, применяют для удаления навоза из помещений, транспортировки его к навозоприемникам (на свиноводческих фермах) и одновременной погрузки в транспортные средства (на фермах крупного рогатого скота). Такие установки просты в изготовлении, надежны в работе, легко приспосабливаются к неровностям дна канала, менее металло- и энергоемки. Недостатки установок - недолговечность и трудность соединения троса при разрыве, сложность монтажа наклонной части навозных каналов.

Установка состоит из скреперов, троса, приводного и натяжного устройства. Скреперы устанавливают в навозные каналы шириной 40 ... 70 см и глубиной до 50 см на направляющих из уголковой стали, проложенных по дну канала.

Приводное устройство состоит из электродвигателя, редуктора и тросовой лебедки.

В навозных каналах протягивают трос диаметром 10 ... 15 мм, к которому крепят скреперы. Для уборки навоза применяют скреперы различных конструкций (рис. 2.3).

Наиболее распространены скреперы типа "стрела" (в установках УС) и типа "каретка" (в установках ТС-1 и УВН-800).

Скреперные установки используют при уборке навоза из помещений для привязного содержания крупного рогатого скота (УС-10, УС-15 и УС-250) и при уборке бесподстилочного навоза из под щелевых полов в свинарниках (УС-12 и УСП-12).

Рис. 2.4. Скреперная установка УС-15: 1 - привод; 2 - поворотное устройство; 3 - ползун; 4 - скребок; 6 - цепь

Установка УС-15 (рис. 2.4) стационарная возвратно-поступательного движения, обслуживает 100 коров и комплектуется двумя скреперами для уборки навоза по двум открытым навозным проходам шириной 1,8 ... 3,0 м и высотой 0,2 м. Она выпускается в трех исполнениях в зависимости от места выгрузки навоза в один конец, в оба конца или посередине животноводческого помещения. Максимальная производительность установки составляет 1,5 т/ч при влажности навоза 88 %. Рабочие органы приводятся в движение от электродвигателя мощностью 3 кВт.

Установка состоит из следующих основных частей привода с механизмом реверсирования, рабочих органов (скреперов, дельта-скребков) с натяжными устройствами, поворотных устройств, цепи и щита управления. Дельта-скребок представляет собой упрощенный скрепер типа "стрела". Скребки скрепера смонтированы на шарнирах и выполнены составными: каждый из них имеет неподвижную и более узкую подвижную части, что позволяет раздвигать скребки на ширину до 3 м. На конце скребков находятся резиновые чистики, в процессе работы плотно упирающиеся в стенки прохода. По мере износа чистики выдвигают или поворачивают другой стороной.

Установка состоит из следующих основных частей привода с механизмом реверсирования, рабочих органов (скреперов, дельта-скребков) с натяжными устройствами, поворотных устройств, цепи и щита управления. Дельта-скребок представляет собой упрощенный скрепер типа "стрела". Скребки скрепера смонтированы на шарнирах и выполнены составными: каждый из них имеет неподвижную и более узкую подвижную части, что позволяет раздвигать скребки на ширину до 3 м. На конце скребков находятся резиновые чистики, в процессе работы плотно упирающиеся в стенки прохода. По мере износа чистики выдвигают или поворачивают другой стороной.

Установка УС-200 предназначена для обслуживания 200 коров, имеет длину контура 250 м и оборудована четырьмя скреперами. Установка на 90 % унифицирована с установкой УС-15 и работает по такому же принципу.

Скреперная установка УСП-12 (рис. 2.5) оборудована тремя скреперами, закрепленными на рабочей ветви. Холостая ветвь расположена над рабочей на поддерживающих роликах. Для нормальной работы ветвей установка оборудована автоматическим натяжным устройством. Длина контура установки 480 м, производительность 12 т/ч, мощность, электродвигателя 4 кВт.

Рис. 2.5. Схема установки УСП-12: 1 - приводная станция; 2 - шкаф управления; 3 - натяжное устройство; 4 - навозоприемник; 5 - скрепер; 6 - свинарник; 7 - поперечный канал; 8 - поддерживающий ролик; 9 - полоса; 10 - тяговая цепь; 11 - обводной блок; 12 - скреперные установки для удаления навоза из свинарников.

На двух рабочих ветвях установки УС-12 смонтированы 8 скреперов и 4 натяжных устройства. Во время работы на каждой ветви, движущейся возвратно-поступательно по каналам свинарника, скреперы работают попарно. Производительность установки 12 т/ч, мощность электродвигателя - 3 кВт,

Установку ТС-1 применяют в свинарниках-откормочниках в сочетании со щелевыми полами.

В навозном канале, перекрытом щелевыми полами, размещают несколько скреперов так, чтобы расстояние между ними не превышало рабочего хода. Один скрепер передает навоз к другому за счет взаимного перекрытия их хода. Обычно скреперные установки ТС-1 транспортируют навоз к сборнику и работают с ковшовыми погрузчиками НПК-30 и фекальным насосом.

В канале асимметричного сечения стенка со стороны стойл почти вертикальная, а противоположная - пологая (30 ... 60°), так как на нее навоз почти не попадает. Дно лотка должно быть ровным и гладким. Лучше всего для этих целей использовать асбестоцементные трубы длиной 4 ... 10 м, разрезая их вдоль. Внутреннюю поверхность труб рекомендуется зачищать, чтобы уменьшить трение навоза о дно.

Дно лотков в месте выхода имеет обратный уклон, образуя порожек высотой до 9 см. При большом уклоне после открытия заслонки жидкий навоз быстро вытекает, а густой остается в лотке, при малом уклоне навоз плохо течет по лотку. Поэтому уклон должен составлять примерно 0,5 ... 1,5 %. При большой длине лотка (больше 20 ... 30 м) его рекомендуется перегораживать двумя заслонками.

Основной недостаток лотково-отстойной системы навозоудаления - сильное выделение сероводорода при спуске навоза. Поэтому применение такой системы, несмотря на то, что технически она работает удовлетворительно, ограничено.

В комбинированной (рециркуляционно шлюзовой) системе при опорожнении лотков осуществляется смыв навоза жижей.

Самотечная (самосплавная) система основана на использовании вязко-пластических свойств жидкого навоза. Толщина слоя навоза по длине канала увеличивается в сторону, противоположную его движению. Подпор, создаваемый разностью толщины слоя, является движущей силой, которая перемещает навоз по каналу.

При непрерывном самотечном удалении навоза в канале нет шибера, дно канала не имеет уклона или, наоборот, поднимается на 1 ... 2° в сторону движения навоза. Если канал горизонтальный, в конце его делают выступ высотой 10 ... 15 см для поддержания постоянного уровня скапливающейся на дне канала жидкости. Выступ представляет собой влагонепроницаемую стенку или металлическую шиберную заслонку. Очищают канал и промывают по мере необходимости.

От правильного выбора глубины h канала зависит состояние подпора, необходимого для непрерывного стекания навоза. Для подсчета h (м) можно воспользоваться следующей формулой;

=kl + 0,2, (3.1)

где k - уклон поверхности слоя навоза; l - длина канала, м; 0,2 - высота слоя навоза на выходе из канала, м.

На практике принимают следующие размеры канала; длина 23 ... 50 м, ширина 0,8 м и более, минимальная глубина р,6 м. При этом чем гуще навоз, тем короче и шире должен быть канал.

Гравитационная система в основном аналогична самосплавной, однако имеет и свои особенности. Навозный канал в этом случае имеет сечение 150x180 см и может быть практически любой длины (до 80 ... 100 м). Дно канала чистое и абсолютно горизонтальное. Перед выходом в поперечный канал коровника дно каждого продольного навозного канала перекрывается переливным порожком высотой 50 см.

Все самосплавные способы удаления навоза из помещений особенно эффективны при привязном и боксовом способах содержания животных без подстилки, на теплых керамзито-бетонных полах или с применением резиновых ковриков.

2.4 Выбираю скреперный транспортер

.4.1 Удаление навоза из животноводческих помещений

Навоз из животноводческих помещений удаляют периодически или непрерывно. Периодическое удаление предполагает применение механических средств (транспортеров, скреперов и др.) или отстойно-лотковой (шиберной), рециркуляционной и лотково-смывной системы. Непрерывная уборка навоза основана на использовании самотечной системы удаления навоза под действием гравитационных сил.

Выбор способа и системы удаления навоза зависит от специализации и поголовья хозяйства, места его расположения, наличия водных и энергетических ресурсов, применяемых кормов, подстилки и других факторов. животноводческий ферма навоз корм

Механическое удаление навоза следует проектировать:

на фермах крупного рогатого скота при стойлово-пастбищном с применением подстилки, в родильных отделениях, профилакториях, при хранении навоза под полом помещения, на открытых откормочных площадках (в обоснованных случаях допускается установка скреперных механизмов в каналах, перекрытых решетками);

Размеры и уклоны каналов определяются конструктивными параметрами механических средств уборки навоза. К стационарным механизированным средствам удаления навоза относятся скреперные установки УС-10, УС-12, УСП-12, УС-15, УС-250, УС-Ф-170, ТС-1-2, ТС-1-5,

Выбираем скреперную установку УС-15


Qсут=∑qimi , ( 3.2)

где qi - суточный выход навоза от одного животного, кг; mi - поголовье животных в данной группе.

= 400 х 55 + 50 х 14 + 74 х 7,5 = 23840кг.

Суточный выход (кг) жидкого навоза от одного животного вычисляют по формуле

qi=qэ+В+Всм, (3.3)

где qэ - суточный выход экскрементов (кал, моча) от одного животного, кг; В - количество технологической воды в расчете на одно животное в сутки, кг (В = 2…5 кг); Всм - количество смывной воды в расчете на одно животное в сутки, кг (в смывных системах навозоудаления Bсм = 5…15 кг).

qi = 55+3+5=63 (3.4)

Таблица 3 - Свойства навоза (средние показатели)

  Вид животного

Выход навоза

Общее количество навоза, кг

Влажность, %

Плотность, кг/м3

Вязкость, Пас

Сопротивление сдвигу, Па


кал, кг

моча, кг

вода, кг

подстилка, кг






Подстилочный навоз (твердый)

Крупный рогатый скот: быки-производители

 30

 10

 

 5

 45

 88

 700 -800

2,3 -2,5

 48 -60

коровы

35

20

-

5

60

88

690 -730

2,3 -2,5

48 -60

телята до 6 мес.

5

2,5

-

3

10,5

76

700 -720

-

-

телята 6…12 мес.

10

4

-

3

17

76

700 -720

-

-

телята 12…18 мес.

20

7

-

3

30

76

700 -740

-

-

телята на откорме более 12 мес.

23

12

-

3

38

76

700 -760

-

-

Свиньи: хряки

 5

 6,1

 -

 3

 14,1

 89

 700 -900

 28

 8

свиноматки

5

7

-

6

18

90

800 -900

0,13

0,96

свиньи на откорме

2,4

2,7

-

2

7,1

87

700 -800

64

15

Овцы

2,5

-

-

1

3,5


900 -1250



Куры

0,15

-

-

-

0,15

89

700 -1005

1 - 0,3


Жидкий навоз

Коровы

35

20

25 -50

-

80 - 105

84 - 92

1150 -1005

9,4 - 1,3

190 - 15

Телята 6 мес.

10

4

10 - 20

-

24 - 34

84 - 92

1150 -1005

9,4 - 1,3

190 - 15

Телята свыше 12 мес.

20

7

20 - 40

-

47 - 67

84 - 92

1150 -1005

9,4 - 1,3

190 - 15

Свиньи на откорме

5

6

10 - 20

-

21 - 31

84 - 92

1150 -1005

4 - 0,1

32 - 0,42


Подача (т/ч) скребкового транспортера

Qтр = 3600bhVρнφ,

где b - длина скребка, м; h - высота скребка, м; V - средняя скорость скребка, м/с; рн - плотность навоза (см таблицу ), кг/м3; φ - коэффициент заполнения межскребкового пространства (φ = 0,5...0,6).

Qтр =3600*0,3*0,0 4*0,2*0,69*0,5= 2,9 кг/с

Продолжительность (ч) работы транспортера в течение суток

Тсут = Qсут/ (1000Qтр). (3.5)

Тсут =23840/(1000*2,9)=8,2 ч

Число включения транспортера в сутки зависит от суточного выхода навоза и вместимости (м3) навозного канала, которую определяют по формуле

Wн.к=h/b/Lφ/ρн, (3.6)

где h - высота навозного канала, м; b/ - ширина навозного канала, м; L - длина навозного канала, м; φ/ - коэффициент заполнения навозного канала (φ/ = 0,5…0,6).

Wн.к = 0,2*0,35*50*0,6*0,69=1,4 м3

Число включений транспортера в сутки

nвк= Qсут/ (1000Wн.к). (3.7)

nвк=23840/(1000*1,4)= 17 (раз)

Если навоз сдвинут скотниками в навозный канал до включения транспортера, то цепь транспортера должна совершить один оборот на полную свою длину L (м), чтобы освободить навозный канал. При этом продолжительность (ч) одного цикла удаления

Тц=L/(3600V). (3.8)

Тц=50/(3600*0,2)=41,1 мин

Время сдвигания навоза в канал скотниками

Тск=mtсд/(60Кск),

где m - поголовье животных; tсд - продолжительность сдвигания навоза со стойла в навозный канал, мин; Кск - число скотников.

Тск=400*70/(60*10)=46,6 мин

Общее время цикла удаления навоза

Тц.общ=Тц+Тск. (3.9)

Тц.общ = 41,1+46,6=87,7мин

Производительность (т/ч) поточной линии (участка) удаления навоза за один цикл включения механических транспортных средств

Qл= Qсут /(1000Tцnвк). (3.10)

Qл = 23840/(1000*87,7*17)= 15,9 т/ч

Твердую фракцию навоза доставляют в навозохранилище, а жижу собирают в жижесборники.

На ферме рекомендуется строить одно навозохранилище для всех животноводческих помещений.

Для комплексов и ферм промышленного типа в коровниках и свинарниках рекомендуется самотечная система навозоудаления непрерывного и периодического действия. Работа системы обеспечивается при влажности навоза 88...92% и исключении попадания кормов в каналы.

Самотечную систему проектируют в виде отдельных продольных каналов (лотков), перекрытых щелевыми полами, и общего для ряда животноводческих зданий поперечного канала (коллектора), по которому жидкий навоз стекает в приемный резервуар, сблокированный, как правило, с насосной станцией. Днища продольных каналов выполняют горизонтальными. К началу каналов и коллекторов подводят смывные трубопроводы диаметром 125...150 мм.

В самотечной системе периодического действия навоз удаляется за счет его накопления в продольных каналах, оборудованных шиберами, и последующего сброса при открытии шиберов. Перед пуском продольный канал заполняют водой на высоту 10 см.

Продольные каналы должны обеспечивать накопление навоза в течение 7...14 дн.

Уклон дна продольных каналов при самотечной системе периодического действия и при гидросмывной системе следует принимать в пределах 0,005...0,02.

Поперечные магистральные каналы или коллекторы рассчитывают на самотечную транспортировку навозной массы к навозосборнику. Их выполняют из железобетонных или асбестоцементных труб диаметром 500 мм и более, укладываемых с уклоном 0,01...0,03. Значение минимальной расчетной скорости течения навоза по трубам и поперечным каналам при промывке следует принимать не ниже 1,1...1,2 м/с.

2.4.2 Транспортировка навоза от животноводческих помещений к местам обработки

Навоз в зависимости от его консистенции от помещения до навозохранилища удаляют самосплавом, перевозят в тракторных прицепах 2ПТС-4М-785А,

При использовании фекальных насосов рекомендуется устанавливать измельчающие устройства.

Жидкий навоз к местам переработки, хранения или использования подают по стационарным или сборно-разборным трубопроводам.

Для транспортировки навоза по стационарному трубопроводу необходимо определить вместимость навозоприемника (не менее 5 м3), диаметр навозопровода, общие гидравлические потери в системе и мощность привода установки [3].

Вместимость (м3) навозоприемника вычисляют по формуле

Wнп=Qсутtр.н/(24×ρн),

где tр.н - время ремонта или замены насоса, равное 2...3 ч.

Wнп= 23840*2/(24*0,69)=2,87 м3

Расход (м3/с) навоза

Q=Qсут/(3600 t ρн),

где t - время работы установки, ч.

Q= 23840/3600*1,5=4,41 м/с

3. Охрана окружающей среды

Главная задача охраны окружающей среды - обеспечить жизнь и здоровье людей и животных.

В отношении охраны окружающей среды к объектам предъявляются следующие требования:

выполнение решений правительства по совершенствованию охраны окружающей среды;

подготовка людей для выполнения задач, возложенных на объект;

подготовка материально-технической базы для обеспечения охраны окружающей среды.

3.1 Влияние сельского хозяйства на окружающую среду

Сельскохозяйственный ландшафт на земле существует не одно тысячелетие. Он как часть биосферы используется человеком.

Считается, что до появления сельскохозяйственного производства все животные и фотосинтезирующие растения могли поддерживать существование около 10 млн. человек. Теперь, когда 10 % планеты вспахано, орошено и удобрено сельское хозяйство обеспечивает жизнь более 5 млрд. человек. Вместе с тем по данным ООН, 0,5 млрд. человек в мире, жители главным образом развивающихся стран голодают, а до 2 млрд. человек не доедают.

Сельское хозяйство, будучи важным источником питания людей и сырья для промышленности одновременно представляют собой фактор воздействия человека на окружающую среду. Оно особенно усилилось с ростом населения планеты.

4. Охрана труда

Безопасность труда в сельском хозяйстве имеет большое значение. Возрастающая техническая оснащенность, энерговооруженность, химизация в сельском хозяйстве предъявляют все более высокие требования к выполнению норм и правил по безопасности труда, улучшению условий работы.

В настоящее время должны быть, приняты меры к внедрению таких санитарно-гигиенических условий труда, которые устраняют производственный травматизм и профессиональные заболевания.

Работникам сельского хозяйства следует иметь определенные навыки при работе с современными машинами, соблюдать правила производственной санитарии и пользоваться средствами индивидуальной защиты.

4.1 Техника безопасности и производственная санитария

Курсовой проект разработан в соответствии с правилами техники безопасности и производственной санитарии, установленными "Нормами технологического проектирования межхозяйственных заводов и внутрихозяйственных цехов по производству комбикормов " ВНТП 19-78 МСХ РОССИИ и «Санитарными нормами проектирования промышленных предприятий» СН 245-717.

В курсовом проекте соблюдены необходимые проходы между машинами. Все движущиеся части машин, а также площадки для обслуживания машин имеют ограждения.

Требования по технике безопасности, предъявляемые к монтажу и эксплуатации технологического оборудования, а также правила противопожарной охраны изложены в разделе "Указания мер безопасности" инструкции завода-изготовителя по монтажу, пуску и эксплуатации комплекта оборудования.

К обслуживанию оборудования комплекса и работе на станках допускаются лица не моложе 18 лет, прошедшие специальное обучение и прошедшие инструктаж по технике безопасности и противопожарной охране.

На всех рабочих местах должны быть вывешены плакаты, отражающие правила техники безопасности работы на местах.

Не производить ремонт, регулировку и подтяжку соединений при работающих механизмах.

Во избежание несчастных случаев и возникновения пожаров необходимо руководствоваться:

правилами техники безопасности при выполнении ремонтных работ на государственных предприятиях и в организациях Министерства сельского хозяйства РФ 1993 год;

правилами техники безопасности в животноводстве, утвержденными МСХ РФ, 1993 год;

инструкцией по технике безопасности на животноводческих фермах и комплексах по выращиванию и откорму крупного рогатого скота, утвержденной МСХ СССР, 1993 год;

правилами техники безопасности и противопожарной охраны, изложенными в инструкциях заводов-изготовителей по эксплуатации оборудования.

Выводы и предложения

На большинство показателей, характеризующих физико-механические свойства навоза, влияет влажность навоза, которая, в свою очередь, зависит от первоначальной влажности экскрементов, вида и количества применяемой подстилки, от ее первоначальной влажности, принятой системы уборки навоза и других факторов.

Проблема механизации удаления и использования навоза включает в себя три больших вопроса: удаление навоза из животноводческих помещений и транспортировка его в хранилища; складирование, обеззараживание и хранение навоза; использование навоза. Эти вопросы взаимосвязаны, поэтому, решая один из них, необходимо в такой же степени решать и другие. В проекте животноводческой фермы можно предложить провести более эффективную установку пневматического типа и установить трубопровод из пластмасса. Энергопотребления установки будет высоко т.к. одной установки 3 кВт а их на животноводческой ферме установлено 4 штуки. Но время работы, затраченное на очистку фермы всего 1,5 часа. И удаление его в навозохранилище займет всего 4 часа 40 минут в сутки.

Список использованной литературы

1. Брагинцев Н.В., Палишкин Д.А. Курсовое и дипломное проектирование по механизации производства, 1991 г.

2.      Селиванов А.П. Механизация и технологии в животноводстве, 2007г.

.        Алешкин В.Р., Рощин П.М. Механизация животноводства, 1993 г.

.        Курс лекций по дисциплине «Механизация животноводства».


Не нашли материал для своей работы?
Поможем написать уникальную работу
Без плагиата!
Без нейросетей!