Разработка архитектурно-конструктивного типа судна

  • Вид работы:
    Контрольная работа
  • Предмет:
    Транспорт, грузоперевозки
  • Язык:
    Русский
    ,
    Формат файла:
    MS Word
    22,93 kb
  • Опубликовано:
    2011-09-22
Вы можете узнать стоимость помощи в написании студенческой работы.
Помощь в написании работы, которую точно примут!

Разработка архитектурно-конструктивного типа судна

Архитектурно-конструктивный тип судна

Назначение судна: судно предназначено для вылова, переработки и транспортировки морепродуктов.

Форма оконечностей: форма носа - обыкновенный нос транспортного судна с наклонным форштевнем.

форма кормы - крейсерская.

Количество и расположение надстроек - две, в средней части и баке.

Расположение МКО - среднее

Количество отсеков - двенадцать отсеков

Число палуб - две палубы.

Нормальная шпация

а0 =0.002×L+0.48;м

а0 =0.002×126,6+0.48=0.73 м

Принимаем а0 =0.8 м

На ведущий вал насаживают маз подшипники, 2.Выбор материала корпуса судна.

Применение сталей разных марок дает разное снижение массы корпуса судна. Чем прочнее сталь, тем большего снижения массы можно добиться. Однако стоимость более прочных сталей выше, чем сталей менее прочных.

Все стали идущие на изготовление судовых конструкций должны быть прочными и коррозионностойкими, обладать свариваемостью, возможностью подвергаться гибки в холодном и горячем состоянии, способностью воспринимать знакопеременные нагрузки, допускать тепловую резку, задерживать распространение трещин, успешно работать при низких температурах и в условиях напряженного состояния.

Этим требованиям соответствует сталь: 09Г2С с пределом прочности Reh=300 кПа устанавливают крышку на корпус с помощью двух конических штифтов; затягивают бол крышку к корпусу.

В ведомый вал закладывают шпонку и напрессовывают зубчат колесо до упора в бурт вала; затем надевают распорную втулку, кольца и устанавливают шарикоподшипники, предварительно нагретые в масле.

После этого на ведомый вал надевают распорное кольцо, в подшипниковые камеры закладывают пластичную смазку, ставят крышки подшипников с комплектом металлических

Выбор и обоснование системы набора судна

Системы набора корпусных перекрытий выбирают с учетом условий работы материала корпуса под действием нагрузок при эксплуатации.

Для данного судна принимаем следующие системы набора перекрытий:

Днище: продольная система набора

Борта: поперечная система набора

Палубы: продольная система набора

Преимущество данной системы набора:

При таких системах набора перекрытий обеспечивается прочность, надежность и оптимальный вес корпусных конструкций.

для регулировки.

Перед постановкой сквозных крышек в проточки закладывают войлочные уплотнения, пропитанные горячим маслом. Проверяют проворачиванием валов отсутствие заклинивания подшипников (валы должны поворачиваться от руки) и закрепляют4.Определение прочных размеров связей корпуса судна

Размеры связей обеспечивающих достаточную общую и местную прочность определяются по Правилам Регистра в зависимости от:

главных размерений судна

системы набора

перекрытий корпуса

шпации.

Исходные данные для определения размеров связей являются:

тип судна по назначению - траулер

ледовая категория КМнб= м=125,6 м=9,5 м

В=14,0 м=12,8 м=300 кПа.

крышки винтами

Далее на конец ведомого вала в шпоночную канавку закладывают шпонку, устанавливают звездочку и закрепляют ее торцовым креплением; винт торцового крепления стопорят специальной планкой.

Затем ввертывают пробку отверстия с прокладкой и жезл

Минимальные толщины

для Н.О. Smin=0.04×L+6, мм=0.04×125,6+6=11,024 мм

принимаем S=11 мм

для настила палубы Smin=0.04×L+5,мм=0.04×125,6+5=10,024 мм

принимаем S=10 мм

для настила II дна Smin=0.035×L+5, мм=0.035×125,6+5=9,3 мм

принимаем S=9 мм

для обшивки переборок Smin=5×а0 +2.5, мм=5×0.8+2.5=6.5 мм

принимаем S=7 мм

Наружная обшивка

Толщина Н.О. борта S=k1× а0 × d; мм

где k1=6.55 - для поперечной системы набора

а0 =0,8=6.55×0.8×9,5=16,15 мм

принимаем S=16 мм

Толщина Н.О. днища S=k2×a×d;мм

где k2=5.9= а0=5.9×0.8× 9,5=14,5 мм

принимаем S=16 мм

Горизонтальный киль bг.к.=0.004×L+0.9, м Sг.к.=Sдн+2,ммг.к.=0.004×125,6+0.9=1.4 м Sг.к.=16+2=18 мм

Ширстрек bш=0.1×D,м Sш=Sборт+2,мм ш=0.1×12,8=1.28 м Sш=16+2=18 мм

Днище

Согласно Правилам Регистра двойное дно должно быть построено на протяжении от таранной переборки до переборки ахтерпика на сколько это практически осуществимо и совместимо с конструкцией.

Вертикальный киль должен быть продлен как можно дальше к штевням и по возможности крепиться к ним.

Высота В.К.

не менее hв.к.=(L-40):0.57+(40×B)+(3500×d):L, мм

в.к.=(125,6-40):0.57+(40×14)+(3500×9,5):125,6=975 мм

в.к.=(hв.к.:80)×(235: Reh); мм

в.к.=(975:80)×(235: 300)=9,5

принимаем Sв.к.= 10 мм

В районе МКО толщина В.К. на 2 мм больше

принимаем =Sв.к.+2= 12 мм

Флоры сплошные

В районе грузовых трюмов рекомендуется устанавливать при продольной системе набора на каждом третьем шпангоуте.

Толщина стенок флоров в районе грузовых трюмов

S=(a×d×B): (30×hв.к.);

где a=3× а0

S=(2,4×9,5×14): (30×975)=10,9 принимаем S= 12 мм

В районе МКО S=0.035×L+6, мм принимаем S= 10 мм

В районе МКО флоры установлены на каждом шпангоуте.

Днищевые стрингеры

Количество стрингеров зависит от ширины судна при В=14 м, принимаем по одному стрингеру с каждого бока. Толщина стрингеров должна быть равна толщине флоров в данном районе.

Принимаем для стрингеров: =14 мм - в грузовых =12 мм - в МКО

Продольные балки (Р.Ж.)

Согласно Правилам Регистра продольные балки днища и второго дна должны иметь момент сопротивления не менее

W=(k×a×d×l²)/ Reh; см2

где a=a0 =3a0=2450=(2450×0,8×9,5×2,4)/300=148,96 см2

Принимаем

Настил II дна

=20.5×a0×pReh+c, мм где p=ϱ×g×h, КПа-нагрузка =D-hв.к. м

добавка на коррозию c=4 ммc=2 ммc=0 мм в трюмах в МКО в остальных отсеках=12.8-0,97=12,4 м =1.025×9.8×12,4=124,5 Кпа=(20.5×0.8×124,5)/300+2=8,8 мм

Принимаем S=9 мм в трюмах =(20.5×0.8×124,5)/300+4=10,8, мм

Принимаем S=11мм в МКО =(20.5×0.8×124,5)/300+0=6,8, мм

Принимаем S=7 мм в остальных отсеках.

Бортовой набор

Момент сопротивления трюмного шпангоута должен быть не менее

W=140.8×a×p×l² Reh

где a= а0

=D-hв.к. =ϱ×g×h =D-hв.к./2

W=(140.8×0.8×123,5×11,83²)/300=6489,4 см=12.8-0,97=11,83 =1.025×9.8×12,3=123,5 =12.8-0,97/2=12,3

Принимаем

Для шпангоутов в форпике и ахтерпике

W=1200×a×d×DReh+20D

где a=0.6

W=((1200×0.6×9,5×12,8) /300)+20/ 12,8=297,4 см

Принимаем Т22б

Для рамных шпангоутов

W=300+120/Reh×a×p×l2

где a=3*а0

=ϱ×g×h =D-hв.к.

=300+120/300×2,4×59,26×11,83²=8261,6

a=3×0.8=2,4=1.025×9.8×5,9=59,26=12.8-0,97=11,83

Принимаем

Бортовые стрингеры

Должны быть расставлены так чтобы расстояние между ними и палубой или настилом II дна не превышало 2.5 м. Размер стрингеров должен быть равен размеру рамного шпангоута в поперечном сечении.

Принимаем для стрингера (толщину рамного шпангоута)

Скуловая кница в районе трюмного шпангоутакн=0.8×Sстенки трюмного шпангоута кн=0.8×16=12мм

Принимаем S=12 мм

катет кницы будет равен c=1.8×Wтр.шп0.1×Sкн;см=1.8× 16892/0.1×13=205 см

Принимаем c=205 см

Скуловая кница в районе рамного шпангоутакн=0.8×Sстенки рамног шпангоута кн=0.8×16=12 мм

Принимаем S=12 мм

катет кници будет равен c=1.8×Wтр.шп0.1×Sкн;см=1.8× 6489/0.1×12=127 см

Принимаем c=130 см

Палубы

Принятая толщина листов настила рассчитанной палубы не должна быть менее определенной по формуле.

=1.15×а0 * 0.42×Reh, мм

=1.15× а0 * 0.42×300=10.3 мм

Принимаем S=10 мм

Для нижних палуб:

=0,015×L+6.5 мм

= 0.015*125,6+6,5=8,3 мм

Принимаем S=9 мм.

Бимсы. Момент сопротивления бимсов не менее

W=(198×a×p×l²)/Reh, см3

где a=3* а0 =3*0,8=2,4 м=0.083×L×1.6 = 0,083*125,6+1,6=12кПа.=B:4=14:4=3,5 м=(198×2.4×12×3,5²)/300=232,8см3

Принимаем Т20б

Продольные Р.Ж. палубы

W=(198×a×p×l²)/Ren, см3

где a= а0

p=0.083×L×1.6=12 кПа

а=а0=(198×0.8×12×3,5²)/300=77,6 см3

Карлингсы

=(k×b×p×l²):Reh, см3

где k=k1+k2=108,4=1200: L=107=15.5: L=1,38=B:4=3,5 м=12 м (длина трюма)=(108,4×3,5×12×12²):300=2185,3 см3

Принимаем Т45б

Бимсовая кница.кн=0,8*Sбим=0,8*6=4,6

Принимаем S=5 мм.

Штевни

Сварной форштевень должен состоять из листов толщиной

=0,105×L+4, мм

=0,105×125,6+4=17,1 мм

Принимаем S=18 мм

Длина поперечного сечения форштевня

=0,8×L+30, мм

=0,8×125,6+30=130,5 мм

Принимаем b=130 мм

Ахтерштевень

Ахтерштевень сплошного прямоугольного сечения, должен иметь размеры:

=1.3×L+95, мм

=1.3×125,6+95=258,5 мм

Принимаем l=260 мм=1.6×L+20, мм=1.6×125,6+20=220 мм

Принимаем b=220 мм

Переборки

Расстояние от переборки форпика и ахтерпика до носового и кормового перпендикуляра выбирают с учетом конструкции оконечностей судна.

Все водонепроницаемые переборки должны быть доведены до палубы надводного борта.

Толщина листов переборок =k× а0× (p:Ren)+c, мм

=22 - для таранной переборки =17.5 - для прочих переборок

=ϱ×g×h, КПа=(D-hв.к.):2, м

=1.25 мм - добавка на коррозию=1.025×9.8×5,9=95,42 КПа=5,9 м=22×0.8× (95,4:300)+1.25=11,15 мм

Принимаем S=11 для таранной переборки=17.5×0.8× (95,4:300)+1.25=9,8 мм

Принимаем S=10 мм для прочих переборок

Стойка переборки должна иметь момент сопротивления не менее:

Wос.ст=(k×a0×p×l²):Reh, см3

=101=D-hв.к., =11,8 мос.ст=(101×0.8×95,4×11,8²):300=3577,7 см3

l=14.8-1.16=13.64 м

Принимаем Т56а

Доковая стойка и шельф=1.48×Wос.ст , см3 =1.48×3577,7=5295 см3

Принимаем

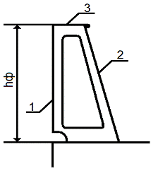
Фальшборт

 

 

Рис. 1 - Фальшборт: 1-Лист фальшборта; 2-Стойка; 3-Планширь

Высота фальшборта от верхней кромки стального настила палубы должна быть не менее 1м. Принимаем hф=1200 мм

Толщина листов фальшборта

ф=0.025×L+4,мм

ф=0.025×148+4=7.7 мм

Принимаем Sф=8 мм

Фальшборт должен быть подкреплен стойками, расположенными на расстоянии не более 1.8м. Толщина стоек на 2мм больше толщены листов фальшборта, принимаем Sст.=10 мм

Ширина нижнего конца стойки не менее 350мм

Принимаем 400мм

Ширина верхнего конца стойки равна ширине планширя. Планширь должен иметь толщину на 1-2мм больше толщены фальшборта, а ширину не менее 95мм.

Принимаем Sплонширя=10 ммплонширя=100 мм

Заключение

судно переборка фальшборт корпус

В данном проекте я разработал архитектурно-конструктивный тип судна в зависимости от его назначения.

Мы определили:

форма оконечностей корпуса судна;

количество и расположение надстроек;

расположение МКО;

количество непроницаемых отсеков;

нормальная шпация.

Оценив различные прочные качества корпусных сталей и исходя из экономических соображений для данного судна я выбрал сталь 09Г2С ,также мной выбрана и обоснована система набора судовых перекрытий.

Корпус судна я разбил на отдельные районы и определил прочные размеры листовых и отделочных элементов днища, бортов, палуб, переборок штевней, фальшборта.

Таким образом, я подготовил данные для разработки графической части и выполнил:

чертеж общего расположения судна (продольный вид).

чертеж конструктивного мидель - шпангоута судна.

Библиографический список

1. Методические указания для разработки пояснительной записки.

. Морской Регистр Судоходства. Правила классификации и постройки морских судов. С. - Петербург, 2000 год.

. «Конструкция корпуса судна», Н.В. Барабанов, «Судостроение», 1980 год.

. «Материаловедение для судостроителей», В.А. Андреев, «Судостроение», 1986 год.

. Справочник по судостроительному черчению под ред. Н.В. Никольского, «Судостроение»1986 год.

. «Проектирование и конструкция морских судов» А.В. Лазарев, «Судостроение» 1986 год.


Не нашли материал для своей работы?
Поможем написать уникальную работу
Без плагиата!
Без нейросетей!