Техническое перевооружение зоны технического обслуживания автомобилей в Долгомостовском филиале КГАУ 'Красноярсклес' на основании технологических расчетов

  • Вид работы:
    Дипломная (ВКР)
  • Предмет:
    Транспорт, грузоперевозки
  • Язык:
    Русский
    ,
    Формат файла:
    MS Word
    136,70 kb
  • Опубликовано:
    2012-03-13
Вы можете узнать стоимость помощи в написании студенческой работы.
Помощь в написании работы, которую точно примут!

Техническое перевооружение зоны технического обслуживания автомобилей в Долгомостовском филиале КГАУ 'Красноярсклес' на основании технологических расчетов

Реферат


В дипломном проекте разработано техническое перевооружение зоны ТО автомобилей в Долгомостовском филиале КГАУ «Красноярсклес» на основании технологических расчетов.

Технологический расчет зоны ТО и ТР на основании положения о техническом обслуживании и ремонте подвижного состава автомобильного транспорта, которым предусмотрено развитие и совершенствование организации производства, технического обслуживания и ремонта, внедрение прогрессивных технологических процессов, средств механизации и автоматизации, контроля и диагностирования технического состояния подвижного состава. Согласно положения о ТО и ТР произведены расчеты количества ТО-1,ТО-2, Д-1, Д-2, численности производственных рабочих, количество постов ТО и ТР, определены площади зоны ТО.

В конструктивной части произведен обзор существующих конструкций подъемников и конструктивный расчет внедряемого в производство шести стоечного напольного подъемника.

Экономическая часть включает в себя расчет капитальных вложений и текущих затрат на работу внедряемого подъемника. Годовая прибыль от внедрения составляет 18028 рублей, срок окупаемости подъемника - 3,2 года.

В разделе безопасности и экологичности проекта произведен расчет освещения, вентиляции зоны ТО, разработаны мероприятия по пожарной безопасности и охраны окружающей среды.

Дипломный проект содержит расчетно-пояснительную записку на 82

страницах текста, 13 таблиц, 8 рисунков, 12 литературных источников и графическую часть из 9 листов формата А1.

Содержание

 

Реферат

Введение

. Технико-экономическое обоснование

. Технологический расчет

.1 Исходные данные к технологическому расчету

.2 Определение пробега до ТО и КР автомобилей

.3 Пробег автомобилей до второго технического обслуживания

.4 Пробег автомобилей до КР

.5 Определение количества ТО-1, ТО-2, Д-1, Д-2

.6 Количество ТО-1,ТО-2, Д-1, Д-2 за год для автомобилей i-ой модели

.7 Суммарное количество ТО-1, ТО-2, Д-1, Д-2 по всему парку

.8 Определение годовых объемов работ по ТО и диагностированию автомобилей

. 9 Численность производственных рабочих

.10 Определение постов ТР, постов и линий ТО

.11 Определение площади зоны технического обслуживания

. Конструкторская часть

.1 Обзор существующих конструкций

.2 Конструктивный расчет, внедряемого в производство подъемника

. Экономическая часть

.1 Расчет капитальных вложений

.2 Расчет текущих затрат на работу подъемника

. Безопасность и экологичность проекта

.1 Производственная безопасность

.2 Производственная санитария

.3 Пожарная безопасность

.4 Экологичность проекта

.5 Расчет освещения

.6 Расчет вентиляции

.7 Безопасность в чрезвычайных ситуациях

Выводы

Заключение

Список использованных источников литературы

 

Введение


Автомобильный транспорт играет существенную роль в транспортной системе, как России, так и бывшего Союза.

Требования к надежности транспортных средств повышается в связи с ростом скоростей и интенсивности движения, мощности, грузоподъемности и вместимости автомобилей, а так же технологической и организационной связью автомобильного транспорта с обслуживаемыми предприятиями и другими видами транспорта.

Трудоемкость изготовления современного грузового автомобиля средней и большой грузоподъемности не превышает 120-150 нормо-ч. в то время как трудоемкость обслуживания и ремонта в зависимости от интенсивности эксплуатации может составить 400-700 нормо-ч. Это положение обусловливает необходимость иметь одного ремонтного рабочего на 3-5 грузовых автомобилей и 1-2 автобуса. Структура трудовых затрат за весь срок эксплуатации грузового автомобиля определяется следующими примерными соотношениями: техническая эксплуатация, включающая техническое обслуживание; (ТО) и текущий ремонт (ТР) составляет 91%, изготовление - 2% и капитальный ремонт автомобиля и агрегатов 7% от общих затрат.

Из тенденций, оказывающих положительное влияние на техническую эксплуатацию автомобилей, необходимо отметить следующие: расширение дорожного строительства, сокращение за последние годы на 15-20% трудоемкости технического обслуживания и ремонта, а так же повышение ресурса автомобилей до первого капитального ремонта в результате совершенствования конструкций автомобилей и улучшения условий эксплуатации.

В результате повышения квалификации ремонтного персонала, лучшей организации и оснащения предприятий средствами механизации увеличилась производительность труда ремонтного и обслуживающего персонала.

Реализация потенциальных свойств автомобиля, заложенных при его создании (в частности, эксплуатационной надежности), снижение затрат на содержание, ТО и ремонт, уменьшение соответствующих простоев, обеспечивающие повышение производительности перевозок, при одновременном снижении их себестоимости - основные задачи технической эксплуатации подвижного состава автомобильного транспорта.

Важными элементами решения проблемы управления техническим состоянием автомобилей являются совершенствование

технологических процессов производства ТО и ремонта автомобилей, включающее технологические приемы, оборудование постов и рабочих мест и научную организацию труда, а так же широкое применение средств механизации и автоматизации процессов.

1. Технико-экономическое обоснование


Долгомостовский филиал КГАУ «Красноярсклес» находится в селе Долгий мост на улице Первомайская 1. Долгомостовский филиал КГАУ «Красноярсклес» был открыт в 2007 году согласно Федеральному закону 201-ФЗ от 4 декабря 2006 г. В настоящее время основной выполняемой работой филиала являются заготовка древесины, лесовосстановление, лесохозяйственные мероприятия, тушение лесных пожаров. Территория предприятия расположена вне жилой зоны с соблюдением нормативных расстояний до жилых и общественных зданий. Состояние подъездных путей удовлетворительное. Долгомостовский филиал КГАУ «Красноярсклес» насчитывает 57 единиц подвижного состава. Из них:

грузовых автомобилей 17 ;

легковых автомобилей 6;

тракторов 21;

спецтехника(пожар) 3;

прицепных устройств 10.

Основные марки грузовых автомобилей УРАЛ, Газ и ЗИЛ (различных модификаций). До трех лет в эксплуатации находится 10 автомобилей; от 3-х до 8-ми лет - 43 автомобиля; более 8-ми лет-4 автомобиля.

Средний пробег автомобилей с начала эксплуатации: УРАЛ Lcp - 260 315 км, ЗИЛ Lcp - 235 239 км, Газ Lср - 220 588.

Коэффициент технической готовности подвижного состава Ктг = 0,75.

Таблица 1.1 - Количество подвижного состава Долгомостовского филиала КГАУ «Красноярсклес» по маркам на 01.01.2011г.

Марка автомобиля

Кол-во

Газ -33081

2

Газ -6611

3

Газ -66(пожар)

3

Газ -66

1

ЗИЛ ММЗ -4502

2

ЗИЛ -131А

2

Газ -3110

3

ДТ -75

2

МТЗ -80

3

Т -150К

2

Т -25

2

Т -40

2

ЛХТ -55

5

ЛХТ -100А

2

ТТ -4

3

Урал -43206

2

Урал -4320

4

УАЗ -31514

3

Прицеп ТМЗ -802

4

Пожарная цистерна

3

ПТС -4М

3

Итого

57


На предприятии занято 28 человек - ремонтных рабочих. На одного водителя это составляет 0,36. ТО и ТР проводятся по потребности и по пробегу, в зависимости от условий эксплуатации. Обслуживание и ремонт автотранспортных средств ведется силами ремонтных рабочих. Производственная суточная программа выполнения ТО выглядит следующим образом: ТО-1-5, ТО-2-2. План по техническому обслуживанию в сутки не выполняется.

Текущий ремонт производится в одном корпусе с зоной ТО.

ТО проводится на тупиковых постах с помощью смотровой канавы и подъемника. Участки ТО и ТР разделены кирпичной стеной высотой З м.

Сведения о работе грузового автомобильного транспорта АТБ 3 приведены в таблице 1.2.

Таблица 1.2 - Сведения о работе грузового автомобильного транспорта Долгомостовского филиала КГАУ «Красноярсклес» за 2010 год.

Наименование

Ед. физ. величин

Значение

Списочное количество автомобилей на конец отчетного периода

един

57

Автомобиле - дни в хозяйстве - ВСЕГО


27 740

В том числе  в работе в ремонте


 19 152  3 216

Общий пробег автомобилей - ВСЕГО

км

3 661 281

Автомобиле - тонно - дни в хозяйстве


251 813,8

Время пребывания  в наряде  в том числе в движении  в простое под нагрузкой

 час час час

 82 590 78 169  4421

Число ездок с грузом


29 392

 

Перевезено грузов ВСЕГО

т

296 330

 

Расход бензина  по норме  фактически

 литр литр

 341 154  374 485

 

Расход дизельного топлива  по норме  фактически

 литр литр

 863 627  2 423 228

 


Стоимость основных фондов предприятия приводим по статьям в таблице 1.3.

Таблица 1. 3 - Стоимость основных фондов.

Наименование

Общая, руб.

Зоны ТО и Р, руб.

Здания

7 923 466

410 590

Сооружения

532 603

-

Производственный и хоз. инвентарь.

4 178

5 296

Машинное оборудование

527 375,7

39 819,1

Транспортные средства

13 182 154


Итого

22 169 779,7

455 705,1


Зона технического обслуживания.

ТО проводится постовым методом с помощью осмотровой канавы и платформенного подъемника, грузоподъемностью 12 тонн.

Производственная площадь зоны ТО 432 м2, объем помещения V=2592 м3.

Нормативная площадь находится по формуле:

 = fa-Xo-Kп ,                                             (1.1)

где FTO - площадь зоны ТО, м2;

fa - площадь автомобиля в плане, м2; Хо - число постов;

Кп - удельная площадь на 1 м2 площади, занимаемой автомобилем.

FTO=18,5 * 2 * 6 = 222 м2 VTO= 1332 м3

Производственные площади характеризуются коэффициентом плотности расстановки оборудования. Он отражает эффективность использования площадей и определяется по формуле.

Кп.то=Sоб.то / Sобщ ,                                        (1.2)

где    Кп.то - коэффициент плотности расстановки оборудования в зоне ТО;

Sоб.то - площадь, заполненная оборудованием в зоне ТО, м2;

Sобщ - общая площадь зоны ТО, м2.

Кп.то = 80 / 432 = 0,18

Коэффициент плотности расстановки оборудования очень мал. Следовательно в зоне ТО имеются свободные площади, которые целесообразно, с учетом сохранения маневренности автомобилей в зоне ТО использовать для снижения трудоемкости и увеличения производительности работ.

Уровень механизации Ум(%) производственных процессов определяет долю механизированного труда в общих трудозатратах. В зоне ТО, трудоемкость механизированных операций составляет 689,4 чел. час, а общая трудоемкость всех операций равна 13257,6 чел. час.

Ум= Тмех/Тобщ х 100%                                              (1.3)

где    Ум - уровень механизации, %;

Тмех - трудоемкость механизированных операций, чел. час;

Тобщ - общая трудоемкость всех работ по ТО, чел. час.

Ум= 689,4/13257,6 х 100 % = 5,2%

В результате проведенных расчетов видно, что зона ТО имеет достаточную площадь, обеспечивающую технологический процесс обслуживания автомобилей. Но существующий уровень механизации не отвечает современному развитию НТП и отрицательно влияет на производительность выполнения операций. Предлагается в зоне ТО провести техническое перевооружение, которое предусматривает повышение производительности труда за счет внедрения в производство современных подъемников для автомобилей, позволяющих обслуживать автомобили с разной базой.

Таблица 1.4 - Оборудование и оснастка зоны ТО до технического перевооружения.

n/n

Наименование

Модель

Кол-во

Мощность, производительность

Стоимость, руб.

1

Подъемник напольный, платформенный

П7-13

1

12т

19 100

2

Подъемник канавный

DKP12, 5

1

12т

10 660

3

Электронагнетатель масляный

NOP-70

2

200л

3 820

4

Солидолонагнетатель

390М

2


840

5

Бак для отработавшего масла

Собст. изготов.

1



6

Станок для заточки цепей


1



7

Заточный станок


3



8

Токарный станок





9

Сварочный аппарат





10

Компрессор





11

Горн






Предлагается организовать два поста технического обслуживания с установлением на них 6-ти стоечных напольных, электромеханических подъемников, такие подъемники позволяет обслуживать автомобили разных марок (УРАЛ, ЗИЛ, ГАЗ). Максимальная грузоподъемность подъемника 10 т.

В ходе организации рабочих мест ремонтных рабочих важно не только оснастить их полностью необходимым производственным оборудованием, технологией и организационно-технической оснасткой, но и рационально разместить их относительно исполнителя. За счет оптимальной планировки производительность труда возрастает на 5 - 10%.

Мероприятия по техническому перевооружению можно провести, финансируя их за счет амортизационных отчислений плюс доля фонда накопления (25%).

В настоящее время количество ремонтных рабочих на предприятии составляет 21 человек. Нормативная численность ремонтных рабочих 28 человек. В обслуживании и ремонте принимают участие водители, оплата водителей ведется по 3 разряду.

Для характеристики условий труда в зоне ТО сравним оптимальные значения факторов, определяющих условия труда с фактическими в таблице 1. 5.

Таблица 1. 5 - Факторы, определяющие условия труда.

Значения

Температура, о С

Освещенность, лк

Относительная влажность, %

Концентр СО, мг/л

Оптимальные

16-18

150-200

60

нет

Фактические

15-16

100

60

есть


Выводы

посты технического обслуживания оснастить 6-ти стоечными подъемниками;

усовершенствовать конструкцию подъемника;

провести мероприятия по нормализации условий труда и технике безопасности.

 

2. Технологический расчет


Технологический расчет автотранспортных предприятий основан на положении о техническом обслуживании и ремонте подвижного состава автомобильного транспорта, которым предусмотрено развитие и совершенствование организации производства, технического обслуживания и ремонта, внедрение прогрессивных технологических процессов, средств механизации и автоматизации, контроль и диагностирование технического состояния подвижного состава, учет различных факторов для корректирования нормативов технического обслуживания и ремонта подвижного состава автомобильного транспорта.

 

.1 Исходные данные к технологическому расчету


1.  Тип автотранспортного предприятия - грузовое.

2. Списочное количество автомобилей Ас= 57; по маркам:        

Ас зил = 24 ед

Ас камаз= 52 ед.

. Среднесуточный пробег по маркам автомобилей (lcс), км.

lcс зил = 150км

lcс камаз = 300км

. Режим работы автомобилей на линии

время в наряде Тн = 8,16ч

время выпуска - 7ч

время возврата - 17ч

. Количество дней работы в году АТБ.

Дp. г. =252 дня.

. Количество дней работы в году производственных цехов, зон ТО и Р.

Дпр.р.г.= 252 дня.

. Категория условий эксплуатации - 3 категория.

. Климатические условия - холодный климат.

. Средний пробег автомобилей с начала эксплуатации L=220 тыс. км.

 

.2 Определение пробега до ТО и КР автомобилей


Пробег автомобилей до ежедневного обслуживания (ЕО) принимается равным среднесуточному пробегу

ед=lсс.

Пробег автомобиля до первого технического обслуживания (ТО-1)

,                                                (2.1)

где     - пробег автомобиля до ТО-1 согласно нормативным данным, км;

K1 - коэффициент, учитывающий категорию условий эксплуатации;

К3 - коэффициент, учитывающий климатические условия.

,                                              (2.2)

где - округленная до целого числа, величина

                                        (2. 3)

Используя приведенные выше формулы, проведем расчет пробегов до ТО-1.

 = 3000 * 0,8 * 0,9 = 2160 км

 = 3000 км; К =0,8; К =0,9.

зил = 2160/150 =14,4 =14

камаз = 2160/300 =7,2 = 7

 зил =150 * 14 = 2100 км

 камаз= 300 * 7 = 2100 км

 

.3 Пробег автомобилей до второго технического обслуживания


,                                                 (2.4)

где     - нормативный пробег до ТО-2, км.

                                               (2.5)

где    M2.- округленная до целого величина

                                             (2.6)

Используя данные формулы, проводим расчет пробегов до ТО-2;

 = 12000 * 0,8 * 0,9 = 8640 км.  = 12000 км

= 8640/2100 =4,1 = 4                 = 2100 * 4 = 8400 км

2.4 Пробег автомобилей до КР


,                                         (2.7)

где    - коэффициент, учитывающий тип подвижного состава.

зил = 1; камаз = 0,95

 = ,

где    - округленная до целого числа величина     (2.8)

зил = 250000 * 0,8 * l * 0,9 =180000 км

 = 180000 / 8400 = 21,4 = 21

зил = 8400 * 21 = 176400 км

 камаз =300000 * 0,8 * 0,9* 0,95 = 205200 км

 = 205200/8400 = 24,4 = 24

 камаз = 8400 * 24 = 201600 км

 

.5 Определение количества ТО-1, ТО-2, Д-1, Д-2


Количество То-2 за цикл

,                                    (2.9)

где    - число капитальных ремонтов

= 1

зил = 176400 / 8400 -1 = 20

камаз = 201600 / 8400 -1 = 23

Количество ТО-1 за цикл

                                   (2.10)

зил = 176400 / 2100 - 20 = 64

 камаз = 201600 / 2100 - 23 = 73

Количество диагностических воздействий D1 за цикл.

                              (2.11)

зил = 1,1 * 64 + 20 = 90,4

камаз = 1,1 * 73 + 23 = 103, 3

Количество воздействий Д2 за цикл.

                                         (2.12)

зил =1,2*20= 24

камаз =1,2*23= 27,6

Количество ТО-1, ТО-2, Д-1, Д-2 на один автомобиль в год.

Количество ТО-2

                                            (2.13)

где - коэффициент перехода от цикла к году

  ,                                     (2.14)

где     - годовой пробег автомобиля.

 = 1сс * Dрг * Ктг ,                                   (2.15)

где    Ктг - коэффициент технической готовности (Ктг=0,8)

Dpr - количество дней работы в году по АТБ (Dpr=252)

зил = 150 * 252 * 0,8 = 30360 км

камаз = 300 * 252 * 0,8 = 60720 км

      зил = 30360 / 176400 = 0,17

 камаз = 60720 / 201600 = 0, 3

зил = 20 * 0,17 = 3,4

камаз = 23 * 0,3 = 6,9

Количество ТО-1

                                           (2.16)

зил = 64 * 0,17 = 10,88

камаз = 73 * 0,3 = 21,9

Количество Д - 2

 

 = 27,6 * 0, 3 = 8,3

Количество Д - 1

                                         (2.17)

зил = 90,4 * 0,17 =15,4

камаз = 103,3 * 0,3 = 30,9

 

.6 Количество ТО-1,ТО-2, Д-1, Д-2 за год для автомобилей i-ой модели


Количество ТО-2 за год для i-ой модели;

2Гi= N2Г * Aci ,                               (2.18)

где    Aci - списочное количество i-ой модели

N2Г зил = 3,4 * 24 = 82

N2Г камаз = 6,9 * 52 = 359

Количество ТО-1 за год для i-ой модели

1Гi=N1Г * Aci                                 (2.19)

1Г зил = 10.88 * 24 = 261

N1Г камаз = 21,9 * 52 = 1139

Количество Д-1 за год для i-ой модели

Д-1Гi=NД-1Г * Aci                                   (2.20)

Д-1Г зил = 15, 4 * 24 = 370

NД-1Г камаз = 30, 9 * 52 = 1607

Количество Д-2 за год для i-ой модели

Д-2Гi=NД-2Г * Aci                                   (2.21)

Д-2Г зил = 4 * 24 = 96

NД-2Г камаз = 8,3 * 52 = 432

 

.7 Суммарное количество ТО-1, ТО-2, Д-1, Д-2 по всему парку


Количество ТО-2 за год для парка:

 = 82 + 359 = 441

Количество ТО-1 за год для парка

 = 261 + 1139 = 1400

Количество Д-1 за год для парка

= 370 + 1607 = 1977

Количество Д-2 за год для парка

= 96 + 432 = 528

 

2.8 Определение годовых объемов работ по ТО и диагностированию автомобилей


.8.1 Годовой объем работ по техническому обслуживанию (TО-1 и ТО-2) автомобилей

Удельная трудоемкость выполнения работ по ТО-1 (t1) и ТО-2 (t2) выбираются согласно нормативным данным и корректируются в зависимости от метода производства работ с помощью коэффициента КГ, модификация подвижного состава КГ и размера АТБ - К5

,                                 (2.22)

Коэффициентом Кп учитываются снижение трудоемкости при поточном методе производства и принимается равным 0,75 - 0,8, а при постовом методе Кп=1. Принимаем К2зил =1; К2камаз = 0,95; К5=1,2.

зил = 2,8*1*1*1,2=3,36 ч. час

зил =10,4*1*1*1,2 = 12, 48 ч. час

камаз =3,74*1*0,95*1,2 = 4,26 ч. час

камаз =15, 9*1*0, 95*1,2 =18,12 ч. час

Годовой объем работ по ТО-1, ТО-2 автомобилей i-ой модели определяется по формуле:

,                                             (2.23)

,                                   (2.24)

Подставляя численные значения трудоемкости и количества ТО получим:

Т1 зил = 3,36 * 261 = 877 ч. час

Т2 зил = 12,48 * 82 = 1023,4 ч. час

Т1 камаз = 4,26 * 1139 = 4852,1 ч. час

Т2 камаз = 18,12 * 359 = 6505.1 ч. час

Годовой объем работ ТО-1 и ТО-2 для парка.

Т1 = Т1 зил + Т1 камаз = 877 + 4852,1 = 5729,1 ч. час

Т2= Т2 зил + Т2 камаз = 1023,4 +6505,1 = 7528,5 ч. час

.8.2 Годовой объем работ по текущему ремонту автомобилей

Удельная трудоемкость выполнения работ по ТР принимается согласно нормам и корректируется коэффициентами К1, К2, К3, К4, К5.

К1 - коэффициент, учитывающий категории условий эксплуатации. Принимаем К1 = 1,2.

К2 - коэффициент, учитывающий модификации подвижного состава . Принимаем К2 зил =1; К2камаз =1,1.

Кз - коэффициент, учитывающий природно-климатические условия. К3 = 1,2

К4 - коэффициент, учитывающий изменение трудоемкости ТР автомобилей в зависимости от пробега с начала эксплуатации. К4= 0,7

К5 - коэффициент учитывает продолжительность простоев автомобиля на ТО и ремонте. К5 =1,2. Нормативная трудоемкость ТР для ЗИЛ, - tтрзил =3,7 ; для автомобиля КАМАЗ tтр камаз = 8,5

,                           (2.25)

зил = 3,7*1,2*1*1,2*0,7*1,2=4,48 ч. час на 1000 км

 камаз =8,5*1,2*1,1*1,2*0,7*1,2=11,3 ч. час на 1000 км

 / 1000 ,                                 (2.26)

где - годовой пробег автомобилей i-ой модели;

Aci - списочное количество автомобилей i-ой модели

Ттр зил = 4,48*30360*24/1000=3264,3 ч. час

 камаз = 11.3*60720*52/1000=35679 ч. час

Годовой объем работ по ТР для парка автомобилей.

 =  зил +  камаз, чел. час

 = 3264,3+35679=38943,3 чел. час.

.8.3 Годовой объем работ по диагностированию автомобилей

Объем работ по диагностированию автомобилей Д-1, Д-2 для i-ой модели по формуле :

Тд-1, д-2 = АкТ1i + Вк T2i,                               (2.27)

где    Ак - доля диагностических работ при ТО-1;

Вк - доля диагностических работ при TQ-2.

Ак зил = 0,08; Вк зил = 0,07;

Ак камаз = 0,09; Вк камаз = 0,08.

Тд-1 зил, д-2 = 0,08*877+0.07*1023,4 =141,8 ч. час

Тд-1 камаз, д-2 = 0, 09*48521-1-6505,1=957 ч. час

Годовой объем работ по Д-1 для i-ой модели:

Тд-1i = 0,5 ¸ 0,6 Тд-1,д-2;

Тд-1 зил = 0,6*141,8 = 85ч. час

Тд-1 камаз = 0, 6* 957=574, 2 ч. час

Годовой объем работ по Д-2 для i-ой модели

Тд-2i = Тд-1,д-2 =- Тд-1i;

Тд-2 зил = 141.8 - 85 = 56,8 чел. час

Тд-2 камаз=957 - 574, 2 = 382,8 чел. час

Годовой объем по Д-2 для парка машин

;

= 56, 8+382, 8=439, 6 чел. час.

2.9 Численность производственных рабочих


Технологически необходимое количество рабочих определяется по формуле:

Ртi= Ti/Фмi ,                                              (2.28)

где    Ti - годовой объем работ зоны или цеха, чел. час; Фмi - годовой фонд времени рабочего места , час.

.9.1 Определяем количество рабочих необходимых для ТО-1 и ТО-2

Рт = 5729,1 - 1 - 7528, 5 / 2056 = 7 чел

.9.2 Количество рабочих, необходимое для зоны ТР

Рт= 38943,3 / 2056 = 19 чел.

2.9.3 Штатное количество рабочих

РШ=Тi/Фг ,                                               (2.29)

где    Ti - годовой объем работ, чел. час;

Фг - годовой фонд времени штатного рабочего.

Количество рабочих для зоны ТО-1 и ТО-2.

Рш= 5729,1 = 7528, 5/1840=7,2

принимаем 7 человек.

Количество рабочих для зоны ТР.

Рш= 38943, 3/1840=21,1

принимаем 21 чел.

 

.10 Определение постов ТР, постов и линий ТО


Птр=Ттр * b * У / Рп * Тсм * СDрг *h,                      (2.30)

где    Птр - необходимое количество постов ТР;

Ттр - годовой объем работ по ТР, чел. час;

b - доля постовых работ по ТР;

У - 1,2 - коэффициент, учитывающий неравномерность поступления автомобилей в зону ТР;

Рп = 2 - количество рабочих, одновременно занятых на одном посту;

Тсм = 8,16 ч - продолжительность смены;

С = 1- число смен работы поста;

Dpr - число дней работы в году (Dpr=252);

h - коэффициент, учитывающий использование рабочего время поста (h= 0,97).

Птр= 38943,3*0,5*1,2 / 2*8,16*1*252*0,97 = 23365,98/3989, 26=5.8 = 6

2.10.1 Определяем количество постов и линий зоны ТО-2

Количество обслуживании в сутки.

 = 441 / 252 = 1.75

так как  < 5, то принимаем метод обслуживания на универсальных постах.

Число постов ТО-2 определяется по Формуле:

П2 = t2 / R2 * h2 ,

где    t2 - такт поста ТО-2 , мин;

R2 - ритм производства ТО-2 ;

h2 - коэффициент, учитывающий использование рабочего времени.

Такт поста ТО-2 определяется по формуле:

t2 = t2cp * 60 / Pп2 + tп,                                             (2.32)

где    t2cp = t2оp / SN2г - средняя по парку удельная трудоемкость работ То-2;

Pп2 - число рабочих, одновременно занятых на посту ТО-2

tn - продолжительность поставки автомобиля на пост и съезд с поста.

t2cp =7528,5 / 441=17 ч. час

t2 = 17 * 60 / 3 + 3 = 345 мин.

Ритм производства ТО-2 определяется по формуле :

г=60Гсм * С/N2сут,                                            (2.33)

где    Гсм - продолжительность смены, ч С - число смен.

Rr =60 * 8,16 * 1 / 1,75 = 280 мин

П2 = 345 / 280 * 0,98 = 1,25 = 1

.10.2 Определяем количество постов зоны ТО-1

Суточная программа обслуживания

1сут = SN1r / Dpr                                                (2.34)

N1сут = 1400 /252 = 5,5

При полученной программе целесообразно использовать универсальные посты.

П1= t1 / R1,                                                        (2.35)

где    t1 - такт поста ТО-1, мин;

R1 - ритм производства ТО-1;

П1 - число постов ТО-1;

t1 = t1cp * 60 /Pn1 + tn

t1cp = T1ог /SN1r = 5729,1/1400 =4ч. час.

t1 =4 * 60 / 3 + 3 = 85 мин.

Ритм производства ТО-1.

Р1 = Тсм * С * 60 / N1сут

Р1= 8,16 * 1 * 60 / 5,5 = 89 мин.

П1 = 85/89 = 0,95 = 1 пост

2.11 Определение площади зоны технического обслуживания


Ориентировочная площадь зоны ТО и ТР определяется по формуле:

=fo * Пo * Ko,                                           (2.36)

где    fo - площадь, занимаемая автомобилем в плане, м2

По - число постов ;

Ко - удельная площадь на 1 м2 площади, занимаемой автомобилем.

Fo=18,5 * 4 * 6 = 444 м2

 

3. Конструкторская часть

 

.1 Обзор существующих конструкций


.1.1 Подъемник для автомобилей. Авторское свидетельство СССР № 558852, Кл. В 66 F 7/00. 1974

Рисунок 3.1 - Подъемник для автомобилей

технический автомобиль обслуживание ремонт

Целью данного изобретения является улучшение обслуживания и уменьшения металлоемкости подъемника.

Подъемник работает следующим образом:

Автомобиль заезжает на качающуюся раму 2 передней осью, захватывает опорную подвижную тележку 3 и ложась на нее, вместе с ней продолжает двигаться. Опорная тележка 3 толкателем 4 катит вверх тележку - груз 8. Тележка - груз давит на Фиксатор 9, который благодаря овальной поверхности опускается вниз и фиксирует тележку - груз. При дальнейшем движении в заезде опорной тележки 3 на дугообразный трап 13 толкатель 4 выходит из зацепления с тележкой - грузом 8. При этом центр тяжести переместится в сторону движения автомобиля и нагрузка на верхний треугольник 19 возрастает, в результате чего он переместится вниз по направляющей 12 стойки 11, взаимодействуя своей гипотенузой с гипотенузой нижнего треугольника 17 посредством роликов 27. нижний треугольник из своего первоначального положения, при котором он упирался в стойку 11, переместится по направляющей .1.5 влево, увлекая туда же с помощью тяги 20 и нижний треугольник 16. Треугольник 16 в свою очередь заставляет перемещаться верхний треугольник 18 вверх. Рама 2, поворачиваясь вокруг шарниров 22 и 23 верхних треугольников, перемещает ось двуплечевого рычага 24 влево. Так как величина перемещения тяги 20 больше величины перемещения оси 25, пружина сжимается, благодаря чему осуществляется постепенный поворот рамы и вывешивание автомобиля.

В горизонтальном положении рама касается стойки 11. После обслуживания автомобиля потянув трос 14, выводят из фиксации тележку - груз 8, которая начнет двигатся по наклонным направляющим 7. При этом центр тяжести переместится в сторону тележки - груза и качающаяся рама примет первоначальное положение. Автомобиль задними колесами коснется пола, задним ходом опустится с качающейся рамы и передней осью поведет за собой опорную подвижную тележку. Когда толкатель 4 коснется тележку - груза, он повернется вокруг оси и займет первоначальное положение.

Такое выполнение подъемника по сравнению с известными устройствами аналогичного назначения обеспечивает значительное уменьшение металлоемкости и улучшает условия техники безопасности при техническом обслуживании автомобилей.

3.1.2 Подъемник для грузовых автомобилей. Авторское свидетельство СССР №630215, кл В 66 F7/16, 1977

Рисунок 3. 2 - Подъемник для грузовых автомобилей

Изобретение относится к гаражному оборудованию, а именно к подъемникам для вывешивания автомобилей при их техническом обслуживании и ремонте.

Целью изобретения является повышение производительности и облегчение эксплуатации.

Подъемник работает следующим образом:

Перед установкой автомобиля на подъемник несущая балка 8 устанавливается в походное положение. Автомобиль устанавливается на подъемник таким образом, чтобы передняя часть автомобиля в месте его подхвата под раму, находилась над поперечным лонжероном 4. Несущая балка 8 соединена с торцевой стенкой подвижной тележки 7 и стопорится клином. Соединенная таким образом несущая балка подхватывается под заднюю часть автомобиля в месте его подхвата под раму и стопорится фиксатором 18, взаимодействующими с зубчатой рейкой 6 продольных лонжеронов 5. Включается механизм подъема и автомобиль вывешивается под раму на необходимую высоту. Предельная высота подъема автомобиля ограничивается концевыми выключателями установленными на приводных стойках.

.1.3 Устройство для технического обслуживания автотранспортных средств. Авторское свидетельство СССР №1136987, кл. В 60 S 5/00, В 66 F 7/22, 1985

Рисунок 3. 3 - Устройство для технического обслуживания автотранспортных средств

Изобретение относится к транспортным средствам, а именно к эстакадам технического обслуживания и диагностирования автомобилей в стационарных условиях.

Целью изобретения является расширение технологических возможностей проведения обслуживания транспортных средств.

Устройство для технического обслуживания автотранспортных средств, содержащее боковой помост, жестко закрепленный на стойках, установленных на опорной поверхности, опоры для вывешивания автомобиля, раму с грузонесущими трапами и упорами для колес автомобиля, смонтированную на стойках с возможностью подъема, отличающееся тем, что, с целью расширения технологических возможностей, одни концы трапов в продольной вертикальной плоскости, а на боковом помосте установлены указанные опоры, выполненные в виде домкратов со сменной поперечной балкой, на конце помоста со стороны шарнира крепления трапов жестко установлена лебедка для подъема - опускания заднего моста автомобиля.

.1.4 Подъемник. Авторское свидетельство №189999, кл. В 66 F 3/22, 1964

Рисунок 3.4 - Подъемник

Изобретение относится к подъемно - транспортному оборудованию, а именно к гаражному оборудованию, и может быть использовано для вывешивания автомобилей при техническом обслуживании и ремонте.

Целью изобретения является повышение производительности работ на подъемнике.

Подъемник преимущественно для автомобилей, содержащий закрепленную на основании неподвижную опорную раму, подвижную подъемную платформу, связанные подъемным механизмом, выполненным в виде двух пар рычагов, шарнирно закрепленных на платформе и раме, привод подъема платформы, выполненный в виде гидроцилиндра, два механизма фиксации положения платформы, связывающие соответствующий рычаг данной пары подъемного механизма с опорной рамой, каждый из которых включает в себя зубчатую рейку, смонтированную на опорной раме и фиксатор, для взаимодействия с рейкой шарнирно закрепленный на рычаге упомянутой рычажной пары, механизм расфиксации с приводом, отличающийся тем, что с целью повышения производительности работ, механизм расфиксации выполнен в виде подъемной рамы для взаимодействия с фиксатором, связанной с опорной рамой шарнирно - рычажным параллелограммным механизмом перемещения, причем привод каждого механизма расфиксации выполнен в виде гидроцилиндра, шарнирно закрепленного на раме и опорной раме.

3.2 Конструктивный расчет, внедряемого в производство подъемника

Наиболее удачным решением технического оснащения постов зоны ТО, в результате увеличения их числа в процессе реконструкции зоны является - установка на образовавшихся постах шестистоячных, напольных подъемников, позволяющих, в зависимости от обслуживаемого автомобиля, менять расстояние между опорными балками подъемника.

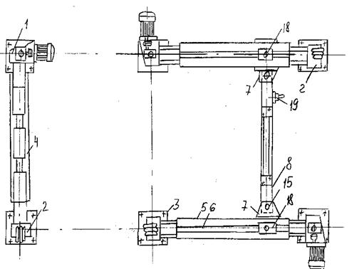
Напольный, шестистоечный подъемник автомобилей предназначен для подъема автомобилей для осмотра и выполнения работ по техническому обслуживанию и текущему ремонту автомобилей.

Подъемник состоит из шести стоек, установленных на индивидуальных фундаментах. Передняя часть подъемника (рисунок 3.5) состоит из двух стоек, соединенных между собой поперечной балкой 3. Приводная стойка 1 имеет винтовой механизм подъема, состоящий из электродвигателя, червячного редуктора, силового винта и гайки, которая закреплена в кронштейне, перемещающемся по направляющим стойки. На кронштейн жестко крепится один конец поперечной балки 3. Второй конец балки установлен подвижно в направляющих пассивной стойки 2. В стойке 2 и поперечной балке 3 смонтирована трособлочная система, обеспечивающая подъем передней части автомобиля.

Трособлочная система подъемника (рисунок 3.6) состоит из троса 7, трех направляющих блоков и устройства 10 для регулировки натяжения троса. Один конец троса закреплен внизу приводной стойки 1, а второй конец пропущен через направляющие блоки 6 и закреплен в верхней части пассивной стойки 2. При вращении силового винта 3 гайка 4 перемещается вверх вместе с кронштейном 5 и поперечной балкой 8.

Задняя часть подъемника состоит из 4-х стоек (рисунок 3.5), две из которых приводные и две - пассивные. Стойки установлены на индивидуальных фундаментах и соединены попарно продольными лонжеронами 4. Конструкция стоек и принцип работы аналогичен передней паре стоек.

На продольных лонжеронах установлены каретки 6 и 7, на которые крепится передвижная балка 5 (рисунок 3.5), перемещая которую по лонжеронам меняют расстояние между поперечной (поз. 3) и передвижной (поз. 5) балками, в зависимости от длины обслуживаемого автомобиля.

Передвижная балка 5 на каретке 7 установлена шарнирно, а на каретке 6 фиксируется с помощью штыря 8.

Работает подъемник следующим образом: перед установкой автомобиля на подъемник, подъемник устанавливают в исходное положение: все балки устанавливают в крайнее нижнее положение; фиксирующий штырь 8 вынимается из каретки 6, передвижная балка 5 поворачивается на 90о и устанавливается вдоль подъемника, освобождая путь автомобилю. Автомобиль заезжает на подъемник так, чтобы поперечная балка передних стоек оказалась под передней частью рамы автомобиля. Включается электродвигатель передней стойки и поперечная балка заводится под раму автомобиля. Электродвигатель выключается, как только поперечная балка коснется рамы автомобиля. В зависимости от длины автомобиля выставляется положение кареток 6 и 7, передвижная балка устанавливается в каретку 6 и фиксируется штырем 8. Включаются приводы задних стоек, передвижная балка 5 и поднимается до упора в раму автомобиля, приводы задних стоек выключаются; проверяется правильность установки автомобиля на подъемнике и включаются приводы всех стоек. Автомобиль поднимается на необходимую высоту и приводы выключаются.

Для опускания автомобиля приводы всех стоек включаются на реверс и операции осуществляются в обратном порядке.

Для предотвращения падения автомобиля с подъемника на поперечной и передвижной балках предусмотрены упоры.

.2.1 Расчет передачи винт - гайка

Основными критериями работоспособности винтовой передачи являются прочность, выносливость и устойчивость винта, а так же износостойкость резьбы.

Исходной величиной для расчета передачи является осевая нагрузка на винт - Q, задаваемая непосредственно. Осевая нагрузка на винт Q=40Кн. Необходимая грузоподъемность подъемника G =10т.

Внутренний диаметр винта предварительно можно найти из условия прочности при растяжении - сжатии по формуле (3.1)

σ p(сж) = 4 * Кн.н*Q/Пd12 £ [σ ]р(сж)                        (3.1)

где    Кн.н - коэффициент неравномерности нагрузки по винтам резьбы.

Для сжимаемых винтов Кн.н = 2,3 согласно [5]

Q - осевая нагрузка на винт, Н;

d1 - внутренний диаметр винта, мм;

σ p(сж) - напряжение растяжения (сжатия), МПа;

[σ ]р(сж) - допускаемое напряжение растяжения (сжатия), Мпа;

[σ ] = σоп / [п],                                           (3.2)

где    [п] - запас прочности.

Для материала винта - Сталь 45 принимаем [п] = 2,5 согласно [5],

σоп - опасное напряжение, МПа

σоп = 470 МПа для стали 45

[σ]ст = 470/2,5 =188 МПа

Согласно формуле (З.1) определяем внутренний диаметр винта d1

 ,                                  (З.3)

Согласно рекомендациям источника [1] для передачи движения выбираем трапецеидальную однозаходную резьбу по ГОСТ 9484-73 с параметрами:

наружный диаметр d = 70MM

средний диаметр d2 = 67,5мм

шаг α = 10мм

Для самоторможения винта угол подъема винтовой линии должен быть меньше угла трения:

b = S/Пd2 ,                                                (3.4)

где    S - шаг резьбы, мм

d2,- средний диаметр резьбы, мм

tgb = 10/3,14 * 67,5 = 0,0471, или b = 3°42'

Если принять коэффициент трения в резьбе f=0,1 [1], то tgr =0,1, или 5°43'.

Проверка винта на совместное действие сжатия и кручения.

Крутящий момент определяем по формуле (З. 5)

Мкр =Q d2 / 2 tg(.b+r),                                                (З.5)

Мкр = 40000 * 67,5 / 2 tg (3°42'+ 5°43') = 198585 Нмм

Предварительно выбранные размеры винта должны быть проверены на прочность с учетом скручивания [1].

Приведенное напряжение.

σпр=,                                                 (3.6)

где    t кр - касательное напряжение , Па

t кр = Мкр / 0,2 ,                                           (3.7)

σсж - напряжение сжатия, Па

σсж = 4Q/П,                                          (3.8)

Должно выполнятся условие достаточной прочности:

σпр £ [σр],                                                          (3.9)

где    [σр] - допускаемое напряжение на растяжение, Па

[σр] = 299 * l06 Па

Подставляем формулы (З. 7), (З. 8), (З. 9) в (3.6) получим

σпр= [σр],                      (3.10)

σпр = =137,2 МПа

σпр = 137,2 Мпа < 299 МПа = [σр]

Так как стержень работает на сжатие и имеет большую свободную длину, его необходимо проверить на прочность с учетом устойчивости по Формуле

σ = 4Q/Iid21 £ g[σ],                                             (3.11)

где    g - коэффициент уменьшения допускаемых напряжений, выбираемый для сжатия стержней в зависимости от гибкости

l = l/i,                                                        (3.12)

где    l - длина винта, выбираемая конструктивно ,мм l =1900 мм.

i - радиус инерции поперечного сечения , мм

(для круглого сечения i=d/4)

I = 65/4 = 16,25 мм отсюда l = 1900/16,25 = 117

По таблице стр.259 источник [5] в зависимости от гибкости определим коэффициент уменьшения допускаемых напряжений g: g=0,45.

Для материала винта - сталь 45, принимая коэффициент запаса прочности S = 2 согласно [5] получаем по формуле (З.13).

[σ] = σТ /S,                                                (З.13)

где    [σ] - допускаемое напряжение, МПа

σТ - предел тянучести, МПа

S - коэффициент запаса прочности

[σ] = 360/2=180 МПа

Подставляя цифровые значения в формулу (5.11), получим:

σ = 4 * 40000 / 3,14 * 652 =12 МПа

σ < g[σ] = 0,45 * 180 = 81 МПа

Высота гайки М2 находится из расчета рабочей поверхности резьбы на удельное давление - сжатие, особенно опасное для постовых винтов, так как при больших удельных давлениях неизбежно выдавливание смазки, повышенный износ и даже заедание рабочих поверхностей.

Н2= Кн.н * Q / 1,1Пd1 x [σ]см ,                                  (3.14)

где    Н2 - высота гайки, мм

Кн.н - коэффициент, учитывающий неравномерность распределения нагрузки по виткам резьбы; Кн.н = 2,3 для крупных резьб [5];

x - коэффициент рабочей высоты профиля резьбы, для трапециальных резьб x =0,5. [1];

[σ]см - допускаемое напряжение сжатия, МПа

[σ]см = 25 МПа.

Н2 = 2 * 40000 / 1,1 * 3,14 * 65 * 0,5* 250 = 50мм

Потребное число оборотов винта определяется по формуле

,                                                (3.15)

где    u - окружная скорость вращения винта, м/мин

Z - число заходов резьбы

S - подача, мм/об

nb = 60 * 1,1 / 1 * 0,5=120 об/мин.

3.2.2 Выбор электродвигателя

Подъем автомобиля осуществляется за счет перемещения гайки по вращаемуся винту, который в свою очередь приводится в движение от электродвигателя через червячный редуктор. Валы редуктора и электродвигателя соединены муфтой, КПД которой равен 0,98.

Определяем потребляемую мощность привода (мощность на выходе) по формуле (3.16)

вых=Ft * V ,                                              (З.16)

где    Ft - окружная сила на винте, Н

(по предварительным расчетам Ft = 2500 Н);

V - скорость подъема; м/мин

Рвых = 2500 * 1,1 = 2750 Вт

Определяем потребляемую мощность электродвигателя.

Рэ. потреб = Рвых/h общ ,                                           (З.17)

где    hобщ - общий КПД механизма

hобщ = hв.п. * hр * hм * hп,                                       (3.18)

где    hв.п. - КПД винтовой передачи;

hр - КПД редуктора;

hм - КПД муфты;

hп - КПД подшипников.

hобщ = 0,5 * 0,87 * 0,98 * 0,96 = 0,41

Рэ.потреб = 2750 / 0,41 = 6707 Вт = 6,7 кВт.

Определяем потребную частоту вращения вала двигателя.

hg = hв * И,                                               (З.19)

где    hв - потребное число оборотов винта, об/мин;

И - передаточное число червячного редуктора.

(редуктор 4-80 с передаточным числом И=10).

hg = 120 * 10 = 1200 об/мин.

После проведенных расчетов выбираем электродвигатель с мощностью Р=7,5 кВт и частотой вращения ротора п=1500об/мин.

Двигатель серии 4А132S4УЗ.

.2.3 Расчет поперечины

Поперечная балка работает на изгиб, поэтому необходимо произвести расчет на изгиб и определить ее размеры.

Определение площади поперечного сечения балки. Необходимо найти момент сопротивления по формуле (З.20)

 = Мизг. мах/[σизг] ,                                          (З.20)

где    Мизг. мах - максимальный изгибающий момент,

[σизг] - допускаемое напряжение на изгиб, МПа

Принимаем профиль поперечного сечения прямоугольный (рисунок 3.7) с отношением h/b =1,5

Рисунок 3.7 - Профиль поперечного сечения поперечной балки

Для определения максимального изгибающего момента составим расчетную схему (Рисунок 3.8).

Определим силу Р

Р = G/4, кг                                                           (3.21)

где    G - грузоподъемность подъемника, кг

Р = 10000 / 4 = 2500 кг

Расстояния а, l принимаются конструктивно: а =1030мм

l = 3090мм

Рисунок 3.8 - Расчетная схема

Определяем реакции сил в опорах

.        SР=0

Ra+RB- 2P=0

.        SМа=0

Rв * l - Р(l - а) - Р * а = 0

Rв = P(l-a)+P * a / l = P(l-a+a) / l = P =2500 кг. = 2P-RB= 2 * 2500 - 2500 = 2500кг

Определяем изгибающие моменты

Ма= Мв= Р * а = 2500 * 1,03 = 2575 кг м

Определим допускаемое напряжение на изгиб по формуле

[σизг] = σт /Кз,                                          (3.22)

где    σт - предел тянучести для стали СтЗ, МПа

Кз - коэффициент запаса прочности.

[σизг] = 240 / 10 = 24 МПа

Полученные значения подставляем в формулу (З.20)

W= 257500 / 24 =10730ммЗ = 1073см3

Согласно [2] момент сопротивления для балки прямоугольного сечения равен

 =bh2/6,                                                    (3.23)

где    в - ширина, см;

h - высота, см.

В нашем случае для прямоугольного профиля коробчатого сечения формула (3.23) примет следующий вид:

=bh2/6 - (b-2t)(l,5 b-2t)2 /6 ,                      (3.24)

где    h =1,5 b

t - толщина стенок , см t = 0,8 см

Зная значение W решим полученное уравнение. Получаем значение b=19 см; h=28,5 см.

4. Экономическая часть


В экономической части дипломного проекта производится экономический расчет технического перевооружения зоны ТО АТБ-3.

В базовом варианте ТО проводилось с домкрата и смотровой канавы. Во внедряемом варианте подъем автомобиля производится, напольным шестистоячным подъемником, который позволяет выполнять большой перечень работ по техническому воздействию на автомобиль в отличии от базового варианта. В результате внедрения подъемника ожидается увеличение производительности труда и улучшение условий труда рабочих.

 

.1 Расчет капитальных вложений


Подъемник предлагается изготовить хозяйственным способом.

Затраты на изготовление подъемника определяются по формуле:

К= М+ЗП+Сн+Сс+С+П ,                                   (4.1)

где К - затраты на изготовление подъемника, руб.;

М - стоимость основных и вспомогательных материалов, руб.;

ЗП - основная и дополнительная заработная плата рабочих, занятых изготовлением подъемника, руб.;

Сн - социальный налог (35,6%), руб.;

Сс - отчисление на обязательное социальное страхование от несчастных случаев (0,9%), руб.;

С - расходы на содержание оборудования, используемого при изготовлении оборудования, руб.;

П - прочие неучтенные затраты на изготовление подъемника, руб.

4.1.1 Расчет стоимости основных и вспомогательных материалов производится в таблице 4.1

Таблица 4. 1 - Расчет стоимости материалов

Наименование деталей

Вес деталей, кг (кол-во)

Материалы

Цена за 1 кг (ед-цу) руб.

Общая стоимость руб.

Основные материалы





Стойки

2900

 лист 11020x2500x4

8

23200

 Поперечные балки

200

лист 1020х2500х4

8

1600


50

уголок 40x40x4

5

2500


10

трос

20,3

Электродвигатель

З шт.

-

3500

10500

Редуктор

З шт.

-

3000

9000

Прочие детали

60

круг

4,1

246


30

уголок 50x50x5

4,8

144

Вспомогательные материалы

60

электроды

30

1800

Итого



49193


Цены на материалы и другие стоимостные показатели (тарифные ставки, тарифы на электроэнергию) используются действующие на период выполнения дипломного проекта.

.1.2 Изготовлением подъемника занято шесть рабочих и один механик

Расчет заработной платы приводится в таблице 4.2.

Таблица 4. 2 - Расчет заработной платы

Профессии

Кол-во рабочих. чел

Время работ час

Разряд

Часовая тарифн. ставка руб.

Тарифная заработ. плата руб.

Доплат премия

Район коэф.

Итого основн зараб. плата руб.

Допол нит зарпл руб.

Общая зар. плата руб.

токарь

1

28

6

9,750

273

27,3

90,09

390,39

42,94

433,33

сварщ

2

42

5

9,570

401,94

40,19

132,64

574,77

63,22

637,99

слесарь

3

70

6

9,750

682,5

68,2

225,22

975,98

107,35

1083,34

механик

1

70


13,70

959,0

95,90

316,47

1371,37

150,85

1522,22

Итого:

3676,88


Сумма социального налога определяется от общей зарплаты по действующим нормативам - 35,6%, премии - 10% от тарифной зарплаты, доплаты по районному коэффициенту - 30% от тарифной зарплаты с премией, дополнительная зарплата -11% от основной заработной платы.

Социальный налог составит:

Сн = 3676,88*0,356 = 1308,97 руб.

Отчисления на социальное страхование от несчастных случаев составляет:

Сс = 3676,88*0,009 = 33,09 руб.

.1.3 Расчет расходов на содержание оборудования

Расходы на содержание оборудования, используемого при изготовлении подъемника (токарный станок, фрезерный станок, сверлильный станок, сварочный аппарат)

определяется по формуле:

С=Э+А+Р+П,                                           (4.2)

где    Э - стоимость электроэнергии, руб. (по действующим нормативам 1 кВт. ч стоит 0,89 руб.);

А - сумма амортизационных отчислений, руб.;

Р - отчисления на текущий ремонт, руб.;

П - прочие неучтенные расходы, руб.

Расход электроэнергии определяется по формуле:

=NЭ*t*hз*hс ,                                          (4. 3)

где    W - расход электроэнергии, кВт. час;

NЭ - мощность электродвигателя оборудования, кВт;

t - время работы двигателя, час;

hз - коэффициент загрузки оборудования, (hз = 0,75¸0,82);

hc - коэффициент спроса по мощности, (hc =0,58¸0,66)

Расход электроэнергии токарным станом составит:

Wт.с. = 3*11*0,75*0,65 = 19,09 кВт. час

Расход электроэнергии сварочным аппаратом составит:

Wсв.ап. = 20*42*0,8*0,65 = 43,68 кВт. час

Расход электро энергии фрезерным станком составит:

Wф.с. = 3,5*12*0,75*0,58 = 18,27 кВт. час

Расход электроэнергии сверлильным станком составит:

Wс.с. = 2*5*0,75*0,58 = 4,35 кВт. час

Суммарный расход электроэнергии составит:

W = 16,09+18,27+4,35+43,68 = 82,39 кВт. час

Стоимость расходуемой электроэнергии составит:

Э = 0,89*82,39 = 73,33 руб.

Амортизационные отчисления и отчисления на текущий ремонт определяются по действующим нормативам от балансовой стоимости оборудования пропорционально удельному весу времени работы оборудования при изготовлении подъемника (t) в годовом фонде рабочего времени оборудования (Т)


(Т) = (t/T)*l00,                                           (4.4)

Таблица 4.3 - Расчет амортизационных и ремонтных отчислений

Наименован оборудован

Балансовая стоимость

Нормы отчислений

Фонд рабочего времени, час

Отчисления, руб.



на амор тиз.

на т. р.

годовой

на изг. подъемника

удел вес %

на амортизацию

на т.р.

токарн станок

28170

10

7

1951,18

11

0,56

15,88

11,12

Фрезер станок

1500

10

7

1951,18

12

0,62

9,23

6,46

сверл станок

9200

10

7

1951,18

5

0,26

2,36

1,65

свароч аппар

8400

10

7

1951,18

42

2,15

18,08

12,66

ИТОГО

45,55

31,89


Фонд рабочего времени станков в год рассчитывается по формуле:

Ф = (Фн - Фсокр )* Кр,                                                (4.5)

где Ф - полезный фонд времени станка в год;

Фн - номинальный фонд рабочего времени;

Фн = 250 * Ксм * Тсм,                                                 (4.6)

где 250 - число рабочих дней в году;

Ксм - коэффициент сменности;

Тсм - продолжительность смены, ч;

Фсокр - длительность сокращенного времени в предпраздничные дни (для станков) 9 ч;

Кр - коэффициент, учитывающий простой станка в ремонте.

Фн =250 * 1 * 8 = 2000 ч.

Ф =(2000-9) * 0,98 = 1951,18 ч.

Балансовая стоимость, нормы отчислений, годовой фонд времени взяты по данным предприятия.

Прочие неучтенные расходы на содержание оборудования определяются в размере 5% от суммы прямых расходов, в которые входят электроэнергия, амортизация и текущий ремонт.

С = (73,33+45,55+31,89) * 1,05 = 158,31 руб.

К = (49193+3676,88+1308,97+33,09+158,31)*1,05=57088,76 руб.

По формуле (4.1) определяем общие затраты на изготовление подъемника, где прочие затраты, так же определяется в размере 5У. от прямых расходов на изготовление подъемника.

К=25271+5484,44+2138,9+89,73+4,27=32988.34 руб.

 

.2 Расчет текущих затрат на работу подъемника


Расчет текущих затрат на подъем и обслуживание автомобиля в базовом и проектном вариантах осуществляется по формуле:

ЗБ = ЗП + Сн+ СС + А + П ,

ЗП = ЗП + Сн+ СС + С + П ,                                       (4.7)

где ЗБ,П - текущие затраты на подъем и обслуживание автомобиля в базовом и проектном варианте, руб.;

ЗП - заработная плата основная и дополнительная рабочих, занятых обслуживанием автомобиля, руб.

Сн - социальный налог (35,6%), руб.

СС - отчисления на обязательное социальное страхование от несчастных случаев (0,9%), руб.

С - расходы на содержание подъемника в проектном варианте, руб.

А - амортизация домкрата в базовом варианте, руб.

П - прочие расходы (5%), руб.

Социальный налог составит:

базовый вариант - 46,80*0,356 = 16,66 руб.

проектируемый вариант - 17,99*0,356 = 6,41 руб.,

Отчисления по обязательному медицинскому страхованию от несчастных случаев составит:

базовый вариант - 46,80*0,009 = 0,42 руб.

проектируемый вариант - 17,99*0,009 = 0,16 руб.

.2.1 Расчет заработной платы рабочих, занятых обслуживанием автомобилей приводится в таблице 4. 4

Таблица 4.4 - Расчет заработной платы рабочих

Профессия

Количество рабочих

Разряд рабочих

Трудоемкость работ, чел.час.

Часовая тарифная ставка, руб.

Тарифная зарплата

Доплаты, руб.

Итого основная зарплата, руб.

Дополнительная зарплата, руб.

Общая зарплата, руб.







Премия 10%

Районный коэф. 30%




Базовый вариант

Слесарь

1

4

3,9

7,56

29,48

2,95

9,73

42,16

4,64

46,80

Проектируемый вариант

Слесарь

1

4

1,5

7,56

11,34

1,13

3,74

16,21

1,78

17,99


.2.2 Амортизация домкрата в базовом варианте составит:

А = 1200 *0,25 = 300 руб.

в т.ч. на единицу:

Аед = 300/76 = 3,95 руб.

где    76 - количество автомобилей в хозяйстве.

Затраты на обслуживание 1 автомобиля в базовом варианте составят:

Зб = (46,80 + 16,66 + 0,42 + 3,95) * 1,05 = 71,22 руб.

Общие затраты с учетом численности автомобилей в хозяйстве 76 единиц определяется:

Зобщ = 71,22*76 = 5412,62 руб.

.2.3 В проектном варианте текущие затраты рассчитываются по формуле (4.7) где расходы на содержание подъемника рассчитываются по формуле:

С = Э + А + Р + П ,                                            (4.8)

где    Э - стоимость расходуемой электроэнергии, руб.;

А - амортизационные отчисления (10% от стоимости подъемника) руб.;

Р - отчисления на текущий ремонт (7% от стоимости подъемника), руб.;

П - прочие затраты, руб. (5% от суммы Э+А+Р)

На один подъем и одно опускание автомобиля тратится 18 кВт за 2 минуты, то есть 0,54 кВт. час. Стоимость 1кВт час 0,89 руб.

Получаем Э = 0, 54 * 0,89 = 0,48 руб.

На 76 автомобилей это составит 36,53 руб.

А = 57088,76 * 0,1 = 5708,88 руб.

Р = 57088,76 * 0,07 = 3996,21 руб.

П = (36,53 + 5708,88 + 3996,21) * 0,05 = 487,08 руб.

Числовые значения подставляем в формулу (4.8) и формулу (4.7)

С = 36,53 + 5708,88 + 3996,21 + 487,08 = 10228,70 руб.

На 1 автомобиль это составит 10228,7 / 76 = 134,59 руб.

Зпр = (17,99 + 6,41 + 0,16 + 134,59) * 1,05 = 167,11 руб.

По данным расчетов текущие затраты в проектном варианте значительно превышают текущие затраты базового варианта. Для своего парка автомобилей (76 единиц) внедрение подъемника экономически нецелесообразно. Поэтому для окупаемости подъемника необходимо брать заказы на техническое обслуживание от других предприятий или частных лиц.

.2.4 При условно принятой программе по обслуживанию 800 автомобилей в год вычислим отчисления на амортизацию и ремонт подъемника с одного обслуживания.

А =5708,88/800=7,14 руб.

Р=3996,21/800=4,66 руб.

С учетом прочих расходов затраты на содержание оборудования составят:

А+Э+Р= 7,36+0,08+2,89=10,39 руб.

С=(0,48+7,14+4,99)*1,05=13,24 руб.

П=0, 52 руб.

Полученные числовые значения подставляем в формулу (4.7).

Зпр = (17,99+6,41+0,16+13,24)*1,05=39,69 руб.

Снижение затрат за счет использования подъемника на каждый автомобиль составит:

DЗед = 71,22 - 39,69 = 31,53 руб.

С учетом годовой программы работ 800 автомобилей общая экономия составит:

DЗоб = 31,53 * 800 = 25 224 руб.

Срок окупаемости дополнительных капитальных вложений определяется по формуле:

Т= К / Пч,

где    Т - срок окупаемости капитальных вложений, лет

К - затраты на изготовление подъемника, руб.

Пч - чистая прибыль, получаемая за счет снижения затрат.

Чистая прибыль определяется как разница общей экономии от внедрения подъемника и суммой налоговых платежей.

Пч = DЗоб - Нп - Ни,

где    Нп - налог на прибыль (ставка 24%), тыс. руб.

Ни - налог на имущество (подъемник) - ставка 2%, тыс. руб.

Пч = 25,224 - 25,244 *0,24 -57,088 - 76*0,02 = 18,028 тыс. руб.

Т = 57,088/18,028 = 3,2 г.

Срок окупаемости капитальных вложений в пределах нормативного срока службы говорит об экономической целесообразности их внедрения.

В условиях ПКФ, т.к. спрос на ТО автомобилей таких распространенных моделей, как Камаз, ЗИЛ, ГАЗ велик, то есть возможность использование зоны ТО и ТР с привлечением сторонних автомобилей (частных лиц, других организаций, организаций тех. осмотра ГАИ и т.д.) Поэтому будет возможность дополнительного дохода для ПКФ, что в наше время очень актуально.

Таблица 4.5 - Технико-экономические показатели эффективности проекта

Наименование показателя

Значение показателя


базовый вариант

проектируемый вариант

 1. Капитальное вложение, тыс. руб.

1,200

57,088

 2. Трудоемкость работ, чел. час/ед

3,9

1,5

 3. текущие затраты, руб/ед

 

 

 всего

71,22

39,69

 в т.ч

 

 

 - основная и дополнительная зарплата

46,8

17,99

 - социальный налог

16,66

6,41

 - социальное страхование от несчастных случаев

0,42

0,16

 - содержание оборудования

3,95

13,24

 - прочие

3,39

1,89

 4. Снижение текущих затрат, руб.

 

 

 - на единицу

-

34,53

 - всего (при программе 800 единиц)

-

25224

 5. Чистая прибыль, тыс. руб.

-

18,028

 6. Срок окупаемости дополнительных капитальных вложений, лет

-

3,2

 

5. Безопасность и экологичность проекта


Введение

Принятый 17 июля 1999г. федеральный закон “Об основах охраны труда в Российской Федерации” в качестве основных направлений государственной политики в области охраны труда рассматривает:

·   обеспечение приоритета сохранения жизни и здоровья работников;

·        государственное управление охраной труда;

·        государственный надзор и контроль за соблюдением прав и законных интересов работников в области охраны труда;

·        координация деятельности в области охраны труда, охраны окружающей природной среды и других видов экономической и социальной деятельности.

Целью проведения всех этих мероприятий можно считать достижение безопасных условий труда, то есть таких, при которых воздействие на работающих вредных или опасных производственных факторов исключено либо уровни их воздействия не превышают установленной нормы.

Достижению этих целей служат и другие нормативно-правовые акты, принятые в России за последние годы. К ним можно отнести Федеральный закон “О пожарной безопасности” от 21 декабря 1994 года (с изменениями на 24 января 1998 года), закон Красноярского края “Об охране труда в Красноярском крае” от 29 июня 1999 года, закон Красноярского края “О пожарной безопасности в Красноярском крае” от 10 февраля 2000 года, Федеральный закон “об обязательном страховании от несчастных случаев на производстве и профессиональных заболеваний” от 2 июля 1998 года и ряд других документов.

Определённое внимание уделяет государство созданию в стране условий, обеспечивающих в экстремальных ситуациях предотвращение или максимальное снижение потерь и ущерба, сохранение объектов, существенно необходимых для устойчивого функционирования экономики и выживания населения. Приняты и действуют Федеральные законы “О защите населения и территорий от чрезвычайных ситуаций природного и техногенного характера” от 11 ноября 1994 года. и “О гражданской обороне” от 12 февраля 1998 года.

В настоящем дипломном проекте рассматривается технология работ в зоне технического обслуживания автомобилей двух технологически совместимых групп:ЗИЛ-24 ед. и КАМАЗ - 52 ед. различных моделей Автотранспортной базы 3 г. Красноярска . В зоне ТО, на протяжении рабочей смены постоянно находятся ремонтные рабочие, которые выполняют определенные операции, связанные с ТО-1.ТО-2 и требующие необходимого освещения.

При установке автомобилей на посты зоны ТО необходимо совершать маневры внутри помещения с помощью работы двигателей автомобилей. Для хороших условий работы необходимо обеспечить достаточную вентиляцию зоны проведения работ.

5.1 Производственная безопасность


.1.1 Характеристика основных опасных и вредных производственных факторов на участке

В процессе технического обслуживания и текущего ремонта автомобилей, обкатки двигателей на участке согласно ГОСТ 12.0.003-74*ССБТ выявлены следующие вредные и опасные производственные факторы:

из группы физических опасных и вредных производственных факторов:

·   вращающиеся механизмы (привод подъемника, приводы станков) и движущиеся механизмы (кран-балка, транспортная тележка);

·        повышенный уровень шума и вибрации, а также повышенная температура рабочей зоны возникающие при работе двигателей;

·        повышенная загазованность, возникающая вследствие прорыва газов при работе двигателей;

·        повышенное напряжение электроцепи (электропривод механизмов, и других приборов), замыкание которой может произойти через тело человека;

·        острые кромки, заусеницы, шероховатости на поверхностях заготовок, деталей, инструментов и оборудования;

·        из группы химических вредных и опасных производственных факторов:

а) по характеру воздействия на организм человека:

§   токсические (бензин, дизельное топливо, растворители, смазывающие материалы);

б) по пути проникновения в организм человека

§   через органы дыхания (пары вышеуказанных веществ)

·   из группы психофизиологических:

§   физические перегрузки, связанные с постоянной работой на ногах, а также с разборкой и сборкой двигателей;

§  нервно-психические перегрузки связанные с перенапряжением анализаторов (постоянный визуальный контроль сборки, дефектовка, органы слуха задействованы при работе двигателей и механизмов).

Токсическая характеристика веществ приведена в таблице 5.1.

Таблица 5.1 -Токсическая характеристика веществ

Наименование вещества

Агрегатное состояние

Плотность Г/см

ПДК в воздухе рабочей зоны, мг/м

Меры и средства первой помощи

Средство индивидуальной защиты

Класс опасности по ГОСТ 12.1.005-88

1

2

3

4

5

6

7

Бензин, уайт-спирит

Жидкость, пары

730

100

Успокаивающее вещества

Респираторы перчатки

4


5.1.2 Общая характеристика опасности производства

Общая характеристика опасности производства представлена в таблице 5.2.

Таблица 5.2 - Характеристика опасности производства

показатель

Класс или категория

обоснование

1

2

3

Санитарный класс ОАО автоколонна 1967

Класс 4, ширина санитарно-защитной зоны 150 м

Предприятие, на котором производится ремонт машин, автобусов и кузовов

Категория участка по ремонту двигателей по взрывоопасной и пожарной опасности

 Категория А

Помещение в котором обращаются горючие вещества и материалы (бензин, ветошь)

Класс помещения по степени опасности поражения людей электрическим током

Помещение с повышенной опасностью II класс

В помещении токопроводящие полы, возможность одновременного прикосновения человека, к механизмам и к металлическим корпусам электрооборудования

Класс взрыво или пожароопасной зоны участка

Группа В- Iа

Пары бензинов, растворителей

Категория устройства молниезащиты участка

Категория II

Здание II категории молниезащиты расположенное в местности со средней продолжительностью гроз 20 часов в год и более


.1.3 Организационные мероприятия

Администрация АТБ-3 (главный инженер, начальник производства) обязаны разрабатывать мероприятия по охране труда и добиваться их выполнения от рабочих. Рабочие обязаны проходить различные инструктажи по технике безопасности согласно ГОСТ 12.0.004-90ССБТ,

По характеру и времени проведения инструктажи рабочих подразделяются на:

·   вводный, проводят с вновь прибывшими рабочими, служащими и инженерно-техническими работниками, с направленными для прохождения производственной практики студентами;

·        первичный или инструктаж на рабочем месте, проходят все принятые на работу работники, прошедшие вводный инструктаж, а так же рабочие переходящие с одного вида работ на другой;

·        повторный инструктаж проводят со всеми работниками, независимо от квалификации и стажа работы не реже одного раза в шесть месяцев, а выполняющие работы с повышенной степенью опасности - не реже одного раза в три месяца;

·        внеплановый инструктаж проводят при переводе или переходе рабочего на выполнение другого вида работ, при выполнении работ в условиях повышенной опасности, изменении технологии производства, замене или вводе в эксплуатацию нового оборудования.

К ремонту и обслуживанию автомобилей допускаются лица, прошедшие специальное обучение, овладевшие практическими навыками безопасности выполнения работ и прошедшие вводный, а затем и инструктаж на рабочем месте. Перед началом работы рабочий должен проверить исправность оборудования и инструмента. Все крепёжные, монтажно-демонтажные работы, операции необходимо выполнять в последовательности, указанной в технологических картах. В них должны отражаться правильность и безопасность выполнения соответствующих операций, а так же указаны применяемые инструменты и приспособления. Технологические карты должны быть вывешены на рабочем месте.

Оборудование необходимо расположить так, чтобы рабочий меньше перемещался по участку в ходе технологического процесса.

Для защиты персонала от воздействия вредных производственных факторов в цехе согласно ГОСТ 12.4.011-89ССБТ предусмотрено обеспечение работающих средствами индивидуальной защиты: комбинезоны, халаты, сапоги, ботинки, рукавицы, перчатки, защитные очки, респираторы ШП-1 типа лепесток.

5.1.4 Механизация и автоматизация трудоёмких работ

Для подъёма и транспортирования двигателей и тяжелых деталей по территории участка ТО И ТР предусмотрена кран-балка.

Строповку конструкций и оборудования предусмотрено производить инвентарными стропами и специальными грузозахватными устройствами.

Стропы в процессе эксплуатации предусмотрено подвергать техническому осмотру лицам, ответственным за их исправное состояние, ГОСТ 12.3.009-76ССБТ.

.1.5 Обеспечение безопасности работающих при эксплуатации и обслуживании оборудования участка ТО И ТР

В процессе эксплуатации участка технического обслуживания и текущего ремонта необходимо выполнение следующих требований безопасности по ГОСТ 12.3.002-75ССБТ,

Рабочий, обслуживающий оборудование ведёт наблюдение за его состоянием; следит за смазкой подшипников, чтобы прокладки и различные уплотнительные устройства были в порядке; следит за состоянием приводных устройств.

Производится смазка, чистка и ремонт движущихся частей на остановленном оборудовании.

При пуске оборудования рабочие оповещаются условным сигналом (световым или звуковым).

Необходимо пользоваться исправными переносными лампами (напряжением не выше 12В) и электрооборудованием.

.1.6 Обеспечение безопасности при ремонте оборудования участка

При ремонте оборудования участка ТО и ТР необходимо соблюдать следующие меры безопасности, согласно ГОСТ 12.4.011-89ССБТ

К ремонту оборудования допускаются лица не моложе 18 лет, прошедшие медицинское освидетельствование, обученных по соответствующей программе.

При ремонте оборудования необходимо пользоваться средствами индивидуальной защиты.

При постановке оборудования питающегося электрическим током на ремонт, необходимо снять напряжение на пусковых установках, вывесить плакат “не включать! Работают люди”

.1.7 Электробезопасность

На участке ТО и ТР для уменьшения возможности поражения людей электрическим током, необходимо и достаточно выполнить организационно-технические мероприятия по уменьшению опасности поражения электрическим током, согласно ГОСТ 12.1.019ССБТ.

Для защиты персонала от поражения электрическим током используются:

·        защитное заземление, ГОСТ 12.1.030-81ССБТ, служащее для уменьшения напряжения, под которым может оказаться корпус электрооборудования, если на него произошло замыкание тока;

·        защитное отключение электродвигателей и электроаппаратуры при помощи автоматических выключателей;

·        понижение напряжения в сетях до 12В, для питания ручных переносных ламп;

·        блокировочные устройства, которые исключают возможность проникновения человека в опасную зону или устраняют опасность его поражения, препятствуют неправильным, опасным действиям с коммутационными аппаратами и заземляющими устройствами;

Для индивидуальной защиты используют:

·        средства изоляции человека (диэлектрические перчатки, галоши, изолирующие коврики);

·        инструмент и приспособления при работе под напряжением: изолирующие клещи, электроинструмент с изолирующими рукоятками;

·        приборы и приспособления для обнаружения напряжения и измерений под напряжением;

·        приборы и приспособления для обнаружения не целостности изоляционного материала;

·        переносные заземления;

·        предохраняющие средства для индивидуальной защиты работающих (защитные очки, специальные рукавицы);

Нетоковедущие части технологического оборудования, которые могут оказаться под напряжением при нарушении электрической изоляции соединяются с контуром заземления. Защитное заземление осуществляется вертикально погружённым в грунт стальными трубами диаметром 50мм, длиной 2,5 - 3м. Заземлители соединяются с друг другом и магистралью контурного заземления идущего вдоль стен помещения ГОСТ 12.1.030-81ССБТ

5.2 Производственная санитария


Защита от нарушения теплового баланса организма работающего

Значение параметров микроклимата помещения приведены в таблице 5.3 согласно СанПиН 2.2.4.548-96, соответствующее категории работ IIб.

Таблица 5.3 - Фактические и нормативные значения температуры, относительной влажности с скорости движения воздуха в рабочей зоне

Период года и параметры микроклимата

Допустимые

Фактические

Тёплый период года: температура, С относительная влажность, % скорость движения воздуха, м/с Холодный период года: температура, С относительная влажность, % скорость движения воздуха, м/с

 27-16 не более 70 0,2-0,5  21-15 не более 75 не более 0,4

 21-24 50 0,3  17-19 50 0,2

Сравнительная характеристика показывает, что нарушение теплового баланса организма работающих в рабочей зоне нет.

Дипломным проектом предлагается оптимальную температуру воздуха в цехе в холодное время года поддерживать за счёт системы водяного отопления, калориферов, установки тепловых завес над дверными проёмами.

.2.2 Организация водоснабжения на бытовые и хозяйственные нужды

На предприятии имеется сеть объединённого хозяйственно- питьевого, производственно - противопожарного водоснабжения.

Предусмотрено питьевое водоснабжение: питьевые фонтанчики, установленные на питьевом трубопроводе. Температура питьевой воды находится в пределах 8 - 20 С.

Питьевая вода подаётся из расчёта 4 -5л на человека в сутки, СанПиН 2.1.1074-01.

.2.3 Санитарно-бытовые помещения

Для участка ТО и ТР предусмотрены следующие специальные санитарные бытовые помещения, которые выбраны исходя из группы производственных процессов:

·        душевые;

·        санузлы;

·        гардеробные, для хранения личной одежды, спецодежды и обуви;

Расчётное количество человек на один кран в умывальных помещениях десять человек, на одну душевую три человека.

.2.4 Режим труда и отдыха, организация питания

Рабочие моторного участка работают в одну смену по восемь часов с перерывом на один час питания, через четыре часа после смены. В течении выделяются десятиминутные перерывы через каждые два часа.

На территории АТП находится столовая в которой производится питание всего персонала.

Выходные дни предоставляются в конце рабочей недели: суббота и воскресение, и в красные дни календаря. Всем работникам предоставляется ежегодный отпуск с сохранением места работы и среднего заработка.

 

.3 Пожарная безопасность


.3.1 Противопожарный режим в производственных и служебных помещениях

Отходы производства и мусор после окончания работ каждой смены должны из помещений убраться в специальный ларь для отходов. Перед закрытием помещения проверяется и отключается электроосвещение.

Согласно ГОСТ 12.1.004-91ССБТ и СНиП 21-01-97 запрещается:

Въезд и временная стоянка транспорта с работающими ДВС в помещении; использование открытого огня в местах обтирочных материалов, а так же в близи легковоспламеняющихся жидкостей; тушить возгорание электропроводки водой; загромождать проходы и проезды к пожарному инвентарю, мыть детали бензином; хранить в цехе горючие вещества, хранить воспламеняющиеся вещества в негерметичных ёмкостях.

Спецодежда должна храниться в раздевалках в развешенном виде в шкафах и не иметь в карманах промасленных тряпок и ветоши.

Хранение горючих жидкостей в цехе допускается только:

в специально отведённом месте в закрытой небьющейся посуде;

в количестве на более суточного запаса, обусловленного нормами.

Скопление двигателей и запасное оборудование сверх установленной нормы на участке хранить не допускается.

Освещение производственных и складских помещений допускается только электрическое.

На трущихся частых оборудования не допускается наличие подтёков масла и замасленных накоплений грязи.

5.3.2 Средства пожаротушения и связи

Для обеспечения пожарной безопасности на участке ТО и ТР дипломным проектом предлагается:

Весь пожарный инвентарь разместить на видном месте, содержать его в исправном состоянии и обеспечить к нему беспрепятственный доступ;

В зоне ТО работают 7 человек. При возникновении пожара, для эвакуации людей достаточно одних ворот, шириной 4700 мм.

Для ликвидации небольших загораний в зоне ТО установить пять химических, пенных, ручных огнетушителей (ОХП-10), предназначенных для тушения загорания и начинающихся пожаров в начальной стадии их возникновения. Также в зоне ТО установить пожарный кран, оборудованный рукавом и стволом.

Разместить два ящика с песком;

Подходы к пожарному инвентарю обозначить яркими указателями.

Производственные помещения, в которых находятся рабочие, обеспечить телефонами на случай пожара.

Начальник участка ТО и ТР принимает меры по устранению неисправностей средств связи, телефонная связь проверяется еже сменно до начала работ, ГОСТ 12.1.004-91.

 

.4 Экологичность проекта


В настоящее время загрязнение окружающей среды является наиболее острой проблемой любого производства.

Загрязнение атмосферы, воды, почвы токсическими веществами, выбросами ГСМ, грязной водой и другими материалами, наносит огромный вред природной среде.

Охрана природы и рациональное использование природных ресурсов - одна из важнейших экологических и социальных задач.

В настоящее время осуществляется широкая программа по разработке и освоению высокопроизводительного и пылеулавливающего оборудования. Ведется посадка лесонасаждений. Не допускается ввод в эксплуатацию промышленных объектов до окончательного строительства очистного, газо- и пылеулавливающего оборудования. При работе исправный двигатель создает немного шума, а правильно отрегулированная топливная аппаратура способствует снижению выбросов вредных веществ в атмосферу.

Вопросы охраны окружающей среды от вредных воздействий автомобильного транспорта решаются и другими способами. На двигатели внутреннего сгорания устанавливаются различные дожегатели и нейтролизаторы.

Большое внимание уделяется диагностированию дизельных двигателей. Проводится измерение дымности после ремонта двигателя и топливной аппаратуры. Для оценки дымности используется дымомер СИДА-107.

Для выпуска автомобилей на линию установлен пост по проверке токсичности отработавших газов карбюраторных двигателей, уровня дымности дизельных двигателей.

Зона ТО должна быть оснащена следующим оборудованием: для карбюраторных двигателей:

·   газоанализатор ГАИ-1

·        тахометр

·        набор инструмента для регулировки.

для дизельных двигателей:

·   дымомер СИДА-107

·        тахометр

·        набор инструментов для регулировки.

Использование данного оборудования позволит снизить токсичность выхлопных газов двигателей автомобилей.

.4.1 Охрана и рациональное использование водных ресурсов

На участке по ремонту двигателей вода используется при мойке деталей.

В целях рационального использования воды, дипломным проектом предлагается:

Для очистки использованной воды при мойке деталей применить установку “кристалл”. Принцип данной системы основан на том, что воды после мойки деталей поступает в специальную камеру, где отстаивается. Нефтяные продукты отделяются, их собирают и отправляют на регенерацию. Вода перетекает в другую камеру, где очищается окончательно и поступает вновь для очистки и мойки деталей. /СНиП 2.04.02-84/.

.4.2 Утилизация отходов, охрана почв от загрязнения

В процессе ремонта двигателей узлов и деталей при деффектовке определяются отработавшие и негодные детали, а так же использованный обтирочный материал.

В целях защиты окружающей среды, дипломным проектом предлагается:

·        отработавшие и негодные детали, которые не подлежат ремонту, следует сдавать на склад утиля, откуда они следуют на пункты приёма металлолома;

·        использованные обтирочные материалы хранить в специальном металлическом ящике, а по мере накопления сдавать в котельную в качестве стопного материала.

.4.3 Благоустройство и озеленение санитарно-защитной зоны предприятия

На предприятии предусмотрено благоустройство и озеленение санитарно защитной зоны предприятия. На территории предприятия предусматривается озеленение, являющегося эффективным средством борьбы с загрязнением воздуха. В состав озеленения территории предприятия входит так же устройство газонов.

5.5 Расчет освещения


Создание здоровых и безопасных условий труда в автотранспортных предприятиях немыслимо без максимального использования естественного освещения.

Естественный свет имеет высокую биологическую и гигиеническую ценность и оказывает сильное воздействие на психологию человека, а в конечном итоге на производственный травматизм и производительность труда.

Естественный свет характеризуется коэффициентом естественной освещенности (К.E.О.) и обозначается буквой

 = Ев/Енх100%                                         (5.1)

где    Ев - освещенность в данной точке помещения;

Ен - одновременная освещенность наружной горизонтальной плоскости; освещаемой светом всего небосвода.

Для постов технического обслуживания и ремонта автомобилей при боковом освещении (через окна) коэффициент естественной освещенности равен 1. В соответствии с СНиП2А, 8-72 нормированное значение коэффициента естественной освещенности следует определять:

 н= e * M * C,                                          (5.2)

где e - значение К.Е.О. с учетом характера зрительной работы;

М - коэффициент светового климата (без учета прямого солнечного света), определяемый в зависимости от района расположения здания на территории России. Для Красноярска М=0,9;

С - коэффициент солнечности климата (с учетом прямого солнечного света)

e н= 1* 0,9 * 0,95 = 0,855

С целью снижения потерь тепла допускается уменьшение площади световых проемов до 70% от площади, определенной по значению eн и упрошенному расчету площади световых проемов.

Отношение площади световых проемов So к площади пола помещения Sn, обеспечивающее нормированное значение К.Е.О. при боковом освещении приближенно определяется:

 e н hо /tо*Кзд,                                      (5. 3)

где e н - нормированное значение К.Е.О. при боковом освещении;

tо - общий коэффициент светопропускания светового проема, определяемый по формуле:

tо = t1t2t3t4t5                                                   (5.4)

где    t1 - коэффициент светопропускания материала для двойного листового стекла t1 =0,8;

t2 - коэффициент, учитывающий потери света в переплетах светопроема t2 =0,6;

t3 - коэффициент, учитывающий потери света в слое загрязнения остекления пылью и копотью t3 =0,7;

t4 - коэффициент, учитывающий потерю света в несущих конструкциях t4 =1;

t5 - коэффициент, учитывающий потери света в солнцезащитных устройствах t5 = 0,8

tо = 0,8*0,6*0,7*1*0,8=0,2688

Кзд - коэффициент, учитывающий затемнение окон противостоящими зданиями Кзд=1,7;

N1 - коэффициент, учитывающий повышение К.Е.О. при боковом освещении благодаря свету, отраженному от поверхности помещения и подстилающего слоя, прилегающего к зданию N1 = 1,15;

hо - световая характеристика окна hо = 10.

*S0/432=0,855*10/0,2688*1,15

,23130 = 27,66 => Sо=119.

Искусственное освещение может быть двух видов: общее и комбинированное (к общему добавляется местное освещение, концентрирующее световой поток непосредственно на рабочее место).

Искусственное освещение производственных помещений, открытых территорий и складов подразделяется на рабочее и аварийное.

Искусственное освещение зоны ТО в соответствии с СНиП 2-4-79 при общем освещении равно 150 лк.

Для ориентировочного определения величин общей освещенности применяют несколько методов расчета: метод коэффициента использования светового потока, точечный метод и метод ватт.

Расчет по методу коэффициента использования светового потока применяется для определения освещенности при равномерном размещении светильников. Основное расчетное уравнение этого метода:

=FZhNn/Sk,                                               (5.5)

где    Е - минимальная освещенность, лк

F - световой поток одной лампы, лм;

Z - поправочный коэффициент;

h - коэффициент использования осветительной установки ; - число светильников общего освещения;

n - число ламп в светильнике;

S - площадь помещения, м2;

k - коэффициент запаса.

Для определения коэффициента использования осветительной установки необходимо вычислить индекс помещения по формуле:

= ав/Нр(а+в),                                             (5.6)

где i - индекс помещения;

а - ширина помещения, м;

в - длина помещения, м;

Нр - высота подвеса светильников над рабочей поверхностью, м.

i = 20 * 44 / 7 (20 + 44) = 1, 9

h = 65%

Для освещения зоны ТО выбираем люминесцентные лампы ЛД-80 с величиной светового потока 3440 лм; мощностью 80 Вт.

Световой поток находится по формуле

л=Е * S * Z * к / N * n * h,                                           (5.7)

где Z - коэффициент неравномерности освещения.1, 5;

Из этой формулы можно найти число светильников;

=ЕSZк/Fлпh = 150*432*1,5*1,1/3440*2*0, 65=24 шт

Необходимо установить 24 светильников, по две люминесцентной лампы в каждом.

 

.6 Расчет вентиляции


Правильно и рационально работающая вентиляция обеспечивает поддержание чистоты воздуха и уменьшает количество содержащихся в нем вредных веществ.

Основными производственными вредностями на предприятиях по обслуживанию автомобилей являются: при использовании бензина - окись углерода; при использовании дизельного топлива - окись углерода, окислы азота и альдегиды.

Для расчета вентиляции в автотранспортных предприятиях требуются данные о внутри гаражном расходе топлива, продолжительности работы автомобилей и режимы работы двигателей.

Расход топлива одним двигателем при скорости движения 5 км/ч, составляет, кг/ч:

=0,6+0,8VH,                                             (5.8)

где    VH - рабочий объем цилиндров двигателя, л

QT зил 130 = 0,6+0.8 * 6,0 = 5,4 кг/ч

QT камаз 5410 = 0,6+0,8 * 12,0 = 10,2 кг/ч

Количество окиси углерода, выделяющейся в помещении при работе карбюраторного двигателя, определяется по формуле:

 = 15QтР/100,                                           (5.9)

где    Р - содержание вредности (окиси углерода} в отработавших газах, % массы.

Gox = 15 * 5,4 * 4 / 100 = 3,24 кг/ч

Количество аэрозолей свинца, выделяющихся при работе карбюраторных двигателей на этилированном бензине, определим по формуле:

а.с = 0,05 * QT * K/1000,                                  (5.10)

где К - содержание тетраэтилсвинца в различных марках бензина, г/кг

Gа.с = 0, 05 * 3,24 * 1,3 / 1000 = 0,0002 кг/ч

Количество окиси углерода, окислов азота и альдегидов, выделяющихся при работе четырехтактного дизельного двигателя определяется по формуле:

 =(160+13.5Vh) Р/100,                                                (5.11)

где Р - содержание вредностей в отработавших газах, мг/м3

G= (160+13, 5*12,0) * 0,76 /100 = 2,4 кг/ч

Объем воздуха, необходимый для растворения выделяющихся газов при работе двигателей автомобилей в помещениях с постоянным пребыванием рабочих определяется по формуле:

=l000 * Gtn/60d ,                                      (5.12)

где    V - объем воздуха, необходимый для растворения газов, выделившихся в рабочие помещения гаража,

G - количество вредных веществ, содержащихся в отработавших газах, кг/ч;

t- средняя продолжительность работы автомобиля, мин;

n - число работающих в течении часа автомобилей различных марок;

d - предельно допустимая концентрация окиси углерода и креолина в рабочей зоне помещения, г/м3

В течении одного часа в зоне ТО одновременно находится 3 автомобиля.

d = 0,2 г/м3 2

t = 4мин

V= 1000 * 3,24 * 4* 3 / 60 * 0,2 = 4320 м3/ч

Для создания безвредных условий труда и предупреждения отравлений отработавшими газами в зоне технического обслуживания автомобилей применяются местные отсосы отработавших газов.

Объем газо-воздушной смеси, удаляемой от одного двигателя в зависимости от его мощности, равен:

ЗИЛ-130 мощность двигателя 150л. с-500 м3/ч КАМАЗ-5410 мощность двигателя 210л.с - 650м3/ч

По аэродинамическим характеристикам вентиляторов подберем вентилятор необходимой производительности:

Для местных вытяжных систем зоны ТО один вентилятор марки Ц4-70 N5 производительностью 4950 м3/ч, с давлением 2,5*102 Па и КПД h=0,7.

Необходимая мощность электродвигателя для вентилятора!

= V * H / 3600 * l02 h1h2,                        (5.13)

где Н - давление, развиваемое вентилятором, взятое в кг/м2 и равное 25;

h1- КПД вентилятора;

h2 - КПД клиноременной передачи.

N= 4950 * 25 / 3600 * 102 * 0,7 * 0,7 = 0,7 кВт

Установочная мощность двигателя с учетом коэффициента запаса К=1,3

Nуст=0,7 * 1,3 = 0,9 кВт.

 

.7 Безопасность в чрезвычайных ситуациях


Проблема снижения рисков и смягчения последствий аварий и катастроф носит характер первостепенной важности для государства и общества и её решение относится к приоритетной сфере обеспечения национальной безопасности.

Наш город представляет собой крупный административно - хозяйственный центр, расположенный на берегах мощной водной артерии, имеющий химически опасные предприятия. В связи с этим важное социальное и экономическое значение имеет профилактика, прогнозирование и ликвидация последствий чрезвычайных ситуаций, возникающих в результате аварий, катастроф, стихийных и экологических бедствий.

Структура гражданской обороны и чрезвычайных ситуаций (РСЧС) принимает активное участие в решении этих актуальных государственных задач. На неё возложена защита населения и территорий от ЧС и последствий аварий, катастроф и стихийных бедствий, проведение спасательных работ в ходе ликвидаций их последствий.

Для решения проблем государство ввело в действие Федеральный закон №68 от 21.12.94 “О защите населения и территорий от чрезвычайных ситуаций природного и техногенного характера.” Согласно закона, организации обязаны:

·   планировать и осуществлять необходимые меры в области защиты работников организаций и подведомственных объектов производственного и социального назначения от чрезвычайных ситуаций;

·        обеспечивать создание, подготовку и поддержание в готовности к применению сил и средств по предупреждению и ликвидации, обучение работников организаций способом защиты и действиям в ЧС в составе не военизированных формирований.

Исходя из природно-климатических условий, территория объекта экономики, может оказаться в зоне действия чрезвычайных ситуаций:

ЧС природного происхождения

·   землетрясение;

·        бури, ураганы, снежные заносы;

·        сильные дожди, морозы, гололёд;

·        высокие уровни воды, наводнение.

·        ЧС связанные с деятельностью человека:

·        пожары и взрывы;

·        аварии на железнодорожных и автомобильных магистралях;

·        аварии на химически опасных предприятиях, железной дороге и автомагистралях, связанные с выбросом в атмосферу вредных веществ (наибольшую опасность представляет собой выброс хлора и аммиака);

·        утрата радиоактивных источников;

·        аварии на электроэнергетических системах;

·        аварии на коммунальных системах жизнеобеспечения;

·        аварии на промышленных очистных сооружениях;

·        экстремальные загрязнения воздушной среды и питьевой воды;

·        катастрофическое затопление в результате аварии и разрушения плотин Красноярской и Саяно-Шушенской ГЭС.

Особое внимание на объектах экономики следует вопросу обучения. В результате обучения рабочие, служащие и ИГР должны:

• знать обязанности и правила поведения производственного персонала при возникновении чрезвычайных ситуаций, основные средства и способы защиты от последствий стихийных бедствий аварий и катастроф, особенно при разрушении объектов ядерно-топливного цикла, транспорта, металлургической и химической промышленности;

• уметь четко действовать по сигналам оповещения, практически выполнять основные способы защиты производственного персонала от последствий стихийных бедствий, аварий и катастроф, а также от современных средств поражения, используя при этом средства индивидуальной и коллективной защиты в зонах радиоактивного заражения и химического загрязнения;

• уметь оказывать в чрезвычайных ситуациях самопомощь и взаимопомощь при ранениях, переломах, ожогах, отравлениях.

Для структур ГО и ЧС планируется в режиме повышенной готовности:

·   принятие на себя соответствующими комиссиями по ЧС непосредственного руководства функционированием подсистем и звеньев РСЧС, формирование при необходимости оперативных групп для выявления причин ухудшения обстановки непосредственно в районе возможного бедствия, выработки предложений по ее нормализации;

·        усиление дежурно-диспетчерской службы;

·        усиление наблюдения и контроля за состоянием окружающей природной среды, обстановкой на потенциально опасных объектах и прилегающих к ним территориях, прогнозирование возможности возникновения ЧС и их масштабов;

·        принятие мер по защите населения и окружающей природной среды,

·        обеспечению устойчивого функционирования объектов;

·        приведение в состояние готовности сил и средств, уточнение планов их действий и выдвижение при необходимости в предполагаемый район ЧС.

Заблаговременное планирование действий обеспечит сохранность производительных сил и устойчивую работу предприятия в любых чрезвычайных ситуациях мирного и военного времени.

Выводы


. Выполнено технико-экономическое обоснование темы дипломного проекта, посвященной реконструкции цеха технического обслуживания и текущего ремонта АТБ-3.

. Технологический расчет определил необходимое количество видов технических обслуживании отдельно взятых. Вычислена трудоемкость работ, производимых при техническом обслуживании. Подсчитано необходимое количество рабочих и постов ТО.

. Выполнены силовые и прочностные расчеты отдельных деталей конструкции подъемника. Разработаны чертежи: общего вида, сборочные и рабочие.

. В разделе безопасность и экологичность проекта выполнены расчеты освещения и вентиляции зоны ТО.

. В результате применения предлагаемых мероприятий от внедрения подъемника срок окупаемости составляет 3,2 года при обслуживании 800 автомобилей.

Заключение


В данном дипломном проекте рассмотрена зона технического обслуживания автомобилей и произведена реконструкция этой зоны.

Необходимые технические и экономические расчеты показали эффективность и рентабельность применения разработанного подъемника на данном предприятии.

Технико-эксплуатационные, экологические нормы и нормы безопасности труда соответствуют общим требованиям для автотранспортных предприятий.

Выше перечисленные мероприятия по улучшению условий технического обслуживания, а так же использование предполагаемой конструкции подъемника позволит повысить эффективность использования автотранспорта АТБ-3.

Список использованных источников литературы


1. Анурьев. В. И. Справочник конструктора-машиностроителя: В 3т- Т 2 -5е из. перераб. и доп. /В.И. Анурьев.- М.: Машиностроение, 1979 - 728с.

. Биргер И. А., Расчет на прочность деталей машин: Справочник. 3е изд. /М.: Машиностроение, 1979-824с.

. Положение о техническом обслуживании и ремонте подвижного состава автомобильного транспорта. М.: Транспорт, 1988-85с.

. Крамаренко. Г. В. Техническая эксплуатация автомобилей - 2е изд., перераб. и доп.- М: Транспорт, 1983-488с.

. Иванов. М. Н. Детали машин : Учеб для машиностр. спец. вузов.-4е изд., перераб-М Высш шк, 1984-ЗЗбс.

. Веденеев. А. Г. Справочник по техническому обслуживанию и ремонту лесозаготовительных машин и оборудования. М:, Лесная пром-ть,1979г-320с.

. Анурьев. В. И. Справочник конструктора-машиностроителя: В 3т- Т 1 -5е из. перераб. и доп. /В.И. Анурьев.- М.: Машиностроение, 1979 - 728с.

. Гжиров. Р. И. Краткий справочник конструктора: Справочник-Л: Машиностроение, Ленигр. отд-ние, 1983-464с.

. Золотогоров. В. Г. Организация, планирование и управление на предприятиях лесной промышленности: Учеб. для вузов / В.Г. Золотогоров, - М: Лесн. пром-ть, 1988 - 352с.

. Левочнин. Н. И. Охрана труда: Учебно-методическое пособие к расчетно-графическим работам для студентов всех специальностей. - Красноярск: СТИ, 1993-52с.

. Вагнер. В. Ф. , Ворожейкин. Г. Г. , Холопов. ВН. Машины и механизмы лесного комплекса. Учебное пособие для студентов специальности 17.04 всех форм обучения.- Красноярск: КГТА, 1995-76с.

Похожие работы на - Техническое перевооружение зоны технического обслуживания автомобилей в Долгомостовском филиале КГАУ 'Красноярсклес' на основании технологических расчетов

 

Не нашли материал для своей работы?
Поможем написать уникальную работу
Без плагиата!
Без нейросетей!