Счетчик Гейгера-Мюллера

  • Вид работы:
    Реферат
  • Предмет:
    Информатика, ВТ, телекоммуникации
  • Язык:
    Русский
    ,
    Формат файла:
    MS Word
    59,04 kb
  • Опубликовано:
    2011-10-31
Вы можете узнать стоимость помощи в написании студенческой работы.
Помощь в написании работы, которую точно примут!

Счетчик Гейгера-Мюллера

Содержание

Введение

1. Назначение счетчиков

. Устройство и принцип действия счетчика

. Основные физические закономерности

.1 Восстановление работоспособности после регистрации частицы

.2 Дозиметрическая характеристика

.3 Счетная характеристика датчика

Заключение

Список литературы

Введение

Счетчики Гейгера-Мюллера - самые распространенные детекторы (датчики) ионизирующего излучения. До сих пор им, изобретенным в самом начале нашего века для нужд зарождающейся ядерной физики, нет, как это ни странно, сколько-нибудь полноценной замены. В своей основе счетчик Гейгера очень прост. В хорошо вакуумированный герметичный баллон с двумя электродами введена газовая смесь, состоящая в основном из легко ионизируемых неона и аргона. Баллон может быть стеклянным, металлическим и др. Обычно счетчики воспринимают излучение всей своей поверхностью, но существуют и такие, у которых для этого в баллоне предусмотрено специальное «окно».

К электродам прикладывают высокое напряжение U (см рис.), которое само по себе не вызывает каких-либо разрядных явлений. В этом состоянии счетчик будет пребывать до тех пор, пока в его газовой среде не возникнет центр ионизации - след из ионов и электронов, порождаемый пришедшей извне ионизирующей частицей. Первичные электроны, ускоряясь в электрическом поле, ионизируют «по дороге» другие молекулы газовой среды, порождая все новые и новые электроны и ионы. Развиваясь лавинообразно, этот процесс завершается образованием в межэлектродном пространстве электронно-ионного облака, резко увеличивающего его проводимость. В газовой среде счетчика возникает разряд, видимый (если баллон прозрачный) даже простым глазом.

Обратный процесс - возвращение газовой среды в ее исходное состояние в так называемых галогеновых счетчиках - происходит само собой. В действие вступают галогены (обычно хлор или бром), в небольшом количестве содержащиеся в газовой среде, которые способствуют интенсивной рекомбинации зарядов. Но этот процесс идет значительно медленнее. Отрезок времени, необходимый для восстановления радиационной чувствительности счетчика Гейгера и фактически определяющий его быстродействие - «мертвое» время - является важной его паспортной характеристикой. Такие счетчики называют галогеновыми самогасящимися. Отличаясь самым низким напряжением питания, превосходными параметрами выходного сигнала и достаточно высоким быстродействием, они оказались особенно удобными для применения в качестве датчиков ионизирующего излучения в бытовых приборах радиационного контроля.

Счетчики Гейгера способны реагировать на самые разные виды ионизирующего излучения - a, b, g, ультрафиолетовое, рентгеновское, нейтронное. Но реальная спектральная чувствительность счетчика в значительной мере зависит от его конструкции. Так, входное окно счетчика, чувствительного к a- и мягкому b-излучению, должно быть очень тонким; для этого обычно используют слюду толщиной 3...10 мкм. Баллон счетчика, реагирующего на жесткое b- и g-излучение, имеет обычно форму цилиндра с толщиной стенки 0,05....0,06 мм (он служит и катодом счетчика). Окно рентгеновского счетчика изготавливают из бериллия, а ультрафиолетового - из кварцевого стекла.

счетчик гейгер мюллер дозиметрический излучение

1.       Назначение счетчиков

Счетчик Гейгера - Мюллера это двухэлектродный прибор, предназначенный для определения интенсивности ионизирующего излучения или, иными словами, - для счета возникающих при ядерных реакциях ионизирующих частиц: ионов гелия (- частиц), электронов (- частиц), квантов рентгеновского излучения (- частиц) и нейтронов. Частицы распространяются с очень большой скоростью [до 2.107 м/с для ионов (энергия до 10 МэВ) и около скорости света для электронов (энергия 0,2 - 2 МэВ)], благодаря чему проникают внутрь счетчика. Роль счетчика заключается в формировании короткого (доли миллисекунды) импульса напряжения (единицы - десятки вольт) при попадании частицы в объём прибора.

В сравнении с другими детекторами (датчиками) ионизирующих излучений (ионизационной камерой, пропорциональным счетчиком) счетчик Гейгера-Мюллера отличается высокой пороговой чувствительностью - он позволяет контролировать естественный радиоактивный фон земли (1 частица на см2 за 10 - 100 секунд). Верхний предел измерения сравнительно невысок - до 104 частиц на см2 в секунду или до 10 Зиверт в час (Зв/ч). Особенностью счетчика является способность формировать одинаковые выходные импульсы напряжения вне зависимости от рода частиц, их энергии и числа ионизаций, произведенных частицей в объеме датчика.

Типичная схема включения датчика V (рис. 1) содержит источник постоянного напряжения U0 (сотни вольт), резистор R (единицы МОм), разделительный конденсатор С и счетчик электрических импульсов А с входной (паразитной) емкостью Са. Поступление ионизирующей частицы в счётчик приводит к появлению импульса тока (единицы - десятки микроампер) от источника через резистор и датчик. Напряжение на аноде прибора кратковременно (доли миллисекунды) снижается и отрицательный импульс напряжения через разделительный конденсатор С поступает на вход блока А, в котором импульсы считаются в течение определенного интервала времени (секунды - минуты). Отношение числа импульсов к интервалу времени характеризует мощность дозы излучения.

Рис. 1 Схема включения счетчика Гейгера. Uo - источник питания; V - датчик радиации; А - счетчик импульсов; Са - паразитная емкость

2.       Устройство и принцип действия счетчика

Работа счетчика Гейгера основана на несамостоятельном импульсном газовом разряде между металлическими электродами, который инициируется одним или несколькими электронами, появляющимися в результате ионизации газа -, -, или -частицей. В счетчиках обычно используется цилиндрическая конструкция электродов, причем диаметр внутреннего цилиндра (анода) много меньше (2 и более порядков), чем наружного (катода), что имеет принципиальное значение. Характерный диаметр анода 0,1 мм.

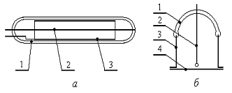
Частицы поступают в счетчик через вакуумную оболочку и катод в «цилиндрическом» варианте конструкции (рис. 2,а) или через специальное плоское тонкое окно в «торцевом» варианте конструкции (рис. 2,б). Последний вариант используется для регистрации -частиц, обладающих низкой проникающей способностью (задерживаются, например, листом бумаги), но очень опасных в биологическом отношении при попадании источника частиц внутрь организма. Детекторы со слюдяными окнами используются также для счета -частиц сравнительно малой энергии («мягкое» бэта-излучение).

Рис. 2. Схематические конструкции цилиндрического (а) и торцевого (б) счетчиков Гейгера. Обозначения: 1 - вакуумная оболочка (стекло); 2 - анод; 3 - катод; 4 - окно (слюда, целлофан)


В цилиндрическом варианте счетчика, предназначенного для регистрации -частиц высокой энергии или мягкого рентгеновского излучения, используют тонкостенную вакуумную оболочку, а катод выполняют из тонкой фольги или в виде тонкой пленки металла (медь, алюминий), напылённой на внутреннюю поверхность оболочки. В ряде конструкций тонкостенный металлический катод (с ребрами жесткости) является элементом вакуумной оболочки. Жесткое рентгеновское излучение (-частицы) обладает повышенной проникающей способностью. Поэтому его регистрируют детекторами с достаточно толстыми стенками вакуумной оболочки и массивным катодом. В счетчиках нейтронов катод покрывается тонким слоем кадмия или бора, в котором нейтронное излучение преобразуется в радиоактивное через ядерные реакции.

Объем прибора обычно заполнен аргоном или неоном с небольшой (до 1 %) примесью аргона при давлении, близком к атмосферному (10 -50 кПа). Для устранения нежелательных послеразрядных явлений в газовое наполнение вводится примесь паров брома или спирта (до 1 %).

Способность счетчика Гейгера регистрировать частицы независимо от их рода и энергии (генерировать один импульс напряжения независимо от количества образованных частицей электронов) определяется тем, что благодаря очень малому диаметру анода почти все приложенное к электродам напряжение сосредоточено в узком прианодном слое. За пределами слоя находится “область улавливания частиц”, в которой они ионизируют молекулы газа. Электроны, оторванные частицей от молекул, ускоряются к аноду, но газ ионизируют слабо из-за малой напряженности электрического поля. Ионизация резко усиливается после входа электронов в прианодный слой с большой напряженностью поля, где развиваются электронные лавины (одна или несколько) с очень высокой степенью размножения электронов (до 107). Однако возникающий за счет этого ток еще не достигает величины, соответствующей формированию сигнала датчика.

Дальнейший рост тока до рабочего значения обусловлен тем, что в лавинах одновременно с ионизацией генерируются ультрафиолетовые фотоны с энергией около 15 эВ, достаточной для ионизации молекул примеси в газовом наполнении (например, потенциал ионизации молекул брома равен 12,8 В). Электроны, появившиеся в результате фотоионизации молекул за пределами слоя, ускоряются к аноду, но лавины здесь не развиваются из-за малой напряженности поля и процесс слабо влияет на развитие разряда. В слое ситуация иная: образующиеся фотоэлектроны благодаря большой напряженности инициируют интенсивные лавины, в которых генерируются новые фотоны. Их количество превышает первоначальное и процесс в слое по схеме «фотоны - электронные лавины - фотоны» быстро (несколько микросекунд) нарастает (входит в «спусковой режим»). При этом разряд от места первых лавин, инициированных частицей, распространяется вдоль анода («поперечное зажигание»), анодный ток резко увеличивается и формируется передний фронт сигнала датчика.

Задний фронт сигнала (уменьшение тока) обусловлен двумя причинами: снижением потенциала анода за счет падения напряжения от тока на резисторе (на переднем фронте потенциал поддерживается межэлектродной емкостью) и снижением напряженности электрического поля в слое под действием пространственного заряда ионов после ухода электронов на анод (заряд повышает потенциалы точек, в результате чего перепад напряжения на слое уменьшается, а на области улавливания частиц увеличивается). Обе причины снижают интенсивность развития лавин и процесс по схеме «лавины - фотоны - лавины» затухает, а ток через датчик уменьшается. После окончания импульса тока потенциал анода увеличивается до исходного уровня (с некоторой задержкой из-за заряда межэлектродной емкости через анодный резистор), распределение потенциала в промежутке между электродами возвращается к первоначальной форме в результате ухода ионов на катод и счетчик восстанавливает способность регистрировать поступление новых частиц.

Выпускаются десятки типов детекторов ионизирующих излучений [8]. При их обозначении используется несколько систем. Например, СТС-2, СТС-4 - счетчики торцевые самогасящиеся, или МС-4 - счетчик с медным катодом (В - с вольфрамовым, Г - с графитовым), или САТ-7 - счетчик -частиц торцевой, СБМ-10 - счетчик -частиц металлический, СНМ-42 - счетчик нейтронов металлический, СРМ-1 - счетчик для рентгеновского излучения и т. д.

3. Основные физические закономерности

.1 Восстановление работоспособности после регистрации частицы

Время ухода ионов из промежутка после регистрации частицы оказывается сравнительно большим - единицы миллисекунд, что ограничивает верхний предел измерения мощности дозы излучения. При высокой интенсивности излучения частицы поступают с интервалом, меньшим времени ухода ионов, и некоторые частицы датчик не регистрирует. Процесс иллюстрируется осциллограммой напряжения на аноде датчика в ходе восстановления его работоспособности (рис. 3).

Рис. 3. Осциллограммы напряжения на аноде счетчика Гейгера. Uo - амплитуда сигнала в нормальном режиме (сотни вольт). 1 - 5 - номера частиц

Поступление первой частицы (1 на рис. 3) в объем датчика инициирует импульсный газовый разряд, что ведет к снижению напряжения на величину Uo (нормальная амплитуда сигнала). Далее напряжение возрастает в результате медленного уменьшения тока через промежуток по мере ухода ионов на катод и за счет заряда межэлектродной емкости от источника напряжения через ограничительный резистор. Если в датчик через небольшой интервал времени после поступления первой попадает другая частица (2 на рис. 3), то разрядные процессы развиваются слабо из-за пониженного напряжения и малой напряженности поля у анода в условиях действия пространственного заряда ионов. Сигнал датчика в этом случае оказывается недопустимо малым. Поступление второй частицы через более длительный интервал времени после первой (частицы 3 - 5 на рис. 3) дает сигнал большей амплитуды, так как напряжение увеличивается, а пространственный заряд уменьшается.

Если вторая частица поступает в датчик после первой через интервал, меньший, чем отрезок времени между частицами 1 и 2 на рис. 3, то по изложенным выше причинам датчик вообще сигнал не вырабатывает (“не считает” частицу). В связи с этим временной интервал между частицами 1 и 2 называется “мертвым временем счетчика” (амплитуда сигнала частицы 2 составляет 10 % от нормальной). Отрезок времени между частицами 2 и 5 на рис. 3 называется «временем восстановления датчика» (сигнал частицы 5 составляет 90 % нормального). В течение этого времени амплитуда сигналов датчика понижена, и они могут не регистрироваться счетчиком электрических импульсов.

Мертвое время (0,01 - 1 мс) и время восстановления (0,1 - 1 мс) являются важными параметрами счетчика Гейгера. Наибольшая регистрируемая мощность дозы тем выше, чем меньше значения этих параметров. Основными факторами, определяющими параметры, являются давление газа и величина ограничительного резистора. С уменьшением давления и величины резистора мертвое время и время восстановления уменьшаются, так как увеличивается скорость ухода ионов из промежутка и уменьшается постоянная времени процесса заряда межэлектродной емкости.


3.2 Дозиметрическая характеристика

Чувствительность счетчика Гейгера - это отношение частоты генерируемых датчиком импульсов к мощности дозы излучения, измеряемой в микрозивертах на час (мкЗв/ч; варианты: Зв/с, мЗв/с, мкЗв/с). Характерные значения чувствительности: 0,1 - 1 импульсов на микрозиверт. В рабочем диапазоне чувствительность является коэффициентом пропорциональности между показаниями счетчика (количеством импульсов в секунду) и мощностью дозы. За пределами диапазона пропорциональность нарушается, что отражает дозиметрическая характеристика детектора - зависимость показаний от мощности дозы (рис. 4).

Рис. Зависимости скорости счета от мощности дозы радиоактивного излучения (дозиметрические характеристики) для двух счетчиков с различным давлением газа (1 - 5 кПа, 2 - 30 кПа)

Из физических соображений следует, что показания датчика по мере увеличения мощности дозы не могут превысить величину (1/), где  - мертвое время датчика (частицы, поступающие через интервал времени, меньший , не считаются). Поэтому рабочий линейный участок дозиметрической характеристики плавно переходит в области интенсивной радиации в горизонтальную прямую на уровне (1/).

С уменьшением мертвого времени дозиметрическая характеристика датчика переходит в горизонтальную прямую на более высоком уровне при более высокой мощности радиации, и верхний предел измерения повышается. Такая ситуация наблюдается при уменьшении давления газа (рис. 4). Однако одновременно снижается чувствительность датчика (увеличивается количество частиц, пересекающих газоразрядный промежуток без столкновений с молекулами). Поэтому при уменьшении давления дозиметрическая характеристика опускается вниз. Математически характеристика описывается следующим соотношением:

,                             (1)

где N - скорость счета (показания датчика - число импульсов в секунду); - чувствительность счетчика (импульсов в секунду на микрозиверт); Р - мощность дозы радиации;  - мертвое время датчика (в секундах).

3.3 Счетная характеристика датчика

Контроль мощности дозы излучения наиболее часто приходится вести вне помещений или в полевых условиях, где электрическое питание датчика осуществляется от аккумуляторов или других гальванических источников. Их напряжение по мере работы уменьшается. В то же время, газоразрядные процессы в датчике зависят от напряжения в очень сильной степени. Поэтому зависимость показаний счетчика Гейгера от напряжения при неизменной мощности дозы радиации является одной из наиболее важных характеристик датчика. Зависимость называется счетной характеристикой датчика (рис. 5).

На одной из представленных зависимостей (кривая 2) отмечены характерные точки A - D. При малом напряжении (левее точки А) электроны, образующиеся в датчике при попадании ионизирующей частицы, инициируют электронные лавины, но их интенсивность недостаточна для формирования импульса тока необходимой амплитуды, и показания счетчика равны нулю. Точка А соответствует «напряжению начала счета». При увеличении напряжения на участке А - В показания счетчика возрастают, поскольку растет вероятность поступления электронов из области улавливания частиц в прианодный слой с большой напряженностью поля. При низком напряжении электроны за время движения к слою рекомбинируют с ионами (предварительно могут «прилипать» к молекулам примеси брома с образованием отрицательных ионов). В точке В напряжение достаточно для быстрого перемещения практически всех электронов в слой, а интенсивность рекомбинации близка к нулю. Датчик вырабатывает сигналы нормальной амплитуды.

На рабочем участке счетной характеристики В - С («плато характеристики») показания счетчика слабо увеличиваются с ростом напряжения, что имеет важное практическое значение и является достоинством счетчика Гейгера. Его качество тем выше, чем больше протяженность плато (100 -400 В) и меньше крутизна горизонтального участка счетной характеристики.

Рис. 5. Зависимости скорости счета от напряжения (счетная характеристика) при различных значениях давления газа и содержания примеси брома: 1 - 8 кПа, 0,5 %; 2 - 16 кПа, 0,5 %; 3 - 16 кПа, 0,1 % для мощности дозы излучения 5 мкЗв/ч. A, B, C, D - характерные точки кривой 2

Крутизна (или наклон) плато S характеризуется процентным изменением показаний счетчика на единицу напряжения:

,               (2)

где NB и NC - показания счетчика в начале и конце плато; UB и UC - значения напряжения в начале и конце плато. Характерные значения крутизны 0,01 - 0,05 %/В.

Относительная стабильность показаний на плато счетной характеристики обеспечивается специфическим типом разряда, возникающего в датчике с приходом ионизирующей частицы. Увеличение напряжения интенсифицирует развитие электронных лавин, но это приводит лишь к ускорению распространения разряда вдоль анода, а способность счетчика генерировать один сигнал на одну частицу почти не нарушается.

Небольшой рост скорости счета с увеличением напряжения на плато счетной характеристики связан с эмиссией электронов из катода под действием разряда. Эмиссия обусловлена так называемыми -процессами, под которыми понимают вырывание электронов ионами, возбужденными атомами и фотонами. Коэффициент  условно считается равным количеству электронов, приходящихся на один ион (возбужденные атомы и фотоны подразумеваются). Характерные значения коэффициента составляют 0,1 - 0,01 (10 - 100 ионов вырывают электрон в зависимости от рода газа и материала катода). При таких значениях коэффициента счетчик Гейгера не функционирует, поскольку выходящие из катода электроны регистрируются как ионизирующие частицы (регистрируются “ложные” сигналы).

Нормальное функционирование счетчика обеспечивается введением в газовое наполнение примеси брома или паров спирта (“гасящие примеси”), что резко снижает коэффициент  (ниже 10-4). В этом случае число ложных сигналов также резко уменьшается, но остается ощутимым (например, единицы процентов). С увеличением напряжения разрядные процессы усиливаются, т.е. количество ионов, возбужденных атомов и фотонов увеличивается и соответственно возрастает количество ложных сигналов. Этим объясняются небольшой рост показаний датчика на плато счетной характеристики (увеличение наклона) и окончание плато (переход в крутой участок C - D). При увеличении содержания примеси коэффициент  снижается в большей степени, что уменьшает наклон плато и увеличивает его длину (кривые 2 и 3 на рис. 5).

Физический механизм действия гасящих примесей заключается в резком снижении поступления на катод ионов, возбужденных атомов и фотонов, способных вызывать эмиссию электронов, а также в повышении работы выхода электронов из катода. Ионы основного газа (неон или аргон) в процессе движения к катоду становятся нейтральными атомами в результате «перезарядки» при столкновениях с молекулами примеси, так как потенциалы ионизации неона и аргона больше, чем брома и спирта (соответственно: 21,5 В; 15,7 В; 12,8 В; 11,3 В). Выделяющаяся при этом энергия расходуется на разрушение молекул или на образование низкоэнергетичных фотонов, не способных вызвать фотоэмиссию электронов. Такие фотоны, к тому же, хорошо поглощаются молекулами примеси.

Образующиеся при перезарядке ионы примеси на катод попадают, но эмиссию электронов не вызывают. В случае брома это объясняется тем, что потенциальная энергия иона (12,8 эВ) недостаточна для вырывания из катода двух электронов (один - на нейтрализацию иона, а другой - для начала электронной лавины), так как работа выхода электронов из катода при наличии примеси брома повышается до 7 эВ. В случае спирта при нейтрализации ионов на катоде выделяющаяся энергия обычно расходуется на диссоциацию сложной молекулы, а не на вырывание электронов.

Возникающие в разряде долгоживущие (метастабильные) возбужденные атомы основного газа принципиально могут попадать на катод и вызывать эмиссию электронов, поскольку их потенциальная энергия достаточно велика (например, 16,6 эВ для неона). Однако вероятность процесса оказывается очень малой, так как атомы при столкновениях с молекулами примеси передают им свою энергию - «гасятся». Энергия расходуется на диссоциацию молекул примеси или на излучение низкоэнергетичных фотонов, не вызывающих фотоэмиссию электронов из катода и хорошо поглощаемых молекулами примеси.

Приблизительно аналогичным образом “гасятся” поступающие из разряда высокоэнергетичные фотоны, способные вызвать эмиссию электронов из катода: они поглощаются молекулами примеси с последующим расходом энергии на диссоциацию молекул и излучение низкоэнергетичных фотонов.

Изложенный механизм работы гасящей примеси определяет долговечность счетчиков Гейгера с парами спирта, которая ограничивается уменьшением содержания гасящей примеси в результате диссоциации молекул под действием разрядных импульсов. Получающиеся в результате диссоциации более простые молекулы гасящими свойствами не обладают и поэтому параметры счетчика после регистрации 108 - 109 ионизирующих частиц недопустимо ухудшаются. Скорость диссоциации пропорциональна заряду, пересекающему промежуток за время разрядного импульса. Поэтому долговечность счетчиков снижается при больших величинах паразитной емкости и пониженных значениях анодного сопротивления.

Долговечность счетчиков с добавкой брома значительно выше (1010 - 1011 импульсов), так как она не ограничена разложением молекул гасящей примеси. Снижение концентрации брома обусловлено его сравнительно высокой химической активностью, что усложняет технологию изготовления датчика и накладывает ограничения на выбор материала катода (применяется, например, нержавеющая сталь).

Счетная характеристика зависит от давления газа: с его увеличением повышается напряжение начала счета (точка А на рис 5 смещается вправо), а уровень плато повышается в результате более эффективного улавливания ионизирующих частиц молекулами газа в датчике (кривые 1 и 2 на рис 5). Повышение напряжения начала счета объясняется тем, что условия в датчике соответствуют правой ветви кривой Пашена.

Заключение

Широкое применение счётчика Гейгера-Мюллера объясняется высокой чувствительностью, возможностью регистрировать разного рода излучения, сравнительной простотой и дешевизной установки. Счётчик был изобретен в 1908 году Гейгером и усовершенствован Мюллером.

Цилиндрический счётчик Гейгера-Мюллера состоит из металлической трубки или металлизированной изнутри стеклянной трубки, и тонкой металлической нити, натянутой по оси цилиндра. Нить служит анодом, трубка - катодом. Трубка заполняется разреженным газом, в большинстве случаев используют благородные газы - аргон и неон. Между катодом и анодом создается напряжение порядка 400В.Для большинства счетчиков существует так называемое плато, которое лежит приблизительно от 360 до 460 В,в этом диапазоне небольшие колебания напряжения не влияют на скорость счета.

Работа счетчика основана на ударной ионизации.γ-кванты, испускаемые радиоактивным изотопом, попадая на стенки счетчика, выбивают из него электроны. Электроны, двигаясь в газе и сталкиваясь с атомами газа, выбивают из атомов электроны и создают положительные ионы и свободные электроны. Электрическое поле между катодом и анодом ускоряет электроны до энергий, при которых начинается ударная ионизация. Возникает лавина ионов, и ток через счетчик резко возрастает. При этом на сопротивлении R образуется импульс напряжения, который подается в регистрирующее устройство. Чтобы счётчик смог регистрировать следующую попавшую в него частицу, лавинный разряд нужно погасить. Это происходит автоматически. В момент появления импульса тока на сопротивлении R возникает большое падение напряжения, поэтому напряжение между анодом и катодом резко уменьшается - настолько, что разряд прекращается, и счетчик снова готов к работе.

Важной характеристикой счётчика является его эффективность. Не все γ-фотоны, попавшие на счетчик, дадут вторичные электроны и будут зарегистрированы, так как акты взаимодействия γ-лучей с веществом сравнительно редки, и часть вторичных электронов поглощается в стенках прибора, не достигнув газового объема.

Эффективность счётчика зависит от толщины стенок счётчика, их материала и энергии γ-излучения. Наибольшей эффективностью обладают счётчики, стенки которых сделаны из материала с большим атомным номером Z, так как при этом увеличивается образование вторичных электронов. Кроме того, стенки счётчика должны быть достаточно толстыми. Толщина стенки счётчика выбирается из условия её равенства длине свободного пробега вторичных электронов в материале стенки. При большой толщине стенки вторичные электроны не пройдут в рабочий объем счётчика, и возникновения импульса тока не произойдет. Так как γ-излучение слабо взаимодействует с веществом, то обычно эффективность γ-счётчиков также мала и составляет всего 1-2 %. Другим недостатком счётчика Гейгера-Мюллера является то, что он не даёт возможность идентифицировать частицы и определять их энергию. Эти недостатки отсутствуют в сцинтилляционных счётчиках.

Список литературы

1 Актон Д.Р. Газоразрядные приборы с холодным катодом. М.;Л.: Энергия, 1965.

2 Каганов И.Л. Ионные приборы. М.: Энергия, 1972.

3 Кацнельсон Б.В., Калугин А.М., Ларионов А.С. Электровакуумные электронные и газоразрядные приборы: Справочник. М.: Радио и связь, 1985.

4 Кноль М., Эйхмейхер И. Техническая электроника Т. 2. М.: Энергия, 1971.

5 Сидоренко В.В. Детекторы ионизирующих излучений: Справочник. Л.: Судостроение, 1989


Не нашли материал для своей работы?
Поможем написать уникальную работу
Без плагиата!
Без нейросетей!