Характеристика емкостных охранных устройств

  • Вид работы:
    Дипломная (ВКР)
  • Предмет:
    Информатика, ВТ, телекоммуникации
  • Язык:
    Русский
    ,
    Формат файла:
    MS Word
    1,33 Mb
  • Опубликовано:
    2011-09-23
Вы можете узнать стоимость помощи в написании студенческой работы.
Помощь в написании работы, которую точно примут!

Характеристика емкостных охранных устройств

СОДЕРЖАНИЕ

ВВЕДЕНИЕ

1.  ПРИНЦИП РАБОТЫ ДАТЧИКА

2.      СХЕМЫ ПОДКЛЮЧЕНИЯ ДАТЧИКОВ ВНЕСЕНИ ЕМКОСТИ К МК

.        ЕМКОСТНОЙ ДАТЧИК В МАССОВОМ ПРОИЗВОДСТВЕ

3.1 Общая характеристика

.2 Схема датчика со звуковым индикатором

.3 Вернисаж (ИО 305-5)

.4 Извещатель ПИК (ИО-305-3)

СПИСОК ЛИТЕРАТУРЫ

ВВЕДЕНИЕ

сентября 2001 года перевернуло мышление людей: они стали больше задумываться о защите аэропортов, полетов и о безопасности в целом. Угроза подобных акций заставила разрабатывать более совершенные охранные системы для надежной защиты заданных периметров, для чего необходимы соответствующие сенсорные устройства. Датчики присутствия детектируют нахождение людей (а иногда и животных) в контролируемой зоне, тогда как детекторы движения реагируют только на перемещение объектов. Основным их отличием является то, что датчики присутствия вырабатывают выходной сигнал независимо от того движется объект или замер, в то время как сигнал на выходе детектора движения появляется только в случае перемещения объекта. Такие датчики применяются в системах наблюдения и охраны, в устройствах управления энергией (например, для управления включением/выключением электрического света), в интерактивных игрушках и т.д. в зависимости от конкретной ситуации присутствие человека может определятся по некоторым параметрам его тела или характеристикам поведения. Например, датчик может реагировать на вес человека, тепло от его тела, звуки, на изменение диэлектрической проницаемости и т.д. для определения присутствия людей и их передвижений в настоящее время применяют следующие типы датчиков:

Датчики давления воздуха: детекторы перепадов давления воздуха, возникающих при открывании дверей и окон.

Емкостные датчики: детекторы изменения емкости человеческого тела.

Акустические датчики: детекторы звуков, производимых людьми.

Фотоэлектрические датчики: детекторы пересечения луча света движущимися объектам.

Оптоэлектронные датчики: детекторы уровня освещенности или оптической контрастности в охраняемой зоне.

Сенсоры предохранительных ковриков: длинные полоски, располагающиеся на полу под ковриком у входной двери, реагирующие на давление, создаваемое весом непрошенного гостя.

Детекторы напряжений: датчики деформации, встроенные в пол, ступени и другие конструктивные элементы.

Детекторы открывания: электрические контакты, встроенные в двери и окна.

Магнитные детекторы открывания: бесконтактная версия детекторов открывания.

Детекторы вибраций: устройства, реагирующие на вибрации стен или других конструкций зданий; такие элементы могут также крепиться к дверям и окнам для обнаружения передвижений объектов.

Детекторы разбитых стекол: датчики, реагирующие на специфические вибрации, характерные для бьющегося стекла.

ИК детекторы движения: устройства, реагирующее на тепловые волны, испускаемые теплыми или холодными движущимися объектами.

СВЧ детекторы (микроволновые датчики):активные устройства, реагирующие на СВЧ электромагнитные волны, отраженные от объектов.

Ультразвуковые датчики: устройства аналогичные СВЧ датчикам, только в них вместо электромагнитных волн используются ультразвуковые колебания.

Видеодетекторы появления новых объектов: видео устройства, сравнивающие текущее изображение охраняемой зоны с записанным в памяти эталонным изображением.

Системы видеораспознавания: анализаторы изображений, сравнивающие характерные особенности лиц людей с портретами, хранящимися в базе данных.

Лазерные детекторы: устройства, подобные фотоэлектрическим детекторам. Их отличие в том, что он используют узкие лучи света и комбинацию отражателей.

Электростатические детекторы: датчики, способные детектировать статические электрические заряды, переносимые движущимися объектами.

Одним из недостатков детекторов обнаружения присутствия людей или их вторжения в охраняемое пространство является ложное срабатывание. Под ложным срабатыванием понимается ситуация, когда система указывает на присутствие объектов, которых на самом деле там нет. В некоторых случаях, например, в игрушках или устройствах управления освещением, ложное срабатывание не причиняет особых проблем. Однако в охранных и военных системах одинаково опасными являются ситуации как ложного срабатывания, так и пропускания вторжения посторонних в контролируемую зону. Поэтому при выборе датчиков для таких применений необходимо обращать внимание на их надежность, избирательность и помехозащищенность. Для повышения надежности охранных систем часто используют несколько датчиков со своими интерфейсными схемами, работающими независимо друг от друга. Такой прием особенно эффективен в случае воздействия внешних помех. Другим способом снижения ошибок при обнаружении вторжения людей является применение нескольких датчиков, основанных на различных физических принципах (например, очень эффективна комбинация емкостных и ИК детекторов, поскольку для них критичными являются разные виды вносимых помех).

1. ПРИНЦИП РАБОТЫ ДАТЧИКА

Поскольку человеческое тело представляет собой среду с высокой диэлектрической проницаемостью (на частоте 40 МГц диэлектрическая константа мышц, кожи и крови приблизительно равна 97, а жира и костей - 15), между ним и окружающими предметами возникают различные емкостные связи. Величины появляющихся переходных емкостей определяются такими факторами, как размер тела, материал одежды, тип окружающих объектов, погода и т.д. обычно он лежит в диапазоне от нескольких пФ до нескольких нФ. При движении человека величины этих емкостей меняются, что дает возможность отличить движущиеся объекты от статических. На самом деле все объекты связаны друг с другом некоторыми емкостными связями. И если эти связи в какой-либо зоне зафиксировать, появление любого нового объекта в окрестности этой зоны приведет к нарушению установившихся связей. На рисунке 1.1 показано, что первоначально емкость между тестовой пластиной и землей (здесь, под словом "земля" подразумевается любой большой объект, такой, как земля, озеро, автомобиль, корабль, самолет и т.д.) равна . При вторжении человека в окрестность этой пластины формируются два дополнительных конденсатора:  - между пластиной и телом и  - между телом и землей. Поэтому суммарная емкость между пластиной и землей увеличится на величину :

 (1.1)

Это изменение емкости может быть зафиксировано при помощи соответствующей аппаратуры и использоваться для детектирования присутствия людей в охраняемой зоне.

Рисунок 2.1. Человек вносит дополнительную емкость в схему детектора

На рисунке 1.2 показана емкостная охранная система для автомобиля. Чувствительный элемент вмонтирован в сидение автомобиля. Он может быть изготовлен в виде металлической пластины или сетки, электропроводной ткани и т.д. Чувствительный элемент формирует одну из пластин конденсатора . Второй пластиной этого конденсатора может быть либо корпус автомобиля, либо отдельная пластина, расположенная под ковриком на полу. В качестве эталонного конденсатора  используется либо постоянный, либо переменный конденсатор. Его необходимо размещать недалеко от сидения. Эталонный и чувствительный конденсаторы подключаются к соответствующим входам детектора зарядов (через резисторы  и ). Для уменьшения паразитных наводок соединительные провода следует скручивать. Дифференциальный детектор зарядов управляется генератором прямоугольных импульсов (рисунок 1.3). Когда на сидении никто не сидит, эталонный конденсатор устанавливается приблизительно равным конденсатору . Резисторы и соответствующие конденсаторы определяют постоянные времени двух цепей. В исходном состоянии обе  цепи имеют одинаковые постоянные времени, равные . Напряжения с резисторов подаются на ходы ОУ, выходной сигнал которого  практически равен нулю. Небольшие пики на выходном сигнале свидетельствуют о некотором разбалансе схемы. Когда человек садится на сидение, его тело формирует дополнительную емкость параллельно , что приводит к увеличению постоянной времени цепи от  до . Это сказывается на увеличении амплитуды пиков на выходе ОУ. Компаратор сравнивает  с эталонным уровнем напряжения . Когда  становится больше , компаратор посылает сигнал на логическое устройство, вырабатывающее сигнал тревоги V, свидетельствующий о том, что в машине кто-то находится. Следует отметить, что емкостной детектор является активным устройством, поскольку для его работы необходим сигнал генератора.

Рисунок 2.2. Емкостной детектор для охраны автомобиля

Рисунок 2.3. Временные диаграммы работы емкостного датчика

Когда емкостной датчик присутствия используется рядом или на металлических устройствах, его чувствительность может быть несколько снижена из-за паразитных емкостных связей между электродом и металлическими частями. Эффективный способ борьбы с паразитными емкостями - применение экранов. На рисунке 1.4А показан робот с металлической рукой. Рука движется рядом с людьми и другими потенциально проводящими объектами и может с ними столкнуться, если управляющий компьютер робота не получит информацию о близости руки с препятствием. При приближении любого объекта к руке робота формируется емкостная связь между ним и рукой, равная . Рука робота покрыта электрически изолированной проводящей оболочкой, называемой электродом. На рис. 1.1 показано, как можно при помощи детектирования емкостной связи определять присутствие людей в окрестности датчика. Однако массивная металлическая рука робота (рисунок 1.4Б) имеет гораздо более сильную емкостную связь с электродом, чем образуемая связь между электродом и объектом. Элегантное решение этой проблемы - размещение между электродом и рукой робота промежуточного экрана (рисунок 1.4В) (этот принцип был предложен М. С. Катоу из Palnning Reseach Corporation при создании робота для NASA`s Jet Propulsion Laboratory). Роль датчика приближения здесь выполняет многослойное покрытие руки робота, в котором нижний слой является диэлектриком, после него идет большой токопроводящий экран, а верхний слой представляет собой узкую пластину электрода. Для уменьшения емкостной связи между электродом и рукой робота, потенциал экран должен быть равен потенциалу электрода, следовательно, на экран надо подавать напряжение, равное напряжению электрода (поэтому такой экран часто называется управляемым экраном). При выполнении этого условия между экраном и электродом не будет никакого электрического поля, а между экраном и рукой робота возникнет сильное электрическое поле. При этом между электродом и объектом также формируется достаточно сильное электрическое поле. На рисунке 1.5 показана упрощенная схема генератора прямоугольных импульсов, частота которых зависит от значений входной емкости, состоящей из следующих емкостей:  (между датчиком и землей) и  (между объектом и землей). Электрод соединен с экраном через повторитель напряжения. Частотно-модулированный сигнал поступает в компьютер робота, управляющий движением его руки. Такое устройство позволяет детектировать соседние проводящие объекты на расстоянии 30 см.

Рисунок 2. 4. Емкостной датчик приближения.

Управляемый экран располагается на металлической руке заземленного робота (А). Без экрана электрическое поле в основном сосредоточено между электродом и роботом (Б), тогда как экран помогает перенаправить поле в область между электродом и объектом (В).

Рисунок 2.5. Упрощенная схема частотного модулятора, управляемого входными емкостями.

2. СХЕМЫ ПОДКЛЮЧЕНИЯ ДАТЧИКОВ ВНЕСЕНИ ЕМКОСТИ К МК

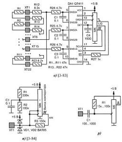
Рисунок 3.1. Схемы включения датчиков внесения ёмкости к МК

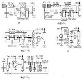
а) инверторы микросхемы DD1, DD2 охвачены положительной обратной связью через резистор R1. Это приводит к тому, что небольшое возмущение на входе (например, прикосновение пальцем к "сенсору" ХТ1) вызывает изменение напряжения на выходе, которое регистрирует МК;

б) первоначально конденсатор С2 заряжен. При замыкании пальцем контактных площадок ХТ1 и ХТ2, заряд передаётся на вход триггера, собранного на двух инверторах микросхемы DDI, и он изменяет своё состояние до следующего прикосновения;

в) импульсы с частотой около 300 кГц поступают на контактную площадку ХТ1 от генератора, собранного на трёх инверторах микросхемы DD1. Если замкнуть площадки XT1 и ХТ2 пальцем, то импульсы пониженной амплитуды будут поступать на вывод 9 микросхемы DDI и далее на вход МК. Резистором R3 регулируется чувствительность. Конструкция "сенсоров" ХТ1, ХТ2 может быть такой: две медные пластины 60×80 мм, расположенные на расстоянии 1…2 мм;

г) кабель охранного шлейфа нагружается не на резистор (как обычно), а на конденсатор . МК в режиме выхода с ВЫСОКИМ уровнем периодически заряжает его через резистор , а затем измеряет в режиме входа время разряда до определённого порога. Если ёмкость конденсатора будет отличаться от номинала, например, в результате обрыва или закорачивания охранного шлейфа, это отразится на времени разряда. Диоды VD1, VD2 защищают вход МК от наводок;

д) ХТ1 - это сенсорная панель, физически расположенная вблизи от общего провода. Благодаря усилителю DA1 чувствительности датчика достаточно, чтобы прикасаться к площадке XT1 пальцем через бумагу Частота генерации "меандра" с выхода МК составляет 100…200 кГц;

Рисунок 3.2. Схемы подключения датчиков внесения ёмкости к МК (продолжение):

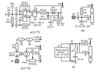
е) ёмкостный датчик приближения собран по схеме М. Цакова на двух высокочастотных генераторах (триггеры Шмитта микросхемы DDI) с задающими цепочками R2, CI, С2 и R3, СЗ. Два сигнала частотой 200 кГц суммируются в логическом элементе "2И-НЕ" и детектируются диодами VDI, VD2. Подбором элементов CJ, добиваются начального равенства частот двух генераторов. При приближении руки человека к телескопической антенне WAl, понижается частота верхнего генератора и на выходе детектора появляется положительное напряжение, которое измеряется через АЦП МК;

ж) сначала линия МК настраивается в режим выхода с НИЗКИМ уровнем. Затем эта же линия переводится в режим входа без внутреннего "pull-up" резистора. По таймеру М К измеряется длительность переднего фронта заряда конденсаторов С1, С2, которая зависит от вносимой ёмкости на сенсорной площадке ХТ1;

з) оптоизолированный сенсор с регулируемой чувствительностью. Прикосновение пальцем к контактной площадке ХТ1 "зажигает" неоновую лампу HL1, которая в свою очередь освещает фоторезистор R4 и приводит к изменению напряжения на входе МК. Порог срабатывания задаётся резистором R5. Резисторы обеспечивают безопасность человека. Фазный провод сети 220В легко найти экспериментально, изменив полярность включения вилки в розетку;

и) к разъёму X1 подключается внешний ёмкостный датчик, например, датчик влажности, состоящий из двух стальных пластин с расстоянием между ними 1…10 мм. Сначала МК выставляет на линии НИЗКИЙ уровень, конденсатор датчика  разряжается. Затем МК переводит линию в режим входа и через АЦП и таймер измеряет время нарастания напряжения до заданного порога. Для калибровки используется переключатель S1 и образцовый конденсатор С1 повышенной точности, при этом основной датчик должен быть отключён;

Рисунок 3.3. Схемы подключения датчиков внесения ёмкости к МК

к) специализированная микросхема (фирма Quantum Research Group) принимает сигнал от сенсорной площадки ХТ1, проводит предварительную фильтрацию помех и выдаёт результат OUT. Высокая достоверность показаний гарантируется режимом самокалибровки. Прикосновение пальцем может быть через небольшой слой стекла, пластика, камня, керамики, дерева;

л) датчик приближения к антенне массивного объекта на расстояние около 50 см. Принцип работы: внесение дополнительной ёмкости в цепь затвора транзистора VT1 срывает колебания автогенератора, транзистор закрывается, после чего сигнал на входе МК изменяет уровень с НИЗКОГО на ВЫСОКИЙ. Питание +4.5В обязательно батарейное;

м) к контактным площадкам ХТ1, ХТ2 подключается любой датчик с диапазоном изменения ёмкости 30…60 пФ. Эта ёмкость определяет частоту генератора на таймере DA2. Аналогичный генератор собран на таймере DAI и образцовом конденсаторе С1. Разность измеренных МК частот пропорциональна вносимой ёмкости. Активизация таймеров проводится поочерёдно установкой противофазных уровней на двух выходах М К. Диоды VD1, VD2- развязывающие;

н) шестиканальный чувствительный сенсор на специализированной микросхеме DA1 (фирма Quantum Research Group), которая имеет хорошую помехоустойчивость и обеспечивает высокую достоверность результатов. Рекомендуется для профессиональных применений;

Рисунок 3.4. Схемы подключения датчиков внесения ёмкости к МК

п) внутренний аналоговый компаратор МК должен работать в режиме "SR Latch" и иметь отдельную линию A1N (Рис. 2.30)с выхода компаратора. Так сделано, например, в МК PIC16F887. Прикосновение пальцем к сенсорной площадке ХТ1 затягивает передний и задний фронты импульсов, что фиксируется МК. Для защиты линий портов от внешних наводок и статического электричества могут потребоваться диоды VDI, (показаны пунктиром);

р) МК на своём выходе генерирует импульс положительной полярности и через резистор RI его же принимает на цифровом входе. Прикосновение пальцем к сенсорной площадке ХТ1 затягивает фронты импульса. Разница во времени между фронтами идеального (генерируемого) и реального (принимаемого) сигналов пропорциональна вносимой ёмкости.

3. ЕМКОСТНОЙ ДАТЧИК В МАССОВОМ ПРОИЗВОДСТВЕ

3.1 Общая характеристика

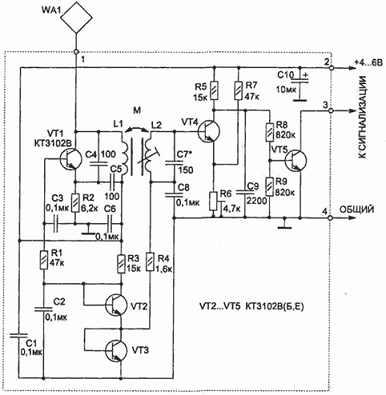
Рисунок 4.1. схема электрическая принципиальная емкостного датчика

Устройство реагирует на приближение руки к металлическому предмету, например замку, сейфу, или же на касание охраняемого предмета. Датчиком может служить и любая электропроводная пластина с размерами примерно 200х200 мм. Чувствительность датчика зависит от настройки и может составлять до 20 см. Отличительной особенностью приведенных схем емкостных датчиков является их малое потребление (работа в режиме микротоков), что позволяет применять автономное питание. В основе работы схемы используется принцип изменяемой емкости. При поднесении руки к датчику WA1 в колебательный контур автогенератора на транзисторе VT1 вносится емкость, и его частота меняется. Начальная частота автогенератора около 280 кГц. Схема настраивается так, чтобы второй колебательный контур (L2, С7) был в резонансе с частотой автогенератора. На транзисторе VT4 собран активный детектор ВЧ сигнала. При достаточной амплитуде напряжения в контуре (L2, С7) VT4 будет находиться в насыщении (при этом VT5 заперт). Цепь из резисторов R6, R7 обеспечивает устойчивую работу схемы при изменении питающего напряжения от 3,5 до 10В. Резистором R6 можно установить нужную чувствительность датчика. Транзисторы VT2 и VT3 используются как диоды для стабилизации режимов работы транзисторов VT1 и VT4 при изменении питающего напряжения. По сравнению с диодами переход транзистора обеспечивает лучшую стабилизацию напряжения при малых рабочих токах. Для удобства настройки схемы к коллектору VT5 можно подключить светодиод с ограничительным резистором (величина резистора зависит от напряжения питания и может быть от 200 до 1000 Ом). Грубая настройка схемы производится конденсатором С7, плавная - сердечником катушки L2, а также резистором R6. Окончательная настройка устройства проводится с реальным датчиком WA1, с которым схема будет в дальнейшем работать. При этом если охраняемый предмет имеет большую металлическую поверхность, то может потребоваться установка разделительного конденсатора небольшой емкости (5...100 пФ) между WA1 и контактом 1 схемы. Катушки L1, L2 намотаны на ферритовом стержне типа 600НН (или 400НН) диаметром 10 мм и длиной 55 мм.

Рисунок 4.2. Катушки L1, L2

Такие ферриты используются в качестве антенны в приемниках на СВ и ДВ диапазонах. Катушка L1 содержит 350 витков, L2 - 250 витков провода ПЭЛШО диаметром 0,08...0,12 мм, которые распределены равномерно по бумажному каркасу на ферритовом стержне. Сердечник L2 должен перемещаться относительно каркаса. Постоянные резисторы применены типа С2-23, подстроечный R6 - СПЗ-19а, конденсатор С10 типа К53-1, остальные конденсаторы типа К10-17. Схема датчика размещается в любом пластмассовом корпусе и крепится вблизи от датчика WA1 (100...200 мм).

.2 Схема датчика со звуковым индикатором

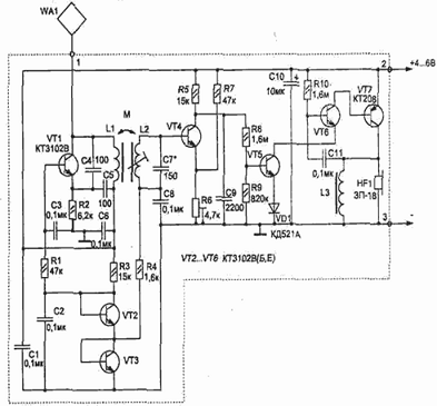
Рисунок 4.3. Схема электрическая принципиальная емкостного датчика со звуковым индикатором

Устройство может работать совместно с другими схемами охраны в качестве датчика или как самостоятельное охранное устройство при наличии звукового индикатора (рис. 2). Параметры катушек L1, L2 такие же, как в схеме, приведенной на рис. 1.6, катушка L3 намотана на двух склеенных вместе ферритовых кольцах (600...2000НН) и содержит 250 витков того же провода (индуктивность ее около 120 мГн). В качестве источника звука HF1 подойдет любой пьезоизлучатель. На плате резисторы R1 и R2 располагаются над конденсаторами, что увеличивает плотность монтажа, а конденсатор С10 применен типа К50-16 на 16В. При питании схемы от источника с напряжением 6В ток потребления в режиме ОХРАНА не превышает 1 мА, а при звуковом сигнале - 3 мА.

.3 Вернисаж (ИО 305-5)

ПРЕДНАЗНАЧЕНИЕ

Для обнаружения недопустимого приближения или прикосновения к охраняемому объекту (картине, витрине, статуэтке, сейфу и т.п.) и формирования извещения о тревоге размыканием контактов выходного реле (клеммы "ШС").

В извещателе используется принцип регистрации изменения емкости чувствительного элемента при приближении к нему нарушителя.

ОСОБЕННОСТИ

автоматический контроль работоспособности при включении и во время работы;

контроль медленного (суточного) изменения емкости чувствительного элемента без выдачи извещения о тревоге;

возможность включения камеры видеонаблюдения и звукового оповещателя;

возможность работы при отсутствии штатного заземления на охраняемом объекте;

высокая помехоустойчивость.

ОСНОВНЫЕ ХАРАКТЕРИСТИКИ

контроль напряжения питания;

контроль целостности соединительных линий;

датчик вскрытия;

отключение светового индикатора;

Индикация:

Прибор формирует извещения с помощью светодиодного индикатора:

о текущем состоянии извещателя.

Выходы:

релейный выход на ПЦН (выдача тревожного извещения размыканием контактов сигнального реле);

соединительная колодка "ВСКР" (извещение о несанкционированном доступе формируется путем размыкания контактов датчика вскрытия);

выход для подключения видеокамеры;

выход для подключения звукового оповещателя.

ТЕХНИЧЕСКИЕ ХАРАКТЕРИСТИКИ(Вернисаж (ИО 305-5)):

• пороговая чувствительность

• максимальная емкость чувствительного элемента совместно с соединительным проводом, не менее 2.5, 5, 10, 20 пф, 5 000 пф

• диапазон обнаруживаемых скоростей перемещения человека 0,1 - 2 м/с

• время технической готовности, не более 10 с

• напряжение питания

• ток потребления, не более 10...16 В

мА

• ток, коммутируемый контактами "ШС" и "ВК", не более

• ток, коммутируемый контактами "-30" и "+30", не более 150 мА

мА

• степень защиты, обеспечиваемая оболочкой

• габаритные размеры, (без кронштейна) IP41

x75x40 мм

• диапазон рабочих температур -10...+50 °С


3.4 Извещатель ПИК (ИО-305-3)

датчик электрический индикатор извещатель

Извещатель ПИК (ИО-305-3) предназначен для охраны сейфов, металлических шкафов, проемов помещений и выдачи тревожного извещения при приближении человека к охраняемому объекту.

Извещатель работает совместно с пультами централизованного наблюдения или приемо-контрольными приборами, реагирующими на размыкание выходных контактов извещателей, включенных в шлейф сигнализации.


Извещатель обеспечивает:

·   визуальную индикацию настройки извещателя под конкретный объект охраны;

·   автоматическое отслеживание изменения емкости объекта при изменении условий окружающей среды, без выдачи тревожного извещения;

·   ручную регулировку требуемой чувствительности срабатывания извещателя;

·   работоспособность при пониженном сопротивлении утечки объекта относительно земли.

По заказу потребителя извещатель комплектуется блоком питания для работы от сети переменного тока, возможна работа от автономного источника напряжением 12 В с малым потреблением мощности.

Максимальная электрическая емкость, охраняемых металлических предметов или чувствительного элемента в виде провода, пФ 2000

Диапазон регулируемой чувствительности на приближение человека к охраняемому объекту, м 0 - 0,2

Допустимое сопротивление утечки, кОм 8

Технические характеристики:

Напряжение питания (В) 10,2 -15

Диапазон рабочих температур (град.) -10...+50

Габаритные размеры (мм) 180х125х50

Расчет параметров датчика

 - ёмкость тела человека по отношению к "земле" - 75…200 пФ;

- ёмкость "человек - управляемый объект" - 1…10пФ;

• С1 - собственная ёмкость управляемого объекта по отношению к "земле" - 10…300 пФ.


СПИСОК ЛИТЕРАТУРЫ

1.       Дж. Фрайден, Современные датчики. Справочник , МОСКВА, 2005, 587с.

2.      <http://cxema.3dn.ru/publ/37-1-0-79>

.        <http://people.polynet.lviv.ua/matvs/sequrity/c_sensor/c_sensor.htm>

.        <http://www.dozorsb.ru/Products/dirid_100/tek_545/>

. <http://nauchebe.net/2011/02/yomkostnye-datchiki-datchiki-vneseniya-yomkosti-v-sxemax-dlya-mk/>


Не нашли материал для своей работы?
Поможем написать уникальную работу
Без плагиата!
Без нейросетей!