Авиационное вооружение

  • Вид работы:
    Реферат
  • Предмет:
    Военная кафедра
  • Язык:
    Русский
    ,
    Формат файла:
    MS Word
    162,38 kb
  • Опубликовано:
    2012-02-03
Вы можете узнать стоимость помощи в написании студенческой работы.
Помощь в написании работы, которую точно примут!

Авиационное вооружение

1. Введение

Авиационное вооружение - вид вооружения, устанавливаемого на авиационных летательных аппаратах для поражения воздушных, наземных, и морских целей. Состоит в основном из авиационных средств поражения (АСП), установок авиационного вооружения (УAB), авиационного артиллерийского оружия (ААО), систем управления авиационным вооружением (СУАВ) и авиационных прицельных систем (ПС).

Первые авиационные пушки появились в годы Первой мировой войны, а в период с 1940 по 1953 г. они практически вытеснили из вооружения самолетов пулеметы как обычного, так и крупного калибра. В послевоенное время пулеметы остались лишь на вооружении вертолетов и специальных самолетов огневой поддержки, действующих против живой силы противника.

С конца 1950-х до середины 70-х гг. в СССР, США, Англии и других странах возобладала тенденция замены пушечного вооружения самолетов управляемыми и неуправляемыми ракетами.

Но опыт локальных войн, с одной стороны, и создание скорострельных (револьверных и многоствольных) авиационных пушек, с другой стороны, привели к отказу от подобных тенденций. В настоящее время подавляющее большинство вертолётов, истребителей и истребителей-бомбардировщиков наряду с ракетным вооружением имеет автоматические пушки. С уверенностью можно сказать, что авиационные пушки будут оставаться важным элементом авиационного вооружения

2. Российские образцы авиационного стрелково-пушечного вооружения

.1 ГШ-23Л

Пушка ГШ-23Л была разработана в НИИ-61 под руководством главного конструктора В. Грязева и начальника отдела А. Шипунова под патрон АМ-23. На вооружения пушка была принята в 1965 году. Конструктивно ГШ-23Л выполнена по схеме двухствольной пушки Гаста. Пушка используется на большом количестве самолетов ВВС России.

Использование двух стволов и безударного досылающего механизма ускорительного типа позволило получить высокую скорострельность как за счет совмещения операций, так и за счет повышения средней скорости досылания патрона и экстракции стреляной гильзы. Использование единых механизмов для обслуживания обоих стволов (механизм подачи, механизм отражения, электроспуск, ударный механизм, пироперезарядка, амортизатор и т.д.) позволили создать двуствольную пушку в габаритах и массе одноствольных систем. В отличие от пушки ГШ-23, ГШ-23Л оснащена локализаторами, которые служат для направленного отвода пороховых газов и уменьшения усилия отдачи.

Первым самолетом, но котором была использована пушка стал МиГ-21. ГШ-23Л размещалась в контейнере ГП-9 в центре под фюзеляжем, боекомплект 200 снарядов. Кроме стационарного размещения, пушка используется в подвесном контейнере УПК-23-250, СППУ-22, СНПУ.

Помимо России и стран СНГ, пушка эксплуатируется в Афганистане, Алжире, Бангладеше, Болгарии, Кубе, Чехии, Эфиопии, Гане, Венгрии, Нигерии, Польше, Румынии, Сирии, Таиланде, Вьетнаме, Сербии и Черногории.

  Калибр, мм

23

Число стволов

2

Темп стрельбы, выст/мин

3000-3400

Начальная скорость, м/с

690-890

Назначенный ресурс, выст.

4000

Управление стрельбой

электрическое, 27 В

Вес пушки, кг

50

Длина пушки, мм

1537

Ширина, мм

165

Высота, мм

168

Самолет-носитель

МиГ-21С/СМ/МФ/ПФМ, МиГ-23, Як-28ПМ, Л-39, Су-15ТМ, Су-17М, Як-38М, Ми-24ВП, Ми-35М, Ту-22М, Ту-95, G-4 Super Galeb, I-22 Iryda, Orao 1/2, IAR-99


2.2 ГШ-23

-мм двухствольная пушка ГШ-23 (конструкции Грязева-Шипунова) предназначена для установки на вертолеты Ми-24ВМ, Ми-35М.На вертолете Ми-24ВМ установлена несъемная подвижная установка НППУ-24 (Несъемная Подвижная Пушечная Установка - НППУ-24, число 24-вероятно связано с индексом Ми-24) с пушкой ГШ-23 (вместо пулеметной ЯкБ-12.7).

Дальность стрельбы около 2 км. Характеризуется довольно большой скорострельностью (от 2500 до 3400 выстрелов в минуту в зависимости от модели пушки...), что в сочетании с подвижностью повышает эффективность поражения воздушных целей в несколько раз по сравнению даже с более крупнокалиберной пушкой ГШ-30.Очень большая скорость полета снаряда (около километра в секунду) в сочетании с большой массой снаряда позволяет уверенно поражать среднебронированные наземные и воздушные цели на средних и близких дистанциях.

ГШ-23 последний комплекс из ряда (А-12.7, ЯкБ-12.7, ГШ-30К, ГШ-23) стрелкового вооружения установленного на Ми-24 и продолжатель эволюции ряда стрелковых комплексов устанавливаемых на этот штурмовой вертолет. С введением ГШ-23 боевая эффективность стрелкового оружия Ми-24ВМ стала на порядок выше чем у Ми-24П с 30мм.пушкой ГШ-30.

Пушка может эксплуатироваться на левом или на правом питании.

Пушка выпускается двух модификаций:

1. ГШ-23Л - с локализаторами, которые служат для направленного отвода пороховых газов и уменьшения усилия отдачи;

2.      ГШ-23 - без локализаторов.

1 2 3 4 5 6 7 8 9 10 11 12

Носитель Калибр, мм Число стволов Темп стрельбы, выст/мин Начальная скорость снаряда, м/с Эффективная дальность, км Длина, м Ширина, м Высота, м Масса, кг Боекомплект, патронов Управление стрельбой

Ми-24ВМ, Ми-35М 23 2  2500-3400 715-1000 1.8 1.537 0.165 0.168 50 450 электрическое 27В


2.3 ГШ-30К

Двухствольная 30-мм скорострельная пушка ГШ-30К (ГШ-2-30) конструкции Грязева-Шипунова предназначена для уничтожения открыто расположенной живой силы противника, для борьбы с легко и среднебронированными наземными целями и для уничтожения медленнолетящих воздушных целей (в том числе и бронированных...) на близких и средних дистанциях.

Устанавливается на пушечный вертолет огневой поддержки Ми-24П(П-пушка) и на его экспортные варианты.На Ми-24П монтируется ГШ-30К с удлиненными стволами в правом фюзеляжном обтекателе выполняющим своего рода роль защитного кожуха, уберегающего пушку от попаданий осколков и пуль. Боекомплект пушки на Ми-24П составляет 750 снарядов. Питание - ленточное. Скорострельность 2460 выстрелов в минуту. Кстати, в случае истощения боеприпасов Ми-24 может совершить вынужденную посадку и перезарядить пушку (впрочем как и все остальное) новым боекомплектом находящимся в десантной кабине.

Носитель Производитель Калибр, мм Число стволов Темп стрельбы, выст/мин Начальная скорость снаряда, м/с Длина, м Ширина, м Высота, м Вес, кг Боекомплект, патронов Управление стрельбой

Ми-24П Завод им.Дягтерева 30 2  2460-4000 900 2.40 0.222 0.195 126 750 электрическое 27В

.4 ЯкБ-12,7

Как уже отмечалось, темп стрельбы пулемета А-12,7 был невысок, поэтому для вооружения вертолетов требовался более скорострельный крупнокалиберный пулемет. Согласно Постановления СМ СССР 1044-381 от 26 декабря 1968 г. для вертолета Ми-24 было начато проектирование нового 12,7-мм скорострельного пулемета.

Разработка его велась в ЦКИБ под руководством П.Г. Якушева и Б. А. Борзова. Заводской индекс пулемета ТКБ-063, в рекламных изданиях он получил обозначение ЯкБ-12,7 (Якушев - Борзов - 12,7-мм), а в ГРАУ - индекс 9А-624. Заводские испытания пулемета ТКБ-063 были проведены в конце 1969 г. Однако на вооружение пулемет поступил только в 1977 г., т. е. спустя почти девять лет после начала проектирования.

Поскольку темп стрельбы А-12,7 близок к предельному для 12,7-мм пулемета, построенного по классической одноствольной схеме, ЯкБ сделан четырехствольным с вращающимся блоком стволов. Пулемет ЯкБ имел газовый двигатель кулачкового типа, в котором возвратно-поступательное движение поршня превращается во вращательное движение блока - ведущего звена автоматики, за счет взаимодействия роликов продольно скользящего в блоке движка с криволинейными копирными пазами неподвижной коробки, независимо от внешнего источника энергии. То есть начало стрельбы - раскрутка блока стволов - осуществляется при каждой очереди выстрелов от пружинного стартерного устройства, которое запасает энергию в конце очереди выстрелов приторможении блока и достреле в этот момент двух последних патронов в очереди выстрелов.

Первоначально пулемет проектировался под темп стрельбы 5000-6000 выстр/мин, но получить его не удалось, и в рекламных справочниках указывается темп 4000-4500 выстр/мин.

Пулемет ЯкБ-12,7 имеет модификацию ЯкБЮ-12,7. Основные отличия ЯкБЮ от первоначального образца - некоторое увеличение темпа стрельбы с 4000-4500 до 4000-5000 выстр./мин, увеличение длины непрерывной очереди с 400 до 750 выстрелов и увеличение живучести пулемета с 8000 до 12000 выстрелов. Патроны и баллистика пулемета ЯкБ были взяты от пулемета А-12,7. Кроме того, для ЯкБ был разработан "двухпульный" патрон. Пуля в нем состоит из биметаллической оболочки, в которую впрессованы стальной и свинцовый сердечники и зажигательный состав. Новый патрон примерно в полтора раза повысил эффективность пулемета.

Модификация

ЯкБ-12.7

ЯкБЮ-12.7

Патрон Калибр, мм Число стволов Темп стрельбы, выст/мин Начальная скорость, м/с Сила отдачи, т Длина непрерывной очереди, выст. Вес снаряда, г Вес патрона, г Вес пушки, кг Длина, мм Ширина, мм Высота, мм Живучесть, выстр.

А-12.7 12.7 4  4000-4500 810 1.4 400 45 130 45 1345 145 190  8000

А-12.7 12.7 4 4000-5000 810 1.4 750 45 130 60 1345 145 190 12000

.5 2А42

Мощная пушечная установка калибра 30 мм заимствована в сухопутных войсках и полностью унифицирована по используемым боеприпасам с боевой машиной пехоты БМП-2. Пушка 2А42 имеет переменный темп стрельбы и селективное боепитание из двух патронных ящиков, снаряжаемы бронебойными и осколочно-фугасными снарядами. Это позволило на 30% повысить эффективность поражения наземных легкобронированных и воздушных целей. Боевая живучесть ствола пушки 2А42 позволяет произвести отстрел всего боекомплекта (500 снарядов) без задержек и промежуточного охлаждения. Как на БМП-2, так и на армейском боевом вертолете, пушечная установка надежно работает в условиях повышенной запыленности.

Вообще говоря, пушка 2А42 одна из самых (ежели не самая...) мощных вертолетных пушек в мире! Она способна стабильно выводить из строя легко и среднебронированные цели и открыто расположенную живую силу противника на удалении до 3-4 км!!!К примеру пушка хваленого (зарубежными авторами разумеется...) американского вертолета Апач, того же калибра еле-еле бьет на 1,5 км. Пока Апач будет идти на встречных курсах с любым нашим боевым вертолетом с установленной на нем пушкой 2А42, наш вертолет успеет раза четыре расстрелять его прежде чем Апач войдет в зону допустимой стрельбы при которой у него были бы хоть какие-то шансы поразить цель, но...А если еще учесть почти в два раза большую скорость снаряда 2А42 (980 против 550) и 30мм. калибр то... участь Апача становится крайне печальной... А туда ему и дорога...

Особое внимание при проектировании вертолета было уделено выбору и конструктивному решению пушечной установки. Конструкторы ОКБ остановились на 30-мм одноствольной пушке 2А42, созданной тульским КБ, которая была разработана для бронетанковой техники и использовалась на боевых машинах пехоты и десанта. Решение установить на вертолет "танковую" пушку вместо обычной авиационной поначалу не было воспринято заказчиком и институтами промышленности. Однако камовцы сочли применение пушки 2А42 на вертолете оправданным. Она имела двухстороннюю подачу патронной ленты, позволяющую выбирать необходимый тип снаряда (бронебойный или осколочно-фугасно-зажигательный) в зависимости от вида цели и, следовательно, более экономно расходовать боекомплект. Пушка БМП, надежно работающая в условиях сильной запыленности, пришлась как нельзя кстати на вертолете, поскольку спецификой его боевого применения является ведение огня с предельно малых высот в условиях пылевых образований и автономное базирование на грунтовых площадках при ограниченных возможностях технического обслуживания. Высокая начальная скорость снаряда (960-980 м/с) обеспечивала исключительную точность стрельбы и высокую бронепробиваемость (бронебойный снаряд на дистанции 1500 м под углом 60° к нормали пробивает 15-мм стальную броню). Высокая живучесть ствола позволяла производить отстрел всего боекомплекта без промежуточного охлаждения, что в боевой обстановке могло иметь решающее значение. При всех этих положительных качествах танковая пушка имела существенный недостаток - она весила значительно больше, чем аналогичные авиационные. Перед конструкторами встала задача: разместить пушку на вертолете так, чтобы сохранить ее достоинство - высокую точность стрельбы - и компенсировать недостаток. Расчеты показали: в случае размещения пушки в носовой турели отдача при стрельбе будет оказывать существенное воздействие на вертолет, что, во-первых, потребует серьезного усиления конструкции фюзеляжа и, во-вторых, снизит точность стрельбы. Установить пушку под фюзеляжем не представлялось возможным, так как при этом недопустимо, так как при этом недопустимо бы увеличилась бы высота машины.

Решено было поставить ее в районе центра масс со стороны правого борта между подредукторными шпангоутами - в самом прочном и жестком месте фюзеляжа. Такая компоновка уменьшала влияние сил отдачи на вертолет и обеспечивала максимально высокую точность стрельбы, в четыре раза превышающую точность стрельбы вертолетов Ми-28 с такой же пушкой 2А42 и в три раза - AH-64А с пушкой М230 "Чейн-Ган". Ограничение угла отклонения пушки по азимуту при этом компенсировалось способностью вертолета соосной схемы во всем диапазоне скоростей полета выполнять поворот с угловой скоростью, не уступающей скорости поворота оружия существующих установок. Таким образом, обеспечивалась возможность наведения пушки на цель по азимуту корпусом вертолета. Для пушечной установки был выбран гидравлический следящий привод, который, в отличие от электрического, использованного на Ми-28, имел большее быстродействие и меньший удельный вес, а кроме того отчасти демпфировал колебания оружия при стрельбе и, в связи с малым энергопотреблением, не "сажал" электрическую сеть вертолета при работе. Патронные ящики установили в фюзеляже вертолета, что позволило, по сравнению с Ми-28, вдвое увеличить боекомплект и отказаться от гибких рукавов питания - постоянной причины задержек в стрельбе. Расход снарядов не приводил к изменению центровки вертолета. Для исследования влияния стрельбы из пушки, дульный срез которой находился рядом с кабиной летчика, на конструкцию вертолета в КБ приборостроения были срочно проведены наземные испытания. На уже существующий стенд для отработки пушки 2А42 на БМП была установлена натурная кабина В-80. Помимо аппаратуры, замеряющей давление, вибрацию и другие параметры, специалисты КБ приборостроения использовали и "домашние" методы оценки: например, проверяли, упадет ли при стрельбе оставленный на кромке приборной доски гаечный ключ. Испытания подтвердили возможность размещения пушки рядом с летчиком - стекло кабины разрушилось только после того, как дульный тормоз пушки был буквально прижат к нему.

Устройство 30 мм пушки 2а42 и взаимодействие ее частей и механизмов

мм автоматическая пушка предназначена для борьбы с легкобронированными целями на дальность до 1500 м установками ПТУР, небронированными средствами и живой силой противника на дальностях до 4000м, также для стрельбы по воздушным целям, летящим на высотах до 2000 м с дозвуковыми скоростями и наклонной дальностью до 2500 м.

Принцип действия 30 мм автоматической пушки основан на отводе части пороховых газов через поперечное отверстие в стволе. Причем отверстие нерегулируемое. Масса пушки 2А42 115 кг, масса ствола 40 кг. Живучесть - 6000 выстрелов.

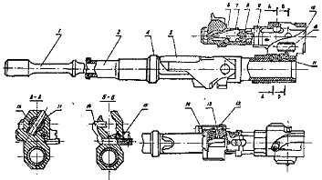
Основные части и механизмы пушки /рис.1/:

Ствол 1 нарезной, с дульным тормозом и казенником; слева примерно посередине в стенке ствола имеется поперечное отверстие для отвода части пороховых газов. Ствол имеет амортизатор для уменьшения силы отдачи, действующей на машину при выстреле. При этом ствол /не пушка/ отходит при выстреле на 30-35 мм.

Ствольная коробка 7 /вместе с затыльником/ служит для соединения частей и механизмов пушки, а также для соединения пушки с бронировкой. Бронировка благодаря цапфам обеспечивает наведение ствольной коробки, а следовательно, и всей пушки в вертикальной плоскости.

Рис 1. Установка _пушки 2А42

- пушка 2А42; 2,3,4- крышки; 5- кожух; 6- переключатель; 7- рычаг ручного спуска; 8 - крышка - груз; 9- грузы ; 10- стопор; 11 - кронштейн ; 12- рама; 13- тросик; 14- сектор.

Рис.2 Основные узлы пушки 2А42

- агрегат смола; 2- казённая; 3- затыльник; 4- затвор; 5- рама затворная; 6- пружина; 7- коробка ствольная; 8- тяга противоотскока; 9- дульный тормоз; 10- оси механизма подачи; 11- оси шептала; 12- механизм подачи; 13- контактор; 14- электроспуск; 15- ось затыльника.

Затворная рама предназначена для приведения в действие механизма пушки и производства выстрела.

Затворная рама 5 /рис. 2/ соединена с газовым поршнем 1 /риc. 3/, воспринимающим давление пороховых газов при отводе их через поперечное отверстие в стенка ствола. На затворной раме 5 помещен затвор 4. (рис.2)

Затвор имеет ось 18 /рис. 3/ с роликом 17. При движении вперед ролики, взаимодействуя с криволинейным пазом затворной рамы, обеспечивая поворот затвора, чем достигается плотное запирание канала ствола. В конце запирания боек ударника 7 /рис. 3/ затвора производит удар по капсульной втулке патрона. Выбрасыватели при обратном ходе затвора извлекают из патронника стрелянную гильзу, которая перемещается вправо и при очередном выстреле выбрасывается через отверстие гильзоотвода наружу машины. При обратном ходе происходит также подача очередного патрона на линию досылания.

Основу возвратного механизма 6 составляет возвратно-боевая пружина. Она сжимается под усилием 600 кгс, поэтому взведение подвижных частей не может быть произведено непосредственно усилием руки, как в пулемете. Для взведения подвижных частей на затыльнике 3 пушки имеется рукоятка с храповым устройством. Время на взведение около 20 с. Рукоятка после взведения обязательно должна быть зафиксирована в исходном положении. Значительно быстрее можно произвести взведения с помощью пиропатрона нажатием кнопки на блоке управления, но пиропатроны /их 3 шт./ следует беречь для устранения задержек при стрельбе /например, при осечке/.

Спусковой механизм служит для удержания затворной рамы на боевом взводе и спуска ее с боевого взвода, а также для постановки подвижных частей на предохранитель. Он расположен в затыльнике 3. Основная деталь спускового механизма - шептало. Перед стрельбой при постановке затворной ремы на боевой взвод рама удерживается шепталом. Открытие огня осуществляется снятием затворной рамы с шептала дистанционно с помощью электроспуска 14. На затыльнике 3 расположен спусковой рычаг 7 /рис. 1/, с помощью которого можно произвести спуск при обслуивании или пря стрельбе в аварийном случае /при этом стрельба производится большим темпом/.

Рис 3. Затворная рама

1- газовый поршень; 2,11,15- штифты; 3- трубка; 4- поршень; 6- плунжер; 7- боек; 8- ограничитель; 9- затвор; 10- ползун; 12- пружина; 13- штифт; 14- экстрактор; 16- фиксатор затвора; 17- ролик; 18- ось; а- цапфа.

При ведении огня большим темпом шептало утоплено электроспуском 14 на врем нажатия кнопки стрельбы. Большой темп стрельбы обеспечивается кинематикой механизмов пушки и энергетическими возможностями газового устройства. При ведении огня малым темпом происходит задержка шептала путем автоматической подачи определенных электрических импульсов.

Шептало задерживает затворную рану при каждом выстреле примерно на 0,15 с. При одиночной стрельбе затворная рама ставится на шептало после каждого выстрела. Для производства следующего выстрела необходимо отпустить кнопку стрельбы и нажать ее вновь.

На ствольной коробке укреплен приемник. Приемник содержит четыре съемника, к которым прикреплена пластина с двумя окнами для подвода патронных лент. Съемники имеют криволинейные выступы, по которым перемещаются концы звеньев патронной ленты. При этом происходит извлечение патрона из ленты.

Механизм подачи 12 смонтирован на затыльнике 3. В затыльнике 3, являющейся задней стенкой ствольной коробки 7, кроме и механизма подачи 12, размещены переключатель типа выстрела 6 /рис. 1/, спусковой механизм, электроспуск 14, предохранитель и устройство для взведения подвижных частей вручную с рукояткой.

Механизм подачи 12 осуществляет перемещение одной из патронных лент на один шаг при каждом выстреле. Перемещение одной из лент осуществляется подающими пальцами. Переключение типа выстрела /ленты/ осуществляется вручную с помощью переключателя 6 /рис. 1/. Переключатель 6 соединен механически с электрическим датчиком, подающим сигнал в блок управления.

Тактико-технические характеристики 2А42

Носители

Ка-50, Ка-52, Ми-28, Ми-28Н, Ка-29

Калибр, мм

30

Боекомплект, патронов(Ка-50)

500

Темп стрельбы, выстр./мин.

одиночный 200-300/800

Вес установки, кг (Ка-50)

115

Боепитание(Ка-50)

Бр и ОФ (селективное)

Масса снаряда, кг

0,39

Начальная скорость снаряда, м/

980

Прицельная дальность стрельбы, м

4000


Боеприпасы 30-мм пушки

Для стрельбы из 30 мм пушки применяется три типа выстрелов: 1) с осколочно-фугасно-зажигателным снарядом - ОФЗ; 2) с осколочно-трассирующим снарядом ОТ в 3) с бронебойно-трассирующим снарядом БТ. Все патроны унитарного снаряжения. Все основные элементы выстрела: снаряд с взрывателем, боевой (метательный) заряд, гильза, и средство воспламенения - капсюльная втулка КВ-30 ударного действия, объединены в единое целое.

Боекомплект в пушке размещается в двух одинаковых по устройству лентах, но различных по емкости. Одна лента емкостью 340 выстрелов со снарядами ОФЗ и ОТ снаряжаются в пропорции соответственно 4:1. Другая лента емкостью 160 выстрелов Со снарядом КГ. Снаряжение и расснаря-жение лент производится с помощью машинки 6Ю16. К снаряжению допускаются звенья патронной ленты, прошедшие не более 12 стрельб.

Лента сочлененная (рис. 5). Она состоит из отдельных, звеньев 2, соединяемых между собой с помощью петли "а" и крючка "б".

Выстрелы уложены в деревянные ящики (масса ящика с выстрелами 62 кг). В каждый ящик укладывается 3 герметичные коробки по 18 выстрелов. Всего в ящике 54 выстрела.

Снаряд ОФЗ (рис.4а) предназначен для поражения живой силы, наземной и воздушной техники противника. Снаряд состоит из корпуса 1 с впрессованным в него медным ведущим пояском 2. Внутри корпуса - разрывной заряд 3. Взрыватель марки А-670 механического типа с самоликвидатором. Масса ОФЗ снаряда - 0,391-0,393 кг. Время срабатывания самоликвидатора Д-14 с., что соответствует дальности стрельбы 3900 - 5300 м.

Дальность взведения взрывателя 20-100 и от дульного среза ствола.

Снаряд ОТ (рис. 4б) имеет меньший разрывной заряд, но снабжен трассером 5. Время горения трассера 10 с., что соответствует дальности полета 4300 м, т.е. на 300 м больше предельной прицельной дальности стрельбы. Время и дальность самоликвидации - те же, что и у ОФЗ. Масса ОТ снаряда - 0,385-0.387.

Рис. 4. Снаряды 30-мм пушки

Выстрел (патрон) унитарного заряжания 30-мм пушки:

1. снаряд;

2.      гильза;

.        боевой (метательный) заряд;

.        капсюльная втулка КВ-30;

.        розмеднитель;

.        взрыватель

а)осколочно-фугасно-зажигательный (ОФЗ); 5)осколочно-трассирующий (ОТ);

б)бронебойно-трассируощий (БР); 1-корпус; 2-ведущий поясок; 3-разрывной заряд; 4-взрыватель; 5-трассер; 6-баллистический наконечник.

Рис. 5. Лента 30-мм пушки

- патрон; 2- звено ("Краб") ленты; А- направление перемещения патрона при снаряжении ленты, Б- при соединении участков ленты, В- при расчленении ленты на участки; а- петля, б- крючок.

Снаряд БТ (рис. 4в) с притупленной головной частью, на которой закреплен баллистический наконечник 6 для улучшения его аэродинамической формы. Разрывного заряда снаряд не имеет. Снаряд предназначен для борьбы с техникой противника. В донной части корпуса укреплен трассер 5. Время горения трассера 3,5 с., что соответствует дальности полета 2300 м, т.е. на 300 м больше предельной прицельной дальности стрельбы этим снарядом. Масса БТ снаряда равна 0,396-0,398.

3. Перспективное авиационное пушечное вооружение иностранных фирм

Создание новых авиационных пушек (АП), по оценке западных специалистов, по-прежнему является одной из приоритетных задач в области построения современных артиллерийских систем (АС). Лидерами являются США, Франция и Германия. Проведенный американскими экспертами математический анализ показывает, что до 50 проц. одиночных и групповых воздушных боев между истребителями, начинающихся с дальних и средних дистанций, заканчиваются на дальностях 1 - 2 км с использованием стрелково-пушечного вооружения или управляемых ракет малой дальности класса «воздух - воздух». Работы над новыми образцами АП ведутся с учетом технологического опыта, накопленного в этой области.

Американская фирма «Дженерал дайнэмикс» продолжает использование артиллерийской установки (рис. 1а) для перспективного разведывательно-ударного вертолета RAH-66 «Команч». В ее состав входят автоматическая трехствольная 20-мм пушка ХМ-301 (рис. 1б), система боепитания к ней, турельная установка и прицельно-вычислительный комплекс. Пушка ХМ-301 предназначена для стрельбы по наземным и воздушным целям. Она создавалась на основе конструктивных и схемных решений, выработанных для АП М61А2. По заявлению разработчиков, для повышения показателей унификации и стандартизации было использовано до 30 проц. подвижных частей от этой пушки.

Пушка ХМ-301 (рис. 2) выполнена но следующей схеме: вращающийся блок стволов с внешним питанием (от электропривода) и беззвеньевая система подачи с магазином барабанного типа. Для перезарядки пушки применяется пневмосистема, тип воспламенения - электромеханический, система запирания канала ствола - клиновая. Отпирание канала ствола осуществляется за счет энергии пороховых газов.

Основные технические характеристики артиллерийской установки для вертолета RAH-66: начальная скорость снаряда 1 050 м/с; сектор обстрела по азимуту ±120°, по углу места - от +15 до - 45°; скорость вращения турели по азимуту 80 град/с, по углу места - 60 град/с; максимальная скорость вращения 100 град/с; масса пушки 34,5 кг. пушки с системой боепитания - 50 кг, турель-ной установки с пушкой и боекомплектом 288 кг; максимальная сила отдачи 8,45 кН (средняя - 3,56 кН). Геометрические размеры АП: длина общая 1,83 м, ствола- 1,55 м; максимальный диаметр 0,175 м. Геометрические размеры турели (без пушки): длина 0,83 м, ширина 0,6 м, высота 0,373 м. Стрельба может вестись в двух режимах: 1 500 выстр./мин - по воздушным целям, 750 выстр./мин - по наземным целям и в ходе тренировок. При этом используются бронебойные, бронебойно-зажигательные, осколочно-фугасные, осколочно-фугасно-зажигательные и учебные (с охолощенным взрывателем и инертным веществом вместо взрывчатого) снаряды серии М50 и PGU-28.

Элементы конструкции турели (рис. 3) выполнены полностью из композиционных материалов. Поиск и захват цели, а также наведение (грубое и точное прицеливание) производятся посредством нашлемной системы целеуказания летчика через систему управления оружием носителя. Летные испытания были проведены в 2002 - 2003 годах. АП был принят на вооружение одновременно с вводом в боевой состав вертолета RAH-66 - в 2006 году.

Кроме того, фирмы «Дженерал дайнэмикс» и CFD осуществляют разработку двух АП для легких вертолетов: двухствольной 25-мм GE-225 (вертолеты модификаций АН-1S и -1T), а также одноствольной LR-30 (ОН-58). Пушка GE-225 имеет следующие характеристики: масса 81,7 кг, темп стрельбы 2 000 выстр./мин, начальная скорость снаряда 1 300 м/с, длина 2,21 м. Двигатель автоматики газового или электрического типа. Срок поступления на вооружение 2002 год. Особенностью АП LR-30 (рис. 4) является наличие специального противооткатного устройства, уменьшающего максимальную отдачу с 7,8 до 3,5 кН, что позволяет применять эту пушку и на более легких вертолетах. Ее масса 63 кг, темп стрельбы 300 выстр./мин. начальная скорость снаряда (оценка) 900 м/с, боекомплект 170 выстрелов, общая длина 1,85 м.

В состав АС предполагается включить: новую одноствольную безоткатную 30-мм пушку RMK с боекомплектом 40 патронов: ИК-станцию переднего обзора; лазерный дальномер-целеуказатель; систему управления пушкой, сопряженную с бортовой прицельно-навигационной системой вертолета: систему стабилизации. Пушка выполнена по барабанной схеме с беззвеньевой лево- или правосторонней подачей боеприпасов. Она состоит из следующих основных частей: агрегат ствола, ствольная коробка с газовым соплом, лафет, блок патронников, электрический двигатель автоматики оружия и электроспуск. При боевом применении пушки будут необходимы новые боеприпасы. В них, в отличие от традиционной компоновки, снаряд размещается внутри гильзы, стенки которой выполнены из метательного взрывчатого вещества. Планируется использовать осколочно-фугасные, осколочно-фугасного-зажигагельные и бронебойные боеприпасы.

Процесс наведения пушки начинается с целеуказания, производимого с помощью нашлемной системы пилота. Далее информация поступает в центральную бортовую ЭВМ. где она преобразуется с учетом вычисленного пространственного положения вертолета, а затем передается в блок целеуказания, входящий в состав системы управления пушкой. На основе «грубых» данных о фазовых координатах цели блок целеуказания вырабатывает команды управления для станции переднего обзора, которая после их выполнения в случае обнаружения цели передает ее координаты в лазерный дальномер. Уточненные данные поступают в процессор, выполняющий вычисления углов упреждения и других параметров стрельбы. После отработки приводом турели углов упреждения автоматически открывается огонь. Вероятность попадания в вертолет Ми-24 на дальности 1000 м в зависимости от длины очереди составляет: 0,7 (три выстрела), 0,9 (шесть выстрелов), 0,99 (более 15). Для обеспечения высокой вероятности попадания в цель требуется наличие небольшого боезапаса, который размещается в турельной установке.

Основные технические характеристики АС вертолета «Тигр»: калибр пушки 30 мм: темп стрельбы 300 выстр./мин; масса снаряда 0,280 кг; начальная скорость снаряда 1 200 м /с; дульная энергия снаряда 200 кДж; максимальное давление в канале ствола 4 200 атм; длина патрона 0.23 м; сектор обе грела по азимуту 280°, по углу места от +20 до 45°; максимальная скорость вращения турели 175 град/с: ускорение вращения турели 260 град/с2 ; масса пушки 100 кг (турельной установки 185 - 190 кг); длина ствола пушки 1,7 м (пушки с турелью - 2,34 м).

Артиллерийская система является универсальной и может использоваться для оснащения других вертолетов. Кроме того, по специальному заказу министерства обороны Германии фирма «Маузер» начала разработку концепции новой АП, получившей обозначение Mk 2000. Согласно техническому заданию АП должна иметь: калибр 30 - 35 мм, темп стрельбы 3 000 выстр./мин, начальную скорость снаряда 1 800 м/с, рассеивание 1,5 мрад.

Германская фирма «Рейнметалл» осуществляет разработку многофункциональной автоматической 35-мм одноствольной пушки 35/1000 авиационного, морского и наземного базирования, предназначенной для поражения широкого спектра воздушных целей.

Авиационная пушка 35/1000 выполнена по барабанной схеме (четыре патронника) с механическим типом воспламенения и га-човым двигателем автоматики. Система боепитания правосторонняя звеньевая. Механизм перезарядки электромеханический. Раскрутка блока патронников осуществляется салазками, двигающимися под давлением пороховых газов по специальным пазам. В канале ствола сделаны 24 нареза с прогрессивным шагом.

Технические характеристики АП 35/1000: темп стрельбы 1000 выстр./мин, начальная скорость снаряда 1 500 м /с, скорость отлета гильзы 25 м/с, масса пушки 450 кг (ствола - 100 кг), сила отдачи 15 кН; максимальное давление в канале ствола 4 900 атм. Геометрические размеры пушки: общая длина 4,11 м (ствола - 2,76 м), ширина 0,38 м, высота 0.32 м. Требуемое постоянное напряжение 24 В ± 6 В. Типы используемых боеприпасов - калиберные и подкалиберные, осколочно-фугасные, бронебойные, осколочные типа AHEAD (Advanced Hit Efficiency And Destruction), с готовыми поражающими элементами и программируемым электронным взрывателем. Проведение летных испытаний пушки 35/1000 возможно в 2002 году. Вопрос о принятии ее на вооружение находится в стадии детального изучения и будет решен, вероятно, после окончательного выбора носителя.

Во Франции фирма «Жиат» продолжает разработку одноствольных 30-мм автоматических АП для многоцелевого ударного вертолета «Тигр» национальных ВС и истребителя «Рафаль». Создание вертолетной и самолетной авиационных пушек, получивших обозначения 30-781 и 30-791 соответственно, ведется в рамках одной программы с использованием конструктивно-схемных решений, полученных для состоящей на вооружении пушки DEFA 550.

АП 30-781 может размещаться в турельной установке, получившей обозначение THL 30 (масса с пушкой 165 кг, сектор обстрела ± 90° по азимуту и от -30 до + 33° -по углу места), или в съемной пушечной установке, а 30-791 - в фюзеляже самолета (рис. 4). Оба орудия выполнены по барабанной схеме. Движение автоматики пушек осуществляется при помощи энергии пороховых газов. Тип системы воспламенения -электрический. Пушка 30-791 отличается от 30-781 повышенным темпом стрельбы (достигается за счет увеличения числа патронников и более совершенной автоматики), который может принудительно меняться от 300 до 2 500 выстр./мин, возможностью как левосторонней, так и правосторонней подачи патронов (на 30-781 она левосторонняя) и массогабаритными характеристиками. Основные тактико-технические характеристики АП 30-781/30-791: начальная скорость снаряда 1 025 м/с; эффективная дальность стрельбы 1 500 м; темп стрельбы 750/300, 600, 1 500 и 2 500 выстр./мин; боекомплект 450/130 выстрелов; масса пушки 60 или 115 кг (снаряда - 0,275 кг, патрона - 0.450/0,525 кг); длина пушки 1,87 или 2,4 м; требуемое напряжение постоянного тока 26В ± 4В; температурный режим от -54 до +74°С.

4. Перспективы и необходимость совершенствования отечественных авиационных артиллерийских пушек и боеприпасов к ним

Отечественные комплексы обладают следующими достоинствами:

1. Простота и надежность

2.      Отсутствие привода, что снижает массу орудия.

.        Высокая ремонтопригодность.

.        Возможность выбора разных боеприпасов в бою.

.        Высокая точность стрельбы.

.        Возможность иметь больший боекомплект, чем на ВС противника

Недостатки:

1. Многие пушки были «переняты» с других видов техники и потому имеют большой вес.

2.      Ограниченное количество пиропатронов, и как следствие ограниченная возможность возобновления стрельбы.

.        Зависимость центровки от степени израсходования боекомплекта

Опыт боевых действий последних десяти лет на Ближнем Востоке, Северном Кавказе и в Югославии показал возрастающую роль фронтовой (тактической) авиации (ФА) как наиболее мобильного и оперативного рода войск. В принципе уже давно ее не принято подразделять на истребители, бомбардировщики и штурмовики. Однако фактически каждый тип самолета все же имел уклон в ту или иную специализацию.

Основу артиллерийского вооружения российской авиации составляют 30-мм автоматические пушки (АП) ГШ-301, ГШ-30 и 2А42 с двумя группами боеприпасов основного назначения - осколочно-фугасные (ОФ) и бронебойные. Они в значительной мере взаимно дополняют друг друга при боевом применении.

Заложенные при проектировании технические решения, высокий уровень стандартизации и унификации боеприпасов ААО и их элементов позволяют и сегодня, после достаточно длительного срока эксплуатации, оценивать 30-мм авиационные артиллерийские боеприпасы по совокупности характеристик "пушка-патрон" как не уступающие наиболее современным зарубежным образцам аналогичного назначения. Необходимо отметить, что отечественному авиационному артиллерийскому оружию (ААО) противостоят малокалиберные авиапушки фирм наиболее развитых стран Запада (США, Англия Франция, Швейцария, Швеция), что определило чрезвычайно широкий спектр образцов боеприпасов, созданных за рубежом.

Так, пушечное вооружение самолетов ВВС США до настоящего времени базируется главным образом на системах калибра 20 мм, за исключением штурмовика непосредственной поддержки войск А-10А, на котором устанавливаются 30-мм пушка семейства GAU. Ею же оснащены и вертолеты армейской авиации типа "Апач Лонгбоу" и "Супер Кобра". Боевые машины западно-европейской авиации, как правило, имеют 30-мм пушки Defa и ADEN.

В таблице представлены основные тактико-технические характеристики (ТТХ) наиболее распространенных боеприпасов ААО отечественных и зарубежных пушечных систем. Рассматривая в качестве интегрального показателя эффективности боеприпасов могущество их действия на цели, можно сделать вывод о том, что российское ААО находится на уровне лучших зарубежных образцов аналогичного назначения.

ТТХ основных боеприпасов ААО

Система

Калибр

Тип

Масса, кг


Начальная мм снаряда скорость, м/с




патрона

снаряда

ВВ


Defa, ADEN

30

OФЗ

0,450

0,243

0,074

820

GAU-8

30

БЗ  ОФЗ

0,747  0,690

0,425  0,369

-  0,056

988  1036

ГШ-30

30

ОФЗ  БТ

0,842  0,844

0,387  0,400

0,0485  -

845 870


Однако интенсивное развитие военной техники - усиление защиты, увеличение прочности и живучести конструкций, а также тот факт, что наши боеприпасы разрабатывались в конце 70-х - начале 80-х годов означают, что через 3-5 лет отечественные комплексы ААО не смогут столь действенно поражать наземные и воздушные объекты, их эффективность снизится примерно на 30-35%.

Конечно, военно-промышленный комплекс России находится далеко не в лучшем положении. Однако разработчики комплексов ААО совместно с ведущими специалистами Минобороны проводят в инициативном порядке ряд исследований и НИОКР перспективных боеприпасов и всего комплекса авиационного артвооружения в целом по следующим основным направлениям:

.Для обеспечения живучести стволов пушек при высоком темпе стрельбы и высоких баллистических характеристик выстрелов необходимы новые малоэройзиные пироксилиновые пороха с высокой прогрессивностью горения, а в ближайшей перспективе и полидисперсные комбинированные метательные (пороховые) заряды. Это обеспечит повышение плотности заряжания на 8-12%, что естественным образом приведет к повышению начальных скоростей снарядов. Другим путем решения данной проблемы является создание боеприпаса ААО с пластмассовым ведущим пояском (ПВП). В 80-е годы американские фирмы "Ханиуэлл" и "Аэроджет" освоили серийное производство 30-мм патрона с ПВП к авиапушке GAU-8, на базе которой впоследствии была сконструирована морская установка "Голкипер". Замена медных ведущих поясков на пластмассовые позволило повысить живучесть стволов на 300%. Американские специалисты оценивают применение ПВП настолько высоко, что считают самым его выдающимся достижением после создания бездымного пороха. Они убеждены, что все новые боеприпасы должны проектироваться с ПВП.

Российские конструкторы разработали совершенно уникальный пластмассовый поясок, превосходящий американский по критерию "стоимость-надежность-эффективность" в 1,5-1,8 раза. Его применение позволяет почти вдвое увеличить потенциальные возможности артиллерийского вооружения современных и перспективных боевых самолетов и вертолетов, отказаться от комплектования авиапушек запасными стволами, упростить производство и эксплуатацию оружия, экономить дефицитную ствольную сталь и цветные металлы.

. Необходимо усилить поражающее действие боеприпасов по различным типам целей. Перспективный снаряд ААО должен сочетать в себе все преимущества своих осколочно-фугасных и бронебойных предшественников. Объединение усилий конструкторов и технологов ВПК (ФНПЦ "Прибор") и ведущих специалистов (ВАТУ им. Жуковского) позволило в инициативном порядке вести экспериментально-теоретические работы по оптимизации основных конструктивных параметров такого боеприпаса и оценки его боевой эффективности. Результаты расчетов на полномасштабных стохастических математических моделях, подтвержденные предварительными полигонными испытаниями, показали прирост эффективности в среднем на 20-25% при решении задач "воздух- воздух" и на 15-20% - "воздух-поверхность".

Следует также отметить, что концептуальным вопросом является определение роли и места авиационного артиллерийского оружия в составе комплекса авиационного вооружения перспективных боевых самолетов и вертолетов. В связи с этим необходимо более глубокие исследования по следующим проблемам:

оптимизация калибра установок ААО;

в условиях развития авиационного управляемого ракетного вооружения необходимо определить каково главное функциональное назначение ААО - оборонительное или наступательное;

применение принципиально новых типов снарядов (активно-реактивные, неконтактного действия и т.д.).

Как считает абсолютное большинство отечественных и зарубежных специалистов, авиационная артиллерия сохранит свое немалое значение на весь период существования ВВС с вооружением обычного типа.

Заключение

Современная авиационная пушка (пулемёт) - это многоствольное, скорострельное, подвижное орудие с мощной вычислительной системой, позволяющей обеспечивать высокую точность стрельбы и возможностью выбора типа снарядов в зависимости от типа цели. Система прицеливания обладают высокой точностью в различных условиях современного боя и в различное время суток. Вместе с этим предел совершенства ещё не достигнут, и ведущие державы мира ведут работы по усовершенствованию авиационного артиллерийского вооружении, в том числе и Россия. В настоящее время особое внимание уделяется таким направлениям как:

повышение «живучести» бортового вооружения, применение пластмассового ведущего пояска;

совершенствование системы охлаждения, и возможность беспрерывного ведения огня;

разработка корректируемых боеприпасов для авиационных пушек, что значительно увеличит результативность стрельбы;

повышение бронепробиваемости боеприпасов и увеличение относительной приведённой площади поражения.

Список используемой литературы

авиационный вооружение стрелковый пушка

1. Митищенко, В.А. /Оружие воздушной войны./ г. Москва, 2004 год.

2.      Асмолов В.С./ Пушечное вооружение. Вертолеты Ми-28, Ка-50.//Независимое военное обозрение.- 2000г.

.        Журнал «Государственное унитарное предприятие « Конструкторское Бюро Приборостроения» » Москва, 2009г.

.        Уч. Пособие «Боевое применение авиационного вооружения вертолётов» Воен.-возд. инж. акад. им. Н. Е. Жуковского. - М.: ВВИА, 2006г.

.        Свободная энциклопедия «Википедия»


Не нашли материал для своей работы?
Поможем написать уникальную работу
Без плагиата!
Без нейросетей!