Электронно-лучевая сварка деталей гироскопа
Оглавление
Введение
. Основная часть
.1 Общие сведения
.1.1 Электродуговая сварка
.1.2 Сварка неплавящимся
электродом
.1.3 Сварка плавящимся
электродом
.1.4 Ручная дуговая сварка
.1.5 Газопламенная сварка
.1.6 Плазменная сварка
.1.7 Электронно-лучевая сварка
.2 Виды сварки деталей
гироскопа
.2.1 Сварка в среде защитных
газов
.2.1.1 Технология
аргонодуговой сварки
.2.1.2 Преимущества и
недостатки аргонодуговой сварки
.2.2 Микроплазменная сварка
.2.2.1 Технология
микроплазменной сварки
.2.3 Лазерная сварка
.2.3.1 Лазерная сварка
твердотельным лазером
.2.3.2 Лазерная сварка
газовым методом
.2.3.3 Достоинства и
недостатки лезерного метода сварки
.2.4 Электронно-лучевая
сварка
.2.4.1 Техника
электронно-лучевой сварки
. Историческая часть
.1 История развития
.2 Классификация гироскопов
.2.1 Механические гироскопы
.2.2 Вибрационные гироскопы
.2.3 Оптические гироскопы
.3 Применение гироскопа в
технике
.3.1 Системы стабилизации
.4 Новые типы гироскопов
.5 Основные части гироскопа и
его основные свойства
.5.1 Секстан Флерие
.5.2 Гироскоп Фуко
.5.4 Гироскоп и его основные
свойста
.5.5 Механика гироскопа
.6 Гироскоп в авиации
.6.1 Гироскопический тахометр
.6.2 Гироскопический
указатель поворотов
.6.3 Авиационный гироскоп
направления
. Исследовательская часть
.1 Влияние удельной мощности
электронного луча на геометрию зоны проплавления
.2 Влияние изменения рабочего
расстояния пушка-деталь на геометрию зоны проплавления
.3 Влияние ускоряющего
напряжения на геометрические характеристики проплавления
.4 Режимы сварки для узлов
гироскопа
.Технологическая часть
.1 Характеристика заготовки и
требование к материалу
.2 Электроно-лучевая сварка
узлов гироскопа
.3 Технологический регламент
производства работ
.4 Применяемое оборудование и
инструменты при производстве работ
.4.1 Некоторые специальные
технологические приемы, используемые для обеспечения ЭЛС
.4.2 Управление плотностью
пучков электронов
.4.3 Управление положением
пучков-электронов
.4.4 Откачные системы
.4.5 Сварочные манипуляторы
.4.6 Системы наблюдения
.5 Подготовительная опперация
.6 Технология сварки узла
ниппель - заглушка
.7 Технология сварки узла
корпус-крышка
.8 Технология сварки
гироскопа (герметизация)
.9 Контрольная операция
. Контроль качества сварных
швов гироскопа на герметичность
.1 Применяемые оборудование,
приспособления, инструмент
.2 Материалы
.3 Технические требования к
оборудованию
.4 Типовой технологический
процесс
. Экономическая часть
. Безопасность
.1 Общие требования
безопасности
.2 Анализ производственных
опасностей и вредностей . Разработка мер по их снижению
.2.1 Метеоусловия
.2.2 Освещенность
.3 Опасность повышенного
уровня напряженности электромагнитного поля
.4 Электробезопасность.
Статическое электричество
.4.1 Обеспечение
электробезопасности техническими способами и средствами
.5 Оценка условий труда
.6 Требования пожарной
безопасности
Заключение
Список использованной
литературы
Приложения
Введение
К сварным швам современных конструкций предъявляются
требования повышенной вакуумплотности, прочности, пластичности и коррозионной
стойкости. Этим требованиям отвечают швы, полученные электронно-лучевой сваркой
(ЭЛС) в вакууме. Высокая концентрация энергии в луче, изменение плотности
энергии в широких пределах, направленное тепловое воздействие, малая
энергоемкость процесса и перенос энергии на значительные расстояния позволяют
сваривать как миниатюрные детали, так и детали больших габаритов и толщины из
многих материалов и их комбинаций. Все это определило широкое распространение
ЭЛС в отраслях промышленности, как авиационная, ракетная, ядерная, электронная
и приборостроительная.
Целью проекта является исследование особенностей
формирования сварного шва для выбора оптимальных режимов сварки и разработка
технологии электронно-лучевой сварки деталей гироскопа.
Современное развитие приборостроительной промышленности
ведет к смене поколений гироскопов, что базируется как на внедрении все более
совершенных процессов обработки в изготовлении гироскопов, так и на
использовании технологических методов и процессов производства гироскопов.
Новизна предлагаемой работы заключается в том, что
гироскоп, сварка которого производится в данном проекте, является образцом
нового поколения гироскопов, и выбор режимов и методов сварки для обеспечения
требований к сварным швам является необходимым условием дальнейшего развития
приборостроения в области гироскопов.
Новые прецизионные приборы требуют новых эффективных технологических
процессов, обеспечивающих высокие качество выпускаемой продукции и
производительность.
1.
Основная часть
.1 Общие
сведения
Сущность сварки заключается в процессе получения
неразъемных соединений отдельных частей из твердых материалов, осуществляемый
за счет междуатомных связей как с применением нагрева, так и без него.
Происходящие при сварке междуатомные связи могут
возникать при расплавлении и последующем затвердевании металла или других
материалов, или при сжатии (сдавливании) свариваемых элементов, нагретых до
пластического состояния.
Для производства сварки используются различные источники энергии:
электрическая дуга, газовое пламя, лазерное излучение, электронный луч, трение,
ультразвук. Развитие технологий позволяет в настоящее время осуществлять сварку
не только на промышленных предприятиях, но и на открытом воздухе, под водой и
даже в космосе. Производство сварочных работ сопряжено с опасностью возгораний,
поражений электрическим током, отравлений вредными газами, облучением
ультрафиолетовыми лучами и поражением глаз.
Сварочной дугой называют длительный мощный электрический разряд в
ионизированной среде. При этом начальная фаза среды может быть любой: твёрдой
(например, сварочный флюс), жидкой (например, вода), газообразной (например,
аргон), плазменной.
В соответствии с этим рассматривают основные группы
способов сварки по физическим признакам: сварку плавлением, осуществляемую
посредством одной операции-нагрева, и сварку давлением, имеющую обычно две
операции - нагрев до температуры ниже точки плавления и сдавливания. Решающую
роль в последней группе способов сварки играет давление.
Преимуществом сварки плавлением является
универсальность: этим способом можно сваривать все известные в технике металлы
и сплавы независимо от размера и формы деталей. Преимуществом же сварки
давлением является то, что материалы, не плавясь, в большей или меньшей степени
сохраняют свою структуру.
В авиационном приборостроении в частности, при
изготовлении гироскопов, сварка давлением не получила широкого распространения.
Поэтому в данном дипломном проекте анализируют разные виды сварки плавлением
такие, как сварка в среде защитных газов, микроплазменная сварка, лазерный и
электронно-лучевой виды сварки. Сварка деталей гироскопа, из-за их
миниатюаризации, относится к обработке концентрированными потоками энергии
(КПЭ).
.1.1
Электродуговая сварка
Источником теплоты является электрическая дуга, возникающая между торцом
электрода и свариваемым изделием при протекании сварочного тока в результате
замыкания внешней цепи электросварочного аппарата. Сопротивление электрической
дуги больше, чем сопротивление сварочного электрода и проводов, поэтому бо́льшая часть тепловой энергии
электрического тока выделяется именно в плазму электрической дуги. Этот
постоянный приток тепловой энергии поддерживает плазму (электрическую дугу) от
распада.
Выделяющееся тепло (в том числе за счёт теплового излучения из плазмы)
нагревает торец электрода и оплавляет свариваемые поверхности, что приводит к
образованию сварочной ванны- объёма жидкого металла. В процессе остывания и
кристаллизации сварочной ванны образуется сварное соединение. Основными
разновидностями электродуговой сварки являются: ручная дуговая сварка, сварка
неплавящимся электродом, сварка плавящимся электродом, сварка под флюсом,
электрошлаковая сварка.
.1.2
Сварка неплавящимся электродом
В англоязычной литературе известно как en: gas tungsten arc welding (GTA
welding, TGAW) или tungsten inert gas welding (TIG welding, TIGW), в
немецкоязычной литературе - de:wolfram-inertgasschweißen
(WIG).
В качестве электрода используется стержень, изготовленный из графита или
вольфрама, температура плавления которых выше температуры, до которой они
нагреваются при сварке. Сварка чаще всего проводится в среде защитного газа
(аргон, гелий, азот и их смеси) для защиты шва и электрода от влияния
атмосферы, а также для устойчивого горения дуги. Сварку можно проводить как
без, так и с присадочным материалом. В качестве присадочного материала
используются металлические прутки, проволока, полосы.
.1.3
Сварка плавящимся электродом
В англоязычной иностранной литературе именуется как en:gas metal arc
welding (GMA welding, GMAW), в немецкоязычной литературе -
de:metallschutzgasschweißen (MSG). Разделяют сварку в атмосфере
инертного газа (metal inert gas, MIG) и в атмосфере активного газа (metal
active gas, MAG).
В качестве электрода используется металлическая проволока, к которой
через специальное приспособление (токопроводящий наконечник) подводится ток.
Электрическая дуга расплавляет проволоку, и для обеспечения постоянной длины
дуги проволока подаётся автоматически механизмом подачи проволоки. Для защиты
от атмосферы применяются защитные газы (аргон, гелий, углекислый газ и их
смеси), подающиеся из сварочной головки вместе с электродной проволокой.
Следует заметить, что углекислый газ является активным газом - при высоких
температурах происходит его диссоциация с выделением кислорода. Выделившийся
кислород окисляет металл. В связи с этим приходится в сварочную проволоку
вводить раскислители (такие, как марганец и кремний). Другим следствием влияния
кислорода, также связанным с окислением, является резкое снижение
поверхностного натяжения, что приводит, среди прочего, к более интенсивному
разбрызгиванию металла, чем при сварке в аргоне или гелии.
.1.4
Ручная дуговая сварка
В англоязычной литературе именуется en:shielded metal arc welding (SMA
welding, SMAW) или manual metal arc welding (MMA welding, MMAW).
Для сварки используют электрод с нанесённым на его поверхность покрытием
(обмазкой).
При плавлении обмазки образуется защитный слой, отделяющий зону сварки от
атмосферных газов (азота, кислорода), и способствующий легированию шва,
повышению стабильности горения дуги, удалению неметаллических включений из
металла шва, формированию шва и т. д. В зависимости от типа электрода и
свариваемых материалов электросварка производится постоянным током обeих
полярностей или переменным током.
Ручная (TIG) и полуавтоматическая (MIG, MAG) импульсная сварка алюминия
является более сложным процессом, чем электродуговая сварка чёрных металлов.
Причиной тому - уникальные свойства алюминиевых сплавов, за которые они и
ценятся.
.1.5
Газопламенная сварка
Источником теплоты является газовый факел, образующийся при сгорании
смеси кислорода и горючего газа. В качестве горючего газа могут быть
использованы ацетилен, водород, пропан, бутан, блаугаз, МАФ, бензин, бензол,
керосин и их смеси. Тепло, выделяющееся при горении смеси кислорода и горючего
газа, расплавляет свариваемые поверхности и присадочный материал с образованием
сварочной ванны. Пламя может быть окислительным, «нейтральным» или
восстановительным, это регулируется количеством кислорода.
•В последние годы в качестве заменителя ацетилена применяется новый вид
топлива - сжиженный газ МАФ (метилацетилен-алленовая фракция). МАФ обеспечивает
высокую скорость сварки и высокое качество сварочного шва, но требует
применения присадочной проволоки с повышенным содержанием марганца и кремния
(СВ08ГС, СВ08Г2С). МАФ гораздо безопаснее ацетилена, в 2-3 раза дешевле и
удобнее при транспортировке. Благодаря высокой температуре сгорания газа в
кислороде (2927°C) и высокому тепловыделению (20 800 ккал/м³),
газовая резка с
использованием МАФ гораздо эффективнее резки с использованием других газов, в
том числе и ацетилена.
•Огромный интерес представляет использование для газовой сварки дициана,
ввиду его весьма высокой температуры сгорания (4500°C). Препятствием к
расширенному применению дициана для сварки и резки является его повышенная
токсичность. С другой стороны, эффективность дициана весьма высока и сравнима с
электрической дугой, и потому дициан представляет значительную перспективу для
дальнейшего прогресса в развитии газопламенной обработки. Пламя дициана с
кислородом, истекающее из сварочной горелки, имеет резкие очертания, очень
инертно к обрабатываемому металлу, короткое и имеющее пурпурно-фиолетовый
оттенок. Обрабатываемый металл (сталь) буквально «течёт», и при использовании
дициана допустимы очень большие скорости сварки и резки металла.
•Значительным прогрессом в развитии газопламенной обработки с
использованием жидких горючих может дать применение ацетилендинитрила и его
смесей с углеводородами ввиду самой высокой температуры сгорания (5000°C).
Ацетилендинитрил склонен при сильном нагреве к взрывному разложению, но в
составе смесей с углеводородами гораздо более стабилен. В настоящее время
производство ацетилендинитрила очень ограничено и стоимость его высока, но при
развитии производства ацетилендинитрил может весьма ощутимо развить области
применения газопламенной обработки во всех её областях применения.
1.1.6
Плазменная сварка
Источником теплоты является плазменная струя, получаемые при ионизации
рабочего газа в промежутке между электродами, одним из которых может быть
свариваемое изделие либо оба электрода находятся в плазменной горелке -
плазмотроне. Струя плазмы сжимается и ускоряется под действием электромагнитных
сил, оказывая на свариваемое изделие как тепловое так и газодинамическое
воздействие. Помимо собственно сварки этот способ часто используется для
технологических операций наплавка, напыление и резка.
.1.7
Электронно-лучевая сварка
Источником теплоты является электронный луч, получаемый за счёт
термоэлектронной эмиссии с катода электронно-лучевой пушки. Сварка ведётся в
высоком вакууме 10−3 - 10−4 Па в вакуумных камерах. Известна также
технология сварки электронным лучом в атмосфере нормального давления, когда
электронный луч покидает область вакуума непосредственно перед свариваемыми
деталями.
.2 Виды
сварки деталей гироскопа
.2.1
Сварка в среде защитных газов
Дуговая сварка в среде защитных газов (аргон,
углекислый газ) заключается в том, что сварочная ванна, конец электрода и
присадочного прутка, определенные участки шва и околошовной зоны основного
металла предохраняются от окисления в процессе сварки при помощи инертных
газов.
Аргонодуговую сварку (АДС) выполняют плавящимся
электродом (проволока), который подается непрерывно в зону сварки специальным
толкающим или тянущим устройством (рис. 1.1.а), а также неплавящимся
(вольфрамовым) электродом (рис. 1.1.6). Для сварки вольфрамовый электрод
закрепляют в специальном держателе внутри сопла, через которое к месту сварки
подается аргон.
Рис.1.1 (а) Схема процессов сварки в среде аргона плавящимся электродом
Рис.1.1 (б) Схема процесса сварки в среде аргона неплавящимся
(вольфрамовым) электродом
Аргон практически не вступает в химические взаимодействия с расплавленным
металлом и другими газами в зоне горения дуги. Будучи на 38% тяжелее воздуха,
аргон вытесняет его из зоны сварки и надежно изолирует сварочную ванну от
контакта с атмосферой.
При аргонодуговой сварке возможен крупнокапельный или струйный перенос
электродного металла. При крупнокапельном переносе процесс сварки неустойчивый,
с большим разбрызгиванием. Его технологические характеристики хуже, чем при
полуавтоматической сварке в углекислом газе, так как вследствие меньшего
давления в дуге капли вырастают до больших размеров. Диапазон токов для
крупнокапельного переноса достаточно велик, например для проволоки диаметром d
= 1,6 мм Iсв = 120-240А. При силе тока Iсв больше 260А
происходит резкий переход к струйному переносу, стабильность процесса сварки
улучшается, разбрызгивание уменьшается. Однако такие токи не всегда
соответствуют технологическим требованиям. Поэтому более рационально для
обеспечения стабильности процесса использовать импульсные источники питания
дуги, которые обеспечивают переход к струйному переносу на токах около Iсв
≈ 100А.
.2.1.1
Технология аргонодуговой сварки
Дуга горит между свариваемым изделием и неплавящимся электродом (обычно
из вольфрама). Электрод расположен в горелке, через сопло которой вдувается
защитный газ. Присадочный материал подается в зону дуги со стороны и в
электрическую цепь не включен.
Аргонная сварка может быть ручной, когда горелка и присадочный пруток
находятся в руках сварщика, и автоматической, когда горелка и присадочная
проволока перемещаются без непосредственного участия сварщика.
При этом способе сварки зажигание дуги, в отличие от сварки плавящимся
электродом, не может быть выполнено путем касания электродом изделия по двум
причинам. Во-первых, аргон обладает достаточно высоким потенциалом ионизации,
поэтому ионизировать дуговой промежуток за счет искры между изделием и
электродом достаточно сложно (при аргонной сварке плавящимся электродом после
того, как проволока коснется изделия, в зоне дуги появляются пары железа,
которые имеют потенциал ионизации в 2,5 раза ниже, чем аргона, что позволяет
зажечь дугу). Во-вторых, касание изделия вольфрамовым электродом приводит к его
загрязнению и интенсивному оплавлению. Поэтому при аргонной сварке неплавящимся
электродом для зажигания дуги параллельно источнику питания подключается
устройство, которое называется «осциллятор».
Осциллятор для зажигания дуги подает на электрод высокочастотные
высоковольтные импульсы, которые ионизируют дуговой промежуток и обеспечивают
зажигание дуги после включения сварочного тока. Если аргонная сварка
производится на переменном токе, осциллятор после зажигания дуги переходит в
режим стабилизатора и подает импульсы на дугу в момент смены полярности, чтобы
предотвратить деионизацию дугового промежутка и обеспечить устойчивое горение
дуги.
При сварке на постоянном токе на аноде и катоде выделяется неодинаковое
количество тепла. При токах до 300А 70% тепла выделяется на аноде и 30% на
катоде, поэтому практически всегда используется прямая полярность, чтобы
максимально проплавлять изделие и минимально разогревать электрод. Все стали,
титан и другие материалы, за исключением алюминия, свариваются на прямой
полярности. Алюминий обычно сваривается на переменном токе для улучшения
разрушения оксидной пленки.
Для улучшения борьбы с пористостью к аргону иногда добавляют кислород в
количестве 3-5%. При этом защита металла становится более активной. Чистый
аргон не защищает металл от загрязнений, влаги и других включений, попавших в
зону сварки из свариваемых кромок или присадочного металла. Кислород же,
вступая в химические реакции с вредными примесями, обеспечивает их выгорание
или превращение в соединения, всплывающие на поверхность сварочной ванны. Это
предотвращает пористость.
1.2.1.2
Преимущества и недостатки аргонодуговой сварки
Основная область применения аргонодуговой сварки неплавящимся электродом
- соединения из легированных сталей и цветных металлов. При малых толщинах
аргонная сварка может выполняться без присадки. Способ сварки обеспечивает
хорошее качество и формирование сварных швов, позволяет точно поддерживать
глубину проплавления металла, что очень важно при сварке тонкого металла при
одностороннем доступе к поверхности изделия. Он получил широкое распространение
при сварке узлов гироскопов, для чего разработаны различные конструкции
сварочных автоматов. В этом виде сварку иногда называют орбитальной. Сварка
неплавящимся электродом - один из основных способов соединения титановых и
алюминиевых сплавов.
Аргоновая сварка плавящимся электродом используется при сварке нержавеющих
сталей и алюминия. Однако объем ее применения относительно невелик.
.2.2
Микроплазменная сварка
Этот вид сварки иногда называют сжатой дугой. Если
обычный электродуговой разряд пропустить через узкое сопло, «вдувая» и сжимая
его потоком инертного газа - аргона, то возникает так называемая плазменная
струя, имеющая высокую температуру. Плазменная струя является ионизированным
газом, состоящим из смеси электронов, положительных ионов и нейтральных частиц.
Первоначально возбуждается вспомогательная дуга между
электродом и плазмообразующим соплом. Затем струя ионизированного
плазмообразующего газа, выходящего из сопла, возбуждает основную дугу на
изделии; после этого вспомогательная дуга шунтируется и гаснет.
К преимуществам относятся повышение производительности,
выполнение соединения без разделки кромок и т.д.
Но недостатки существенны из-за того, что газы,
окружающие дугу, имеют температуру, значительно меньшую, чем столб дуги. Это
оказывает влияние на характер проплавления металла: столб дуги производит
копьевидное, сквозное проплавление, в то время как факел газов расплавляет
металл на большую ширину, чем столб дуги. Это может вызвать сильное
расплавление кромок свариваемых деталей. Примесные атмосферные газы также
ухудшают сварные швы. Защитный плазмообразующий газ может взаимодействовать со
свариваемым металлом. Все это не позволяет достичь нужных требований к сварным
швам гироскопа.
.2.2.1
Технология микроплазменной сварки
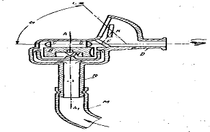
На рис.1.2 схематично изображен плазмотрон. Принцип действия плазмотрона,
питающаяся от источника 1, заключается в том, что дуга между электродом 2 и
изделием 3 проходит через очень маленькое сопло 4. Именно проходя через сопло 4
плазмообразующий газ сжимает дугу. Защитное сопло 5 плазмотрона защищает зону
горения от окружающего воздуха. Плазмообразующий и защитный газы проходят по
двум независящим друг от друга каналам. В качестве плазмообразующего газа
используют инертные газы (гелий, аргон) при сварке изделий. В зависимости от
материала изделия плазменную сварку проводят на постоянном токе прямой
полярности или в импульсном режиме. Для этого плазмотрон соединяют с источником
питания 1 постоянного тока или источником питания, обеспечивающим импульсный
режим.
Также для микроплазменной сварки применяется плазмотрон следующего вида
показанный на рис.1. 3
В корпусе 2 закреплен электрод 1 с помощью цанги 3. Корпус вставляется в
верхний каркас 4. Сам каркас соединен с нижним каркасом б через керамическую
втулку 5. Вставленный во внутреннюю часть сопла 8 наконечник 7 соединен с
нижним каркасом 6. Электрод 1 зажимается в цанге 3 с помощью гайки 9 и
специальной втулки 11. Внутренняя конструкция плазмотрона заключена в
изолирующий корпус 10, который сверху закрывается колпачком 12.
Рис.1.2 Плазмотрон для микроплазменной сварки
Рис.1.3 Плазмотрон для микроплазменной сварки
1.2.3
Лазерная сварка
Возможности лазерной сварки зависит от физических
свойств материала и технологических возможностей лазерного излучения.
При воздействии происходит ряд физических и химических
явлений. Время взаимодействия кванта с частицами материала 10" ...10"
сек.
Кванты взаимодействуют с внешними электронами атома
материала и им передается энергия электронов, переходящих с одного
энергетического уровня на другой, и они становятся возбужденными. Происходит
передача и увеличение температуры кристаллической решетки материала. Режим
переходит в режим теплопередачи. Луч отдает теплоту только в верхний слой
материала, а дальше за счет теплопроводности. Не вся энергия поглощается или
используется неэффективно, т.е. часть энергии отражается от поверхности.
.2.3.1
Лазерная сварка твердотельным лазером
Схема твердотельного лазера приведена на рисунке 1.4. В качестве
активного тела используется стержень из рубина или стекла с примесью неодима.
Он размещается в осветительной камере. Для возбуждения атомов активного тела
используется лампа накачки, создающая мощные вспышки света.
Рис.1.4 Твердотельный лазер
По торцам активного тела размещены зеркала - отражающее и частично
прозрачное. Луч лазера выходит через частично прозрачное зеркало,
предварительно многократно отражаясь внутри рубинового стержня и таким образом
усиливаясь. Мощность твердотельных лазеров относительно невелика и не превышает
N = 1 кВт, коэффициент полезного действия 2-5%.
Твердотельными лазерами в связи с их небольшой мощностью свариваются
только мелкие детали небольшой толщины, обычно объекты микроэлектроники.
Например, привариваются тончайшие выводы из проволок диаметром 0,01-0,1 мм,
изготовленные из тантала, золота, нихрома. Возможна точечная сварка изделий из
фольги с диаметром точки 0,5-0,9 мм. Лазерной сваркой выполняется герметичный
шов катодов кинескопов современных телевизоров.
Катод представляет собой трубку длиной 2 мм, диаметром 1,8 мм, толщиной
стенки 0,04 мм. К трубке приваривается донышко толщиной 0,12 мм, материал
изделия - хромоникелевый сплав. Сварка таких мелких деталей возможна за счет
высокой степени фокусировки луча и точной дозировки энергии путем регулировки
длительности импульса в пределах 10-2-10-7 с.
.2.3.2
Лазерная сварка газовым методом
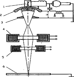
Более мощными являются газовые лазеры, в которых в качестве активного
тела используют смесь газов, обычно СО2+N2+Не. Схема
газового лазера с продольной прокачкой газа приведена на рисунке 1.5. Газ из
баллонов прокачивается насосом через газоразрядную трубку. Для энергетического
возбуждения газа используется электрический разряд между электродами. По торцам
газоразрядной трубки расположены зеркала. Электроды подключены к источнику
питания. Лазер охлаждается водяной системой.
Недостатком лазеров с продольной прокачкой газа являются их большие
габаритные размеры.
Более компактны лазеры с поперечной прокачкой газа рисунок 1.6.
Рис.1.5 Газовый лазер
Рис.1.6 Газовый лазер
Они позволяют достичь удельной мощности 1 кВт на метр трубки, и их общая
мощность достигает 20 кВт, что дает возможность сваривать металлы толщиной до
20 мм с достаточно высокой скоростью, около 60 м/ч.
Наиболее мощными являются газодинамические лазеры (на рисунке 1.7). Для
работы используются газы, нагретые до температуры 1000-3000 К. Газ истекает со
сверхзвуковой скоростью через сопло Лаваля, в результате чего происходит его
адиабатическое расширение и охлаждение в зоне резонатора. При охлаждении
возбужденных молекул CO2 происходит переход их на более низкий
энергетический уровень с испусканием когерентного излучения. Для накачки может
использоваться другой лазер или другие мощные источники энергии. Такой лазер
мощностью N = 100 кВт позволяет, например, сваривать сталь толщиной 35 мм с
очень высокой скоростью, около 200 м/ч.
Рис.1.7 Газодинамический лазер для лазерной сварки
Схема процесса лазерной сварки газовым лазером приведена на рисунке 1.8.
Рис.1.8 Лазерная сварка газовым лазером, схема процесса
Лазерная сварка производится в атмосферных условиях, без создания
вакуума, необходима защита расплавленного металла от воздуха. Обычно для защиты
используются газы, в частности аргон. Особенностью процесса лазерной сварки
является то, что вследствие высокой тепловой мощности луча на поверхности
свариваемого изделия происходит интенсивное испарение металла. Пары
ионизируются, что приводит к рассеиванию и экранированию луча лазера. В связи с
этим при использовании лазеров большой мощности в зону сварки необходимо
подавать, кроме защитного, так называемый плазмоподавляющий газ. В качестве
плазмоподавляющего газа обычно используют гелий, который значительно легче
аргона и не рассеивает луч лазера. Для упрощения процесса целесообразно
применение смесей 50% Аг + 50% Не, которые выполняют плазмоподавляющую и
защитную функции. В этом случае сварочная горелка должна обеспечивать подачу
газа таким образом, чтобы он сдувал ионизированный пар.
Некоторые конструкции сопел сварочных горелок для лазерной сварки
приведены на рисунке 1.9
Рис.1.9 Сопла сварочных горелок для лазерной сварки
При лазерной сварке луч постепенно углубляется в деталь, оттесняя жидкий
металл сварочной ванны на заднюю стенку кратера. Это позволяет получить
«кинжальное» проплавление при большой глубине и малой ширине шва.
Высокая концентрация энергии в лазерном луче позволяет достигать высоких
скоростей сварки, обеспечивая одновременно благоприятный термический цикл и
высокую технологическую прочность металла шва.
.2.3.3
Достоинства и недостатки лазерного метода сварки
К достоинствам этого метода сварки можно отнести:
отсутствие механического воздействия на обрабатываемый материал; высокая
локализация воздействия лазерного излучения на материал и другие достоинства.
Недостатками, в свою очередь, являются: дендритное
строение сварного шва из-за высоких скоростей нагрева и охлаждения, где по
границам дендритов скапливаются примеси; значительное повышение микротвердости;
плотность дислокаций значительно возрастает по сравнению с исходной из-за
высоких скоростей нагрева и охлаждения; в зонах воздействия лазерного
излучения, а иногда и за слоем пористого расплава, наблюдается так называемый
шлаковый слой, состоящий в основном из окислов железа и других продуктов
химико-термического взаимодействия излучения со сплавом в атмосфере воздуха и
растворенных в металле газов. Как правило, шлаковый слой содержит много пор,
трещин, что противопоказано для обеспечения вакуумплотности; в зоне воздействия
излучения идет травление поверхности металла газовыми и ионными струями,
вылетающими из зоны обработки.
.2.4
Электронно-лучевая сварка
Электронно-лучевая сварка (ЭЛС) - это надежный,
эффективный, экономичный способ соединения материалов (в том числе
разнородных), превосходящий по качеству все другие известные методы сварки, как
сварка в среде защитных газов, микроплазменная сварка, лазерная сварка и т.п.
Сущность процесса состоит в использовании кинетической
энергии потока электронов, движущихся с высокими скоростями в вакууме. Для
уменьшения потери кинетической энергии электронов за счет соударения с
молекулами газов воздуха, а также для химической и тепловой защиты катода в
электронной пушке создают вакуум порядка 10-4... 10-6 мм
рт. ст., т.е. во всем диапазоне термического воздействия, ведение процесса в
вакууме, что обеспечивает чистоту обрабатываемого материала, а также
возможность полной автоматизации процесса.
Экспериментальные и расчетные данные показывают, что
процесс внедрения электронного луча в материал с образованием в нем канала
происходит за счет периодического с частотой 103...106 Гц
(в зависимости от концентрации энергии) выброса вещества вследствие
взрывообразного испарения материала. В основу таких представлений положили
сравнение скоростей ввода энергии и релаксации этой энергии материалом. Для
большинства металлов скорость ввода тепла в диапазоне концентрации энергии 105...106
Вт/см2 намного превышает скорость отвода его вследствие
теплопроводности, что неизбежно приводит к поверхностному испарению и вскипанию
микрообъема расплава вещества, в котором выделяется энергия электронного луча.
Установлено, что в жидком металле вокруг электронного
луча существует полость. Эта полость все время находится в движении: глубина ее
периодически колеблется от нулевой до максимальной с частотами 10...60 Гц.
Кроме того, полость периодически смыкается, в основном в верхней части, а
иногда и в других сечениях канала.
Трудности изучения физических явлений в зоне
воздействия электронного луча обходят путем введения некоторого источника
теплоты и использования теории теплопроводности. Такие подходы в ряде случаев
дают возможность быстрее получить методики расчетов процесса, чем подробный
анализ физических явлений. В существенной степени это связано с действием
принципа местного влияния.
Для осуществления теплового подхода, т.е. решения
задачи теплопроводности в условиях электронно-лучевого воздействия необходимо
знать характер теплового источника и тепловой баланс процесса.
Экспериментальные данные показывают, что потери
теплоты на испарение при ЭЛС с глубоким проплавлением не превышают 5... 10%,
т.е. тепловой баланс электроннолучевого воздействия при концентрациях энергии
до105...106 Вт/см2 во многом сходен с тепловым
балансом при процессе электродугового нагрева. На этом основании получили
соотношения, связывающие мощность электронного луча (с учетом концентрации
энергии) с характеристиками проплавления, решая традиционную задачу
теплопроводности. Точность вычислений при этом достаточна.
Что касается характера теплового источника, то
согласно экспериментальным и расчетным данным в зависимости от ускоряющего
напряжения, а вернее от глубины пробега электронов в веществе, он является либо
нормально распределенным поверхностным (ускоряющее напряжение менее 20 кВ),
либо (для случая высоких ускоряющих напряжений) нормально распределенным по
поверхности и глубине. Для оценки тепловых полей в случае ЭЛС с глубоким
проплавлением неплохую точность дает аппроксимация теплового источника как
линейного конечной глубины либо как комбинация точечного и линейного.
Еще один объект исследований, имеющий важное значение
для теории и практики сварки плавлением в целом, связан с изучением движения
расплава - это гидродинамические процессы в зоне электронно-лучевого
воздействия. От процессов переноса жидкого металла в зоне обработки зависит
большинство дефектов при формировании сварных швов, а в ряде случаев
гидродинамика определяет производительность обработки. Глубокое проплавление
металлов характеризуется появлением специфических дефектов (полостей в объеме
шва, колебаний глубины проплавления по длине шва), поэтому гидродинамика
является предметом тщательного изучения и при других концентрированных
источниках: сварке в защитных газах, аргонодуговой сварке, луче лазера, струе
плазмы и др. Значительное распространение получило моделирование
гидродинамических процессов в условиях воздействия КПЭ.
Концентрированный поток электронов, падая на
поверхность материала, осуществляет разогрев вещества в зоне, ограниченной
шириной луча и глубиной пробега электронов. Если скорость тепловыделения меньше
скорости отвода энергии вследствие теплопроводности, то происходит нагрев с
образованием полусферической (или близко к ней) формы проплавления (мягкий
режим нагрева, процесс испарения практически отсутствует). Повышение
концентрации энергии в зоне воздействия до 10 ...10 Вт/см2 приводит
к тому, что скорость тепловыделения становится соизмеримой со скоростью отвода
энергии вследствие теплопроводности (критический режим нагрева, начинается
существенное парообразование). Если при малых концентрациях энергии
энергетический баланс процесса складывается из затрат на отвод тепла
обрабатываемым изделием (до60%), его плавление (до35%) и испарение (до5%), то
при концентрациях выше критических, когда скорость тепловыделения намного
больше скорости отвода тепла, большая часть вводимой энергии тратится на
плавление и выброс расплава за счет объемного вскипания или других эффектов.
Эффективность процесса воздействия луча существенно
повышается при углублении зоны обработки в материал с образованием канала.
Время нагрева и выброса порции вещества мало (-10" ...10" с), поэтому
процесс сверления канала носит периодический характер с частотами -10 ...10 Гц.
Так как выброс вещества идет со дна канала,
опускающегося в материал с некоторой скоростью, максимальные температура и
давление пара находятся у дна канала и падают по его высоте. У выхода из канала
температура и давление минимальны.
Взаимодействие электронного пучка с продуктами выброса
(смесью пара и конденсата) в объеме канала приводит к тому, что непрерывно
действующий пучок электронов периодически рассеивается на стенках канала. Концентрация
мощности луча в момент его рассеивания на стенки падает на 1...2 порядка
(пропорционально площади внутренней поверхности канала), поэтому такой
«размазанный» по стенкам источник обеспечивает практически только плавление
стенок. Таким образом, когда канал свободен от паров обрабатываемого материала,
электронный луч без потерь достигает его дна, происходит испарение вещества со
дна канала. Когда канал заполнен паром, электронный луч рассеивается и передает
энергию стенкам, образуя жидкую фазу.
С учетом времени периодической экранировки частота
выброса вещества несколько уменьшается, но по-прежнему остается высокой (~104...105
Гц). Углубление канала происходит до тех пор, пока давление пара в нем больше
суммарного давления поверхностного натяжения и давления, обусловленного столбом
жидкой фазы стенок канала. Наименьшее давление пара во всех случаях имеет место
у выхода из канала. Поэтому, как только давление пара становится меньше
давления поверхностного натяжения и веса жидкой фазы, канал в верхней части
может смыкаться. Если не прерывать действие луча, то смыкание будет иметь
периодический характер с частотами порядка 10... 100 Гц. Смыкание канала сверху
является причиной специфического дефекта - наличия полостей в объеме
проплавления. Таким образом, непрерывный процесс электронно-лучевого
воздействия переходит в зоне обработки в колебательный процесс с высокими
частотами, обусловленными газодинамическими процессами, и низкими частотами,
являющимися следствием гидродинамических явлений.
Следовательно, реализация многообразия термических
воздействий электронного луча (от плавки до сверления) зависит от скорости
введения энергии.
Параметрами электронного луча, измеряемыми в процессе
обработки, являются ток луча I,
ускоряющее напряжение U, ток
фокусирующей системы 1ф, рабочее расстояние (расстояние от центра фокусирующей
системы до поверхности свариваемой детали) 1, скорость перемещения электронного
луча и.
Мощность электронного луча (в Вт) q=IU. При заданном рабочем расстоянии 1, токе фокусировки 1ф и
мощности сварки можно определить диаметр электронного луча d и, следовательно, удельную мощность qi (Вт/см2), которая
является одним из определяющих параметров процесса:
q2 = IU/(7id2/4).
Погонная энергия (в Дж/см)
Q = 0.24IU/U
не является определяющим параметром, так как при
электронно-лучевой обработке в зависимости от величины удельной мощности q2 при одинаковой погонной энергии
можно получить различную конфигурацию зоны обработки. При воздействии в
импульсном режиме средняя мощность (Вт)
q = IUfT,
где I-величина
тока в импульсе, A; f-частота следования импульсов, Гц; т
-длительность импульса, с.
Скорость обработки в импульсном режиме (см/с)
) = В(1-К)/(Т + Тп),
где Тп - время паузы между импульсами, с; к
-коэффициент перекрытия точек (обычно к = 0.5...0.9); В -диаметр зоны обработки
(точки).
Шаг точек (см)
S = и(т + Тп),
скорость обработки
U - S/(T + Тп).
Параметром, характеризующим соотношение длительности
импульса и времени паузы в импульсном режиме, является скважность цикла
G = т /(т + тп).
Наиболее существенным и одновременно наиболее
трудноопределяемым параметром электронного луча является его диаметр.
При заданных плотностях тока эмиссии с катода,
температуре катода и сферической аберрации линзовой сиcтемы пучок электронов с максимальным током может быть
сфокусирован в пятно минимального диаметра (см):
d = So(I/U)3/8 ,
где
= [(42/3к/тге)*с2/3 fo273 *(T/j)]3/8
.
С учетом выражения диаметра пятна удельная мощность:
q2 = (l/rc)(2/So)2I1/4U7/4 ,
здесь So -
постоянная электронно-оптической системы;
е = 1.6*10"19
Кл- элементарный заряд электрона; к-постоянная
Больцмана;
Т - температура катода,
К; fo -
фокусное расстояние; с - безразмерная постоянная сферической аберрации линзы
или системы линз; j - ток эмиссии с
катода, А/м2.
.2.4.1
Техника электронно-лучевой сварки
При сварке электронным лучом проплавление имеет форму конуса (рисунок
1.11). Плавление металла происходит на передней стенке кратера, а расплавляемый
металл перемещается по боковым стенкам к задней стенке, где он и кристаллизуется.
Проплавление при электронно-лучевой сварке обусловлено в основном
давлением потока электронов, характером выделения теплоты в объеме твердого
металла и реактивным давлением испаряющегося металла, вторичных и тепловых
электронов и излучением.
Рис.1.11 Схема переноса жидкого металла при электронно-лучевой сварке; 1
- электронный луч; 2 - передняя стенка кратера; 3 - зона кристаллизации; 4 -
путь движения жидкого металла.
Возможна сварка непрерывным электронным лучом. Однако при сварке
легкоиспаряющихся металлов (алюминия, магния и др.) эффективность электронного
потока и количество выделяющейся в изделии теплоты уменьшаются вследствие
потери энергии на ионизацию паров металлов. В этом случае целесообразно сварку
вести импульсным электронным лучом с большой плотностью энергии и частотой
импульсов 100 ... 500 Гц. В результате повышается глубина проплавления. При
правильной установке соотношения времени паузы и импульса можно сваривать очень
тонкие листы. Благодаря теплоотводу во время пауз уменьшается протяженность
зоны термического влияния. Однако при этом возможно образование подрезов,
которые могут быть устранены сваркой колеблющимся или расфокусированным лучом.
Основные
параметры режима электронно-лучевой сварки приведены нами в таблице 1:
1) сила тока в луче;
2) ускоряющее напряжение;
) скорость перемещения луча по поверхности изделия;
) продолжительность импульсов и пауз;
) точность фокусировки луча;
) степень вакуумизации.
Таблица 1
Режимы электронно-лучевой сварки
|
Металл
|
Толщина, мм
|
Режим сварки
|
Ширина шва, мм
|
|
|
ускоряющее напряжение, кВ
|
сила тока луча, мА
|
скорость сварки, м/ч
|
|
|
Вольфрам
|
0,5
|
18...20
|
40...50
|
60
|
1,0
|
|
1,0
|
20...22
|
75...80
|
50
|
1,5
|
|
Тантал
|
1,0
|
20...22
|
50
|
50
|
1,5
|
|
Сталь типа 18-8
|
1,5
|
18...20
|
50...60
|
60...70
|
2,0
|
|
20,0
|
20...22
|
270
|
50
|
7,0
|
|
35,0
|
20...22
|
500
|
20
|
-
|
|
Молибден + вольфрам
|
0,5 + 0,5
|
18...20
|
45...50
|
35...50
|
1,0
|
Для перемещения луча по поверхности изделия используют перемещение
изделия или самого луча с помощью отклоняющей системы. Отклоняющая система
позволяет осуществлять колебания луча вдоль и поперек шва или по более сложной
траектории. Низковольтные установки используют при сварке металла толщиной
свыше 0,5 мм для получения швов с отношением глубины к ширине до 8:1.
Высоковольтные установки применяют при сварке более толстого металла с
отношением глубины к ширине шва до 25:1.
Основные типы сварных соединений, рекомендуемые для электронно-лучевой
сварки, приведены на рисунке 1.12. Перед сваркой требуется точная сборка
деталей (при толщине металла до 5 мм зазор не более 0,07 мм, при толщине до 20
мм зазор до 0,1 мм) и точное направление луча по оси стыка (отклонение не
больше 0,2 ... 0,3 мм).
При увеличенных зазорах (для предупреждения подрезов) требуется
дополнительный металл в виде технологических буртиков или присадочной
проволоки. В последнем случае появляется возможность металлургического
воздействия на металл шва. Изменяя зазор и количество дополнительного металла,
можно довести долю присадочного металла в шве до 50%.
Рисунок 1.12. Типы сварных соединений при сварке электронным лучем: а -
стыковое (может быть с бортиком для получения выпуклости шва); б - замковое; в
- стыковое деталей разной толщины; г - угловые; д и е - стыковые при сварке шестерен;
ж - стыковые с отбортовкой кромок
Электронно-лучевая
сварка использует для разогрева и плавления металла энергию сфокусированного
потока электронов. Электронно-лучевую сварку
<#"522054.files/image013.gif">
Рис.1.13 Схема электронно-лучевой сварки
2.
Историческая часть
Гироско́п (от др.-греч. γυρο
«вращение» и др.-греч. σκοπεω
«смотреть») -
устройство, способное измерять изменение углов ориентации связанного с ним тела
относительно инерциальной системы координат, как правило основанное на законе
сохранения вращательного момента (момента импульса).
Для достижения поставленной перед нами задачи дипломного исследования, в
данной главе нами будут проанализированны исторические сведения о приборостроение
в области гироскопов, будут описаны основные части твердотельных гироскопов.
.1 История
развития
До изобретения гироскопа человечество использовало различные методы
определения направления в пространстве. Издревле люди ориентировались визуально
по удалённым предметам, в частности, по Солнцу. Уже в древности появились
первые приборы: отвес и уровень, основанные на гравитации. В средние века в
Китае был изобретён компас, использующий магнетизм Земли. В Европе были созданы
астролябия и другие приборы, основанные на положении звёзд.
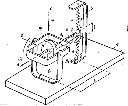
Гироскоп, изобретённый Фуко на рисунке 2.1 (построил Дюмолен-Фромент,
1852). Гироскоп изобрёл Иоганн Боненбергер и опубликовал описание своего
изобретения в 1817 году. Однако французский математик Пуассон ещё в 1813 году
упоминает Боненбергера как изобретателя этого устройства. Главной частью
гироскопа Боненбергера был вращающийся массивный шар в кардановом подвесе. В
1832 году американец Уолтер Р. Джонсон придумал гироскоп с вращающимся диском.
Французский учёный Лаплас рекомендовал это устройство в учебных целях. В 1852
году французский учёный Фуко усовершенствовал гироскоп и впервые использовал
его как прибор, показывающий изменение направления (в данном случае - Земли),
через год после изобретения маятника Фуко, тоже основанного на сохранении
вращательного момента. Именно Фуко придумал название «гироскоп». Фуко, как и
Боненбергер, использовал карданов подвес. Не позднее 1853 года Фессель изобрёл
другой вариант подвески гироскопа.
Рис. 2.1 Гироскоп изобретенный Фуко и построенный Дюмолен-Фромент
Преимуществом гироскопа перед более древними приборами является то, что
он правильно работает в сложных условиях (плохая видимость, тряска,
электромагнитные помехи). Однако гироскоп быстро останавливался из-за трения.
Во второй половине XIX века было предложено использовать электродвигатель
для разгона и поддержания движения гироскопа. Впервые на практике гироскоп был
применён в 1880-х годах инженером Обри для стабилизации курса торпеды. В XX
веке гироскопы стали использоваться в самолётах, ракетах и подводных лодках
вместо компаса или совместно с ним.
2.2
Классификация гироскопов
Основные типы гироскопов по количеству степеней свободы:
-степенные,
-степенные на рис. 2.2 .
Основные два типа гироскопов по принципу действия:
механические гироскопы,
оптические гироскопы.
По режиму действия гироскопы делятся на:
датчики угловой скорости,
указатели направления.
Однако одно и то же устройство может работать в разных режимах в
зависимости от типа управления.
Рис. 2.2 Гироскоп с 3-мя степенями свободы (с двумя рамками карданова
подвеса), кинематическая схема.
y - ось собственного вращения ротора, вдоль которой направлен его
кинетический момент; 0 - опорное направление кинетического момента;-
угол отклонения внутренней рамки карданова подвеса;j - угловая
скорость поворота внутренней рамки подвеса (прецессия);q - момент
возмущающей внешней силы;q - угловая скорость поворота внешней рамки
подвеса (нутация).
Подавляющее большинство физических систем может находиться не в одном, а
во многих состояниях, описываемых как непрерывными (например, координаты тела),
так и дискретными (например, квантовые числа электрона в атоме) переменными.
Независимые «направления», переменные, характеризующие состояния системы, и
называются степенями свободы.
При этом важно отметить, что число степеней свободы равно минимальному
количеству таких переменных, необходимому для полного описания состояния
системы. Например, положение математического маятника можно характеризовать как
углом его поворота вокруг оси, так и двумя координатами положения материальной
точки относительно оси. Однако у такого маятника всего лишь одна степень
свободы, а не две (как может показаться во втором случае), поскольку одного
только угла поворота достаточно для описания положения этой системы в любой
момент времени.
2.2.1
Механические гироскопы
Среди механических гироскопов выделяется ро́торный гироско́п - быстро вращающееся твёрдое тело,
ось вращения которого способна изменять ориентацию в пространстве. При этом
скорость вращения гироскопа значительно превышает скорость поворота оси его
вращения. Основное свойство такого гироскопа - способность сохранять в
пространстве неизменное направление оси вращения при отсутствии воздействия на
неё моментов внешних сил.
Впервые это свойство использовал Фуко в 1852 г. для экспериментальной
демонстрации вращения Земли. Именно благодаря этой демонстрации гироскоп и
получил своё название от греческих слов «вращение», «наблюдаю».
.2.2
Вибрационные гироскопы
Вибрационные гироскопы - устройства, сохраняющие свои колебания в одной
плоскости при повороте. Данный тип гироскопов является намного более простым и
дешёвым при сопоставимой точности по сравнению с роторным гироскопом. В зарубежной
литературе также употребляется термин «Кориолисовы вибрирующие гироскопы» - так
как принцип их действия основан на эффекте силы Кориолиса, как и у роторных
гироскопов.
Разновидности:
. Пьезоэлектрические гироскопы.
2. Твердотельные волновые гироскопы.
. Камертонные гироскопы.
. Вибрационные роторные гироскопы
. MEMS гироскопы.
.2.3
Оптические гироскопы
Делятся на
волоконно-оптические и лазерные гироскопы. Принцип действия основан на эффекте
Саньяка и теоретически объясняется с помощью СТО. Согласно СТО скорость света
постоянна в любой инерциальной системе отсчёта. В то время как в неинерциальной
системе она может отличаться от c.

Рис.2.2 Схема
действия лазерного гироскопа
При посылке
луча света в направлении вращения прибора и против направления вращения разница
во времени прихода лучей (определяемая интерферометром) позволяет найти разницу
оптических путей лучей в инерциальной системе отсчёта, и, следовательно,
величину углового поворота прибора за время прохождения луча.
2.3
Применение гироскопа в технике
Свойства гироскопа используются в приборах - гироскопах, основной частью
которых является быстро вращающийся ротор, который имеет несколько степеней
свободы (осей возможного вращения). Чаще всего используются гироскопы,
помещённые в карданов подвес. Такие гироскопы имеют 3 степени свободы, то есть
он может совершать 3 независимых поворота вокруг осей АА', BB' и CC',
пересекающихся в центре подвеса О, который остаётся по отношению к основанию A
неподвижным.
Гироскопы, у которых центр масс совпадает с центром подвеса O, называются
астатическими, в противном случае - статическими гироскопами.
Для обеспечения вращения ротора гироскопа с высокой скоростью применяются
специальные гиромоторы.
Для управления гироскопом и снятия с него информации используются датчики
угла и датчики момента.
Гироскопы используются в виде компонентов как в системах навигации
(авиагоризонт, гирокомпас, ИНС и т. п.), так и в нереактивных системах
ориентации и стабилизации космических аппаратов.
.3.1
Системы стабилизации
Системы стабилизации бывают трех основных типов.
Система силовой стабилизации (на 2-степенных гироскопах).
Для стабилизации вокруг каждой оси нужен один гироскоп. Стабилизация
осуществляется гироскопом и двигателем разгрузки, в начале действует
гироскопический момент, а потом подключается двигатель разгрузки.
Система индикаторно-силовой стабилизации (на 2-степенных гироскопах).
Для стабилизации вокруг каждой оси нужен один гироскоп. Стабилизация
осуществляется только двигателями разгрузки, но в начале появляется небольшой
гироскопический момент, которым можно пренебречь.
Система индикаторной стабилизации (на 3-степенных гироскопах)
Для стабилизации вокруг двух осей нужен один гироскоп. Стабилизация
осуществляется только двигателями разгрузки.
.4 Новые
типы гироскопов
Постоянно растущие требования к точностным и эксплуатационным
характеристикам гиро-приборов заставили ученых и инженеров многих стран мира не
только усовершенствовать классические гироскопы с вращающимся ротором, но и
искать принципиально новые идеи, позволившие решить проблему создания
чувствительных датчиков для измерения и отображения параметров углового
движения объекта.
В настоящее время известно более ста различных явлений и физических
принципов, которые позволяют решать гироскопические задачи. В России и США
выданы тысячи патентов и авторских свидетельств на соответствующие открытия и
изобретения.
Поскольку прецизионные гироскопы использовались в системах наведения
стратегических ракет большой дальности во время холодной войны, информация об
исследованиях, проводимых в этой области, классифицировалась как секретная.
Перспективным является направление развития квантовых гироскопов.
.5
Основные части гироскопа и его основные свойства
Внимание многих ученых и изобретателей привлекла древнейшая народная
игрушка - волчок (рис.2.2), которой придавали самые различные формы (рис.2.3).
Большей частью волчок приводили во вращение с помощью тонкой бечевки,
предварительно намотанной на его вал.
Рис. 2.2 Волчок
Быстро сдергивая бечевку с вала волчка, сообщали последнему вращение
вокруг оси АА1, которое продолжалось до тех пор, пока силы трения,
действующие в точке О опоры волчка о какое-либо основание, не прекращали его
движение.
Рис. 2.3 Различные формы волчков
Попытки повалить быстро вращающийся волчок на бок не удавались. Под
действием толчка с силой волчок лишь отскакивал в сторону и продолжал вращаться
вокруг вертикальной оси ВВ1, положение которой было лишь несколько
смещено относительно первоначального направления АА1.
Удивительное свойство волчка сохранять неизменным направление оси АА1
своего вращения открывало широкие перспективы для его практического
использования. В самом деле, если быстро вращающийся волчок, выполненный в виде
диска, неизменно выдерживает вертикальное положение, то вращение самого диска
будет происходить строго в горизонтальной плоскости. Возникла непосредственная
возможность практического осуществления искусственного горизонта.
Изучением законов движения волчка занялись многие ученые мира. Над этой
задачей работал и знаменитый английский ученый И. Ньютон (1642 - 1727) и член
Российской академии наук Л. Эйлер (1707 - 1783). Эйлер в 1765 г. впервые
опубликовал теорию движения твердого тела около неподвижной точки его опоры и
тем самым создал теоретическую базу для дальнейшего более глубокого изучения
законов движения волчка. Работы французских ученых Ж. Лагранжа (1736-1813) и Л.
Пуансо (1777-1859) во многом содействовали дальнейшему изучению и разработке
методов практического использования свойств быстро вращающегося волчка.
.5.1
Секстан Флерие
В 1886 г. французский адмирал Флерие предложил новый прибор - секстан -
для измерения географической широты местоположения корабля во время шторма,
основой которого являлся быстро вращающийся волчок. Сам волчок был выполнен в
виде цилиндрического тела В (рис.2.4), подпертого остроконечной шпилькой на
точке N. Во время работы прибор удерживали за рукоятку R в вертикальном
положении. С помощью ручного насоса во внутрь его через шланг М накачивали
сжатый воздух, который ударял направленными струями в боковую поверхность
волчка и приводил его во вращение вокруг оси ААХ. При весе волчка в 175 г
удавалось сообщить ему вращение со скоростью около 3000 об/мин. Для обеспечения
вращения волчка неизменно в горизонтальной плоскости его центр тяжести
располагали примерно на 1 мм ниже точки опоры. Приведенный во вращение волчок
даже при отклонениях рукоятки от вертикального положения продолжал оставаться в
горизонтальной плоскости, обеспечивая на качающемся корабле искусственный
горизонт.
Для удобства фиксирования плоскости горизонта на верхней торцовой
поверхности волчка были укреплены две плосковыпуклые линзы С, на плоских поверхностях
которых нанесены тонкие штрихи, расположенные параллельно торцовой поверхности
волчка. Расстояние между линзами С соответствовало фокусному, вследствие чего
при вращении волчка В штрихи, нанесенные на линзах, для глаза, наблюдающего в
окуляр D прибора, сливались в одну черту.
Рис. 2.4 Схема секстана Флерие
Эта черта и фиксировала положение плоскости горизонта, по отношению к
которой измерялся угол а высоты светила L, аналогично тому, как это было
описано выше (см. рис. 2.4).
Для одновременного наблюдения за линией искусственного горизонта и
светилом в приборе было установлено два зеркала F и К. Поворотом зеркала К луч,
идущий от светила L, совмещали с линией искусственного горизонта. При этом
величина угла а определялась углом поворота зеркала К.
Такова вкратце схема первого прибора, в котором был использован волчок,
по своей форме и устройству принципиально не отличающийся от обычных волчков,
имевших широкое распространение в быту.
.5.2
Гироскоп Фуко
Получив медицинское образование, Жан Бернар Леон Фуко (1819-4868) увлекся
экспериментальной физикой и достиг в этой области немалых успехов. Назовем лишь
самые крупные - токи Фуко, маятник Фуко, гироскопы.
Слово "гироскоп", придуманное Л. Фуко, состоит из двух греческих
слов: "гирос" - вращение и "скопео" - наблюдать, смотреть.
Итак, гироскоп - это "наблюдатель вращения". Сейчас гироскопы
"наблюдают" вращение самых разнообразных объектов - кораблей,
самолетов, ракет, спутников и многих других. Л. Фуко, создавая свой
лабораторный прибор (гироскоп), хотел с его помощью наблюдать вращение Земли
относительно абсолютного пространства.
Идея прибора основывалась на теоретическом положении Л. Эйлера о том, что
быстровращающееся тело, имеющее одну неподвижную точку и не подверженное
действию моментов внешних сил, сохраняет неизменным положение оси своего
вращения в абсолютном пространстве. Л. Фуко рассуждал примерно так. Поскольку
Земля вращается в абсолютном пространстве, то должно наблюдаться движение
предметов, расположенных на ее поверхности, по отношению к оси такого
быстровращающегося тела.
Приступая к созданию своего прибора, Л. Фуко сразу же столкнулся с тремя
взаимосвязанными проблемами, ставшими потом классическими в гироскопической
технике:
) как практически реализовать тело, имеющее одну неподвижную точку и,
стало быть, свободу вращения вокруг трех взаимно перпендикулярных осей;
) как "защитить" вращающееся тело от действия внешних
возмущающих моментов,
В качестве тела, предназначенного для быстрого вращения, Л. Фуко выбрал
маховик, который был установлен в кардановом подвесе.
Прежде чем объяснить, как устроен карданов подвес, широко применяющийся в
технике и в наше время, стоит сказать несколько слов о человеке, чье имя он
носит.
Джероламо Кардано (1501-1576) - итальянский философ, врач, математик и
техник, легендарная личность. Хилый от рождения, он был могуч духом и очень
хотел прославиться.
Обладал выдающимися способностями и редким трудолюбцем; жил активно
участвовал в научных диспутах, рьяно занимался медициной и физкультурой,
азартно играл в шахматы и кости, много писал, работал с наслаждением.
В своей книге "О моей жизни..." Д. Кардано, подводя итог
сделанному, написал: "Число разрешенных мною проблем и вопросов доходит до
40 тысяч; и более мелких указаний я оставляю после себя до 200 тысяч. Вот
основания, почему светоч нашей отчизны (Андреа Альчиати - видный юрист начала
XVI в. - Ред.) назвал меня "мужем открытий".
Однако этот "муж открытий" был не очень щепетилен в вопросах
приоритета, и многие истины, известные и до него (сознательно или искренне
заблуждаясь, теперь не установить), публиковал под своим именем. В частности,
это относится и к карданову подвесу, который еще в XIII в. был описан
французским архитектором Уйларсом де Гонкуром.
Рис. 2.5. Схема модели первого гироскопа Л. Фуко, 1852 г.
В настоящее время разработано много кинематических схем карданова подвеса,
широко применяемых в гироскопической технике. Однако мы вернемся к тому
варианту, который применил в своем приборе Д. Фуко (рис. 2.5). Ось вращения
маховика на подшипниках была установлена в кольце, полуоси которого были
выполнены в виде трехгранных призм ("ножей"). Ось вращения ножевых
опор составляла прямой угол с осью вращения маховика. Стальные полированные
"подушки", №а которые опирались грани ножей, были установлены в
другом кольце. Это кольцо сверху с помощью шелковой нити подвешивалось к корпусу
прибора, а снизу упиралось в корпус иглой. Для наблюдения за движением оси
вращения маховика относительно поверхности Земли на кольце была укреплена
длинная стрелка (поверхность Земли в данном приборе представляла подставка
прибора со шкалой). Кольца называются соответственно внутренним и наружным
кардановыми кольцами. Эти два кольца вместе с установленными на них опорами
образуют механическую систему, называемую кардановым подвесом. Карданов поднес
позволяет установленному в нем телу одновременно поворачиваться вокруг трех
взаимно перпендикулярных осей (обеспечивает телу три вращательные степени
свободы). Так, например, маховик, установленный в приборе Л. Фуко, мог
вращаться вокруг собственной оси (первая степень свободы), вместе с внутренним
кольцом карданова подвеса мог поворачиваться вокруг осп ножевых опор (вторая
степень свободы) и вместе с внутренним и наружным кольцами карданова подвеса
мог поворачиваться вокруг вертикальной оси, слегка закручивая шелковую нить
(третья степень свободы).
В своем приборе Л. Фуко постарался в максимальной степени выполнить
условия Эйлера: вращающееся тело (маховик) имело одну неподвижную точку, а
именно точку пересечения осей маховика, внутреннего и наружного кардановых
колец; чтобы свести к минимуму возмущающие моменты, действующие на маховик,
были применены самые совершенные из известных тогда опор - ножевые опоры и
шелковая нить; узел "маховик - внутреннее кольцо" был тщательно
отбалансирован, то есть центр масс узла был совмещен с неподвижной точкой, что
в отличие от волчка сводило к нулю момент, создаваемый силой тяжести самого
узла. Отмечая низкий уровень возмущающих моментов, Л. Фуко писал, что подвижные
узлы прибора "приходили в движение от малейшего дуновения".
Почему так много внимания уделил Л. Фуко устранению моментов внешних сил?
Что бы произошло, если бы вокруг осей карданова подвеса действовали бы
достаточно большие возмущающие моменты, например моменты трения опор?
Предположим, что маховик раскручен и обладает кинетическим моментом Н, а
вокруг оси внутреннего кольца карданова подвеса действует момент трения МTP,
создаваемый ножевыми опорами.
Действие своего прибора Л. Фуко продемонстрировал членам Парижской
академии наук 27 сентября 1852 г.
С помощью специального устройства маховик был приведен н быстрое вращение
и дальше работал на выбеге. Ось вращения маховика была выставлена в плоскость
горизонта (направлена горизонтально). Стрелка, связанная с наружным кардановым
кольцом, установлена на нулевой отметке шкалы.
Ожидалось, что ось маховика начнет совершать кажущийся поворот вокруг
вертикальной оси прибора со скоростью, равной вертикальной составляющей
скорости вращения Земли на широте Парижа.
Так как ожидался достаточно медленный поворот стрелки, то для наблюдения
за ее движением применялся микроскоп. Опыт удался частично: только в первые
минуты после запуска маховика стрелка действительно двигалась справа налево, а
затем движение ее становилось хаотичным. Объяснялось это тем, что маховик
слишком быстро терял скорость вращения и даже незначительные возмущающие
моменты трения ножевых опор вызывали хаотическую прецессию оси маховика в
плоскости горизонта.
Уже первые опыты обнаружили еще одно интересное свойство гироскопа -
практическую безинерционность прецессионного движения маховика. Если к маховику
мгновенно приложить и спять момент внешних сил (па-пример, слегка ударить
молоточком но внутреннему кольцу карданова подвеса), то также практически
мгновенно возникнут и исчезнут угловая скорость прецессии и гироскопический
момент (явления, связанные с квазиупругим эффектом, здесь не рассматриваются).
В результате внутреннее кольцо не повернется вокруг своей оси. Всякое другое
материальное тело в подобной ситуации продолжало бы двигаться по инерции,
отклоняясь все дальше от начального положения.
У маховика гироскопа движение по инерции также есть, но оно выражается не
в одностороннем отклонении от начального положения, а в мелком, быстро
затухающем дрожании около этого положения.
Мелкое, быстро затухающее дрожание маховика называется нутацией, что в
переводе с латинского языка означает "колебание".
В своих докладах Парижской академии наук Д. Фуко указал также на то, что
маховик его прибора, лишенный одной степени свободы, должен стремиться
совместить ось своего вращения с вектором абсолютной переносной скорости вращения
основания. Теперь этот результат легко можно получить с помощью правила И.Е.
Жуковского, во времена же Д. Фуко это было неожиданным открытием. Впечатление
еще более усилилось, когда Л. Фуко пояснил, что с помощью гироскопа, имеющего
только дне степени свободы, можно определять направление па Северный полюс
Земли и широту места установки прибора. Представим себе гироскоп, маховик
которого имеет только две степени свободы, а именно: вращение с большой
скоростью вокруг собственной оси и возможность поворота вокруг оси внутреннего
карданова кольца. Позже подобные приборы стали называться гироскопами с двумя
степенями свободы, или двухстепенными гироскопами. Л. Фуко рассмотрел два
характерных положения двухстепенного гироскопа относительно поверхности вращающейся
Земли.
Мерное: ось внутреннего кольца карданова подвеса вертикальна, и гироскоп
участвует в переносном вращении Земли со скоростью U, вектор которой может быть
разложен на две составляющие Ūsinφ и Ūcosφ (рис 2.6). В этом случае в
соответствии с правилом Н.Е. Жуковского возникают два гироскопических момента.
Один из них будет стремиться совместить вектор Н с вектором Ūsinφ.
Но этого совмещения не
произойдет, так как на пути совмещения стоят опоры внутреннего кольца карданова
подвеса. Этот момент будет создавать лишь давление на опоры.
Рис. 2.6 Гирокомпас Л. Фуко
Рис 2.7 Гироширот Л. Фуко
Другой гироскопический момент будет стремиться совместить вектор Н с
вектором Ūcosφ. Это совмещение, возможно, так как опоры допускают поворот
маховика вокруг вертикальной оси. Совершая затухающие колебания в
горизонтальной плоскости, ось вращения маховика через некоторое время
совместится с направлением вектора Ūcosφ. Но ведь вектор Ūcosφ
лежит в плоскости
меридиана и направлен на Северный полюс Земли! Значит, материальное тело - ось
вращения маховика - также будет направлено на Северный полюс Земли. Получился
компас, который в отличие от магнитного компаса указывает направление по на
магнитный, я на географический полюс Земли.
Этот прибор позднее нашли гироскопом Фуко первого; рода, или гирокомпасом
Фуко.
Второе положение гироскопа: ось внутреннего кольца адрданова подноса
горизонтальна, а ось маховика расположена в плоскости меридиана (рис 2.7). В
этом случае также возникнет гироскопический момент, который совместит вектор Н
с вектором U. В совмещенном положении угол между осью вращения маховика и
горизонтальной плоскостью оказывается равным широте φ.
Этот прибор позднее был
назван гироскопом Фуко второго рода, или гироширотом.
Таким образом, особым свойством двухстепенного гироскопа является его
способность мгновенно реагировать на угловую скорость вращения основания, на
котором он установлен, пытаясь совместить по кратчайшему пути ось вращения маховика
(вектор кинетического момента) с соответствующей составляющей вектора угловой
скорости вращения основания.
Лишив трехстепенной гироскоп одной степени свободы, Л. Фуко открыл
замечательное свойство двухстепенного гироскопа.
Ну а если пойти дальше и лишить маховик гироскопа второй степени свободы,
не получим ли мы притом каких-либо полезных эффектов? Получим.
Уже давно известно, что вращающийся маховик способен запаса и,
кинетическую энергию, которую затем он может расходовать на приведение и
действие различных механизмов и па повышение плавности их работы.
В частности, всем знакомы детские игрушки инерционные автомобильчики.
Чиркнув пару раз колесами такого автомобиля по полу, раскручивают маховичок,
установленный внутри него. А затем уж маховичок, отдавая свою энергию колесам
автомобиля, заставляет его двигаться.
Эта идея используется не только в игрушках.
Сегодня разрабатываются транспортные средства с экологически чистыми
маховичными двигателями. Уже по улицам городов движутся опытные образцы троллейбусов
и автобусов, приводимые в движение энергией маховиков.
Возникают ли гироскопические моменты в маховичных приводах? Конечно,
возникают, но так как, кроме собственного вращения, других степеней свободы
маховик не имеет, то и его видимого движения не наблюдается.
Гироскопические моменты в этом случае оказывают лишь давление на опоры
маховика, что является отрицательным явлением.
Таким образом, хотя маховичные приводы - очень полезные устройства, к
гироскопическим приборам они прямого отношения не имеют.
Итак, в своих работах Л. Фуко указал на принципиальную возможность
создания гироскопических приборов трех различных назначений: свободного
гироскопа, способного хранить неизменной ориентацию оси маховика в абсолютном
пространстве, гироскопического компаса, гироскопического измерителя широты.
.5.4
Гироскоп и его основные свойста
Обнаруженное свойство волчка открывало интереснейшие перспективы его
использования. Представим себе, что мы наблюдаем за земным шаром со стороны его
Северного полюса N из мирового пространства (рис. 2.8).
Рис. 2.8. Отклонение гироскопа с течением времени от плоскости горизонта
Предположим также, что в начальный момент времени мы увидели волчок
установленным на экваторе в точке Во, причем его главная ось АА1
направлена с запада на восток и расположена горизонтально. Вследствие суточного
вращения Земли точка В0 непрерывно изменяет свое положение. По
прошествии трех часов она переместится в точку В3, через шесть часов
- в точку В6, через двенадцать - в точку В12 и т.д. пока
вновь не вернется в исходное положение по истечении 24 часов. Известно, что в
любой точке на земной поверхности плоскость горизонта перпендикулярна радиусу
земного шара (т.е. плоскость горизонта изменяет с течением времени свое положение
в мировом пространстве). Поэтому для наблюдающего из мирового пространства ее
положение для точки земной поверхности, расположенной на экваторе, будет
казаться прямой линией. Так, в точке В0 это будет прямая а0b0,
в точке В3 - прямая а3b3, в точке В3
- прямая а6b6 и т.д.
В суточном вращении Земли участвует и точка подвеса волчка, закрепленная
с помощью кардановых колец неподвижно на земной поверхности.
Главная ось такого волчка не сохранит неизменного положения относительно
плоскости горизонта. Оставаясь стабильной и мировом пространстве, главная ось
АА1 волчка отклонится от плоскости горизонта. Причем угол этого
отклонения будет равен углу поворота земного шара.
Следовательно, наблюдатель, находящийся на земной поверхности рядом с
волчком в кардановом подвесе, сможет по отклонению его главной оси от плоскости
горизонта определить угол поворота земного шара около своей оси.
Прибор Фуко дал возможность непосредственно наблюдать суточное вращение
Земли, поэтому и был назван гироскопом.
Быстро вращающийся гироскоп оказывает значительное сопротивление любым
попыткам изменить его положение в пространстве. Если воздействовать на его
наружное кольцо НК (рис. 2.9) силой F, пытаясь повернуть гироскоп вокруг оси СС1, то можно
убедиться в сопротивлении гироскопа внешнему усилию.
Гироскоп начнет поворачиваться не вокруг оси СС1 а вокруг оси
ВВ1. в направлении, указанном стрелкой. Скорость вращения гироскопа
вокруг оси ВВ1 будет тем больше, чем больше сила F.
Рис. 2.9. Сопротивляемость гироскопа внешним усилиям
Одновременно были обнаружены и другие интересные свойства гироскопа.
Опыты показали, что, затягивая винты d, расположенные на наружном кольце НК, и лишая тем самым гироскоп свободы
вращения вокруг оси ВВ1, создают условия, при которых гироскоп будет
стремиться совместить свою главную ось АА1 с плоскостью меридиана.
Для этого необходимо главную ось гироскопа предварительно установить в
плоскость горизонта. Если же затянуть винт d1, расположенный на корпусе К прибора, и лишить тем самым
гироскоп свободы вращения вокруг оси СС1 то главная ось АА1
при условии ее предварительного совмещения с плоскостью меридиана, будет
стремиться к совмещению с линией, параллельной оси мира.
Для уяснения природы многообразных свойств гироскопа обратимся к
некоторым основным понятиям и законам механики.
.5.5
Механика гироскопа
Удивительное на первый взгляд свойство гироскопа двигаться в направлении,
перпендикулярном действующему на него усилию, полностью подчинено законам
механики. Оно объясняется инертностью массы гироскопа, присущей ему, как и
любому другому телу.
Наблюдения и опыты показывают, что изменение скорости и направления
движения любого тела не может происходить само по себе без воздействия на него
внешних сил. Согласно закону Ньютона любое тело, если на него не действуют
другие тела, сохраняет состояние покоя или прямолинейного и равномерного
движения.
Рис. 2.10. Различные виды движения тел
Свободно движущееся тело А (рис. 2.10) стремится сохранить свое движение
с постоянной скоростью v в
прямолинейном направлении аb. На
схеме скорость v изображена
вектором в виде отрезка прямой nl,
совпадающей с направлением движения ab. Стрелка на конце вектора указывает, в какую сторону по этому
направлению движется тело. Длина nl
вектора в условном масштабе изображает величину скорости v.
Ньютон установил также, что ускорение w тела, характеризующее изменение скорости его движения,
пропорционально действующей на тело силе F и обратно пропорционально массе этого тела т, равной весу
тела G, деленному на ускорение свободного
падения g. Этот вывод, имеющий всеобщий
характер, носит название второго закона Ньютона и может быть выражен формулой
из которой следует, что сила F, необходимая для сообщения телу ускорения до, равна массе т тела,
умноженной на ускорение,
F = mw (1)
Из уравнения (1) следует, что для изменения скорости и направления
движения тела необходимое внешнее усилие должно быть тем больше, чем больше
масса тела и чем больше ускорение последнему должно быть сообщено.
Таким образом, именно масса тела обладает инертностью, или, иначе говоря,
свойством сохранять свое состояние движения неизменным, которое может являться
и состоянием покоя и состоянием равномерного и прямолинейного движения.
В описанном проявлении инертности массы и заключается сущность основного
закона, которому движение гироскопа подчинено в такой же мере, как и движение
любого другого тела.
Если на тело А, движущееся по прямой ab со скоростью у0 (рис.2.10), подействовать в
направлении его движения силой F, то
по истечении весьма малого промежутка времени оно будет продолжать двигаться в
прежнем направлении ab, но уже с новой
скоростью vt.
Изменение скорости движения тела за время At и характеризует его ускорение:
Измеряя скорость в сантиметрах в секунду (см/сек), ускорение будем
оценивать в сантиметрах в секунду в квадрате (см/сек2).
В общем случае под воздействием внешней силы тело может изменить
одновременно и скорость и направление своего движения. Представим себе, что на
тело А, движущееся в направлении ab со
скоростью v0, подействовала сила F2, направленная по линии cd, перпендикулярной ab. Под влиянием этого усилия тело получит ускорение в направлении cd, в результате чего по прошествии
времени Δt оно, кроме скорости v0 в направлении ab, приобретет некоторую дополнительную скорость v2 в направлении cd.
Нетрудно определить новое направление и вычислить новую скорость v' движения рассматриваемого тела. Как
известно, направление движения будет определяться направлением диагонали
параллелограмма, стороны которого равны векторам v0 и и2, а значение суммарной скорости - длиной этой
диагонали, вычисленной в соответствии с масштабом, принятым для построения
векторов у0 и и2.
Для получения ясного представления о сущности проявления основного закона
движения при опытах с гироскопическими приборами необходимо выяснить возможные
перемещения гироскопа в пространстве.
Движение гироскопа можно рассматривать состоящим из его вращения вокруг
трех осей подвеса (рис.2.11). В этом случае необходимо знать величину и
направление скоростей его вращения вокруг каждой из этих осей в отдельности.
Скорость вращения тел измеряют обычно либо числом оборотов в минуту, либо
числом, радианов 1 в секунду. Скорость вращения в один радиан в секунду
соответствует повороту рассматриваемого тела (рис.2.12) на угол φR, равный центральному углу, опирающемуся на дугу ab,
длина которой равна радиусу окружности R.
Рис. 11. Схема вращения тела вокруг оси
Так, если рассматриваемое тело в течение 1 сек. совершит один оборот,
т.е. повернется на 360°, то угловая скорость его вращения, выраженная в
радианах в секунду, будет равна:
Если же тело в течение 1 мин. совершает π оборотов, то величина угловой
скорости определится равенством
Но одна величина угловой скорости еще не дает полного представление о
характере вращательного движения. Необходимо знать положение оси в
пространстве, вокруг которой происходит вращение и направление самого вращения.
Для записи этих характеристик наиболее удобно изображать угловые скорости
с помощью векторов. Обозначая угловую скорость Q вектором, мы должны совместить
его с осью AA1 вращения тела и направить по оси АА1 в
такую сторону, чтобы со стороны его конца вращение тела представлялось
происходящим против часовой стрелки. Что касается величины угловой скорости Q,
то она характеризуется длиной вектора, которая определяет в некотором масштабе
ее численное значение.
Важно обратить внимание на тот факт, что ускорение, вызванное
воздействием сил, оценивает изменение скорости не только по величине, но и по
направлению. Для пояснения сказанного обратимся к рис.2.12, на котором
материальная частица в виде шарика D соединена с помощью нерастяжимой нити OD
длиной R с валом В электродвигателя ЭД, корпус которого неподвижно закреплен на
фундаменте.
Рис. 2.12 Схема для определения центростремительного ускорения
Как только вал двигателя начнет вращаться вокруг оси ААХ, шарик D также
начнет перемещаться вокруг этой оси. Если вал двигателя вращается с постоянной
угловой скоростью 2, то и шарик D будет двигаться с такой же по величине
скоростью. Окружная скорость v = ΩR шарика D в
этом случае постоянна, но все же, его движение не остается равномерным и
прямолинейным, так как изменяется направление его движения.
Действительно, если бы шарик D двигался равномерно с постоянной по величине скоростью v и прямолинейно, то, начиная,
например, с момента совмещения центра шарика с точкой а, произошло бы его
перемещение вдоль прямой ab. Но
шарик движется по дуге окружности радиуса R. Поэтому в точке С направление скорости vc его движения будет уже отличным от
направления скорости v,
хотя численные их значения останутся равными.
Так как v и vc являются скоростями одного и того же
непрерывно движущегося тела D, то
очевидно, что скорость vc образовалась из первоначальной скорости v, получившей вследствие тех или иных причин некоторое
изменение на величину v'.
Скорости v и и' дают в геометрической сумме ту
результирующую скорость vc, которой тело D
будет обладать в точке С.
Учитывая, что треугольник Cfe
(благодаря равенству скоростей v и vc) является равнобедренным и подобным
треугольнику ОаС, у которого стороны Оа и ОС равны между собой и одновременно
равны радиусу R, можно составить отношение между
сторонами этих двух треугольников
Отрезки Сf и fe в выбранном масштабе выражают
численные значения скоростей v и v'. Величина Оа равна радиусу R окружности, по которой происходит
перемещение тела D. Кроме того, при
малом значении угла Ωt поворота тела D вокруг оси ААХ длина дуги
аС = RΩt будет практически равна длине хорды аС Учитывая
сказанное, перепишем последнее отношение в следующем виде:
Таково значение той дополнительной скорости, которая была сообщена
движущемуся шарику при повороте двигателя на угол Ωt. Эта дополнительная скорость v' и повлекла за собой изменение
первоначальной скорости v.
Относя величину v' изменения
скорости движения ко времени t в
течение которого это изменение произошло, мы найдем величину ускорения тела при
его движении. Если угол поворота Ωt уменьшить до очень малого значения,
близкого к нулю (т.е. рассматривать поворот тела за весьма малый промежуток
времени kt), то нетрудно убедиться в том, что
дополнительная скорость v'
направлена вдоль радиуса R,
иными словами к центру, поэтому рассматриваемое ускорение и получило название
центростремительного.
Обозначая центростремительное ускорение wц, находим его значение:
Выше уже говорилось о том, что для сообщения телу ускорения на него
необходимо воздействовать внешним усилием. В рассматриваемом случае это усилие
совпадает по направлению с радиусом R и действует на тело D со
стороны нерастяжимой нити 0D. В
свою очередь тело D будет
действовать на нить силой, равной по величине внешнему усилию, но обратной ему
по направлению. Такие силы, развиваемые массой движущегося тела и оказывающие
сопротивление внешним усилиям, называются силами инерции. Если прекратить связь
между валом двигателя и телом, то с этого мгновения последнее перестанет
двигаться по окружности и начнет перемещаться прямолинейно с постоянной
скоростью.
Сказанное легко проверить на опыте. Используйте в качестве связи между
валом В электрического двигателя ЭД и шариком D обычную суровую нитку. Приведите во вращение вал двигателя,
а вместе с ним и шарик и дайте им набрать достаточно большую скорость,
Приготовьте острую бритву и в тот момент, когда центр шарика D будет подходить к совмещению с
точкой а, быстро перережьте нить. Шарик D сразу же прекратит движение по окружности и начнет
перемещаться вдоль прямой ab, с
которой в момент перерезывания нити был совмещен вектор v его скорости.
.6
Гироскоп в авиации
При полете самолета необходимо иметь точные данные о географических
координатах тех пунктов земной поверхности, над которыми он в данный момент
времени пролетает. Только при этом условии можно совершить полет по заранее
заданному маршруту. На заре авиации, когда полеты самолетов производились
только в хорошую, так называемую лётную погоду выполнение указанных условий не
вызывало затруднений.
Так, например, если самолет должен был совершить перелет по маршруту,
включающему в себя пункты А, В, С и D (рис.2.13), то летчик вначале выбирал направление на поселок А, затем на
хутор В, после чего вел самолет вдоль реки до моста С, через нее, и дальше
выдерживал направление полета вдоль железнодорожного полотна вплоть до
достижения пункта D. Благодаря
хорошей видимости летчики легко ориентировались по лежащей под ними местности,
а, используя линию естественного горизонта, могли выдерживать полет в
горизонтальной плоскости.
Однако с развитием авиации, увеличением дальности, скорости и высоты
полетов уже нельзя было рассчитывать на выполнение перелетов только при лётной
погоде. Действительно, при больших дальностях беспосадочных перелетов нельзя
предполагать, что на всей трассе будет стоять ясная погода. На своем пути
самолет может попасть в облачность, туман, дождь и другие условия, при которых
земная поверхность окажется скрытой от наблюдений.
Характерная черта современной авиации - совершение полетов при отсутствии
видимости земной поверхности. Пассажирские и почтовые самолеты должны совершать
регулярные рейсы в любое время дня и ночи, при любой погоде, так как в
противном случае, при выжидании лётной погоды будет теряться одно из основных
преимуществ воздушного сообщения - скорость. Более того, полет сопровождается
подчас отсутствием видимости и небесных светил. В таком случае летчик ведет
машину "вслепую".
Для выполнения слепого полета по заранее намеченному маршруту самолет
должен быть оборудован приборами, которые в течение всего времени указывали бы
направление линии север-юг, называемой обычно полуденной и истинной вертикали.
На первый взгляд такие требования могут быть обеспечены весьма простыми
средствами. Достаточно, казалось бы, оборудовать самолет маятником и магнитной
стрелкой, чтобы дать возможность летчику определить положение самолета
относительно плоскостей горизонта и меридиана.
Рис. 2.13 Схема полета самолета по земным ориентирам
Именно по этому пути использования магнитного компаса и маятникового
креномера и пытались идти первые русские навигаторы. Так, еще в 1804 г. при
полете Я.Д. Захарова с научными целями на воздушном шаре в его гондоле для
определения направления движения был установлен магнитный компас.
Опираясь на опыт морского кораблевождения, русские авиаторы стремились
оснастить свои воздушные корабли самыми совершенными в те времена
навигационными приборами. А.Ф. Можайский при постройке своего первого в мире
самолета, испытания которого происходили в России в 1882-1884 гг., предусмотрел
установку на нем специально сконструированного магнитного компаса. Большую
помощь А.Ф. Можайскому оказал крупнейший специалист компасного дела академик
И.П. Колонга (1839-1902).
Русский самолет "Илья Муромец", первый полет которого состоялся
в декабре 1913 г., имел 2 комплекта маятниковых креномеров и магнитные компасы;
один для летчика и второй для штурмана. Опыт использования магнитного компаса
на самолете "Илья Муромец" и явился началом развития самолетовождения
по приборам.
Однако ни магнитная стрелка, ни маятник не могли в условиях полета, так
же как и на качающемся корабле, сохранять свои положения неизменно совмещенными
с направлениями полуденной линии и истинной вертикали. Это объясняется тем, что
даже при прямолинейном полете вследствие атмосферных возмущений, случайных
отклонений рулей, неравномерной работы двигателей и других причин самолет
совершает непрерывные колебания вокруг своих осей (рис.2.14). Эти колебания
порождают перемещения с ускорениями опор подвесов магнитной стрелки и маятника
в корпусе самолета, обусловливая тем самым их отклонения от направлений
полуденной линии и вертикали. Кроме того, при колебаниях самолета силы трения,
неизбежно существующие в опорах подвесов, воздействуя на магнитную стрелку и
маятник, увлекают их за поворотами самолета.
Все это, учитывая непрерывные колебания самолета, порождает и
непрекращающиеся колебания маятника и магнитной стрелки около направлений
вертикали и полуденной линии. Указанные обстоятельства затрудняют пользование
рассмотренными приборами для определения углов крена самолета по отношению к
плоскости горизонта и его курсовых углов относительно плоскости меридиана.
Рис. 2.14 Схема самолета: 1 - продольная ось; 2 - вертикальная ось; 3 -
поперечная ось
Таким образом, ни магнитная стрелка, ни маятниковый креномер не могли
явиться надежными указателями положений плоскостей меридиана и горизонта. Вот
почему возникла насущная потребность в создании принципиально новых приборов,
которые бы в специфических условиях полета сохраняли неизменным свое положение
относительно плоскостей горизонта или меридиана. Было сделано много попыток
улучшения качества и магнитного компаса и маятникового креномера, однако ни
одна из них не дала удовлетворительного решения. И только применение гироскопа
позволило создать навигационные приборы, удовлетворяющие все возрастающим
требованиям авиации.
Естественно, что внедрению гироскопа в самолетовождение во многом
способствовал опыт морского флота, который к этому времени накопил достаточное
количество материала по практическому использованию гироскопического компаса на
море. Однако было бы ошибочным полагать, что авиация лишь позаимствовала у
морского флота уже готовые гироскопические приборы. Малые габариты кабины
самолета, высокие скорости его полета, ограничение веса
Для всех механизмов и приборов, устанавливаемых на самолете' исключали
возможность использования, на нем морского гироскопического компаса,
обладающего, как известно, значительными габаритами и весом.
Правда, в начале XX в.
были предприняты попытки использовать гироскопический компас в авиации.
Дирижабль "Италия", совершивший в 1928 г. полет к Северному полюсу,
был оборудован гироскопическим компасом, однако эксперимент этот был неудачным.
Дальнейших же попыток использования гироскопического компаса в авиации, как об
этом можно судить по периодической печати, не предпринималось.
Самолетостроителям в этом вопросе пришлось идти самостоятельным путем.
Без сомнения, установившиеся методы проектирования и технологические приемы
изготовления гироскопических компасов были в полной мере использованы
самолетостроителями, что и оказало решающее влияние на сравнительно быстрое
внедрение гироскопических приборов в авиацию. Так, уже в первую мировую войну
русские военные самолеты были оборудованы гироскопическими указателями
горизонта (рис.2.15).
Рис. 2.15 Авиационный гирогоризонт 1914 г.
Волчок прибора приводился во вращение сжатым воздухом, подаваемым внутрь
прибора через патрубок с и отсасываемым оттуда через трубку d. Волчок описываемого прибора
упирался одним концом своей оси, так называемой шпилькой, в подпятник или топку
N (рис. 2.16).
Верхняя часть оси ААХ вращения волчка оканчивалась небольшим
плоским диском а, по положению которого относительно прозрачного сферического
колпака Ь, неизменно связанного с самолетом, и выдерживался горизонтальный
полет.
Русская авиация не только не отставала от зарубежных стран в деле
использования гироскопических приборов на самолете, но часто являлась пионером
их внедрения.
Так, например, в 1917 г. русские летчики А.Н. Журавченко и Г.Н. Алехнович
совершили на самолете "Илья Муромец" слепой полет, выдерживая
прямолинейный курс в заданном направлении по гироскопическому указателю
поворотов, о принципиальном устройстве которого будет сказано ниже. Этот
прибор, разработанный П.П. Шиловским специально для авиации, позволил провести
самолет по заранее намеченному курсу при полном отсутствии видимости земных
ориентиров.
Рис. 2.16 Схема, объясняющая принцип работы авиационного гирогоризонта
1914 г.: а-при горизонтальном полете; б-при наборе высоты
Работы советских ученых А.Н. Крылова, Б.В. Булгакова, С.С. Тихменева,
Г.В. Коренева, А.Р. Бонина, Г.О. Фридлен-дера и многих других в содружестве с
выдающимися конструкторами Е.Ф. Антиповым, Е.В. Ольманом, Р.Г. Чичикяном, А.И.
Марковым и другими талантливыми инженерами обеспечили оснащение советской
авиации высококачественными гироскопическими приборами.
В двадцатых годах текущего столетия в дополнение к указателю поворотов
создаются авиационные гироскопические указатели, курса и горизонта, которые
стали в настоящее время обязательными навигационными приборами самолета любого
типа. В начале тридцатых годов советские конструкторы Д.А. Браславский, М.М.
Качкачян и М.Г. Эйлькинд первыми в мире разработали, построили и испытали
гиромагнитный компас, получивший в настоящее время широкое распространение в
авиации всех стран мира.
Гироскопические приборы позволяют измерять углы, угловые скорости и
ускорения при отклонении самолета от заданного направления.
Пользуясь гироскопическими приборами, определяют линейные скорости и
ускорения движения самолета. Наконец, они облегчают физический труд летчика,
управляя полетом самолета автоматически.
.6.1
Гироскопический тахометр
Как упоминалось в выше, одним из первых гироскопических приборов,
использованных в авиации, был прибор, указывающий повороты самолета вокруг
вертикали, или, как говорят, в азимуте. Чтобы разобраться в его принципиальной
сущности, представим себе ротор гироскопа, быстро вращающийся. вокруг оси АА1
в кардановом кольце ВК (рис.2.17). Кольцо ВК, в свою очередь, может вращаться
совместно с ротором вокруг оси ВВ^ в корпусе прибора, жестко укрепленном на
основании N.
Рис.2.17. Принципиальная схема гиротахометра
На продолжении оси АА1 к кардановому кольцу ВК прикреплен
стержень D, заканчивающийся шаровым
наконечником, с которым соединены концы спиральных пружин а и b. Вторые концы этих пружин закреплены
на кронштейне L, смонтированном также (на основании
N. Благодаря наличию пружин свобода вращени5 гироскопа вокруг оси BBt его подвеса становится частично
ограниченной, так как при повороте гироскопа вокруг оси ВВ1, пружинь
будут деформироваться, создавая тем самым усилие, стремящееся возвратить
гироскоп в исходное нулевое положение.
Если основание N поворачивать вокруг оси СС, с угловой скоростью ω, то вместе с основанием с такой же угловой
скоростью а начнет поворачиваться и гироскоп. При этом последний будет
поставлен в условия одновременного движения сразу вокруг двух осей: АА1
и CC1 с угловыми скоростями Ω и ω. В этом случае гироскоп начнет
вращаться вокруг оси ВВ1 стремясь совместить свою главную ось АА1
с осью CC1 вынужденного поворота.
Вместе с гироскопом вокруг оси В1, будет поворачиваться и
стержень D, шаровой наконечник которого начнет
воздействовать на пружины а и b.
Одна из пружин при этом будет растягиваться на величину z, вторая - на столько же сжиматься. В
результате указанной деформации возникнет сила F упругости пружин, которая будет стремиться возвратить
гироскоп к нулевому положению. С увеличением угла поворота ξ гироскопа вокруг оси ВВ1 деформация
z пружин будет возрастать увеличивая
силу F их упругости.
Угол поворота гироскопа b
вокруг оси ВВ1 является пропорциональным величине угловой скорости
вынужденного поворота прибора, так как кинетический момент JΩ и коэффициент k в каждом приборе остаются величинами
постоянными. Следовательно, по величине угла с помощью данного прибора можно
измерять угловую скорость. Именно поэтому он получил название гироскопического
тахометра. Так как гироскоп прибора имеет только две степени свободы, вокруг
осей АА1 и ВВ1 его называют еще гиротахометром с двумя
степенями свободы.
Соединяя гироскоп тахометра со стрелкой (рис. 2.18) и снабжая корпус
прибора шкалой с нанесенной на ней в соответствующем масштабе сеткой делений,
получают возможность произвести непосредственную оценку величины угловой
скорости φ. Для успокоения колебаний стрелки гироскопического тахометра
последний снабжают специальным успокоителем. В качестве такого успокоителя
широкое распространение получил пневматический демпфер, представляющий собой
жестко укрепленный на корпусе прибора цилиндр Ц, внутри которого помещен
поршень П, соединенный рычагом с гироскопом. При колебаниях гироскопа, а
следовательно и стрелки прибора, около оси ВВ, поршень будет перемещаться
внутри цилиндра. Этому оказывает сопротивление воздух, сжимаемый в цилиндре и
не успевающий выходить через отверстие L. Указанное сопротивление будет тем больше, чем с большей
скоростью происходит перемещение поршня П внутри цилиндра Ц.
Устанавливая описанный гироскопический тахометр на самолете, получают
возможность измерять угловые скорости его поворота около одной из собственных
осей (рис.2.14).
Рис. 2.18 Схема передачи поворота гиротахометра на шкалу прибора
Рис. 2.19 Схема установки гиротахометра на самолете
Большей частью гироскопические тахометры используются на самолете для
фиксирования его поворотов вокруг вертикальной оси. В этом случае тахометр
монтируется таким образом, чтобы ось BB1
его подвеса была совмещена с продольной осью Осхс
самолета (рис. 2.19).
До тех пор пока самолет летит строго по заданному направлению, гироскоп
гиротахометра вращается только вокруг своей главной оси
Гироскопические тахометры могут быть использованы для измерения угловых
скоростей поворота самолета не только относительно его вертикальной оси, но и
относительно его продольной и поперечной осей (рис. 14). Для этого необходимо
так установить гироскопический тахометр, чтобы его ось ОСх была
совмещена при нулевом положении гироскопа (рис. 18) с соответствующей осью Осус
или Осл: с самолета.
.6.2
Гироскопический указатель поворотов
Из рассмотренного выше можно сделать заключение о том, что для
выдерживания полета самолета в заданном направлении не обязательно определять
величину угловой скорости его поворота вокруг оси Oczc. Важно лишь получить указание о
возникновении этой скорости и ее направлении. Вот почему в авиации
гироскопическим тахометром часто пользуются не для количественного измерения
угловых скоростей поворота самолета, а лишь для получения качественной
информации о факте ее возникновения.
Рис. 2.20 Схема указателя поворотов
Конструкция гироскопического прибора в этом случае остается принципиально
такой же, как и описанная выше. Однако прибор не имеет шкалы с делениями,
которая заменена здесь диском с тремя марками (рис. 2.20); одной центральной,
не имеющей обозначений, и двумя крайними: правой П и левой Л.
Одновременно прибор снабжен маятниковым креномером, выполненным в виде
изогнутой по некоторому радиусу стеклянной трубки Т, внутри которой свободно
перемещается шарик d.
Пользуясь гироскопическим указателем поворотов, летчики контролируют
правильность выполнения виражей при разворотах самолета вокруг вертикали.
Учитывая, что при правильном вираже шарик, как и обычный маятник, должен
устанавливаться по направлению равнодействующей двух сил: силы тяжести и
центробежной силы инерции, - летчик, совершая разворот, может следить не только
за положением стрелки гиротахометра, но и за положением шарика креномера. Вот почему
указатель поворотов и завоевал одно из основных мест среди авиационных
навигационных приборов.
Чтобы мы могли составить себе представление о конструктивном выполнении
авиационных гироскопических указателей поворотов, на рис. 2.21 показана одна из
современных моделей прибора с питанием от постоянного электрического тока
напряжением 27 в.
Рис. 2.21 Общий вид авиационного указателя поворотов
- регулировка противодействующей пружины; 2 - ось собственного вращения
ротора; 3 - рамка; 4 - корпус; 5 - ротор; 6 - воздушное сопло; 7 - турбинный
обод ротора; 8 - демпфер рамки; 9 - стрелка; 10 - шкала; 11 - указывающая
система; 12 - противодействующая пружина.
.6.3
Авиационный гироскоп направления
Несмотря на то, что гироскопический указатель поворотов позволяет
выдерживать прямолинейный полет и совершать правильные развороты самолета,
пользование одним этим прибором при выполнении слепого полета крайне
затруднительно.
В самом деле, представим себе, что самолету было задано направление
полета АВ (рис. 2.22), по которому и совершалось его перемещение, начиная от
пункта А. В силу тех или иных возмущений самолет в точке С начал отклоняться от
заданного курса АВ, поворачиваясь вокруг вертикальной оси в направлении против
часовой стрелки.
При наличии на самолете гироскопического указателя поворотов описываемый
поворот будет сразу же зафиксирован прибором, стрелка которого отклонится от
нулевой черты на шкале указателя. Однако летчик в момент нахождения самолета в
точке С мог быть занят наблюдением показаний какого-либо другого контрольного
прибора, число которых на приборной доске современного самолета достаточно
велико. Может случиться так, что летчик обратит внимание на шкалу
гироскопического указателя поворотов лишь только в точке D, когда самолет уже отклонится от
заданного курса на некоторый угол Δα.
Как только пилот заметит по указателю поворотов вращение самолета, он
сразу же прекратит это вращение и вновь будет выдерживать самолет в
прямолинейном полете. Но теперь это движение уже не совпадет с заданным курсом
А В, а произойдет в некотором новом направлении DE, составляющем с заданным курсом АВ угол Δα.
По шкале указателя
поворотов летчик не сможет определить величину угла Δα
и, следовательно, не
сможет устранить накопившуюся ошибку.
Вот почему выдерживание прямолинейного полета самолета по показаниям лишь
одного гироскопического указателя поворотов требует непрерывного наблюдения за
его стрелкой, что утомляет пилота. Для осуществления слепого полета необходимо
иметь еще один прибор, который позволял бы летчику оценивать направление полета
самолета по отношению к заданному курсу не в результате непрерывного наблюдения
за показаниями прибора, а лишь по кратковременным взглядам на шкалу последнего.
Именно таким прибором и является авиационный гироскоп направления.
Рис. 2.22 Схема, объясняющая необходимость наличия на самолете гироскопа
направления
Сущность устройства гироскопа направления может быть пояснена схемой
(рис. 2.23). Представим себе гироскоп с тремя степенями свободы, корпус
которого жестко укреплен на самолете так, что его наружная ось СС1
подвеса перпендикулярна плоскости xcOQyc крыльев. В процессе горизонтального
полета самолета наружная ось СС1 подвеса такого гироскопа будет
совмещена с вертикалью 22. Если ротору гироскопа сообщить теперь вращение
вокруг главной оси AA1 с достаточно большой угловой
скоростью, то гироскоп, как известно, будет сохранять свою главную ось ААХ
неподвижной в пространстве. Поэтому направление полета самолета можно оценивать
величиной угла ак, называемого обычно углом компасного курса,
образуемого продольной осью 0с; ес самолета с плоскостью
АОС гироскопа.
Для удобства замера угла ак наружное кольцо НК гироскопа
снабжают диском D с нанесенной на
нем шкалой, разделенной по окружности на 360°, - а корпус прибора индексом L, остающимся неподвижным относительно
самолета.
Нулевую черту, соединяющую деления 0 и 180° шкалы диска или так
называемой картушки D, совмещают с
плоскостью АОС гироскопа, в которой всегда находится его главная ось АА1.
Поэтому в тех случаях, когда величина угла φ отклонения главной оси АА1
гироскопа от плоскости NOZ
меридиана известна, посредством гироскопа может быть измерен и истинный
курсовой угол а полета самолета, равный сумме двух углов.
Рис. 2.23 Принципиальная схема гироскопа направления
Однако пользоваться подобным способом измерения истинного курсового угла α в течение более или менее
продолжительного времени практически невозможно.
Свободный гироскоп, сохраняя свою главную ось неподвижной в пространстве,
непрерывно отклоняется как от плоскости горизонта, так и от плоскости
меридиана.
Это движение имеет место и в рассматриваемом случае, в результате чего
главная ось АА1 будет непрерывно изменять свое положение по
отношению к плоскости NOZ
меридиана, вызывая тем самым и непрерывное изменение угла φ.
Именно эта причина
усложняет использование гироскопа с тремя степенями свободы для измерения
истинного курсового угла а полета самолета.
Рис. 2.24
Чтобы вызвать прецессионное движение гироскопа вокруг вертикали ZZ, необходимо создать внешний момент
М, действующий на гироскоп относительно его внутренней оси подвеса ВВХ.
В большинстве своем авиационные гироскопы направления снабжаются еще так
называемой задающей шкалой, пользуясь которой пилот устанавливает для памяти
необходимый курсовой угол полета. Эта вторая задающая шкала ничем не связана с
гироскопом. Она соединена лишь с корпусом прибора, относительно которого ее положение
может устанавливаться произвольно поворотом одной из рукояток, размещенных на
лицевой стороне прибора. В некоторых моделях авиационные гироскопы направления
снабжаются дополнительно и маятниковым креномером, ясно видным на рис. 2.24.
Наличие гироскопа направления избавляет летчика от необходимости
непрерывно следить за стрелкой гироскопического указателя поворотов.
Однако силы трения, неизбежно существующие в опорах подвеса, неточности
балансировки, люфты в подшипниках и целый ряд других причин, связанных с
ошибками при изготовлении и регулировке прибора, обусловливают возникновение
вредных моментов. Указанные моменты, носящие название возмущающих, действуя на
гироскоп относительно его осей подвеса, и вызывают отклонение гироскопа
направления от первоначально заданного положения. Существенным недостатком
прибора является также то, что при отклонении в силу тех или иных возмущающих
моментов главной оси AA1 гироскопа от плоскости меридиана NOZ прибор не возвратится в прежнее
положение (даже после прекращения действия возмущающих моментов). Так как
воздействие возмущающих моментов происходит непрерывно, отклонение простейших
гироскопов направления от заданного положения совершается довольно быстро,
примерно 5° за 15 мин. Поэтому гироскопом направления можно пользоваться в
течение лишь непродолжительного времени: при виражах самолета, при преодолении
облаков, туманностей, грозовых туч и т.п. В дальнейшем его показания должны
быть исправлены по магнитному компасу.
Необходимость частой проверки показаний гироскопа направления заставляла
приборостроителей усиленно искать путей, обеспечивающих неизменное сохранение
главной оси гироскопа в плоскости меридиана. Решение этой задачи впервые в мире
было найдено советскими конструкторами, создавшими принципиально новый
гироскопический прибор, получивший название гиромагнитного компаса.
3.
Исследовательская часть
Для достижения требований к сварным соединениям при
сварке электронным лучом деталей гироскопа (глубина проплавления не более двух
миллиметров, исключение перегрева прибора) необходимо выбрать оптимальные
режимы сварки. Для этого проводят исследования особенностей формирования
сварного шва на образцах-имитаторах. Производят провары на определенных режимах
сварки и смотрят по микрошлифам. Получают зависимости в виде графиков и
анализируют их, выбирая оптимальные режимы сварки.
.1 Влияние
удельной мощности электронного луча на геометрию зоны проплавления
В связи с тем, что энергитический баланс процесса ЭЛС
близок к аналогичному балансу при дуговой сварке, связь параметров электронного
луча с характеристиками зоны проплавления можно дать в виде уравнения для
секундного объема плавления металла [5]:
.241U
1> = р о FnP Sim ,(2.1.)
где Fnp -
площадь проплавления, см2;
Sim = (сТпл + Ьпл) - теплосодержание жидкого металла,
кал/г;
и- скорость сварки, см/с;
р - плотность металла, г/см;
гт - термический коэффициент полезного
действия (КПД);
ци - эффективный КПД;
U-ускоряющее напряжение, кВ;
I-ток луча, мА;
с-удельная теплоемкость, кал/(г*град);
Тпл - температура плавления, °С;
Ьи- теплота плавления, Дж/г.
Из уравнения (2.1.) видно, что чем выше погонная
энергия
Q = 0.24Щ/и,
тем больше площадь проплавления. Это действительно
справедливо для процесса дуговой сварки. Для ЭЛС экспериментально установлено,
что обобщенный параметр - погонная энергия Q не является определяющим при количественной оценке процесса.
При постоянной погонной энергии можно получить разную глубину проплавления.
Этот факт следует считать естественным, так как образование кинжального
проплавления при электронно-лучевой сварке определяется не только количеством
введенной энергии, но и ее плотностью.
Для расчетов в уравнении (3.1.) должна быть учтена
удельная мощность электронного луча q2. С этой целью проведены эксперименты по ЭЛС с постоянной погонной
энергией, но разной степенью фокусировки (разной удельной мощностью) [6].
Сварку выполняют на образцах-имитаторах, на определенных режимах. Таким
образом, концентрация мощности при постоянной погонной энергии в процессе
наложения сварного шва постепенно увеличивалась, а после достижения максимума
уменьшалась. Рабочее расстояние (пушка-изделие) сохранялось постоянным (h = cons't).
Анализ макрошлифов и очертаний зон провплавления
показывает, что при постоянном значении погонной энергии можно в широком диапазоне
изменять геометрию проплавления с помощью одного параметра режима сварки -
степени фокусировки электронного луча. При этом очертание зоны проплавления
изменяется от полукруглого до кинжального, а при больших отрицательных
значениях степени фокусировки может переходить в «клыкообразное» (рис. 3.1).
Максимуму глубины проплавления соответствует минимальная ширина шва.
Зависимость глубины проплавления Н от степени фокусировки электронного луча д1ф
приведена на рис. 2.2. Под степенью фокусировки д1ф понимают алгебраическую
разность токов магнитной линзы при сварке и фокусировке на малом токе луча
(2...4 мА):
а1ф = ± (1ф
- 1о)
За нулевую точку отсчета принят ток фокусировки 1ф =
88 мА.
Характер кривых Н = f (а1ф) (рис 3.2.) свидетельствует, что степень фокусировки,
соответствующая максимальному проплавлению на данном режиме, зависит от тока
луча: с уменьшением тока луча до величины, обеспечивающей максимальное
проплавление, д1ф стремится к нулю.
|
Ток фокусировки ,мА
|
|
72
|
76
|
80
|
84
|
88
|
92
|
96
|
100
|
|
1 серия опытов
|
|
|
|
|
|
|
|
|
|
2 серия опытов
|
|
|
|
|
|
|
|
|
Рис. 3.1 Геометрия зон проплавления при разной степени
фокусировки
Сравнение площадей зон проплавления, полученных на
двух сериях опытов (в разных сериях толщина образцов разная), показывает, что
несмотря на столь значительные изменения в геометрии проплавления, площади этих
зон для каждого режима при Q = cons't равны между собой с точностью в среднем 10%.
Изменение удельной мощности электронного луча (степени
фокусировки) приводит к изменению геометрической формы зоны проплавления. Но в
данной работе степень фокусировки не изменяется, так как не изменяется удельная
мощность из-за постоянства рабочего расстояния и погонной энергии, поэтому
получают определенную зону проплавления.
Н ,мм
Рис.3.2 Зависимость глубины проплавления от степени
фокусировки от степеней опытов (Iф, мА)
3.2
Влияние изменения рабочего расстояния пушка-деталь на геометрию зоны
проплавления
Заглубление в материал фокуса электронного луча может
существенно увеличить глубину отверстия. Аналогичный эффект наблюдается и при
электроннолучевой сварке с кинжальным проплавлением [7,8].
С целью определения влияния заглубления фокального
пятна на геометрию зоны проплавления при экспериментах [9] сварку осуществляют
с переменной рабочей дистанцией пушка-деталь h на разных режимах.
Хотя положение фокуса в пространстве при сварке по
наклонной плоскости остается постоянным (1ф = cons't),
степень фокусировки луча изменяется, поскольку для каждой новой рабочей
дистанции ток острой фокусировки, т.е. такой, при которой обеспечивается
максимальная глубина проплавления, также приобретает новое значение.
Для количественной оценки влияния степени заглубления
и подъема фокуса относительно свариваемой поверхности на геометрию зоны
проплавления на сварных швах выполняют ЭЛС при непрерывно меняющейся рабочей
дистанции и постоянном значении тока магнитной линзы. При этом степень
фокусировки меняется. После этого изготавливают макрошлифы сварных швов.
Полученные таким образом очертания зон проплавления
накладывают на соответствующие очертания при h = cons't (рис. 2.1) с целью сравнения их
геометрии и площадей. Несовпадающие участки зон проплавления сглаживают и
определяют разности площадей. Результаты сравнения площадей зон проплавлений
для двух серий опытов, представленные на рис. 2.3., показывают достаточно
хорошее совпадение двух типов проплавлений: при h = cons't (сплошной контур) и при переменной
дистанции (штриховой контур).
|
1серия опытов
|
|
96\+4,288/084\-2,080\-4,2
|
|
2серия опытов
|
|
96\+4,288\0 84\-2,0 80\-4,2
|
Рис. 3.3 Сравнение геометрии зон проплавлений, полученных при изменении
тока фокусировки и неизменной рабочей дистанции (сплошной контур) и переменной
дистанции (штриховой контур)
Числа указывают в числители - значение тока фокусировки для сплошного
контура, в знаменателе величина подъема (+) или заглубления (-) фокуса луча
относительно поверхности детали, мм.
Относительная разность площадей проплавления в
процентах к площади сплошного контура для четырех значений степени фокусировки
находится в пределах 12%. Наибольшее отклонение имеет место при малых значениях
погонной энергии. Причинами этих отклонений являются, по-видимому,
нестабильности ускоряющего напряжения и тока луча.
Таким образом, при сохранении постоянной степени
фокусировки луча а1ф достигается
эквивалентность площадей зон проплавления независимо от рабочей дистанции
электронной пушки. Такой факт имеет большое практическое значение, так как
позволяет сохранять неизменной форму проплавления на различных рабочих
дистанциях электронной пушки, находящихся в расчетных (паспортных) пределах для
данной электронно-оптической системы (ЭОС).
.3 Влияние
ускоряющего напряжения на геометрические характеристики проплавления
Экспериментальные данные (рис. 3.4.) показывают, что
ускоряющее напряжение существенно влияет на глубину проплавления: с увеличением
ускоряющего напряжения при прочих равных условиях глубина проплавления
увеличивается.
Связано это с уменьшением рассеяния электронов пучка
на атомах пара расплавленного металла при повышении ускоряющего напряжения.
Таким образом, повышение ускоряющего напряжения обеспечивает большую
кинетическую энергию электронов и увеличивает пробег электронов в парах
металла.
На установке типа УЭЛС-902М при q = 1.25 кВт, q2 = 6*105 Вт/см2, U = 10...25 кВ, скорости сварки о =
0.25...2.50 см/с, давлении в рабочей камере ЮЛ.ЛО6 мм рт. ст.
произвели проплавление образцов-имитаторов на глубину до 10 мм.
По приведенным зависимостям, исходя из требуемой
глубины проплавления кромок деталей гироскопа, выбираются оптимальные режимы
сварки: ускоряющее напряжение, ток луча, скорость сварки.
Задаемся глубиной проплавления (исходя из требований к
сварным швам гироскопа) Н < 2 мм.
Анализируя зависимость глубины проплавления от тока
луча при скорости сварки исв = 0.2 см/с, ускоряющих напряжениях 14;16;20 кВ для
заданной глубины проплавления характерен ток луча Ь = 20 мА при ускоряющих
напряжениях U = 14... 16 кВ, так как при
увеличении ускоряющего напряжения до 20 кВ ток луча уменьшается и глубина
проплавления резко увеличивается, что ведет к увеличению скоростей нагрева и
охлаждения, что в свое время приводит к увеличенным остаточным напряжениям в
сварном шве. При этом не успевают до конца протекать металлургические процессы
в сварочной ванне. Это нежелательный эффект. При увеличении ускоряющего
напряжения может наступить процесс «кинжального» проплавления.
Анализируя зависимость глубины проплавления от
мощности электронного луча Н = f (q) при Осв = 0.2 см/с, ускоряющих напряжениях
U = 14...20 кВ для заданной глубины
проплавления характерны мощности электронного луча q = 304; 266 Вт, полученные по формуле:
q = ги * U * L,
где ги = 0.95 - эффективный КПД;
U -ускоряющее напряжение, кВ; L-ток луча, мА.
При U =16
кВ, 1л = 20 мА глубина проплавления Н = 2 мм, и при U = 14 кВ, L = 14
кВ глубина проплавления равна Н=1.8 мм соответственно. Условие глубины
проплавления Н < 2 мм выполняется.
При анализе зависимости глубины проплавления от
скорости сварки Н = f (исв)
при L = 20 мА, U= 14; 16; 20 кВ для условия заданной глубины сварки можно
подобрать режимы скорости сварки. Если задаться глубинами проплавления п.З,
т.е. Н = 2 мм при U = 16 кВ, и Н =
1.8 мм при U = 14 кВ, то для этих режимов
скорости сварки равны Осв = 0.2; 0.8 см/с соответственно.
При анализе зависимости глубины проплавления от
скорости сварки H = f(uCB) при U =14; 16; 20 кВ и постоянных общей мощности q = 1.25 кВт и удельной мощности q2 = 6*105 Вт/см2
для примерно принятых глубин проплавления Hi < 2 мм получают такие же скорости сварки.
Анализируя зависимость глубины проплавления от
ускоряющего напряжения Н = f (U) при постоянных общей мощности q = 1.25 кВт и удельной мощности q2 = 6*105 Вт/см2
для принятых глубин Н = 1.8 ; 2.0 мм, получают ускоряющие напряжения, равные U = = 14; 16 кВ соответственно.
Получив экспериментально скорости сварки Осв = = 0.2;
0.8 см/с, их переводят в скорость для однопозиционного вращателя
(приспособление), что соответствует 6; 10 об/мин. Переводятся через длину
сварного шва (длину окружности, равной одному обороту). Соответственно
распределяются ускоряющие напряжения U = 16; 14 кВ при 1л = 20 мА.
Экспериментально полученные данные (режимы сварки)
можно проверить расчетным способом. Задаются шириной проплавления В = 0.05 см
(диаметр луча) и глубинами проплавления Н = 2.0; 1.8 мм.
Площади проплавления будут соответственно равны: FnP = H*B = 0.01; 0.009 см2.
Тогда по известной формуле Рыкалина [5]:
Т\и Тт q ~ Ucb Fnp Ьпл .
Для ЭЛС с глубоким проплавлением выбираем % = = 0.95,
г|т = 0.55. Мощность составляет q =
1.25 кВт. Определим скорость шовной сварки:
исв = (у\и г|т q)/(Fnp Smi) = 0.1; 0.5
см/с,
где Sum =
р (с Ттл + Ьпл) = 2.24*10° Дж/см"; для сплава 29НК:
Тпл = 1450 °С = 1723 К, с - 0.460 Дж/(г*К), р = 8.3
г/см3, Ьпл =
= 2.7* 105 Дж/г.
Расчеты показывают то, что скорости сварки,
подобранные экспериментально и полученные расчетным путем, имеют один и тот же
порядок и отличаются менее 10% друг от друга.
.4 Режимы
сварки для узлов гироскопа
1. Сварка ниппеля и заглушки
U = 16 кВ, 1л = 20 мА, исв = 6 об/мин.
.Сварка крышки и корпуса
U = 16 кВ, 1л = 20 мА, исв = 6 об/мин.
. Герметизация корпуса - сварка заглушки с колодкой и
колодки с корпусом при U = 14
кВ, L = 20 мА, Осв = 10 об/мин.
Сварка узлов (п. 1;2 «Режимы сварки для узлов гироскопа»)
производится на одном режиме, так как узлы свариваются раздельно с определенным
тепловложением. Сварка узла при герметизации производится на режиме (п. 3.
«Режимы сварки для узлов гироскопа») с более низким суммарным тепловложением,
так как производится сварка двух швов в этом узле, и тем самым уменьшается
перегрев прибора.
Исследования термических циклов при проплавлении
образцов-имитаторов электронным лучом представляют интерес в связи с
нахождением зоны термического влияния и оптимальных режимов сварки материалов.
Результаты измерений температуры шва и околошовной
зоны образцов-имитаторов из сплава 29НК, проплавляемых электронным лучом в
непрерывном режиме, приведенные на рис. 2.5. показывают, что с удалением от
линии сплавления максимальная температура резко уменьшается. Если при большой
скорости сварки зона, нагретая до температуры, превышающей 1400°С, составляет
малую величину ширины, то при меньших скоростях она имеет большую ширину.
Анализ температурных кривых (см. рис. 3.5.)
показывает, что с увеличением скорости сварки возрастают как скорости нагрева
(2*103...2*104 град/с), так и скорости охлаждения
(550...600 град/с). С увеличением скорости сварки уменьшаются размеры шва и
околошовной зоны, общий нагрев образца и коробление, повышается стабильность
режимов сварки, но появляются подрезы на поверхности шва и вынос металла в
корне шва.
Расчет оптимальных режимов термического цикла проводят
по схеме предельного состояния процесса распространения теплоты при нагреве
пластин линейным источником.
Далее следует разработка технологии электроннолучевой
сварки узлов гироскопа, стабильность режимов сварки, но появляются подрезы на
поверхности шва и вынос металла в корне шва.
Расчет оптимальных режимов термического цикла проводят
по схеме предельного состояния процесса распространения теплоты при нагреве
пластин линейным источником.
Далее следует разработка технологии электроннолучевой
сварки узлов гироскопа.
электронный лучевой
сварка гироскоп
4.
Технологическая часть
.1
Характеристика заготовки и требование к материалу
Материалом заготовок для деталей узловтвердотельного
гироскопа (ТГ-1), показанного на рис. 4.1, свариваемого электронно-лучевой
сваркой, служат:
Рис. 4.1
а) сплав 29НК (Ковар) (табл. 4.1., 4.2.);
б) медь марки Ml (табл. 4.3., 4.4., 4.5.).
Поступающий для заготовок материал подвергают
контрольным механическим испытаниям, химическому и спектральному анализу.
Результаты испытаний должны полностью соответствовать требованиям ГОСТа на
этотматериал.
Таблица 4.1
Химический состав сплава 29НК (Ковар)
|
Марка сплава
|
|
Содержание основных элементов, %
|
|
Ni
|
Со
|
Fe
|
|
29НК
|
28.5...29.5
|
17.0...18.0
|
52.5... 54.5
|
Таблица 4.2
Физические и механические свойства сплава 29НК (Ковар)
|
Марка сплава
|
мкОм*м
|
Вт/(м*К)
|
а, м2/с
|
Ср , Дж/(кг*К)
|
МПа
|
<*02 9 МПа
|
Е , ГПа
|
ос* КГ6, град"1
|
|
29НК
|
0.50
|
17.0
|
0.52
|
460
|
580
|
390
|
142
|
3.5...6.5
|
где р - электросопротивление;
X - коэффициент теплопроводности;
а -коэффициент температуропроводности;
Ср-удельная теплоемкость;
ав - предел прочности;
а02 - предел текучести;
Е - модуль упругости; а - температурный коэффициент
линейного расширения.
Структура сплава - однофазный у-твердый раствор,
устойчивый при Т = 70°С. Для примера термический коэффициент линейного
расширения у сплава 50НП: а = 8.9*10"6 град".
Таблица 4.3
Химический состав меди Ml
|
Марка меди
|
Си
|
Fe
|
РЬ
|
Sn
|
Sb
|
Bi
|
As
|
S
|
P
|
Ni
|
Ag
|
Zn
|
o2
|
Сумма примесей
|
|
не менее
|
не более
|
не более
|
|
Ml
|
99.9
|
0.005
|
0.005
|
0.002
|
0.002
|
0.001
|
0.002
|
0.005
|
|
0.002
|
0.003
|
0.005
|
0.050
|
0.1
|
Таблица 4.4
Механические свойства меди Ml
|
Вид полуфабриката
|
ГОСТ
|
Состояние
|
8ю, %
|
Е , кгс/мм2
|
|
Трубы тянутые и холоднокатанные
|
617 - 72
|
Полутвердые
|
25
|
8
|
1200
|
Таблица 4.5
Физические свойства меди Ml
|
Марка меди
|
* Вт/(м*град)
|
кДж/(кг*град)
|
|
Ml
|
385
|
0.377
|
где б]о - относительное удлинение, %.
.2
Электронно-лучевая сварка узлов гироскопа
Электронно-лучевая сварка проводится без присадочного
материала, поэтому детали, предназначенные для сварки, должны иметь в местах
сопряжений технологические отбортовки или буртики, расплавлением которых
обеспечивается высококачественное соединение. Буртики являются также тепловыми
барьерами, препятствующими распространению тепла, развиваемого при сварке, в
изделии.
Высота отбортовки выбирается в зависимости от
суммарной толщины кромок 5i + 82
(рис. 4.2.) по табл. 4.6.
Таблица 4.6
Высота отбортовки в зависимости от суммарной толщины
кромок
|
Суммарная толщина кромок 5i+62, мм
|
Высота отбортовки h, мм
|
|
0.3...0.5 0.5...0.8 0.8...1.0
|
0.8...1.0 1.0...1.6 1.6...2.0
|
Разница по толщине свариваемых кромок сопрягаемых
деталей не должна превышать отношение 1:2.
Детали под сварку изготавливаются точением,
фрезерованием, вытяжкой из стандартного сортамента.
Чистота обработки свариваемых кромок не ниже V 5.
Поверхности деталей приборов должны быть чистыми.
Наличие на них жировых пятен, остатков эмульсий, следов окалины, краски и
других загрязнений не допускается.
Свариваемые кромки должны быть без забоин, рисок и
заусенцев, и не иметь покрытий: меди, никеля и т.д. Величина области, очищенной
от покрытий, должна быть не менее 3...4 толщин наиболее толстой кромки.
Рис. 4.2 Технологическая схема стыковки узлов гироскопа
.3
Технологический регламент производства работ
Способы очистки поверхности и сроки хранения деталей
перед сборкой и сваркой выбираются в зависимости от марок свариваемых
материалов.
После механической обработки и механической зачистки
поверхность свариваемых кромок обезжирить бензином.
Обезжиренные детали положить в спецтару на хранение до
момента сварки.
На деталях, не сваренных за определенные сроки
хранения, повторить очистку, если это допустимо по толщине свариваемых кромок,
с последующим обезжириванием бензином.
Отклонение толщины свариваемых кромок от наименьшего
предельного размера после очистки, для деталей толщиной 0.2...0.3 мм, не должно
превышать 0.02мм и для деталей толщиной 0.4...0.6 мм не должно превышать 0.03
мм. В особых случаях отклонение толщины свариваемой кромки оговаривается
чертежом.
Детали и узлы, применяемые для вакуумплотных
соединений, должны быть газонепроницаемыми и обладать минимальным
газоотделением при достижении вакуума2*10"6 мм рт. ст.
Сварное соединение должно обеспечивать вакуумплотность
не хуже 10" ...10" мм рт. ст.
Глубина проплавления не более двух миллиметров (для
обеспечения возможности переборки прибора).
Исключение перегрева прибора.
Сплав 29НК обладает низким температурным коэффициентом
линейного расширения (ТКЛР) при сравнении с другими сплавами и близок к ТКЛР
стекла. Это обеспечивает стойкость к короблению в процессе охлаждения сварных
швов.
Сплав 29НК хорошо обрабатывается и хорошо сваривается
со стеклом и керамикой, так как в данном приборе присутствуют элементы из
керамики.
4.4
Применяемое оборудование и инструменты при производстве работ
·
установка
УЭЛС-902М (рис. 4.3., табл. 4.7.) [11];
·
микроскоп МБС-9
ТУ 3-3.1210-75;
·
индикатор
часового типа ГОСТ 577 - 68;
·
пинцет ГОСТ
21241-77;
·
стол и стул с
подъемным сидением, удобные для производства;
·
медицинский шкаф
для хранения инструмента, оснастки и вспомогательных материалов;
·
вакуумный шкаф
типа ВШ - 0, 035 М для хранения свариваемых деталей;
·
оправка
технологическая;
·
оправка
фиксирующая и теплоотводящая;
·
экраны
технологические (медная фольга);
·
теплоотводы;
·
однопозиционный
вращатель;
·
тара;
·
отвертка 7810-0081;
·
отвертка
7810-0048;
·
ключи гаечные;
·
скальпель СО-4;
·
ткань
хлопчатобумажная - батист ГОСТ 8474 - 80;
·
ткань
хлопчатобумажная - бязь ГОСТ 11680-76;
·
бензин
авиационный марки Б70 ГОСТ 1012-72;
- спирт этиловый ГОСТ 18300-72;
перчатки х/б ГОСТ 1108-74;
перчатки резиновые технические ГОСТ 20010 - 74;
Рис. 4.3 Установка электронно-лучевая УЭЛС - 902 М: 1
- вакуумная камера; 2 - блок управления вакуумной системой; 3 - блок управления
электронным лучом
Таблица 4.7
Технические данные установки УЭЛС - 902 М
|
Основные технические данные установки
|
Номинальные
|
|
значения
|
|
1. Минимальный диаметр электронного луча на свариваемой
|
|
|
детали, мм
|
0.5...0.8
|
|
2. Максимальное ускоряющее напряжение (плавно
|
|
|
регулируемое), кВ
|
0...25
|
|
3. Максимальный ток луча, мА
|
70
|
|
4. Мощность луча (плавно регулируемая), кВт
|
0...1.25
|
|
5. Скорость сварки:
|
|
|
а) скорость вращения шпинделей однопозиционного
|
|
|
вращателя, об/мин
|
1.5...15
|
|
б) скорость продольного перемещения, м/час
|
10...50
|
|
6. Длительность рабочего цикла (от загрузки до выгрузки),
мин
|
70
|
|
7. Режим сварки
|
Постоянный, импульсный
|
|
8. Длительность импульса, мсек
|
5, 10, 15, 25, 50
|
|
9. Частота повторения импульсов, Гц
|
10, 25, 50, 100, 200
|
|
10. Толщина свариваемого материала, мм
|
0.1...3.0
|
|
тугоплавких, мм
|
ДО 1
|
|
11. Форма швов, габариты их и габариты свариваемых деталей
|
а) Кольцевые швы 070 мм
|
|
на деталях 070 мм и
|
|
высотой 100 мм в
|
|
вертикальных и
|
|
горизонтальных плоскостях
|
|
б) Продольные швы длиной
|
|
100 мм на деталях
|
|
0100*100 мм
|
|
12. Производительность швов в час
|
до 60
|
|
13. Рабочее давление в камере, мм рт. ст.
|
IV4.. .10*
|
|
14. Время откачки до рабочего давления, мин
|
10...15
|
|
15. Внутренние размеры рабочей камеры, мм
|
380*400*450
|
|
16. Потребляемая мощность электроэнергии, кВт
|
8
|
|
17. Энергетика: а) сеть переменного тока, Гц
|
50
|
|
б) напряжение, В
|
380
|
|
в) сеть проточной воды, атм
|
3...4
|
|
18. Габаритные размеры установки, мм
|
1500*940*1700
|
На установках типа УЭЛС используется плазменная
электронно-лучевая пушка (рис. 4.4.). Действие пушки основано на отборе
электронов из прикатодной части низковольтного отражательного разряда.
Конструктивно пушка состоит из: холодного эмиттерного катода с эмиссионным
каналом, через который осуществляется извлечение заряженных частиц;
расположенного против него другого холодного катода с внутренней полостью;
цилиндрического анода и извлекающего электрода. На малых разрядных токах в
системе возбуждается отражательный разряд. С увеличением напряжения на
электродах разрядной камеры реализуется условие разрыва катодной ионной
оболочки, и плазма отражательного разряда проникает в полость, возбуждая в ней
эмиссионные и ионизационные процессы. Отбор электронов из плотной плазмы,
сконцентрированной вдоль оси системы, производится через отверстие в эмиттерном
катоде в момент приложения к извлекающему электроду ускоряющего напряжения.
Управление током электронного луча осуществляется изменением тока разряда.
Рис. 4.4. Схема устройства плазменной
электронно-лучевой пушки
(1), Пушка имеет катод (1), который размещен внутри прикатодного
электрода (2). На некотором удалении от катода находится ускоряющий электрод -
анод (3) с отверстием.
Прикатодный и ускоряющий электроды имеют форму, обеспечивающую такое
строение электрического поля между ними, которое фокусирует электроны в пучок с
диаметром, равным диаметру отверстия в аноде. Положительный потенциал
ускоряющего электрода может достигать нескольких десятков тысяч вольт, поэтому
электроды, эмитированные катодом, на пути к аноду приобретают значительную
скорость и, соответственно, кинетическую энергию. После ускоряющего электрода
электроны движутся равномерно. Питание пушки электрической энергией
осуществляется от высоковольтного источника постоянного тока. Электроны имеют
одинаковый заряд, поэтому они отталкиваются друг от друга, вследствие чего
диаметр пучка увеличивается, а плотность энергии в пучке уменьшается.
Для увеличения плотности энергии в луче после выхода
электродов из анода электроны фокусируются магнитным полем в специальной магнитной
линзе (4). Сфокусированные в плотный пучок летящие электроны ударяются с
большой скоростью о поверхность изделия (6), при этом кинетическая энергия
электронов, вследствие торможения в веществе, превращается в теплоту, нагревая
металл до высоких температур.
Для перемещения луча по свариваемому изделию на пути
электронов помещают магнитную отклоняющую систему (5), позволяющую направлять
электронный луч точно по сварочному стыку.
Для обеспечения беспрепятственного движения электронов
от катода к аноду и далее к изделию, для тепловой и химической изоляции катода,
а также для предотвращения возможности дугового разряда между электродами в
установке создается высокий вакуум не ниже 1,3.10~2 Па (1.10-4
мм рт. ст.), обеспечиваемый вакуумной системой установки.
Работа, затраченная электрическим полем на перемещение
заряда из одной точки в другую, равна произведению величины заряда на разность
потенциалов между этими двумя точками. Эта работа затрачивается на сообщение
электрону кинетической энергии.
Таким образом энергия электронов может достигать
больших значений и зависит от разности потенциалов разгоняющего поля; в
настоящее время эксплуатируются электронно-лучевые установки с ускоряющим
напряжением в электронно-лучевой пушке до 200 кВ.
Физическая картина внешних явлений, сопровождающих
действие электронов на металл, состоит из рентгеновского излучения,
теплоизлучеия, возникновения отраженных, вторичных электронов, испарения
металла в виде атомов и ионов металла. Схема данных явлений изображена на
рис.3.
Вторичные электроны делятся на три группы: упруго
отраженные электроны, энергия которых примерно равна падающим; электроны,
отраженные в результате неупругого соударения и имеющие более или менее большие
потери; собственно вторичные электроны, энергия которых не превышает 50 эВ.
Рис.4.5 Фйзическая картина явлений, сопровождающих
проникновение электронов в веществе:
1 - атомы металла,
- ионы,
- пучок электронов,
-рентгеновское излучение,
- отраженные и вторичные электроны,
- тепловое и световое излучение
Характерные значения параметров сварочных электронных
лучей:
- минимальный радиус пучков 0,1... 1 мм;
Рис.4.6 Типичная форма сварного шва при ЭЛС
энергия 10...200 кэВ;
- мощность - до 120 кВт.
- Основными преимуществами плазменной
электроннолучевой пушки в сравнении с термокатодными источниками являются:
- возможность сварки сильногазящих материалов
(в том числе циркония и его сплавов), сварка которых с использованием
термокатодных источников затруднена из-за быстрой их окисляемости;
возможность работы в широком диапазоне
давлений;
высокий ресурс (порядка 550 А*ч);
высокая производительность, достигаемая за
счет исключения потерь времени на нагрев, остывание, смену катода;
исключение образования пустот в шве при
высоковольтных пробоях ускоряющего промежутка электронной пушки.
Конструктивно электронно-лучевые пушки с
плазменным эмиттером технологичны (не имеют спаев металла с керамикой) и просты
в изготовлении.
- Плотность энергии в источнике нагрева
является одной из основных характеристик источника и определяет его эффективный
коэффициент использования тепла, форму провара, размеры зоны термического
влияния, сварочные деформации и поводки. Электронный луч - наиболее эффективный
источник нагрева металла при сварке, поскольку плотность энергии в луче
превышает плотность энергии электрической сварочной дуги более чем на три
порядка.
- Ниже приведены сравнительные данные по
максимальной плотности энергии (Рmах) и минимальной площади пятна нагрева
(Smіn) для различных видов сварки:
- Вид сварки Smіn, ММ2 Рmах, кВт/ММ2
- Газовая 1 0,5
- Электродуговая 0,1 1,0
- ЭЛС и лазерная 10'5 5-103
- При сварке электронным пучком формируется узкий и глубокий шов.
Глубина проплавления достигает 200...400 мм, а отношение глубины проплавления к
средней ширине шва составляет 20..30 (см. рис.4).
- Столь глубокое проникновение электронов в металл
объясняется образованием канала в сварочной ванне практически на всю ее
глубину. Основным фактором, вызывающим образование канала в жидком металле,
является давление отдачи пара при испарении. В связи с этим канал в сварочной
ванне часто называют пародинамическим.
.4.1 Некоторые
специальные технологические приемы, используемые для обеспечения ЭЛС
- Полное проплавление свариваемого стыка. Это наиболее надежный и простой
способ, позволяющий исключить корневые дефекты, свести к минимуму угловые
деформации, уменьшить вероятность образования пор и раковин благодаря улучшению
условий дегазации металла сварочной ваниы.
- Развертка электронного луча. Широко используются следующие развертки
пучка: продольная, поперечная, X-образная,
по окружности, эллипсу, дуге. Благодаря развертке при сварке металлов болыпих
толщин удается резко расширить диаметр и повысить устойчивость канала в сварочной
ванне, что благоприятно сказывается на стабильности формирования швов:
уменьшается разбрызгивание расплавленного металла,
предотвращается вытекание расплава из ванны при сварке горизонтальным
пучком,
уменьшается склонность к образованию трещин, корневых дефектов и
протяженных полостей.
Без применения развертки практически невозможно избежать корневых
не-проваров при сварке металлов больших толщин, так как весьма сложным
оказывается точно направитъ узкий луч по глубокому стыку при большой
протяженности шва.
- Сварка наклонным электронным пучком. Для сварки металлов большой
толщины рекомендуется постоянное отклонение электронного пучка на 5...7° в
направлении его перемещения по изделию. Этот прием позволяет уменынить
количество пор и несплошностей.
- Модуляция тока электронного пучка. Импульсная модуляция тока
электронного пучка применяется для уменьшения тепловложения и снижения
вероятности образования трещин при сварке тонколистовых (до 1 мм) металлов .
Частота импульсов и скорость сварки выбираются так, чтобы отдельные
проплавленные участки перекрывали друг друга.
- Сварка с присадкой. Этот прием используется достаточно широко для
исправления дефектов шва при больших зазорах в стыке, а также для легирования
металла шва. В качестве присадки может применяться проволока, лента, гранулы, а
также проставка из листового металла (помещается в стык).
- Двусторонняя сварка. Сущность приема заключается в последовательной или
одновременной сварке двух противоположных сторон стыка с глубиной проплавления
около половины толщины стыка. Этот прием применяют для обеспечения возможности
сварки изделий более толстостенных, чем позволяет имеющаяся аппаратура, а также
для избежания дефектов шва, вероятность появления которых возрастает с
увеличением глубины проплавления.
- Сварка начала и окончания продольного шва на выводных планках. Этот
прием используют вследствие затруднения получения нормального качества в этих
участках шва, так как при быстром нарастании и спаде мощности электронного
пучка образуются соответственно аномально большое усиление шва и
"кратер".
- Установки для ЭЛС по степени защиты сварочной ванны от воздействий
атмосферных газов делятся на три класса: для сварки в высоком и промежуточном
вакууме, а также для вневакуумной сварки.
Установки для сварки в высоком вакууме обеспечивают практически полную
защиту металла шва, большие рабочие расстояни и остросфоку сированные
электронные пучки. Такие установки используются для микросварки и размерной
обработки в радиоэлектронике, приборостроении, точной механике, а также для
сварки изделий малых, средних и крупных габаритов в ядерной энергетике,
авиастроении и ракетной технике.
Установки для сварки в промежуточном вакууме -приблизительно13,3...1Па
(10-1...10-2 мм рт. ст.) - отличаются от предыдущих
упрощенной откачной системой сварочной камеры и меньшим временем ее откачки до
рабочего давления. Качество сварных соединений конструкционных сталей,
алюминия, меди при этом вполне удовлетворительное.
- Установки с выводом пучка в атмосферу не имеют сварочной камеры. - --Электронный
пучок через лучепровод сварочной пушки с мощной ступенчатой откачной системой
выводится в атмосферу или защитную газовую среду, где и производится сварка.
Установки этого класса отлича-ются рассеянием электронного пучка в газовой
среде и, как результат - малым рабочим расстоянием. Для установок с выводом
пучка в атмосферу применяются только высоковольтные (175... 200 кВ)
энергетические комплексы.
.4.2
Управление плотностью пучков электронов
Известны следующие способы регулирования мощности
пучка электронов: изменением тока эмиссии катода, подачей напряжения на
управляющий электрод пушки и изменением ускоряющего напряжения.
При управлении током пучка путем регулирования тока
накала происходит существенное изменеие сходимости электронного пучка и, следовательно,
изменяется проплавляющая способность пучка.
Изменение ускоряющего напряжения приводит к изменению
фокусного расстояния магнитной линзы и угла отклонения пучка, поэтому данный
способ также не применяется в современных энергоблоках для ЭЛС.
Основным способом регулирования мощности пучка,
стабилизации заданного ее значения, импульсной модуляции, плавного уменьшения
при прекращении сварки является подача управляющего напряжения на прикатодный
электрод сварочной пушки. Перечисленные функции обычно выполняются с помощью
блоков, условно называемых модуляторами.
.4.3
Управление положением пучков-электронов
Для расширения технологических возможностей
электронных пушек широко используется отклонение электронного пучка от оси
симметрии пушки с помощью электромагнитной отклоняющей системы. В частности,
таким образом осуществляется точное совмещение пучка со стыком, поиск стыка,
сканирование пучка в процессе сварки, изменение диаметра пучка, предшествующая
и послесварочная термообработки и т. д.
Система отклонения электронного пучка включает
собственно отклоняющую электромагнитную систему с двумя парами взаимно
перпендикулярных катушек и систему управления отклонением, в состав которой
входят программные устройства, задающие закон отклонения пучка во времени.
Программные устройства условно можно разделить на устройство для медленного
перемещения пучка по сварочной траектории и устройства для быстрых отклонений
пучка, отвечающие за необходимую плотность энергии пучка и воздействующие на
гидродинамические процессы в сварочной ванне.
Важной проблемой для ЭЛС является поиск стыка в
процессе сварки. Малая ширина сварного шва и большое отношение глубины к ширине
шва требуют точного совмещения пучка электронов с плоскостью свариваемого
стыка. Требуемая точность зависит от толщины свариваемых изделий, но обычно
должна быть не ниже ±0,1 мм. Возможность точного визуалъного позиционирования,
непосредственно через иллюминаторное окно, через оптическую систему либо с
помощью телевизионных систем наблюдения, ограничены явлением металлизации
иллюминаторов и выходных оптических устройств, а также из-за ысокой яркости свечения сварочной
ванны на фоне плохо освещенной прилегающей поверхности изделия.
Положение стыка непосредственно перед зоной сварки в
процессе ее выполнения удается корректировать перемещением пушки с помощью
механических щупов. Однако применение механического щупа требует значительной
разделки кромок или специального технологического выступа (буртика) для
облегчения зацепления со щупом, а также не позволяет компенсировать отклонение
пучка остаточными магнитными полями.
Чтобы иметь возможность контролировать и этот фактор,
для определения истинного положения пучка используют явление
вторично-электронной эмиссии от металлической поверхности, облучаемой
острофокусным пучком электронов. При пересечении стыка пучком электронов
изменяются интенсивность потока отраженных электронов и ее распределение в
пространстве. Как только первичный пучок начнет перекрывать линию стыка, то
есть хотя бы частично станет проникать сквозь зазор между кромками, отраженный
ток уменьшится. Эти сигналы регистрируются датчиком, происходит их
сопоставление с заранее заданным уровнем и, как результат, корректируется
движение пушки. На основе использования вторично-эмиссионного сигнала от стыка построен
ряд широко при-меняемых устройств позиционирования сварочного пучка: растровых
телевизионных (в них съемочная камера заменена сварочной пушкой с датчиком
вторичных электронов), приборов «Рефлектрон» или «Прицел» (представляют собой
упрощенный вариант растровых телевизионных систем), систем с предварительным
обучением.
Системы с предварительным обучением строятся на
принципе запоминания первичной траектории взаимного перемещения пучка и
изделия, контролируемого оператором визуально или, например, с помощью прибора
"Прицел". Наиболее эффективно применение таких систем при
необходимости многократных проходов пучком электронов по траектории стыка.
Электромеханический комплекс установки предназначен
для герметизации и вакуумирования рабочего объема, выполнения всех сварочных,
установочных и транспортных перемещений свариваемого изделия и электронной
пушки. Электромеханический комплекс сварочной установки состоит из ряда
функциональных систем, основные из них перечислены ниже:
Сварочные вакуумные камеры. Такие камеры относятся к
наиболее важным и трудоемким узлам установки для ЭЛС. От их формы, конструкции,
жесткости и габаритов зависят возможные размеры и качество свариваемых за одну
садку изделий, удобство их загрузки и выгрузки, возможность пристыковки дополнительных
объемов в нужном направлении и др.
По степени специализации различают два типа камер: универсалъпые и
специализированные.
Универсальные камеры предназначены для сварки изделий
любой формы и габаритов в пределах рабочего пространства камеры. Такие камеры
используются в единичном и мелкосерийном производстве и выпускаются в
соответствии с принятыми параметрическими рядами. Это дает возможность выбрать
камеры наиболее подходящих размеров применйтельно к конкретным изделиям.
Специализированные камеры тесно увязаны с конструкцией
и габаритами конкретного изделия (или группы изделий). В ряде случаев
специализированные камеры выполняются по форме свариваемого изделия.
К камерам сварочных установок предъявляются
разнообразные, часто противоречивые требования:
1) по объему камеры. Объем должен быть, с одной
стороны, достаточным для размещения и рабочих перемещений изделий; с другой
стороны, этот объем должен быть минимально возможным с целью сокращения времени
откачки;
2) по протяженности разъемов. Камера должна
обеспечивать удобный доступ в рабочую зону для загрузки, выгрузки и
обслуживания; вместе с тем камера должна иметь минимальное количество разъемов
с вакуумными уплотнителями и открывающихся крышек, так как они являются
вероятными местами натекания атмосферного воздуха и чаще всего пропускают
рентгеновское излучение;
3) по металлоемкости. Камеры должны иметь минимальную
металлоемкость и быть технологичными, в то же время необходимо обеспечить
механическую прочность и жесткость всех их элементов, а также биологическую
защиту оператора от рентгеновского излучения.
Известны камеры прямоугольной и цилиндрической формы.
В современных конструкциях установок преимущественно
применяются прямоуголъные камеры. Это объясняется, прежде всего, их
универсальностью, В таких камерах наиболее эффективно используются подвижные
сварочные пушки, сменные манипуляторы изделия. Кроме того, объем таких камер
сравнительно легко увеличить пристыковкой дополнительных секций.
Цилиндрические камеры применяются реже, так как они
менее универсальны и хуже приспособлены к работе с перемещающимися внутри
камеры сварочными пушками, что дает низкий коэффициент использования объема
сварочной камеры.
Изготавливаются сварочные камеры чаще из
конструкционных сталей, их коррозионная стойкость, как правило, достаточна в
связи с тем, что внутренние поверхности камеры в процессе работы покрываются
конденсатом свариваемых металлов. Применение коррозионностойких сталей
оправдано в том случае, когда по условиям производства необходимо периодически промывать
камеру агрессивными растворителями.
.4.4
Откачные системы
Такие системы служат для создания и поддержания в
процессе работы высокого вакуума, в ускоряющем промежутке сварочной пушки и
сварочной камере. Откачные системы крупногабаритных камер включают, как
правило, насосы предварительного разрежения, форвакуумные, бустерные насосы и
высоковакуумные агрегаты (паромасляные, геттерные и турбомоле-кулярные). Насосы
предварительного разрежения (например, типа РВН) создают начальное разрежение в
камере. Далее, форвакуумные (типа НВЗ, АВЗ и др.), в заключение высоковакуумные
агрегаты (типа АВП, АВЭД и др.) В ряде случаев для получения более высокого
вакуума в районе элек-тронно-лучевой пушки применяют дополнительные вакуумные
системы - менее производительные, но обеспечивающие высокий «безмасляный»
вакуум (с использованием турбомолекулярных насосов). При этом полость катодного
узла не загрязняется парами масел.
.4.5
Сварочные манипуляторы
Сварочные манипуляторы предназначаются для сварочных,
установочных и транспортных перемещений свариваемого изделия и электронной
пушки. Они делятся на две группы: манипуляторы изделия и манипуляторы пушки.
Первые являются обязательным элементом практически любой установки, а вторые
используются в тех случаях, когда сварочная пушка перемещается внутри вакуумной
камеры.
По конструктивному исполнению сварочные манипуляторы
подразделяются на универсальные с большим количеством степеней свободы и
специализированные для сварки конкретных изделий. Применение сложных
универсальных манипуляторов целесообразно при единичном и мелкосерийном
производстве с частой сменой типа свариваемых изделий. Выполняются они чаще
всего в виде тележек, вращателей, двухкоординатных столов и т.п. Манипуляторы
сварочной пушки могут быть выполнены, например, в виде шарнирнорычажных
устройств, в виде направляющей траверсы, по которой перемещается каретка с
шарнирно-закрепленной на консоли сварочной пушкой и пр.
.4.6
Системы наблюдения
Особенностью систем наблюдения при ЭЛС является
необходимость защиты их от запыления парами свариваемых материалов и от
теплового воздействия сварочной ванны. В качестве защитных устройств могут
применяться поворотные прозрачные экраны и прозрачные перемещаемые защитные
пленки.
Смотровое окно кроме прочного иллюминаторного стекла
содержит рентгеновское стекло для защиты персонала от рентгеновского излучения
из сварочной ванны.
Оптические устройства, увеличивающие объект
наблюдения, как правило, в 5...50 раз, могут быть независимыми и встроенными в
конструкцию смотрового окна или сварочной пушки.
Телевизионные системы дают возможность передавать
изображение на большое расстояние и устанавливать сварочный стык в
непосредственной близости от сварочной пушки.
.5
Подготовительная опперация
1.
Включить
установку и подготовить ее к работе, согласно инструкции по эксплуатации.
2.
Места сварки на
деталях протереть батистовой салфеткой, смоченной в спирте.
3. Установить оправку с деталью воднопозиционный
вращатель установки. Проверить биение свариваемых кромок с помощью индикатора
часового типа или других средств контроля. Радиальное биение деталей не должно
быть более 0.05 мм.
4. Закрыть камеру, создать в камере остаточное
давление 1.33*10"2...6.65*10_3 Па (3*10"4...5*10"6
мм. рт. ст.).Выполнять согласно инструкции по эксплуатации установки.
4.6
Технология сварки узла ниппель-заглушка
. Установить ниппель поз.1 и заглушку поз.2 в оправку.
Работу проводить в перчатках. Далее смотри пункты 3...4 разд. 3.5.
2. Установить ток луча 0.5... 1.0 мА и визуально
создать минимальное фокальное пятно луча на поверхности изделия, одновременно
совместить электронный луч со свариваемыми кромками деталей с помощью
перемещения электронной пушки. Выполнять согласно инструкции по эксплуатации
установки.
3. Установить режим сварки:
·
ускоряющее
напряжение, кВ-16
·
ток луча, мА-20
·
скорость сварки,
об/мин- 6
4.
Произвести сварку
деталей за один проход с перекрытием шва на 10% от длины шва.
5.
Убрать ток луча
до 0. Визуальным осмотром через смотровое окно убедиться в отсутствии
непроваров. Убрать ускоряющее напряжение и отключить вращение.
Примечание: при наличии непроваров произвести
повторную сварку по режимам пЗ,
6.Выдержать сваренный узел в вакууме в течение пяти
минут до охлаждения.
7. Развакуумировать камеру и снять сваренный узел.
Уложить его в тару.
.7
Технология сварки узла корпус-крышка
. Установить корпус поз.5 в приспособление (оправка).
В корпус установить крышку поз.6. При работе использовать перчатки.
. Произвести операции, руководствуясь пунктами 3...4
разд. 4.6.
3. Произвести операцию, руководствуясь п.2 разд. 3.6.
. Установить режим сварки:
·
ускоряющее
напряжение, кВ-16
·
ток луча, мА-20
·
скорость сварки,
об/мин- 6
5. Произвести операции, руководствуясь пунктами 4...8
разд. 3.6.
Примечание: при наличии непроваров произвести повторную
сварку по режимам п. 4.
.8
Технология сварки гироскопа (герметизация)
. Установить корпус поз. 5 вприспособление
(фиксирующая и теплоотводящая оправка). Установить колодку поз. З в
соответствующее посадочное место корпуса. Установить ниппель с заглушкой в
соответствующее посадочное место колодки. Установить соответствующие
теплоотводы, технологические экраны. При работе использовать перчатки и пинцет.
2.
Произвести
операции, руководствуясь пунктами 3...4 разд. 4.6.
3.
Произвести
операцию, руководствуясь п.2 разд. 4.7.
Установить
режим сварки:
ускоряющее
напряжение, кВ - 14
ток
луча, мА - 20
скорость
сварки, об/мин -10
5. Произвести операции, руководствуясь пунктами 4...8
разд. 4.6.
Примечание: при наличии непроваров произвести
повторную сварку по режимам п. 4.
6. Сварку деталей производить поочередно, повторив
переходы разд. 4.6., разд. 4.8. настоящей технологии.
А) Варить колодку с корпусом.
Б) Варить заглушку ниппеля к колодке.
.9
Контрольная операция
. Визуально с помощью микроскопа, осмотреть поверхность
сварного шва на отсутствие раковин, несплавлений металла и прожогов.
2. Поверхность сварного шва должна быть гладкой,
ровной, с плавным переходом к основному металлу.
3. Наличие на поверхности шва наплывов, не выступающих
за размеры, указанные в чертеже, а также потемнение поверхностей, прилегающих к
кромкам, не являются браковочным признаком.
4. Передать узел на контроль герметичности.
5.
Контроль качества сварных швов гироскопа на герметичность
5.1
Применяемые оборудование, приспособления, инструмент
Пост контроля на герметичность:
·
Течеискатель
ПТИ-10 (рис. 5.1.).
·
Баллон с гелием,
редуктором, гибким шлангом, заканчивающийся иглой 00.5 мм.
·
Столик с
наклеенной шлифованной вакуумной резиной.
·
Стеклянный
вакуумпровод с лампой ПМТ-2.
Разработанное приспособление:
- Подставка для проверки узла ниппель - заглушка.
Цеховые приспособления:
·
Приспособление
для проверки колодки с кольцом.
·
Приспособление
для проверки гермовводов.
·
Приспособление
для проверки кожуха.
·
Приспособление для
проверки вваренной крышки в корпус.
Рис.5.1 Течеискатель ПТИ-10
·
Приспособление
для проверки прибора с вваренной колодкой и ниппелем.
·
Приспособление
для проверки сваренного технологического фланца (заглушки) с ниппелем и прибора
в целом.
·
Приспособление
для проверки колодки, сваренной с кольцом.
5.2
Материалы
·
Гелий ТУ
51-940-80.
·
Жидкий азот
технический ГОСТ 8293 - 74.
·
Батист, стиранный
с подрубленными краями ГОСТ 8474-80.
·
Смазка вакуумная
(типа смазки Рамзая) ОСТ 380183-75.
·
Спирт этиловый
ГОСТ 18300-72.
·
Капроновые
перчатки.
5.3
Технические требования к оборудованию
1. Стенд для проверки герметичности масс
-спектрометрическим течеискателем должен обеспечивать проверку:
·
интегральным
методом (методом гелевой камеры);
·
локальным методом
(методом обдува), позволяющим определить локальные течи в приборе.
2.
Стенд для
проверки герметичности масс спектрометрическим течеискателем должен
обеспечивать возможность проверки при нормальных температурных и атмосферных
условиях, а также отличных от нормальных, соответствующих рабочим или
эксплуатационным режимам прибора.
3.
Стенд для
проверки герметичности приборов должен обеспечивать присоединение к нему
проверяемых приборов. Присоединение приборов к стенду может производиться:
а) на присос к резиновому уплотнению за счет перепада
давлений между атмосферой и величиной предварительного вакуума;
б) через штепсель (медную или стеклянную трубку) с
помощью резинового шланга.
4. Стенд (пост) для проверки герметичности должен
обеспечивать предварительный вакуум не выше 2*10"2 тор по
истечении 10 мин с момента включения форвакуумного насоса. Установка ПТИ - 10
должна обеспечивать вакуум не выше 5*10"4 тор через два часа
после включения диффузионного насоса.
5. Система стенда и установки могут быть выполнены из
стекла или металла.
6. Трубопроводы и места соединений должны быть
герметичны при проверке их на течеискателе типа ПТИ методом обдува.
7. Периодическая чистка установки должна производиться
по мере загрязнения, но не реже чем один раз в год. Стеклянные краны должны
быть смазаны вакуумной смазкой, типа смазки Рамзая, нагретой до температуры
60... 100°С.
8. Игла для проверки герметичности не должна иметь
механических повреждений и нарушений герметичности. При засорении и выходе из
строя иглы она должна заменяться новой. В перерывах между испытаниями игла
должна храниться в чехле. Во избежание засорения не рекомендуется касаться
щупом поверхности проверяемых деталей и прибора.
.4 Типовой
технологический процесс
. Подготовить течеискатель ПТИ-10 к проверке на
герметичность в соответствии с инструкцией по эксплуатации.
2. Детали и приборы поставляются на место проверки на
герметичность в специальной таре с соблюдением вакуумной гигиены.
3. Установить прибор или деталь на стенде для проверки
герметичности, присоединить их к вакуумной системе стенда и создать в нем
вакуум не хуже 2*10~3 тор. Подсоединить вакуумную систему с
исследуемым прибором или деталью к вакуумной системе течеискателя ПТИ-10.
Примечание: исследуемые детали или прибор достаются из
тары рукой, одетой в капроновую перчатку и последующие манипуляции с прибором
или деталью осуществляются руками в перчатках вплоть до укладки их обратно в
тару.
4.
Соединить
внутреннюю полость прибора или детали с вакуумной системой течеискателя.
5.
Отсоединить
откачку прибора или детали (в дальнейшем именуемые «изделием») от откачной
системы стенда и зафиксировать величину показаний выходного вольтметра
течеискателя.
6. Обдуть струей гелия места герметизации и всю
поверхность исследуемого изделия. Скорость перемещения иглы не более 3 мм/с,
струя гелия должна быть непрерывной.
7. В изделии отсутствуют течи, если отклонение
стрелки выходного вольтметра течеискателя не превышает значение, замеренное по
п.5 (см. выше), на величину, соответствующую минимально регистрируемому потоку
течеискателя.
Изменение величины сигнала при поднесении иглы
обдувателя к месту течи свидетельствует о наличии течи в данном месте.
8.
Отсоединить
вакуумную систему стенда от вакуумной системы течеискателя.
9.
Отсоединить
изделие от вакуумной системы стенда, соединить его с атмосферой и демонтировать
от стенда.
10.
Положить изделие
в тару, предварительно протерев батистом, смоченным в спирте, места
соприкосновения изделия с приспособлением вакуумного стенда.
6.
Экономическая часть
.1 Оценка эффекта от разработки и
реализации технологии изготовления твердотельного гироскопа с применением
электронно-лучевой сварки
В развитых странах уделяется большое внимание исследованиям в области
вакуумных пучковых технологий. Особенностью этих технологий является низкая
стоимость сырья и высокая стоимость технологии в конечном продукте. Рыночная
стоимость 1 кг. товарной продукции производимой с помощью пучковых технологий
составляет 10-30 тыс. долл. США, что в 1000 раз выше, чем в машиностроении и на
порядок выше, чем в микроэлектронике. Потенциальный объем рынка пучкового
оборудования и технологий на его основе исчисляется миллиардами долларов США.
Этот результат будет достигнут за счет вывода на рынок новых продуктов:
автоматизированного вакуумного ионно-плазменного оборудования для осаждения
сверхтвердых, функциональных покрытий на детали машин и механизмов, стекло и
фурнитуру, электронно-лучевого оборудования для сварки и наплавки градиентных,
монолитных, высокотемпературных покрытий с аномальной абразивной устойчивостью
на детали машин и механизмов, электронно-лучевых установок для модификации
поверхностных слоев в материале импульсными низкоэнергетическими электронными
пучками, электронно-лучевых стерилизаторов материалов медицинского назначения,
создания производства услуг по защите от абразивного высокотемпературного
износа рабочей поверхности стенок кристаллизаторов машин непрерывной разливки
стали, режущего и штампового инструмента, сварки медных доменных холодильников
и т.д.
Производимые в рамках проекта пучково-плазменные энергокомплексы
полностью автоматизированы и не уступают по качеству технологического дизайна
лучшим мировым аналогам (компания Balzers, Sun coating Inc. США, Leibold heraeus
Gmbx, Metaplass Corp. Германия) и при этом их цена в 2-2,5 раза ниже.
Технологии модификации и упрочнения инструмента, деталей машин и механизмов
уникальны и позволяют добиться в разы более высоких прочностных свойств и
ресурса работы изделий по сравнению с традиционными технологиями
химико-термической обработки и нанесения покрытий, являясь при этом
экологически чистыми.
Детали машин и механизмов при незначительном износе (0,1-1,0 мм) рабочей
поверхности, не годятся для дальнейшей эксплуатации. Предложить технологическое
решение данной проблемы возможно только на базе современных
электронно-ионно-плазменных технологий. Применение пучково-плазменных
технологий в металлообработке, энергетическом и общем машиностроении,
электронной и электротехнической промышленности, медицинской техники способно
обеспечить значительную экономию материальных и энергетических ресурсов,
экологическую чистоту производства, замещение вредных химико-термических
технологий, увеличение ресурса работы деталей машин и технологического
оборудования в 3-4 раза. Во многих случаях становится возможным многократное
увеличение ресурса работы. Изношенные детали машин в большинстве случаев
подлежат переплавке и проходят полный цикл от изготовления металла, заготовки и
новой детали, включая химико-термическую и термическую обработку, что требует
больших энергетических и трудовых затрат. При переплавке изношенных деталей
выгорает 20% металла, в первую очередь таких дефицитных и дорогостоящих
элементов, как Сr, Ni и др. При ремонте машин затраты на запасные части
составляют примерно 60% стоимости ремонта. Восстановление деталей,
себестоимость которых в 1,5-3,0 раза ниже новых, значительно уменьшает
стоимость ремонта машин.
Лидерами производства установок для нанесения покрытий на стекла являются
фирмы BOC Group и Sun Coating
Inc., которые наносят покрытия на
устаревших конвейерных установках, процесс экологически вреден, узкая гамма
расцветок. С помощью ионно-плазменного оборудования получаются следующие типы
покрытий: низко-эмиссионные, прозрачные электропроводящие, солнцеотражающие с
широкой гаммой цветов, зеркальные.
Лучшие мировые аналоги ионно-плазменного оборудования - продукция
компаний Balzers (США), Metaplass Corp. (Германия). Разработанные ионно-плазменные установки
не уступают по качеству технологического дизайна лучшим мировым аналогам.
Технологии модификации и упрочнения инструмента, деталей машин и механизмов
уникальны и позволяют добиться в разы более высоких прочностных свойств и
ресурса работы изделий по сравнению с традиционными технологиями, являясь при
этом экологически чистыми. Твердость создаваемых покрытий 30-60ГПа.
В настоящее время в сварочных электронно-лучевых установках используются
пушки с термокатодом, которые не способны устойчиво работать в условиях
технического вакуума и угара легирующими элементами. Это накладывает
ограничения на технологические процессы сварки, требует на порядок больших
энерго- и временных затрат для достижения требуемого вакуума (10-3
Па), накладывает жесткие требования на условия стабилизации пучка и вакуума.
Электронные пушки с плазменным катодом позволяют решить проблему
стабилизации электронного пучка в технологических процессах сварки при низком
вакууме (0,1 Па) в атмосфере легирующих присадок (W, Co, Ni, Cr, Mo и.т.д.).
Использование пушек с плазменным катодом обеспечивает надежную работу
электронно-лучевых установок с наработкой более 1 года, сокращает в 10 раз
энергопотребление вакуумной системы за счет ускорения процесса создания вакуума
в камере.
Для решения задач модификации поверхности материалов и изделий используют
импульсные лазеры и генераторы мощных ионных пучков. Лазерные пучки имеют на
порядки меньшее сечение, низкую глубину проникновения в материал, колоссальную
энергоемкость и стоимость. Японская компания ITAC Ltd по лицензии ИСЭ СО РАН
выпускает опытные партии данных установок для корпорации Sodick Group Corp.,
выпускающей электроэрозионное оборудование. Очистка и полировка поверхности с
помощью пучкового импульсного оплавления в 50-100 раз более производительна по
сравнению с традиционными методами. По сравнению с импульсными лазерами
установка имеет существенно больший диаметр пучка (10см), высокую
энергетическую эффективность (глубина обработки 1-10мкм), низкую стоимость. По
сравнению с генераторами мощных ионных пучков установка обеспечивает 100%
поглощение пучка с плотностью энергии до 20 Дж/см2 без образования
радиационного излучения. Установка обеспечивает мгновенную полировку (лучше 14
класса) материалов (включая твердые сплавы) непосредственно после
электроэрозионной или мехобработки.
Мировые лидеры в области PVD
покрытий - HAUZER TECHNO COATING (Голландия) и INFICON (объединение компаний BALZERS, LEYBOLD,
PFIFFER и US INFICON). Стоимость оборудования таких компаний составляет
$1,2-1,45 млн. (немецкая установка СС800 - $1,2 млн., японская UBMS-707 компании KOBE STEEL Co. - $1,45 млн, голландская HTC-1000 - $1,2 млн.), причем коррозионно-стойкие
покрытия формируются с помощью создания гальваническим способом подслоя перед
нанесением PVD покрытия. Сегодняшняя доля этих
компаний в странах EC - 38 % (для декоративных покрытий). Согласно
исследованиям компании TRYKOR Inc (США) для
значительного роста рынка заменителей гальванотехнологий необходимо снизить в 2
раза стоимость PVD оборудования.
Цена оборудования для нанесения PVD защитно-декоративных
покрытий компании "Elan-Praktik"
- $0,6 млн., что в несколько раз выше цены предлагаемых в данном проекте PVD установок - 3,5 млн. руб.
Рынок вакуумного оборудования и технологий нанесения износостойких,
упрочняющих и восстанавливающих покрытий стремительно растет (10-15% в год). В
России спрос на данное оборудование и технологии реально формируется начиная с
2000 года в связи с оживлением промышленного производства. Прежде всего, это
происходит, в платежеспособных отраслях, таких как авиадвигателестроение,
транспорт, нефтяная и газовая промышленность, атомная промышленность,
металлургия, фармацевтика, полиграфия. В целом же мировой рынок оборудования
для реализации технологий обработки и модификации поверхности материалов в
различных отраслях промышленности оценивается зарубежными экспертами в 13-15
млрд. долларов США.
По данным журнала International Manufacturing Technology (Канада) емкость мирового рынка
услуг по нанесению высокопрочных износостойких покрытий - $1.2 млрд. USD, при ежегодном росте 10-15%, емкость
мирового рынка оборудования по нанесению таких покрытий - $3.9 млрд. USD, при ежегодном росте 11%. В сегменте
оборудования по нанесению PVD
защитно-декоративных покрытий на потребительские товары размер рынка на
декоративные защитные покрытия в России составляет около 10 миллионов долларов
в год, в то время как размер мирового рынка - 100-200 миллионов долларов. В
области упрочняющих покрытий размер российского рынка оценен на уровне 30-50
млн. дол. в год, в то время как размер мирового рынка -$2-3 млрд. в год.
Электронно-лучевая технология сварки и наплавки очень перспективна для
нанесения износостойких покрытий на стенки кристаллизаторов машин непрерывного
литья заготовок (МНЛЗ) в металлургическом производстве. Емкость рынка услуг по
упрочнению стенок кристаллизаторов составляет около 875 млн. Евро/год (87500
шт. кристаллизаторов в год, из расчета 50 шт. комплектов).
7.
Безопасность
.1 Общие
требования безопасности
. К выполнению работ по данному технологическому
процессу допускаются лица не моложе 18 лет, прошедшие медицинский осмотр.
2. При выполнении технологического процессамогут
возникать следующие опасные и вредныепроизводственные факторы:
·
повышенный
уровень шума на рабочем месте;
·
повышенное
значение напряжения в электрической цепи, замыкание которой может произойти
через тело человека;
·
загрязнение
воздуха рабочей зоны вредными веществами.
3. Все токонесущие части должны быть надежно
изолированы. Электрооборудование должно быть заземлено в соответствии с
требованиями ГОСТ 12.1.030-81.
4. Использованный обтирочный материал собирать в
металлический ящик с плотно закрывающейся крышкой, который по окончании работы
необходимо чистить.
.При выполнении работ, связанных с применением жидкого
азота, рабочие должны выполнять требования безопасности по ГОСТ 9293 - 74.
6. Освещенность рабочего места должна отвечать
требованиям СНиП 11 - 4 - 79.
7. Перед электронно-лучевой сваркой внутреннюю
поверхность камеры и приспособления для сварки (технологические оправки,
теплоотводы, экраны) протереть салфеткой, смоченной бензином и провентилировать
в течение 10... 15 мин.
. Уплотнение двери камеры из вакуумной резины
необходимо протирать ежедневно перед началом, и после окончания работ
салфеткой, смоченной спиртом.
9. На рабочем месте сварщика должны находиться:
1)
чертежи
гироскопа;
2)
технология;
3)
паспорт и
технологическая инструкция на установку УЭЛС - 902 М.
10. При сборке деталей в сварочном приспособлении
следить за тем, чтобы свариваемые кромки были тщательно подогнаны по всей длине
соединения.
. При сварке деталей в сварочном приспособлении
свариваемые поверхности должны плотно прилегать к теплоотводам по всей длине
соединения.
. Зазор между свариваемыми кромками не более 0.05 мм.
Поверхность прибора не подлежащая сварке должна быть
закрыта от возможного напыления технологическими экранами (фольга).
13. Сварку производить за один проход с перекрытием
шва на 10% от длины шва.
14. Поверхность деталей, подлежащая сварке, должна
быть чистой, не иметь жировых пятен, следов коррозии, влаги, а также летучих
веществ, испаряющихся в вакууме.
15. Свариваемые кромки не должны иметь рисок,
заусенцев, искривлений, местных утолщений, забоин.
.2 Анализ
производственных опасностей и вредностей. Разработка мер по их снижению
.2.1
Метеоусловия
Метеоусловия или микроклимат в производственных условиях определяется
следующими параметрами: ГОСТ 12 - 1. 005 - 83
· температура воздуха t (C0),
· относительная влажность j (%),
· скорость движения воздуха на рабочем месте V (м/с). Работы,
выполняемые в цехе, относятся к категории работ средней тяжести 2 б, затраты
энергии на эти работы не превышают 628 кДж/с.
Нормы метеоусловий для холодного и переходного периодов и для теплового
периода года:
· для холодного и переходного периодов при температуре наружного воздуха
ниже 100С - температура воздуха в производственном помещении 17…190С,
влажность воздуха 30…60%, скорость движения воздуха не более 0,3 м/с;
· для теплого периода года при температуре наружного воздуха 100С
и выше - температура воздуха в производственном помещении 20…220С,
влажность воздуха 75%, скорость движения воздуха 0,7…1,5 м/с.
Для поддержки таких метеоусловий в цехе предусмотрена в холодный период
года центральное паровое отопление, в качестве нагревательных приборов
применяются радиаторы, ребристые трубы и регистры из гладких труб. Задачей
вентиляции является обеспечение чистоты воздуха и заданных метеоусловий в
производственном помещении. Вентиляция достигается путем удаления загрязненного
воздуха из помещения и подачей в него свежего воздуха. В цехе, в теплый период
года, происходит естественная вентиляция, аэрация, за счет открытых дверей,
ворот и оконных фрамуг. Аэрация в помещении происходит за счет разности
температуры воздуха в производственном помещении и температуры воздуха вне
помещений цеха. Так как высота цеха 8,4 метра, то при аэрации перемещаются
большие объемы воздуха, но этого не достаточно, особенно в теплый период года,
поэтому применяют обще-обменную вентиляцию. При обще-обменной вентиляции
обеспечивается поддержание необходимых параметров воздушной среды во всем
объеме помещения. Система обще-обменной вентиляции - притоко-вытяжная
вентиляция. Требуемая производительность вентиляции определяется исходя из
количества работающих в помещении цеха. Требуемый расход воздуха:
= N ´ N¢, (6. 1)
где L - требуемый расход воздуха для производственного помещения м3/ч;-
количество работающих человек, N = 17 чел.;’ - расход воздуха на
одного работающего, N = 123,5 м3/ч
= 123,5 ´ 17 =
2100 м3/ч
Подбор вентилятора производится по его аэродинамическим характеристикам:
· требуемая производительность вентилятора
· развиваемое давление
Нв = 1,1 Нп = 1,1 ´ 805 = 886 Па.
При выборе вентилятора по аэродинамическим характеристикам КПД
вентилятора ЦЧ - 70 № 32 h =
0,8, число оборотов крыльчатки n = 250 с-1. Выбираем по полученным
данным электродвигатель для чего используем КПД вентилятора и число оборотов ([3]).
Предварительно рассчитываем потребную мощность электродвигателя:
, (6.2)
где
LB - производительность вентилятора, LB = 2420 м3
/ ч;b - развиваемое вентилятором давление, Hb = 886 Па;-
коэффициент запаса мощности, К = 1,05 … 1,10;
hb - КПД вентилятора, hb = 0,8;
hn - КПД подшипников, hn = 0,96 … 0,97;
hp - КПД передачи (ременной или редуктора) hp = 1
Выбираем
электродвигатель серии А, тип двигателя А 02 - 31 - 2, мощность 3кВт (3000
об/мин).
.2.2
Освещенность
Искусственное освещение выполняется системой общего освещения. Для
освещения помещения высотой более 4 метров, а наш цех имеет высоту 6 метров,
применяют лампы высокого давления ДРЛ, ДРИ. При использовании этих ламп и
системы общего освещения равномерное освещение горизонтальной поверхности для
расчета применяется метод горизонтальной поверхности коэффициента использования
светового потока. Световой поток лампы:
,
где
Ен - нормируемое значение освещенности, Ен = 200 Лк;-
площадь освещенного помещения, S = 1980 м2;3 -
коэффициент запаса, учитывающий зануленность помещения и уменьшение светового
потока лампы в процессе эксплуатации (для газоразрядных ламп) при содержании в
рабочей зоне пыли от 1…5 на 1 м2, k3 = 1,8;- коэффициент
неравномерности освещения, Z = 1,15;- количество светильников в помещении цеха;
h - коэффициент
использования светового потока, устанавливается в зависимости от индекса
помещения и коэффициента отражения потока rn, смен rc, рабочей поверхности или пола rp, h = 0,71.
Количество
светильников в помещении цеха рассчитывается по формуле:
, (6. 4)
где
l1 и l2 - расстояние между светильниками в ряду и между
смежными рядами светильников.
Принимаем
для цеха по ЭЛС лампы типа ДРЛ (газоразрядные лампы) дожде-защитные РСП05 -
1000 - 103, мощность лампы 1000 Вт, диаметр лампы 610 мм, высота 677 мм.
шт,
принимаем
расчетное количество светильников 28 штук.
, (6. 5)
где
а длина помещения;- ширина помещения;- высота подвеса светильников над
освещаемой поверхностью,
=
H - hc - hp, (6. 6)
где
H - высота помещения цеха, Н = 8,4 м;p - высота рабочей поверхности
пола, hp = 1,2 м;c - высота светильника, hc =
0,6777 м;
=
8,4 - 0,677 - 1,2 = 65 м
При
i = 3 коэффициент использования светового потока h = 0,5
Лм
При
полученной величине светового потока, равного 56000 Лм, лампа ДРЛ 1000 подходит
по параметрам к выбранной мощности лампы - 1000 Вт, напряжение сети - 220 В,
световой поток - 57000 Лм. Размер лампы диаметр 181 мм, длинна подвеса 410 мм,
тип цоколя Е 40.
Для
цеха ЭЛС применяем совмещенное освещение. Естественное освещение в цехе -
боковое, оно осуществляется через световые проемы в наружных стенах.
Основная
задача производства создать наилучшие условия труда и условия видения. Эта
задача осуществляется только осветительной системой, отвечающей следующим
требованиям. Характеру зрительной работы должна соответствовать такая
освещенность, которая должна соответствовать следующим параметрам:
· объект различия - размер рассматриваемого предмета, отдельная его часть
или дефект, который надо видеть во время работы. Для цеха применяем наименьший
размер объекта различения 0,3…0,5 мм - это соответствует высокой точности
характера зрительной работы;
· фон - поверхность, прилегающая непосредственно к объекту
различения, на которой он рассматривается, характеризуется коэффициентом
отражения, зависит от цвета и фактуры поверхности, значения которого находятся
в пределах 0,02…0,95. Коэффициент отражения поверхности в цехе 0,2…0,4, по
этому коэффициенту соответствует светлый (серый) фон;
· контраст объекта с фоном - характеризуется соотношением
яркости рассматриваемого объекта и фона.
Для повышения равномерности естественного освещения цеха, осуществляется
общее освещение. Светлая краска потолка, стен и производственного оборудования
способствует созданию равномерного распределения яркостей в зоне зрения.
Блескость - это повышение яркости светящихся поверхностей, вызывающая нарушения
зрительных функций (ослепительность). Прямую блескость, яркость источников
света, уменьшаем правильным выбором защитного угла светильника, увеличением
высоты подвеса светильника. Отраженную блескость уменьшаем правильным выбором
светового потока на рабочем месте, на рабочую поверхность, заменяем где можно
матовыми поверхностями блестящие.
Величину освещенности устанавливаем в зависимости от характера зрительной
работы, которую определяют наименьшим размером объекта размещения, контраста
объема с фоном и характеристикой фона. В нашем случае разряд зрительной работы
3-й (высокой точности) подразряд зрительной работы (контраст объекта с фоном -
средний, характеристика фона - светлый). Расчет естественного освещения
проводим по СН и П - П - 4 - 79 «Строительные нормы и правила»:
· площадь светлых проемов:
0
= 508,4 м2;
· при боковом освещении цеха:
, (6. 7)
где
So площадь световых проемов, Sо = 508,4 м2;n
- площадь пола помещения, Sn = 1440 м2;n -
нормированное значение;3 - коэффициент запаса, K3 = 1,5
hо - световая характеристика, hо = 6,5зд
- коэффициент, учитывающий окон противостоящими зданиями, Kзд = 1,2;о
- коэффициент светоспускания:
о = r1 ´ r2 ´ r3
´ r4 ´ r5,
(6. 8)
где
r1 - коэффициенты светопропускания материала (стекло листовое
солнцезащитное), r1 = 0,652 - коэффициент, учитывающий
потери света в светопроемах (вид переплета двойной, окна двойные
открывающиеся), r2 = 0,6;3 - коэффициент, учитывающий
потери света в несущих конструкциях, r3 = 0,9;4 -
коэффициент, учитывающий потери света в солнцезащитных устройствах, r4
= 0,8;5 - коэффициент, учитывающий потери света в защитной сетке,
установленной под фонарями, r5 = 0,9
о = 0,65 ´ 0,6 ´ 0,9 ´ 0,8 ´ 0,9 = 0,25
Следовательно,
естественного света не достаточно для освещения цеха, требуется также
искусственное освещение.
Проверка
коэффициента естественного освещения (К, l, С) при боковом освещении:
, (6. 9)
где
Еб геометрическое (К, l, С) в расчетной точке при боковом освещении,
учитывающий прямой свет неба, Еб = 1,5;- коэффициент, учитывающий
неравномерную яркость облачного неба, g = 1;- коэффициент, учитывающий яркость
противоположного здания (кирпич или бетон), R = 0,22;
n1 - коэффициент, учитывающий повышение (К, l, С) при
боковом освещении благодаря свету, отраженному от поверхностей помещений и
подстилающего слоя прилегающего здания, n1 = 1,25
,
(6. 10)
ЕН
< ЕФ
План
размещения на потолке цеха светильников типа ламп ДРЛ - 1000: светильники размещены
на потолке в 7 рядов по 4 штуки в ряду (рис. 7.1)
Рис.
7.1