Система охолодження ГАЗ-53

  • Вид работы:
    Дипломная (ВКР)
  • Предмет:
    Транспорт, грузоперевозки
  • Язык:
    Русский
    ,
    Формат файла:
    MS Word
    3,41 Mb
  • Опубликовано:
    2011-07-06
Вы можете узнать стоимость помощи в написании студенческой работы.
Помощь в написании работы, которую точно примут!

Система охолодження ГАЗ-53

ЗМІСТ

Вступ

Розділ 1. Технологічна частина

.1. Детальна будова системи охолодження ГАЗ-53

.2 Таблиця аналізу дефектів на деталях та вузлах системи охолодження

.3 Економічне обґрунтування способу та методу ремонту

.4 Послідовність проведення контрольних замірів та обмірів

.5 Послідовність демонтажу та визначення дефектів

.6 Перелік інструменту, приладів та засобів що використовувались

.7 Після ремонтна діагностика, перевірка, обкатка

.8 Перелік робіт, що необхідно проводити при ЩТО, ТО-, ТО-2, СТО після ремонту системи охолодження ГАЗ-53

.10 Пропозиції, що до уникнення подібних дефектів та полегшення проведення подібного ремонту

Розділ 2. Техніка безпеки при виконанні ремонтних робіт

Використані джерела

Додатки

Творче завдання

ВСТУП

Сучасний стан проблеми. На даний час, автомобільний транспорт України оснащується сучасними конструкціями рухомого складу, які відповідають вимогам народного господарства.

Перед автомобільною промисловістю, поставлено завдання, зумовити збільшення та покращення структури виробництва автомобілів, що найбільш повно відповідають вимогам народного господарства та економії паливно-енергетичних ресурсів.

Виконуючи заходи, з підвищення безпеки руху та зменшенню шкідливого впливу транспорту на зовнішнє середовище, з одночасним зменшенням транспортних розходів на перевезення вантажів та пасажирів, вітчизняна автомобільна промисловість випустила нові моделі автомобілів, з більш високими та кращими показниками.

Вирішення поставлених задач, у великій мірі залежить від підготовки та кваліфікації інженерних кадрів, автомобільного транспорту.

В зв'язку з чим, постійне та стрімке зростання автомобільного парку в країні потребує все більше фахівців з ремонту та обслуговуванню автомобілів. Робітники з цієї професії повинні постійно удосконалювати уміння та навички з ремонту та технічного обслуговування автомобілів, поглиблювати знання конструкцій автомобілів. Автослюсар повинен знати практичні основи організації та виконання ремонтних робіт, пов’язаних з автомобілями, що створює актуальність теми роботи.

У конструкціях ГАЗ-53 здійснені технічні досягнення автомобілебудування - прийнятий цілий ряд нових рішень, які забезпечують зручність роботи водія, підвищення надійності, довговічності, експлуатаційних показників.

Повні технічні і технологічні дані про автомобіль ГАЗ-53

Загальні дані автомобіля

1. Рік випуску 1953 р.

. ГАЗ-53

ГАЗ - Горьківський Автомобільний Завод

- модифікація автомобіля;

. Розміри в міліметрах

Довжина, мм - 6395

Ширина, мм - 2380

Висота, мм - 2220

. Колісна база, мм

спереду - 1630;

ззаду - 1690;

. Радіус розвороту автомобіля:

по зовнішньому колесу 8,9 м

. Повна маса 2500 кг

. Дорожній просвіт, мм - 305

. Число місць 3 чол.

. Максимальна швидкість 70 км/год

. Кількість ведучих осей - одна

. Запас палива, л - 90

. Паливо що використовується:Бензин А76

Спеціальні дані двигуна

. Тип двигуна: V-подібний

. Кількість циліндрів: 8

. Хід поршня в мм.: 80

. Робочий об’їм, л.: 4,25

. Потужність, к/с: 120

. Вид паливної системи: карбюраторна

. Вид системи охолодження: рідинне охолодження

. Вид системи запалювання: Система запалення - контактна

Спеціальні дані трансмісії

. Вид КПП та її розташування: чотириступінчаста, трьохходова

. Кількість передач: 4 передачі вперед і 1 назад

. Передаточні числа передач: I- 6,55, II- 3,09, III - 1,71, IV- 1,0, ЗХ- 7,77.

. Вид головної передачі: конічна , гіпоїдного типу

. Передаточне число головної передачі: передаточне число 6,17;

. Вид щеплення: сухе , одно дискове.

Спеціальні дані ходової частини

. Вид підвіски передніх коліс: ресори

. Вид підвіски задніх коліс: ресори

. Максимальне навантаження на вісь: на задню вісь 740кг, на передню вісь 460кг.

. Кількість коліс: 4

Спеціальні дані агрегатів керування

40. Вид рульового керування: глобоїдальний черв'як з трьохгребневим роликом

. Передаточне число рульового керування: Передаточне число - 21,3.

. Вид гальмівного механізму: Барабанні гальмівні механізми

Спеціальні дані кузова

Кількість дверей: 2

1. ТЕХНОЛОГІЧНА ЧАСТИНА

.1 Детальна будова (вузла, агрегату, механізму), що ремонтується (фото, схема, розміри та технологічні дані)

Система охолодження двигуна (рис. 1.1) - рідинна, закрита, з примусовою циркуляцією рідини, заповнюється рідиною Тосол А-40.

Система складається з водяної рубашки двигуна, водяного насоса, радіатора, термостата, вентилятора з кожухом, жалюзі, пробки радіатора (з клапанами) і сполучних патрубків. Ємність системи 21,5 л.

Найбільш вигідний температурний режим роботи двигуна знаходиться в межах 80-90°С. Вказана температура підтримується за допомогою термостату автоматично.

Для контролю температури охолодження рідини на щитку приладів є покажчик температури, датчик 7 (ТМ100-В) якого встановлюється у водяній сорочці впускної труби. Крім того, на щитку приладів є сигнальна лампа, яка сигналізує при підвищенні температури охолоджуючої рідини до 104-109°С. Датчик 2 сигналізатора (ТМ104-Т) ввернутий у верхній бачок радіатора.

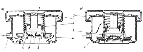
Термостат (рис. 1.2) з твердим наповнювачем, одноклапанний ТЗ 108. Встановлюється в спеціальній порожнині на виході охолоджуючої рідини з впускної труби. Складається з клапана 3, сідла 2, термоелемента 5 зі штоком і пружини 4, де А - хід клапана.

Водяний насос (рис. 1.3) відцентрового типу. Валик 2 водяного насоса обертається в двох шарикових підшипниках. На один кінець валу напресовується крильчатка водяного насоса 6, а на іншій - маточина 1. Крильчатка закріплена болтом, укрученим в різьбовий отвір в торці валу. Маточина закріплена гайкою, наверненої на різьбовий кінець валу. Кулькові підшипники з розташованою між ними розпорною втулкою, затиснуті між маточиною шківа; мають з зовнішніх торців сальники, вмонтовані в зовнішні обойми підшипників, закріплених в корпусі запірним кільцем.

Рисунок 1.1 Система охолодження:

- радіатор; 2 - датчик сигнали-затору перегріву двигуна; 3 - водяний насос, 4 - перепускний шланг, 5 - шланг радіатора підвідний; 6 - термостат; 7 - датчик покажчика температури охолоджуючої рідини; 8 - штуцер місце приєднання підігрівача; 9 - водяна сорочка блоку циліндрів; 10 - шланг радіатора відвідний; 11 - кран зливний радіатора; 12 - вентилятори, 13 - жалюзі; 14 - кожух вентилятора; 15 - пробка радіатора.

Рисунок 1.2 Термостат:

- шток; 2 - сідло; 3 - клапан, 4 - пружина, 5 - термосиловий елемент;

Рисунок 1.3 Водяний насос:

- ступиця; 2 - вал; 3 - водяний насос, 4 - маслєнка, 5 - вал; 6 - крильчатка; 7 - датчик покажчика температури охолоджуючої рідини; 8- пружина; 9, 10 - латунні обойми; 11 - манжета; 12 - ущільнююча шайба; 13 - запірне кільце

Радіатор системи охолодження (див. рис. 1.1). Радіатор трубчасто-стрічковий, мідно-латунний, складається з латунних (верхнього та нижнього) бачків, набору вертикальних латунних плосковальних трубок із гофрованими мідними стрічками, пластин закріплення радіатора, пробки радіатора і дренажного краника.

До верхнього і нижнього бачків припаяні дві сталеві бічні стійки-пластини, які надають радіатору необхідну жорсткість, а також забезпечують можливість закріплення до нього кожуха вентилятора.

Пробка радіатора (рис. 1.4) має два клапани: паровий (рис. 1.4, а), відчиняються при надлишковому тиску рідини 45 - 60 кПа, і повітряний (рис. 1.4, б), що відкривається при розрідженні рідини 1 - 10 кПа.

Рисунок 1.4. Пробка радіатора:

а - відкритий паровий клапан; б - відкритий повітряний клапан; 1 - стойка; 2 - кришка; 3 - запірна пружина; 4 - пружина парового клапана; 5 - паровий випускний клапан; 6 - прокладка парового клапана; 7 - заливна горловина; 8 - прокладка повітряного клапана; 9 - пружина; 10 - сідло повітряного клапана; 11 - трубка випускного пару.

Вентилятор (див. рис. 1.1) - шестилопастевий, металевий, складається з двох хрестовин, між якими вклепані лопасті, кріпиться спільно зі шківом чотирма болтами до ступиці валика водяного насоса.

Вентилятор приводиться в рух від шківа колінчастого валу клиновим ременем. Натяг ременя здійснюється поворотом генератора, який приводиться в рух цим же ременем.

Кожух вентилятора 14 (див. рис.1 2.1) - штампований, металевий, значно підвищує ефективність роботи вентилятора.

Жалюзі 13 - металеві, управляються дротяною тягою з місця водія. Ручка тяги має кілька фіксованих положень закриття жалюзі для забезпечення необхідного температурного режиму роботи двигуна.

1.2 Таблиця аналізу дефектів на деталях та вузлах системи охолодження

Таблиця аналізу дефектів системи охолодження

Назва деталі та основних частин

Робоча поверхня: температурно контактна, тертя, нагнітаюча, сприймаюча

Неробоча поверхня: опірна, підтримуюча, корпусна, захисна, кріпильна, передаюча

Частини підвержені зносу

Частини підвержені робочим пошкодженням

Не пошкоджуються при роботі

Вид відновлення

Слюсарна операція

Заїдання клапана термостата

Сприймаюча

Підтримуюча

ні

ні

Не пошкоджу-ються

Очищення

Ремонт

Зношення шайби або манжети сальника

Поверхня тертя

опірна

так

так

Пошкоджу-ються

Заміна

Заміна

Зношення підшипників водяного насоса

Поверхня тертя

передаюча

так

так

Пошкоджу-ються

Заміна

Заміна

.3 Економічне обґрунтування способу та методу ремонту який обирається

Ціна деталей системи охолодження:

1 - Датчик сигналізатора перегріву - 40 грн.

- Термостат - 89 грн.

- Кран зливний радіатора - 64 грн.

- Підшипник водяного насоса - 51 грн.

- Крильчатка водяного насосу - 76 грн.

- Радіатор - 700 грн.

- Патрубок - 40 грн.

У зв’язку з тим що марка автомобіля застаріла, ціна на деталі низька, тому під час ремонту ремонтувати деталі (наплавлювати, напилювати) не вигідно, тому їх просто замінюють на нові. Єдина деталь - радіатор - вартість якого сягає близько 700 грн., тому його ремонт варто здійснювати у разі можливості здійснити даний ремонт шляхом кислотної очистки, або напаювання.

1.4. Послідовність проведення контрольних замірів та обмірів

Ємність системи охолодження двигуна автомобіля ГАЗ-53 становить 21,5 л. Зменшення цього об'єму може значно вплинути на температурний режим роботи і як наслідок до зносу основних агрегатів. Найбільш вигідний температурний режим роботи двигуна знаходиться в межах 80 - 90 °С. дане значення має контролюватися під час руху транспортного засобу як самим водієм фізично та контрольними приладами автомобіля автоматично. На щитку приладів в наявності є сигнальна лампа, яка сигналізує при підвищенні температури охолоджуючої рідини при 104-109 °С.

Клапан термостату повинен відкриватися при температурі 78-82 °С, а при температурі 93 - 95 °С він повністю закривається.

Пробка радіатора має два клапана: паровий, який відкривається при надмірному тиску 45 - 60 кПа, і повітряний, який закривається при розрідженні 1 - 10 кПа.

Вентилятор статично збалансований, приводиться в рух від шківа колінчатого валу клиновим ременем. Натягування ременя здійснюється поворотом генератора, який приводиться в рух цим же ременем. Правильність натягування ременя провіряють натисненням пружинним динамометром на нього із зусиллям 34 - 44 Н. При цьому ремінь вентилятора повинен прогинатися на 10 - 15 мм.

Значення вище зазначених замірів повинне бути у постійному контролі у відповідності до технічної характеристики ГАЗ-53, оскільки зміна даних цих положень тягне за собою зношення основних деталей агрегатів двигуна.

1.5 Послідовність демонтажу та визначення дефектів

Демонтаж радіатора

- Від'єднайте жалюзі радіатора.

Злийте рідину, що охолоджує, як описано вище.

Послабте хомути верхнього шлангу радіатора.

Послабте хомут трубки розширюючого бачка і зніміть трубку (2) з патрубка горловини радіатора.

Відкрутіть болти кріплення і від'єднайте кожух радіатора (3).

Зніміть нижній шланг радіатора.

Промивка радіатора

Якщо радіатор знятий з автомобіля, промийте його також і в зворотному напрямку. Промийте радіатор зовні зі шланга сильним струменем води. Якщо є підозра, що радіатор частково загрязнений, до зняття з автомобіля промийте його хімічним розчином. Якщо нічого не змінилося, перевірте, чи нормально проходить вода через радіатор. За півхвилини має проходити 20-25 літрів.

Течі, які видно зовні, зазвичай можна усунути пайкою, але течі у вертикальних трубках, як правило, недоступні. Можна тимчасово усунути течі з допомогою спеціальних добавок до охолоджувальної рідини або, покривши частину радіатора спеціальною мастикою.

Демонтаж термостата

- Від'єднайте випускний патрубок.

Перевірте на сідлі клапана наявність сторонніх часток, що перешкоджають щільному закриттю клапана.

Вийміть термостат з корпусу.

Відвернувши болти (2), зніміть корпус термостата.

Перевірте справність термостійкісті. Для цього зробіть наступне:

Опустіть термостат і термометр в банку з охолоджуючою рідиною необхідного складу. Термометр і термостат не повинні торкатися днища банки, тому що це знизить результати перевірки.

Поставте банку на електричну плитку і прогрійте охолоджуючу рідину. Слідкуйте за температурою за термометром.

Клапан термостата повинен бути повністю відкритий при температурі охолоджуючої рідини 94° С. Якщо клапан відкритий не повністю, замініть термостат.

Перевірте, щоб при повністю закритому клапані термостата пружина була стиснута. В іншому випадку замініть термостат.

Демонтаж водяного насоса

- Злийте охолоджуючу рідину з системи охолодження.

Від'єднайте шланги охолоджуючої рідини.

Зніміть ремінь приводу насоса.

Виверніть болти кріплення насоса.

Обережно постукуючи дерев'яним молотком по корпусу насоса, зніміть водяний насос.

Зніміть прокладку.

Перевірка справності водяного насоса

- Перевірте корпус насоса на наявність тріщин, слідів витоку охолоджуючої рідини.

Перевірте, чи є нестандартний шум у підшипниках.

Перевірте шків насоса на знос.

Перевірте стан сальника крильчатки. Втрата сальником ущільнюючої спроможності визначається по появі течі охолоджуючої рідини зі спеціального отвору на корпусі насоса. Якщо ви виявили якісь несправності, то насос можна розібрати для ремонту або заміни деталей.

Ремонт водяного насоса

Затисніть маточину шківа насоса в лещатах так, щоб корпус насоса знаходився вертикально, крильчаткою вгору.

Відверніть болт кріплення крильчатки насоса.

Надягніть на крильчатку спеціальний знімач і зніміть її.

Зніміть з крильчаткою стопорне кільце.

Вийміть ущільнюючу шайбу і манжету сальника.

Замініть манжету і шайбу на нові.

Відверніть болт кріплення ступиці шківа.

Надіньте на маточину шківа спеціальний знімач і зніміть ступицю.

Вийміть зовнішнє стопорне кільце підшипників.

Випресуйте з корпусу валик разом з підшипниками, втрамбуйте підшипники з валика.

Вставте валик коротким кінцем в отвір корпусу.

Запресуйте в корпус і в валик одночасно новий підшипник.

Надягніть на валик розпірну втулку.

Запресуйте другий підшипник. Слідкуйте, щоб сальник підшипника був звернений у бік вентилятора.

Встановіть зовнішнє стопорне кільце підшипника.

Напресуйте маточину шківа, установіть болт кріплення маточини, попередньо встановивши плоску шайбу, гайку зашплінтуйте.

Встановіть нові манжети і шайби, попередньо змастивши парафіном.

Встановіть ущільнювальну шайбу з текстолітом і стопорне кільце.

Змастіть торці крильчатки і корпус тонким шаром графітової змазки.

Встановіть новий сальник.

Напресуйте крильчатку на валик.

Загорніть в торець валика болт з двома шайбами, одна з яких повинна бути пружинної, а друга плоскою.

Ремінь приводу

Якщо ремінь порваний або сильно потріпаний, його слід замінити.

Послабте шарнірний болт генератораратора (1) і болти кріплення, посуньте генератор до двигуна.

Обережно накиньте ремінь на шківи колінчастого валу, насоса охолоджуючої рідини і генератора.

Відрегулюйте натяг ременя і затягніть болти кріплення генератора.

.6 Перелік інструменту, приладів та засобів що використовувались

Під час обслуговування системи охолодження автомобіля в нагоді стане такий інструмент:

1. Ключі: рожкові, накидні (для важко доступних місць), динамометричні;

2.      Вороток;

.        Набір шестигранників;

.        Викрутки різного типу;

.        Зйомники;

.        Тестери перевірки та виміру напруги;

.        Торцеві голівки

.        Спеціально обладнана площадка.

.        Хрестоподібні викрутки

.        Шліцьові викрутки

.        Вибивання

.        Пасатижі

.        Щипці

.        Облямовування

.        Динамометричний ключ

.        Знімачі

.        Штангенциркуль

.        Лінійка металева

.        Лещата слюсарні

1.7 Післяремонтна діагностика, перевірка, обкатка

Після проведення ремонтних робіт системи охолодження варто здійснити заміри правильності встановлення основних вузлів системи охолодження. Перевірити установленні деталі на предмет вільного обертання без будь-яких сторонніх зачеплень зі сторони інших деталей. Основну увагу слід звернути на правильність натягу ременю, не менш важливу увагу на вентилятор та кожух вентилятора, оскільки його встановлення може бути зміщеним відносно своєї осі і в зв'язку з чим буде наявність черкань цих деталей.

Після наочного огляду слід запустити двигун і через декілька хвилин переглянути чи немає течі між з'єднувальними деталями системи охолодження. При їх наявності варто знайти причини, якщо охолоджуюча рідина витікає із з'єднувальних проміжків патрубків варто підтягнути хомути, що зупинить витікання рідини.

.8 Перелік робіт, що необхідно проводити при ЩТО, ТО-, ТО-2, СТО після ремонту системи охолодження ГАЗ-53

Технічне обслуговування включає наступні роботи: прибиральні, контрольні, кріпильні, регулювальні і ін.

Рекомендуються наступні види технічного обслуговування автомобілів:

щоденне обслуговування (ЩО);

перше технічне обслуговування (ТО-1);

друге технічне обслуговування (ТО-2).

Основним призначенням щоденного обслуговування є: загально-зовнішній контроль, направлений на забезпечення безпеки руху, підтримка гарного зовнішнього вигляду, заправка паливом, маслом, водою.

Основним призначенням першого і другого технічних обслуговуванні є зниження інтенсивності зношування деталей, виявлення і попередження несправностей шляхом своєчасного виконання контрольних, змащувальних і регулювальних робіт.

Щоденне обслуговування (ЩО)

Щоденне обслуговування є одним з основних видів догляду за автомобілем. У щоденне обслуговування входять підготовка автомобіля до виїзду і догляд за автомобілем після повернення в гараж.

При підготовці автомобіля до виїзду необхідно:

перевірити рівень і, якщо необхідно, долити масло в картер двигуна. При перевірці звернути увагу на якість масла;

перевірити наявність палива і води, при необхідності долити;

переконатися, чи немає підтікань палива, мастила, води і гальмівної рідини. Для того, щоб знайти нещільні з'єднання, проникні рідини, корисно оглянути місце стоянки автомобіля, поверхні під капотом, бризковики двигуна і пів платформи;

звернути увагу на облицювання головки блоку циліндрів;

пустити двигун і по контрольних приладах перевірити його роботу;

перед виїздом переконатися в тому, що двигун добре прогрітий і стійко працює на холостому ходу;

натискувати кілька разів на педаль управління дроселями і переконатися в легкості переходу від малих зворотів на підвищені, у відсутності перебоїв, ненормальних шумів і стуків в двигуні.

Догляд за автомобілем після повернення в гараж полягає в наступному:

прибиранню;

миттю автомобіля зовні.

Двигун рекомендується мити лише холодною водою під невеликим тиском, уникаючи напряму прямих струменів води на прилади і вузли електроустаткування.

Після миття ретельно протерти всі прилади, особливо деталі з електроізоляцією.

Перше технічне обслуговування (ТО-1)

Перевірити затягування гайок шпильок головок циліндрів на холодному двигуні. Протягом перших три ТО-1 цю операцію слід проводити при кожному ТО-1. Надалі гайки підтягують при необхідності (пропуск води або газів).

Перевірити кріплення шківів колінчастого валу, водяного насоса, генератора.

Перевірити стан і натягнення ременів вентилятора, генератора, приводу.

Підтягнути гайки кріплення карбюратора. Переконатися в справній роботі приводу управління дроселями і повітряною заслінкою карбюратора. Приводи повинні працювати без заїдань.

Підтягнути гайки кріплення фланців приймальних труб глушника.

Перевірити рівень масла в картері двигуна і, якщо необхідно, долити.

Протерти двигун дрантям, змоченим гасом.

Друге технічне обслуговування (ТО-2)

При другому технічному обслуговуванні необхідно виконати наступні роботи.

Замінити масло в двигуні.

Одночасно із зміною масла необхідно очистити корпус і ковпак фільтру відцентрового очищення масла від грязі і смолистих відкладень.

Промити ротор фільтру в гасі і продути стислим повітрям через отвори жиклерів.

Промити в гасі набивання фільтру вентиляції картера і змочити її маслом.

Через ТО-2 перевірити і при необхідності відрегулювати зазори між клапанами і коромислами.

Через ТО-2 перевірити затягування гайки фланця валу провідної шестерні.

Перевірити рівень масла і, якщо необхідно, долити або замінити його.

Вивернути свічки запалення, заздалегідь очистивши і продувши повітрям їх гнізда. Перевірити стан свічок. Ретельно очистити свічки на приладі ГАРО моделі 514-2М. Після очищення свічок перевірити і відрегулювати зазори між електродами. Якщо шар нагару великий і зняти його без приладу не представляється можливим, слід замінити свічки новими.

.10 Пропозиції, що до уникнення подібних дефектів та полегшення проведення подібного ремонту

До технологічних показників належать способи відновлення і зміцнення поверхонь, точність механічної обробки, способи захисту від корозії, якість складання, регулювання та припрацювання деталей.

Економічні показники характеризують витрату матеріалів і запасних частин, трудомісткість і собівартість ремонту.

Основні шляхи підвищення довговічності роботи:

  розробка науково обґрунтованих технічних вимог на ремонт;

-        застосування науково обґрунтованих типових і групових технологічних процесів ремонту;

         раціональний вибір способів відновлення деталей, що забезпечують підвищену зносостійкість;

         застосування високоефективних матеріалів та якісних запасних частин;

         застосування прогресивних процесів обкатування, припрацювання та випробування відремонтованого механізму;

         організація виробничого процесу, що забезпечує якісне виконання всіх операцій, починаючи з прийняття в ремонт і закінчуючи здачею відремонтованого механізму;

автомобіль охолодження дефект діагностика

РОЗДІЛ 2. ТЕХНІКА БЕЗПЕКИ ПРИ ВИКОНАННІ РЕМОНТНИХ РОБІТ

Перед початком роботи:

1. Надіти чистий спецодяг і взуття;

2.      Підготувати робоче місце, інструмент, пристосування, устаткування, перевірити їх справність;

.        Слюсарні молотки повинні мати поверхню бойка злегка опуклу(не косу, і не биту) і міцну на дерев'яні ручки овального перетину;

.        Зубила, крейсмейсели, борідки, обтискання, керни не повинні мати збитих або скошених потилиць із задирками;

.        Набор гайкових ключів повинен відповідати розмірам болтів і гайок.

Якщо необхідно мати довгий важіль, користуватися лише ключем з довгою ручкою, забороняється нарощувати іншим ключем або трубою.

Під час роботи:

1. При роботі на лещатах міцно притискуй педаль. Дотримуйся обережності під час її установки і зняття, щоб уникнути падіння її на стіл;

2.      При вирубуванні металу зубилом необхідно врахувати, в яку сторону безпечніше для тих, що оточують направити відлітаючі осколки. Самому працювати в захисних окулярах;

.        При роботі на стендах, для перевірки слюсар зобов'язаний:

а) пройти інструктаж у майстра по даному вигляду робіт;

б) до початку роботи візуально переконається в його справності і потім перевірити на неодруженому ходу;

в) у випадку виявленні несправності заявити майстрові і до усунень несправностей до роботи не приступати. Самому проводити ремонт устаткування - ЗАБОРОНЯЄТЬСЯ!;

г) стежити і підтримувати чистоту і порядок на робочому місці, е захаращувати проходи, проїзди, не допускати скупчення запчастин;

. Соосність отворів перевірити за допомогою конусного облямовування;

а) при розбірно-складальній операцій, вимагаючих великих фізичних зусиль, необхідно застосовувати знімачів, гайковерти;

б) правильно підбирати розмір ключа, переважно користуватися накидними і торцевими;

в) виробляти випресовку пальців, втулок і інших деталей лише за допомогою спеціальних пристосувань;

г) під час роботи розташувати інструмент і пристосування так аби вони завжди знаходилися під рукою;

. При роботі на стенді випробування слюсар зобов'язаний:

а) перевірити несправність пристосування для зміцнення агрегатів

елементів, що захищають, електропроводку, заземлення і пульт управління;

б) вузли і агрегати, що мають пружини, розбирати і збирати лише на спеціальних пристосуваннях;

в) при перевірці працездатності агрегатів на стенді перевірити:

·  заземлення стенду

·        надійність закріплення агрегатів на стенді

·        наявність кожухів, що захищають

·        заправку відповідною рідиною або повітрям

·        надійність кріплення агрегатів

·        справність і правильне з'єднання електропроводки

·        перед регулюванням перевірити агрегат на неодруженому ходу

·        роботи на стенді виробляти стоячи на підніжці грат.

6. При промиванні деталі необхідно дотримувати наступні вимоги: - мити деталі лише в закритих ваннах і із застосуванням миючих засобів;

забороняється застосовувати бензин і інші легкозаймисті рідини.

а) палити лише в певних місцях;

б) промаслені ганчірки, кінці, дрантя, відходи матеріалів слід збирати і негайно прибрати в спеціальні металеві ящики.

. Не захаращувати прохід до робочого місця при разроботе і збірці агрегатів, вузлів;

8.      Не стосуватися механізмів, рубильників і інших приладів, що не мають відношень до виконуваної роботи.

По закінченню роботи

По закінченню роботи слюсар зобов'язаний:

1. відключити від електромережі електроустаткування..

2.      привести в порядок робоче місце. Брати пристосування, інструмент відведене місце.

.        якщо автомобіль залишається на спеціальних підставках (козелках), перевірити надійність його установки. Забороняється залишати автомобіль, агрегат, вивішеним лише підіймальних механізмом.

.        зняти спецодяг і прибрати в призначене для них місце.

.        вимити руки милом

6. про всі недоліки, виявлені під час роботи сповістити начальникові АРМ.

ВИКОРИСТАНІ ДЖЕРЕЛА

1. ГАЗ- 53-12: Руководство по эксплуатации, техническому обслуживанию и ремонту и каталог запасных частей - М.: Издательский дом Третий Рим, 2005 - 304 с.

.   Автомобиль ГАЗ-53-12: Конструктивные особенности, техническое обслуживание и текущий ремонт - М.: Транспорт, 1993 - 303 с.

3.      Рютман Х.Я. Ремонт грузовых автомобилей - М.: Патриот, 1992 - 320 с.

4. Банников С.П. Оборудование автомобилей. М.: Транспорт, 1970.-134с.

. Дитер Корп., Руководство по эксплуатации, техническому ремонту автомобилей ГАЗ-53, Издательство Аст. - М.: 2003.-228-256с.

6. Журнал "Автомир" №22 (май) 2008

7.      Охорона праці в машинобудуванні. Під ред.. доктора тех. Наук Е.Я.

.        Руководство по эксплуатации «Схемы электрооборудования автомобилей ГАЗ-53»

.        Руководство по ремонту ГАЗ-53 выпуска 1953-1968 гг. Асоциация Независимых Издательств. М. : 1998. - 121-170 с.

.        Ю.Т. Чумаченко А.А. Федорченко «Автомобильный электрик» 2000р. - с 48.

.        Ютт В.Е. Электрооборудование автомобилей. - М.: Транспорт, 1989. - 163с.

Термостат ГАЗ-53

ДОДАТОК Б

Пошкоджений патрубок

ДОДАТОК В


Не нашли материал для своей работы?
Поможем написать уникальную работу
Без плагиата!
Без нейросетей!