Четырехэтажный шестисекционный жилой дом на 56 квартир
Содержание
Введение
Общая часть
.1 Исходные данные
.2 Инженерное оборудование
.3 Описание генерального плана
.4 Построение розы ветров
Архитектурно-конструктивная часть
.1 Обьемно-планировочное решение
здания
.2 Конструктивное решение здания
.2.1 Описание конструктивной схемы
здания
.2.2 Пространственная жесткость
здания
.3 Описание конструктивных элементов
.4 Экспликация помещений
.5 Экспликация полов
.6 Ведомость отделки помещений
.7 Сводная ведомость потребности в
конструктивных элементах
Расчетная часть
.1 Расчет фундамента на глубину
заложения
Заключение
Список использованных источников
ВВЕДЕНИЕ
Говоря о достоинствах типового проекта, в первую
очередь необходимо отметить, что он обойдется застройщику намного дешевле.
Экономия может достигать 5% и более от суммы всего строительства - это если
сравнивать с заказом индивидуального проекта у известного архитектора. На
сегодняшний день любая строительная фирма имеет в своем портфолио множество
типовых проектов различных стилей, конфигураций и размеров; другими словами,
выбор огромен.
Если выбор остановлен на типовом проекте -
значит, строительство может начаться гораздо быстрее, ведь индивидуальный
проект разрабатывается как минимум месяц.
Отметим, что все типовые проекты уже
"протестированы" временем, в них учтены все архитектурные нюансы, и
они оправданно считаются надежными.
С другой стороны, типовой проект рассчитан
изначально на определенную местность, а любой участок для строительства имеет
свои особенности. Иными словами, застройщику необходимо рассматривать каждый
отдельный типовой проект применительно к купленному земельному участку. Исходя
из результатов исследования грунта, которое включает в себя состав почвы,
уровень грунтовых вод и другое, а также учитывая наклонность той или иной части
земельного участка, необходимо рассчитать фундамент и привязать его к остальным
частям проекта.
Необходимо также осознавать, что в типовом
проекте невозможно поменять конструктивную схему и перенести несущие
перегородки. Фантазия ограничится ненесущими перегородками, возможно -
некоторыми входными арками вместо традиционного прохода, но не более. Также
типовой проект подразумевает использование конкретных материалов для кладки
стен, конкретные расчеты для стропильной системы крыши и конкретный кровельный
материал.
1 ОБЩАЯ ЧАСТЬ
.1 Исходные данные
конструктивный
фундамент жилой дом
Исходным документом для курсового проекта
является паспорт типового проекта № III-76-6СП/69/I.
Тема проекта: «Четырехэтажный шестисекционный
жилой дом на 56 квартир.
Район строительства город Екатеринбург
Грунт: пески крупные
Класс здания - II
Степень долговечности - II
Степень огнестойкости - II
Температура внутри помещения +20 0С
Температура наружного воздуха наиболее холодного
периода -200С
Нормативная снеговая нагрузка - 100 кгс/м2
Нормативный скоростной напор ветра - 55кгс/м2
Строительные конструкции. Конструктивная схема с
поперечными и продольными несущими стенами и опиранием панелей перекрытий по
контуру. Крыша вентилируемая плоская.
Фундаменты - ленточные, монолитные, железобетонные.
Перекрытия - сборные железобетонные панели
толщиной 16 см. Типоразмеров- 4
Стены наружные - керамзитобетонные панели
толщиной 30 см. Серия 76. Типоразмеров - 5.
Перегородки - сборные железобетонные панели
толщиной 6 см. Типоразмеров - 4.
Санузлы - объемные ж.б. санкабины серия I.I88-3
выпуск I,II.
Серия 76. Типоразмеров - 4.
Лестницы - сборные железобетонные марши и
площадки. Серия I.I5I-5с,
выпуск I. Типоразмеров - 6.
Панели перекрытия - плоские железобетонные
панели толщиной 10 см. Типоразмеров - 6.
Террасы - приставные сборные ж.б. панели. Серия
76. Типоразмеров - 14.
Кровля - рулонная 4-х слойная.
Двери наружные - деревянные входные и служебные.
Серия I.I35-I,
альбом I и II.
Типоразмеров - 3.
Двери внутренние - щитовой конструкции ГОСТ
6629-74. Типоразмеров - 3.
Окна и балконные двери - со спаренными
переплетами. Серия I.I36-3,
выпуск I. Типоразмеров - 4.
Встроенное оборудование - шкафы и антресоли.
Серия I.I72-I,
выпуск I.
Полы- линолеум теплый звукоизоляционный по
железобетонным панелям, на террасах - цементная стяжка.
.2 Инженерное оборудование
Водопровод- хозяйственно - питьевой от городской
сети. Напор на вводе 20 м. вод. ст.
Горячее водоснабжение - от внешней сети. Напор
на вводе 20 м вод. ст.
Канализация - хозяйственно - фекальная в
городскую сеть.
Отопление - водяное. Система однотрубная с
радиаторами M-I40-AO.
Температура теплоносителя 950 - 700 С.
Вентиляция - естественная, из кухонь
принудительная.
Газоснабжение - от внешней сети.
Электроснабжение - II
категории, напряжение 380/220 В, освещение лампами накаливания.
Устройства связи - радиотрансляция, коллективные
телеантенны, телефонные вводы.
Оборудование кухонь и санузлов - газовые плиты,
мойки, унитазы, ванны, умывальники.
.3 Описание генерального плана
Проектируемое здание расположено в городской
зоне в свободном месте для застройки.
Рядом со зданием распологается: школа, магазин,
стоянка для машин, библиотека, детская площадка, жилые дома.
Рельеф местности спокойный , благоприятный для
строительства. Разрывы между зданиями и сооружениями приняты согласно
противопожарным требованиям и согласно характеристики технологического
процесса. Радиусы закругления дорог приняты 3,5 - 12 м, ширина тротуаров 1,5 -
2 м. Место застройки хорактеризуется удобным расположением подездных путей для
строительной техники и подвоза строительных материалов. Озеленение генплана
составляют кусты и деревья.Дороги и тротуары имеют асфальтно - бетонное
покрытие. Преобладающее направление ветров с запада.
Таблица 1 - Экспликация
|
№
|
Наименование
|
|
1
|
Проектируемый
дом
|
|
2
|
Стоянка
для машин
|
|
3
|
Детская
площадка
|
|
4
|
Школа
|
|
5
|
Библиотека
|
|
6
|
Магазин
|
|
7
|
Жилые
дома
|
Рисунок 1 - Генплан
.4 Построение розы ветров
Таблица 2- Повторяемость направлений ветра [7]
В процентах
|
Месяц
|
С
|
СВ
|
В
|
ЮВ
|
Ю
|
ЮЗ
|
З
|
СЗ
|
|
Январь
|
7,0
|
5,0
|
4,0
|
18,0
|
11,0
|
19,0
|
30,0
|
6,0
|
|
Июль
|
15,0
|
12,0
|
6,0
|
11,0
|
10,0
|
11,0
|
18,0
|
17,0
|
|
Среднегодовая
|
11,0
|
8,5
|
5,0
|
14,5
|
10,5
|
15,0
|
24,0
|
11,5
|
Масштаб 2 мм - 1%
Рисунок 2 -Роза ветров
2. АРХИТЕКТУРНО-КОНСТРУКТИВНАЯ ЧАСТЬ
.1 Объемно - планировочное решение здания
Размеры здания 77920 * 10800 мм
Высота этажа 3000 мм
Количество этажей 4 этажа.
Конструкция входного узла: крыльцо, лестничная
площадка, колясочная, лестница, коридор
.2 Конструктивное решение здания
.2.1 Описание конструктивной схемы здания
Конструктивная схема здания с поперечными и
продольными несущими стенами и опиранием панелей перекрытий по контуру. Крыша
вентилируемая плоская.
.2.2 Пространственная жесткость здания
Пространственная жесткость-способность отдельных
элементов и всего здания не деформироваться при действии приложенных сил,
сохранять геометрическую неизменяемость формы.
В данном здании пространственная жесткость
обеспечивается устройством внутренних поперечных стен и стен лестничных клеток,
связанных с продольными (наружными) стенами, а также междуэтажных перекрытий,
связывающих стены между собой и расчленяющих их на отдельные ярусы по высоте.
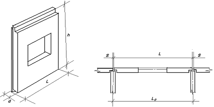
2.3 Описание конструктивных элементов
Таблица 3 - Цокольные панели
Серия 1,117-1; Выпуск 0-1[3,
с. 22]
|
Марка
|
Размеры,
мм
|
Марка
бетона
|
Обьем
бетона, м3
|
Вес
стали, кг
|
Вес
изделия
|
|
L
|
h
|
D
|
|
легкого
на изделие на 1 м2
|
фактурного
на изделие на 1 м2
|
на
изделие на 1 м2
|
х=1300кг/м3
х=1600кг/м3
|
|
ЦР
1-36,21,3б
|
3590
|
2100
|
300
|
100
|
2,02
0,26
|
0,15
0,02
|
19,70
2,64
|
3160
3800
|
|
ЦР
1-27,21,3б
|
2690
|
2100
|
300
|
100
|
1,51
0,26
|
0,11
0,02
|
16,84
3,03
|
2360
2800
|
Рисунок 3 - Эскиз цокольной панели
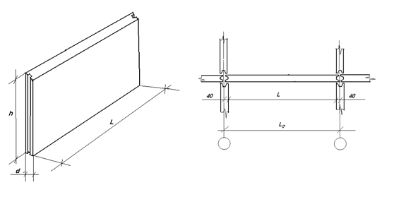
Таблица 4 Панели наружных стен
Серия 1,132-1. Выпуск 1-1 [3,
стр.90 ]
|
Марка
|
Размеры,
мм
|
Марка
бетона
|
Обьем
бетона, м3
|
Вес
стали, кг
|
Вес
изделия
|
|
|
L
|
h
|
d
|
|
легкого
на изделие на 1 м2
|
фактурного
на изделие на 1 м2
|
на
изделие на 1 м2
|
х=900кг/м3
х=1300кг/м3
|
|
НР1-27,29,3-2
|
2690
|
2900
|
300
|
50;
75
|
1,281
0,221
|
0,164
0,028
|
35,57
6,45
|
1750
2230
|
|
НР1-36,29,3-2
|
3590
|
2900
|
300
|
50;
76
|
1,950
0,232
|
0,229
0,027
|
41,29
4,92
|
2540
3380
|
|
HP1-26.29.3-5-1
|
2690
|
2900
|
300
|
50;
77
|
1,529
0,232
|
0,181
0,027
|
34,18
5,18
|
1885
2545
|
|
НР1-36.27.3-1бл
|
3590
|
2650
|
300
|
50;
78
|
1,655
0,238
|
0,199
0,029
|
42,67
6,14
|
2240
2955
|
|
НР1-36.27.3-1б
|
|
|
|
|
|
|
|
|
Рисунок 4- Эскиз панели наружных стен
Таблица 5- Панели
внутренних стен
В связи с отсутствием элементов по серии 76,
принимаем элементы серии 1,131-1; Выпуск 1-2 [3 ,с. 58]
|
Марка
|
Размеры,
мм
|
Марка
бетона
|
Обьем
бетона, м3
|
Вес
стали, кг
|
Вес
изделия,кг
|
|
L
|
h
|
d
|
|
легкого
на изделие на 1 м2
|
на
изделие на 1 м2
|
|
|
В
1,5-26.27.16-1
|
2620
|
2650
|
160
|
150
|
1,098
0,160
|
11,24
1,62
|
2750
|
|
В1,5-35,27,16-1
|
3520
|
2650
|
160
|
150
|
1,478
0,160
|
14,40
1,54
|
3700
|
|
В1.5-53.27.16-1
|
5320
|
2650
|
160
|
150
|
2,238
0,160
|
20,28
1.43
|
5600
|
Рисунок 5- Эскиз панели внутренних стен
Таблица 6- Панели перекрытия и панели покрытия
Серия 1.143-2; Выпуск 1-1 [3]
|
Марка
|
Размеры,
мм
|
Марка
бетона
|
Объем
бетона, м3
|
Вес
стали, кг
|
Вес
изделия
|
|
L
|
b
|
h
|
|
легкого
на изделие на 1 м2
|
на
изделие на 1 м2
|
|
|
ПЗ-36,54.12
|
5380
|
3580
|
120
|
200
|
2,310
0,120
|
55,38
2,88
|
5780
|
|
ПЗ-27,54.12
|
5380
|
2680
|
120
|
200
|
1,720
0,120
|
38,62
2,68
|
4300
|
Рисунок 6- Эскиз панелей перекрытий и панелей
покрытий
Таблица 7- Плиты лоджий
В связи с отсутствием элементов по серии 76,
принимаем элементы серии 1.127 - 1, Выпуск 2 [4, с. 190]
|
Марка
|
Размеры,
мм
|
Марка
бетона
|
Обьем
бетона, м3
|
Вес
стали, кг
|
Вес
изделия
|
|
L
|
b
|
h
|
|
на
изделие на 1 м2
|
на
изделие на 1 м2
|
|
|
ПЛ
63-12а
|
6280
|
1190
|
220
|
300
|
1.145
15.30
|
108.77
14.55
|
2868
|
Таблица 8- Санузлы - объемные ж/б. санкабины
Серия 1.188 -3, Выпуск 2 [5,
с. 261]
|
№
|
Шифр
изделия
|
Размер,
мм
|
Марка
бетона
|
Обьем
бетона, м3
|
Вес
стали, кг
|
Вес
изделия, т.
|
|
|
L
|
h
|
b
|
|
|
|
|
|
1
|
CК
27.21
|
1830
|
2800
|
2740
|
200
|
1,23
|
44,38
|
3,08
|
|
СК
27,21 Л
|
1830
|
2800
|
200
|
1,23
|
44,38
|
3,08
|
|
2
|
СК
28.18
|
1830
|
2800
|
1600
|
200
|
1,17
|
46,12
|
2,94
|
|
СК
28.18 Л
|
1830
|
2800
|
1600
|
200
|
1,17
|
46,12
|
2,94
|
|
3
|
СК
28.9
|
1600
|
2800
|
940
|
200
|
0,66
|
36,37
|
1,65
|
Рисунок 7- Эскиз санузлы
Таблица 9-Сборные железобетонные марши и
площадки
В связи с отсутствием элементов по серии 1.151-5с,
принимаем элементы серии 1.0501-2, Выпуск 1 [6,таблица 4]
|
Марка
изделия
|
Размеры,
мм
|
Марка
бетона
|
Обьем
бетона, м3
|
Вес
стали, кг.
|
Масса
изделия, т.
|
|
L
|
H
|
A
|
B
|
|
|
|
|
|
ЛМП
57.11.15-5
|
5650
|
1500
|
1475
|
1475
|
300
|
0,92
|
78,2
|
2,3
|
Рисунок 8-Эскиз железобетонного марша и площадок
Таблица 10- Двери входные наружные
Серия 1. 136. 5-19, ГОСТ 24698-81 [6,
с. 123]
|
Марка
|
Код
по ОКП
|
Назначение
изделия
|
Размеры,
мм
|
Расход
материалов
|
|
|
|
h
|
b
|
древесина,
м3
|
|
ДН
24-10А
|
536110
|
Дверь
входная однопольная, глухая.
|
2385
|
984
|
0,1262
|
Рисунок 9- Эскиз наружной входной двери
Таблица 11- Двери внутренние
Серия 1.136-10 [6, с. 126]
|
№
|
Марка
|
Код
по ОКП
|
Размеры,
мм
|
Расход
материалов
|
|
|
|
h
|
b
|
древесина,
м3
|
Межпустотный
заполнитель, м2
|
Дверная
ДВП, м2
|
Стекло,
м2
|
|
1
|
ДО
24-15
|
5361111600
|
2371
|
1472
|
0,1071
|
0,33
|
1,64
|
1,66
|
|
2
|
ДГ
24-10
|
561110600
|
2371
|
970
|
0,1148
|
1,62
|
4,25
|
-
|
Рисунок 10- Эскиз внутренние двери
Таблица 12- Окна и балконные двери
Серия 1.136.5-16 [6]
|
№
|
Марка
|
Код
по ОКП
|
Размеры,
мм
|
Расход
материалов
|
|
|
|
h
|
b
|
древесина,
м3
|
Стекло,
м2
|
|
1
|
ОР9-12
|
5361311700
|
860
|
1170
|
0,065
|
1,127
|
|
2
|
ОР
15-21
|
5361312900
|
1460
|
2079
|
0,15
|
4
|
|
3
|
ОР
9-9
|
561310192
|
860
|
870
|
0,0425
|
0,92
|
|
4
|
БЗ24-7.5
|
5361360300
|
2375
|
720
|
0,0913
|
1,582
|
Рисунок 11- Эскиз окна и балконные двери
.4 Экспликация помещений
Таблица 13- Экспликация помещений
|
Тип
помещения
|
Количество
помещений
|
Площадь,
м2
|
|
|
жилая
|
общая
|
|
Квартира
однокомнатная
|
8
|
17,96
|
33,28
|
|
Квартира
двухкомнатная
|
24
|
30,33
|
48,19
|
|
Квартира
трехкомнатная
|
16
|
40,32
|
61,4
|
.5 Экспликация полов
Таблица 14- Экспликация полов
|
Помещение,
номер по экспликации.
|
Схема
пола
|
Элементы
пола и их толщина.
|
|
Подвал
|
Пол
по грунту цементный Цементный
раствор с зачеканкой 25, бетонная подготовка 80, уплотненный грунт.
|
|
|
Колясочная
|
Пол
по грунту цементный Цементный
раствор с зачеканкой 25, бетонная подготовка 80, уплотненный грунт.
|
|
|
Одно,
двух и трехкомнатные квартиры 1 этаж.
|
Полы
по цокольному перекрытию.
|
|
|
Спальная.
|
Дощатый
пол. Шпунтованные
доски 37, лаги 80*40, рулонная пароизоляция 5 , теплоизоляция 100-150, плита
160.
|
|
|
Коридор
|
Пол
из линолеума. Тепло -
звукоизоляционный линолеум - 10, Легкий бетон - 60, утеплитель - 100-150,
плита 160.
|
|
|
Сан.
Узел
|
Пол
по цокольному перекрытию, керамическая плитка. Керамическая плитка на цементном
растворе - 25, пароизоляция рулонная -5, утеплитель - 100 - 150, плита 160.
|
|
|
Кухня
|
Пол
по цокольному перекрытию, мозаичный. Мозаичное покрытие - 20, стяжка из
цементного раствора 30, шлак - 40, плита 160.
|
|
|
Одно,
двух и трехкомнатные квартиры, 2-4 этаж.
|
Полы
по междуэтажному перекрытию.
|
|
|
Спальная.
|
Пол
дощатый. Шпунтованые
доски- 37, лаги - 50*40(через 400), Звуко - пароизоляция - 20, ж/б плита 160.
|
|
|
Коридор
|
Линолеум
Линолеум -
5, плита основания пола - 60, звукоизоляционная прокладка - 20, ж/б плита.
|
|
|
Сан.
узел
|
Плитка
керамическая Керамическая
плитка на цементном растворе - 25, цементно - песчаный раствор - 30, ж/б
плита 160.
|
|
|
Помещение,
номер по экспликации.
|
Схема
пола
|
Элементы
пола и их толщина.
|
|
Кухня
|
Линолеум
Тепло -
звукоизоляционный линолеум - 10, цементный раствор - 30, ж/б плита 160
|
|
2.6 Ведомость отделки помещений
Таблица 15- Ведомость отделки помещений
Одного этажа, одной секции
|
Наименование
или номер помещения
|
Вид
отделки элементов интерьера
|
Примечание
|
|
Потолок
|
Площадь,
м2
|
Стены
и перегородки
|
Площадь,
м2
|
|
|
Кухня
|
Побелка
|
34,17
|
Масляная
окраска
|
51,255
|
---
|
|
Спальная
|
Побелка
|
136,90
|
Клеевая
окраска
|
410,700
|
---
|
|
Коридор
|
Побелка
|
36,27
|
Клеевая
окраска
|
108,810
|
---
|
|
Сан.
Узел
|
Побелка
|
22,31
|
Клеевая
окраска
|
66,930
|
---
|
.7 Сводная ведомость потребности в
конструктивных элементах
Таблица 16- Ведомость потребности в
конструктивных элементах
|
Изделие
|
Марка
|
Размеры,
мм
|
Количество
на этаж
|
Обьем
бетона, м3
|
Масса,
кг
|
Расход
стали на изделие,кг
|
|
|
L
|
B
|
H
|
1-4
|
|
|
|
|
Цокольные
панели
|
ЦР1-36.21.3б
|
3590
|
300
|
2100
|
10
|
2,17
|
3160
|
19,17
|
|
ЦР1-27.21.3б
|
2690
|
300
|
2100
|
6
|
1,77
|
2360
|
16,84
|
|
Панели
наружных стен
|
НР1-27.29.3-2
|
2690
|
300
|
2900
|
3
|
1,45
|
1750
|
35,57
|
|
НР1-36.29.3-2
|
3590
|
300
|
2900
|
6
|
2,1
|
2540
|
41,29
|
|
НР1-26.29.3-5-1
|
2690
|
300
|
2900
|
3
|
1,7
|
1885
|
34,18
|
|
НР1-36.27.3-1б
|
3590
|
300
|
2650
|
3
|
1,85
|
2240
|
42,67
|
|
НР1-36.27.3-1бл
|
|
|
|
|
|
|
|
|
Панели
венутренних стен
|
В1.5-26.27.16-1
|
2620
|
160
|
2650
|
3
|
1,098
|
2750
|
11,24
|
|
В1.5-35.27.16-1
|
3520
|
160
|
2650
|
5
|
1,478
|
3700
|
14,4
|
|
В1.5-53.27.16-1
|
5320
|
160
|
2650
|
14
|
2,238
|
5600
|
20,28
|
|
Плиты
покрытия и перекрытия
|
ПЗ-36,54.12
|
5380
|
120
|
3580
|
10
|
2,31
|
5780
|
55,38
|
|
ПЗ-27.54.12
|
5380
|
120
|
2680
|
4
|
1,72
|
4300
|
38,62
|
|
Плиты
лоджий
|
ПЛ
63-12а
|
6280
|
220
|
1190
|
5
|
1,145
|
2868
|
|
Санузлы
|
СК
27.21
|
1830
|
2740
|
2800
|
1
|
1,23
|
3080
|
44,38
|
|
СК
27.21Л
|
1830
|
2740
|
2800
|
1
|
1,23
|
|
44,38
|
|
СК28.18
|
1830
|
1600
|
2800
|
2
|
1,17
|
2940
|
46,12
|
|
СК28.18Л
|
1830
|
1600
|
2800
|
2
|
1,17
|
|
46,12
|
|
СК28.9
|
1600
|
940
|
2800
|
2
|
0,66
|
1650
|
36,37
|
|
Лестницы
|
ЛМП
57.11.15-5
|
5650
|
1475
|
1500
|
2
|
0,92
|
2300
|
78,2
|
|
Двери
наружные
|
ДН
24-10А
|
|
984
|
2386
|
5
|
---
|
---
|
---
|
|
Двери
внутренние
|
ДО
24-15
|
|
1472
|
2371
|
4
|
---
|
---
|
---
|
|
ДГ
24-10
|
|
970
|
2371
|
8
|
---
|
---
|
---
|
|
Окна
и балконные двери
|
ОР9-12
|
|
1170
|
860
|
3
|
---
|
---
|
---
|
|
ОР
15-21
|
|
2079
|
1460
|
6
|
---
|
---
|
---
|
|
ОР
9-9
|
|
870
|
860
|
6
|
---
|
---
|
---
|
|
БЗ24-7.5
|
|
720
|
2375
|
8
|
---
|
---
|
---
|
|
|
|
|
|
|
|
|
|
|
|
|
3 РАСЧЕТНАЯ ЧАСТЬ
.1 Расчет фундамента на глубину заложения
Определить глубину заложения фундамента для
отапливаемого здания с подвалом . Район строительства г. Екатеринбург.
Среднесуточная температура в помещении внутри здания + 20 0С. Ширина фундамента
0,40 м. Толщина стены 30 см. Грунт основания крупные пески. Уровень грунтовых
вод находится на глубине 5 м. от поверхности земли.
Расчет провожу по [1]
) Определяем нормативную глубину сезонного
промерзания грунта.
По карте нормативных промерзаний грунтов,
приведенной в [2,рисунок III.1],
определяем нормативную глубину промерзания. dfn=
1,9 м. На карте приведены значения нормативной глубины промерзания для глин и
суглинков, для крупных песков их не изменяют.
) Определяем расчетную глубину сезонного
промерзания.
df = kh*dfn
, (1)
где df
- расчетную глубину сезонного промерзания, м;
kh-
коэффициент, учитывающий влияние теплового режима сооружения, принимаемый из [1,таблица
1]
Примечание:
- приведенные в [3,таблица
1]
значения коэффициента kh
относятся к фундаментам, у которых расстояние от внешней грани стены до края
фундамента af< 0,5м;
если af
≥
1,5 м, значение коэффициента kh
повышаются на 0,1, но не более чем до значения kh
равным 1; при промежуточном значении размера af
значение коэффициента kh
определяется по интерполяции.
- к помещения, примыкающим к наружным
фундаментам, относятся подвалы и технические подполья, а при их отсутствии -
помещение первого этажа.
- при промежуточных значениях
температуры воздуха коэффициент kh
принимается с округлением до ближайшего меньшего значения, указанного в [1,таблица
1]
Определяем расстояние от внешней грани стены до
края фундамента af,
af = (0,40м -
0,30м) / 2 = 0,05м
Определяем коэффициент kh
af< 0,5м -
коэффициент kh определяют
из [1,таблица
1]
Из [1,таблица 1]
для сооружений с подвалом и температурой воздуха
внутри помещения + 20 0С, значение kh=0,4.
Определяем расчетную глубину сезонного
промерзания из формулы 1;
df=1,9м*0,4=0,74м
Расчетная глубина сезонного промерзания равна
0,74 м
) Определяем глубину заложения фундамента.
Глубина заложения фундаментов отапливаемых
сооружений по условиям недопущения морозного пучения грунтов основания должна
назначаться:
а) для наружных фундаментов (от уровня
планировки) по [1,таблица 2]
б) для внутренних фундаментов - независимо от
расчетной глубины промерзания грунтов.
Определяем глубину заложения фундамента из [1,таблца
2]
dw
>
df + 2 (2)
где dw
- уровень грунтовых вод.
м > 0,74 м + 2м, то
глубина заложения фундаментов не зависит от расчетной глубины промерзания
В случаях, когда глубина заложения фундаментов
не зависит от расчетной глубины промерзания df , грунт крупные пески, указанные
в настоящей таблице, должны залегать до глубины не менее нормативной глубины
промерзания dfn.
Принимаем глубину заложения фундамента.
d=df+(0,1
: 0,2) (3)
Принимаем глубину заложения фундамента из
формулы 3.
d=1,9+0,1=2м
Следовательно принимаем глубину заложения
фундамента d=2м
) Определяем отметку подошвы фундамента, м.;
Fl=d
+ Ур. зем. (4)
где Fl
-Отметка подошвы фундамента, м;
В - глубина заложения фундамента, м;
Fl=-2 м +(-1м)
= - 3м
Отметка подошвы фундамента -3м
)Определяем высоту фундамента
Hф=Fl
- ( Отметка обреза фундамента) (5)
Определяем высоту фундамента из формулы 5.
Hф= 3м -(- 0,16м)
=2,84м
Высота фундамента составляет 2,84м.
ЗАКЛЮЧЕНИЕ
Выполняя курсовой проект я пользовался
нормативными документами СНиПами и ГОСТами, каталогами типовых конструкций и
изделий, учебниками.
В курсовом проекте я находил типовые серии
элементов здания, составлял ведомости, рассчитывал фундамент.
СПИСОК ИСПОЛЬЗОВАННЫХ ИСТОЧНИКОВ
1) СНиП 2.02.01-83* основания зданий
и сооружений / Министерство России. - М. : ГПЦПП, 1995. - 48 с.
) Берлинов М.В., Ягупов Б. А.Расчет
оснований и фундаментов. Учеб. для средних специальных учебных заведений.-2-е
изд. перераб. и доп.- М; Строй. Издат, 2001, - 272 с
)Общесоюзный каталог индустриальных
ж/б и бетонных изделий обязательных для применения в крупнопанельных жилых и
общественных зданий для обычных условий строительства. Сборник 3.01-10.
Отпечатано в центральном институте типового проектирования. ГСП, Москва А-445,
Смоленская ул., 22
)Общесоюзный строительный каталог
типовых конструкций и изделий для всех видов строительства. Сборник 3.01.ЖГ-1:
В2Т. Т1/Конструкции и изделия кирпичных и крупноблочных жилых и общественных
зданий для обычных условий строительства. Минск: Госстрой СССР, 294 стр.
) Общесоюзный строительный каталог
типовых конструкций и изделий для всех видов строительства. Сборник 3.01.ЖГ-1:
В2Т. Т2/Конструкции и изделия кирпичных и крупноблочных жилых и общественных
зданий для обычных условий строительства. Минск: Госстрой СССР, 294 стр.
)Территориальный каталог типовых
строительных конструкций и изделий для жилищно-гражданского строительства в
Свердловской обл. Сборник ТК92-2.86: В2/Т. Т1/Кирпичные здания и
каркасно-панельные здания. Введен в действие с 1 сентября 1988 г., центральный
институт типового проектирования. Москва .
) СНиП 2.01.01-82 Строительная
климатология и геофизика/ Госстрой СССР.- М: Стройиздат, 1983-136 с.