Інтенсифікація робочого процесу косарки КС-2.1

  • Вид работы:
    Дипломная (ВКР)
  • Предмет:
    Сельское хозяйство
  • Язык:
    Русский
    ,
    Формат файла:
    MS Word
    956,50 kb
  • Опубликовано:
    2011-05-17
Вы можете узнать стоимость помощи в написании студенческой работы.
Помощь в написании работы, которую точно примут!

Інтенсифікація робочого процесу косарки КС-2.1















Курсова робота

з дисципліни: »Сільськогосподарські та меліоративні машини»

на тему: Інтенсифікація робочого процесу косарки КС-2.1

Вступ

Основна проблема кормо виробництва полягає в тому, щоб мінімальними затратами в робочій силі виробляти більше поживних речовин для тваринництва на ряду з хімізацією та меліорацією. Вирішення цієї проблеми можливе при запровадженні у виробництво високопродуктивних збиральних машин і на першому етапі косарок, які б гарантували скошування кормових культур при їх мінімальних витратах.

В нашій державі і за кордоном на кормозбиральних машинах для скошування сіяних і природних трав переважно застосовуються швидкісні ріжучі апарати з зворотно поступальним рухом ножів з нерухомими проти різальними елементами. Але такий апарат на високоврожайному полеглому травостої часто забивається, або взагалі може стати непрацездатним.

Тому в розвитку швидкісних косар очних апаратів намічається заміна зворотно-поступальних рухів ножів в обертальні. Вже в наш час промисловістю випускається ротаційна косарка КРН-2,1 і ротаційна косарка-плющила КПРH-3. Проте широко використовуються і навісні косарки КС-2.1, косарки-плющилки КПС-5Г,косарка подрібнювач КСК-100.

Відмінність ротаційних ріжучих апаратів з зворотно - поступальним рухом ножів, з точки зору принципу зрізу, заключається в тому, що ротаційні апарати виконують без підпірний зріз стебел, тобто зріз без використовування проти різальних або підпираючи елементів. При цьому швидкість ножів рівна 60-80 м/с, в той час, коли в апаратах з зворотно-поступальним рухом ножів, середня швидкість приблизно рівна 3 м/с. Крім цього ротаційний ріжучий апарат забезпечує скошування травостою незалежно від його стану при великій швидкості до 15 км/год. При цьому швидкість руху обмежується лише можливою швидкістю трактора та умовами роботи тракториста, що не характерно для апаратів з зворотно -поступальним рухом ножів.

Для розробки нових косарок потрібно досконало знати будову їх попередників, недоліки в їх конструкції і роботі і застосовувати різні методи для їх усунення.

Саме з метою вивчення, полегшення і вдосконалення сегментно-пальцевої косарки проводиться дана курсова робота, яка включає в себе відомості про способи зрізування, огляд конструкцій, сегментних апаратів, їх регулювання і агротехнічні вимоги до них, розрахунок технічного обслуговування та техніку безпеки при роботі з сегментно-пальцевими косарками.

1 Види кормів і технологія їх заготівлі

Класифікація кормів:

Рослинного і тваринного походження;

Корми рослинного походження поділяються на грубі: солома, сіно, полова, трав'яна мука;

Соковиті: силос, коренеплоди, топінамбури;

Концентровані: зосереджена велика кількість енергії, кормові антибіотики;

Корм тваринного походження: молоко, відходи, перегін, м'ясо-кісткове борошно, риб'ячий жир, яйця, здох птиці.

Технологія заготівлі кормів:

Кормо консервування - прогресивний спосіб заготівлі високопоживних кормів, який зменшує втрати поживних речовин порівняно з силосуванням в 2-3 рази. (таблиця 1.1)

Таблиця 1.1- Технологія заготівлі кормів

Спосіб консервування.

Втрати сухої

речовини, %

Польове сушіння трав

25

30

Силосування

20

25

Заготівля сінажу

12

18

Хім. - консервування

13

20

Штучне сушіння

5

8


В таблиці1.1 наведено порівняльну оцінку способів заготівлі кормів. З порівняння видно, що консервування є більш кращим. Силосування - простий і надійніший спосіб консервування зелених кормів кукурудзи, соняшнику, сорго, суданської трави, люпину, багаторічних і сіяних трав. Збирання кукурудзи на силос слід починати у стадії молочно - воскової стиглості. У районах з коротким вегетаційним періодом її необхідно збирати до настання заморозків.

Заготівля сінажу передбачає комплекс посівно - виконуваних операцій:

скошування трав в оптимальні строки;

прив'ялювання їх до вологості 50-60 %;

підбирання валків і подрібнення маси з одночасним навантаженням у транспортні засоби;

перевезення трав'яної маси в траншеї або силосні башти і завантаження траншей і силосних башт.

Утрамбовування траншей, заповнених масою;

Ретельне закриття корму синтетичною повітряно-непроникненною плівкою.

Трави для провіювання доцільно скошувати у валки валковими косарками-плющилками КПС - 5Г, КПВ - 3. Трав'яне борошно готують з молодої добре облистяної люцерни, конюшини і бавовно-злакових травосумішей. При заготівлі коренеплодів дотримуються таких умов: коренеплоди набиті, не мерзлі, очищення від ґрунту, зберігають в овочесховищах при температурі від 0° до 1° С.Корми, що виготовляються у сільськогосподарському виробництві.

1.1 Фізико-механічні властивості трав

Кращими являються такі терміни скошування, які дозволяють одержати сіно з високим вмістом протеїну і каротину. Для злакових культур - це період колосіння, для бобових - період бутонації, природних трав - період початку цвітіння. Закінчувати скошування трав потрібно до початку повного цвітіння всієї маси. При дуже низькому зрізі трав знижується їх здатність до відновлення, при високому - втрачається значна частина врожаю. В лісостеповій зоні висота зрізу природних трав 5-6 см, в степовій зоні - 4 см. Висота зрізу сіяних трав 8-10 см.

Висота трав в середньому складає 40-80см., (для пшениці і жита 100-170 см.) Урожайність трави в залежності від зони 0,5 ... З т/га. Середнє число стебел на 1 м2 складає для жита та пшениці 40 ...600, для трави 1000...10000.

Твердість стебел Fj = 49 - 646 h/см2. Модуль пружності сухих стебел з площі 1 м2 поданих Г.Д. Геренова, для зернових рівна 98... 198 Дж/с, для трав 196...294 Дж/с. Робота, необхідна для зрізування 1 стебла дозрілого жита 2,26 Дж/с, а для зеленого жита - 1,71 Дж/с. Середнє зусилля 1,96...5,8 Н, максимального значення досягає 19,6 Н. Тягове зусилля віднесене до 1 м захвату, для зернових 392...490 Н/м, для трав 590...685 Н/м.

1.2 Агротехнічні вимоги до косарок

Щоб забезпечити максимальний збір врожаю трав, зберегти їхні поживні і смакові якості необхідно скошувати трави в найкращі агротехнічні строки, правильно вибирати висоту зрізування і своєчасно здійснювати всі збиральні операції.

Вирішальне значення для успішного виконання цього завдання має правильний вибір способу збирання трав і добір машин для механізації всіх процесів збирання.

Перше скошування слід проводити в період колосіння злакових культур або в період тонізації бобових і закінчувати не пізніше ніж на початку цвітіння рослин, що переважають у травостої, оскільки до кінця цвітіння грубішає трава і кількість засвоюваних поживних речовин в ній зменшується. Скошування трав треба проводити за 5-7 днів.

Машини повинні забезпечувати низький, однаковий за висотою зріз. Не нижчий ніж 6 см. для природних і 8 см. Для сіяних трав, укладання трави у прямолінійні рядки або валки, правильне обертання валків.

2. Огляд літератури та патентний пошук

.1 Особливості конструкцій відомих машин

Косарки призначені для косіння трав і формування зрізаної маси. Класифікують їх за такими ознаками: способи агрегатування - причіпні, начіпні, напівначіпні; кількістю різальних апаратів - одно-, дво-, три- та багата брусні; за формуванням зрізаної маси - для скошування у покоси, косарки-плющилки і порційні.

Косарка скошує і укладає масу в смуги з невеликою (40- 50 см) відстанню між ними для проходу коліс трактора.

Косарка-плющилка плющить зрізану масу і укладає її у покоси або валки.

Порційна косарка подрібнює масу й укладає її в невеликі копиці, відстань між якими залежить від урожайності культури. Майже всі вони обладнані стандартними апаратами з шириною захвату 2,1 м.

Косарка КС-2.1- однобрусна, швидкісна, начіпна, призначена для скошування природних і сіяних трав в усіх природно-кліматичних зонах. Із пристроями ПБ-2,1 і ПБА-4 її можна використовувати для збирання бобових культур, а також пристосувати для роботи з розпушувачем або плющилкою. Агрегатують косарку з тракторами класу 0,9 та 1,4.

Основними складальними одиницями косарки є рама 1 (рисунок 2.1), різальний апарат, кривошипно-шатунний механізм, механізм піднімання різального апарата і тягова штанга 11.

Різальний апарат косарки нормального різання з одинарним пробігом і підвищеним числом ходів ножа за, хвилину (до 1100), що дозволяє скошувати траву з поступальною швидкістю агрегату до 3,34 м/с.

Різальний апарат складається з пальцьового бруса 10 і ножа 8. Ніж має спинку 7, сегменти 2 та головку. Сегменти виготовляють з високоякісної сталі. Вони мають гладенькі леза (з кутом заточки 19°), загартовані на заводі струмами високої частоти. Сегменти приклепують до спинки виготовленої із штабової каліброваної сталі. Головка також приклепана до спинки ножа і призначена для приєднання шатуна.

Пальцьовий брус 5, виготовлений зі стальної штаби змінного Перерізу з прикрученими до неї пальцями 1, спирається під час роботи на два башмаки - внутрішній 7 і зовнішній 9. У пальцях приклепані протирізальні пластини. Кромки пластин мають насічку, що запобігає виповзанню трави під час зрізування. Для забезпечення прилягання сегментів до протирізальних пластин на пальцьовому брусі, закріплені притискні лапки 3, які обмежують підняття ножа під чає роботи. Під коленою притискною лапкою встановлені пластинки тертя 4. Під дією тиску маси ніж відходить назад і спинкою впирається в ці пластини, які обмежують його відхилення назад.

Під внутрішнім та зовнішнім башмаками встановлені стальні полозки, якими під час роботи різальний апарат спирається на землю. За допомогою цих полозків можна регулювати висоту зрізу в межах 5-7 см. До зовнішнього башмака шарнірно прикріплена металева польова-дошка з відвідними прутками, що зсовують зрізану масу вліво, забезпечуючи цим вільний прохід для внутрішнього башмака при наступних заїздах. На внутрішньому башмаку закріплені напрямні головки ножа і пруток, який відводить траву від головки ножа дещо вправо. Ніж рухається у пазах пальців зворотно-поступально за допомогою шатуна.

У різального апарата косарки К.С-2,1 відстань між сусідніми сегментами, пальцями і хід ножа становлять 76,2 мм. Більшість косарок обладнано таким самим різальним апаратом.

Шатун 6 з'єднується з голівкою ножа пальцем, змонтованим у нижній головці шатуна на сферичному підшипнику, ковзання, і закріплюється в отворі головки ножа спеціальною гайкою. Другий кінець штока шатуна нагвинчується на тримач, через який він з'єднується з пальцем шківа-ексцентрика. Шків-ексцентрик встановлено на двох шарикопідшипниках на осі, закріпленій на рамі косарки. Трьома клиновими пасами шків приводиться в рух від ведучого шківа, з'єднаного карданною передачею з ВВП трактора.

Рифлений сектор боковими виступами закріплений на кронштейні, а шайба своїми рифлями входить у рифлі сектора. Кронштейн і сектор мають довгасті отвори. Завдяки такому з'єднанню можна змінювати похил різального апарата.

Рисунок 2.1-Косарка КС-2.1

В отвір заднього вушка корпуса головного шарніра встановлена ексцентрикова втулка, з'єднана з корпусом болтом. За допомогою її та шпренгеля можна регулювати положення різального апарата. Під час роботи осьові лінії ножа і шатуна мають бути паралельними.

Шпренгель входить в отвір переднього вушка двома штирями. Один проходить через ексцентрикову втулку, другий - через нижній отвір корпуса. Обидва штирі знаходяться, на одній поздовжній лінії і утворюють головний шарнір різального апарата.

Для зручності начіплювання косарки на трактор її раму обладнано переднім та заднім стояками. Крім того, задній стояк використовують як скобу для причіплювання машин, що агрегатуються з косаркою. На рамі закріплено пальці та зварний стояк для з'єднання косарки з начіпною системою трактора.

За допомогою гідросистеми трактора косарку піднімають. Різальний апарат піднімається швидше від рами, що забезпечується системою важелів косарки, зміною кута між нижніми тягами начіпної системи трактора і рами косарки. Потреба піднімати різальний апарат за допомогою гідросистеми виникає при натраплянні на перешкоду, на поворотах при невеликих переїздах з ділянки на ділянку.

При переїздах на далекі відстані різальний апарат спочатку піднімають за допомогою гідросистеми, а потів вручну встановлюють вертикально і закріплюють транспортним гаком і прутком із спеціальною гайкою.

Сінокосарка працює так. Під час руху трактора вперед трава потрапляє між пальцями різального апарата; леза сегмента притискують її до кромок вкладишів пальців і зрізують. Зрізана трава падає через пальцьовий брус і лягає шаром на ґрунт.

Одночасно, пруток, закріплений на внутрішньому башмаку, відводить траву від головки ножа дещо вправо, польова дошка з прутками зсовує зрізану масу вліво, забезпечуючи цим вільний. Прохід для внутрішнього башмака під час наступних заїздів.

Якість роботи залежить від правильності складання і регулювання косарки.

Сегменти ножа і вкладиші пальців повинні лежати в одній площині, що досягається їх рихтуванням.

У правильне складеному різальному апараті передні кінці сегментів нош. лежать на вкладишах пальців. Між заднім кінцем вкладиша і сегментом допускається зазор до 1 мм.

У крайніх положеннях шатуна середини сегментів ножа не повинні доходити до середини пальців на 6 мм (регулюють зміною довжини шатуна). Потрібний кут похилу різального апарата вперед або назад встановлюють поворотом шарніра відносно тягової штанги. Висоту зрізування регулюють переставлянням підошов башмаків. Натяг пасів змінюють пересуванням ведучого шківа натяжним гвинтом.

2.2 Результати патентного пошуку та їх аналіз

Основними робочими органами косарок є корпус і ріжучий апарат.

Ріжучий апарат косарок, несучий, що містить, брус, прижими, в пазах яких розташовані ножі, кожний з яких має лезо і спинку, що контактує з пластиною тертя, закріпленою на несучому брусі, відмінний тим, що, з метою підвищення довговічності, задні поверхні ножів виконані увігнутими, а поверхня пластини тертя, що контактує з ножовими спинками, виконана опуклою.

Апарат по п. 1, відмінний тим, що пластина тертя виконана з двох частин, між якими розміщений сальник.

На рисунку 2.2 показаний ріжучий апарат, загальний вигляд; на рисунку 2.3 - перетин А-А рисунок 2.2.

Рисунок 2.2-Ріжучий апарат

Ріжучий апарат складається з несучого бруса 1, на якому з двох сторін прикріплені притиски 2. В пазах останніх розміщені ножі 3, мають лезо 4 і ножову спинку 5, що спирається своєю задньою частиною (кромкою б) на пластину 6 тертя. Пластина 6 тертя закріплені на несучому брусі 1 притисками 2 за допомогою болтів 7 і мають опуклу поверхню б, контактуючу із задньою частиною ножових спинок. Останні розташовані під кутом до площини різання так, що разом утворюють увігнутий профіль, що охоплює опуклу поверхню пластини тертя.

Пластини тертя виконані з двох частин, між якими встановлений маслоємний елемент 8 для зменшення тертя між поверхнями тертя. Ріжучий апарат косарки працює таким чином.

Рисунок 2.3-Ріжучий апарат

При русі косарки трава потрапляє між лезами 4 верхнього і нижнього ножів 3, які, рухаючись поперемінно управо і вліво, зрізують її. При зрізані трави на ножі діє сила Рь яка притискує спинки ножів задньою частиною і поверхні б пластин би тертя, закріплених на несучому брусі 1. При цьому за рахунок того, що поверхня б виконана увігнутою, виникає сила Рг, яка прагне розвести задні частини верхнього і нижнього ножів 3, що при отриманні додаткових поверхонь тертя на ножах В і Г, зближує передні частини ножів, тобто ріжучі кромки лез 4. Таким чином, між лезами ножів в їх ріжучій частині підтримується мінімальний зазор протягом всього терміну служби ріжучого апарату, що підвищує довговічність його роботи.

Винахід відноситься до сільськогосподарського машинобудування, а саме до сільськогосподарських прибиральних машин-косарок.

Косарка складається з рами, що навісила на трактор, до якої непосредсвено до осі 5 приєднана поворотна рама 6 з ріжучим апаратом, закріпленим на останній за допомогою шпренгеля 10. На рамі косарки шарнірно напівосями 12 встановлений корпус обмежувача повороту, а на поворотній рамі 6 шарнірно закріплений шток 13 віссю 14, причому шток 13 забезпечений упором 15. Карданний вал забезпечений роз'ємною муфтою, що складається з напівмуфт 16 і 18, валу 17, валу 19 з буртиком 21 і пружини 20.

При наїзді ріжучого апарату на перешкоду він відхиляється назад вгору, повертаючись навкруги осі 5. При цьому відбувається роз'єднання напівмуфт 16 і 18 відключення приводу ріжучого апарату.

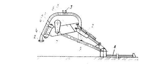
На рисунку 2.4 зображена косарка в робочому положенні, вигляд ззаду; на рисунок 2.5 - те ж, вигляд зверху.

Рисунок 2.4-Косарка в робочому положенні.

Рамка навіски 1 цапфами 2 і проушинами 3 навісила на трьохточковий задньо-навісний пристрій трактора. На похилій стороні рамки навішування і кронштейнах 4 поміщена вісь 5 шарніра. Поворотна рама 6 втулкою 7 закріплена на осі 5 між кронштейнами 4. Ріжучий апарат 8 за допомогою штанги 9 і шпренгеля 10 приєднаний до поворотної рами 6.

Корпус 11 обмежувача повороту регульованими напівосями 12 шарнірно закріплений на нерухомій рамці навішування, а циліндровий шток 13 віссю 14 шарнірно приєднаний до поворотної рами. Шток 13 забезпечений упором 15.

Рисунок 2.5-Косарка вигляд зверху

У карданну передачу від ВВП трактора вставлена автоматично відключається роз'ємна муфта, що складається з напівмуфти 16, жорстко сполученою з телескопічним валом 17 карданною передачею напівмуфти 18, встановленої на валу 19 рухомо і пружиною 20 піджаою до напівмуфти 16, причому вал 19 забезпечений буртиком 21.

Косарка працює таким чином. ри наїзді на перешкоду при перевищенні розрахункового тягового зусилля шток витягується з корпусу і рама з ріжучим апаратом дістає можливість розвернутися навкруги похилої осі з одночасним підйомом.

Довжина штока обмежувача повороту визначає кут розвороту косарки, який триває до упору в корпусі.

При розвороті косарки пружина звільняється і підтискає напівмуфту до буртику, при подальшому розвороті напівмуфта виходить із зачепляня з напівмуфтою і машина від'єднується від приводу, що обертається, розвертається на заданий кут без перевищення допустимих кутів відносно положення валів в шарнірах карданної передачі.

При подачі трактора назад одночасно з відновленням первинного положення обмежувача повороту відбувається відновлення первинного положення карданної передачі. При розвороті, обертаючись навкруги похилої осі, ріжучий апарат відривається від землі, підводиться і вільно, без тертя в ґрунт, відводиться, таке положення осі сприяє поверненню апарату в первинне положення під дією сили тяжкості.

2.3 Технічна пропозиція удосконалення

Вихідні дані:

Марка трактора - МТЗ-80

Операція - косіння

Марка агрегату-КС-2.1

При вивчені мною будови та механізму роботи косіли КС-2.1 я дійшов висновку, що роботу косіли можна удосконалити. За допомогою наварювання прутів-ліфтйорів на кожен з пальців косіли КС-2.1.

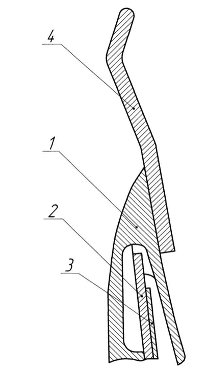
Для виготовляння прутів-ліфтйорів використовується метал прут діаметром 12 мм довжина прута-ліфтйора 150 мм.. Прут-ліфтйор приварюється на 20 мм. на верхній частині носка пальця. Прут-ліфтйор має вигін приблизно на 50 мм. вниз і плавно вигнутий до поверхні землі, кінець загнутий догори. Таке пристосування економічно і технічно вигідно при косінні бобових культур (гороху) це пристосування допомагає краще підіймати бобові культури, які лежать на землі. Це збільшує продуктивність роботи косіли КС-2.1 а також зменшує втрати урожаю бобових культур (гороху).

Таке пристосування не заберає ні багато витрат часу ні коштів для його виготовлення. В господарстві його можна виготовити власними силама при мінімальних затратах тому економічний ефект для господарства від пристосування високий.

1-палець, 2-протирізальна пластина, 3-сегмент, 4-прут-ліфтйор.

Рисунок 2.6-Наварений прут-ліфтйор на палець косілки КС-2.1

3. Розрахунок міцності вузлів та деталей

Як відомо при кожному виготовлені деталей, споруд, валів, пристроїв які придаються певним навантаженням перевіряються на міцність, як розрахунковим так і експериментальним способом. Отже в даному розділі показано розрахунковий спосіб на міцність рами косілки.

 (3.1)

                            (3.2)


Переріз 1 - 1

                     (3.3)

                      (3.4)


Переріз 2-2

 (3.5)

(3.6)

Отже при відповідних значеннях ми отримали такі дані, тобто товщина бруса повинна становити 14,4 см.

Діаметр вала. Відстань між деталями.


d=6·=49.6»50

По формулі 3.2 (1) маємо:


t цил i r вибираємо з табл.3.1 (1).

d=8·=40P=d+2·t цил=40+2·2.3=44.6»45БP=dP+3r=44.6+3·2,5=52.1»53Б=1.4·dP=1.4·44.6=62.5»60Б=1.5·d=1.5·40=60 мм=d1+d2+2·m=56.667+283.333+4=344=

Визначення опорних реакцій

Дано:

а=19 мм Fn=1219 н L1=97 Ft=4242 н=43 Fr=1562 н L3=43 Fa=656 н

Вертикальна площина

ΣFi=0; Rab-Ft+Rbb=0

Rab=Ft/2=2121 Н.=2121 Н.

Горизонтальна площина

ΣFi=0; Fn-RΑΓ-Fr-RВΓ=0

ΣM(a)=0; Fn·L1+Fr·L2+Fa·d1/2+RВΓ(L1+L2)

RВΓ==-(1219·97+1562·43+656·(56,667/2))/86=

Н.

RΑΓ=Rn-Fr-RВΓ=1219-1562+2372=2029 Н.

RΑr==2935 Н.Вr==3182 Н.=0,83·е·RΓ RΑs=0,83·0,41·2935=897 Н. RBs=0,83·0,41·3182=1083 Н.

Знаходимо осьові сили навантажуючі підшипники:

Аs=897 н.Вs=1083 н.Аа=897 н.Ва=RАа+Fа=897+656=1553 н.

Для тихохідного валу RCs=2857 н RDs=4066 на=4066 н RCа=RDа+Fа=4066+656=4722 н.

Перевірочний розрахунок вала на міцність і витривалість

Дано:

=0,097 м RAB=2121 Н=0,043 м RBB=2121 Н=0,043 м RAΓ=2029 Н=1219 Н RBΓ=2372 Н=4242 Н RAa=897 Н=1562 Н RBa=1553 Н FA=656 Н


а) Побудова епюр згинаючих моментів

Вертикальна площина (ХОZ)

Переріз Е Мх=RAb·l2==2121·0,043=91,2 Н·м

Переріз А Мх=0

Переріз В Мх=0

Переріз К Мх=0

Горизонтальна площина (УОZ)

Переріз К Му= 0

Переріз А Му=Fn·L1=1219·0,097=118,2 Н·м

Переріз В Му=0

Переріз Е зліва Му=Fn·(L1+L2)-FAΓ·L2=1219·(0,097+0,043)-2029·0,043=83,4 Н·м

Переріз Е зправа Му=FBΓ·L3=2375·0,043=102 Н·м

Крутні моменти

Переріз к Мк=-120,2 Н·м

Стиск-розтяг

Переріз Е зліва N=-RAa=-897 Н

Переріз Е зправа N=-RBa=1553 Н

Матеріал тихохідного валу-шестерні:

Ст 40Х

σB=900 МПа

σT=750 МПа

τT=450 МПа

σ-1=410 МПа

τ-1=240 МПа

Розрахунок перерізу А на статичну міцність. Результуючий крутний момент

М= =118,2·103 Н·мм

Осьовий момент опору перерізу

W =π·d3/32=3,14·453/32=8942 мм3

Площа перерізу А= π·d2/4 =3,14·452/4=1590 мм2

Еквівалентна напруга

σекв = 18,3 МПа

Коефіцієнт запасу міцності по текучості

= σT/σекв=750/18,3=41>[ST]1,6

Розрахунок перерізу А на втомленість. Визначимо амплітуду напруги в небезпечному перерізі:

σa=σu=M/W=118,2·103/8942=13,2 МПа

τa=τk/2=MK/2·WK=120,2·103/2·17884=3,4 МПа

WK=π·d3/16=3,14·453/16=17887 мм3

Концентратором є перехід з гантеллю і посадка з натягом.

Для гантелі Kσ=1,95, Кτ=1,6, Кd=0,83, Kσ/Кd=1,95/0,83=2,35

Для посадки з натягом Кτ/Кd=1,6/0,83=1,93

Kσ/Кd==3,05, Кτ/Кd=2,05

Враховуємо концентратор від посадки з натягом Kf=1, Kv=1.

(Kσ)d=[(Kσ/Кd)+Kf-1]·=(3,05+1-1)*1/1=3,05

(Кτ)d =[(Кτ/Кd)+Kf-1]·=((2,05+1-1)*1/1=2,05

Границі витривалості вала

(σ-1)d=σ-1/(Kσ)d=410/3,05=134 МПа

(τ-1)d=τ-1/(Kτ)d=240/2,05=117 МПа


Sσ=(σ-1)d/σa=134/13,2=10,2τ=(τ-1)d/τa=117/3,4=34,4

Коефіцієнт запасу міцності для перерізу Г

==2,1=(10,2+34,4)/=9,8

Розрахунок підшипників кочення

1. Підбір підшипників для вала

Дано:

=334 об/хв=0,41<100 0С

Строк служби L=12000 год.

=847 н RAR=2935 н=1553 н RBR=3182 н=656 н=70 мм

Приймаємо підшипник 207.

Визначимо еквівалентне навантаження по формулі

= (x·V·Fr+Y·Fa)·Kσ·Kt

Fa1/V·Far=897/2935=0,31<е

х1=1

У1=0/V·FBr=1553/3182=0,49>е

х2=0,4

У2=1,45, V=1

Знаходимо

Kσ=1

Kt=1, V=1=(1·2935+0·897·1·1=2935 Н.=(1·04·3182+1,14·1553)=3225 н.

Так як Pr2>Pr1 розраховуємо лише КНЕ=1 по формулі 16.31 (2).

=КНЕ·Ln=1·12000=12000 год.

По формулі 16.32

=60·10-6 ·n·LnE=60·10-6·334·12000=240,5 млн. об

приймаємо а2=0,7, а1=1.

По формулі 16.27 (2).

С=  =20358 Н., що менше паспортного.

Спасп=50 кН.

Перевіряємо підшипник на статичну вантажопідйомність по формулі 16.32 (2). Маємо:

Ро=хо·Fn+Уо·Fa

Хо=0,5

Уо=0,8

Ро=0,5·3182+0,8·1553=2833 н.

Так як Ро<Fn то приймаємо Ро=Fn =3128 Н., що менше паспортного Со=33 кН.

Отже підшипник 207 придатний.

Техніко-економічна оцінка розробки

Дана розробка, яка запропонована мною, дає можливість здійснення роботи по покращенню косіння полеглих рослин, перевагою такого пристрою є зменшення навантаження, яке потрібно приложити для проведення роботи. А це в свою чергу зменшує витрати часу, сили робітника, що здійснює відповідну операцію.

Це зусилля буде залежати від таких технологічних параметрів як:

навантаження на колеса;

середнього діаметра різі даного пристрою;

кута тертя;

коефіцієнта тертя;



З формули випливає, що ККД даного механізму малий, але це не впливає на якісний діапазон роботи.

Висновок

В даній курсовій роботі висвітлено тему "Інтенсифікація робочого процесу косарки". В ній докладно проаналізовано та висвітлено деяке удосконалення даного агрегату. Дана робота складається з таких пунктів як:

Аналіз господарської діяльності в даному розділі розкрита роль та місце вирощування відповідної культури, пшениці на площі 250 га, стан та використання технічних засобів.

Огляд літератури та патентний пошук, в цьому розділі висвітлено питання патентного пошуку дослідження проаналізовано роботу, що завершилася знаходженням нових технологічних рішень, а також проаналізовані літературні джерела, в яких описано конструктивні схеми машин. В результаті проведення теоретичних досліджень відповідно до теми встановлено аналітичні залежності та інші результати, які дають виконати кінематичний та динамічний аналіз виконання технологічного процесу та функціонування машини.

Обґрунтування конструктивних та технологічних параметрів розробки, в даному розділі розраховано вибір раціонального співвідношення швидкості руху агрегату і ширини захвату.

Розрахунок міцності вузлів та деталей, в цьому розділі виконано та використано знання механіки матеріалів і конструкції розрахунку рами даного агрегату.

Техніко-економічна оцінка розробки, в даному розділі приведені розрахунки визначення прикладення зусилля, а також розраховано ККД та аналіз його.

Отже дана курсова робота дає можливість досконалого вивчення, процесу роботи даного агрегату, визначення відповідних параметрів та їх зміни при деякому удосконаленню.

агротехнічний косарка патентний економічний

Література

1. Борисов В.Н. Создание и результаты испытаний ротационной косарки КРФ-2,1. Докладне и выступления на расширенной секции НТС ВИСХОМа, 17 см. 1964 г.

. Босой Е.С. Режущие апараты уборочных машин. Изд. "Машиностроение." М. 1967г.

.Ивашко А.А. Вопросы теорий разных органических материалов. "Тракторы и сельхозмашины." №2 1958 г.

. Новиков Ю.Ю. Теория и расчет ротационного режущего апарата с рубящими робочими органами "Сельхозмашина" №8 1957 г.

. Погорелец А.Н. Технологические и технические основы совершенствования ротационного режущего апарата уборочных машин. Десертация, К. 1975 г.

. Кошаристов В.Ю. "Сільськогосподарські машини", Вища школа К. 1987р.

. Пашенчиков В.Ю. "Сільськогосподарські машини, Механізація тваринництва "Вища школа" , К. 1980 р.

. Резник Н.С. "Теория резания лезвием и основы расчета режущих апаратов." Изд. Машиностроение М. 1975 г.

. Фомин В.И. Обоснование параметров колющего апарата сегментно -дискового типа. Автореферат 1963.

Похожие работы на - Інтенсифікація робочого процесу косарки КС-2.1

 

Не нашли материал для своей работы?
Поможем написать уникальную работу
Без плагиата!
Без нейросетей!