Отделочные работы
Отделочные
работы
Содержание
Введение
. Описание объекта отделочных работ
. Организация рабочих мест
.1 Организация рабочего места при
производстве плиточных работ
.2 Организация работ по оклейке стен
обоями
.3 Организация штукатурных работ
. Выбор и описание инструмента
.1 Инструменты для плиточных работ
.2 Инструменты для обойных работ
.3 Инструменты для штукатурных работ
. Выбор и описание материала
.1 Материалы для плиточных работ
.2 Материалы для оклейки стен обоями
.3 Материалы для штукатурных работ
. Описание технологического процесса
.1 Облицовка стен керамической
плиткой
.2 Технология производства обойных
работ
.3 Оштукатуривание оконных откосов
. Дефектные таблицы
.1 Дефекты штукатурки и оценка
качества
.2 Дефекты и оценка качества при
облицовке
.3 Дефекты при оклейке бумажными
обоями и оценка качества
. Техника безопасности при
производстве отделочных работ
Заключение
Библиографический список
Приложение
Введение
Масштабы и темпы экономического развития нашей
страны во многом определяются темпами и качеством капитального строительства.
В общем объеме строительно-монтажных работ
важная роль принадлежит отделке зданий - завершающему этапу строительства.
Отделка придает зданиям и сооружениям законченный вид, защитные, санитарно-гигиенические
и декоративные качества. В настоящее время важнейшей задачей наряду с
дальнейшим увеличением объема жилищно-гражданского строительства является
повышение качества строительно-монтажных и отделочных работ.
К отделочным работам относятся все работы,
связанные с маляркой, штукатурка и шпаклевка поверхностей, облицовочные работы,
наклейка обоев, остекление и нанесение лакокрасочных материалов.
Отделочные работы выполняют в определённой
технологической последовательности: стекольные, штукатурные, облицовочные,
малярные и обойные.
Выполняют отделочные работы рабочие,
объединённые в бригады, состоящие из нескольких звеньев. Бригада несёт
ответственность за качество работ, за сроки выполнения, за экономное
расходование материалов. В повышении производительности труда большую роль
играет рациональное комплектование бригад и звеньев, эффективная организация
труда, квалификация рабочих, правильный подбор материалов, инструментов и
приспособлений.
Настоящая письменная экзаменационная работа
содержит описание инструментов, материалов, способов организации труда,
технологии производства работ, а также возможных дефектов и правил техники
безопасности при выполнении отделочных работ в 2-х комнатной квартире
(оштукатуривание оконных проемов, облицовка керамической плиткой, оклеивание
стен обоями).
1. Описание объекта
отделочных работ
Объект отделочных работ: 2-комнатная квартира
старой планировки, которая расположена на 5 этаже в 5-ти этажном панельном
доме, по ул.Ленина 2-77, общей площадью 45,2 м2, жилой 32,3 м2, комнаты
проходные, в квартире имеется электроплита, совмещенный санузел, имеется
балкон. плиточный штукатурный обойный работа
Необходимые отделочные работы:
в кухне, площадью 9 м2, необходимо облицевать
керамической плиткой (250*300мм) вертикальный участок, размером 1 * 2м.
в зале, площадью 19,0 м2 и в спальне, площадью
13,0 м2 необходимо произвести оклейку бумажными обоями.
кроме того, требуется оштукатурить оконные
откосы в кухне.
2. Организация
рабочих мест
Эффективность труда работника зависит от
правильной организации его рабочего места. Рабочим местом рабочего называют
участок, на территории которого он работает и может правильно размещать нужные
для работы приспособления, инструменты и материалы.
Рабочие места могут быть стационарные и удаленные,
однако в строительстве почти нет стационарных рабочих мест, потому что работник
вместе с приспособлениями и материалами во время выполнения работы перемещается
с одной рабочей точки на другую. Каждый работник должен выполнять работу на
своем участке так, что бы не мешать работать другому работнику.
Механизмы, приспособления, инструменты и
материалы на рабочем месте размещают так, что бы во время работы не приходилось
делать лишних движений. Ручной инструмент, который берут правой рукой, должен
находиться справа, а тот, что берут левой рукой, - слева.
Если для работы нужен столик, то его
устанавливают так, чтоб с этого места можно было выполнять наибольший объем
работы.
На рабочем месте не должно быть строительного
мусора, лишних материалов, которые будут мешать передвижению работников. Во
время работы следует пользоваться только исправными инструментами,
приспособлениями и качественными материалами.
Для выполнения работ на высоте нужно установить
на рабочем месте необходимые приспособления, а на них разместить в удобном
порядке ящики для раствора, и инструменты и др.
Большое значение в организации работ имеет
своевременное подготовка нужных материалов и обеспечение их на рабочем месте.
Поэтому в специально отведенных помещениях задолго сортируют плитки, кроят
линолеум, готовят растворы, клеи, мастики. Подготовленные материалы в процессе
работы ритмично подаются на рабочее место.
2.1 Организация
рабочего места при производстве плиточных работ
Рабочее место при облицовке вертикальных
поверхностей организуют так, чтобы необходимые материалы, инвентарь были удобно
размещены (рис.1). Запасы раствора должны быть рассчитаны на 1...1,5 ч
непрерывной работы (сроки схватывания раствора).
Рисунок 1 - Схема
организации рабочего места при облицовке вертикальных поверхностей
1 - скамеечка плиточника, 2 - ведро, 3 -
универсальный столик с плитками, 4, 5 - рабочие места плиточников, 6 -
контейнеры с плитками, 7 - сменная тара для раствора.
.2 Организация
работ по оклейке стен обоями
Обойные работы относятся к малярным работам и
выполняют по окончании всех отделочных работ. Организация рабочего места по
оклеиванию поверхностей обоями находится в прямой зависимости от принятого
метода выполнения отделочных работ в целом и от способа оклеивания. Обойные
работы - относительно самостоятельный технологический процесс в отделочных
работах, однако правила по охране труда остаются те же, что и при малярных
работах. Вместе с тем имеются и некоторые особенности.
Работы по оклеиванию поверхностей обоями
выполняют маляры, которые входят в состав специализированной бригады. Получила
распространение организация работ по поточно-цикличному графику. При пяти
циклах звенья маляров в третьем цикле заняты подготовкой поверхностей стен и
перегородок под оклеивание обоями. В пятом цикле выполняют оклеивание стен
обоями.
Оклеивание стен обоями предусматривается по
заранее подготовленной поверхности. Большие поверхности перед оклеиванием
обоями очищают с помощью затирочных машин.
Наклеивают обои следующим образом: на
столике-верстаке раскатывают четыре-пять рулонов обоев и, подогнав их точно по
рисунку, нарезают на полосы нужной длины кромки, заранее обрезанные на машинке.
При раскрое следят за тем, чтобы рисунок обоев на отдельных полотнищах совмещался.
Исполнители работ по оклейке поверхностей обоями
выполняет бригада маляров в следующем составе: маляр 4 разряда - (М1); маляр 3
разряда - (М2). Работы выполняются в соответствии с рекомендуемой схемой
организации рабочего места, с использованием необходимых средств механизации и
инструмента (рис.2).
Рисунок 2 -
Организация рабочего места при оклейке стен обоями
1 - столик-подмости; 2 - стол для разметки и
отрезки полотнищ; 3 - ведро с клеем;
М1 - наклеивает обои; М2 - наносит клей на обои
и подает их маляру 4-го разряда.
направление оклейки
стен обоями.
.3 Организация
штукатурных работ
При выполнении штукатурных работ необходимо
применять поточный способ их производства, расчленяя процесс этих работ на
отдельные технологические операции, характер и количество которых зависят от
вида штукатурки и материала оштукатуриваемых поверхностей. При этом методе
процесс оштукатуривания, разбитый на отдельные технологические группы операций,
выполняется специализированными звеньями, отвечающими за качество работ и сроки
сдачи. При производстве штукатурных работ методом комплексной механизации,
звенья объединяют в штукатурные экипажи.
Поточно-расчленённый метод производства работ
обеспечивает повышение производительности труда рабочих, улучшения качества
работ и экономию материалов на основе роста мастерства рабочих, эффективного
использования рабочего времени, средств механизации и материальных ресурсов.
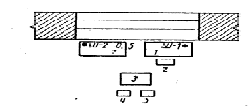
Исполнители работ при оштукатуривании оконных
откосов (рис.3): штукатур IV разряда (Ш-1), штукатур III разряда (Ш-2).
Рисунок 3 -
Организация рабочего места при оштукатуривании оконных откосов
Ш-1, Ш-2 - расстановка рабочих; 0 - ведро с
водой; 1 - инвентарные столики-подмости; 2 - рабочий ящик; 3 - емкость с
известковым раствором; 4 - гипс в бумажном мешке; 5 - цемент в бумажном мешке.
3. Выбор и описание
инструмента
Для выполнения отделочных работ наборы
инструмента достаточно многочисленны. Многие из них применяются и для других
строительных работ, но для каждого вида отделочных работ используется
специфический инструмент, без которого нельзя обойтись при выполнении
определенного вида отделки.
.1 Инструменты для
плиточных работ
Для облицовочных работ набор инструмента должен
включать (Приложение 1):
Лопатка (кельма плиточная) - для нанесения и
разравнивания раствора - обычно трапециевидной формы с утолщенной ручкой на
конце.
Деление плиток на части производят рычажным
плиткорезом или стеклорезом.
Зубчатый шпатель и терка с зубчатыми кромками
применяются для нанесения клеев и мастик. Часто швы между плитками во влажных
помещениях заполняют силиконовым герметикой с помощью монтажного пистолета.
Молоточек плиточный - применяют для
выдалбливания отверстий в плитке.
Киянка резиновая - используется для осаживания
плитки.
Кусачки - для грубой подгонки плиток,
выкусывания закругленных мест.
Стальной скребок - применяют для очистки
поверхности основания от потеков раствора и грязи.
Скарпель - применяют для срубания неровностей с
поверхности и нанесения насечек.
Щетка применяется для очистки основания от пыли
и грязи.
Причалки металлические с резинкой - надевают на
уголки крайних маячных плиток для контроля горизонтального шва при облицовке
вертикальных поверхностей.
Гладилка металлическая - предназначена для
нанесения, разравнивания и заглаживания раствора.
Терка резиновая - применяется для заполнения
швов между плитками затирочной смесью.
Станок для резки плитки - помогает легко
разметить и разрезать плитку любых размеров.
Крестики плиточные - используют для контроля
ширины шва между плитками, при облицовке они могут применяться для расшивки
шва.
Емкость для раствора - применяют для
приготовления и содержания в ней раствора. Она имеет гладкие стенки, с которых
легко отходит застывший раствор.
Вертикальность облицовываемых поверхностей и
граней, а также горизонтальность поверхностей проверяют отвесом и водяным
уровнем.
.2 Инструменты для
обойных работ
Для отделки поверхностей рулонными материалами
необходимо иметь (Приложение 1):
Ножницы с длинными лезвиями, которыми нарезают
полотнища, обрезают кромки обоев.
Нож применяется для нарезки обоев на полотнища и
для прирезки по линейке кромок обоев. Для различных операций и материалов
имеются специальные ножи: дисковый, предназначенный для подрезки сырых обоев у
плинтусов и наличников, с одной или двумя скользящими опорами для прирезки
кромок моющихся обоев на тканевой основе и др.
Кистями (макловица, флейцевые или маховые)
наносят клей на обои, а также на поверхности стен и потолков при их огрунтовке.
Кроме того, для этих целей могут быть использованы меховые или поролоновые
валики.
Валик (резиновый или пластмассовый) применяют
для прикатки обоев и их стыков.
Щетка с мягкой щетиной служит для разглаживания
полотнищ обоев при наклеивании. Основание и накладка щетки изготовляются из
дерева твердых пород, пучок - из конского волоса длиной 40 мм.
Шнур - применяется для разметки горизонтальных
линий.
Резиновый и пластиковый ролик - применяется для
прокатки кромок полотен, наклеенных на поверхность.
Для обойных работ необходим отвес для контроля
вертикальности наклеиваемых полотнищ, рабочий обойный стол для раскладывания и
смазывания клеем полотнищ.
.3 Инструменты для
штукатурных работ
Для проведения штукатурных работ необходимо
иметь (Приложение 1):
Сокол предназначен для удержания раствора в руке
при нанесении его на оштукатуриваемую поверхность, а также для разравнивания
слоя штукатурки. Он представляет собой деревянный щит размерами 380x400 или
400x500 мм из досок толщиной 18 мм. По середине щита при помощи двойного шипа и
гвоздя крепится ручка. Деревянный щит можно заменить 6-8-миллиметровой фанерой
или дюралюминиевым листом. В этом случае ручка фиксируется на деревянной
квадратной планке, которая, в свою очередь, крепится к фанере или металлу
четырьмя шурупами.
Кельма используют для набрасывания раствора с
сокола на оштукатуриваемую поверхность, а также для отмеривания и перемешивания
материалов и растворов. Размеры рабочего полотна из твердой стали - 200x150 мм.
Ручка с коленом крепится к полотну заклепками или сваркой.
Отрезовка предназначен для заделки раковин,
трещин и выполнения других операций при производстве штукатурных работ.
Полутерок деревянный служит для выравнивания и
уплотнения штукатурного намета. Состоит на ручки и полотна, выполненного из
древесины хвойных пород, не имеющей сучков. Оптимальные размеры полотна
лолутерка - 800x110 мм.
Терка используется для затирки поверхностей
накрывочного слоя штукатурки. Изготовляется также из древесины без сучьев. Состоит
из полотна размерами 140-190x100-120 мм и ручки, которая крепится гвоздями или
деревянными нагелями.
Правило представляет собой рейку сечением 20x90
мм, длиной 1700-1800 мм, с ручками в виде прорезей посередине. При помощи
правила разравнивают грунтовочный слой на оштукатуриваемой поверхности, а также
проверяют плоскостность поверхности и устройства маяков.
Гладилка - служит для намазывания и заглаживания
штукатурки.
Ковш для отделочных работ - применяют для
набрасывания раствора и дозирования раствора.
Угольник - служит для измерения, разметки,
проверки углов 90°.
Отвес - служит для провешивания и для проверки
вертикальности стен.
Уровень строительный - служит для проверки
вертикальности и горизонтальности конструкций.
Кроме перечисленных видов инструмента, отметим:
ведра или тазики для приготовления раствора,
кисть из мочалы или конского волоса для
смачивания поверхности,
сито или сетка с ячейками 2x2 или 3x3 мм,
молоток - используется для работы с зубилом,
зубчаткой, троянкой,
зубило - для срубания неровностей, для нанесения
насечек на каменные поверхности, для выборки раствора из швов кладки,
щётка стальная - служит для очистки поверхностей
от загрязнения и отслаивающихся частиц,
а также подмости для работы на высоте.
4. Выбор и описание
материала
.1 Материалы для
плиточных работ
Керамические плитки. Выпускаются различные виды
плиток: неглазурованные, глазурованные, полированные, прессованные или
изготовленные методом волочения. У глазурованных плиток лицевая сторона покрыта
слоем глазури. Глазурь может быть прозрачной и непрозрачной, глянцевой и
матовой, белой и цветной. Она придает плитке низкую пористость и высокую
износостойкость. Неглазурованные плитки обычно не имеют никаких декоративных
рисунков.
Плитки бывают одноцветные и многоцветные
(мраморовидные). Изготовляют плитки рядовые и фасонные. Плитки рядовые для
внутренней облицовки стен одну сторону имеют глазурованную, другую рифленую,
что улучшает их сцепление с раствором или мастикой.
Наиболее распространенные размеры керамических
плиток: 150x150, 150x200,200x250,200x300.
Средства для крепления плиток. Одним из
распространенных средств крепления плиток является цементный раствор. Он
выравнивает основание, заполняя в нем трещины и раковины, и надежно крепит
плитки к поверхности. Его готовят из 1 части цемента, и 4 частей песка.
В настоящее время плитки чаще всего наклеивают с
помощью клеевых смесей. Они бывают либо жидкими, готовыми к употреблению, либо
сухими, требующие растворения водой. Мастики и клей для укладки керамической
плитки по сравнению с цементным раствором требуют при работе меньших затрат
труда.
Первые называются органические мастики, - смесь
разных веществ для склеивания. Мастика высыхает за счет испарения
растворителей, входящих в ее состав. Мастика для укладки плитки изготавливается
из латекса или продуктов нефтепереработки и состоит из: связывающего агента
(собственно клея) и добавки. Добавки придают клею необходимые свойства, а затем
испаряются по мере того, как клей начинает подсыхать и отвердевать. Мастики из нефтепродуктов
имеют в составе растворитель, а мастики на основе латекса - воду (Гумилакс,
Синталакс, Акрилакс, Гермелакс и т.д.).
Вторые представляют собой сухую смесь из цемента
и разных добавок, которую надо развести водой перед укладкой. Сухие клеевые смеси
применяются для укладки керамических стеновых и напольных плиток на
оштукатуренные, бетонные стены и основания, выполненные из керамических
материалов, например из кирпича. На нашем рынке они широко представлены под
разными брендами (Атлас, Ветонит, Крепс, Корунд, Плитонит, Юникс и т.д.).
Самыми популярными у отечественного потребителя
являются готовые смеси: «Клей-герметик», «Бустилат», «ПВА», мастики «ПСБ»,
«Гумилакс». Практика показывает, что хорошими клеящими качествами
характеризуется состав на основе ПВА с добавлением цемента (одна часть цемента
по объему на 5-6 частей ПВА), «Бутилакс» с добавлением цемента или мела.
Введение наполнителей (цемента, мела) в клеящие составы позволяет увеличить
толщину клеящего слоя и тем самым обеспечить плотное прилегание плитки к
основанию.
Составы для расшивки швов (затирки). Как
правило, производитель сухих смесей производит и серию затирок для плитки.
Составы для расшивки швов (затирки) бывают акриловыми, полностью готовыми к
применению и расфасованными в банки, и в виде сухих смесей на основе цемента,
упакованных в мешки. Затирки можно колеровать. Материал для заполнения швов
должен подходить по цвету к плиткам, но окончательный цвет фуги устанавливается
после полного высыхания раствора.Из огромного многообразия существующих на
рынке затирок выделяются три основные группы. Простые и универсальные затирки
для обычных плиток и обычных условий эксплуатации. Они изготавливаются на базе
минеральных компонентов с добавлением полимера. Ширина шва - до 6 мм.
Специализированные затирки для широких швов (от 4 до 16 мм) или особых условий
эксплуатации, как правило, это система flex. Изготавливаются из минеральных
компонентов с большим содержанием полимеров. Обеспечивает подвижку и деформации
шва без его разрушения. Специализированные особые виды затирок для бассейнов,
специальных видов полов и т. д. Изготавливаются, как правило, из полимерных
составляющих.
Качественный и грамотно приготовленный раствор
для затирки швов очень пластичен и хорошо заполняет швы между керамическими,
мраморными, бетонными, каменными плитками. Смесь можно применять как внутри,
так и снаружи зданий, в сухих и мокрых помещениях. При затвердевании швы
становятся влагостойкими, а также стойкими к высоким и низким температурам.
Для производства плиточных работ на объекте
выбрана плитка глазурованная размером 250*300мм, клей плиточный ATLAS и затирки
для плитки ATLAS.
.2 Материалы для
оклейки стен обоями
Обои, рулонный материал, преимущественно на
бумажной основе, для внутренней отделки помещений. Бумажные обои выпускаются
длиной 7, 10, 12, 18 м и шириной 500, 560, 600 и 750 мм. Для оформления
верхнего обреза обоев выпускаются бордюры шириной 15-600 мм и длиной 25м.
Каждый рулон современных обоев имеет ярлык с символами, дающими характеристику
данным обоям. Следует иметь в виду, что все рулоны, предназначенные для оклейки
одной комнаты, должны быть пронумерованы одним номером, иначе возможны отличия
в оттенках. Символы, дающие характеристику обоям, приведены в Приложении 2.
Клеевые составы. От качества клеящего состава,
правильного соблюдения технологических процессов зависит качество обойных
работ. Поэтому к клеям предъявляются следующие требования:
они должны отвечать санитарным нормам и правилам
на содержание в них вредных веществ;
они должны быть легки в употреблении - легко
готовиться к работе и наноситься на поверхность или обои;
приготовленные клеящие составы должны быть
однородными, не иметь нерастворившихся частиц, песчинок и других засорений;
прочность сцепления на сдвиг и отрыв не должна
понижаться более чем на 10... 20 % при некоторой влажности материала основания,
при динамических воздействиях и многократных изменениях относительной влажности
воздуха от 20 до 90 %.
Для наклеивания обоев используются
специализированные клеевые составы. Обойный клей, наравне с высокими клеящими
свойствами, должен обладать определенным уровнем влагостойкости, эффективно
противоборствовать развитию грибков и плесени (фунгицидные свойства), не
оставлять пятен на обоях и, наконец, легко размешиваться и не образовывать комков.
Профессиональные отделочники, например, рекомендуют для всех видов бумажных
обоев клей QUELYD или METYLAN.
Одним из самых старых и надежных обойных клеев
являются клеи на основе карбоксиметилцеллюлозы (КМЦ). Дело в том, что КМЦ не
имеет температуры коагуляции, т.е. при растворении в горячей воде она не
образует осадков и комьев. Его растворяют в воде температурой 18... 25 °С,
затем, постоянно перемешивая, засыпают необходимое количество клея. Клей должен
набухать в воде не менее 12 ч. Клейстер КМЦ не загнивает, может храниться в
сухом помещении сколь угодно долго.
Для оклейки стен на объекте выбраны обои
бумажные ОАО «Белорусские обои», размером 0,5 на 10 м и клей «DECORO
Универсальный», устойчивый к цементу и извести, в фасовке 200 - граммовые
пачки.
.3 Материалы для
штукатурных работ
Штукатурка - искусственный каменный материал,
полученный в результате твердения рационально подобранной смеси. Эту смесь до
затвердевания называют растворной или раствором. Для приготовления штукатурного
раствора используют вяжущие вещества, заполнители и воду. Вяжущие материалы
делят на гидравлические (цемент и специальные вяжущие) и воздушные (известь,
глина, гипс). Гидравлические вяжущие твердеют на воздухе и в воде; воздушные
твердеют только на воздухе. Для приготовления растворов в основном применяют
цемент. Заполнители разделяют на природные и искусственные. К природным
заполнителям относятся гравий, песок и каменная крошка. Искусственные -
различные виды шлаков, опилки, керамзитовый песок. Песок является самым распространенным
заполнителем.
Сухие штукатурные смеси используются как для
внутренней, так и для наружной отделки. Штукатурки на цементной основе
используются, как правило, для выравнивания бетонных, цементных и кирпичных
поверхностей внутри и снаружи зданий. В зависимости от крупности наполнителя
(песка) они подразделяются на мелко- и крупнодисперсные. В любом случае
крупность наполнителя не превышает 3-4мм, и именно она определяет способ
нанесения штукатурки. При внутренней отделке цементные и цементно-известковые
штукатурки могут использоваться как для работы в сухих, так и влажных
помещений. Подробные указания по использованию можно найти в инструкции по
работе с конкретным составом. Штукатурки на цементной основе следующих марок:
«Плитонит Т», «Плитонит Тв», «Крепе Штукатурка Наружная», «Крепе Штукатурка
Внутренняя», «Петромикс ШВ», «Петромикс Ш», «Бетонит Т», «Бетонит ТТ» и др.
Штукатурки на гипсовой основе используются для
внутренних отделочных работ в сухих помещениях. Поскольку материалы на основе
гипса несовместимы с гидроотвердевающими вяжущими (цемент и т. п.), то не
допускается применение цементных растворов для выравнивания гипсосодержащих
основ. Гипсовые штукатурки более удобны в работе, поверхность получается более
ровной, а значит, потребуется меньшее количество дорогостоящей шпаклевки.
Гипсовые составы для штукатурных работ производит «Победа Кнауф» («Кнауф
Гольдбанд и Ротбанд»), «Оптирок» («Бетонит ГП») и др.
Для штукатурных работ на объекте выбрана
универсальная сухая штукатурная смесь Ротбанд - предназначена для
оштукатуривания вручную стен и потолков с любым типом поверхности внутри
помещений с нормальной влажностью, включая кухни и ванные комнаты в жилых
помещениях.
5. Описание
технологического процесса
.1 Облицовка стен
керамической плиткой
Существует три способа облицовки стен
глазурованными керамическими плитками (рис.4): вразбежку, шов в шов, по
диагонали.
Рисунок 4 - Способы
облицовки стен глазурованными керамическими плитками
а - вразбежку; б - шов в шов; в - по диагонали
Облицовка вразбежку - самый простой способ
облицовки. Он заключается в том, что вертикальные швы в каждом горизонтальном
ряду такой облицовки смещены на половину размера плитки. Неточности в толщине и
вертикальности швов за счет этого будут менее заметны. При облицовке шов в шов
плитки должны образовывать взаимно-перпендикулярные горизонтальные и
вертикальные ряды. Швы должны быть ровными, одной толщины. Любое, даже
небольшое, отклонение шва по вертикали или горизонтали при такой облицовке
будет заметно. При облицовке по диагонали швы между плитками должны пересекать
горизонтальную линию пола под углом 45° и быть взаимно-перпендикулярными. Этот
способ более трудоемкий, так как образуется большое количество неполномерных плиток,
причем разрезанных по диагонали.
Без правильной подготовки плитки к работе нельзя
добиться хорошего качества облицовки. В подготовку плитки входят следующие
операции: сортировка плитки (по цвету, оттенку, качеству и размерам); резка
плитки; вырезка круглых и прямолинейных отверстий. Сортировку плитки по
размерам осуществляют с помощью специальных шаблонов. Для этого плитку
вставляют в шаблон сначала с одной стороны, затем с другой. Отсортированную по
размеру плитку откладывают отдельно. Одновременно с сортировкой плитки по
размеру производят сортировку ее по цвету, тону и рисунку. Для этого выбирают
эталонную плитку, с которой и сравнивают все остальные. При этом отбраковывают
дефектные плитки. Керамические плитки не должны иметь отбитых углов, выпуклостей,
выбоин и трещин, наплывов и волнистости глазури, отклонения сторон от прямого
угла более 0,5 мм, искривления поверхности.
При облицовке часто требуются неполномерные
плитки, которые получают из целых. Резку плитки производят резцом или
стеклорезом. Сначала на плитке отмечают карандашом риски, где будет проходить
разрез. К рискам прикладывают ровный твердый, прямолинейный предмет, по
которому и производят разрез. Для этого, сильно нажимая, стеклорезом прорезают
глазурь и верхнюю часть черепка плитки. Для раскола плитки по надрезу ее нужно
ударить нижней стороной по линии надреза по ребру доски, стола или верстака
(рис.5а). Можно «откусить» плитку специальными кусачками (рис.5б).
а)
б)
Рисунок 5 - Резка
плитки:
а) раскол плитки; б) выравнивание кромок
неполномерных плиток прямыми кусачками
Когда требуется большое количество неполномерных
керамических плиток, применяют рычажные плиткорезы различных конструкций.
Рычажной плиткорез (рис.6) состоит из основания 1 с двумя стойками 2,
соединенными между собой направляющими 3. Между направляющими двигается каретка
4, имеющая внизу резец 5, а вверху рычаг 6. Рычаг передвигает каретку вдоль
направляющих и резцом надрезает плитку.
Рисунок 6 -
Рычажной плиткорез:
1 - основание; 2 - стойки; 3 - направляющие; 4 -
каретка; 5 - резец; 6 - рычаг
Вырезку круглых и прямолинейных отверстий
производят в процессе облицовочных работ. Для выполнения круглых отверстий применяют
специальный зажим. Сначала на лицевой поверхности плитки необходимо нанести
контур будущего отверстия. Затем ее зажимают зажимом и острой стороной
плиточного молоточка с лицевой стороны выдалбливают отверстие в плитке. Зажим
не дает плитке вибрировать и раскалываться под ударами молоточка. Отверстие
должно быть достаточным для того, чтобы вставить в него специальные кусачки,
которые вставляют в отверстие снизу. Откусывая маленькие кусочки от плитки,
постепенно приближаются к нанесенному контуру отверстия. Неровные края
отверстия зачищают наждачной бумагой.
Часто облицовка подходит к прямолинейному
препятствию. Плитку режут на несколько частей. Этого можно избежать, вырезав
прямоугольник непосредственно на самой плитке. Для этого острым предметом (резцом
или стеклорезом) прорезают контур выреза по глазури плитки. Затем при помощи
прямых кусачек аккуратно, небольшими кусочками откалывают лишнюю часть плитки.
Максимально приблизившись к нанесенному контуру, плитку начинают откалывать по
разрезу. Неровные края также зачищают наждачной бумагой.
Кромки разрезанных плиток должны быть ровными,
без сколов и повреждений лицевой поверхности. Неровности кромки зачищают
рашпилем, на шлифовальном круге или наждачной бумагой.
Состав технологических операций при проведении
облицовочных работ: разметка поверхностей под облицовку; разметка первого ряда
плиток; укладка первого ряда плиток; укладка последующих рядов.
К началу работ поверхности должны быть
подготовлены под облицовку, вынесены на стены отметки уровня чистого пола.
После переходят к провешиванию и разметке облицовываемой поверхности.
Провешивание поверхности производят в той же последовательности, что и при
оштукатуривании. Провесив поверхность, приступают к ее разметке. Складным
метром или рулеткой определяют размеры и контуры будущей облицовки, определяют
количество плиток, укладываемых в одном горизонтальном ряду.
Разметка поверхности под облицовку. Низ
облицовки располагают на уровне чистого пола. Для этого первый ряд плиток
раскладывают насухо, начиная от середины стены, и подсчитывают необходимое
число плиток.
Отметка чистого пола выносится на стены водяным
уровнем. На уровне чистого пола устанавливают рейку, поддерживающую первый ряд.
Рейка должна быть ровной и гладкой, так как она определяет уровень, от которого
начинают укладку плитки. Если по проекту нижний ряд облицовки должен быть из
плинтусных плиток, то его укладывают после настилки пола, а рейку устанавливают
на уровне верха будущего плинтусного ряда строго горизонтально. При этом
учитывают толщину горизонтального шва.
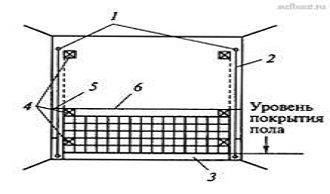
Для определения вертикальных контуров
облицовываемой поверхности устанавливают маяки. У противоположных сторон стены
на 3…4 см выше опорного бруска и верха облицовки забивают стальные штыри 1
(рис.7). От штырей опускают отвесы. Шнурки 2 отвесов закрепляют на штырях,
отступая от стены на толщину облицовки. Шнурки внизу наматывают на забитые у
пола штыри. Штыри у пола забивают рядом со шнур-кой отвеса, находящегося в
спокойном состоянии. В этом месте шнурка накручивается на штырь. Таким образом,
шнурки не только показывают направление вертикального шва, но и толщину
облицовки. Эти два шнура остаются на стене на весь период работ. Если
облицовываются все стены помещения и в углах не укладываются фасонные плитки,
то штыри забиваются в угол между двумя поверхностями под углом 45°. Если в углу
будут установлены фасонные плитки, значит расстояние от вертикальных шнуров до
поверхности примыкающих стен должно быть несколько меньше, чем расстояние от
стороны угловых фасонных плиток до примыкающей стены. Это необходимо для того,
чтобы крайний ряд плиток расположился на расстоянии 4...5 мм от шнура.
Рисунок 7 -
Облицовка стен:
1 - стальные штыри; 2 - шнур; 3 - рейка; 4 -
маячные плитки; 5 - штырь для крепления причалки; 6 - причальный шнур
Разметка первого ряда плиток. Нижний ряд
облицовки раскладывают, опирая на установленную по уровню рейку 5 (высота
которой равна толщине пола). При раскладке плиток насухо стремятся уложить в
углах неполномерные плитки одинаковой ширины, если не умещается ряд из целых
плиток. Затем натягивают причальный шнур 4 между струнами 3, сдвигая зажимную
муфту в сторону причального шнура (рис.8). Чтобы ослабить натяжение шнура,
муфту сдвигают в сторону крюка.
Рисунок 8 -
Крепление причального шнура (а) с помощью зажимных муфт (б)
1 - нижний штырь, 2 - крючок с зажимной муфтой,
3 - проволочная струна, 4 - причальный шнур, 5 - опорный брусок
Укладка первого ряда плиток. Установив
причальный шнур на уровне верха первого ряда плиток, их установку начинают от
середины стены. Из стопки плиток, уложенных лицевой стороной вверх, левой рукой
берут одну плитку и тыльной стороной подносят ее снизу к отверстию
рамки-шаблона 2 универсального столика (рис.9, а).
На прижатую к бортам шаблона плитку накладывают
раствор, выравнивая его поверхность ребром плиточной лопатки. При этом по краям
тыльной стороны плитки остаются не заполненные раствором полоски шириной 5 мм.
Плитку с раствором в горизонтальном положении подносят к месту укладки, затем
быстро, но осторожно прислоняют одной стороной к опорному бруску (рис.9, б).
Поднимая вверх, плитку устанавливают на место,
осаживая ручкой плиточной лопатки до уровня причального шнура. Излишки
раствора, выступающие по краям, срезают лопаткой и продолжают укладку плиток
вправо и влево от первой плитки.
Укладка последующих рядов. Причальный шнур
натягивают по верху устанавливаемого ряда. В начале и в конце ряда закрепляют
маячные плитки. Установку последующих плиток выполняют так же, как и в первом
ряду.
Для соблюдения одинаковой ширины швов между
плитками вставляют проволочные скобы 8 (рис.9, в) диаметром 3 мм со сплющенными
концами, клинышки из твердых пород древесины или полоски стекла толщиной 3 мм.
После затвердения раствора их переставляют из
нижележащих рядов на участок укладки очередных плиток.
Последующие ряды облицовки выполняют так же, как
облицовку предыдущих рядов.
Вертикальные швы между плитками контролируют
отвесом.
По окончании облицовки стен устанавливают
угловые фасонные плитки, пользуясь готовой облицовкой как направляющей
плоскостью.
Рисунок 9 -
Установка первого ряда плиток
а - универсальный столик плиточника, б -
установка плитки на опорный брусок, в - установка плиток с применением скоб; 1
- шаблон для резки и калибровки плиток, 2 - открылок с отверстиями для
дозировки раствора, 3, 4 - емкости для раствора и воды, 5 - открылок для
складирования плиток, 6 - бункер для боя плиток, 7 - опорный брусок, 8 - скобы
Облицовка стен на клеях и мастиках. Поверхности
под облицовку на клеях и мастиках должны иметь минимальные отклонения.
Прослойка клея или мастики должна иметь одинаковую толщину, иначе сцепление
плитки с поверхностью будет не равномерным и не прочным. Пред началом работ
поверхности проверяют. Основание под облицовку на клеи и мастики должно быть
прочным, ровным, очищенным от пыли и грязи. Если основание гигроскопичное, то
его загрунтовывают глубоко проникающими грунтовками. Затем производят разметку,
провешивание поверхности. После этого раскладывают плитки насухо, определяя
целое число плиток в ряду и размеры неполномерных плиток. Облицовку стен также
начинают с нижнего горизонтального ряда, опирающегося на рейку, закрепленную на
уровне чистого пола строго горизонтально.
В настоящее время при проведении облицовочных
работ используют различные плиточные клеи или мастики. Клеевые смеси быстро
готовятся, легки в работе, применяются для облицовки различных поверхностей.
При приготовлении клеев необходимо учитывать напечатанные в аннотации указания
по применению, сделанные производителем. Для приготовления клея лучше использовать
пластиковое ведро или емкость, так как их стенки легко можно очистить от
застывших остатков клея.
В основном все сухие клеевые смеси
приготавливают следующим образом. Сначала вливают необходимое количество воды в
емкость, а потом добавляют сухой клеевой состав в воду (а не наоборот, так как
при вливании воды в сухую смесь образуется большое количество комочков, что
приводит к неоднородности клеевой массы и снижению качества сцепления клея с
плиткой и поверхностью). Затем смесь интенсивно перемешивают. Для этих целей
лучше всего применять специальную мешалку. В течение примерно 5 мин
вязкотекучей жидкости дают постоять, или «созреть». За это время частички сухой
смеси набухают, вступая во взаимодействие с водой. После еще одного
перемешивания клей готов к работе. При замешивании клея необходимо обращать
внимание на указанное на упаковке время открытого клея - это промежуток времени
от замешивания до образования пленки на клее. По истечении определенного
времени клей начинает твердеть и становится непригодным к применению. Как
правило, оно составляет 20...40 мин.
Клеевой раствор или мастику лучше всего наносить
на поверхность стены, а не на плитку. Нанести клей на всю поверхность плитки
без пропусков очень трудно и неудобно. Когда клей наносят на поверхность стены,
он равномерно распределяется по ней и не имеет пропусков. К тому же на
поверхности стены легче добиться одинаковой толщины клеевой прослойки по всему
основанию.
Клеевой раствор наносят на поверхность стены
площадью не более 1 м2, так как раствор сохраняет свои клеевые свойства в
течение 10... 30 мин. Это время зависит от типа основания, температуры и
влажности воздуха. Если в процессе работы какая-то часть клея застыла и
утратила свои клеящие способности, то ее следует удалить и нанести новый слой
раствора.
Клеевой раствор равномерно наносят на основание
зубчатой гладилкой (рис.10), гладкой ее стороной, а затем распределяют по
поверхности зубчатой стороной в виде тонких полосок раствора, расположенных
друг от друга на одинаковом расстоянии. Зубья гладилки позволяют выдержать
одинаковую толщину клеевого слоя по всей поверхности. Размер зубьев подбирают в
зависимости от размера плитки. Чем больше плитка, тем больше должны быть
размеры зубьев.
Рисунок 10 - Нанесение
клея на поверхность стены зубчатой гладилкой
Плитки укладывают, плотно прижимая их к
поверхности стены рукой. Если плитки больших размеров, то их можно подбить,
постукивая резиновой киянкой. При приклеивании плитки полоски раствора
равномерно заполняют пропущенные места, не выходят за края плитки и сцепление
плитки с поверхностью будет прочным.
Через сутки после завершения облицовки всей
поверхности приступают к заполнению швов. Для этого сначала их прочищают. Затем
приготавливают затирку. Затирка является заключительной операцией при
оштукатуривании, после которой поверхность должна остаться чистой, гладкой и
ровной.
Сухую смесь затирки приготавливают к работе так
же, как и клеевую. Швы заполняют при помощи резинового шпателя или резиновой
терки. Раствор для накрывки берут на мелком заполнителе. Затирку производят
терками вкруговую или вразгонку.
Выполнение затирки: одной рукой берут терку,
прижимают полотно к штукатурке и, совершая круговые движения, затирают
штукатурный слой.
Неровности, отдельные бугорки раствора при
затирке срезают. Полотно терки перемещает раствор по затираемой поверхности,
заполняет отдельные впадины, растирает накрывку, уплотняя раствор.
В тех местах, где на штукатурке имеются бугорки,
нажим на терку должен быть сильнее, а где впадины - слабее. На ребрах терки при
затирке собирается срезанный с неровностей раствор. Его необходимо периодически
счищать, иначе раствор будет мешать затирке.
Срезают раствор с терки кельмой, которая
находится во время затирки в другой руке. Срезанный раствор оставляют на кельме
и используют для заполнения попадающихся вогнутостей и подмазки встречающихся
пропущенных мест.
При высококачественных отделках затирку
вкруговую сопровождают затиркой вразгонку. Она выравнивает кругообразные следы
затирки вкруговую, и затирка получается более чистой. Для затирки вразгонку
терку хорошо очищают от раствора и прижимают к затертой штукатурке лишь слегка.
Движения терки должны быть прямолинейными. Когда затирка подсохнет, моют
поверхность губкой, а после полного высыхания приступают к окончательной
очистке.
Расход керамической плитки и материалов на
облицовку кухонного фартука приведен в Приложении 3.
.2 Технология
производства обойных работ
Количество обоев и пленок зависит от площади
оклеиваемой поверхности, цвета и рисунка обоев. При расчете обоев для
оклеивания стен площадь оконных и дверных проемов не учитывается.
Развернутую площадь стен необходимо поделить на
полезную ширину полотнища. Получается требуемая длина обоев в метрах.
Полученную длину увеличивают на 20 %, делят на
длину обоев в одном рулоне и получают требуемое число рулонов. Необходимо
предусмотреть запас на текущий ремонт (два рулона).
Меньше всего потерь получается при раскрое
одноцветных обоев и обоев с мелким рисунком.
Раскрой обоев с крупным рисунком сопряжен с
наибольшими их потерями при подгонке.
Расход обоев и материалов для оклейки зала и
спальни приведен в Приложении 3.
Примерный расход обоев для оклейки стен высотой
2,5 м можно также определить по табл.2.
Таблица 2 - Расход
обоев для оклейки стен высотой 2,5
|
Жилая площадь, м2
|
Размер обоев
|
|
Ширина 50 см, длина 12 м
|
Ширина 56 см, длина 12 м
|
Ширина 50 см, длина 10,5 м
|
Ширина 60 см, длина 10,5м
|
|
9
|
4
|
4
|
5
|
4
|
|
11
|
5
|
5
|
5
|
5
|
|
13 (спальня)
|
6
|
6
|
7
|
6
|
|
17
|
8
|
8
|
9
|
8
|
|
19 (зал)
|
9
|
9
|
10
|
9
|
При оклеивании поверхностей обоями все процессы
выполняются в определенной последовательности:
. Подготовка поверхностей под оклейку: очистка
от набела верха стен, прочистка поверхностей, проклеивание поверхностей,
подмазывание неровностей, шлифование подмазанных мест, оклеивание бумажной
макулатурой (или сплошное шпатлевание).
.Нанесение клеевого состава на полотнища обоев.
.Оклеивание обоями.
Подготовка поверхностей под оклейку.
Подготовленные под оклейку обоями поверхности должны быть чистыми и сухими,
ровными и сглаженными.
Подготовка поверхностей начинается с осмотра и
выявления дефектов. Трещины разрезают, расчищают и зашпатлевывают. Выбоины на
поверхности подмазывают. Имеющиеся выпуклости срубают и исправляют раствором.
Отремонтированные места после просушки шлифуют. В подготовку также входят также
удаление старых обоев, грунтование и оклейка поверхностей макулатурой. При
грунтовке поверхности под обои клеевой состав должен наноситься сплошным
равномерным слоем, без пропусков, потеков, и выдерживаться до начала загустения.
По периметру дверных и оконных проемов, по контуру и в углах наносят
дополнительно слой клея шириной полосы 75 - 80 мм.
Масляную, эмалевую краску, лаковое покрытие
перед оклейкой обоев не удаляют. Такие поверхности тщательно промывают водой с
добавлением соды или мыла, просушивают, шлифуют наждачной бумагой и грунтуют
глубокопроникающей грунтовкой.
Поверхности, оклеенные ранее обоями, вначале
проверяют, прочно ли они держатся. Для этого поверхность обоев смачивают водой.
Места, где появились вздутия, очищают от обоев, шпатлюют, а после высыхания
шлифуют. Если старые обои держатся прочно, то всю поверхность проклеивают
(грунтуют) соответствующим клеем с хорошей растушевкой.
Лучше всего старые обои удалить полностью, так
как новое покрытие лучше приклеится к очищенной и хорошо подготовленной
поверхности.
Для закрепления пылевидных частиц, которые могут
повлиять на качество клеевого соединения, поверхности перед оклейкой
проклеивают, т.е. грунтуют. Для этого применяют разбавленный клейстер. Его
разводят водой примерно наполовину от рекомендованного для наклейки. Кистью или
валиком состав наносят на поверхность и тщательно растушевывают, без пропусков
и потеков. После проклейки появляется тонкая пленка клеевого состава, к которой
прочнее приклеивается бумага.
Для выравнивания поверхности, защиты обоев от
проникновения щелочей ее предварительно проклеивают специальной подклеечной
бумагой в рулонах - макулатурой. Поверхность, оклеенная макулатурой, должна
просохнуть в течение суток. Затем производят легкое шлифование.
Подготовка обоев. Подготовка обоев к работе
заключается в обрезке кромок и разрезании рулонов обоев на полотна. Простые
обои обычно наклеивают внахлестку, поэтому кромку обрезают только с правой
стороны. Более плотные обои наклеивают встык, кромки у них обрезают с обеих
сторон. Обрезая обои, необходимо осмотреть все куски. Если при этом окажутся
неоднородные по цвету куски, то их необходимо отложить отдельно от остальных.
Однородные по цвету, куски следует использовать для оклейки более освещенных
мест, а неоднородные - для менее освещенных поверхностей, заставленных мебелью,
где они будут менее заметны.
Полотна раскраивают в зависимости от характера
рисунка:
при стыковке полотен одноцветных обоев и обоев с
повторяющимися вертикальными полосами узор не учитывается, поэтому их
накладывают друг на друга и нарезают полотна одинаковой длины;
при стыковке обоев с простым рисунком соседние
полосы наклеивают на одинаковой высоте с рисунком, поэтому обои совмещают с
рисунком на первом отрезанном полотне, отрезая несовмещаемые концы;
при стыковке обоев с диагональным рисунком
соседние полосы наклеивают со смещением выше или ниже узора на половину его
высоты, поэтому такие обои поочередно прикладывают к отрезанному полотну слева
и справа и отрезают несовмещаемые концы.
Рулоны разрезают на полотна с припуском, т.е.
длиной большей, чем высота оклейки, на 5... 10 см. Это позволит устранить
разницу высоты помещения, если пол неровный. Раскроенные и раскатанные обои,
сложенные в стопу лицевыми сторонами, должны быть выдержаны при температуре
около 20 °С не менее 2 ч. На полотна наносят клей тонким ровным слоем и
выдерживают до пропитки бумаги.
Нанесение клея. Для нанесения клея
подготовленные полотна укладывают стопкой (не более 10 слоев) лицевой стороной
вниз, смещая их по отношению друг к другу на 10... 12 мм, чтобы при
промазывании верхнего полотна клейстер не затекал под кромку полотна, лежащего
ниже. Полотна укладывают на полу или обойном столе. Клей наносят на обои кистью
или валиком тонким ровным слоем без каких-либо пропусков. Наносят широкую
полосу клея посередине полотна и растушевывают клей сначала поперечными, а
затем продольными движениями. Кромки обоев должны быть смазаны особенно
тщательно, иначе они будут отставать в местах стыков.
Обои должны пропитаться клеем, поэтому их
выдерживают и складывают в пакет. Для этого необходимо поднять один верхний
край обоев (примерно 1/4 часть полотна), завернуть его рисунком вверх, кромкой
вплотную к кромке нижнего края. Нельзя при этом фиксировать сгиб. Второй край загибают
также. Отложив пакет, чтобы клей впитался, таким же образом намазывают
следующее полотно. Пакеты складывают в стопки по 3... 5 шт. Стопки выдерживают
в течение 10... 15 мин.
Наклеивание обоев. Оклейку начинают от угла
стены, имеющей окна, продвигаясь вглубь комнаты. При дневном освещении края
полотнищ, наклеенные внахлестку, не отбрасывают тени и становятся менее
заметными. Предварительно необходимо разметить границы наклейки первого полотна
обоев. Углы помещения должны быть проверены по отвесу: от угла (вверху стены)
отмеряют расстояние, на 20...30 мм меньшее ширины наклеиваемого полотна, и
отмечают его карандашом. Приложив к отметке отвес, внизу наносят вторую метку
(рис.11). Шнуркой или рейкой и карандашом соединяют эти две отметки, получая
тем самым границу вертикальной кромки первого полотнища.
Рисунок 11 -
Разметка и закрепление границы наклейки первого полотна обоев
1 - верхняя граница наклейки обоев; 2 - шнур
отвеса; 3 - верхняя метка; 4 - нижняя метка; 5 - граница вертикальной кромки
полотнища
Полотнище обоев приклеивается к обеим стенам,
образующим угол. При этом основная часть полотнища приклеивается к одной из
стен, а оставшаяся часть полотнища перекрывает угол с напуском в 2 - 3 см, не
более чем на 5 см. Если остается большее расстояние, то излишнюю полосу
отрезают. Если при наклейке на обоях в углу образуется складка или морщина, то
обои надрезают в нескольких местах, чтобы произвести наклейку без складок и
морщин. Следующие полотнища, примыкающие к наклеенному углу, наклеиваются
внахлестку или впритык. Синтетические обои на бумажной или тканевой основе в
углах стен наклеиваются целым полотнищем. Клей с поверхности обоев немедленно
удаляется.
Оклейку стен обоями удобнее производить вдвоем.
Один из работающих во время оклейки работает внизу, а второй - наверху с
подмостей или стремянки. Оклейка производится в следующем порядке. Первый
рабочий берет полотно, промазанное клеем и сложенное пакетом, раскладывает его
наполовину и подает второму рабочему, который берет за один конец намазанное
полотно и прижимает к стене верхнюю кромку точно по линии верхней наклейки.
Первый рабочий разворачивает нижнюю половину полотна, слегка натягивает ее и
прикладывает к ранее отведенной вертикальной линии. После этого полотно
приглаживают щетками, следя за тем, чтобы не образовывались морщины, складки,
пузыри, плохо проклеенные кромки. Если после проглаживания под обоями остался
воздушный пузырь, то его можно проколоть иглой или надрезать лезвием, выдавить
воздух и пригладить обои в этом месте. Если наклейка второго и последующих
полотен производится внахлестку, то не отрезанная кромка наклеенных обоев
закрывается приклеиваемым полотном. Рисунок на стыке двух полотнищ не должен
смещаться.
Приклеиваемые полотна тщательно разглаживают
щеткой (вначале движением сверху, а затем от середины - в стороны), затем
прокатывают резиновым валиком, убирая излишки клея из-под обоев.
Многие виды современных обоев являются плотными
и наклеиваются встык, когда кромки соседних полотен просто сходятся, поэтому их
приклеивают встык методом подгонки или двойной подрезки. При подгонке (рис.12)
новое полотно приклеивают к поверхности примерно на расстоянии 5 мм от
предыдущего. Плотно прижимая ладони к полотну, не касаясь кромок, его
перемещают к уже наклеенному. Одновременно совмещают узор на полосах. Через
10... 15 мин, когда клей подсохнет, резиновым или пластиковым роликом плотно
прижимают кромки соседних полотен друг к другу и к стене (рис.13).

Рисунок 12 -
Подгонка полотен Рисунок 13 - Прокатка кромок роликом
При двойной подрезке соседние полотна сначала
наклеивают внахлест. Примерно посередине стыка, используя линейку и острый нож,
прорезают соединение (рис.14). При этом отделяются две узкие полоски обоев:
одна сверху, другая - под краем одного из соседних полотен. Сначала удаляют
внешнюю полоску, затем, приподняв край полотна, снимают внутреннюю полоску. Оба
края полотен прижимают губкой и фиксируют роликом.
Рисунок 14 -
Двойная подрезка соседних полотен
а - прорезка соединения; б - отделение верхней
отрезанной полоски; в - отделение внутренней отрезанной полоски
Излишки обоев у плинтусов, откосов оконных и
дверных проемов после наклеивания обрезают по линейке острым ножом. После
оклейки стен приступают к завершающей части работы - наклейке бордюра или
фриза, который намазывают клеем, складывают, берут левой рукой, прикладывают к
отбитой линии к обоям и тщательно приглаживают. При наклейке бордюра или фриза
необходимо соблюдать особую аккуратность, чтобы не испачкать клеем уже
наклеенные обои. До полного высыхания обоев в помещении устанавливают
постоянный влажностный режим, исключающий сквозняки и прямое воздействие
солнечных лучей. Температура воздуха в помещении не должна превышать 23 °С.
5.3 Оштукатуривание
оконных откосов
Откосы - это части оконного проема, обрамляющие
окно сверху и с боков. При оштукатуривании необходимо соблюдать правила техники
безопасности; забивать проемы досками, располагая их крестообразно; при отделке
откосов используют не менее двух инвентарных столиков - на одном из них
устанавливают ящик с раствором; ящик с раствором ставят на отдалённом столике
параллельно подмостям.
Оштукатуривание оконных откосов выполняется
после тщательного закрепления коробок. Зазоры между коробками должны быть
законопачены. Перед началом работы, оконные откосы обязательно нужно
огрунтовать. Готовый штукатурный раствор необходимо нанести по всему периметру
окна, а после кратковременного подсыхания (30-50 мин.) можно сразу наносить
финишный слой штукатурки.
Площадь и объем работ по оштукатуриванию оконных
откосов внутри зданий подсчитывают по их площади в м2.
Последовательность оштукатуривания оконных
откосов. Вначале устанавливают при помощи водного уровня строго горизонтально
навешивается горизонтальные правила для верхних откосов, закрепляя их на одной
отметке для всех оконных проемов одного и того же помещения т.е. верхушки,
гипсовым раствором или гвоздями. После оштукатуривания верхних откосов
горизонтальные правила снимают и отвесом устанавливают вертикальные правила
строго вертикально на боковые стороны откосов и оштукатуривают их. Правила
ставят так, чтобы размер рассвета откосов был равен 1/7…1/10 его ширины.
Правила изготовляют из теса и крепят их зажимами. В худшем случае прибивают
гвоздями или примораживают гипсом. Примораживание гипсом неэкономично, так как
при снятии правил отбитый раствор приходится выбрасывать или вкрапливать в
толстые наметы штукатурки.
Оштукатуривание внутренних откосов производится
под небольшим углом к поверхности стен, в результате чего получается так
называемый рассвет оконных откосов (скос), делая расстояние между внутренними
сторонами откосов уже, чем между наружными. Угол рассвета на всех откосах
внутри здания делается одинаковым. Для этого он отмеряется угольником, который
ставится с одной стороны в четверть коробки, а с другой шарнирно закрепляется
планка или линейка, определяющая наружную грань откоса. На наружных откосах
угол рассвета может быть разным. Одинаковый угол рассвета отмеряют угольником
(рис.15).
Рисунок 15 -
Выполнение угла рассвета
1 - планка; 2 - угольник; 3 - заглушина; 4 -
коробка; 5 - конопатка; 6 - штукатурка откоса; 7 - рейкодержатель; 8 - правило
К угольнику прибивают планку или собачку,
которая отмеряет место нахождения правил. Угольник в таком случае всегда ставят
в четверть коробки. После установки и тщательной проверки правил веском или
уровнем их закрепляют.
Раствор наносят обычно любым инструментом и
разравнивают малкой: малку крепко прижимают к рамке, правилам и коробке.
Держать малку надо обеими руками. Малка представляет собой деревянную рейку
шириной 30-40 мм, толщиной 20-25 и длиной, равной ширине откоса по гипотенузе
треугольника, образуемого оконным проемом и коробкой. Одна сторона малки,
имеющая вырез, движется по коробке, а вторая - по рамке или правилу. Вырез
делают для того, чтобы при снятии малкой раствора он был бы не на одном уровне
с коробкой, а оставлял бы на ней зазор - отступ на 1,5-2 см. Этот зазор нужен
для того, чтобы штукатурка откоса не мешала переплетам свободно открываться.
Когда на коробках поставлены петли-навесы, то в малке следует делать
дополнительный вырез, обеспечивающий ее свободное продвижение по коробке
(рис.16).
Рисунок 16 -
Разравнивание раствора на откосе малкой
1 - правило; 2 - малка; 3 - вырез; 4 - оконная
коробка; 5 - заполненное пространство между оконной коробкой и откосом
Штукатурку откосов лучше затирать «вразгонку».
Правила снимают только после затирки и тут же исправляют и натирают усенки. На
верхнем откосе всегда натирают усенки. На боковых откосах оставляют вверху его
небольшой кусок острого усенка длиной 20-30 см, а внизу делают плоские или закругленные
фаски. На боковых откосах делать острые усенки не следует, так как они быстро
обламываются, вызывая необходимость частого ремонта. Разравнивание раствора на
оконных откосах показано на рис.17. После полного высыхания (предположительно
24 часа), поверхность желательно отшлифовать наждаком. Приемы труда при
оштукатуривании откосов в Приложении 4.
Рисунок 17 -
Оштукатуривание оконных откосов: а - верхнего; б - бокового
6. Дефектные
таблицы
.1 Дефекты
штукатурки и оценка качества
Таблица 3 - Дефекты
штукатурки
|
Дефекты
|
Причины появления
|
Способы устранения
|
|
Дутики на поверхности штукатурки
|
Наличие в растворах мелких частиц
непогасившейся извести
|
Смочить поверхность для полного
раскрытия душков, расчистить поврежденные места и оштукатурить их раствором
на хорошей извести
|
|
Трещины на поверхности
|
Применение жирных растворов,
быстрое высыхание штукатурки на сквозняках, применение толстых слоев
растворов
|
Расшить щели и трещины, хорошо
смочить их водой, подмазать раствором и затереть
|
|
Вспучивания, отлупы
|
Оштукатуривание по сырым
поверх-ностям или постоянное увлажнение после оштукатуривания там, где
при-менялись известковые, известково-гипсовые и однослойные гипсовые
штукатурки
|
Отбить штукатурку в местах
вспучивания, расчистить эти места, просушить и вновь оштукатурить
|
|
Грубая поверх-ность штукатурки
|
Применен грубый, не просеянный
заполнитель
|
Смочить поверхность, перетереть
штукатурку раствором на мелком песке
|
|
Отслаивание штукатурки
|
Раствор нанесен на неочищенную,
неподготовленную, не смоченную поверхность или на просохшие слои ранее
нанесенного раствора
|
Сбить отслоившуюся штукатурку и
нанести новую с соблюдением всех технологических процессов
|
Таблица 4 - Оценка
качества штукатурки
|
Дефекты
|
Допускаемые отклонения от требований
к качеству
|
|
простой
|
улучшенной
|
высококачественной
|
|
Неровности поверхности
(обнаруживаются при накладывании правила или рейки длиной не менее 2 м)
|
Не более трех (глубиной или
высотой до 5 мм)
|
Не более двух (глубиной или
высотой до 3 мм)
|
Не более двух (глубиной или
высотой до 2 мм)
|
|
Отклонение поверхности от
вертикали
|
15 мм на всю высоту помещения
|
2 мм на 1 м высоты, но не более 10
мм на всю высоту помещения
|
1 мм на 1 м высоты, но не более 5
мм на всю высоту помещения
|
|
Отклонение поверхности от горизонтали
|
15 мм на все помещения
|
2 мм на 1 м длины, но не более 10
мм на всю длину помещения или его ограниченную часть
|
1 мм на 1 м длины, но не более 7
мм на всю длину помещения или его ограниченную часть
|
|
Отклонение лузг, усенков, оконных
и дверных откосов от горизонтали и вертикали
|
10 мм на весь элемент
|
2 мм на 1 м длины или высоты, но
не более 5 мм навесь элемент
|
1 мм на 1 м длины или высоты, но
не более 3 мм на весь элемент
|
|
Отклонение ширины
оштукатуриваемого откоса
|
Не проверяется
|
3 мм
|
2 мм
|
.2 Дефекты и оценка
качества при облицовке
Общими дефектами облицовки плитками в первую
очередь являются те, которые снижают качество и внешний вид облицовки,
разнотонность поверхности глазурованных плиток, наличие в общей поверхности
облицовки впадин и выступов плиток, искривления или местные утолщения швов.
Этих дефектов можно избежать, если тщательно рассортировать плитки по размеру,
цвету и оттенкам, своевременно и правильно пользоваться измерительными и
контрольными инструментами и приспособлениями.
Таблица 5 - Дефекты
облицовки керамическими глазурованными плитками
|
Дефекты
|
Причины возникновения
|
Способ устранения
|
|
На поверхности обли-цовочных
плиток име-ются щербинки, отби-тые углы, плешины, мушки, пузыри и другие
дефекты
|
Применение плиток без
предварительной сортировки, отсутствие лабораторного контроля
|
Поврежденные плитки выбить и
заменить новыми
|
|
Неодинаковая ширина швов на
облицованной поверхности
|
Использование в дело плиток без
сортировки их по размерам. Небрежная работа плиточника без применения скоб и
шаблонов
|
Поверхности с неровными швами
переделать до твердения раствора. Рассортировать плитки по размерам. При
массовом несоответствии размеров плитки браковать и возвращать поставщику.
Для устройства ровного уширенного шва применять металлические скобы и шаблоны
|
|
Провесы между смежными плитками
(плитка выходит за поверхность смежной плитки)
|
Работа без предварительного
нанесения грунта. Одновремен-ное выполнение облицовки выравнивающего и
затвердев-шего слоя и грунтовки, что приводит к провесам, так как при этом
раствор разной толщи-ны дает различную усадку и «тянет» за собой плитки
|
Поверхности с такими дефектами
должны быть переделаны. Категорически запрещается начинать облицовку без
проверки поверхности и выравнивания ее штукатурным пометом
|
|
Небрежное примыкание к
трубопроводам, выключателям, розеткам и т.д.
|
Прокладка трубопроводов после
окончания облицовочных работ. Отсутствие необходи-мого инструмента для
фасон-ного выреза плиток (специаль-ного молоточка, сверла, приспособления для
сверления), недостаточный навык у рабочих
|
Поврежденные места облицевать
заново. Не начинать облицовку до прокладки трубопроводов и установки
электрокоробок
|
|
Отслаивание и выпадение отдельных
плиток или целых звеньев, в т.ч.
|
Тыльная поверхность плиток была
загрязнена, клеящая мастика нанесена на непросохшую поверхность
|
По глухому звуку при
простукива-нии определяют места отслоения плиток. Отслоившиеся плитки
осторожно снимают, чтобы использовать повторно. Если основание не повреждено,
его следует тщательно очистить и плитки установить вновь, приклеив их
белилами. Если основание повреждено, его необходимо аккуратно вырубить и
заменить новым. Поврежденные плитки с трещинами, отбитыми краями и другими
дефектами удаляют по частям с помощью скарпели или зубила и молотка. На
освобожденном от плитки участке вырубают растворную прослойку, прочищают его,
выравнивают раствором и вновь укладывают плитку
|
|
- отслоение плиток от растворной
прослойки - отслоение облицовки вместе с растворной прослойкой
|
Возможно при применении грязной,
плохо очищенной от пыли, не увлажненной тыльной стороны плиток, применении
«жирных» цементных раство-ров, недопустимом увеличении толщины растворной
прослой-ки, хождении по свежеуложен-ному покрытию пола. Происходит при плохо
очищенном от пыли, грязи и жирных пятен основании, неравномерной усадке
здания, вибрационных колебаниях конструкции, зыбкости основания
|
|
|
Швы не горизонтальны и не
вертикальны, углы развернуты, лузги, усенки и откосы искривлены
|
Отсутствие контроля во время
работ. Не применены рекомендованные инструменты и проверочные приспособления
|
Места с превышением допустимых
отклонений должны быть переделаны заново
|
Кроме того, при облицовке могут возникнуть
следующие дефекты: сквозные трещины - появляются, когда отсутствуют
деформационные швы, неправильно выполнено примыкание плиточных полов к стенам
здания и от них переходят нагрузки на облицовку, а также в результате больших
осадочных деформаций здания; после затирки поверхность имеет раковины, не
затертые места, пропуски, царапины, бороздки, бугры и впадины.
Контроль качества. Качество облицовки должно
соответствовать рабочим чертежам и особым условиям работы. Швы между плитками
должны быть ровными, прямолинейными, между плитками и облицовываемой
поверхностью не должно быть пустот. Облицованная поверхность не должна иметь
трещин, пятен, потеков раствора и высолов. Пространство между стеной и
облицовкой в плиточных полах должно быть полностью заполнено раствором.
При приемке облицовки внутренних стен ровность
поверхности проверяют контрольной рейкой длиной 2 м, прикладывая ее к
облицованной части стены и к одной из верхних маячных плиток. При этом просвет
между поверхностью и контрольной рейкой не должен быть более 2 мм, выщербины и
зазубрины в кромках плиток не должны превышать 0,5 мм, отклонение от вертикали
лузг и усенков на 1 м. Толщина растворной прослойки должна быть не более 15 и
не менее 7 мм. На облицованной поверхности не должно быть следов раствора. Швы
между плитками должны быть полностью заполнены раствором. Толщина швов не более
5 мм.
6.3 Дефекты при
оклейке бумажными обоями и оценка качества
Таблица 5 - Дефекты
обойных работ, причины их возникновения и способы устранения
|
Дефекты
|
Причины возникновения
|
Способы устранения
|
|
Полное или частичное отслаивание
обоев у карнизов
|
Слабый клей при плотных обоях,
слишком ускоренное высыхание обоев. Плохая подготовка ранее окрашенных
водными составами поверхностей под оклейку обоями
|
Переклеить обои заново с
тщательной подготовкой поверхностей
|
|
Обои отстают у наличников и
плинтусов
|
В этих местах были плохо проклеены
поверхности, а обои либо были намазаны жидким клеящим составом, либо после
намазывания долго не приклеивались
|
Обои отгибают, хорошо промазывают
клеящим составом за один или два раза, пока обои не размягчатся. Затем их
приклеивают с тщательным приглаживанием через бумагу
|
|
Полотна расположены наклонно
|
Небрежная работа без применения
отвеса
|
Переклеить обои по отвесу
|
|
Пузыри и сморщенность
|
Слишком крепкий клей при тонких
обоях. Небрежное разглаживание и замедленная сушка
|
Пузыри разрезать, смазать клеем
поверхность и подклеить обои
|
|
Рваные кромки
|
Небрежная обрезка кромок обоев
|
Работу переделать
|
|
Твердые вкрапления под обоями
|
Плохо очищена поверхность или
некачественный клей
|
Переклеить, очистив поверхность
|
|
Разрывы полотнищ в углах
|
Оклейка угла целым полотнищем без
обрезки с напуском 5 см
|
Угол переклеить правильно
|
|
Между полотнищами имеются просветы
|
При оклейке впритык плохо
прирезаны кромки обоев. Перед оклейкой обои следовало проверить на усадку и
только после этого решать: обрезать кромки у сухих или намоченных обоев.
|
Лучше всего обрезать кромки после
наклейки обоев острым ножом по фугованной линейке.
|
|
Заметны нитки швов
|
Кромки обоев направлены не против
света, т. е. оклеивание велось не от окна, а наоборот
|
Исправление возможно только путем
переклейки
|
|
Кромки обоев залиты клейстером,
который проступил сквозь обои
|
Наклейка велась горячим
клейстером, который быстро размягчает бумагу и проникает на лицевую
поверхность. Возможно, на кромки было нанесено слишком много клейстера и при
приглаживании он выдавливался. Обои могли быть изготовлены из тонкой бумаги,
легко пропускающей влагу
|
Исправление возможно наклеиванием
новых обоев с применением холодного или теплого клейстера с температурой не
выше 30°С
|
|
Полотнища обоев разного оттенка
|
Не подбирали по тону
|
Требуется переклейка. При обрезке
кромок рулонов последние надо осматривать и отбирать. Однотонные наклеивать
на стены, не заставленные мебелью и хорошо освещаемые днем
|
Требования к качеству обойных работ:
полотнища рулонных отделочных материалов и обоев
должны иметь одинаковый цвет и оттенок;
полотнища обоев должны быть расположены
вертикально, без отклонений положения кромок от отвеса более чем на 1 мм на
высоту оклейки;
пригонка кромок сложных полотнищ должна быть
точной, без просветов между полотнищами и без искажения рисунка; смещение
рисунка допускается не более чем 0,5 мм;
из-под обрезанной кромки обоев не должна быть
видна нижележащая кромка;
стыки обоев должны быть выполнены внахлестку,
верхняя кромка обоев в стыке должна быть обращена к свету (в сторону окна);
места соединения обоев при наклейке их впритык
не должны быть заметны на расстоянии 3 м;
бордюр должен быть наклеен горизонтально, без
перекосов более 2 мм на всю длину стен; ширина бордюра должна быть не более 25
мм, стыки должны быть выполнены внахлестку и так, чтобы верхняя кромка полосы
бордюра была обращена к свету (окну); бордюр должен полностью закрывать верхнюю
кромку полотнища обоев, расстояние от потолка до верха бордюра должно быть не
более 10 см;
полотнища обоев сверху должны быть полностью
подвешены под бордюр, без просветов между их верхом и бордюром, нижние концы
обоев должны быть обрезаны на 10 мм выше уровня чистого пола (при одинарных
плинтусах и галтелях) или на уровне верха плинтуса (при двойных деревянных и
полихлорвиниловых плинтусах);
не допускается наклейка обоев на плинтус;
не допускаются пятна, места, загрязненные
клейстером, потеки, изменения цвета и оттенка обоев, отставание обоев, вздутия,
складки, морщины, неровности линий обреза обоев у плинтусов и наличников,
неподклеенные места, вставки (заплаты, доклейка) отдельных мест в полотнищах.
7. Техника
безопасности при производстве отделочных работ
Общая характеристика. Во время работы
обязательно следует придерживаться всех правил техники безопасности и
производственной санитарии. Работать на высоте лишь при исправленных
устройствах.
Рабочее место должно быть хорошо освещено. Для
работы со смесями, которые выделяют вредные для здоровья человека пары
растворов, следует обеспечить хорошую вентиляцию в помещении. Вентиляция должна
обеспечивать в течение часа не меньше чем двух разовый обмен воздуха в
помещении.
После окончания работы нужно убрать свое рабочее
место, вымыть и спрятать инструменты в бытовку, выключить напряжение, подведенный
к электроустановки, закрыть пусковые приспособления на замок.
Техника безопасности при работе с ручным
инструментом. Перед началом отделочных работ необходимо проверить состояние
инструмента.
Работать можно только исправными инструментами,
к которым предъявляются следующие требования:
металлические части и ручки инструментов не
должны иметь трещин и сколов;
молотки, кувалды и другие ударные инструменты
должны быть крепко насажаны на прочные ручки;
деревянные рукоятки ручных инструментов должны быть
изготовлены из твердых и вязких пород древесины (береза, кизил, бук) влажностью
не более 12%;
зубила, скарпели не должны иметь трещин и
заусениц.
Во время работы с ударным инструментом рабочий
должен находиться в защитных очках и перчатках. После работы инструмент очищают
и убирают в специально отведенные места.
Техника безопасности при облицовке керамическими
плитками стен необходимо защищать пальцы рук от соприкосновения с плиткой и
раствором.
Для защиты рук от воздействия цементных
растворов, мастик и клеев облицовочные работы следует производить в резиновых
перчатках.
При подготовке керамической плитки к работе,
пробивании отверстий, откалывании плитки, а также при ремонтных работах, когда
необходимо выбить или отколоть плитки при их замене, следует работать в
защитных очках и перчатках. Производить рубку и откалывание плитки на коленях
запрещается.
По окончании плиточных работ необходимо очистить
инструмент и убрать рабочее место.
Техника безопасности при производстве малярных
работ. Работы, выполняемые внутри помещения, начиная с высоты 1,1 м от
перекрытия или уровня земли, следует выполнить только с прочно установленных
подмостей. Очистку, шлифование и сглаживание поверхностей производят в защитных
очках и респираторах. При работе с цементными и сухими растворными смесями
необходимо защищать глаза очками.
При работе с клеями и мастиками необходимо
строго соблюдать правила техники безопасности. Перед началом работ рабочий
должен быть ознакомлен с особенностями работы по приготовлению составов, способами
подачи материалов к рабочему месту. При ручном просеивании песка или цемента
сита устанавливают с подветренной стороны, чтобы пыль не оседала на рабочих.
Все подготовительные процессы с приготовлением малярных составов, их
разбавление растворителями должны выполняться в хорошо вентилируемом помещении.
При приготовлении лакокрасочных составов с вредными веществами необходимо
пользоваться респираторами.
Техника безопасности при оштукатуривании
откосов. При оштукатуривании откосов обязательно используются инвентарные
подмости.
Оконные проемы перед оштукатуриванием должны
быть заполнены оконными коробками или закрыты досками крест на крест. Если
оконные проемы не заполнены, то штукатур должен работать в страховочном поясе.
При оконопачивании коробок, особенно мокрым
способом, работают в защитных очках и перчатках.
Все гвозди из коробок перед оштукатуриванием
вынимают, так как при движении малки ими можно поранить руки. Правила с
гвоздями, снятые с оконных и дверных проемов, ставят в угол помещения или складывают
около стены, предварительно вынув гвозди.
При оштукатуривании по сетке работают в защитных
очках, так как падающей от вибрации сетки раствор разлетается и может попасть в
глаза. При работе с растворами, имеющими добавку алюмината натрия, рабочие надевают
очки, резиновые сапоги, перчатки и фартук.
Для оказания первой помощи на местах надо иметь
нейтрализующие составы 1%-ного раствора уксусной кислоты или 0,5%-ного раствора
двууглекислой соды. Нейтрализующие растворы хранят герметически закрытыми в чистой
стеклянной посуде.
Заключение
Завершая работу, кратко отметим следующее.
Отделочные работы - это комплекс строительных
работ, связанных с наружной и внутренней отделкой зданий и сооружений с целью
повышения их эксплуатационных и эстетических качеств. Являются завершающим
этапом строительства, от их качественного выполнения во многом зависит общая
оценка объекта, сдаваемого в эксплуатацию. В состав отделочных работ входят:
штукатурные работы (оштукатуривание кирпичных
стен или затирка стен и потолков из сборных элементов и др.);
облицовочные работы (облицовывание стен и полов
глазурованными или другими плитками);
устройство полов дощатых, паркетных, линолеумных
и др.;
малярные работы (клеевая и масляная окраска,
окраска синтетическими составами по штукатурке, бетону, дереву, металлу и др.);
обойные, столярные, плотничные и другие работы.
В данной работе мы рассмотрели следующие виды
отделочных работ: штукатурные, облицовочные и обойные.
Цель внутренних штукатурных работ - придать им
определенную форму, который при нанесении выравнивающего слоя штукатурного
раствора на поверхности стен, перегородок и потолков, затвердевает.
Внутренняя облицовка стен позволяет защитить
стены от механических, химических и других воздействий, а также уменьшить
звуко- и теплопроводность. В комплекс облицовочных работ входит: подготовка
поверхности, укладка, закрепление и декоративная затирка швов. Наиболее
популярными для облицовочных работ стен являются керамическая плитка.
Обоями оклеивают оштукатуренные, бетонные, деревянные
или обшитые листовыми материалами стены в сухих помещениях. Оклеивать стены
обоями быстрее и проще, чем окрашивать.
Важную роль играет технология производства
отделочных работ. Только строгий контроль за соблюдением технологических правил
и предписаний проекта, в основу которых, как правило, закладывается
поточно-циклический метод производства отделочных и смежных с ними видов работ,
может обеспечить высокое качество отделочных работ.
Качество отделочных работ в значительной мере
зависит от качества применяемых материалов, которые должны соответствовать
сертификатам, стандартам, техническим условиям и проверяться до начала работ.
Библиографический
список
1. СНиП
III-4-80. Техника безопасности в строительстве.
2. СНиП
IV-14-84 Сборник 2-9 Отделочные работы.
. СНиП
3.04.01-87 «Изоляционные и отделочные покрытия».
. МДС
12-30.2006 «Методические рекомендации по нормам, правилам и приемам выполнения
отделочных работ». - М.: Методическая документация в строительстве ЗАО
«ЦНИИОМТП», 2007. - 25 с.
. Белогуров
В.П. Справочник молодого маляра / В.П.Белогуров, В.Д.Чмырь. - М.: Высшая школа,
1988. - 207 с.
. Белоусов
Е.Д. Технология малярных работ: Учебник для средних профтехучилищ /
Е.Д.Белоусов. - М.: Высш. Школа, 1980. - 240 с.
. Белоусов
Е.Д. Малярные и штукатурные работы / Е.Д.Белоусов, О.С.Вершинина. - М.: Высшая
школа, 1990. - 270 с.
. Добровольский
Г.М. Штукатурные и облицовочные работы: учебн. для учеников проф. - техн.
учебных заведений образования / Г.М.Добровольский. - К.: Техника, 1997. - 304
с.
9. Красичкова
<#"520919.files/image020.gif">
а - штукатурная кельма; б - отрезовка; в - ковш
для отделочных работ; г - сокол; д - полутерок; е - полутерок малый; ж- терка;
з - рустовка
Инструменты для облицовочных работ
а - кельмы плиточные; б - киянка деревянная; в -
киянка резиновая; г - причалки металлические с резинкой (плиточные уголки); д -
молоточек плиточный; е - штырь; ж - стеклорез; з - кусачки прямые; и - кусачки
«клюв попугая»; к - гладилка со сменными зубчатыми полотнами; л - зубчатый
шпатель; м - терка резиновая; я - шпатель резиновый; о - рейкодержатель
(зажим); 1 - штырь; 2 - лапка
Приспособления для штукатурных и плиточных работ
а - шаблон; б - станок для резки плитки; в -
зажим для плитки; г - крестик; д - растворный ящик; е - емкость (пластиковая)
для раствора; ж - ведро; з - лопаты; и - сита; к - тачка
Шаблон используют для сортировки плитки.
Станок для резки плитки помогает легко разметить
и разрезать плитку любых размеров.
Зажим для плитки предназначен для закрепления
плитки при выдалбливании круглых отверстий, что не позволяет плитке
раскалываться во время ударов плиточного молоточка.
Крестики используют для контроля ширины шва между
плитками при облицовке, они могут применяться для расшивки шва.
Растворный ящик предназначен для приготовления и
содержания в нем растворов.
Емкость (пластиковую) для раствора применяют для
приготовления и содержания в ней раствора. Она имеет гладкие стенки, с которых
легко отходит застывший раствор.
Ведро используют для содержания в нем воды и
раствора. Предпочтительней использовать пластиковые ведра, которые можно
сжимать, удаляя застывший раствор.
Лопаты используют для дозировки, размешивания и
подачи раствора, а также для уборки грязи и строительного мусора.
Сита (с ячейками различных размеров) применяют
для просеивания материалов и готовых растворов.
Тачку используют для перемещения строительных
материалов.
Инструменты и инвентарь, применяемые для обойных
работ
кисти и валики используются для нанесения клея
на поверхность обоев и грунтования поверхностей клеевым составом
Инструменты для обойных работ
-
- щетка с щетиной из мягкого волоса - применяется
для разглаживания наклеиваемых полотнищ;
- ножницы (рис. 2, б) с длинными, хорошо
наточенными лезвиями, используются для нарезки полос;
- шнур (рис. 2, в) применяется для разметки
горизонтальных линий;
- резиновый или пластиковый ролик (рис. 2, г)
применяется для прокатки кромок полотен, наклеенных на поверхность;
- нож (рис. 2, д) - применяется для подрезки
полотен.
Приложение 2
Приложение 3
1. Подсчет расхода керамической плитки и
материалов на облицовку.
Чтобы правильно рассчитать количество
необходимой плитки и метраж, необходимо сначала измерить площадь предполагаемой
облицовки. Затем выяснить, какого размера будет плитка. Также нужно заранее
определить шаг рисунка (если есть) и технику укладки плитки. Чем больше изгибов
и изломов в облицовываемой поверхности, тем больше плитки пойдет потом в
отходы. При диагональной укладке плитки понадобится примерно на 10% больше, чем
при параллельной. Расход клеевого раствора также зависит от размера плитки: чем
она больше, тем и расход больше. Обычно на практике пользуются следующими
примерными соотношениями: для плитки со стороной 5-10 см - 1,7 кг/м2, 10-20 см
- 2,4 кг/м, свыше 20 см - 3,5 кг/м. Расход затирки зависит от размера плитки и
ширины шва (например, для плитки 250x300 мм и швом 2 мм составляет 350 г на 1
м2 площади плитки).
Площадь поверхности облицовки кухни 1м * 2м =
2м2
Размеры плитки: 250 * 300(мм) = 0,25 * 0,3(м)
Площадь одной плитки равна: 0,25 * 0,3 = 0,075м2
Расход плиточного клея на 1м²
покрытия,
согласно инструкции, равен 1,5кг
Расход плиток на облицовку равен: 2 : 0,075 =
26,6 ≈ 27 шт.
Расход плиточного клея равен: 2∙1,5 = 3 кг
. Подсчет расхода материалов на оклеивание
обоями.
Объем работ по оклейке стен обоями должен
исчисляться по площади оклеиваемой поверхности. Площадь оконных и дверных
проемов для исключения ее из площади стен следует определять по наружному
обводу коробок.
Зал:
Размеры комнаты: длина 6м, ширина 3м, высота
2,5м.
Периметр стен зала равен: 6 + 6 + 3 + 3 = 18,0м²
Площадь всех стен зала равна: 18,0 * 2,5 = 45,0м²
Размеры оконных проёмов: ширина 2,0м, высота
1,5м.
Количество оконных проёмов 1шт.
Площадь оконных проёмов равна: (1,5 * 2) *1 =
3,0м²
Размеры дверного проёма: ширина 1м, высота 2,0м.
Количество дверных проёмов 2шт.
Площадь дверного проёма равна: (1 * 2,0) * 2 =
4,0м²
Площадь оклеивания, всего: 45,0 - 3,0 - 4,0 =
38,0м²
Размеры рулона обоев: длина 10,5м, ширина 0,5м.
Площадь одного рулона обоев равна: 10,5 * 0,5 =
5,25м²
Расход обоев на оклеивание стен зала: 38,0 :
5,25 = 7,3 ≈ 8,0 рулонов
Расход обойного клея - 1пачка (200г) на 8
рулонов.
Спальня:
Размеры комнаты: длина 5,0м, ширина 2,6м, высота
2,5м.
Периметр стен спальни равен: 5 + 5 + 2,6 + 2,6 =
15,2м²
Площадь всех стен спальни равна: 15,2 * 2,5 =
38,0м²
Размеры оконных проёмов: ширина 1,5м, высота
1,0м.
Количество оконных проёмов 1шт.
Площадь оконных проёмов равна: (1,5 * 1,0) *1 =
1,5м²
Размеры дверного проёма: ширина 1м, высота 2,0м.
Количество дверных проёмов 1шт.
Площадь дверного проёма равна: (1 * 2,0) * 1 =
2,0м²
Площадь оклеивания, всего: 38,0 - 1,5 - 2,0 =
34,5м²
Размеры рулона обоев: длина 10,5м, ширина 0,5м.
Площадь одного рулона обоев равна: 10,5 * 0,5 = 5,25м²
Расход обоев на оклеивание стен зала: 34,5 :
5,25 = 6,57 ≈ 7,0 рулонов
Расход обойного клея - 1пачка (200г) на 8
рулонов.
. Подсчет расхода материалов на оштукатуривание
оконных откосов.
Объем работ по оштукатуриванию оконного откоса
на объекте:
Размеры оконного проёма: ширина 1,5м, высота
1,0м, глубина 20см. Количество оконных проёмов 1шт. Площадь работы равна: (1,5
* 0,2) *2 = 0,6м² (1,0 * 0,2)
*0 = 0,4м² Всего: 1м2
Объем работ по оштукатуриванию оконных и дверных
откосов внутри зданий исчисляют по их площади и нормируют по сборнику
«НОРМАТИВНЫЕ ПОКАЗАТЕЛИ РАСХОДА МАТЕРИАЛОВ. Штукатурные работы» пп. 15-65-1 и
15-65-2. Состав работ: 01. Нанесение раствора на поверхности с разравниванием и
затиркой накрывочного слоя. 02. Вытягивание тяг и выделка падуг с разделкой
углов.
Приложение 4
Приемы труда при оштукатуривании оконных и
дверных откосов
|
Наименование
|
Описание приемов
|
Иллюстрации
|
|
Подготовительные работы Штукатуры
Ш-1, Ш-2
|
Перед началом работ штукатур Ш-1
готовит необходимый инструмент, вместе с штукатуром Ш-2 устанавливает
подмости
|
|
|
Смачивание водой Штукатур Ш-2
Ведро, мочальная кисть
|
Штукатур Ш-2 смачивает поверхность
водой с помощью мочальной кисти, погружая ее в ведро и резкими движениями
стряхивая воду на поверхности проема
|
|
|
Определение угла рассвета.
Штукатур Ш-1 Угольник Пиванова
|
Штукатур Ш-1 определяет угол
рассвета при помощи угольника с передвижной пластиной конструкции Пиванова.
Штукатур приставляет угольник к коробке и, передвигая пластину по большой
линейке с делениями, закрепляет ее на уровне стены, отмеряя местонахождение
рейки. Угол рассвета принимают из расчета 1 см на 10 см проекции откоса,
исходя из чего на делениях передвижной пластины замечают величину рассвета (1
- угол рассвета; 2 - откос; 3 -величина рассвета; 4 - передвижная пластина
угольника; 5 - рейка Пиванова)
|
|
|
Приготовление известково-гипсового
раствора Штукатур Ш-2 Рабочий ящик, штукатурный ковш, мешалка
|
Штукатур Ш-2 перекладывает ковшом
известковый раствор в рабочий ящик и, добавляя гипс (5% от общего объема),
перемешивает раствор мешалкой до получения однородной массы
|
|
|
Установка реек. Штукатур Ш-1 Рейки
Ливанова, отвес, уровень
|
Штукатур Ш-1 накладывает раствор
на сокол и, подойдя к окну, кельмой набрасывает раствор на стену, после чего
берет рейку конструкции Ливанова и прикладывает неостроганной стороной к
стене согласно определенному углу рассвета так, чтобы при передвижении
угольника пластина постоянно скользила по рейке. Правильность установки рейки
проверяется отвесом. Теми же приемами штукатур Ш-2 устанавливает вторую
боковую и верхнюю рейки согласно заданному углу рассвета. Правильность
установки верхней рейки проверяется уровнем
|
|
|
Приготовление
цементно-известкового раствора. Штукатур Ш-2 Рабочий ящик, мешалка
|
Штукатур Ш-2 готовит раствор для
обрызга и грунта. Переложив из приемного ящика в рабочий известковый раствор,
он добавляет цемент в соотношении 1:8 (цемент : раствор) и, перемешивая
мешалкой, добивается однородности раствора
|
|
|
Накладывание раствора на сокол.
Штукатур Ш-1 Сокол, кельма штукатурная
|
Штукатур Ш-1 берет левой рукой
сокол, а правой кельму, подходит к ящику с раствором, кладет сокол одной
стороной на борт ящика, приподняв другую на 10 см, набирает кельмой раствор,
затем подправляет его, снимая с краев излишки
|
|
|
Нанесение обрызга Штукатур Ш-1
Сокол, кельма
|
Штукатур Ш-1 подходит к
оштукатуриваемому откосу, кельмой берет с сокола порцию раствора и резким
движением от себя набрасывает его на поверхность
|
|
|
Нанесение грунта Штукатур Ш-1
Сокол, кельма
|
После частичного или полного
схватывания слоя обрызга (через 1-1часа) штукатур Ш-1 аналогичным способом
наносит грунт
|
|
|
Разравнивание грунта Штукатур Ш-2
Малка
|
Разравнивание грунта штукатур Ш-2
производит малкой, плотно прижимая ее одним концом к репке, а другим к
оконной коробке, и движениями снизу вверх выравнивает нанесенный слой
|
|
|
Приготовление накрывочного слоя
Штукатур Ш-1 Сито
|
Штукатур Ш-1 готовит
на-крыночныйслой, процеживая раствор через сито с ячейками 1 ×
1 мм
|
|
|
Нанесение накрывочного слоя
Штукатур Ш-1 Гладилка пластмассовая
|
Штукатур Ш-1 берет в левую руку
пластмассовую гладилку, и правую-штукатурную кельму и ровными валиками
накладывает раствор на гладилку, затем берет ее двумя руками, намазывает
раствор па поверхность откоса н затем заглаживает его прямолинейными
движениями снизу вверх. При этом верхний край полотна гладилки должен быть
приподнят над плоскостью откоса на 5-10 см.
|
|
|
Затирка откосов. Штукатуры Ш-2,
Ш-1 Терка
|
Затирку откосов штукатуры Ш-1, Ш-2
выполняют с помощью терки, передвигая ее вначале «вкруговую», а затем
переходят на затирку «в разгон», т. е. направляют терку сверху вниз и обратно
|
|
|
Снятие реек Штукатур Ш-1 Затирка
усенков Штукатур Ш-2 Штукатурный молоток, полутерок
|
Штукатур Ш-1 снимает рейки только
после затирки, легко постукивая по ним молотком, штукатур Hl-2 тут же
исправляет и натирает полутерком усенки, производит притирку соединения
отмазки откоса со стеной
|
|