Общие сведения об анероидно-мембранных приборах и схемах управления
Оглавление
Введение 4
Глава 1. Общие сведения об
анероидно-мембранных приборах и схемах управления. 6
.1 Теоретические
сведения об указателях скорости и высоты полета. 6
.1.1 Указатели скорости и
числа маха 6
.2.3 Измерение высоты 10
.2 Аналого-цифровые
преобразователи 15
.2.1 Классификация АЦП 15
.2.2 Системы сбора данных 30
.2.3 Интерфейсы АЦП 32
.2.4 Шумы АЦП 37
.3 Кремниевые датчики
давления 38
.3.1 Общие сведения о
датчиках давления 39
.3.2 Конструкции датчиков
давления 44
.3.3 Электронный барометр 47
.3.4 Принципиальная схема
барометра 48
.3.5 Высотомер 51
.3.6 Типы датчиков давления. 52
.4 Жидкокристаллические
цифро-знаковые индикаторы 60
.4.1 Принцип действия,
параметры, применение 60
.5 Микросхемы управления
цифро-буквенными индикаторами 71
.5.1 Дешифраторы 4-разрядного
двоичного 71
.6 ИЖКЦЗ-6/17,
ИЖКЦ4-6/17 74
Глава 2. Проектирование 76
.1 Расчет количества проводов
в системе. 77
.2 Расчет мощности системы: 78
.3 Расчет надежности системы 79
.4 Характеристики приборов 84
Глава 3. Экономическое
обоснование проекта. 89
.1 Расчет стоимости
спроектированной системы приборов. 89
.2 Затраты на изготовление
устройства. 90
.3 Расчет капитальных
вложений, связанных с использованием разработанного блока. 94
.4 Расчет эксплуатационных
расходов, связанных с использованием разработанного блока. 95
.5 Расчет основных
экономических показателей 96
.6 Смета затрат на разработку
устройства: 96
Глава 4. Безопасность
жизнедеятельности 99
.1 Общая характеристика
помещения лаборатории 99
.2 Анализ опасных и вредных факторов
проведения работ со стендом 100
.3 Организационные и
технические мероприятия по обеспечению электробезопасности в лаборатории 101
.3.1 Электробезопасность
(ГОСТ 12.1.009-76) 101
.3.2 Заземление 101
.3.3 Расчёт заземления 101
.4 Организационные и технические
мероприятия по обеспечению пожаробезопасности в лаборатории 103
.4.1 Пожаробезопасность (ГОСТ
12.1.038-82) 103
.5 Воздействие
электромагнитных излучений радиочастот 103
.6 Мероприятия по
производственной санитарии 104
.6.1 Организация воздухообмена
в помещении 104
.6.2 Расчет потребного
воздухообмена при общеобменной вентиляции 104
.6.3 Освещение помещений 105
.6.4 Расчет искусственного
освещения 106
Глава 5. Экологичность
проекта 108
.1 Загрязнение атмосферы 108
.3 Загрязнение излучением 108
.4 Тепловое загрязнение 109
.5 Твердые отходы 110
Заключение 111
Список использованной
литературы: 112
Введение
полет скорость высота индикатор
«От технического состояния и надежности аэрометрических приборов и
системы воздушных давлений (СВД) зависит безопасность полетов и качество
выполнения задач полета. Очень большое число аварий и катастроф ВС в истории
авиации явились следствием или неисправностей аэрометрических приборов, или
ошибок экипажа при их использовании, или низкого качества технического обслуживания.
О важности отдельных аэрометрических приборов свидетельствует то, что на
самолетах последнего поколения, имеющих хорошо резервированный комплекс
цифрового пилотажно-навигационного оборудования, устанавливаются механические
высотомеры, указатели скорости полета и вариометры, которые не требуют питания
электрической энергией. Эти приборы необходимы при отказе всей системы
электроснабжения. »,- цитата из учебника «Техническое обслуживание и ремонт
авиационных электросистем и пилотажно-навигационных комплексов», 2007 года
издания, но до настоящего момента системы резервных анероидно-мембранных
приборов, работающие полностью на электрических сигналах, не ставились на ВС.
Характерными неисправностями механических систем воздушных давлений
аэрометрических приборов являются: перегорание нагревательных элементов в
приемниках полного давления, что может привести к закупорки входного отверстия
льдом; коррозия штепсельных разъемов; закупорка отверстий льдом из-за малой
эффективности обогрева в условиях интенсивного обледенения; трещины, сколы на
корпусах влагоотстойников, что может привести к негерметичности системы; могут
быть разрушения дюритовых соединений и тд.
В электронной же системе проблема дюритовых соединений отпадает, но
повышается точность приборов, снижается вес конструкции и стоимость, так же
предполагается упрощение в обслуживании прибора.
Так же существует такой фактор как инструментальные и методические
погрешности.
Методические погрешности обусловлены косвенным методом измерения высоты.
Эти погрешности вызваны изменением: рельефа местности; давления у земли;
средней температуры столба воздуха.
Методическая погрешность, вызванная изменением рельефа местности, может
быть скомпенсирована в барометрических высотомерах, если ввести дополнительную
информацию о высоте полета.
Инструментальные погрешности барометрических высотомеров складываются из
погрешностей, вызванных гистерезисом анероидных коробок, неуравновешенностью
подвижных элементов, люфтами в опорах и шарнирах ПММ, неточностью изготовления
шкалы, трением и изменением температуры воздуха, окружающего прибор.
Первые четыре вида инструментальных погрешностей конструктивными мерами
сводят до допустимых величин в механических приборах, а в нашем случае мы
попытаемся избавиться от них.
Глава 1.
Общие сведения об анероидно-мембранных приборах и схемах управления
1.1 Теоретические сведения об указателях скорости и высоты
полета
Система полного и статического давлений предназначена для питания полным
и статическим давлениями приборов и систем, измеряющих высоту и скорость
полета.
Приборы для измерения скорости полета называются указателями скорости.
Они делятся на следующие типы:
) указатели индикаторной скорости,
) указатели истинной воздушной скорости.
Наряду с указателем истинной воздушной скорости применяется указатель
числа М. Этот прибор показывает значение истинной воздушной скорости в
относительных единицах (по отношению к скорости звука).
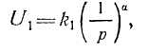
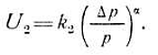
1.1.1
Указатели скорости и числа маха
Указатель
индикаторной скорости (УС) применяется в качестве пилотажного прибора. Принцип
действия его основан на измерении динамического давления встречного потока
воздуха с помощью манометрической коробки, деформация которой передается на
стрелку специальным механизмом.
Таким образом, указатель индикаторной скорости измеряет скоростной напор
Δp =γV2/2g, зависящий не только от скорости полета, но и от
плотности воздуха.
Этот прибор будет показывать истинную воздушную скорость только на той
высоте, на которой производилась его градуировка. Обычно указатель индикаторной
скорости градуируется при нормальной плотности воздуха γ=1,225
кг/м3,
поэтому показания прибора будут соответствовать истинной воздушной скорости при
полете у земли.
Известно, что аэродинамические силы, действующие на лет в полете, также
пропорциональны скоростному напору. Например, величина подъемной силы
выражается формулой
(1.1)
где су - коэффициент подъемной силы; S - площадь несущих поверхностей.
Поэтому для поддержания требуемого режима полета важно знать не истинную воздушную
скорость, а индикаторную скорость полета. Следовательно, по указателю
индикаторной скорости легко выдерживать нужные режимы полета. Этот прибор по
существу дает информацию о подъемной силе самолета на любой высоте полета, что
особенно важно знать тогда, когда подъемная сила приближается к критическому
значению.
Указатель индикаторной скорости можно использовать и как навигационный
прибор для определения истинной воздушной скорости. В этом случае в его
показания нужно вводить поправки.
Указатель истинной
воздушной скорости (ИВС)
Предназначен для измерения истинной воздушной скорости полета. Его
принцип действия, так же как и указателя индикаторной скорости, основан на
измерении динамического давления встречного потока воздуха. Отличие состоит в
том, что в указателе ИВС измеряется также и статическое давление. Кроме того,
автоматически вводится поправка на температуру по стандартной атмосфере. В этой
формуле поправку на сжимаемость приближенно считают постоянной, так как ее
изменение незначительно по сравнению с изменением плотности воздуха.
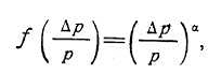
Приведем градуировочную формулу (1.2)
к виду, удобному для решения в приборе. Введем обозначения
(1.2)
тогда выражение (1.2) примет вид
(1.3)
Преобразуем
функцию f=
с учетом того, что рп= р+Δp
Тогда
(1.4)
Равенство (1.4) приближенно можно заменить степенным выражением
(1.5)
где α - показатель степени, выбираемый из условия наилучшего
приближения выражения (1.5) к равенству (1.4).Таким образом, градуировочная
формула (1.2) с учетом (1. 3) и (1. 5) принимает вид
Как
видно из уравнения (1. 6), измерение истинной воздушной скорости возможно при
наличии в приборе чувствительных элементов, определяющих динамическое давление
р, статическое
давление р и температуру Т на высоте полета. Функциональная схема
такого прибора представлена на рис. 1. 1.
Конструктивно реализовать такую схему затруднительно. Прибор получается
очень сложным. Конструкция прибора значительно упрощается, если применить схему
с неполной температурной компенсацией (рис. 1.2).
Введение температурной компенсации в этой схеме основано на
предположении, что температура так же, как и давление, изменяется с увеличением
высоты по стандартному закону. Следовательно, температура и давление
функционально связаны между собой.
Поэтому изменение температуры с изменением высоты учитывают, измеряя
статическое давление.
Многие характеристики самолета зависят от числа М. Так, например, при
изменении числа М от 0,6 до 1,0 коэффициент лобового сопротивления сх
возрастает, а коэффициент подъемной силы су уменьшается.
При М>1,0 оба коэффициента медленно уменьшаются и изменяется сопротивление
воздухозаборника реактивного двигателя. Все это приводит к изменению
характеристик управляемости самолета. Поэтому пилоту необходимо знать те
значения числа М, при которых такое изменение происходит.
Прибор,
с помощью которого измеряется число М полета, называется указателем числа М.
Существующие указатели числа М основаны на измерении отношения динамического
давления
р воздуха к
статическому давлению р. Число М является функцией отношения
динамического давления к статическому, независимо от температуры воздуха.
Упрощенную расчетную формулу определения числа М можно получить, если в
выражение M=V/α подставить значение скорости V из приближенной формулы (1.6):
(1.7)
тогда
(1.8)
где А1- постоянный коэффициент.
1.2.3 Измерение
высоты
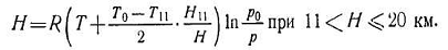
Известно, что с увеличением высоты Н уменьшается абсолютное
атмосферное давление р. Так как это давление для одного и того же
момента.
К выводу барометрической формулы времени связано с высотой однозначной
зависимостью, то, измерив на некоторой высоте абсолютное давление, можно
определить высоту точки измерения. Зависимость абсолютного давления атмосферы
от высоты можно получить расчетным путем. Для вывода этой зависимости выделим в
атмосфере на высоте Н вертикальный столб воздуха постоянного сечения 5
(рис. 1.3). Давление воздуха на высоте Н обозначим через р, а давление
воздуха на нулевой высоте через р0. Весовую плотность воздуха
в цилиндре обозначим через у.
Рассмотрим равновесие сил, действующих на столб воздуха высотой dH. На нижнее основание действует направленная вверх сила pS, а на верхнее направленная вниз сила (p+dp)S, где p+dp - абсолютное давление на уровне
верхнего основания. Кроме того, вниз направлена сила тяжести массы воздуха,
заключенного в цилиндре, равная ySdH.
Уравнение сил имеет вид
(1.9)
Производя преобразование, будем иметь
dp= -
dH. (1.10)
Знак
минус в выражении (1.10) показывает, что с увеличением высоты атмосферное
давление уменьшается.
Из
уравнения состояния газа
p=TR
или
=p/TR
где
р - абсолютное атмосферное давление на некоторой высоте; Т -
абсолютная температура воздуха на той же высоте; R
- газовая постоянная, равная 29,27
м/град.
Подставив
значение плотности у в формулу (1. 10), получим
(1.11)
Известно,
что производная от температуры по высоте называется вертикальным температурным
градиентом. Зависимость абсолютной температуры от высоты в пределах 0-20 км
представлена на рис. 1.4 по временной стандартной атмосфере СА-64. Исходными
данными для нее являются метеорологические параметры на уровне моря: р0=76О мм
рт. ст. и T0=288,15К. С 1 января 1975 г. вводится стандартная атмосфера СА-73,
исходные метеорологические параметры которой на уровне моря следующие: р0
=101325Па и Т0=288,15 К.
Для
высоты 0 -11 км можно считать, что вертикальный градиент τ = const.
Он равен 6,5 град/км. Следовательно, температура воздуха в атмосфере до высоты
11 км является линейной функцией высоты:
(1.12)
Температура
Т на высоте 11 км равна 216,65K (-56,5°С). На
высоте от 11 до 20 км температура по СА-73 остается неизменной.
Подставив значение температуры Т из формулы (1.12) в выражение
(1.11)
(1.13)
Разделим переменные, тогда
(1.14)
Интегрируя левую часть этого уравнения от р0 до
р, а правую соответственно от 0 до Н, будем иметь
(1.15)
Формула (1.15) носит название стандартной барометрической. Если решить
зависимость (1.15) относительно Н, то получим формулу, называемую
гипсометрической (от греческого слова гипсос - высота):
(1.16)
Формулы (1.15) и (1.16) справедливы до высоты 11 км. На высотах более 11
км в уравнение (1.11) вместо температуры Т необходимо подставить Т11,
т. е. температуру, соответствующую высоте 11 км. После преобразований
получим
(1.17)
Проинтегрировав полученное уравнение: левую часть в пределах от р11
до р и правую - от Н11 до Н, найдем
(1.18)
где р11 - атмосферное давление на высоте 11 км; Н11
- высота, равная 11 км. Формула (1.17) может быть написана в виде
гипсометрической:
(1.19)
Из гипсометрических формул (1.2.8) и (1.2.11) видно, что измеряемая
высота является функцией четырех переменных:
(1.20)
Если принять, что р0, Т0 и τ
- постоянные величины,
то высота Н будет однозначно зависеть от давления р, т. е. H=f(p). Давление можно непосредственно измерить на самолете
при помощи манометра абсолютного давления (барометр), шкала которого
градуируется в единицах высоты. Такой барометр называется барометрическим
высотомером.
Из выражения (1.19) видно, что барометрический высотомер показывает
высоту относительно того уровня, давление и температура на котором (р0
и Т0) заданы при тарировке прибора. Барометрические
высотомеры тарируются при р0=76О мм рт. ст. и Т0==288,15К
(15° С).
Фактическое давление р0 и температура Т0
не остаются постоянными и могут отличаться от указанных значений. Поэтому эти
изменения необходимо учитывать при пользовании барометрическим высотомером.
Нередко вместо гипсометрических формул (1.16) и (1.19) используют
приближенные формулы, в которых температура T=f(H).заменяется средней температурой Тср
столба воздуха на высоте полета и у земли, т. е.
(1.21)
Для высоты Н >11 км средняя температура будет

=
+
. (1.22)
Приближенные
гипсометрические формулы имеют вид
R
(1.24)
при
Н
11 км
; (1.23)
Расчеты
показывают, что разность значения высот, вычисленных по формулам (1.16), (1.19)
и формулам приближенным (1.23) и (1.24), не превышает 1%.
1.2
Аналого-цифровые преобразователи
1.2.1 Классификация
АЦП
Аналого-цифровые преобразователи (АЦП) являются устройствами, которые
принимают входные аналоговые сигналы и генерируют соответствующие им цифровые
сигналы, пригодные для обработки микропроцессорами и другими цифровыми
устройствами.
Принципиально не исключена возможность непосредственного преобразования
различных физических величин в цифровую форму, однако эту задачу удается решить
лишь в редких случаях из-за сложности таких преобразователей. Поэтому в
настоящее время наиболее рациональным признается способ преобразования
различных по физической природе величин сначала в функционально связанные с
ними электрические, а затем уже с помощью преобразователей напряжение-код - в
цифровые. Именно эти преобразователи имеют обычно в виду, когда говорят об АЦП.
Процедура аналого-цифрового преобразования непрерывных сигналов, которую
реализуют с помощью АЦП, представляет собой преобразование непрерывной функции
времени U(t), описывающей исходный сигнал, в последовательность чисел {U'(tj)},
j=0,1,2,:, отнесенных к некоторым фиксированным моментам времени. Эту процедуру
можно разделить на две самостоятельные операции. Первая из них называется
дискретизацией и состоит в преобразовании непрерывной функции времени U(t) в
непрерывную последовательность {U(tj)}. Вторая называется
квантованием и состоит в преобразовании непрерывной последовательности в
дискретную {U'(tj)}.
В основе дискретизации непрерывных сигналов лежит принципиальная
возможность представления их в виде взвешенных сумм
(1)(1.25)
где aj - некоторые коэффициенты или отсчеты, характеризующие исходный
сигнал в дискретные моменты времени; fj(t) - набор элементарных функций,
используемых при восстановлении сигнала по его отсчетам.
Наиболее распространенной формой дискретизации является равномерная, в
основе которой лежит теорема отсчетов. Согласно этой теореме в качестве
коэффициентов aj следует использовать мгновенные значения сигнала U(tj) в
дискретные моменты времени tj=jDt, а период дискретизации выбирать из условия
=1/2Fm, (2)(1.26)
где Fm - максимальная частота спектра преобразуемого сигнала. При этом
выражение (1.25) переходит в известное выражение теоремы отсчетов
, (3)(1.27)
Для сигналов со строго ограниченным спектром это выражение является
тождеством. Однако спектры реальных сигналов стремятся к нулю лишь
асимптотически. Применение равномерной дискретизации к таким сигналам приводит
к возникновению в системах обработки информации специфических высокочастотных
искажений, обусловленных выборкой. Для уменьшения этих искажений необходимо
либо увеличивать частоту дискретизации, либо использовать перед АЦП
дополнительный фильтр нижних частот, ограничивающий спектр исходного сигнала
перед его аналого-цифровым преобразованием.
В общем случае выбор частоты дискретизации будет зависеть также от
используемого в (1.25) вида функции fj(t) и допустимого уровня погрешностей,
возникающих при восстановлении исходного сигнала по его отсчетам. Все это
следует принимать во внимание при выборе частоты дискретизации, которая
определяет требуемое быстродействие АЦП. Часто этот параметр задают
разработчику АЦП.
Рассмотрим более подробно место АЦП при выполнении операции
дискретизации.
Для достаточно узкополосных сигналов операцию дискретизации можно
выполнять с помощью самих АЦП и совмещать таким образом с операцией
квантования. Основной закономерностью такой дискретизации является то, что за
счет конечного времени одного преобразования и неопределенности момента его
окончания, зависящего в общем случае от параметров входного сигнала, не удается
получить однозначного соответствия между значениями отсчетов и моментами
времени, к которым их следует отнести. В результате при работе с изменяющимися
во времени сигналами возникают специфические погрешности, динамические по своей
природе, для оценки которых вводят понятие апертурной неопределенности,
характеризующейся обычно апертурным временем.
Апертурным временем ta называют время, в течение которого сохраняется
неопределенность между значением выборки и временем, к которому она относится.
Эффект апертурной неопределенности проявляется либо как погрешность мгновенного
значения сигнала при заданных моментах измерения, либо как погрешность момента
времени, в который производится измерение при заданном мгновенном значении
сигнала. При равномерной дискретизации следствием апертурной неопределенности
является возникновение амплитудных погрешностей, которые называются апертурными
и численно равны приращению сигнала в течение апертурного времени.
Если использовать другую интерпретацию эффекта апертурной
неопределенности, то ее наличие приводит к "дрожанию" истинных
моментов времени, в которые берутся отсчеты сигнала, по отношению к
равноотстоящим на оси времени моментам. В результате вместо равномерной
дискретизации со строго постоянным периодом осуществляется дискретизация с
флюктуирующим периодом повторения, что приводит к нарушению условий теоремы
отсчетов и появлению уже рассмотренных апертурных погрешностей в системах
цифровой обработки информации.
Такое значение апертурной погрешности можно определить, разложив
выражение для исходного сигнала в ряд Тейлора в окрестностях точек отсчета,
которое для j-й точки имеет вид
и дает в первом приближении апертурную погрешность
(1.28)
где ta - апертурное время, которое для рассматриваемого случая является в
первом приближении временем преобразования АЦП.
Обычно для оценки апертурных погрешностей используют синусоидальный
испытательный сигнал U(t)=Umsinwt, для которого максимальное относительное
значение апертурной погрешности
/Um=wta.
Рис.1.5 Образование апертурной погрешности для случая, когда она равна
шагу квантования
Если принять, что для N-разрядного АЦП с разрешением 2-N апертурная
погрешность не должна превышать шага квантования (рис. 1.5), то между частотой
сигнала w, апертурным временем ta и относительной апертурной погрешностью имеет
место соотношение
/2N=wta.
Для обеспечения дискретизации синусоидального сигнала частотой 100 кГц с
погрешностью 1% время преобразования АЦП должно быть равно 25 нс. В то же время
с помощью такого быстродействующего АЦП принципиально можно дискретизировать
сигналы, имеющие ширину спектра порядка 20 МГц. Таким образом, дискретизация с
помощью самого АЦП приводит к существенному расхождению требований между
быстродействием АЦП и периодом дискретизации. Это расхождение достигает 2...3
порядков и сильно усложняет и удорожает процесс дискретизации, так как даже для
сравнительно узкополосных сигналов требует весьма быстродействующих АЦП. Для
достаточно широкого класса быстро изменяющихся сигналов эту проблему решают с
помощью устройств выборки-хранения, имеющих малое апертурное время.
Рис.1.6 Классификация АЦП
В настоящее время известно большое число методов преобразования
напряжение-код. Эти методы существенно отличаются друг от друга потенциальной
точностью, скоростью преобразования и сложностью аппаратной реализации. На рис.
1.6 представлена классификация АЦП по методам преобразования.
В основу классификации АЦП положен признак, указывающий на то, как во
времени разворачивается процесс преобразования аналоговой величины в цифровую.
В основе преобразования выборочных значений сигнала в цифровые эквиваленты
лежат операции квантования и кодирования. Они могут осуществляться с помощью
либо последовательной, либо параллельной, либо последовательно-параллельной
процедур приближения цифрового эквивалента к преобразуемой величине.
Фирма National Semiconductor производит АЦП преимущественно среднего и
высокого быстродействия, в основном последовательного приближения,
многоступенчатые, многотактные и конвеерные, поэтому ниже будут рассмотрены АЦП
именно этих типов, а также параллельные АЦП, являющиеся составным элементом
преобразователей последних трех типов.
Параллельные АЦП
Рис.1.7. Схема параллельного АЦП
АЦП этого типа осуществляют квантование сигнала одновременно с помощью
набора компараторов, включенных параллельно источнику входного сигнала. На рис.
1.7 показана реализация параллельного метода АЦ-преобразования для 3-разрядного
числа.
С помощью трех двоичных разрядов можно представить восемь различных
чисел, включая нуль. Необходимо, следовательно, семь компараторов. Семь
соответствующих эквидистантных опорных напряжений образуются с помощью
резистивного делителя.
Если приложенное входное напряжение не выходит за пределы диапазона от
5/2h, до 7/2h, где h=Uоп/7 - квант входного напряжения, соответствующий единице
младшего разряда АЦП, то компараторы с 1-го по 3-й устанавливаются в состояние
1, а компараторы с 4-го по 7-й - в состояние 0. Преобразование этой группы
кодов в трехзначное двоичное число выполняет логическое устройство, называемое
приоритетным шифратором, диаграмма состояний которого приведена в табл.1.1.
Таблица 1.1
|
Входное напряжение
|
|
|
Состояние компараторов
|
|
Выходы
|
|
Uвх/h
|
л7
|
л6
|
л5
|
л4
|
л3
|
л2
|
л1
|
Q2
|
Q1
|
Q0
|
|
0
|
0
|
0
|
0
|
0
|
0
|
0
|
0
|
0
|
0
|
0
|
|
1
|
0
|
0
|
0
|
0
|
0
|
0
|
1
|
0
|
0
|
1
|
|
2
|
0
|
0
|
0
|
0
|
0
|
1
|
1
|
0
|
1
|
0
|
|
3
|
0
|
0
|
0
|
0
|
1
|
1
|
1
|
0
|
1
|
1
|
|
4
|
0
|
0
|
0
|
1
|
1
|
1
|
1
|
1
|
0
|
0
|
|
5
|
0
|
0
|
1
|
1
|
1
|
1
|
1
|
1
|
0
|
1
|
|
6
|
0
|
1
|
1
|
1
|
1
|
1
|
1
|
1
|
1
|
0
|
|
7
|
1
|
1
|
1
|
1
|
1
|
1
|
1
|
1
|
1
|
1
|
Подключение приоритетного шифратора непосредственно к выходу АЦП может
привести к ошибочному результату при считывании выходного кода. Рассмотрим,
например переход от трех к четырем, или в двоичном коде от 011 к 100. Если
старший разряд вследствие меньшего времени задержки изменит свое состояние
раньше других разрядов, то временно на выходе возникнет число 111, т.е. семь.
Величина ошибки в этом случае составит половину измеряемого диапазона.
Так как результаты АЦ-преобразования записываются, как правило, в
запоминающее устройство, существует вероятность получить полностью неверную
величину. Решить эту проблему можно, например, с помощью устройства
выборки-хранения (УВХ). Некоторые интегральные микросхемы (ИМС) параллельных
АЦП снабжаются сверхскоростными УВХ, имеющими время выборки порядка 0,1 нс.
Другой путь состоит в использовании кода Грея, характерной особенностью которого
является изменение только одной кодовой позиции при переходе от одного кодового
значения к другому.
Как видно из табл. 1.1, при увеличении входного сигнала компараторы
устанавливаются в состояние 1 по очереди - снизу вверх. Такая очередность не
гарантируется при быстром нарастании входного сигнала, так как из-за различия
во временах задержки компараторы могут переключаться в другом порядке.
Приоритетное кодирование позволяет избежать ошибки, возможной в этом случае,
благодаря тому, что единицы в младших разрядах не принимаются во внимание
приоритетным шифратором.
Благодаря одновременной работе компараторов параллельный АЦП является
самым быстрым. Недостатком этой схемы является высокая сложность.
Действительно, N-разрядный параллельный АЦП сдержит 2N-1 компараторов и 2N
согласованных резисторов. Следствием этого является высокая стоимость и
значительная потребляемая мощность.
Последовательно-параллельные АЦП
Последовательно-параллельные АЦП являются компромиссом между стремлением
получить высокое быстродействие и желанием сделать это по возможности меньшей
ценой. Последовательно-параллельные АЦП занимают промежуточное положение по
разрешающей способности и быстродействию между параллельными АЦП и АЦП
последовательного приближения
Последовательно-параллельные АЦП подразделяют на многоступенчатые,
многотактные и конвеерные.
Многоступенчатые АЦП
В многоступенчатом АЦП процесс преобразования входного сигнала разделен в
пространстве. В качестве примера на рис. 1.8 представлена схема
двухступенчатого 8-разрядного АЦП.
Рис. 1.8. Структурная схема двухступенчатого АЦП
Верхний по схеме АЦП осуществляет грубое преобразование сигнала в четыре
старших разряда выходного кода. Цифровые сигналы с выхода АЦП поступают на выходной
регистр и одновременно на вход 4-разрядного быстродействующего ЦАП. Во многих
ИМС многоступенчатых АЦП этот ЦАП выполнен по схеме суммирования токов
(например, ADC08061), но некоторые ( ADС0820 и др.) содержат ЦАП с
суммированием напряжений. Остаток от вычитания выходного напряжения ЦАП из
входного напряжения схемы поступает на вход АЦП2, опорное напряжение которого в
16 раз меньше, чем у АЦП1. Как следствие, квант АЦП2 в 16 раз меньше кванта
АЦП1. Этот остаток, преобразованный АЦП2 в цифровую форму представляет собой
четыре младших разряда выходного кода. Различие между АЦП1 и АЦП2 заключается
прежде всего в требовании к точности: у АЦП1 точность должна быть такой же как
у 8-разрядного преобразователя, в то время как АЦП2 может иметь точность
4-разрядного.
Грубо приближенная и точная величины должны, естественно, соответствовать
одному и тому же входному напряжению Uвх(tj). Из-за наличия задержки сигнала в
первой ступени возникает, однако, временнoе запаздывание. Поэтому при
использовании этого способа входное напряжение необходимо поддерживать
постоянным с помощью устройства выборки-хранения до тех пор, пока не будет
получено все число.
Многотактные последовательно-параллельные АЦП
Рассмотрим пример 8-разрядного последовательно-параллельного АЦП, относящегося
к типу многотактных (рис. 1.9). Здесь процесс преобразования разделен во
времени.
Рис.1.9 Структурная схема двухтактного АЦП
Преобразователь состоит из 4-разрядного параллельного АЦП, квант h
которого определяется величиной опорного напряжения, 4-разрядного ЦАП и
устройства управления. Если максимальный входной сигнал равен 2,56 В, то в
первом такте преобразователь работает с шагом квантования h1=0,16 В. В это
время входной код ЦАП равен нулю. Устройство управления пересылает полученное
от АЦП в первом такте слово в четыре старших разряда выходного регистра, подает
это слово на вход ЦАП и уменьшает в 16 раз опорное напряжение АЦП. Таким
образом, во втором такте шаг квантования h2=0,01 В и остаток, образовавшийся
при вычитании из входного напряжения схемы выходного напряжения ЦАП, будет
преобразован в младший полубайт выходного слова.
Очевидно, что используемые в этой схеме 4-разрядные АЦП и ЦАП должны
обладать 8-разрядной точностью, в противном случае возможен пропуск кодов, т.е.
при монотонном нарастании входного напряжения выходной код АЦП не будет
принимать некоторые значения из своей шкалы. Так же, как и в предыдущем
преобразователе, входное напряжение многотактного АЦП во время преобразования
должно быть неизменным, для чего между его входом и источником входного сигнала
следует включить устройство выборки-хранения.
Быстродействие рассмотренного многотактного АЦП определяется полным
временем преобразования 4-разрядного АЦП, временем срабатывания цифровых схем
управления, временем установления ЦАП с погрешностью, не превышающей 0,2...0,3
кванта 8-разрядного АЦП, причем время преобразования АЦП входит в общее время
преобразования дважды. В результате при прочих равных условиях преобразователь
такого типа оказывается медленнее двухступенчатого преобразователя,
рассмотренного выше. Однако он проще и дешевле. По быстродействию многотактные
АЦП занимают промежуточное положение между многоступенчатыми АЦП и АЦП
последовательного приближения. Примером многотактных АЦП является двухтактный
8-разрядный ADC08061 со временем преобразования 0,5 мкс.
Конвеерные АЦП
Быстродействие многоступенчатого АЦП можно повысить, применив конвеерный
принцип многоступенчатой обработки входного сигнала. В обыкновенном
многоступенчатом АЦП (рис. 1.8) вначале происходит формирование старших
разрядов выходного слова преобразователем АЦП1, а затем идет период
установления выходного сигнала ЦАП. На этом интервале АЦП2 простаивает. На
втором этапе во время преобразования остатка преобразователем АЦП2 простаивает
АЦП1. Введя элементы задержки аналогового и цифрового сигналов между ступенями
преобразователя, получим конвеерный АЦП.
Роль аналогового элемента задержки выполняет устройство выборки-хранения
УВХ2, а цифрового - четыре D-триггера. Триггеры задерживают передачу старшего
полубайта в выходной регистр на один период тактового сигнала CLK.
Сигналы выборки, формируемые из тактового сигнала, поступают на УВХ1 и УВХ2 в
разные моменты времени. УВХ2 переводится в режим хранения позже, чем УВХ1 на
время, равное суммарной задержке распространения сигнала по АЦП1 и ЦАП. Задний
фронт тактового сигнала управляет записью кодов в D-триггеры и выходной
регистр. Полная обработка входного сигнала занимает около двух периодов CLK, но
частота появления новых значений выходного кода равна частоте тактового
сигнала.
Таким образом, конвеерная архитектура позволяет существенно (в несколько
раз) повысить максимальную частоту выборок многоступенчатого АЦП. То, что при
этом сохраняется суммарная задержка прохождения сигнала, соответствующая
обычному многоступенчатому АЦП с равным числом ступеней, не имеет существенного
значения, так как время последующей цифровой обработки этих сигналов все равно
многократно превосходит эту задержку. За счет этого можно без проигрыша в
быстродействии увеличить число ступеней АЦП, понизив разрядность каждой
ступени. В свою очередь, увеличение числа ступеней преобразования уменьшает
сложность АЦП. Действительно, например, для построения 12-разрядного АЦП из
четырех 3-разрядных необходимо 28 компараторов, тогда как его реализация из
двух 6-разрядных потребует 126 компараторов.
Конвеерную архитектуру имеет большое количество выпускаемых в настоящее
время многоступенчатых АЦП. В частности, 2-ступенчатый 10-разрядный ADC10030,
выполняющий до 30 млн. преобразований в секунду (МПс), 4-ступенчатый
12-разрядный CLC5958 (70 МПс) и др. При выборе конвеерного АЦП следует иметь в
виду, что многие из них не допускают работу с низкой частотой выборок.
Например, изготовитель не рекомендует работу ИМС ADC10030 с частотой
преобразований менее 1 МПс, 15-ступенчатого 12-разрядного ADC12081 с частотой
менее 0,5 МПс и т.д. Это вызвано тем, что внутренние УВХ имеют довольно высокую
скорость разряда конденсаторов хранения, поэтому работа с большим тактовым периодом
приводит к значительному изменению преобразуемого сигнала в ходе
преобразования.
Последовательные АЦП
АЦП последовательного приближения
Преобразователь этого типа, называемый в литературе также АЦП с
поразрядным уравновешиванием, является наиболее распространенным вариантом
последовательных АЦП.
В основе работы этого класса преобразователей лежит принцип дихотомии,
т.е последовательного сравнения измеряемой величины с 1/2, 1/4, 1/8 и т.д. от
возможного максимального значения ее. Это позволяет для N-разрядного АЦП
последовательного приближения выполнить весь процесс преобразования за N
последовательных шагов (итераций) вместо 2N-1 при использовании
последовательного счета и получить существенный выигрыш в быстродействии. Так,
уже при N=10 этот выигрыш достигает 100 раз и позволяет получить с помощью
таких АЦП до 105...106 преобразований в секунду. В то же время статическая
погрешность этого типа преобразователей, определяемая в основном используемым в
нем ЦАП, может быть очень малой, что позволяет реализовать высокую разрешающую
способность.
Рис.1.10. Структурная схема и временные диаграммы АЦП последовательного
приближения
Рассмотрим принципы построения и работы АЦП последовательного приближения
на примере классической структуры (рис. 1.10 а) 4-разрядного преобразователя,
состоящего из трех основных узлов: компаратора, регистра последовательного
приближения (РПП) и ЦАП.
После подачи команды "Пуск" с приходом первого тактового
импульса РПП принудительно задает на вход ЦАП код, равный половине его шкалы
(для 4-разрядного ЦАП это 10002=810). Благодаря этому напряжение Uос на выходе
ЦАП (рис. 1.10 б)
ос=23h.
где h - квант выходного напряжения ЦАП, соответствующий единице младшего
разряда (ЕМР). Эта величина составляет половину возможного диапазона
преобразуемых сигналов. Если входное напряжение больше, чем эта величина, то на
выходе компаратора устанавливается 1, если меньше, то 0. В этом последнем
случае схема управления должна переключить старший разряд d3 обратно в
состояние нуля. Непосредственно вслед за этим остаток
вх - d3 23 h
таким же образом сравнивается с ближайшим младшим разрядом и т.д. После
четырех подобных выравнивающих шагов в регистре последовательного приближения
оказывается двоичное число, из которого после цифро-аналогового преобразования
получается напряжение, соответствующее Uвх с точностью до 1 ЕМР. Выходное число
может быть считано с РПП в виде параллельного двоичного кода по N линиям. Кроме
того, в процессе преобразования на выходе компаратора, как это видно из рис.
1.10 б, формируется выходное число в виде последовательного кода старшими
разрядами вперед.
Быстродействие АЦП данного типа определяется суммой времени установления
tуст ЦАП до установившегося значения с погрешностью, не превышающей 0,5 ЕМР,
времени переключения компаратора tк и задержки распространения сигнала в
регистре последовательного приближения tз. Сумма tк + tз является величиной
постоянной, а tуст уменьшается с уменьшением веса разряда. Следовательно для
определения младших разрядов может быть использована более высокая тактовая
частота. При поразрядной вариации fтакт возможно уменьшение времени
преобразования tпр на 40%. Для этого в состав АЦП может быть включен
контроллер.
При работе без устройства выборки-хранения апертурное время равно времени
между началом и фактическим окончанием преобразования, которое так же, как и у
АЦП последовательного счета, по сути зависит от входного сигнала, т.е. является
переменным. Возникающие при этом апертурные погрешности носят также нелинейный
характер. Поэтому для эффективного использования АЦП последовательного
приближения, между его входом и источником преобразуемого сигнала следует
включать УВХ. Большинство выпускаемых в настоящее время фирмой National
Semiconductor ИМС АЦП последовательного приближения (например, 10-разрядный
ADC10731, 13-разрядный ADC10030 и др.), имеет встроенные устройства
выборки-хранения или, чаще, устройства слежения-хранения (track-hold),
управляемые сигналом запуска АЦП. Устройство слежения-хранения отличается тем,
что постоянно находится в режиме выборки, переходя в режим хранения только на
время преобразования сигнала.
Данный класс АЦП занимает промежуточное положение по быстродействию,
стоимости и разрешающей способности между последовательно-параллельными и
интегрирующими АЦП и находит широкое применение в системах управления, контроля
и цифровой обработки сигналов.
.2.2
Системы сбора данных
Постепенное усложнение АЦП, появление многоканальных АЦП, АЦП со
встроенным устройством выборки-хранения, АЦП со сложной цифровой частью привело
к тому, что сейчас имеются законченные однокристальные системы сбора данных,
обеспечивающие преобразование в цифровой код сигналов, поступающих от многих
датчиков и передачу их на микроЭВМ. Блок-схема развитой системы сбора данных
приведена на рис. 1.11
Рис.1.11. Блок-схема системы сбора данных
УПК - усилитель с программируемым коэффициентом усиления; УВХ -
устройство выборки-хранения; ИОН - источник опорного напряжения; ШД - шина
данных
Основу системы составляет АЦП, обычно АЦП последовательного приближения.
Чтобы уменьшить число корпусов ИМС, необходимых для создания системы сбора
данных, в схему встроены УВХ и источник опорного напряжения. Для подключения к
нескольким источникам входных аналоговых сигналов используется аналоговый
мультиплексор. Чтобы сократить частоту прерываний главного процессора некоторые
системы сбора данных снабжаются оперативным запоминающим устройством обратного
магазинного типа FIFO - first input - first output (первый вошел - первый
вышел). Измерительный усилитель УПК, входящий в систему, меняет свой
коэффициент усиления по команде от схемы управления. Это позволяет выровнять
диапазоны аналоговых сигналов с различных входов.
Схема управления может включать оперативное запоминающее устройство
(ОЗУ), в которое загружается от главного процессора блок рабочих команд. Эти
команды содержат сведения о том, какие операционные режимы использовать, какие
из входных каналов должны быть однопроводными, а какие - объединяться с
образованием дифференциальных пар, насколько часто и в каком порядке следует
производить выборку для каждого канала. Встроенный в систему сбора данных
цифровой таймер определяет темп преобразования АЦП.
Одним из наиболее развитых является семейство систем сбора данных
LM12454/8, которые содержат 4/8-входовый аналоговый мультиплексор, УВХ,
13-разрядный АЦП последовательного приближения, память типа FIFO с организацией
32х16 бит, ОЗУ команд и 16-битный цифровой таймер.
1.2.3
Интерфейсы АЦП
Важную часть аналого-цифрового преобразователя составляет цифровой
интерфейс, т.е. схемы, обеспечивающие связь АЦП с приемниками цифровых
сигналов. Структура цифрового интерфейса определяет способ подключения АЦП к
приемнику выходного кода, например, микропроцессору, микроконтроллеру или
цифровому процессору сигналов. Свойства цифрового интерфейса непосредственно
влияют на уровень верхней границы частоты преобразования АЦП.
Наиболее часто применяют способ связи АЦП с процессором, при котором АЦП
является для процессора как бы одной из ячеек памяти. При этом АЦП имеет
необходимое число адресных входов, дешифратор адреса и подключается
непосредственно к адресной шине и шине данных процессора. Для этого он
обязательно должен иметь выходные каскады с тремя состояниями (примерами могут
служить ADC0801, ADC1061 и др).
Другое требование совместной работы АЦП с микропроцессорами, называемое
программным сопряжением, является общим для любых систем, в которые входят ЭВМ
и АЦП. Имеется несколько способов программного сопряжения АЦП с процессорами.
Рассмотрим основные.
Проверка сигнала преобразования. Этот способ состоит в том, что команда
начала преобразования "Пуск" периодически подается на АЦП от таймера.
Процессор находится в цикле ожидания от АЦП сигнала окончания преобразования
"Готов", после которого выходит из цикла, считывает данные с АЦП и в
соответствии с ними приступает либо к следующему преобразованию, либо к
выполнению основной программы, а затем вновь входит в цикл ожидания. Здесь АЦП
выступает в роли ведущего устройства (master), а процессор - ведомого (slave).
Этот способ почти не требует дополнительной аппаратуры, но пригоден только в
системах, где процессор не слишком загружен, т.е. длительность обработки данных
от АЦП меньше времени преобразования АЦП. Указанный способ позволяет
максимально использовать производительность АЦП.
Если длительность обработки данных от АЦП составляет заметно больше
времени преобразования АЦП, можно использовать вариант этого способа,
отличающийся тем, что сигнал "Пуск" поступает от процессора.
Процессор выполняет основную программу обработки данных, а затем считывает
данные с АЦП и вновь запускает его. В этом случае процессор выступает в роли
ведущего устройства, а АЦП - ведомого.
Простое прерывание. Выдав команду "Пуск", процессор продолжает
работу по основной программе. После окончания преобразования формируется сигнал
прерывания, который прерывает в процессоре вычисления и включает процедуру
поиска периферийного прибора, пославшего сигнал прерывания. Эта процедура
состоит в переборе всех периферийных устройств до тех пор, пока не будет найден
нужный. Преимущество этого способа по сравнению с предыдущим проявляется в
большем числе преобразований за одно и то же время, если используемый АЦП
работает медленно. Если же АЦП быстродействующий, то этот способ работы может
оказаться даже медленнее предыдущего, так как на обработку прерывания требуется
значительное время.
Прямой доступ к памяти. Здесь также используется прерывание, но в отличие
от предыдущих двух способов, управление по системе прерывания передается на
специальный интерфейс, который и производит перезапись данных преобразования в
память, минуя регистры процессора. Это позволяет сократить длительность
прерывания до одного такта. Номера ячеек памяти хранятся адресном регистре
интерфейса. Для этой цели выпускаются ИМС контроллеров прямого доступа к
памяти.
В зависимости от способа пересылки выходного слова из АЦП в цифровой
приемник различают преобразователи с последовательным и параллельным
интерфейсами выходных данных. Последовательный интерфейс медленнее
параллельного, однако он позволяет осуществить связь с цифровым приемником
значительно меньшим количеством линий и в несколько раз сократить число выводов
ИМС. Поэтому обычно параллельный интерфейс используется в параллельных и
последовательно-параллельных АЦП, а последовательный - в интегрирующих. В АЦП
последовательного приближения применяются как параллельный (например,
ADC10461), так и последовательный (например, АDС12030) интерфейсы. Некоторые
АЦП последовательного приближения имеют интерфейс обоих типов.
АЦП с параллельным интерфейсом выходных данных. В простейших случаях,
характерных для параллельных АЦП и преобразователей ранних моделей, интерфейс
осуществляется с помощью N-разрядного регистра хранения, имеющего три состояния
выхода. Здесь N - разрядность АЦП. На рис. 1.12 представлена функциональная
схема такого АЦП и временные диаграммы работы интерфейса.
Рис.1.12. АЦП с параллельным интерфейсом
На нарастающем фронте сигнала "Пуск" УВХ преобразователя
переходит в режим хранения и инициируется процесс преобразования. Когда
преобразование завершено, на выходную линию "Готов" выводится
импульс, что указывает на то, что в выходном регистре АЦП находится новый
результат. Сигналы "CS" (выбор кристалла) и "RD" (Чтение)
управляют выводом данных для передачи приемнику.
Для того, чтобы упростить связь многоразрядного (N>8) АЦП с
8-разрядным микропроцессором или микроконтроллером в некоторых ИМС
(например, ADC12041) реализована побайтовая выдача выходного слова. Если
сигнал HВEN, управляющий режимом вывода, имеет низкий уровень, то старшие биты
выходного слова поступают на соответствующие им выводы (для 12-разрядного АЦП
на выводы DO8...DO11). В противном случае они подаются на выводы,
соответствующие младшему байту (для 12-разрядного АЦП на выводы DO0...DO3).
АЦП с последовательным интерфейсом выходных данных. В АЦП
последовательного приближения, оснащенных простейшей цифровой частью выходная
величина может быть считана в виде последовательного кода прямо с компаратора
или регистра последовательного приближения (РПП). На рис. 1.13 представлена
функциональная схема такого интерфейса (а) и временные диаграммы его работы
(б).
Рис. 1.13. Простейший последовательный интерфейс
Здесь приведена схема, реализующая SPI-интерфейс. Процессор является
ведущим (master). Он инициирует начало процесса преобразования подачей среза на
вход "Пуск" АЦП. С тактового выхода процессора на синхровход АЦП
поступает последовательность тактовых импульсов. Начиная со второго такта после
пуска на выходе данных АЦП формируется последовательный код выходного слова
старшими битами вперед. Этот сигнал поступает на MISO (master - input, slave -
output) вход процессора.
Простейший интерфейс обеспечивает наименьшее время цикла
"преобразование - передача данных". Однако он обладает двумя
существенными недостатками. Во-первых, переключение выходных каскадов АЦП во
время преобразования привносит импульсную помеху в аналоговую часть
преобразователя, что вызывает уменьшение соотношение сигнал/шум. Во-вторых,
если АЦП имеет большое время преобразования, то процессор будет занят приемом
информации от него существенную часть вычислительного цикла. По этим причинам
современные модели АЦП с последовательной передачей выходных данных оснащаются
выходным сдвиговым регистром, в который загружается результат преобразования из
РПП. Временные диаграммы такого интерфейса приведены на рис. 1.14.
Рис. 1.14. Последовательный интерфейс с передачей данных по окончании
преобразования
По заднему фронту сигнала "Пуск" УВХ переходит в режим хранения
и начинается преобразование. При этом на соответствующем выводе АЦП
выставляется сигнал "Занят". По окончании преобразования начинается
передача данных. Процессор подает на синхровход АЦП последовательность
синхроимпульсов CLK. Если 8 <N <=16, то число синхроимпульсов обычно
составляет 16. При N <16 вначале вместо отсутствующих старших битов
передаются нули, а затем выходное слово старшими битами вперед. До и после
передачи данных выходная линия АЦП находится в высокоимпедансном состоянии.
Увеличение длительности цикла "преобразование - передача
данных" по сравнению с простейшим интерфейсом обычно несущественно, так
как синхроимпульсы могут иметь большую частоту. Например, для 12-разрядного АЦП
последовательного приближения ADС12130 минимальный интервал между отсчетами
составляет 14,4 мкс. Из них последовательное чтение данных занимает только 6,2
мкс при частоте синхросигнала 5 МГц.
1.2.4 Шумы
АЦП
В идеале, повторяющиеся преобразования фиксированного постоянного
входного сигнала должны давать один и тот же выходной код. Однако, вследствие
неизбежного шума в схемах АЦП, существует некоторый диапазон выходных кодов для
заданного входного напряжения. Если подать на вход АЦП постоянный сигнал и
записать большое число преобразований, то в результате получится некоторое
распределение кодов. Если подогнать Гауссовское распределение к полученной
гистограмме, то стандартное отклонение будет примерно эквивалентно
среднеквадратическому значению входного шума АЦП. В качестве примера на рис.
1.15 приведена гистограмма результатов 5000 преобразований постоянного входного
сигнала, выполненных 16-разрядным двухтактным последовательно-параллельным АЦП
АD7884.
Рис.1.15. Гистограмма результатов преобразования АЦП AD7884
Входное напряжение из диапазона + 5 В было установлено по возможности
ближе к центру кода. Как видно из гистограммы, все результаты преобразований
распределены на шесть кодов. Среднеквадратическое значение шума,
соответствующее этой гистограмме, равно 120 мкВ.
1.3
Кремниевые датчики давления
Как и датчики температуры, датчики давления относятся к наиболее широко
употребительным в технике. Однако для непрофессионалов измерение давления
представляет меньший интерес, так как существующие датчики давления
относительно дороги и имеют лишь ограниченное применение. Несмотря на это,
рассмотрим некоторые варианты их использования.
.3.1 Общие
сведения о датчиках давления
Для любительской практики представляют интерес лишь относительно
недорогие кремниевые датчики давления, имеющие выходной сигнал чаще всего
порядка нескольких вольт. Обычно такой датчик изготовляют из кремниевой
пластины, часть которой вытравливают до образования тонкой мембраны. Методом
ионной имплантации на мембране выполняют ρезистивные элементы с
межсоединениями. При изменении давления мембрана прогибается, и под действием
пьезоэлектрического эффекта происходит изменение сопротивления резистивных
элементов. Толщина мембраны, как и геометрическая форма резисторов,
определяется областью допустимых давлений. Преимуществами широко
распространенных датчиков этого типа являются:
высокая чувствительность,
хорошая линейность,
незначительные гистсрезисные явления,
малое время срабатывания,
компактная конструкция,
экономичная планарная технология изготовления.
Недостаток, заключающийся в повышенной температурной чувствительности
можно в большинстве случаев скомпенсировать.
Область применения датчиков давления определяется возможным диапазоном
измеряемых давлений (см, табл. 1.2).
Таблица 1. 2 Области применения датчиков давления
|
Уровень давления
|
Применение
|
|
40 мбар
|
Измерение уровня жидкости в
стиральных и посудомоечных машинах
|
|
100 мбар
|
Пылесосы, контроль
фильтров, измерение расхода
|
|
200 мбар
|
Измерение кровяного
давления
|
|
1 бар
|
Барометр, регулировка
зажигания и впрыска в автомобильных двигателях
|
|
2 бар
|
Измерение разряжения на
такте всасывания в автомобильных двигателях
|
|
10 бар
|
Измерение давления масла и
сжатого воздуха в тормозной системе автомобиля; холодильники
|
|
50 бар
|
Пневматические системы,
промышленные роботы
|
|
500 бар
|
Гидравлические системы,
строительные машины
|
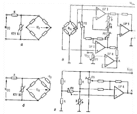
Четыре однотипных пьезорезистора образуют мост, как показано на рис.1.16.
При этом отдельные резисторы (R1... R4) соединены
так, что при прогибе мембраны сопротивление резисторов R1 и R3
возрастает, а у R2 и R4 уменьшается. В результате достигается высокая
чувствительность измерительного моста. Выходное напряжение UА соответствует тогда уравнению
Рис. 1.16. Измерительный мост из четырех идентичных пьезорезисторов,
составляющих в совокупности датчик давления
Рис. 1.17. Характеристика кремниевого датчика давления при различных
температурах (25 и 125 ˚С)
На рис.1.17 графически представлена зависимость Ua(p) для типичного кремниевого датчика давления. Здесь же
продемонстрировано и влияние температуры на чувствительность.
Поскольку в этом случае максимальное выходное напряжение составляет лишь
0,1 В, для дальнейшей обработки сигнала его нужно усилить еще примерно до 1 В.
Такое 10-кратное усиление по напряжению с помощью стандартных операционных
усилителей (741, LM358 и т. п.) не
составляет проблемы, а поэтому согласование сигнала с измерительным прибором
осуществляется легко. Для измерений с повышенной точностью следует
дополнительно компенсировать температурную погрешность датчиков.
Компенсация температурной погрешности в принципе следует различать
температурный коэффициент смещения нуля и температурный коэффициент чувствительности
и каждую отдельную по грешность компенсировать индивидуально.
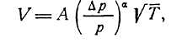
Рис.1.18. Схемы компенсации для кремниевого датчика давления: а -
пассивная компенсация чувствительности моста; б - установка нуля шкалы и
пассивная компенсация температурного смещения нуля с помощью дополнительного
резистора Ra; в - активная
компенсация чувствительности моста и смещения нуля шкалы; г -
дополнительная возможность активной компенсации температурного смещения нуля
шкалы (к схеме a), OP1- операционный усилитель.
Температурный коэффициент смещения нуля (примерно -2*10-4 К-1)
представляет собой температурную погрешность сигнала в нулевой точке шкалы. Он
примерно в 10 раз меньше температурного коэффициента чувствительности (около
-2*10-3 К-1). Простейший способ температурной компенсации
состоит из так называемой пассивной компенсации с помощью резисторов и датчиков
температуры, как показано па рис. 1.18, а и б.
Правильным подбором шунтирующих резисторов (R/Ro), а также датчика температуры (например, типа KTY 10) можно оказывать влияние как на
смещение нуля, так и на изменение чувствительности. Однако лучше осуществлять
активную компенсацию с помощью операционных усилителей (см. рис. 1.18 в и г),
которая почти полностью устраняет температурную погрешность.
Рис.1.19. Датчик давления типа KPY (фирмы Siemens AG):а - типичная зависимость выходного напряжения Up от абсолютного давления Рабс при
рабочей температуре Та=25˚С, рабочем напряжении UВ=const и напряжении
в нулевой точке U0=0; б -
механическое устройство; в - электронная схема.
На рис. 1.18. показана полная схема кремниевого датчика давления с
активной компенсацией изменения чувствительности и смещения нуля. Два
операционных усилителя ОР1 и ОР2 включены как неинвертирующие усилители,
причем коэффициент усиления ОР1 управляется датчиком температуры KTY 10. Поскольку с повышением
температуры чувствительность датчика давления падает, при соответствующем
подборе параметров KTY 10 и R коэффициент усиления ОР1 может;
быть увеличен настолько, что потеря чувствительности окажется
скомпенсированной. С помощью усилителя ОР4 нулевую точку можно
установить произвольно. Если схема в точке А заменена схемой по рис.
1.18 г, то смещение нуля регулируется независимо от компенсации
чувствительности. При этом резистор R(Ʋ) включен как активный элемент в измерительном мосте,
выходное напряжение которого согласовывается с усилителем ОР4.
1.3.2
Конструкции датчиков давления
На рис.1.19 показан датчик давления из серии КРY (фирмы Siemens)
для недорогих устройств. Технические характеристики датчиков этой серии
приведены в табл. 1.3.
Таблица 1.3. Некоторые характеристики датчиков давления типа ΚΡΥ
|
Тип датчика
|
Максимальное давление, Рmax
|
Рабочий диапазон давлений,
Р, бар
|
Сопротивление моста,
Rβ, кОм
|
Максимальное Входное
напряжение Uвх, В
|
Температурный диапазон
применения, С
|
|
KPY 10*
|
4
|
0…2
|
7
|
16
|
-40…+125
|
|
KPY 14*
|
20
|
0…10
|
7
|
16
|
-40…+125
|
|
KPY 12 **
|
4
|
0…2
|
7
|
16
|
-40…+125
|
|
KPY 16**
|
20
|
0…10
|
7
|
16
|
-40…+125
|
* Абсолютные измерения ** Относительные измерения
Датчик давления КР 100А (фирмы Valvo) имеет уже внутреннюю температурную компенсацию (активную), которая
уменьшает температурную погрешность чувствительности в 10 раз. Малые габариты
(рис. 3.1.5) позволяют встраивать датчик в приборы и аппараты, где другие
датчики давления не умещаются. Параметры датчиков этого типа частично
представлены в табл.1.3 и графически на рис.3.1.6,
Рис 1.20. Механическое устройство(а) и электронная схема(б) датчика
давления KPY100А (фирмы Valvo) c
внутренней компенсацией температуры
Рис.1.20. Характеристики датчика давления КР 100А при различных условиях
эксплуатации: а - область допустимых значений смещения нулевой точки(±Uoff), Ua =const, ϑu=const; б - зависимость выходного напряжения Uв от рабочего напряжения Uр(измерено без температурной
компенсации), Uoff =0, ϑu=25˚C; в- область допустимых значений чувствительности, Ua =const, Uoff
=0, =const; сплошная линия - средние значения,
пунктирная линия - границы поля разброса; г - зависимость выходного напряжения Uв от рабочей температуры ϑu(измерено без температурной
компенсации), Uр=const, Uoff
=0.
Характеристики датчика КР 100 А фирмы Valvo. Таблица 1.4
Таблица 1.4.
Внимание! Температура припоя не должна превышать 260 °С в течение 10 с
На рис. 1.21 показана мембрана датчика давления, на верхней стороне
которой отчетливо видны активные резистивные элементы.
.3.3
Электронный барометр
Существуют некоторые интересные варианты применения датчиков давления,
уже упомянутые в табл. 1.3. К их числу οтносится измерение атмосферного
давления или высоты.
Описанный ниже барометрический прибор пригоден для точного измерения
давления атмосферного воздуха, которое на уровне моря равно 1013 мбар. С
увеличением высоты (например, в горах) или при переменном состоянии погоды
давление воздуха сильноо изменяется. На высоте 10 км, например, оно падает до
264 мбар, а на 20 км - до 55 мбар. Изменение давления воздуха в зависимости от
высоты (относительно уровня моря) описывается так называемым барометрическим
уравнением высоты:
где РL -
давление воздуха на высоте h, Ро -
давление воздуха на уровне моря (1013 мбар), H константа. Зависимость давления воздуха от высоты
иллюстрируется данными табл. 1.5.
Таблица 1.5. Зависимость давления воздуха от высоты
При подъеме от 0 до 500 м давление воздуха снижается примерно на 58 мбар.
В среднем получается 0,12 мбар/м. В зависимости от погодных условий давление
воздуха колеблется в диапазоне от примерно 980 мбар (низкое) до приблизительно
1025 мбар (высокое), т. е. по перепаду давления это соответствует перепаду
высоты около 500 м.
1.3.4
Принципиальная схема барометра
Принципиальная схема электронного барометра изображена на рис. 3.2.1.
Датчик давления (например, KPY 10
фирмы Siemens) питается стабилизированным
напряжением 15 В, Выходное напряжение составляет при этом 0...300 мВ для
диапазона давлений 0...2 бар. Диапазон измерения давления атмосферного воздуха
составляет 50 мбар (±25 мбар), следовательно, выходное напряжение должно быть
усилено в 50 раз. Для этого можно применить дифференциальный усилитель
(например, LM363)· При нормальном атмосферном
давлении на вход усилителя подается напряжение ∆U = 150 мВ, которое повышается операционным усилителем ОР1 до
примерно 7,5 В.
Вторым операционным усилителем (например, LM358) с помощью настроечного потенциометра P1 напряжение сигнала доводится до 10
В. Сопротивления R2 и Р1 равны 1 МОм, а
сопротивление R1 равно 100 кОм.
Датчик давления KPY1O
Рис. 1.22. Электронная схема барометра с датчиком давления KPY 10.
Напряжение питания 15 В, стабилизированное. ОР - операционный
усилитель.
Установка нуля осуществляется делителем напряжения R3 = R4 = 20 кОм и R2=10 кОм.
Калибровка
Точная установка (калибровка) выходною сигнала Uа осуществляется на испытательном стенде, показанном на
рис. 1.23.
С помощью U-образной
манометрической трубки, заполненной водой, можно создать колебания давления ±25
мбар, необходимые для регулировки чувствительности датчика давления. Поскольку
нормальное давление 1013 мбар соответствует водяному столбу 10,34 м, колебание
давления ±25 мбар соответствует изменению водяного столба ±25,5 см. U-образный манометр состоит из двух
стеклянных трубок длиной около 1 м, соединенных между собой резиновым шлангом и
наполовину заполненных водой (при возможности - дистиллированной). Если
давление в обеих трубках будет на одинаковой высоте. В этом состоянии выход
манометра соединяют с датчиком давления другим резиновым шлангом и отмечают
выходное на входе и выходе одинаково, то и уровень воды в напряжение Ua. Нагнетая воздух во вход манометра, смещают уровень
воды па 25,5 см. Это второе выходное напряжение Ua2 также отмечают.
U-образный
манометр
Рис.1.23. Устройство для калибровки датчиков давления
Разность ΔUa = Ua2- Ua1 после калибровки должна составлять 250 мВ, Если
величина ΔUa слишком мала, то нужно увеличить усиление с помощью
настроечного потенциометра Р1 Указанная процедура повторяется
до тех пор, пока не получится ΔUa =250 мВ. Затем устанавливают нулевую
точку. Для этого у местной метеорологической службы запрашивают давление
воздуха в данный момент. С помощью настроечного потенциометра Р2 устанавливается,
например, выходной сигнал Ua =
10,05 В, соответствующий измеренному в данный момент давлению 1005 мбар.
После такой процедуры калибровки на выходе схемы получается значение
давления воздуха в данный момент. В этом случае изменению выходного напряжения
на 10 мВ соответствует изменение давления воздуха на 1 мбар.
Если ожидаются довольно большие изменения температуры (например, ΔT больше или равно20°С), то с помощью соответствующей схемы
следует еще дополнительно компенсировать смещение нуля π
изменение
чувствительности.
1.3.5.
Высотомер
Электронный высотомер действует аналогично барометру. Схема (рис. 1.24)
выполнена таким образом, что усиленная примерно до 1,5 В разность напряжений
после ОР1 может быть установи лена па пуль с помощью суммирующей схемы ОР2
и делителя напряжения R1/P1. На втором каскаде усилителя ОР2 напряжение
сигнала можно повысить примерно в 10 раз. Поскольку чувствительность моста
датчика давления (KTY 10) составляет
150 мВ/бар, максимальная выходная чувствительность получается равной 15 В/бар.
Если это выходное напряжение подать на цифровой вольтметр (трехзначный, 199
мВ), то теоретическая разрешающая способность получится равной 0,07 мбар/мВ.
Здесь установка нуля осуществляется потенциометром Р1, а регулировка
чувствительности потенциометром Р2,
Датчик давления KTY1O
Рис. 1.24. Электронная схема высотомера с датчиком давлений ΚΡΥ
10. Напряжение питания
15 В, стабилизированное; ОР - операционный усилитель.
Калибровка
Калибровка электронного высотомера также осуществляется с помощью
аппаратуры, показанной па рис. 1.23.Сначала с помощью настроечного
потенциометра Р1 выходное напряжение Uа устанавливается на нуль. Затем путем откачивания
воздуха через выход U-образной
трубки в датчике давления создается разрежение 25 мбар. Это показание прибора
соответствует разности высот около 200 м, С помощью потенциометра Р2 выходное
напряжение устанавливают примерно на 200 мВ (цифровой вольтметр 199). Выходное
напряжение Ua цифрового прибора откалибровано теперь
в метрах относительно нулевой высоты.
Для практической проверки можно определить изменение показаний при
подъеме на заранее известную высоту (например, на высотное здание или на радио
башню).
1.3.6 Типы
датчиков давления
В наиболее широком ассортименте компания Моторола выпускает датчики
давления. Полупроводниковая технология позволила создать упругий элемент
датчика давления в виде кремниевой диафрагмы, непосредственно на которую
методом ионной имплантации внедряют тензорезистивную структуру. Сцепление
тензорезистора и кремниевой мембраны на молекулярном уровне позволяет исключить
погрешности, связанные с передачей деформации от упругого элемента к
тензорезистору.
Изготавливаемый таким способом монолитный кремниевый измеритель давления,
запатентованный фирмой Моторола, получил название X-ducer из-за крестообразного
расположения четырех выводов. Одна пара выводов элемента давления служит для
подачи питающего напряжения, а на второй паре датчик развивает разность
потенциалов, линейно зависящую от приложенного напряжения и механического
давления
Рис.1.25 Чувствительный элемент X-ducer
Кристалл датчика, объединяясь с подложкой, может образовывать абсолютный
или дифференциальный чувствительный элемент (рис.1.26).
Рис.1.26. Дифференциальный (а) и абсолютный (б) чувствительные элементы
Внутри абсолютного элемента при помощи подложки образуется вакуумный
промежуток, относительно которого и выполняются измерения. У дифференциального
чувствительного элемента пространство открыто для поступления внешней среды с
обеих сторон диафрагмы, но всегда оговаривается, что большее давление должно
подаваться со стороны P1, а меньшее - со стороны P2.
Основным классификационным признаком для деления датчиков фирмы Моторола
на группы является степень интеграции. Различают следующие типы датчиков:
· некомпенсированные датчики (Uncompensated);
· термокомпенсированные и калиброванные датчики (Compensated);
· интегрированные датчики (Integrated);
· медицинские датчики (Medical).
Простейшие некомпенсированные датчики содержат на кристалле собственно
один элемент X-ducer.
Более сложные термокомпенсированные и калиброванные датчики включают
также термисторы для коррекции температурной погрешности нуля и чувствительности
датчика, а также дополнительные подгоночные резисторы, сопротивления которых в
процессе производства подстраиваются лазером для минимизации разброса нулевого
смещения и чувствительности датчиков от образца к образцу.
Наконец, в схему датчиков, которые называются интегрированными или
датчиками со стандартным выходным сигналом, введен дополнительный усилитель,
который приводит выходное напряжение датчика к стандартному входному диапазону
интегральных АЦП.
Медицинские датчики по степени интеграции можно было бы отнести к
термокомпенсированным датчикам, но они выделены в отдельную группу, поскольку
их тип корпуса, рабочий и температурный диапазоны соответствуют специальным
медицинским приложениям.
По виду измеряемого давления различают абсолютные (для измерения
абсолютного давления), дифференциальные (для измерения разности давлений),
относительные (для измерения избыточного над атмосферным давления) и вакуумные
датчики (для измерения степени разрежения).
Датчики давления разделяют также по типам корпусов, в которые
упаковываются чувствительные элементы. На рис. 1.27 показана внутренняя
конструкция круглого базового корпуса. Видно, что чувствительный элемент
приклеен к внутренней поверхности корпуса и защищен специальным гелем, который
равномерно передает давление на мембрану и в тоже время изолирует выводы
чувствительного элемента от внешней среды.
Рис.1.27 Конструкция базового корпуса
Кроме базового корпуса широко распространены и другие типы корпусов,
предназначенные как для монтажа на поверхность, так и для пайки в отверстие
(рис.1.28). Имеются корпуса с шагом выводов 2,54 мм (SOP и DIP) и с шагом
1,27мм (MPAK и SSOP). Корпуса медицинских датчиков выполнены из специальных
нетоксичных, неаллергичных материалов, пригодных для дезинфекции и прошедших
необходимые медицинские тесты. Кроме четырех или трех (у датчиков со
стандартным выходным сигналом) рабочих выводов корпуса датчиков имеют
дополнительные технологические выводы, которые используются во время лазерной
подгонки внутренних резисторов.
Рис.1.28 Корпуса датчиков давления: (а) базовые корпуса, (б) SOP, (в)
DIP,(г) MPAK, (д) SSOP, (е) Medical Chip Pak
Рассмотренные типы корпусов не имеют специальных приспособлений для
крепления датчика и для подвода среды, в которой измеряется давление. Для этих
целей необходим внешний дополнительный порт. Моторола предлагает исполнения
датчиков в корпусе без порта или с портом. На рис. 1.29 изображены корпуса
датчиков с портами и указаны их обозначения, использующиеся при маркировке.
Рис.1.29 Порты датчиков давления Моторола:
а) одиночный порт для базового корпуса (суффиксы AP, GP); б)
дифференциальный порт для базового корпуса (суффикс DP); в) порт "печная
труба" для базового корпуса (суффиксы AS, GS); г) аксиальный порт для
базового корпуса (суффиксы ASX, GSX); д) порт для корпуса MPak (суффикс AS/GS),
e) порт для корпуса SSOP (суффикс AC6); ж) аксиальный порт для корпуса DIP
(суффикс GС7U) з) аксиальный порт для корпуса SOP (суффикс AC6/GC6) и)
одиночный порт для корпуса SOP (суффиксы AP/GP); к) вакуумный порт для корпуса
SOP (суффикс GVP); л) дифференциальный порт для корпуса SOP (суффикс DP)
Датчик с дифференциальным чувствительным элементом может быть
дифференциальным, относительным или вакуумным в зависимости от типа
используемого порта. Дифференциальный датчик (суффикс DP) имеет два ввода для
подачи среды с обеих сторон мембраны. Относительный датчик (суффиксы GP, GS,
GSX) имеет один ввод для подвода среды со стороны большего давления Р1 и
отверстие в корпусе, через которое окружающий воздух свободно поступает с
другой стороны мембраны. Вакуумный датчик (суффикс VP), наоборот, имеет ввод со
стороны меньшего давления P2.
Сводная таблица 1.6 датчиков давления Моторола позволяет оценить их
возможные диапазоны измерения. Видно, что пределы измерений абсолютных датчиков
могут лежать в диапазоне от 100кПа до 700кПа. Дифференциальные датчики могут
также иметь меньшие (до 4кПА) и большие (до 1000кПа) пределы измерения.
Таблица 1.6. Датчики давления компании Motorola
|
Тип датчика
|
Рабочий диапазон, кПа
|
Размах выходного
напряжения, мВ
|
Чувствительность, мВ/кПа
|
Нелинейность
|
Температурная погрешность
чувствительности, %/°С
|
Тип измеряемого давления
|
|
|
|
|
|
|
A
|
D
|
G
|
|
Датчики без
температурной компенсации (Uncompensated)
|
|
MPX10
|
0...10
|
35
|
3,5
|
±1
|
-0,19
|
|
x
|
x
|
|
MPX12
|
0...10
|
55
|
5,5
|
±1
|
-0,19
|
|
x
|
x
|
|
MPX53
|
0...50
|
60
|
1,2
|
-0,6...+0,4
|
-0,19
|
|
x
|
x
|
|
Датчики с температурной
компенсацией и калибровкой (compensated)
|
|
MPX2010
|
0...10
|
25
|
2,5
|
±1
|
±0.012
|
|
x
|
x
|
|
MPX2050
|
0...50
|
40
|
0,8
|
±0.3
|
±0.012
|
|
x
|
x
|
|
MPX2053
|
0...50
|
40
|
0,8
|
-0.6...+0.4
|
±0.024
|
|
x
|
V
|
|
MPX2100
|
0...100
|
40
|
0,4
|
±1
|
±0.012
|
x
|
|
|
|
MPX2100
|
0...100
|
40
|
0,4
|
-0.6...+0.4
|
±0.012
|
|
x
|
V
|
|
MPX2102
|
0...100
|
40
|
0,4
|
±1
|
±0.024
|
x
|
|
|
|
MPX2102
|
0...100
|
40
|
0,4
|
-0.6...+0.4
|
±0.024
|
|
x
|
V
|
|
MPX2200
|
0...200
|
40
|
0,2
|
±1
|
±0.012
|
x
|
|
|
|
MPX2200
|
0...200
|
40
|
0,2
|
-0.6...+0.4
|
±0.012
|
|
x
|
V
|
|
MPX2202
|
0...200
|
40
|
0,2
|
±1
|
±0.024
|
x
|
|
|
|
MPX2202
|
0...200
|
40
|
0,2
|
-0.6...+0.4
|
±0.024
|
|
x
|
V
|
|
Интегрированные датчики
(integrated)
|
|
Тип датчика
|
Рабочий диапазон, кПа
|
Размах выходного
напряжения, В
|
Чувстви-тельность, мВ/кПа
|
Суммарная приведенная
погрешность, %
|
Тип измеряемого давления
|
|
MPXV5004
|
0...3.92
|
3,9
|
1000
|
±2.5
|
|
x
|
V
|
|
MPXV4006
|
0...6
|
4,6
|
766
|
±5.0
|
|
x
|
V
|
|
MPX5010
|
0...10
|
4,5
|
±5.0
|
|
x
|
V
|
|
MPX5050
|
0...50
|
4,5
|
90
|
±2.5
|
|
x
|
x
|
|
MPX4080
|
0...80
|
4,32
|
54
|
±3.0
|
|
x
|
|
|
MPX4100
|
20...105
|
4,59
|
54
|
±1.8
|
x
|
|
|
|
MPX4101
|
15...102
|
4,59
|
54
|
±1.8
|
x
|
|
|
|
MPX4105
|
15...105
|
4,59
|
51
|
±1.8
|
x
|
|
|
|
MPX4115
|
15...115
|
4,59
|
45,9
|
±1.5
|
x
|
|
|
|
MPX4115
|
0...115
|
4,4
|
38,26
|
±1.5
|
|
|
V
|
|
MPX5100
|
15...115
|
4,5
|
45
|
±2.5
|
x
|
|
|
|
MPX5100
|
0...100
|
4,5
|
45
|
±2.5
|
|
x
|
x
|
|
MPX6115
|
15...115
|
4,5
|
45,9
|
±1.5
|
x
|
|
|
|
MPX4200
|
20...200
|
4,59
|
25,5
|
±1.5
|
x
|
|
|
|
MPX4250
|
20...250
|
4,692
|
20
|
±1.5
|
x
|
|
|
|
MPX4250
|
0...250
|
4,705
|
18,8
|
±1.4
|
|
x
|
x
|
|
MPXH6300
|
20...304
|
4,6
|
16,2
|
±1.5
|
x
|
|
|
|
MPX5500
|
0...500
|
4,5
|
9
|
±2.5
|
|
x
|
x
|
|
MPX5700
|
0...700
|
4,5
|
6,4
|
±2.5
|
x
|
|
|
|
MPX5700
|
15...700
|
4,5
|
6,4
|
±2.5
|
|
x
|
x
|
|
MPX5999
|
0...1000
|
4,5
|
45,9
|
±1.5
|
|
x
|
|
|
|
|
|
|
|
|
|
|
|
|
Примечание:- абсолютный датчик- дифференциальный датчик- относительный
(x) или вакуумный (V) датчик
Датчики давления Моторола имеют линейную характеристику преобразования со
смещением нуля. В технической документации приводятся диапазоны возможных
значений напряжения смещения, соответствующего нулевому давлению, и размаха
выходного напряжения, соответствующего изменению входного сигнала во всем
диапазоне измерений. Для исключения ошибок, связанных с разбросом номинальных
значений начального смещения и чувствительности, в измерительном устройстве
должны быть предусмотрены средства калибровки датчиков.
Составляющими погрешности датчиков давления Моторола являются
нелинейность, гистерезис при изменении температуры и гистерезис при изменении
давления, температурный дрейф начального смещения и чувствительности. Наиболее
точные датчики cерии MPX4xxx и MPX6xxx имеют суммарную приведенную погрешность
1,5%.
Инерционность у всех типов датчиков характеризуется временем отклика на
скачок входного сигнала 1 мс и временем, необходимым датчику, чтобы войти в
рабочий режим после включения питания - 20мс.
Большинство датчиков давления Моторола предназначены для работы в сухом
воздухе. Однако, теперь Моторола также предлагает датчики серии MPXAZ,
обладающие повышенной защитой от воздействия среды благодаря введению
дополнительного барьера. Эти датчики были разработаны для использования в
условиях повышенного загрязнения воздуха на борту автомобиля.
В настоящее время прослеживается тенденция дальнейшей миниатюризации
датчиков давления. Так, датчики в появившихся недавно корпусах MiniPack и SSOP
c шагом выводов 1,27мм, являются более экономичными и предлагаются по более
низким ценам. Появляются новые типы портов для этих миниатюрных корпусов.
Развитие также идет по пути увеличения точности датчиков. Так, датчики нового
подсемейства MPX6xxx имеют по сравнению со своими предшественниками лучшую
термокомпенсацию в области верхней границы температурного диапазона. В
ближайшее время ожидается появление датчиков семейства MPXY, которые объединяют
в себе функции измерения давления и температуры. Они ориентированы на
применение в системах контроля давления в шинах.
Трудно перечислить все возможные приложения датчиков давления Motorola.
Они используются в автомобильной и авиационой технике, например, для построения
индикаторов уровня топлива, в альтиметрах, измерителях давления масла, измерителях
давления воздуха в шинах; в медицине для построения тонометров и спирометров;
на производстве на основе датчиков давления строятся, например, уровнемеры,
барометры, устройства контроля качества воздушных фильтров; датчики давления
применяются также в бытовых пылесосах, стиральных машинах и даже для построения
электронных ударных инструментов.
1.4
Жидкокристаллические цифро-знаковые индикаторы
.4.1
Принцип действия, параметры, применение
Жидкие кристаллы - это вещества, проявляющие в определенном температурном
интервале свойства как жидкости, так и кристаллов. Они способны в жидком
состоянии сохранять упорядоченность молекул (подобно кристаллам). Для создания
жидкокристаллических индикаторов используются так называемые нематические
жидкие кристаллы, которые являются структурной разновидностью данного класса
веществ. Материалом для них служат смеси органических соединений, молекулы
которых формируются в упорядоченные решетки.
Тонкий слой жидкокристаллического вещества (десятки микрон) помещенный,
например, между двумя стеклянными пластинами довольно хорошо пропускает свет.
Однако толстые слон жидкости кристаллов (несколько миллиметров) практически
непрозрачны. Это связано с заметными тепловыми беспорядочными колебаниями
больших групп молекул, что приводит к изменениям показателя преломления и в
конечном счете сильному рассеянию света в жидкокристаллической среде. Особенный
интерес представляет изменение птических характеристик жидких кристаллов под
действием внешнего электромагнитного поля. Именно это свойство используется для
построения элементов индикации на основе тонких прозрачных слоев
жидкокристаллических веществ
Рис. 1.30(7.1). Жидкокристаллический индикатор на эффекте динамического
расстояния: 1 - прокладка; 2- жидкие кристаллы; 3 - отражающее покрытие;
4 - заднее стекло; 5- общий электрод;6 -прозрачные электроды сегментов;
7 - переднее стекло
Рис. 1.31 Жидкокристаллический индикатор, основанный на эффекте вращения
плоскости поляризации слоем жидких кристаллов, исчезающем под действием
электрического поля (твист - эффект): 1-стеклянная ячейка; 2 -отражающее
покрытие; 3 - поляроидная пластина с вертикальной плоскостью
поляризации; 4 - жидкие кристаллы; 5-прокладка;6 - прозрачные электроды;
7 - поляроидная пластина с горизонтальной плоскостью поляризации
Существуют два принципа (эффекта) работы жидкокристаллических
индикаторов. Первый из них состоит в том, что при приложении электрического
поля к тонкому слою жидкокристаллического вещества, заключенному между двумя
стеклянными пластинками, происходит разрушение упорядоченной структуры жидких
кристаллов, что вызывает диффузное рассеяние света в этой области (эффект
динамического рассеяния), В результате прозрачный жидкокристаллический слой
становится мутным и при внешнем освещении возникает контраст между возбужденным
участком жидкости кристаллов и невозбужденным (фоном). При снятии внешнего
электрического поля первоначальная структура жидких кристаллов
восстанавливается и указанный контраст исчезает.
Как показано на рис. 1.30, принципиально жидкокристаллические индикаторы
состоят из двух плоскопараллельных стеклянных пластин, между которыми находится
слой жидких кристаллов толщиной 12- 20 мкм. На одной из стеклянных пластин прозрачным
токопроводящим покрытием нанесен рисунок цифры, который представляет собой
конфигурацию в виде сегментов, с помощью которых можно воспроизвести цифры от 0
до 9. На другой пластине прозрачным токопроводящим покрытием нанесен электрод,
являющийся общим для цифр. Обе пластины покрытыми поверхностями обращены друг к
другу.
Существуют индикаторы, работающие в отраженном («на отраже - ние») и
проходящем («на просвет») свете. В первом случае на заднее стекло индикатора
наносится отражающий слой, во втором - за индикатором должен быть использован
дополнительный источник света.
При подаче управляющего напряжения жидкие кристаллы в зоне действия
электрического поля теряют прозрачность, и если задняя отражающая поверхность
белая, то наблюдатель видит темную цифру на светлом фоне. Если задний
отражатель имеет черный цвет и внутренние поверхности корпуса индикатора также
зачернены, то матово-светлое изображение цифры будет хорошо заметно на черном
фоне.
При работе индикатора на просвет изображение цифры более темное, чем фон.
Если при этом мощность установленного источника света составляет 0,5 Вт, то
яркость жидкокристаллического индикатора становится сравнимой с яркостью
газоразрядного или светодиодного индикатора, используемого в условиях обычной
освещенности.
Выводы от сегментов выполнены в виде износостойких токопроводящих дорожек
на стекле. Соединение выводов индикатора с элементами схемы управления
осуществляется с помощью разъема.
Другим принципом, используемым для создания жидкокристаллических
индикаторов, является эффект вращения плоскости поляризации поляризованного
света слоем жидких кристаллов, исчезающий под действием электрического поля
(твист-эффект). Индикаторы, работающие на этом принципе, получают, помещая
капельку жидких кристаллов между двумя скрещенными поляроидными пластинами,
которая растекается между ними в виде тонкой пленки. Сами скрещенные поляроиды
имеют взаимно перпендикулярные плоскости поляризации света и поэтому являются
совершенно непрозрачными. Но если между этими пластинами имеется слой
неметаллических жидких кристаллов, которые в результате технологической
обработки приобрели свойство вращения плоскости поляризации проходящего света
на 90°, то вся эта оптическая система получается прозрачной (рис. 1.31).
При приложении электрического поля все молекулы жидких кристаллов
ориентируются вдоль поля и эффект вращения плоскости поляризации исчезает. В
результате через систему, показанную на рис. 1.31, пропускание света
прекращается. Если возбуждается не весь слой жидких кристаллов, а определенные
участки в виде символа или цифры, то изображение данного символа (цифры) будет
темным в проходящем свете по сравнению с невозбужденной областью (фоном). Этот
принцип получения индикации является более прогрессивным, так как дает
значительный выигрыш в мощности потребления и позволяет получать более высокий
контраст. В большинстве серийно выпускаемых типов жидкокристаллических
индикаторов использован данный принцип.
Возбуждение жидкокристаллического слоя в индикаторах осуществляется
переменным напряжением синусоидальной формы или форму типа меандр, с
эффективным значением (в зависимости от типа) от 2,7 до 30 В и частотой 30-1000
Гц. Постоянная составляющая напряжения не допускается из-за появления
электролитического эффекта, что ведет к резкому сокращению срока службы
индикатора. Основным параметром жидкокристаллического индикатора, отражающим
качество его работы, является контраст знака по отношению к фону К, который
определяется как отношение интенсивностей света, выходящего из
жидкокристаллического индикатора, в исходном (невозбужденном) и возбужденном
состояниях. Контраст измеряется с помощью специальной оптической системы на
основе микроскопа с встроенным фотоэлектронным умножителем на выходе. Для
устранения внешней засветки объектив микроскопа защищен зачерненным конусом,
который направлен на измеряемый индикатор. Плоскость индикатора расположена
перпендикулярно оптической оси микроскопа и освещается специальной лампой
подсветки, поток которой через конденсатор направлен к измеряемому образцу под
углом 45°. С помощью микроамперметра фиксируют два значения тока ФЭУ: при
неработающем индикаторе и при приложенном к сегментам управляющем напряжении.
Контраст, %, вычисляется по формуле
К=(Iф - I3) 100/Iф,
где Iф - ток фона - фототок
фотоэлектронного умножителя при неработающем индикаторе; I3 - ток знака - фототок фотоэлектронного умножителя при
приложенном к сегментам номинальном управляющем напряжении (изображение знака
темнее фона). Значение К современных серийных индикаторов составляет
83-90 %. Реже контраст выражают в относительных единицах (отн. ед.): К= Iф/Iз.
Чем выше внешняя освещенность, тем ярче изображение на индикаторе.
Контраст от освещенности практически не зависит.
Основными параметрами жидкокристаллических цифро-знаковых индикаторов
являются:
контраст знака по отношению к фону K-отношение разности коэффициента яркости фона и знака
индикатора к коэффициенту яркости фона, выраженное в процентах;
ток потребления Iпот -
среднее значение переменного тока, протекающего через индикатор (сегмент) при
приложении к нему номинального напряжения управления рабочей частоты;
напряжение управления Uyпр -
номинальное значение эффективного переменного напряжения, приложенного к
сегментам индикатора;
рабочая частота напряжения управления fраб ;
минимальное напряжение управления Uyпpmin - минимальное
значение эффективного переменного напряжения, приложенного к сегментам
индикатора, при котором обеспечивается заданный контраст знака по отношению к
фону;
максимально допустимое напряжение управления Uупpmax - максимальное значение эффективного переменного напряжения,
приложенного к сегментам индикатора, при котором обеспечивается заданная
надежность индикатора при длительной работе;
время реакции tреак - интервал времени при включении, в
течение которого ток потребления увеличивается до 0,8 максимального значения;
время релаксации tрел - интервал времени при выключении, в
течение которого ток потребления снижается до 0,2 максимального значения.
Важнейшей характеристикой цифро-знакового жидкокристаллического индикатора
как прибора отображения информации является зависимость контраста знака от
напряжения управления. С увеличением напряжения контраст круто растет до
порогового значения, после чего увеличение контраста с увеличением Uynp практически не происходит. Значение Uynpmin выбирается на пологом участке кривой
вблизи порогa. Отметим, что контраст знака
индикатора является функцией эффективного значения Uyпp и практически не зависит от его
формы.
Жидкокристаллический индикатор как элемент электрической цепи эквивалентен
конденсатору. Вследствие этого вольт-амперная характеристика Iпот = f(Uyпр) при номинальной частоте управляющего напряжения близка
к линейной, а частотная характеристика Iпотр = ᵩ (fpaб)
имеет вид монотонно возрастающей кривой. Постоянная составляющая управляющего
напряжения не должна превышать 1 % эффективного значения Uynp.
Рис. 1.32. Временная диаграмма нарастания и спада тока потребления
жидкокристаллического индикатора (6) при подаче управляющего переменного
напряжения (а)
Важной особенностью жидкокристаллического индикатора является низкий ток
потребления - единицы или сотни микроампер (в зависимости от принципа работы).
В интервале рабочих температур ток потребления несколько увеличивается с ростом
температуры. Жидкокристаллический индикатор имеет низкое быстродействие,
связанное с инерционными процессами перестройки структур органических
кристаллов. Быстродействие существенно зависит от температуры. В зоне
температур, близких к нижнему пределу, быстродействие резко падает. Измерения
временных параметров tреак
и tрел, приводимых в таблицах, производятся
на уровне соответственно 0,8 и 0,2 установившегося значения, как показано на
рис. 1.32. Проверку времени реакции и релаксации серийных приборов производят
визуально по появлению и исчезновению (при прямом наблюдении) знаков при подаче
на них прерывистого напряжения управления с длительностью воздействия 800 мс и
длительностью паузы 800 мс. Жидкокристаллические индикаторы работают в весьма
узком интервале температур. Подавляющее большинство жидкокристаллических
индикаторов не работает при окружающей температуре ниже + 1°С, так как в этих
условиях материал переходит в состояние полутвердого кристалла. При приближении
к нижнему температурному пределу индикатор реагирует на приложение напряжения
все медленнее и в конце концов полностью теряет работоспособность. Индикаторы
восстанавливают свои характеристики после возвращения их из среды с низкой
температурой в среду с температурой, соответствующей температуре рабочего диапазона.
В связи с этим хранение индикаторов разрешается при температуре до -40 °С.
По числу разрядов в одном корпусе цифро-знаковые индикаторы делятся на
1-разрядные, 4-разрядные, 6-разрядные, 9-разрядные. Нумерация разрядов принята
возрастающей слева направо.
Существуют также жидкокристаллические индикаторы, отображающие различные
символы, специальные знаки и надписи.
Цифро-знаковые жидкокристаллические индикаторы изготавливаются в
пластмассовых корпусах или из стекла с компаундным упрочнением по периметру с
выводами под распайку или под разъем.
В процессе эксплуатации следует избегать попадания на контактную площадку
влаги и пыли, вызывающих межэлектродные замыкания. Очищать поверхность
индикатора рекомендуется чистым батистом, слегка смоченным этиловым спиртом.
Система обозначений жидкокристаллических индикаторов содержит несколько
букв и цифр. Сочетание ИЖК означает: индикатор жидкокристаллический. Четвертый
элемент обозначения: буква Ц означает - цифровой, а С - символьный. Пятый
элемент - цифра, указывающая номер разработки. Цифра после дефиса указывает
число разрядов индикатора, а число через косую дробную черту соответствует
высоте в миллиметрах цифры (символа) в разряде.
Приборы, разработанные до введения описанной системы, обозначены иначе.
Например, наименование ЦИЖ-5 расшифровывается следующим образом: цифровой
индикатор жидкокристаллический, номер разработки 5, а ИЖК-2 - индикатор
жидкокристаллический, номер разработки 2.
Использование жидкокристаллических индикаторов в радиоэлектронной
аппаратуре стимулируется рядом факторов: низкими токами потребления и
напряжениями управления, совместимостью работы с интегральными микросхемами,
низкой стоимостью.
Возможными областями их применения являются: индикаторные устройства
измерительной аппаратуры, электронные часы и микрокалькуляторы, информационные
панели и указатели. Весьма сложным аспектом применения жидкокристаллических
приборов являются средства управления (особенно это относится к многоразрядным
индикаторам). На рис. 1.33 показана схема возбуждения сегментов сигналом
переменного напряжения. Устройство состоит из двух логических схем И с двумя
входами DD2, DD3, инвертора DD1 и
ключа-формирователя на транзисторе VT. На
коллектор транзистора подается напряжение, равное двойной амплитуде
номинального переменного напряжения возбуждения данного жидкокристаллического
индикатора.
С транзистора VT на
сегмент индикатора снимается однополярное переменное напряжение прямоугольной
формы амплитудой 40 В. Для уничтожения постоянной составляющей импульсного
питающего напряжения (она недопустима из физических условий работы жидких
кристаллов) к общему электроду прикладывается постоянное напряжение 20 В. На
вход DD2 подается напряжение возбуждения с частотой fB=30...50 Гц, а на вход DD3- напряжение гашения с частотой fr = 10... 40 кГц. При низком логическом уровне
управляющего сигнала открывается DD2 и
транзистор работает в импульсном режиме с частотой, соответствующей частоте
возбуждения жидкокристаллического сегмента. Управляющий сигнал с высоким
логическим уровнем, поступающий с дешифратора на управляющий вход, открывает DD3. В результате устройство формирует напряжение
повышенной частоты, на которую жидкокристаллический сегмент не реагирует. С
учетом того, что устройство управления должно быть соизмеримо по потребляемой
мощности с жидкокристаллическим индикатором, все логические схемы выполнены на
основе КМОП-структур.
Рис. 1.33. Схема возбуждения сегментов жидкокристаллического индикатора
переменным напряжением различной частоты
Кроме описанного используется также другой тип устройства возбуждения
жидкокристаллических индикаторов. Его схема показана на рис. 1.35. На входы
логических схем И DD2 и DD3 от внешнего генератора подаются импульсные напряжения
с частотой f=15...25 Гц, сдвинутые по фазе относительно друг друга на 180°. В
зависимости от уровня управляющего сигнала на сегмент индикатора через
ключ-формирователь (транзистор VT1) прикладывается
напряжение прямоугольной формы, прямое либо сдвинутое по фазе. На общий
электрод индикатора через другой ключ-формирователь (транзистор VT2) постоянно подается сигнал одной фазы.При совпадении
фаз на электродах сегмента последний не возбуждается; при различии фаз
происходит возбуждение сегмента. Отметим, что фазовый способ управления позволяет
уменьшить напряжение питания индикатора в 2 раза.
При использовании многоразрядных индикаторов требуется большое число
внешних соединений, необходимых для управления сегментов. Это заставляет
прибегать к созданию мультиплексного управления. На рис. 1.35 показан принцип
управления 4-разрядным цифровым индикатором с разделенными общими электродами
для каждого разряда, который заключается в объединении идентичных сегментов по
всем разрядам и последовательной адресации данных в соответствующие разряды. Процесс
отображения 4-разрядного числа осуществляется по тактам. В каждом такте
переменное управляющее напряжение прикладывается к шине управления сегментов и
к линии общего электрода того разряда, который возбуждается в данном такте.
Благодаря большому времени релаксации жидких кристаллов цифры разрядов в период
между так том возбуждения продолжают читаться без приложения напряжения.
Рис. 1.34. Схема возбуждения сегментов жидкокристаллического индикатора
по методу сдвига фаз управляющего напряжения
Рис. 1.35. Схема соединений сегментов при мультиплексном управлении
многоразрядным цифровым жидкокристаллическим индикатором
1.5
Микросхемы управления цифро-буквенными индикаторами
.5.1 Дешифраторы
4-разрядного двоичного
Дешифраторы 4-разрядного двоичного кода в сигналы 7-сегментного кода.
Изготавливаются на основе кремниевых КМОП-структур, Выпускаются в пластмассовом
корпусе.
Предназначены для управления 7-сегментными цифро-буквенными индикаторами
с разъединенными анодами сегментов.
Графическое обозначение микросхем.
Условное графическое обозначение микросхем К176ИД2, К176ИД3
Назначение выводов: D0 - D3 - информационные входы; S -вход управления; К - вход
блокировки; М - вход инверсии; А, В, С, D, Е, F, G - выходы, подключаемые к сегментам индикатора; 16-Unит;8 - общий.
Дешифрирование входных сигналов осуществляется при установлении на входе S высокого логического уровня, а на
входах блокировки К и М низких логических уровней напряжения. При
указанных условиях соответствие входных (на выводах D3, D2,D1, D0) и выходных (на выводах Л, В, С, Dt Е, F, G) сигналов можно выразить следующими записями
(вход) - 1111110(выход) (отображение на индикаторе 0), 0001 - 0110000
(1), 0010 - 1101101 (2), 0011 - 1111001 (3), 0100 - 0110011 (4),0101 - 1011011
(5), 0110 - 1011111 (6), 0111 - 1110000(7), 1000 - 1111111 (8), 1001 - 1111011
(9).
Входные коды 1010, 1011, 1100, 1101, 1111 вызывают на выходе состояние
0000000 (на индикаторе информация отсутствует).
В случае установки на входе К высокого логического уровня
напряжения все выходы дешифратора запираются независимо от состояния входной
информации.
Если во время работы дешифратора вход S переходит из состояния логической 1 в состояние
логического 0, то на выходе фиксируется тот последний код, который был в момент
смены логических состояний S, а
на индикаторе сохраняется соответствующая цифра, несмотря на текущие изменения
входной информации. Если на вход М подать высокий логический уровень, то
на выходе сформируются инверсные сигналы относительно тех, которые были
зафиксированы.
Электрические
параметры при Toкр=25оC
Входной ток в состоянии логического 0 при Uвх=0, не более 0,1 мкА
Входной ток в состоянии логической 1 при Uвх = 9,45 В, не более 0,1 мкА
Выходное напряжение в состоянии логического 0 при Uпит = 9,45 В, не более 0,3 В
Выходное напряжение в состоянии логической 1 при Uпит= 8,55 В, не менее 8,2В
Ток потребления, не более:
в статическом режиме 100 мкА
в динамическом режиме при Uпит=9 В, f=100 кГц ………200 мкАВремя задержки распространения сигнала при
включении и выключении 850 нс
Предельные
эксплуатационные данные
Напряжение питания ………………………………………… 3 - 15 В
Входное напряжение - 0,2 В
Выходной ток………………………………………………. - 2 + 3 мА
Потребляемая
мощность...................................................... 50 мВт
Диапазон рабочей температуры окружающей среды - 45.....+70°С
1.6
ИЖКЦЗ-6/17, ИЖКЦ4-6/17
Шестиразрядные цифро-знаковые индикаторы с высотой цифры 16,6 мм. Работа
основана на твист-эффекте жидких кристаллов. Индикаторы ИЖКЦЗ-6/17 работают на
просвет, а ИЖКЦ4-6/17 - на отражение.
Корпус выполнен из стекла и пластмассы с выводами под разъем.
Масса не более 60 г.
Предназначены для отображения цифровой информации в радиоприемных
устройствах.
Электрические
и световые параметры при Токр = 25оС
Контраст знака по отношению к фону при Uynp=9 В, fpaб = 64 Гц, не менее:
ИЖКЦЗ-6/17, 90 %
ИЖКЦ4-6/17.. 87,5%
Ток потребления, не более 70 мкА
Напряжение управления эффективное 9 В
Рабочая частота управляющего напряжения,.. 64 Гц
Время реакции, не более 300 мс
Время релаксации, не более 300 мс
Предельные
эксплуатационные данные
Минимальное напряжение управления эффективное 4 В
Максимальное напряжение управления эффективное 10 В
Диапазон рабочей частоты управляющего напряжения 30-300 Гц
Диапазон рабочей температуры окружающей среды -10... +55 °C
Глава 2.
Проектирование
Расположение приемников полного и статического давления на самолете взято
со схемы самолета Ил-96-300
Приемники полного давления
Рис 2.1. Расположение
приемников полного и статического давления
Приемник полного давления будет иметь такой же вид, а чувствительные
элементы будут располагаться в нем. Влагоотстойники будут располагаться
непосредственно в корпусе приемника полного давления.
В приемник полного давления предлагаю установить датчики давления с
температурной компенсацией, что дает выигрыш в количестве элементов на борту-
не требуется устанавливать отдельные датчики температуры для системы
анероидно-мембранных приборов, как например на ВС Ил-96-300.Датчики в данную
конструкцию будем устанавливать в металлическом исполнении, так как их
прочность более высокая по сравнению с пластиковыми. Обогрев остается таким же
как и в ППД-1М.
Датчики давления предлагаю расположить по 3шт. в каждом, и соединим их
параллельным соединением, что бы при отказе одного, напряжение подавалось в
систему с оставшихся, так же этот вариант позволяет проводить контроль за
каждым датчиком отдельно, измеряя их сопротивление.
Питание системы реализуем на постоянном токе Uconst, так это позволит в случае отказа основной системы
питания, пользоваться аварийными источниками питания. Так как Мощность одного
канала системы составляет всего 14.66 Вт, то система может проработать в
среднем около 50 часов от одного аккумулятора 12САМ-28. Питание достаточно
завести от автомата защиты цепи. Аккумулятор для наибольшей надежности следует
установить отдельно для системы питания анероидно-мембранных приборов,
исключить потребление энергии от него другими потребителями, подзарядку
осуществлять от основной системы питания ВС. В следствие этих данных
целесообразно установить аккумулятор меньших размеров, и с расчетным временем
работы для каждого ВС в отдельности, так например для ВС Ил-96-300, который
может провести провести максимум 12 часов полете, следует устанавливать
гальванический элемент со средней работой в автономном режиме около 20 часов, а
перед каждым полетом проводить контроль за состоянием питания данных приборов.
Плиты статического давления расположим по той же схеме что на борту
Ил96-300, но так как наша система опирается на электрические датчики, то
достаточно установить по 3 шт. на каждую плиту, а результирующий сигнал завести
в нужные нам системы.
.1 Расчет
количества проводов в системе
Провода для системы требуются БПВЛ с сечением провода 0.35мм, данные
требования удовлетворяют требованиям пожаробезопасности, количество проводов
примем равным 16 м из расчета параметров самолета Ил96-300.
Провода для бортовой сети медные гибкие авиационные БПВЛ предназначены
для фиксированного монтажа электрической сети, в том числе авиационной техники,
и работы при напряжении до 250 В переменного тока частотой до 2000 Гц или 500 В
постоянного тока и температуре от -60 до +70°С. ГОСТ(ТУ 16-505.911-76).
Изоляция из поливинилхлоридного пластиката в лакированной оплетке из
нитей марки БПВЛ
Жила: Токопроводящая жила из медных проволок, луженных оловом класс 4 -
для проводов с жилой сечением 0,35; 0,5; 1,0-25,0 мм2.
Электрические характеристики БПВЛ
Электрическое сопротивление изоляции при температуре 20°С, не менее:
для проводов с жилой сечением до 4,0 мм2 - 500 МОм;
Провода выдерживают испытание напряжением:
при приемке и поставке - 1500 В переменного тока частотой 50 Гц или 4000
В на проход;
на период хранения и эксплуатации - 750 В переменного тока частотой 50
Гц.
Условия эксплуатации и монтажа БПВЛ
Температура окружающей среды от -6О°С до +70°С
2.2 Расчет
мощности системы
Тепловые потери q через силовой провод находятся следующим образом
(W). (2.1)
где :
λ теплопроводность силового провода
(Вт/м );
А: площадь поперечного сечения (мм);: длина силового провода,
определяемая как l =2πD0 +0,5 (м), где D0 - это внешний диаметр
обмоток;, T2 : температура на выводе криогена и комнатная температура силового
провода соответственно (К);
р(T): коэффициент потерь охлаждения при Т;
θ: коэффициент для расчета тепловых
потерь, который равен примерно 400 для T1 =4,2 и T2 =293;
Р1 : потери на охлаждение силового провода, приняты равными 100;
Рсист=Р1*n1+Р2*n2+QL*n3, (2.2)
где Р1- мощность одного датчика;
Р2- мощность LCD экрана;
n1-
количество датчиков;
n2-
количество LCD экранов;
n3-
общий метраж проводов.
Рсист=0.07*12+14*2+0.03*16=29.32 Вт
2.3 Расчет
надежности системы
Разработаем расчетные параметры, необходимые для обеспечения максимальной
надежности системы приборов. Рассмотрим компоновку датчиков системы: датчики
равнонадежны, а потоки отказов примем простейшими.
Таблица 2.1
|
Количество элементов
|
Параметры системы
|
Метод решения системы
дифференциальных уравнений
|
|
3
|
все элементы равнонадежны 1/ч, 1/чПреобразование
Лапласса
|
|
Перечисление всех состояний системы
Таблица 2.2 - Все состояния системе
|
Состояния системы в целом
|
Состояние подсистем
|
|
1
|
2
|
3
|
|
работает
|
работает
|
работает
|
работает
|
|
работает
|
работает
|
работает
|
не работает
|
|
работает
|
работает
|
не работает
|
не работает
|
|
не работает
|
не работает
|
не работает
|
не работает
|
|
работает
|
не работает
|
не работает
|
работает
|
|
работает
|
не работает
|
работает
|
работает
|
|
работает
|
не работает
|
работает
|
не работает
|
|
работает
|
работает
|
не работает
|
работает
|
Граф переходов из одного состояния в другое
Рис. 2.3. Граф переходов из одного состояния в другое
Система дифференциальных уравнений, описывающих изменение вероятностей
состояний системы
,
.
(2.1)
где - вероятность того, что система работает;
-
вероятность того, что система не работает;
λ - интенсивность отказов, 1/ч;
μ - интенсивность восстановления, 1/ч.
Решение
системы дифференциальных уравнений
Решаем
систему дифференциальных уравнений (1) с помощью преобразования Лапласа при
начальных условиях.
Начальные
условия,
,
,
.
,
.
(2.2)
Решаем систему уравнений (2.2).
,
(2.3)
.
Преобразуем систему уравнений (2.3).
, (2.4)
.
Графики изменения вероятностей всех состояний во времени
Рис.2.5. Графики изменения вероятности того, что система не работает
Воспользуемся рисунком 2.4 для определения времени перехода системы в
установившийся (стационарный) режим работы и определение стационарного
коэффициента готовности.
Времени перехода системы в установившийся (стационарный) режим работы T=16.6 (ч).
Стационарный
коэффициент готовности
.
Определение
вероятности безотказной работы системы в целом
. (2.5)
График
изменения вероятности безотказной работы системы
Рис.2.6. График изменения вероятности безотказной работы системы
Решение системы дифференциальных уравнений для установившегося режима,
определение стационарного коэффициента готовности
,
.(2.6)
Решаем систему уравнений (2.6).
,(2.7)
.
,(2.8)
.
Из
(2.8) следует, что
2.4
Характеристики приборов
Высотомер
В высотомер нам требуются сигналы статического давления и температуры, но
так как датчики давления с температурной компенсацией, то сигнал температуры
можно исключить. Так же нам требуется данные давления на аэродроме РQFE, которые можно вводить вручную, либо
получать автоматически через условную беспроводную сеть, так же в современных
условиях нам необходим сигнал о давлении на уровне моря PQNH, для того чтобы на высоте эшелона
высота указывалась относительно уровня моря, что будет удобно для характеристик
полета. И переключение с давления аэродрома на давление уровня моря должно
происходить на высоте 8000 м, но можно настроить на более удобную высоту для
горных аэродромов и находящихся в низине, она может быть разной. Давление
уровня моря всегда подается автоматически, а давление аэродрома может
устанавливаться вручную рукояткой в области от 540 до 750 мм рт. ст. или
автоматически переключением тумблера на лицевой панели. Также прибор имеет
переключение с футов на метры, для удобства экипажа при полетах за
границей.Также для упрощения конструкции вариометр поместим на одну панель с
высотомером, потому что ему требуется только статическое давление. Принцип
вариометра реализуем через запоминающий элемент, который запоминает сигнал на 1
секунду. При увеличении задержки времени увеличивается длительность
рассогласования, то есть прибор будет указывать количество метров за несколько
секунд, а температурная поправка не даст прибору указывать ложный подъем или
спуск, при влете в области повышенного или пониженного давления.
Рис.2.7. Панель высотомера-вариометра
Указатель
скорости.
Указатель скорости, как и раньше указывает истинную воздушную скорость и
приборную. Указатель индикаторной скорости (УС) применяется в качестве
пилотажного прибора. Принцип действия его основан на измерении динамического
давления встречного потока воздуха, в нашем случае подается сигнал от датчиков
полного давления, усиливается в усилителе и через аналого-цифровой
преобразователь выводится на экран.
Указателю истинной воздушной скорости требуется так же поправка на
статическое давление, а так как датчики имеют температурную компенсацию, то
пилотам не придется сопоставлять показатели с данными таблиц и высчитывать ИВС.
Отнимая сигнал статического давления от полного получим скорость ВС
относительно воздушных масс на определенной высоте и при определенной
температуре. Суммируясь сигналы после суммирования идут в блок
аналого-цифрового преобразования и затем на индикатор ИВС.
Рис. 2.8. Принципиальная схема датчика истинной воздушной скорости
Давления
р и р измеряют
с помощью манометрических и анероидных блоков, деформация которых преобразуется
в электрические напряжения. Температуру измеряют приемником температуры,
представляющим собой электрическое сопротивление. Принципиальная схема одного
из датчиков истинной воздушной скорости представлена на рис.2.8. Потенциометры RΔр, Rр и Rо.с профилируются подключением шунтирующих и добавочных
сопротивлений.
Напряжение,
снимаемое с потенциометра Rр, равно
(2.9)
А напряжение, снимаемое с потенциометра RΔр, равно
(2.10)
Напряжение, снимаемое с потенциометра Rо.с, будет
(2.11)
Профиль потенциометра Rо.с
выбирается таким, чтобы обеспечивалось равенство
(2.12)
и линейная зависимость между напряжением Uвых и истинной воздушной скоростью.
Сигнал разбаланса ΔU=U2-Uо.с подается на магнитный усилитель МУ, а затем, после
усиления, на управляющую обмотку двигателя Д, который перемещает щетку
потенциометра Rо.с и равновесное положение и
одновременно щетки потенциометров R1 и
R2, с которых снимается выходной сигнал в виде напряжений Uвыx постоянного тока.
В
установившемся режиме
U=0, следовательно, U2=Uо.соткуда
с учетом выражений (2.9) и (2.12) имеем
(2.13)
или
после преобразований
(2.14)
Из выражения (2.14) видно, что рассмотренная схема датчика истинной
воздушной скорости правильно решает зависимость скорости от полного и
статического давления с учетом температурной компенсации.
Указатель числа Маха работает по тому же принципу что и указатель
истинной воздушной скорости, только поправка на температуру в нем не
принципиальна. Поэтому схема прибора остается такой же с изменением лишь
коэффициента умножения для правильного отображения данных
Рис.2.2 Индикатор скорости и числа М
Глава 3.
Экономическое обоснование проекта
Введение
Так как данное устройство становится промышленным или опытным изделием,
подход к его изготовлению во многом должен быть аналогичен подходу к
производству промышленной продукции. Поэтому очень важным становятся вопросы
оценки экономической эффективности их создания и использования. В данном
описании рассматриваются затраты на проектирование устройства Универсального
аналого-цифрового преобразователя (АЦП).
3.1 Расчет
стоимости спроектированной системы приборов
Стоимость деталей и элементов, входящих в наше устройство
Таблица 3.1
|
Элемент
|
Цена за
|
Цена за 1 шт. руб.
|
Кол-во
|
Сумма евро
|
Сумма руб.
|
|
1шт., евро
|
|
|
|
|
|
153УД2
|
1,3
|
45,5
|
7
|
8,96
|
318,5
|
|
КР1533ИР22
|
0,8
|
28
|
6
|
4,68
|
168
|
|
К555ИД7
|
0,08
|
2,8
|
12
|
1
|
33,6
|
|
Диод 2Д522Б
|
0,15
|
5,25
|
4
|
0,61
|
21
|
|
Емкость 33пФ
|
0,04
|
1,4
|
7
|
0,29
|
9,8
|
|
Резистор МЛТ-10К
|
0,07
|
2,45
|
4
|
0,028
|
9,8
|
|
Резистор МЛТ-20К
|
0,05
|
1,75
|
3
|
0,15
|
5,25
|
|
Резистор МЛТ-300 Ом
|
0,03
|
1,05
|
3
|
0,08
|
3,15
|
|
Резистор МЛТ-4,32 К
|
0,05
|
1,75
|
2
|
0,11
|
3,5
|
|
LED дисплей
|
1,2
|
42
|
8
|
9,6
|
336
|
|
датчик давления моторола
|
2,2
|
77
|
16
|
35,2
|
1232
|
|
Итого
|
|
|
|
60,708
|
2140,6
|
Стоимость всех элементов, входящих в наше устройство, составила 60,708
евро.
Также в стоимость готового изделия будет входить стоимость следующих
материалов:
- фольгированный двухсторонний стеклотекстолит;
- железо для корпуса изделия;
- соединительные провода.
Примем стоимость этих материалов на уровне 20,00 евро.
Итого суммарная стоимость изделия без учета заработной платы рабочих
составляет 66,308 евро (по курсу 1 евро = 34,956 руб. на 24.11.2008 г.
составляет 2140,6 руб.).
3.2
Затраты на изготовление устройства
Затраты на разработку устройства (S) определяются следующим образом:
,
где:
- время, затраченное на разработку данного устройства
работником, Чел.-мес.;
- основная заработная плата разработчика с учетом
районного коэффициента, руб./мес.;
-
коэффициент, учитывающий дополнительную заработную плату разработчика блока, в
долях к основной заработной плате;
-
коэффициент, учитывающий отчисления на социальные нужды, в долях к сумме
основной и дополнительной заработной плате (26%);
-
коэффициент, учитывающий накладные расходы организации, в которой
разрабатывается данное устройство, в долях к основной заработной плате
разработчиков (от 2,0 до 4,0) - на соблюдение авторских прав на устройство и
патентов.
-
процент отчислений в страховых взносов на травматизм (0,2%).
Так
как разработку блока вел работник предприятия, для которого он разрабатывался,
то заработная плата, учитываемая в расчете, составит 8000 руб./мес. (учтен
оклад, районный и северный коэффициенты).
Коэффициент
= 10,0 %
(дополнительная премия).
Коэффициент
= 26 % (Это отчисления предприятием или организацией
с заработной платы персонала во внебюджетные фонды).
Коэффициент
= 2;
Коэффициент
= 0,002;
Время,
затраченное на разработку данного устройства, составляет:
= 3
Чел.-мес.
Получаем
затраты:
= 3
Чел.-мес. * 8000 руб. * [(1 + 0,10)*(1+ 0,26+0,002) + 2] = 81 792,00 руб.
Кроме
разработки самого блока, требуется его отладка и проверка работоспособности.
Время, необходимое на отладку и проверку, составило 60 часов рабочего времени
(две недели при 5-ти дневной рабочей неделе и 8-ми часовом рабочем дне).
Дополнительные расходы на отладку устройства определяются как:
где:м.о
- количество часов машинного времени потраченного на отладку блока;ч
- эксплуатационные расходы, приходящиеся на один час машинного времени. Они
определяются так:
, здесь:
Е
- эксплуатационные затраты на обработку данных, которые вычисляются по формуле:
где:
Зо - основная заработная плата обслуживающего персонала, руб./год
Зд
- дополнительная заработная плата обслуживающего персонала, руб./год
Зс
- отчисления на социальные нужды, руб./год
-
амортизационные отчисления на оборудование, руб./год;
-
затраты на основные и вспомогательные материалы, руб./год;
-
затраты на электроэнергию, руб./год.
Азд
- амортизационные отчисления на здания, руб./год.
Для
работы на стендах для проверки и отладки, не требуется обслуживающий персонал,
устанавливаются они на рабочих местах специалистов, поэтому Зо, Зд,
Зс, Азд в этом случае не требуются и равны
нулю.
Норма
амортизации для стендов составляет
= 10.5 %
от стоимости оборудования.
= 12500 * 0.105 = 1312,5 руб.;
Здесь:
12500 руб. - стоимость стенда, на которой разрабатывалось устройство.
Затраты
на основные и вспомогательные материалы определяются в размере 10 % от
стоимости основного оборудования.
= 12500 * 0.1 = 1250 руб.;
Затраты
на электроэнергию определяются, исходя из годового фонда рабочего времени и
потребляемой мощности (800 Вт).
Годовой
объем работ стенда в часах определяется следующим образом:
= 120 *
;
где:
- среднесуточная загрузка оборудования, ч. (Для
стенда третьей группы равна 8 часам).
-
среднее количество дней работы стенда в течение года.
= 120 * 8 = 960 часов.
Стоимость
одного киловатт-часа на 2007 год для организаций равна 1.36 руб. (1,18 руб.
плюс 18% НДС=1,40 руб.)
=
* 0.4 = 0.4 * 960 * 1.36 = 522,24 руб.
Величина
расходов:
= 1312,5
+ 1250 + 522,24 = 3084,74 руб.
Эксплуатационные
расходы, приходящиеся на один час машинного времени, составит:
еч
= 3084,76 / 960 = 3.21 руб./час.
Таким
образом, дополнительные затраты на отладку блока составят:
д= 60 час. * 3.21 руб./час. =
193 руб.
Итак,
затраты на разработку и отладку блока на стенде составят:
=81
792,00 руб. + 193 руб. = 81 985,00 руб.
Цена
данного продукта (
) может быть определена как сумма затрат на разработку
устройства и величина плановых накоплений (прибыли). Последняя принимается в
процентах от величины затрат на разработку (
= 15%)
= (1 +
0,15)* 81985,00 = 94282,75 руб.
3.3 Расчет
капитальных вложений, связанных с использованием разработанного блока
Дополнительные капитальные вложения, связанные с внедрением устройства,
определяются по формуле:
;
где:
- капитальные вложения в воздушное судно (ВС), для
которого предназначен данный блок, руб. (капитальные вложения в ВС равны
затратам на основные и вспомогательные материалы
=
= 15000 руб.)
-
эффективный годовой фонд времени работы устройства (за вычетом плановых
простоев), ч./год;
- машинное время, необходимое потребителю для решения
задач с помощью данного блока, машино-ч./год;
- цена,
по которой продается блок, р.
;
= 365
рабочих дней в году;
= 2,5
часов, среднесуточная загрузка оборудования.
= 365 * 2,5 = 912 ч./год.
Устройство
будет работать все время использования ВС, следовательно
= 912
часов.
Считаем
дополнительные капитальные вложения:
= (912 * 15000/ 912) + 94 282,75= 109282,75 руб.
3.4
Расчет эксплуатационных расходов, связанных с использованием разработанного
блока
Величина
эксплуатационных расходов, связанных с использованием программы:
;
значит:
Е
= 912 * 3,21 = 2927,5 руб.
Таким
образом, экономия расходов у пользователя устройством составит:
;
= 1,60 *
1,356 * 5000 руб. * 12 мес - 2927,5 руб. = 205354,10 руб.
где
Зо - оклад заменяемого работника.
Эта
цифра показывает экономический эффект от единичного использования устройства за
год. Поскольку данное устройство можно внедрить для массового использования, то
экономический эффект от её использования будет значительно выше.
3.5 Расчет
основных экономических показателей
Определим коэффициент экономической эффективности дополнительных
капитальных вложений:
Подставим
вычисленные значения:
Срок
окупаемости дополнительных капитальных вложений при разработки нового блока (лет):
Подставим
вычисленные значения:
Следовательно,
устройство окупит себя приблизительно за 6 месяцев.
Составим
сводную таблицу технико-экономических показателей.
3.6 Смета
затрат на разработку устройства
Сводные технико-экономические показатели по разработке новой программы
Таблица 3.2
|
№ пп.
|
Наименование показателя
|
Значение, руб./мес.
|
Кол-во месяцев
|
Всего, руб.
|
|
1.
|
Оклад разработчика
|
5000,00
|
3
|
15000,00
|
|
2.
|
Районный коэффициент на
оклад разработчика (30%)
|
1500,00
|
3
|
4500,00
|
|
3.
|
Северный коэффициент на
оклад разработчика (30%)
|
1500,00
|
3
|
4500,00
|
|
4.
|
Премия (10% от з/п)
|
800,00
|
3
|
2400,00
|
|
5.
|
Отчисления ЕСН (26%)
|
2288,00
|
3
|
6864,00
|
|
6.
|
Отчисления страховых
взносов на травматизм (0,2%)
|
17,60
|
3
|
52,80
|
|
7.
|
Накладные расходы
организации
|
16 000,00
|
3
|
48 000,00
|
|
8.
|
Дополнительные затраты на
отладку.
|
|
|
244,20
|
|
9.
|
Прибыль (15%)
|
|
|
12614,31
|
|
10.
|
Общая сумма затрат на
детали, входящие в устройство
|
|
|
2140,6
|
|
Всего
|
87324,91
|
Разработка
данной системы позволяет снизить затраты на производство целого комплекса
приборов, а также на дальнейшее их обслуживание, так как в среднем прибор может
работать до отказа, потому что в них не добавляется инструментальной
погрешности. Все это позволяет существенно упростить работу
инженерно-технического состава, снизить затраты на обслуживание, повысить
экономичность энергоресурсов ВС.
Решение
экономических вопросов в дипломном проекте позволяет дать оценку качеству
инженерной проработки, целесообразности внедрения результатов дипломного
проектирования в практику, и на основе этого формировать новые экономические
решения.
Глава 4.
Безопасность жизнедеятельности
Введение
При эксплуатации стенда для проверки разработанного блока на здоровье
человека не воздействуют никакие опасные и вредные факторы, так как в его
корпусе отсутствуют незащищенные подвижные элементы. Детали и механизмы,
использованные в устройстве, работают в номинальных режимах, при температурах,
близких к комнатной, поэтому избыточного количества тепла не выделяется. В
конструкции стенда отсутствуют взрывоопасные и пожароопасные вещества и
материалы, а также токсичные вещества и агрессивные жидкости.
Однако, во время сборки лабораторного стенда для определения технических
характеристик системы анероидно-мембранных приборов, и при отладке этого стенда
производятся работы с различными приборами и оборудованием. Поэтому, при
выполнении дипломного проекта стоит задача выполнения требований техники пожаро-
и электробезопасности.
4.1 Общая
характеристика помещения лаборатории
Кроме данного стенда в помещении имеется три комплекта
контрольно-проверочной аппаратуры, которые обслуживают те же работники. Площадь
занимаемая установкой, включающей данный стенд составляет 1,2м2.
Лабораторный стенд должен располагаться по отношению к оконным проемам так,
чтобы свет падал сбоку, предпочтительнее чтобы слева. План данной лаборатории,
с предпочтительным и допустимым размещением разрабатываемого стенда приведен ниже.
Рис.2.19 Схема лаборатории
4.2 Анализ
опасных и вредных факторов при проведении работ со стендом
Основными опасными и вредными факторами при выполнении электромонтажных и
сварочных работ в процессе создания нашего лабораторного стенда, а также в
процессе настройки и отладки в соответствии с ГОСТ 12.0.003-74 являются:
1опасный уровень
напряжения в электрической цепи, замыкание которой может произойти через тело
человека;
-повышенная температура поверхностей оборудования, материалов;
электромагнитные поля и излучения.
Основные причины несчастных случаев, которые могут возникнуть при работе
со стендом от воздействия электрического тока следующие:
2
случайное
прикосновение или приближение на опасное расстояние к токоведущим частям,
находящимся под напряжением;
3
появление
напряжения на металлических конструктивных частях электрооборудования -
корпусах, в результате повреждения изоляции и других причин;
4
появление
напряжений на отключенных токоведущих частях, на которых работают люди,
вследствие ошибочного включения установки.
4.3
Организационные и технические мероприятия по обеспечению электробезопасности в
лаборатории
.3.1
Электробезопасность (ГОСТ 12.1.009-76)
Во избежание поражения электрическим током необходимо содержать все
электроприборы и изоляцию проводов в исправном техническом состоянии, не
допускающем пробой тока в случае прикасания к ним.
Недопустимо прикосновение человеком одновременно к заземленным
конструкциям здания и механизмам и металлическим корпусам электрооборудования.
4.3.2
Заземление
Защитное заземление является наиболее простой и в то же время весьма
эффективной мерой защиты от поражения током при появлении напряжения на
металлических нетоковедущих частях.
Защитное заземление - преднамеренное электрическое соединение с землёй или её
эквивалентом нетоковедущих частей, которые могут оказаться под напряжением
вследствие замыкания на корпус и по другим причинам (индуктивное влияние
соседних токоведущих частей, вынос потенциала и т.д.).
4.3.3 Расчёт
заземления
Сопротивление растекания тока одиночного, вертикального электрода
определяется по формуле:
RО.В.
= (PРАС./2π*l )*(ln(2l/d)+(1/2)ln))*(4*h+l)/(4*h-l),
где РРАС. - расчётное удельное сопротивление, Ом.м;
l -
длина одного стержня, м; l=2 м;
d - диаметр
стержня, м; d=0,012 м;
h -
глубина от поверхности земли до середины заделываемого стержня, м.
РРАС =КС.СТ..РТАБ,
где КС.СТ - для четвёртой климатической зоны, равен 1,15;
РТАБ = 100 Ом.м.
РРАС.=100.1,15=115 Ом.м
h=l/2+t,
где t-глубина заделки стержня, м;
h=2/2+0,5=1,5
м.
Таким образом подставим все значения в формулу и определим сопротивление
растекания тока одиночного, вертикального электрода:
RО.В.= (115/2*3,14.2)*(ln(2*2/0,12)+0,5ln*((4*1,5+2)/(4*1.5-2)) = 59 Ом.
Определяем предварительное количество стержней:
nПРЕД. = R/RЗ, ПРЕД. = 59/14 = 3,9 = 4 шт.
Определяем сопротивление заземления:
rП< n*Rз*UПР.ДОП./IК.З.1*ZЗ.-UПР.ДОП.
где rП - сопротивление одного повторного заземления нулевого
защитного проводника. Ом;
n -
количество повторных заземлителей, шт;К.З.1 - ток однофазного
короткого замыкания, А;З - полное сопротивление участка нулевого
защитного проводника, Ом;
UПР.ДОП. - допустимое напряжение
прикосновения, В.
где RЗ,XЗ - активное и индуктивное
сопротивление нулевого защитного проводника, Ом;- сопротивление взаимоиндукции
петли "фаза - нуль", Ом.
Так же установлены ряд АЗС, что является конечным этапом
электробезопасности.
4.4
Организационные и технические мероприятия по обеспечению пожаробезопасности в
лаборатории
4.4.1
Пожаробезопасность (ГОСТ 12.1.038-82)
Работы на стенде проводятся в лаборатории авиационного радиооборудования.
Для тушения пожара в помещении применяются переносные огнетушители типа ОУ,
которые заряжены углекислотой, а также огнетушителей ОР1-2 и ОР2-6.
Огнетушители типа ОР ("Вода") применяются для тушения горящих
материалов при отсутствии электрического напряжения, а огнетушители
("Фреон") - для тушения любых горящих веществ и предметов и при
наличии электрического напряжения.
4.5
Воздействие электромагнитных излучений радиочастот
Лабораторный стенд для определения технических характеристик нашего блока
не содержит излучающих антенн, поэтому защита от воздействия электромагнитных
полей радиочастот не предусматривается. Так же при работе и отладке данного
стенда нет никаких ультрафиолетовых, инфракрасных, ионизирующих и лазерных
излучений. Нормирование ЭМИ радиочастотного диапазона проводится по ГОСТ
12.1.006-84, электромагнитных полей промышленной частоты - по ГОСТ 12.1.002-84.
4.6
Мероприятия по производственной санитарии
.6.1
Организация воздухообмена в помещении
Необходимым условием здорового и производительного труда является
обеспечение чистоты воздуха и нормальных метеорологических
условий в рабочей зоне помещений. Вентиляция осуществляется удалением загрязненного
или нагретого воздуха из помещения и подачей свежего (СН и П 2.04.05-86.
Вентиляция и кондиционирование. Госстрой.)
4.6.2
Расчет потребного воздухообмена при общеобменной вентиляции
В помещении объемом 45 м3 нормальный микроклимат, отсутствуют
вредные пары и газы. Необходимый воздухообмен для всего помещения определим по
формуле:
L=n*Li,
где Li - нормируемый расход воздуха на
одного работающего, м3/ч;
n -
число работающих в данном помещении.
В данном случае на одного работающего приходится объем помещения, равный
21 м3, в этом случае принимают Li ≥ 20 м3/ч. Данное нормирование производится
при нормальном микроклимате и наличие вредных веществ в воздухе рабочей зоны,
не превышающем ПДК.
n = 2
человека.
L =
20*2=40 м3/ч
Таким образом, для нормального воздухообмена данного помещения достаточно
количество воздуха 40 м3/ч.
Рассчитаем кратность воздухообмена:
k
В= L / Vn,
где Vn - объем помещения.
kВ
= 40 / 43 = 1,
что соответствует допустимым значениям (кратность воздухообмена кв должна
быть 1... 10).
Для эффективной вентиляции необходимо выполнение следующих условий:
5
количество
приточного воздуха должно соответствовать количеству удаляемого;
6
свежий воздух
необходимо подавать в те части помещения, где количество вредных выделений
минимально, а удалять, где выделения максимальны;
7
система
вентиляции не должна создавать шума на рабочих местах;
8
система
вентиляции не должна вызывать переохлаждения или перегрева работника;
9
система
вентиляции должна быть электро- и пожаробезопасна, проста по устройству,
эффективна и надежна в эксплуатации.
4.6.3
Освещение помещений
Основной задачей освещения на рабочем месте является создание наилучших
условий для работы. Эта задача решается с помощью осветительных приборов,
отвечающих в соответствии с СНиП 4-79 следующим требованиям:
освещенность должна соответствовать характеру работы;
10 необходимо равномерное распределение
яркости на рабочей поверхности;
11 должны отсутствовать резкие тени,
прямая и отраженная блеклость;
12 величина освещения должна быть
постоянной во времени;
13 следует выбирать необходимый
спектральный состав света;
14 элементы осветительных установок
должны быть долговечными, электробезопасными и пожаробезопасными;
4.6.4
Расчет искусственного освещения
Источником света являются люминесцентные лампы, которые по сравнению с
лампами накаливания имеют ряд существенных преимуществ:
·
по спектральному
составу света они близки к дневному, естественному свету;
·
обладают более
высоким КПД (в 1,5-2 раза выше, чем КПД ламп накаливания);
·
обладают
повышенной светоотдачей (в 3-4 раза выше, чем у ламп накаливания);
·
более длительный
срок службы.
Светильники располагаются рядом. Количество светильников - 4 шт.
Рассчитаем освещение методом светового потока. Световой поток группы ламп Ф
(лм) при люминесцентных лампах рассчитывается по формуле:
Ф
= 100*Ен*S*z*К/(N*
),
где
Ен - нормированная минимальная освещенность, 200 лк для данной степени точности
проведения работ (оценим ее как «малая точность»);
S - площадь
освещаемого помещения, 15м2;
z - коэффициент
минимальной освещенности;
К
- коэффициент запаса; N - число светильников в помещении, 4 шт;
-
коэффициент использования светового потока ламп, зависящий от показателя
помещения i, лежит в диапазоне от 11 до 73.
Показатель
помещения i рассчитывается:
i = A*B/Hp*(A+B)=
3*5/2,0*(3+5) = l.
где
А и В - геометрические размеры помещения;
Нр
- высота светильников над рабочей поверхностью. Определим показатель
помещения:
i=3*5/2,0*(3+5)
= l.
По
этому показателю определяем коэффициент использования светового потока
= 34. Коэффициент запаса для операторских пунктов
выбираем
равным К = 1,50. Число светильников в помещении N = 4, коэффициент минимальной
освещенности для люминесцентных ламп принимается равным z = l,l.
Рассчитаем
световой поток лампы:
Ф
= 100*200*15*1,1*1,5 / 4*34=3640 лм.
По
таблице световых и электрических параметров люминесцентных ламп подбираем
ближайшую стандартную лампу: ЛДЦ80, Ф = 3740 лм; световая отдача - 46,8 лм/В.
Глава 5.
Экологичность проекта
5.1
Загрязнение атмосферы
При работе программы на персональном компьютере не происходит никаких
химических реакций с образованием газов, следовательно, выбросов в атмосферу и
ее загрязнения нет.
5.2 Загрязнение гидросферы
Работа с персональным компьютером не предусматривает использование воды,
поэтому сбросов в бытовую и промышленную канализацию нет, следовательно,
отсутствует загрязнение гидросферы.
5.3
Загрязнение излучением
Основными опасными экологическими факторами, оказывающими влияние на окружающую
среду, для персональных компьютеров являются излучения, связанные с
функционированием аппаратных модулей, работающего компьютера. В основном это
электромагнитное излучение и статическое электричество.
Напряженность электромагнитного поля по электрической составляющей 10
В/м;
Напряженность электромагнитного поля по магнитной составляющей 0,3 А/м;
напряженность электростатического поля - 20 кВ/м.
Для устранения статического электричества, накапливаемого на корпусе
компьютера, компьютер и монитор заземляют.
Но так как дозы этих излучений малы и не выходят за допустимые нормы (для
напряженности электрического поля: 2,5 В/м 25 В/м), а персональные компьютеры,
обычно, установлены в помещениях, то эти опасные экологические факторы
(излучения), гасятся конструктивными элементами (стенами, окнами) и не выходят
за пределы зданий, соответственно, не оказывая никакого вредного экологического
воздействия на окружающую среду.
5.4
Тепловое загрязнение
При работе на персональных компьютерах первых поколений имело место
большое выделение тепловой энергии, связанное с их внутренней структурой. В
персональных компьютерах нового поколения выбросы тепловой энергии, хотя и
значительно меньшие, но так же имеют место. Основными источниками теплового
загрязнения при работе персональных компьютеров являются кристалл процессора и
ЭЛТ монитора. Тепловое выделение с монитора сведено к минимуму в
жидкокристаллических мониторах и в ближайшее время не будет представлять собой
никакой проблемы.
При
работе температура компьютера составляет Т
=31
С.
Температуру
помещения примем равной Т
=22
С.
Рассчитав
выделение тепла по формуле:
А
=Т
-Т
,
получим
величину Ат=9
С.
Тепловое
выделение с микропроцессора отводится при помощи металлического радиатора с
вентилятором, расположенного непосредственно над ним.
5.5
Твердые отходы
Разработанный проект предусматривает применение вычислительных устройств.
Данные устройства предусматривают в среднем 6 лет работы, после чего
списываются. Применяемые в работе ЭВМ состоят, как правило, из трех основных
материалов: пластик, металл и стекло. Из них утилизируется, как правило, только
металл.
Экологичность проекта определяет коэффициент безотходности, вычисляемый
по формуле:
К
=
где
m - масса утилизируемых (подлежащих вторичной переработке)
деталей и узлов компьютера, M - общая масса установки.
К
=
»0,33 - что соответствует высокоотходному производству.
Мы
видим, что из всех выше перечисленных факторов наибольшее влияние на окружающую
среду при работе компьютера оказывают твердые отходы, менее тепловые и
электромагнитные излучения, т.к. компенсируются конструктивными элементами
здания, а такие факторы как загрязнение атмосферы и гидросферы отсутствуют.
Используемый
для работы программного продукта персональный компьютер на 33% подлежит
повторной переработке (отходное производство), при этом коэффициент
безотходности технологии близок к высокоотходному производству.
Заключение
Разработка данной системы анероидно-мембранных приборов позволяет
повысить точность измерения скорости и высоты полета, а также качество
отображения этой информации. Измерения по высоте и скорости производятся до
десятых долей метра, хотя настройка позволяет добиться точности и в
сантиметрах.
Увеличивается надежность всей системы в целом, что позволяет работать ей
до отказа какого-либо из компонентов, с дальнейшей заменой, с исключением
возникновения аварийной ситуации. Это достигается тем, что проверка датчиков,
устройств преобразования и индикаторов производится в автоматическом режиме
после каждого включения системы. Этот принцип позволяет снизить затраты на
техническое обслуживание системы.
Увеличивается функциональность системы, появляется возможность подключать
цифровые источники данных, в которых имеется информация о высоте определенной
местности над уровнем моря, что позволяет вычислять точную высоту над
пролетаемой местностью, а также есть возможность использовать сигналы системы в
других приборах. Проверку и контроль системы можно проводить современными цифровыми
приборами и программами.
Универсальность системы позволяет устанавливать ее в любое ВС, разница
заключается только в исполнении соединяющих элементов и модификации ВС, так же
возможно переоборудовать старые системы на новые, используя минимум конструктивных
изменений и затрат.
С экономической точки зрения система получается дешевле в материалах и
изготовлений, устройства на которых она работает сейчас довольно
распространены, затраты на внедрение окупятся уже через полгода. Экономия
составит до 5000 рублей каждые последующие полгода на обслуживании системы.
Список
использованной литературы
1. Руководство по Технической Эксплуатации самолета
Ил-96-300.
2. Борсоев В.А. Надёжность авиационного оборудования :
учеб. Пособие / В. А. Борсоев, В. С. Новиков ; Сиб. гос. аэрокосмич. ун-т.
-Красноярск, 2005.- 100 с.
. Виглеб Г. Датчики - М.: «Мир», 1989, 196 с.
. Воробьев В.Г., Зыль В.П., Кузнецов С.В. Комплексы
цифрового пилотажно-навигационного оборудования. - МГТУ ГА, Москва - 1998 - 140
с.
. Воробьев В.Г., Константинов В.Д. Техническое
обслуживание и ремонт авиационных электросистем и пилотажно-навигационных
комплексов. МГТУ ГА-Москва, Университетская книга, 2007 -470 с.
. Воробьев В.Г., Глухов В.В., Кадышев И.К. Авиационные
приборы, информационно-измерительные системы и комплексы: Учебник для вузов/
под ред. Воробьева В.Г. - М.: «Транспорт», 1992 - 399 с.
. Гольденберг Л.М. и др. Цифровая обработка сигнала/
Гольденберг Л.М., Матюшкин Б. Д., Поляк М.Н. - 2-е изд. перераб. и: «Радио и
связь», 1990 -Иванов В.И. и др. Полупроводниковые оптоэлектронные приборы:
справочник/ Иванов В.И., Аксенов А.И., Юшин А.М. - 2-е изд. перераб и доп. -
М.: «Энергоатомиздат», 1988 - 256 с.
8. Никамин В.А. Аналого-цифровые и цифро-аналоговые
преобразователи: справочник - Спб.: «Корона принт», М.: «Альтекс-А», 2003 - 160
с.
9. Харин В.И. Авиационные приборы - учеб. Пособие для
средн. спец. учеб. заведений ГА -М.: «Транспорт», 1978 - 205 с.
10. <http://www.gaw.ru/html.cgi/txt/ic/National_Semi/adc/adc_ns.htm>
- Аналого-цифровые преобразователи фирмы National
Semiconduсtor.
. <http://www.efo.ru/doc/Freescale/Freescale.pl?2288>
- Полупроводниковые датчики компании Моторола.