|
Развернутая
длина контактной подвески, км.
|
1275
|
|
Изолирующие
сопряжения (воздушные промежутки открытые и закрытые), шт.
|
122
|
|
Нейтральные
вставки, шт.
|
12
|
|
Воздушные
стрелки, шт.
|
571
|
|
Анкерные
участки, шт.
|
1309
|
|
Секционные
изоляторы, шт.
|
185
|
|
Мачтовых
разъединителей
|
284
|
Типы применяемых контактных подвесок перегонов и
главных путей станций: полукомпенсированная рессорная (КС-120) - первого этапа
электрификации (1964-65 гг.), компенсированная рессорная (КС-140) - второго
этапа электрификации (1980-90 гг.)
1.2 Измерение параметров контактной подвески
инструментами и приборами
.2.1 Измерение изолирующей штангой с земли
На прямом участке пути изолирующую штангу с
земли завешивают вертикально на контактный провод. Шаблон устанавливают на
головки рельсов таким образом, чтобы нулевое деление на шкале совпало с осью
пути. В месте пересечения шаблона с осью штанги определяют зигзаг и вынос
контактного провода. Высоту подвеса КП до уровня головки рельса определяют
измерительной линейкой в нижней части штанги. На кривом участке пути из-за
разного уровня рельсов зигзаг и вынос контактного провода относительно оси
токоприёмника определяют по следующей формуле:
а = 4h
l
, (1.1)
где: h - возвышение наружного рельса; l -
расстояние от оси пути, показанное нижним концом штанги на шаблоне.
Если штанга находится относительно оси пути
ближе возвышающемуся рельсу, в формуле применяют знак "+" если ближе
к рельсу, расположенному ниже, - знак "-". Возвышение наружного
рельса h определяют путевым шаблоном.
.2.2 Измерения зеркальным прибором с шаблоном
Шаблон устанавливают перпендикулярно оси пути на
головке рельсов; находящийся на нём зеркальный прибор передвигают по шаблону до
тех пор, пока совместится отражение КП и нити со средней риской на зеркале.
Зигзаг определяют по шкале шаблона с правой стороны зеркального прибора. Затем
прибор сдвигают до тех пор, пока отражение контактного провода совместится с
крайней риской, и получают второй замер. Определяют расстояние по шкале на
шаблоне между двумя замерами. Умножив это расстояние на 10, и прибавив высоту
шаблона 30 мм, получают высоту контактного провода.
.2.3 Применение измерительных реек и угольников
До замеров предварительно определяют высоту
съемной вышки от уровня головки рельса до ограждения рабочей площадки. Рейки и
угольники устанавливают на изолирующей съёмной вышке; предварительно они должны
быть отградуированы по высоте и в плане в зависимости от высоты вышки. Замеры
один из электромонтёров производит у каждой опоры и в середине пролёта, а
другой заносит в журнал полученные данные.
.2.4 Измерения прибором "Даль - 2"
"Даль - 2" (ультразвуковой цифровой
измеритель расстояния) позволяет без приближения к токоведущим частям и без
снятия напряжения с воздушной линии электропередачи определять расстояние от
поверхности земли до её нижнего провода. При необходимости прибором
"Даль-2" можно поочерёдно измерить расстояния до двух или трёх
проводов, расположенных друг над другом. По полученным данным можно проверить
допустимые расстояния от поверхности земли до проводов воздушной линии,
рассчитать расстояние между проводами, провести сравнение результатов измерений
со знанием стрелы провеса по монтажным кривым или таблицам. При применении на
железной дороге прибор "Даль-2" измерения высоты проводов даёт
возможность определять боковое смещение КП.
.3 Вагон-лаборатория для испытания контактной
сети
.3.1 Вагон-лаборатория ВИКС-76
Вагоны - лаборатории для испытания контактной
сети на отечественных железных дорогах начали широко применять в шестидесятых
годах. Несмотря на непрерывное совершенствование, и сегодня они измеряют не все
необходимые параметры. До недавнего времени наиболее распространённым был
вагон-лаборатория образца ВИКС-76 его модификации. Эти лаборатории
контролировали:
положение КП относительно оси пути в плане
(зигзаг и вынос) в пределах
550 мм с интервалом
50 мм, точностью
50 мм;
Рисунок 1.1-Прибор "Даль - 2"
-высоту КП, отжатого измерительным
токоприёмником, имеющим статическое нажатие 140 Н. в пределах высоты 5500…6800
мм с интервалом 50 мм и точностью
50
мм;
положение КП отходящей ветви на воздушных
стрелках ступенями 50, 100 и 150 мм ниже уровня рабочего провода.
Аппаратура вагона также фиксирует:
уменьшение расстояния между КП и точкой
крепления стержня фиксатора менее 80 мм;
отрыв полоза токоприёмника (только для
контактной сети постоянного тока).
Аппаратура рассчитана на максимальную скорость
движения вагона 160 км/ч. Номинальное напряжение питания аппаратуры - 50 В
постоянного тока и 220 В переменного тока. Чтобы измерять напряжение контактной
сети, установлен киловольтметр. Для связи с диспетчером и машинистом в вагоне
установлена радиостанция ЖР-3М. На крыше вагона оборудована смотровая вышка для
визуального наблюдения за состоянием контактной сети. В аппаратном зале вагона
размещены: камеры высокого напряжения, пульт записи, шкафы аппаратуры,
статический преобразователь. В камере высокого напряжения установлены блоки
изолирующих реле (БИР). Гальваническая развязка осуществляется при помощи
хлопчатобумажной нитью со специальной пропиткой. На крыше вагона оборудована
смотровая вышка для визуального наблюдения за состоянием контактной сети,
размещены два измерительных токоприемника. В аппаратном зале вагона размещается
камера высокого напряжения, пульт записи, шкафы аппаратуры, статический
преобразователь. Под вагоном находятся аккумуляторные батареи, генераторы,
выпрямители. Результаты измерений наносятся на бумажную ленту шириной 420 мм и
называются регистограммой (рис.1.2). Положение КП в плане определяется при помощи
электронного датчика (рис.1.3). На изолированной поверхности полоза
токоприёмника закреплены два электрод - один сплошной, другой -
секционированной на участки (ламели). Шаг ламелей на горизонтальном участке
полоза составляет 50 мм. Таким образом, всё пространство возможных состояний
(положений) контактного провода в горизонтальной плоскости разбитого на 22
кванта (550 мм влево от оси полоза и 550 мм вправо. Датчик работает следующим
образом: КП на полозе токоприёмника перекрывает и замыкает сплошной электрод с
одной или несколькими ламелями. Тем самым создаётся цепь для протекания тока от
источника через сплошной электрод, участок контактного провода, ламель к
катушке реле. Реле срабатывает, чем и фиксируется положение провода в
пространстве. Число реле равно числу ламелей. Очевидное преимущество такого
датчика - его относительная простота. К недостаткам следует отнести нередкие
случаи неудовлетворительной работы при сильных загрязнениях и дожде. В подобных
ситуациях на поверхности полоза образуется слой электролита, и происходят
многочисленные ложные срабатывания реле. На бумажной ленте цифры печатаются
сплошной чёрной полосой. Другие причины неустойчивой работы датчика - гололёд и
даже изморозь, нередко присутствующие на проводе в соответствующие сезоны года.
1.3.2 Вагон-лаборатория ВИКС-ЦЭ
Одним из вагонов-лабораторий контактной сети
нового поколения, которые применяются всеми электрифицированными железными
дорогами России, является вагон НИИЭФА (рис.1.4), оснащенный информационно-вычислительным
комплексом (ИВК), который обеспечивает полную автоматизацию процессов измерений
и допускового контроля параметров контактной сети: прием и обработку сигналов
измерительных преобразователях (датчиков), записи данных и результатов на
жесткий диск ЭВМ, отображение получаемой информации на экране дисплея, а также
распечатки протоколов инспекционных поездок.
Рисунок 1.3 -Электронный датчик
Рисунок 1.4- ВИКС-ЦЭ
Рисунок 1.6- Стойка аппаратуры ИВК и рабочее
место оператора
Рисунок 1.7-Цифровые линейные телекамеры
стереотелевизионной системы
ИВК показанный на рисунке 1.5, 1.6 обеспечивает:
бесконтактное измерение высоты КП в диапазоне от
5500 до 6900 мм с погрешностью не более ±10 мм;
бесконтактное измерение положения КП (зигзаг и
вынос) в плане при 1…4 проводах в диапазоне ±700 мм с
погрешностью не более ±5 мм;
контроль понижения КП на воздушных стрелках,
положение по высоте фиксаторов и отходящих анкеровочных ветвей относительно
основного КП;
измерение усилия нажатия токоприемника на КП в
диапазоне 0…400 Н с погрешностью не более ±10 Н;
регистрацию ударов по токоприемнику в диапазоне
ускорений 0…50 g с погрешностью не более ±0,5 g;
регистрацию отрывов токоприемника от КП по
мгновенному падению измеряемого напряжения контактной сети на время не менее 30
мс;
измерение пройденного вагоном-лабораторией
расстояния;
автоматическую отметку опор;
автоматическую отметку ключевых (реперных) опор;
измерение наклона кузова вагона относительно
букс колесных пар;
измерение скорости движения вагона-лаборатории в
диапазоне 1…200 км/ч с приведенной погрешностью не более ±1%;
измерение радиуса кривизны пути;
измерение напряжения в контактной сети в
диапазоне 2,7…4,0 кВ постоянного тока с погрешностью не более ±10
В и в диапазоне 21…29 кВ переменного тока частотой 50 Гц с погрешностью не
более ±100
В;
измерение температуры наружного воздуха в
диапазоне - 50… + 50 0С с погрешностью не более ±1 0С;
отображение результатов измерений на экран
дисплея персональной ЭВМ рабочего места оператора ВИКС в графическом виде в
реальном масштабе времени;
запись результатов измерений на жесткий диск
персональной ЭВМ и накопитель информации на магнитном диске большой емкости
типа ZIP с формированием архива измеренных параметров контактной сети;
диалог оператора с ЭВМ без прерывания процессов
приема, обработки, отображения и архивации результатов измерений;
привязку результатов измерений к показаниям
датчика скорости и пройденного пути, точкам фиксации контактного провода;
автоматизированное самодиагностирование
неисправностей ИВК;
фиксацию отклонений измеряемых параметров
контактной сети с ведением протокола;
ввод визуальных показателей (несоответствие
положения фиксатора, несоответствие расстояния грузов компенсатора от земли до
ролика температуре воздуха, обрыв жил проводов, разбитый изолятор, наклон
опоры, отсутствие заземления опоры, отсутствие нумерации опор, обрыв струнки и
т. п.);
расчет "балльной оценки" состояния
контролируемого участка контактной сети на основе результатов измерений и
визуальных наблюдений;
телевизионное наблюдение за контактной сетью с
выводом измеряемых показателей на экран телевизора и записью на
видеомагнитофон.
Бесконтактные измерения высоты подвески и
положения в плане КП осуществляется с помощью стереотелевизионной системы,
использующей три цифровые линейные телекамеры показанные на рисунке 1.7 с
электронными диафрагмами и встроенными сигнальными микропроцессорами.
Телекамеры защищены от воздействий внешней среды вращающимися иллюминаторами, а
в нерабочем положении - геометрической заслонкой с гидроприводом внутри вагона.
Измерения параметров обеспечивается при любой погоде.
На рисунке 1.8 приведен (передний план, в
центре) электромеханический (на базе вращающегося трансформатора) датчик высоты
контактного провода, используется под искусственными сооружениями и как
резервный.
Рисунок 1.8-Электромеханический датчик высоты
контактного провода
Измерения силы нажатия токоприёмника на
контактный провод обеспечивается оптоволоконными датчиками нажатия,
использующие тензочувствительные оптические элементы, рисунок 1.9, датчики,
размещённые под каретками. По своему принципу действия датчики нажатия
обеспечивают оптическую высоковольтную развязку аппаратуры внутри вагона от
контактного провода. В результате модификации датчиков радикально уменьшена их
масса и аэродинамическое сопротивление, что повысило точность измерений
нажатия.
Измерения вертикальных ускорений для учёта массы
полоза токоприёмника при измерениях нажатия (два акселерометра по краям полоза)
и продольных ускорений в горизонтальной плоскости для регистрации ударов и
подбоев (один акселерометр в середине полоза) как показано на рисунке 1.10.
Измерения напряжения на контактном проводе
осуществляются первичным измерительным преобразователем-универсальным
резисторным компенсированным делителем напряжения как показано на рисунке 1.9 -
передний план, справа.
Рисунок 1.9- Измерительный преобразователь
(передний план, справа)
Рисунок 1.10- Смотровая вышка
Средства измерений скорости движения вагона (в
пределах 0-200 км/ч) и пройденного им пути в пределах - устройство с датчиками
ЭДС Холла, устанавливаемое на буксе колёсной пары.
Средства измерений перемещений кузова вагона
относительно уровня головки рельса - датчики с вращающимися трансформаторами с
тросовыми приводами и встроенными аналого-цифровыми преобразователями (АЦП).
Измерения возвышения головки наружного рельса в
пределах используются устройства на основе электромеханических гироскопов или
прибор аналогичного назначения на основе лазерного гироскопа.
Средство измерений радиуса кривизны пути -
датчик угла поворота тележки на основе вращающегося трансформатора.
Измерения температуры окружающей среды
осуществляются термометром сопротивления.
В ВИКС предусмотрено оснащение тепловизионной
установкой для контроля нагрева дефектных контактных соединений во время
объезда, ведутся научные разработки по автоматизации этого процесса, а так же
применение других методов для диагностирования подвесной и фиксаторной
изоляции.
Для обеспечения работы оборудования
электроснабжение вагона может осуществляться: от подвагонного генератора в
движении, от аккумуляторной батареи через инверторы, от дизель-генератора, от
распределительного устройства 0,4 кВ через кабель во время стоянки.
В вагоне-лаборатории имеются смотровая вышка,
рисунок 1.10, купе для отдыха персонала, кухня, рисунок 1.11, столовая, рисунок
1.12, туалет с душем.
Рисунок 1.11- Кухня
Рисунок 1.12- Столовая
1.4 Балльная оценка состояния контактной сети
Балльная оценка состояния контактной сети
является комплексным показателем, отражающим техническое состояние контактной
сети.
Балльная оценка состояния контактной сети
определяется на основании инспекционных объездов электрифицированного участка
вагоном-лабораторией по следующим группам показателей: регистрируемым
(измеряемым), визуальным (при осмотре во время объезда) и учитываемым (по
наличию повторных отступлений от нормативных регистрируемых параметров и
случаев повреждений и браков в работе за прошедший период) [2].
За каждое отклонение показателя от нормативного
значения начисляются штрафные баллы по утвержденной методике и выводится
средний штрафной балл путем деления суммы штрафных баллов на количество
проверенных километров. В зависимости от среднего балла устанавливается оценка
состояния контактной сети по ЭЧК, ЭЧ и службы Э в целом: до 50 - отлично, от 50
до 100 - хорошо, от 100 до 150 - удовлетворительно, более 150 -
неудовлетворительно. Инспекционные объезды проводятся ежеквартально, объезд с
повышенным нажатием - ежегодно, контрольные объезды назначаются по указанию
руководства ЦЭ и Э. В объезде принимают участие кроме персонала
вагон-лаборатории, начальник дистанции электроснабжения или его заместитель,
инженер дистанции электроснабжения, начальники или старшие электромеханики
районов контактной сети. Бальная оценка показана в таблицах 1.2 - 1.4
Таблица 1.2- Штрафные баллы (регистрируемые
показатели)
|
Нормируемый
показатель
|
Значение
|
Ш.
балл
|
|
Отклонение
от нормируемого в ПУТЭКС зигзага КП в точках фиксации и в точках наибольшего
отклонения на стрелках и сопряжениях, мм
|
160-200
>200
|
50
100
|
|
Зигзаг
контактного провода, абсолютное значение, мм
|
>500
|
400
|
|
Вынос
контактного провода, абсолютное значение, мм
|
>450
|
400
|
|
Ненагруженный
фиксатор на прямом участке пути
|
наличие
|
50
|
|
Абсолютное
значение разности величины зигзага при одностороннем зигзаге на прямом
участке пути у смежных опор, мм
|
менее
150
|
50
|
|
Превышение
уклона контактного провода, указанного ПУТЭКС, %
|
0-25
>25
|
50
150
|
|
Отклонение
высоты контактного провода в любой точке пролёта от нормируемого ПУТЭКС, мм
|
0-50
>50
|
100
200
|
|
Высота
контактного провода над УРГ менее 6000 мм на переезде
|
пролёт
|
400
|
|
Абсолютное
значение стрелы провеса контактного провода, штрафуется однократно на
пролёте, мм
|
150-250
>250
|
100
150
|
|
Отклонение
от высоты контактного провода на воздушных стрелках главного и бокового пути
в зоне подхвата по главному пути, мм
|
(40-80)
> 80
|
100
200
|
|
Удар
по полозу токоприёмника или отрыв токоприёмника
|
Регистрация
|
100
|
Таблица 1.3- Штрафные баллы (визуальные
показатели)
|
Нормируемый
показатель
|
Значение
|
Ш.
балл
|
|
Наличие
зажимов в зоне подхвата воздушной стрелки
|
Стрелка
|
150
|
|
Несоответствие
расстояния грузов компенсаторов от земли до ролика температуре воздуха
|
Грузы
|
100
|
|
Наличие
оборванных жил в многожильных тросах компенсации и анкеровки
|
Обрыв
|
200
|
|
Разбитый
изолятор
|
Изолятор
|
50
|
|
Наклон
опоры контактной сети, не соответствующих нормативу
|
Опора
|
50
|
|
Отсутствие
заземления опоры
|
Заземление
|
50
|
|
Регулировка
и отсутствие разрядника
|
Разрядник
|
50
|
|
Отсутствие
или неудовлетворённое состояние нумерации опор
|
Перегон
|
100
|
|
Отсутствие
специальных указателей и отличительной окраски опор на изолирующем воздушном
и нейтральной вставке
|
Сопряжение
|
200
|
|
Провисание
ветви средней анкеровки ниже уровня КП
|
Анкеровка
|
400
|
|
Оборванная
струна
|
Струна
|
20
|
|
Не
соответствие требованиям или отсутствие электрического соединителя на
сопряжении воздушной стрелке
|
Пролёт
|
50
|
|
Приближение
проводов контактной сети к заземлённым частям менее 300 мм
|
Приближение
|
150
|
|
Несоответствие
техническим нормам стыковки несущего троса, усиливающего, питающего провода
|
Стыковка
|
150
|
|
Наличие
птичьих гнёзд
|
Гнёзда
|
50
|
|
Наличие
нагретого узла (элемента) контактной сети
|
Нагрев
|
*
|
Таблица 1.4 - Штрафные баллы (учитываемые
показатели)
|
Нормируемый
показатель
|
Значение
|
Ш.
балл
|
|
Падение
опоры или жёсткой поперечины контактной сети
|
Падение
|
800
|
|
Случай
брака в работе эксплуатационного персонала ЭЧ, приведший к задержке поездов,
кроме учтенного в п. 3.1
|
Брак
|
600
|
|
Повреждения
контактной сети по вине персонала ЭЧ, приведшие к задержке поездов, кроме
учтённого в п. 3.1
|
Повреждение
|
200
|
Структура построения балльной оценки такова, что
отклонение параметров, влияющие на безопасность движения поездов и на
экономические показатели процесса взаимодействия контактной сети и
токоприемников оценивается предупредительными баллами (от 10 до 200 баллов),
отклонения от нормируемых показателей, угрожающее безопасности движения поездов
и надежности процесса токосъема токоприемников, оцениваются 400 баллами.
При повторении отклонений, ранее оцененных 400
баллами, в одном и том же месте количество баллов увеличивается в 5 раз. При
наличии трех и более таких повторений ЭЧК выставляется оценка
неудовлетворительно. По остальным отклонениям количество баллов удваивается.
2. Опоры контактной сети
.1 Опоры контактной сети как объект
диагностирования
Основным видом опор контактной сети являются
железобетонные (95%), процесс совершенствования которых привел к эксплуатации
большого количества различных типов опор, конструктивные особенности которых
влияют на их техническое обслуживание и срок службы.
.1.1 Основные типы опор
ЖБК (1957) - опора из ненапряженного бетона
имеет большой запас несущей способности (арматура в виде 12-16 стальных
стержней диаметром 10-14 мм). (рис. 2.1) Несмотря на недостатки
(самопроизвольное поперечное растрескивание и др.), в целом, этот тип оказался
наиболее удачным, имеет большой запас несущей способности. Крепление консоли на
хомутах - удачное с точки зрения изоляции арматуры от цепей заземления.
СЖБК (1957) - из предварительно напряженного
бетона с арматурным каркасом в виде пакета петель из высокопрочной проволоки,
рисунок .2.2. Крепление консоли на хомутах.
СК (1966), СКУ (1970) - опоры с предварительно
напрягаемой арматурной проволокой, рисунок 2.2, с отверстиями для закладных
деталей, для изоляции которых используются резиновые трубки, СКЦ (1976) -
наличие 8 вентиляционных отверстий и изоляция из полиэтилена. Для дорог
переменного тока внутрь опоры укладывался заземляющий проводник, что приводит к
снижению сопротивления опоры менее 100 Ом.
С 1983 г. введен в действие ГОСТ 19330-83
"Стойки железобетонные для опор контактной сети железных дорог", в
соответствии которому термин опора включает в себя конструкцию в целом (с
закладными деталями, консолью и т. д.), само же железобетонное изделие
называется стойка.
Рисунок 2.1- Арматура опоры ЖБК
Рисунок 2.2- Арматура опор СЖБК, СК, СКУ, СКЦ, С
Стойки выпускались следующих типов:
С - с проволочной напрягаемой арматурой (4-5
мм).
СО - с проволочной напрягаемой арматурой и с
ненапрягаемой стержневой в фундаментной части.
В дальнейшем добавили
СС - с проволочной напрягаемой арматурой и с
ненапрягаемой стержневой по всей длине (12-14 мм).
Имеют в отверстиях стенок изолирующие элементы,
имеют выводы диагностического провода, а так же одой арматурной проволоки для
измерения сопротивления, которое должно быть не менее 10 кОм.
ГОСТ устанавливает требования к применяемым
материалам и комплектующим, порядок и правила приемочных испытаний и т. д.
Требования ГОСТа к номинальной толщине защитного
слоя во всех типах стоек - 23±5 мм. Во всех случаях для
предотвращения коррозии арматуры - не менее 15 мм.
В 1999 г. вышла новая редакция ГОСТа [3]:
Стойки выпускаются типов:
СС - устанавливаемые в фундаменты стаканного
типа или закапываемые непосредственно в грунт (нераздельные).
ССА - с болтовым креплением к фундаменту
(раздельные).
СП - с рабочей стержневой напрягаемой арматурой.
СТ - с рабочей стержневой напрягаемой арматурой
и уменьшенной коничностью.
В стойках СС для использования на участках
контактной сети постоянного тока изготавливается с диагностическим проводником
- металлическим стержнем в нижней части в зоне вентиляционных отверстий.
На стойках длиной 13600 и 15600 мм должен быть
установлен репер (металлический стержень, выступающий за внешнюю поверхность
стойки, обозначающий положение условного обреза фундамента). Допускается
совмещение репера и диагностического проводника.
На все стойки наносятся риски - центр тяжести.
Стойки поставляются с установленными деталями
для крепления консолей и кронштейнов:
для участков постоянного тока - с несъемными
изолирующими втулками, а также, со съемными втулками-прокладками и закладными
болтами, установленными в отверстия при изготовлении стоек;
для переменного тока - со съемными
втулками-прокладками и закладными болтами.
.1.2 Факторы, влияющие на надежность опор
Срок службы железобетонной конструкции зависит
от толщины бетона до арматуры.
Бетон защищает сталь щелочной средой рН>11.
Бетон по своей структуре пористый материал, и
может активно впитывать влагу и воздух из окружающей среды и его защитные
свойства нельзя уподобить действию обычных покрытий, механически изолирующие
металл от внешней среды (как, например, защитное покрытие металлических опор).
Защитное свойство бетона обуславливаются способностью поддерживать высокую
щелочность впитанной влаги, которая обеспечивает пассивность поверхности
металла, и в первую очередь приарматурного слоя, на которой образуется защитная
пленка гидрооксида железа. Все известные коррозийные повреждения арматуры в
железобетоне, так или иначе связаны с разрушением этой пленки. Особенно опасны
кислые почвы с рН=3-6 (гумусовые и болотистые), а так же почвы, имеющие
активаторы (которые не меняют рН, но разрушают защитную пленку - хлориды) [4].
Вместе с тем существует ряд факторов, агрессивно
воздействующие на железобетон:
) Природные воды, которые вымывают из бетона его
составляющие, в первую очередь гидрооксид кальция.
) Углекислота, содержащаяся в природных водах,
присутствующая в почвах, воздухе. СО2+Са(ОН)2 = СаСО3+Н2О
- химическая реакция, образуется карбонат кальция, наблюдаемый на поверхности
бетона в виде белых пятен и натеков.
) Циклическое замерзание и оттаивание содержащейся
в капиллярах и порах бетона влаги вызывает постепенное разрушение структуры
бетона.
) Действие тока (электрокоррозия) - на участках
постоянного тока тяговый ток стекает через заземление и опоры в землю в анодных
и знакопеременных зонах - процесс гидролиза с вымыванием ионов железа из
арматуры. На участках переменного тока опасность электрокоррозии в 100 раз
ниже.
) Действие механических эксплуатационных
нагрузок.
) Механические повреждения вследствие наездов
путевой техники, ударов и т. д.
Таким образом, комплекс погодно-климатических и
эксплуатационных факторов приводит к потере прочности железобетона. Такие
процессы развиваются во всех опорах с той или иной степенью интенсивности,
наиболее быстро в бетоне опор с низким качеством изготовления и прежде всего с
несоблюдением толщины стенки.
Наблюдения за состоянием опор и данные научных
исследований показывают изменения несущей способности во времени, рисунок 2.3.
На первом этапе накопление микротрещин происходит достаточно медленно. Его
продолжительность зависит от условий эксплуатации и качества изготовления.
На втором этапе несущая способность начинает
резко снижаться вследствие прогрессирующего лавинного накопления в бетоне
микроповреждений. Применение средств диагностирования улучшает ситуацию, но
полностью вопрос не решает.
Исходя из вышеизложенного, становится очевидна
необходимость технического контроля (диагностирования) опор в процессе
эксплуатации.
Первые попытки такого рода работ проводились в
1984-85 гг. Пробовали два метода:
) отрыва со скалыванием (трудоемкий,
повреждающий конструкцию);
) отскока (принцип связи прочности с упругими
качествами бетона, определяет прочность поверхности опор без трещин).
В Указаниях (К-146-2002) для диагностирования
опор определен наиболее перспективный ультразвуковой метод [5]. Преимущества
этого метода следующие:
) Контроль прочности по всему объему бетона.
) Возможность контроля в любой точки
конструкции.
) Простота и производительность.
) Наличие портативного прибора.
2.2 Входной контроль железобетонных опор
На Красноярской ж.д. разработаны методические
указания [6], согласно которым все стойки должны проходить приемочный контроль,
который должен осуществляться работниками дистанций электроснабжения. Цель
контроля - проверка качества изготовления и соответствия их требованием ГОСТа.
Контроль включает в себя следующие этапы:
1) Проверка документации. На поставляемую
партию стоек должен быть паспорт, в котором дополнительно указывается марка
бетона по морозостойкости и водонепроницаемости, класс и диаметр проволочной
или стержневой арматуры, виды материалов для антикоррозийных покрытий, а также
ограничения по области применения стоек. По требованию заказчика
предприятие-изготовитель обязано сообщить результаты лабораторных испытаний.
2) Проверка маркировочных надписей и рисок
Маркировка стоек должна включать: тип стойки,
наименование завода-изготовителя, заводской номер и дату изготовления. На
поверхности стойки должна быть нанесена риска "Ц.Т." - центра
тяжести.
3) Проверка наличия предусмотренных проектом
закладных деталей, диагностического провода и репера. Концевая часть
диагностического проводника не должна выступать за поверхность опоры более чем
на 10 мм, выступающие части диагностического проводника и репера должны быть
окрашены или оцинкованы.
) Проверка гидроизоляционных и
антикоррозийных покрытий
Торцы нераздельных стоек должны быть заделаны
бетонными заглушками. Для контроля качества внутренней поверхности стоек в
нижних заглушках рекомендуется устройство отверстий диаметром до 100 мм. Нижние
торцы раздельных стоек, предназначенных для установки в фундаменты стаканного
типа, должны быть оштукатурены слоем цементного раствора, толщина которого
должна превышать длину выступающих арматурных стержней или проволок не менее
чем на 10 мм. Допускается при условии обрезки арматуры заподлицо с торцевой
поверхностью гидроизоляция на предварительно выровненную цементным раствором
поверхность. Наружная поверхность фундаментной части стоек типа СС длиной 13.6
и 15.6 м на протяжении 4 м должно быть нанесено гидроизоляционное покрытие.
Металлические башмаки стоек типа ССА должны быть защищены от коррозии. Стойки,
предназначенные для эксплуатации в агрессивной среде, должны иметь
антикоррозийную защиту по всей поверхности воздействий. Виды покрытий должны
соответствовать указанным в рабочих чертежах или заказе на их изготовление.
5) Проверка наружной поверхности
Отсутствие жировых и ржавых пятен, подтеков. На
наружной поверхности стоек, за исключением места стыка полуформ, не
допускаются:
·
раковины
диаметром более 6 мм глубиной более 3 мм;
·
более
одной раковины на 2 м длины стойки;
·
местные
наплывы (впадины) высотой (глубиной) более 3 мм;
·
сколы
бетона глубиной более 3 мм и диной более 50 мм на 1 м длины;
На наружной поверхности стоек в месте стыка
полуформ, не допускаются:
·
раковины
и щели;
·
местные
наплывы (впадины) высотой (глубиной) более 3 мм и шириной более 2 мм;
·
уступы
(по стыку полуформ в зоне установки изолирующих элементов) высотой более 3 мм.
В бетоне стоек не допускается трещины, за
исключением поверхностных усадочных с шириной раскрытия не более 0,1 мм. Длина
поверхности усадочных трещин должна быть не более 50 мм, а их число - не более
пяти на 1 м длины стойки.
6) Проверка внутренней поверхности (выборочно)
Обвалы бетона или арматуры не допускается.
7) Проверка геометрических размеров (выборочно)
Отклонения действительных значений
геометрических параметров стоек от номинальных не должны превышать предельных:
длина ±
20 мм, наружный диаметр ± 5 мм, диаметр отверстия ±
2 мм, расстояние между центрами отверстий ± 2 мм, размер,
определяющий положение отверстия ± 5 мм, толщина
стенки +30 - 5.
8) Проверка толщины наружного защитного слоя
Осуществляется неразрушающими методами (приборы
ИЗС-10Н, ИПК-1 и т. п.) на контролируемых участках, числом не менее 9
(расположение их должно быть указано в рабочих чертежах). Отклонение не должно
превышать ± 5 мм по всей поверхности стойки и при этом
толщина наружного защитного наружного слоя бетона должна быть не менее 16 мм.
9) Проверка толщины внутреннего защитного слоя
(выборочно)
Осуществляется путем линейных измерений на
каждом торце стоек в четырех точках (по концам взаимно перпендикулярных
диаметров), за среднее отклонение принимается среднеарифметическое результатов
этих четырех замеров. Отклонение от номинальной в сторону уменьшения не должно
превышать: местное - 10 мм, среднее - 5 мм, при этом толщина внутреннего
защитного наружного слоя бетона должна быть не менее 20 мм.
10) Проверка сопротивления изолирующих
элементов
Электрическое сопротивление между арматурой
стоек (диагностическим проводником) и деталями для крепления консолей и
кронштейнов измеряется мегаомметром на 500 В и должно быть не менее 10 000 Ом
(при сухой поверхности бетона, изолирующих элементов и деталей).
11) Проверка прочности бетона
Осуществляется неразрушающим контролем
ультразвуковым методом (допускается применение других стандартизованных
методов) прибором УК1401 путем поверхностного прозвучивания стоек по линии,
перпендикулярной направлению рабочей арматуры. Более подробное применение
ультразвукового метода описано ниже.
Таблица 2.1 - Результаты проверки прочности
бетона
|
Нормативный
изгибающий момент, кНм (тсм)
|
Нормируемая
прочность бетона на сжатие, МПа (кгс/см2)
|
Время
распространения ультразвука в бетоне не более, мкс
|
|
49
(5.0), 59 (6.0), 66 (6.7)
|
27,5
(280)
|
36
|
|
79
(8.0), 88 (9.0)
|
35,3
(360)
|
36
|
|
98
(10.0), 111 (11,3)
|
37,7
(385)
|
35
|
Диагностирование железобетонных опор
ультразвуковым методом
Диагностирование опор проводится с целью
выявления скрытых дефектов и определения несущей способности железобетонных
опор.
Диагностирование проводят прибором UK1401
- ультразвуковым тестером, предназначенным для измерения времени и скорости
распространения продольных ультразвуковых волн при поверхностном прозвучивании
который показан на рисунке 2.4
Рисунок 2.4 - Прибор UK1401
Рисунок 2.5- Прибор ИЗС-10Н

Диагностирование проводится сухую погоду при
относительной влажности не более 90% и температуре воздуха не ниже +5 О С,
после периода дождей не ранее, чем через 2 - 3 дня.
Диагностирование надземной части железобетонных
опор с оценкой несущей способности проводится:
раздельных опор с усиленной изоляцией и
повышенной надежностью (типа СС, СП, СТ, ССА) - по состоянию, но не позднее 12
лет после ввода в эксплуатацию, далее - по результатам обследования;
остальных опор - 1 раз в 6 лет.
Диагностирование проводится в следующем порядке:
Уточняется по Книге металлических и
железобетонных опор (ЭУ-87) тип, нормативная несущая способность, назначение,
срок службы (год установки), данные последних осмотров и предыдущего
диагностирования. При отсутствии данных тип опоры определяется с использованием
прибора ИЗС-10Н, рисунок 2.5; установить указатель диаметров арматуры на
"4", перемещая преобразователь по окружности, следить за показаниями
прибора, рисунок 2.6; если показания прибора меняются от 3-4 мм до 10-15 мм -
то опора типа ЖБК, СС, СП, СТ, если показания около 15-18 мм, то опора типа
СЖБК, СК, СКУ, С (предварительно напряженная).
Определяется места и порядок прозвучивания. У
опор типа СЖБК измерения проводят на высоте 1,2-1,5 м от поверхности земли и
0,5-0,7 м ниже крепления пяты консоли (в этом случае категория работ по
электробезопасности - вблизи от частей, находящихся под напряжением, с подъемом
на высоту, работа выполняется по наряду). Для других типов - только в нижней
части со стороны пути. При наличии на поверхности опоры зон с сеткой мелких
трещин измерения должны проводится дополнительно в этих зонах. При наличии
продольных трещин прибор устанавливают так, чтобы трещины находились вне базы
измерений, в зонах мелких трещин прибор устанавливают так, чтобы в базу
измерений попало наибольшее их количество. Прибор настраивается на измерение
времени прохождения сигнала в мкс., последовательно прикладывая к поверхности
опоры (рис. 2.7) и отнимая от нее, добиться устойчивых показаний (отличающихся
не более чем на 5% на расстоянии до 100 мм), зафиксировать по три показания
времени распространения ультразвука при положении прибора поперек опоры и вдоль
ее. Среднее значение результатов измерений занести в карту измерения (карточку
дефектной опоры), указав место замеров. Неустойчивые показания прибора
характеризуют дефектность структуры бетона, и является дополнительным признаком
снижения прочности опоры.
Обработка результатов и оценка состояния опоры:
По каждому месту измерений определить среднее из трех замеров и показатели
прочности бетона П1 - время распространения ультразвука в поперечном
направлении:
П1 = tпопер
и П2 - отношение П1 к времени распространения
ультразвука в продольном направлении (среднее из трех замеров):
П2 =П1 / tпрод
Физически показатель П2 характеризует степень насыщения
бетона микроповреждениями и является основным при оценке состояния опор.
По указанным показателям оценивается несущая
способность опоры и определяется условия ее дальнейшей эксплуатации:
Таблица 2.2 - Результаты оценки несущей
способности опоры
|
Состояние опоры
|
Показатели
прочности
|
Условия эксплуатации
|
|
для
ЖБК, СС, СП, СТ
|
для
СЖБК, СК, СКУ, С
|
|
|
Нормальная
|
П1£48 П2£1,2
|
П1£36 П2£1,1
|
без
ограничений
|
|
Дефектная
|
48<П1£72 1,2<П2£1,6
|
36<П1£48 1,1<П2£1,4
|
ставятся
на контроль и в план на замену
|
|
Остро-дефектная
|
П1>72 П2>1,6
|
П1>48 П2>1,4
|
срочная
замена
|
Результаты оформляются актом (протоколом) и
заносятся в книгу опор ЭУ-87, на дефектные опоры оформляют карточки (см.
Приложение 2). При диагностировании подземной части с откопкой ставят на
оттяжки откапывают на 1м и выдерживают 4-5 дней, затем проводят измерения по
той же методике.
.3 Обследование металлических конструкций
К металлическим опорным конструкциям контактной
сети относятся опоры и ригели жестких поперечин. Они представляют собой
решетчатые пространственные фермы, у которых элементы решетки (раскосы, стойки,
связи) приварены непосредственно к поясам без косынок. Они способны
воспринимать расчетную нагрузку в том случае, если элементы их будут
прямолинейными, не появятся трещины и надрезы в них, не будет опасных
коррозионных разрушений.
Для металлических опор основной метод
определения технического состояния - визуальный. Оценку состояния конструкций
следует проводить на основе анализа результатов визуальных осмотров, данных по
агрессивности среды, измерения степени износа элементов и прогибов их, а в
отдельных случаях и металлографических исследований. Последние следует
выполнять тогда, когда возникает сомнение в правильности применения марки стали
для изготовления конструкций. Основанием для этого должны являться хрупкие
разрушения отдельных элементов, большие местные коррозионные повреждения, в
особенности коррозионное растрескивание, межкристаллитная коррозия, сквозная
коррозия при малом среднем уменьшении толщины уголков, накладок и косынок, наличие
трещин в конструктивных элементах. Для проведения металлографических
исследований должны привлекаться специализированные лаборатории [5].
Обследование с проверкой состояния и оценкой
несущей способности металлических опор, ригелей, консолей, кронштейнов, траверс
и других конструкций с обычным лакокрасочным покрытием должно проводится по
состоянию, но не реже чем 1 раз в 6 лет и 1 раза в 3 года в зонах с сильной
агрессивной средой. Для конструкций с усиленным антикоррозийным покрытием по
состоянию, но не позднее, чем через 12 лет после ввода в эксплуатацию и 6 лет в
зонах с сильной агрессивной средой, далее по результатам обследования.
Обследование также должно выполняться после каждой аварии или наезда на них
подвижных средств, смещения грунта, камнепадов и других аналогичных
воздействий.
При визуальном осмотре необходимо проверять:
общее состояние защитного покрытия;
наличие местных разрушений защитного покрытия;
общее коррозионное состояние конструкции;
наличие трещин в основных конструктивных элементах
( поясах, раскосах, связях , косынках , накладках , фланцах и др.);
состояние соединений элементов конструкций;
наличие прогибов, погнутостей, искривлений.
Осмотр состояния защитных покрытий должен
проводиться в сухую погоду при хорошей освещенности.
Признаками разрушения защитного покрытия следует
считать изменение цвета его, появление пузырей и вспучиваний , возникновение
сетки трещин, отслаивание и шелушение. О потере защитных свойств покрытия
свидетельствуют также бурые пятна на окрасочном слое. Особо тщательно
необходимо осматривать состояние защитных покрытий в местах с повышенной
агрессивностью среды. Для определения толщины полок конструктивных элементов,
подвергшихся коррозии, можно использовать индикаторные скобы, штангенциркули с
игольчатыми губками и другие аналогичные приборы.. Выявление трещин в элементах
конструкций и соединениях их является наиболее ответственным этапом
обследования. Признаками образования трещин могут служить разрушения слоя
краски и выступающие полосы ржавчины красно- бурого цвета. Вновь образованные
трещины могут быть очень тонкими. Для их обнаружения необходимо применять лупы
или микроскоп МПБ-2. В качестве дополнительного средства выявления трещин
следует применять простукивание. В зоне трещин металл при ударах издает глухой
звук. При обнаружении признаков, указывающих на наличие трещин, необходимо
снять с поверхности металла окрасочный слой и более внимательно осмотреть ее,
определяя с помощью МПБ-2 ширину, начало и конец трещины. При внешнем осмотре
состояния болтовых и заклепочных соединений должны проверяться целостность
болтов и заклепок, плотность соединения, отсутствие щелевой коррозии между
элементами. Целостность болтов и заклепок определяется по наличию трещин в них.
Признаком наличия поперечных трещин в стержневой части болтов и заклепок
является ослабление их. При внешнем осмотре ослабление обнаруживается по ржавым
подтекам из-под головок болтов и заклепок, а так же по трещинам в краске вокруг
головок. Ослабление болтов и заклепок может быть легко обнаружено при их
обстукивании. При обстукивании слабая головка издает дребезжащий звук.
Прямолинейность элементов конструкций следует проверять натяжением вдоль их
шнура или приложением линейки [7].
При приемке в эксплуатацию необходимо особое
внимание обращать на выполнение в полном объеме мероприятий по защите от
коррозии. Также должны передаваться паспорта на металлоконструкции, акты на
скрытые работы и другая документация. В случае отсутствия паспортов
металлоконструкции в эксплуатацию принимать не следует. Вновь устанавливаемые
конструкции должны иметь защитное покрытие, обеспечивающее защиту конструкции
от коррозии в течении 30 лет, не иметь дефектов и повреждений элементов.
Рисунок 2.7 - Измерение прибором UK1401
Конструкции, отнесенные по результатам
визуального осмотра, измерения коррозионного износа элементов, оценки других
повреждений, данных диагностики к дефектным и остродефектным, должны заменяться
или ремонтироваться. Ремонт или усиление металлических конструкций разрешается
производить при местных повреждениях элементов конструкции: погнутостях,
локальных коррозии, разрывов швов, болтов, заклепок. При значительных
повреждениях и невозможности замены усиление и ремонт конструкции должны
производиться на освоении данных обследований, испытаний и расчетов.
.4 Измерение сопротивления опор
Как известно, сопротивление железобетонной опоры
складывается из двух составляющих - сопротивления верхнего пояса
(поддерживающие конструкции - арматура) и сопротивления арматура-земля.
Практика обследований и расчеты фактически для любых грунтовых условий не
превышает 60 Ом, а в подавляющем большинстве случаев находится в пределах 10-30
Ом.
Сопротивление верхнего пояса зависит от того,
как реализуется электрический контакт между болтом закладной детали (хомутом) и
арматурой. Электрический ток может протекать через рассматриваемый узел в двух
случаях:
непосредственная (металлическая) связь между
болтом и арматурой,
электрический контакт осуществляется через слой
бетон и изолирующую втулку.
Для опор с хомутовым креплением конструкции ток
протекает в двух случаях:
непосредственное касание хомута с арматурой,
контакт через слой бетона.
Наиболее частая причина возникновение
металлического касания болта закладной конструкции с арматурой возникает в
случаях, когда при изготовлении опоры допущен выход даже небольшого участка
арматурной проволоки в отверстие под закладную деталь. Резиновая втулка со
временем продавливается или перетирается. Металлическое касание хомута - редкий
случай. Так или иначе при металлическом касании сопротивление в цепи тока
утечки полностью определяется сопротивлением арматура-грунт
Сопротивление заземления опор измеряется по
цепи: заземляемые металлические детали - заземляющий проводник - рельс - грунт
- защитный слой фундаментной части - арматура - защитный слой надземной части -
заземляемые детали.
Измерение сопротивления проводится в сухую
погоду:
после установки опоры и монтажа на них всех
поддерживающих устройств до перевода или монтажа контактной подвески (сопротивление
должно быть не менее 1,5 кОм - на участках переменного тока); запрещается
вводить в эксплуатацию новые опоры, имеющие сопротивления менее указанных;
не позднее одного года после ввода в
эксплуатацию;
на участках переменного тока - по необходимости,
и выборочно в местах с агрессивными грунтами по отношению к бетону - 1 раз в 9
лет.
Измерение следует проводить в следующем порядке:
проверить внешним осмотром целостность,
исправность и надежность присоединения к тяговому рельсу заземления опоры,
определить место присоединения шунта;
если заземление опоры совмещено с рабочим
заземлением КТП и т. п., работы по измерению сопротивления такой опоры ведется
со снятием напряжения с заземляемого оборудования;
до установки переносного шунта можно замерить
ток утечки с помощью токовых клещей;
установить в диэлектрических перчатках
переносной шунт с рубильником и ИП, после чего отсоединить заземление от опоры
или тягового рельса;
Рисунок 2.8- Прибор ПК-1М+ПОИСК
Рисунок 2.9- Приставка к прибору ПК-1М
(Рацпредложение ЭЧ-6 содержит шунт с искровым промежутком и калибровку по
сопротивлению)
Рисунок 2.10 - Двухэлектродная схема
Рисунок 2.11- Двухэлектродная схема
Наиболее предпочтительным прибором для измерения
сопротивления опор является ПК-1М, рисунок. 2.8, ПК-2, при применении М416,
МС-07(08), Ф4103 до подключения прибора необходимо оценить потенциал
рельс-земля (рельс-опора) в рассечку на ИП. Измерение вышеперечисленными
приборами проводится по двухэлектродной схеме, рисунок 2.9.
Если потенциал превышает 4-5 В, то ошибка в
измерении сопротивления может составить до 50%, а при большом потенциале можно
повредить цепи измерительного прибора (потенциал может достигать более сотни
вольт), в этом случае нужно использовать метод амперметра-вольтметра
Измерение методом амперметра-вольтметра ведется
по схеме (рис. 2.11). Измерения проводят при потенциале не менее 8-10 В.
Измерение входного сопротивления группового
заземления опор проводится аналогично.
По возможности необходимо определить причины
низкого сопротивления опоры и мероприятия по их устранению. В подавляющем
большинстве случаев причины следующие:
металлические опоры (изначально принимаются
низкоомными) - устанавливаются ИП;
опоры с отсутствием изоляции в анкерной оттяжке
- изолируется оттяжка;
опоры с заземляющим проводником, проложенным
внутри стенки опоры, - заземляются наружным проводником;
опоры жестких поперечин при плохой изоляции
ригеля от опоры - устанавливаются ИП.
Необходимость установки искровых промежутков
(ИП) в заземляющие спуски опор контактной сети определяется величиной
сопротивления опор для устранения влияния на рельсовые цепи СЦБ [8]. ИП должен
устанавливаться если сопротивление менее 100 Ом при подключении к рельсу
двухниточной рельсовой цепи и менее 5 Ом - при подключении к средней точке
дроссель-трансформатора. При групповом заземлении ИП должен устанавливаться
если сопротивление менее 6 Ом на 1 км при подключения к рельсу двухниточной
рельсовой цепи и менее 5 Ом при подключении к средней точке
дроссель-трансформатора. Но в любом случае, низкоомные (менее 100 Ом) опоры
должны быть исключены из группового заземления и заземлены через ИП. Поскольку
металлические опоры признаются низкоомными в их заземляющие спуски должны быть
установлены ИП независимо от результатов измерения.
По окончании измерений восстанавливается
заземление опоры. Результаты измерений оформляются актом (протоколом) и
заносятся в книгу опор (форма ЭУ-87).
Поиск низкоомных опор в групповом заземлении
При входном сопротивлении группового заземления
опор менее 100 Ом, необходимо найти и исключить из группового заземления (или
устранить причину, см. выше). Сначала необходимо осмотреть опоры: обращают
внимание на изоляцию оттяжек анкеров, касание троса группового заземления
верхнего вывода внутреннего заземляющего проводника и т. д. Исключая поочередно
"подозрительные" опоры из группового заземления, измерять входное
сопротивление группового заземления и (или) сопротивление опоры.
Найти низкоомные опоры и измерить их
сопротивление в группе можно методом градиента потенциала и (или) индукционным
методом с помощью прибора ПОИСК-1 (рис.2.12)
.5 Анализ состояния опор контактной сети.
Общее количество опор на 2010 год 20299 шт, в
том числе: железобетонных 19795 шт, металлических 352 шт.
Жесткие поперечины 1134 шт.
Гибкие поперечины 169 шт.
Консоли 16951 шт.
Таблица 2.3 - Всего по службе электроснабжения
выполнено в 2010 году работ по диагностированию опор (в скобках результаты 2009
г):
|
Наименование
работ
|
Выполнено,
шт.
|
|
ЭЧ-1
|
ЭЧ-2
|
ЭЧ-3
|
ЭЧ-4
|
ЭЧ-5
|
ЭЧ-6
|
ЭЧ-7
|
Э
|
|
Диагностирование
состояния железобетонных опор UK1401
|
1639
(1729)
|
2566
(2230)
|
1980
(1671)
|
1700
(1987)
|
1383
(1350)
|
6629
(3930)
|
3020
(2150)
|
18917
(15067)
|
|
Выявлено
остродефектных
|
15
(17)
|
0
(0)
|
0
(3)
|
1
(0)
|
2
(1)
|
13
(9)
|
10
(7)
|
41
(30)
|
|
Измерение
сопротивления опор
|
1905
(1905)
|
1419
(168)
|
1650
(1671)
|
1697
(1987)
|
1861
(1842)
|
2023
(2000)
|
1000
(1080)
|
11555
(10653)
|
В 2010 г. Диагностировано 6629 железобетонные
опоры, что составляет от общего количества 24,6 %, т. е. объемы работ
обеспечивают с запасом заданную периодичность диагностирования 1 раз в 6 лет.
Кроме этого, выполнялись работы по проверке
исправности искровых промежутков, обследования металлических опор, жестких
поперечин, прожекторных мачт, измерения с поиском низкоомных опор в группах,
приборное уточнение типа арматуры опор прибором ИЗС-10Н.
На участке постоянного тока проведен комплекс
работ по обследованию подземной части железобетонных опор, обследование
фундаментов металлических опор на ст. Мариинск, в том числе с откопкой (60
шт.).
Рисунок 2.12- Прибор ПОИСК-1
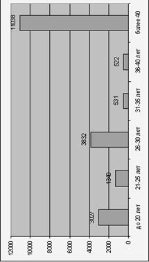
Таблица 2.4 - Состав парка железобетонных опор
|
|
Количество
опор по срокам эксплуатации, шт.
|
|
Тип
опор
|
Всего,шт.
|
до
20 лет
|
21-25
лет
|
26-30
лет
|
31-35
лет
|
36-40
лет
|
более
40
|
|
ЖБК
|
1195
|
-
|
-
|
-
|
31
|
31
|
1134
|
|
СЖБК
|
16
|
|
|
|
|
|
16
|
|
СКЦ
|
236
|
-
|
-
|
-
|
-
|
-
|
236
|
|
СК,
СКУ
|
14327
|
-
|
-
|
3832
|
421
|
421
|
9653
|
|
С
|
1349
|
-
|
1349
|
-
|
-
|
-
|
-
|
|
СД
|
149
|
-
|
-
|
-
|
79
|
70
|
-
|
|
СС
|
3027
|
3027
|
-
|
-
|
-
|
-
|
-
|
|
Итого
|
20299
|
3027
|
1349
|
3832
|
531
|
522
|
11038
|
Таблица 2.5 - Дефектные железобетонные опоры
(всего):
|
Тип
|
Всего,
|
Количество
опор по срокам эксплуатации, шт.
|
|
опор
|
шт.
|
до
20 лет
|
21-25
лет
|
26-30
лет
|
31-35
лет
|
36-40
лет
|
более
40
|
|
ЖБК
|
90
|
-
|
-
|
-
|
-
|
-
|
90
|
|
СКЦ
|
292
|
-
|
-
|
-
|
-
|
-
|
292
|
|
СК,
СКУ
|
1100
|
-
|
-
|
13
|
20
|
36
|
1031
|
|
С
|
2
|
-
|
2
|
-
|
-
|
-
|
-
|
|
СД
|
102
|
-
|
-
|
-
|
50
|
52
|
-
|
|
СС
|
7
|
7
|
-
|
-
|
-
|
-
|
-
|
|
Итого
|
1593
|
7
|
2
|
13
|
70
|
88
|
1413
|
Таблица 2.6 - Дефектные железобетонные опоры без
снижения несущей способности
|
Тип
|
Всего,
|
Количество
опор по срокам эксплуатации, шт.
|
|
опор
|
шт.
|
до
20 лет
|
21-25
лет
|
26-30
лет
|
31-35
лет
|
36-40
лет
|
более
40
|
|
ЖБК
|
54
|
-
|
-
|
-
|
-
|
-
|
54
|
|
СКЦ
|
159
|
-
|
-
|
-
|
-
|
-
|
159
|
|
СК,
СКУ
|
797
|
-
|
-
|
7
|
15
|
21
|
754
|
|
С
|
-
|
-
|
-
|
-
|
-
|
-
|
-
|
|
СД
|
102
|
-
|
-
|
-
|
50
|
52
|
-
|
|
СС
|
4
|
4
|
-
|
-
|
-
|
-
|
-
|
|
Итого
|
1116
|
4
|
|
7
|
65
|
73
|
967
|
.6 Анализ результатов диагностирования опор
Таблица 2.7 - Дефектные железобетонные опоры с
незначительным снижением несущей способности
|
Тип
|
Всего,
|
Количество
опор по срокам эксплуатации, шт.
|
|
опор
|
шт.
|
21-25
лет
|
26-30
лет
|
31-35
лет
|
36-40
лет
|
более
40
|
|
ЖБК
|
31
|
-
|
-
|
-
|
-
|
-
|
31
|
|
СКЦ
|
120
|
-
|
-
|
-
|
-
|
-
|
120
|
|
СК,
СКУ
|
190
|
-
|
-
|
3
|
5
|
10
|
172
|
|
С
|
1
|
-
|
1
|
-
|
-
|
-
|
-
|
|
СД
|
-
|
-
|
-
|
-
|
-
|
-
|
-
|
|
СС
|
3
|
3
|
-
|
-
|
-
|
-
|
-
|
|
Итого
|
345
|
3
|
1
|
3
|
5
|
10
|
323
|
Таблица 2.8- Дефектные железобетонные опоры со
значительным снижением несущей способности
|
Тип
|
Всего,
|
Количество
опор по срокам эксплуатации, шт.
|
|
опор
|
шт.
|
до
20 лет
|
21-25
лет
|
26-30
лет
|
31-35
лет
|
36-40
лет
|
более
40
|
|
ЖБК
|
12
|
-
|
-
|
-
|
-
|
-
|
12
|
|
СКЦ
|
42
|
-
|
-
|
-
|
-
|
-
|
42
|
|
СК,
СКУ
|
50
|
-
|
-
|
2
|
-
|
-
|
48
|
|
С
|
1
|
-
|
1
|
-
|
-
|
-
|
-
|
|
СД
|
-
|
-
|
-
|
-
|
-
|
-
|
-
|
|
СС
|
-
|
-
|
-
|
-
|
-
|
-
|
-
|
|
Итого
|
105
|
-
|
1
|
2
|
-
|
-
|
102
|
Таблица 2.9- Дефектные железобетонные опоры с
предельным снижением несущей способности
|
опор
|
шт.
|
до
20 лет
|
21-25
лет
|
26-30
лет
|
31-35
лет
|
36-40
лет
|
более
40
|
|
ЖБК
|
2
|
-
|
-
|
-
|
-
|
-
|
2
|
|
СКЦ
|
4
|
-
|
-
|
-
|
-
|
-
|
4
|
|
СК,
СКУ
|
9
|
-
|
-
|
-
|
-
|
3
|
6
|
|
С
|
-
|
-
|
-
|
-
|
-
|
-
|
-
|
|
СД
|
-
|
-
|
-
|
-
|
-
|
-
|
-
|
|
СС
|
-
|
-
|
-
|
-
|
-
|
-
|
-
|
|
Итого
|
15
|
-
|
-
|
-
|
-
|
3
|
12
|
Количество низкоомных железобетонных опор с
индивидуальным заземлением 478 шт.
Количество низкоомных групповых заземлений 28
шт.
Количество опор с использованием внутреннего
заземляющего проводника 695 шт.
Количество анкерных опор без изоляции анкера
2596 шт.
Количество опор с недопустимым наклоном 60 шт.
Таблица 2.10- Состав парка металлических опор
|
Сроки
службы, лет
|
Всего,
шт.
|
Остродефектных,
шт.
|
Дефектных,
шт.
|
|
до
30
|
нет
|
нет
|
нет
|
|
31-40
|
26
|
нет
|
нет
|
|
более
40
|
328
|
нет
|
12
|
|
Итого
|
354
|
нет
|
12
|
,7 % (11038 шт.) железобетонных опор выработали
назначенный срок службы 40 лет. При этом основные применяемые типы
железобетонных опор (81 %) - с предварительно - натяженной струновой арматурой
(СЖБК, СК, СКУ, СКЦ, С), опасные с точки зрения скорости потери несущей
способности при наличии дефектов, рисунки 2.12-13.
В 2011 г. нуждаются в первоочередной замене 279
(3,2 % дефектных опор) железобетонных опор, в плановой замене 851 опор (9,8 %).
Большая часть дефектных опор не имеет снижения несущей способности (63,3 %) или
незначительное ее снижение (22,3 %).
Наблюдается рост количества дефектных опор. При
этом, значительным снижением несущей способности остается на прежнем уровне
В условиях недостатка финансирования для полного
обновления контактной сети диагностирование опор приобретает особую важность в
установлении очередности замены, обеспечения безопасности движения.
2.7 Прогнозирование срока службы опор и
потребности в замене
Расчеты проводились по методике, представленной
в указаниях К-146-2002 [5]. На основании данных таблиц разбивки опор по типам и
возрасту, а также характеристики заменяемого парка опор (ni)
за контролируемый период t
между плановыми обследованиями. Результаты работ, характерные дефекты,
представлены в Приложении 3.
Таблица 2.11 Результаты данных таблиц разбивки
опор
|
Тип
опор
|
Всего
замена, шт.
|
Количество
замененных опор
|
|
До
20 лет
|
21-25
лет
|
26-30
лет
|
31-35
лет
|
36-40
лет
|
41-45 лет
|
46-50 лет
|
|
ЖБК
|
161
|
|
|
|
|
|
161
|
|
|
СЖБК,
С, СК, СКУ,
|
492
|
|
2
|
8
|
12
|
35
|
435
|
|
На основании данных определяется интенсивность
замены опор по каждой возрастной группе:
λ = ni
/(Ni
t),
где ni
- количество заменяемых опор в каждой возрастной группе;
Ni
- общее количество опор в возрастной группе;
t - контролируемый
период, принимаемый на участках переменного тока равным 6 годам.
Таблица 2.12 Результаты таблиц разбивки опор
|
Тип
опор
|
Всего
замена, шт.
|
Количество
замененных опор
|
|
До
20 лет
|
21-25
лет
|
26-30
лет
|
31-35
лет
|
36-40
лет
|
41-45 лет
|
46-50 лет
|
|
ЖБК
|
161
|
|
|
|
|
|
161
|
|
|
СЖБК,
С, СК, СКУ,
|
492
|
|
2
|
8
|
12
|
35
|
435
|
|
Таблица 2.13 Результаты таблиц разбивки опор
|
Тип
опор
|
Интенсивность
замены опор
|
|
До
20 лет
|
21-25
лет
|
26-30
лет
|
31-35
лет
|
36-40
лет
|
41-45
лет
|
46-50
лет
|
|
ЖБК
|
|
|
|
|
|
0,024
|
|
|
СЖБК,
С, СК, СКУ,
|
|
|
2,5
10-4
|
2,6
10-4
|
0,012
|
0,0075
|
|
Определяем средний срок службы опор по каждой
возрастной группе:
T=1/λi
Таблица 2.14 Средний срок службы опор
|
Тип
опор
|
Интенсивность
замены опор
|
|
До
20 лет
|
21-25
лет
|
26-30
лет
|
31-35
лет
|
36-40
лет
|
41-45
лет
|
46-50
лет
|
|
ЖБК
|
|
|
|
|
|
42,3
|
|
|
СЖБК,
С, СК, СКУ,
|
|
|
|
|
83,3
|
133,3
|
|
Средний срок службы опор
T=Σ(Tc
Ni)N,
где N
- общее число железобетонных опор.
Прогнозируемое ежегодное число замен:
Z=( λ1
N1
+ λ2
N2
+…+ λк
Nк),
где λi
и Ni
- удельная замена и количество опор по каждой возрастной группе.
Прогнозируемое ежегодного количество замен Z
= 90 шт.
.8 Проанализировав состояние опор контактной
сети Абаканской дистанции, делаем вывод:
1) Большая часть железобетонных опор
выработали свой срок службы, количество дефектных опор растет из года в год,
периодичность диагностирования должна составлять составляет не реже 1 раз в 6
лет.
2) Благодаря проводимому
диагностированию железобетонных опор ультразвуковым методом, рассчитывается их
остаточная несущая способность и ведется замена тех опор, которые исчерпали
свой ресурс (остродефектные), или которые близки к этому (опоры с со
значительным и предельным снижением несущей способности).
3) Проводимый 100 % входной контроль
железобетонных стоек позволяет исключить установку опор контактной сети низкого
качества.
) Проводимые работы по техническому
обслуживанию опорных конструкций очень важны с точки зрения обеспечения
безопасности движения.
3. Изоляторы
.1 Изоляторы как объект диагностирования
Надежность современного оборудования высокого
напряжения во многом определяется надежностью его изоляции.
Процессы, протекающие в изоляции под
воздействием различных эксплуатационных (тепловых, химических, механических и
электрических) факторов, приводят к ее старению. Эти процессы действуют
одновременно и взаимозависимы.
Химические процессы - окисление и другие
химические реакции с агрессивными компонентами окружающей среды ухудшают
свойства органических изоляционных материалов.
Под воздействием нагрева, вызванного внешними
причинами и диэлектрическими потерями, возникает износ, сопровождаемый распадом
вещества, появлением хрупкости, снижением механической прочности.
Электрическое воздействие приводит к физическим
и химическим изменениям органических изоляционных материалов, вызванных
частичными разрядами.
Механические воздействия, вызывая нарушение
целостности материала (разрывы, расслоения) снижают электрическую прочность.
Конечным результатом воздействия на изоляционную
конструкцию перечисленных факторов является изменение структуры диэлектрика,
его свойств, появление продуктов разложения.
Опыт эксплуатации показывает, что основной
причиной отказа фарфоровых изоляторов (ФИ) является пробой диэлектрика (99%
случаев) и наибольшее число отказов приходится на самый жаркий период года.
Снижение электрической прочности электрофарфора
с ростом температуры связано с ростом диэлектрических потерь в материале. В
свою очередь, диэлектрические потери тем выше, чем выше его пористость.
Анализ отказавших изоляторов показал:
наличие пористости - 51%,
трещин - 16%,
скрутки, расслоение фарфора и инородные включения
- 30%.
Параметры и характеристики:
Пробивное напряжение - UПР,
В, напряжение при приложении которого происходит пробой диэлектрика с его
разрушением или перекрытием изоляции по поверхности (различают напряжение
пробоя изолятора в сухом и мокром состояниях).
Сопротивление изоляции постоянному току - R
,МОм.
Комплексная проводимость (комплексное
сопротивление) - Y (Z).
Ток утечки через изоляцию I.
Диэлектрические характеристики: диэлектрическая
проницаемость e, емкость С. Диэлектрические потери - энергия, рассеиваемая
в диэлектрическом материале под воздействием электрического поля.
Диэлектрические потери и особенно их изменение характеризуют состояние
изоляции. Диэлектрические потери характеризуются углом диэлектрических потерь d,
а также тангенсом этого угла tgd.
Этот угол, образуемый векторами тока утечки изоляции и емкостного тока (рис.
3.1), а тангенс угла диэлектрических потерь - это отношение активной к
емкостной составляющей тока утечки через изоляцию. В практике значение tgd
выражается в процентах. Тангенс угла диэлектрических потерь почти не зависит от
размеров изоляционной конструкции, и дает усредненную объемную характеристику
состояния диэлектрика. Измеряется мостом переменного тока или специальными
приборами, например, портативным измерителем тангенса потерь - ИТП-1М2 (рис.
3.2).
Сопротивление изоляции постоянному току измеряют
мегаомметрами на напряжение 500, 1000 и 2500 В индукторного типа (с генератором
с ручным приводом) или электронными.
Рисунок 3.1- Угол, образуемый векторами тока
утечки изоляции и емкостного тока
Рисунок 3.2- Прибор ИТП-1М2
Метод абсорбции применяется для определения
увлажненности изоляции электрических машин, трансформаторов, силовых кабелей.
Измерения проводят мегаомметром на напряжение
1000 или 2500 В, сравнивая его показания через 15 и 60 секунд после приложения
напряжения. Коэффициент абсорбции
а =
R60 /R15,
где R60
и
R15
- сопротивления изоляции соответственно через 60 и 15 с после приложения
напряжения.
Для неувлажненной изоляции коэффициент абсорбции
равен 1,3 ¸ 2, при увлажненной изоляции близок
к единице.
Метод емкость-частота основан на измерении
емкости при двух частотах 2 и 50 Гц и применяется в основном для залитых маслом
трансформаторов. Температура при измерении 10-20 0С. Степень
увлажненности оценивается по соотношению:
Для сухой изоляции значение соотношения не
превышает 1,2¸1,3.
Метод емкость-температура основан на измерении
емкости увлажненной изоляции в интервале температур 20-80 0С. Для
неувлажненной изоляции увеличение емкости не превышает 15¸20
%:
,
где С80 и С20 - емкости
соответственно при 80 и 20 0С.
.2 Входной контроль изоляторов
Согласно [9] пористость фарфора изоляторов
проверяется в каждой партии разрушающим методом (8 шт. из 10000), что приводит
к возможному пропуску дефектных изоляторов. Для проведения массового контроля
неразрушающим методом должен измеряться тангенс угла диэлектрических потерь (tgs).
В методических указаниях [10] вводится 100% контроль изоляторов по tgs.
Входной контроль качества проводится на каждой
партии тарельчатых изоляторов:
1) При
получении от завода изготовителя.
2) Перед
установкой в эксплуатацию.
3) Перед
передачей монтажным организациям при новом строительстве, реконструкции или
ремонте КС.
4) Перед
передачей в страховой запас ЭЧ и ЭЧК, при нахождении в страховом запасе -
периодически 1 раз в 5 лет.
5) Перед
передачей в запас длительного хранения.
Содержание входного контроля:
1) Контроль
сопроводительной документации и документов о качестве. Осуществляется в каждой
партии, в каждом вагоне или контейнере. На каждую партию изоляторов должен быть
сертификат качества или паспорт. При отсутствии необходимо запросить у
завода-изготовителя дубликат и протоколы приемо-сдаточных испытаний ОТК. При
распределении партии по разным ЭЧ каждому получателю выдаются сопроводительные
документы, которые должны храниться в течении 3 лет гарантийного срока.
2) Контроль
комплектности поставки, качества упаковки и состояния изоляторов после
транспортирования. Осуществляется в каждой партии при выгрузке из вагона или
контейнера. В комплект поставки входят: изоляторы, замки к подвесным изоляторам
(фиксаторные - без замков) и документ о качестве. При отсутствии замков
необходимо составить акт и требовать от поставщика доукомлектования. Изоляторы
должны быть упакованы в ящики или обрешетки на поддонах. Подвесные изоляторы со
сферическим зацеплением должны быть собраны в гирлянды по 5 и более шт., а их
соединение зафиксировано замками. Отгрузка изоляторов в иной упаковке не
допускается, о чем составляется акт-рекламация и вся партия может быть
возвращена поставщику.
3) Визуальный
осмотр. Каждый изолятор на ЭЧ перед проведением электрических испытаний при
естественном освещении без применения приборов. При осмотре проверяется
состояние изоляционной детали, арматуры и ее защитного покрытия, качество
сборки. Пред осмотром очищают от загрязнения. Не допускается проворачивание
шапки в заделке, видимое искривление (несоосность) деталей. Цементные швы
должны иметь влагостойкое защитное покрытие. Изоляционная поверхность должна
быть покрыта глазурью за исключением мест, на которые опирается деталь при
обжиге. На поверхности не допускаются пузыри, цек глазури, трещины, сколы общей
площадью более 3 см2. Не допускается наличие трещин в шапке изолятора
или искривление стержня. Поверхность защитного покрытия должна быть сплошной.
На поверхности арматуры не должно быть следов коррозии.
4) Измерение
электрического сопротивления. Поверхность должна быть сухой и чистой.
Проводится мегаомметром 2,5 кВ. Изоляторы с сопротивлением менее 300 МОм
бракуются (лучше - ¥).
5) Испытание
повышенным напряжением. 50 кВ промышленной частоты между стержнем и шапкой,
поднимается плавно и выдерживается в течении 1 минуты, затем плавно снижается
до нуля. Разрешается одновременно испытывать несколько изоляторов, соединенных
параллельно. Изолятор считает выдержавшим испытание если не произошло пробоя.
6) Измерение
тангенса угла диэлектрических потерь(tgs).
При помощи высоковольтного моста типа МД16 или другого типа. Имеется специализированный
портативный прибор для измерения тангенса потерь тарельчатых изоляторов -
ИТП-1М (рис.3.2). Изолятор считается годным если для типов ПФ6Б (ПМ-4,5); ПФ6В;
ПФ70В; ПФ70Д tgs£
0,06, и для типов ПФ6А (П-4,5); ФТФ40; ПТФ70; ПФ70Ж; ФФ40А; СФ70А; ПФ70А tgs£
0,08.
Результаты входного контроля оформляется
протоколом. Все отбракованные изоляторы возвращаются с копией протокола
поставщику с требованием безвозмездной замены.
Браковочный уровень всей партии - 2%. Если в
результате измерения сопротивления и испытания повышенным напряжением
браковочный уровень превысит 2%, то все изоляторы партии не подлежат установке
в эксплуатацию.
Если количество забракованных по tgs
изоляторов превысит 3% необходимо требовать от завода-изготовителя проведения
повторных приемо-сдаточных испытаний.
Стеклянные и полимерные изоляторы подвергаются
входному контролю, кроме электрических испытаний и измерений.
При осмотре стеклянных изоляторов бракуются
изоляторы, имеющие трещины, сколы, посечки, морщины, складки, натеки, свищи,
видимые внутренние газовые пузыри и инородные включения, оплавления дугой.
При осмотре полимерных изоляторов бракуются
изоляторы, имеющие механические повреждения (надрезы, проколы, ссадины,
кратеры), разгерметизация.
Все изоляторы, признанные годными по результатам
входного контроля, маркируются, после чего передаются на хранение ЭЧК,
монтажным организациям или в запас длительного хранения. Маркировка наносится
на шапку масляной краской символ - "П".
.3 Диагностирование фарфоровых изоляторов
Диагностирование с помощью измерительной штанги
ШИ-35
До измерения штангой ШИ-35 необходимо
зашунтировать ИП в цепи заземления опоры перемычкой 50мм2.
В гирлянде изоляторы проверяются поочередно в
следующей последовательности: первым - со стороны контактной сети, вторым - со
стороны заземленных конструкций, третьим - рядом со вторым, четвертым - рядом с
первым и т. д. Показания умножаются на коэффициент 5.
Дефектными считаются изоляторы, падение
напряжения на которых равно или менее значений:
Таблица 3.1- Значения падения напряжений на
дефектных изоляторах
|
Число
изоляторов в гирлянде
|
Падение
напряжения, кВ на изоляторе, считая от заземленной конструкции
|
|
1-м
|
2-м
|
3-м
|
4-м
|
5-м
|
6-м
|
|
3
|
4
|
4
|
5
|
-
|
-
|
-
|
|
4
|
3
|
3
|
3
|
5
|
-
|
-
|
|
5
|
2
|
2
|
2
|
2
|
3
|
-
|
|
6
|
1,5
|
1,5
|
1,5
|
2
|
2
|
3
|
Диагностирование измерительными штангами
проводится (при отсутствии приборов УД-8 и Филин-3) на участках переменного
тока - 1 раз в 3 года
Диагностирование с помощью ультразвукового
дефектоскопа
При повышении напряжения на одном изоляторе до
10 кВ возникает поверхностный частичный разряд (ПЧР). Это возможно при пробое
одного из трех изоляторов в гирлянде переменного тока. Проявление ПЧР
сопровождается акустическими (улавливается приборами типов УД-8,
"Ульраскан-2004") и электромагнитными колебаниями, оптическими излучениями
(улавливается прибором "Филин").
Принцип работы ультразвукового дефектоскопа УД-8
(рис. 3.3) основан на улавливании и индикации ультразвуковых излучений в
диапазоне частот 39-41(43-45) кГц. Учитывая, что ПЧР имеют широкий спектр
колебаний, УД улавливает их, детектирует и усиливает низкие частоты. На
расстоянии не более 20 м. По мере приближения к гирлянде с дефектным изолятором
звук усиливается. Рекомендуется использовать прибор после дождя в сухую погоду,
причем обход делать с утра и повторно после полудня. Если гирлянда
дефектируется утром и днем, ее необходимо менять, если только утром - то
провести дополнительную дефектировку штангой.
Рисунок 3.3- Ультразвуковой дефектоскоп УД-8
Прибор "Ультраскан-2004" (рис. 3.4) отличается
от УД-8 большим диапазоном улавливаемых частот, микропроцессорной программной
обработкой сигналов с возможностью записи, хранения и передачи информации в
компьютер для дальнейшей обработки, автоматической настройкой чувствительности,
наличием лазерного целеуказателя и оптического прицела.
Диагностирование с помощью оптического
дефектоскопа
Электронно-оптический портативный дефектоскоп
"Филин" предназначен для дистанционного контроля изоляции
высоковольтного оборудования, напряжением 25 кВ и выше. Работу выполняют в
темное время суток при положительной температуре, желательно при повышенной
влажности. Наблюдая в окуляр, направить объектив на гирлянду изоляторов на
расстоянии до 50 м от объекта. Осматривать изоляторы необходимо не менее чем с
двух точек: это позволит отличить ПЧР от коронных разрядов.
Диагностирование фарфоровых тарельчатых
изоляторов контактной сети переменного тока, а также питающих линий ДПР
приборами УД-8, "Ультраскан-2004" и Филин-3 осуществляется 1 раз в
год.
Диагностирование с помощью тепловизора
Возможно диагностирование изоляторов с помощью
тепловизора: у дефектных изоляторов температура ниже на 0,2-0,5 0С
(рис. 3.5). Так же можно выявить опорные изоляторы с повреждениями фарфора в
виде трещин (рис. 3.6-3.8), а также выявить загрязнение изоляции. Более
подробно о тепловизоре и тепловом методе в разделе 4.
Рисунок 3.4 - Прибор "Ультраскан-2004"
.4 Анализ состояния изоляции контактной сети
Применяемые изоляторы для контактной сети в
Абаканской дистанции электроснабжения:
Таблица 3.2 Изоляторы для контактной сети
|
Тип
изоляторов
|
Количество,
тыс. шт.
|
|
Фарфоровые
тарельчатые
|
37,124
|
|
в
т.ч.: типа П-4.5
|
14,284
|
|
Стеклянные
тарельчатые
|
199,72
|
|
Фарфоровые
стержневые
|
17,9
|
|
в
т.ч.: старотипные (VKL) и другие
|
2,956
|
|
Полимерные
всех типов
|
0,688
|
В 2010 г. было 4 случая разрушения фиксаторных и
подвесных изоляторов.
Результаты диагностирования фарфоровых
изоляторов заносятся в "Журнал дефектировки фарфоровых изоляторов" с
указанием даты обнаружения дефектных изоляторов, перегона (станции), номера
опоры, количества штук, даты замены дефектных изоляторов.
Таблица 3.3- Результаты диагностирования
изоляции
|
Год
|
2005
г.
|
2006
г.
|
2007
г.
|
2008
г.
|
2009
г.
|
|
Диагностировано,
шт.
|
12540
|
13780
|
14990
|
16230
|
25380
|
|
Выявлено
дефектных, шт.,
|
1463
|
948
|
389
|
307
|
215
|
|
%
от диагностированных
|
11,7
|
6,9
|
2,6
|
1,9
|
0,8
|
Рисунок 3.5-Термограмма гирлянды фарфоровых
изоляторов с верхним дефектным
Рисунок 3.6 - Термограмма опорного изолятора
разъединителя с трещиной в фарфоре
Рисунок 3.7- Фотография опорного изолятора
(термограмма рис. 3.6)
Рисунок 3.8- Фотография опорного изолятора
(термограмма рис. 3.6) со следами утечки тока.
Для бесперебойной работы устройств контактной
сети и предотвращения перекрытия изоляторов всех типов, исчерпавших свой
ресурс, производится замена старых изоляторов на новые, согласно "плану по
усилению и повышению надёжности устройств электроснабжения". В 2010 г.
заменено фарфоровых тарельчатых изоляторов на стеклянные 7832 шт., фиксаторных
изоляторов - 940 шт.
.5 Проанализировав типы и состояние изоляторов
Абаканской дистанции, делаем вывод
1) Входной контроль качества
устанавливаемых изоляторов позволяет выявить бракованные изоляторы.
2) Несмотря на высокие темпы замены
фарфоровых тарельчатых изоляторов на стеклянные, количество первых остается
значительным, хотя и будет снижаться с каждым годом.
3) Дефектировка фарфоровых изоляторов
выполняется силами ЭЧК штангой ШИ-35 и прибором УД-8. Первый метод значительно
более трудоемок, хотя является более достоверным.
) С внедрением стеклянных и полимерных
изоляторов, работы по дефектировке (диагностированию) их в эксплуатации
проводиться не будут.
Рисунок 3.9- Изоляторы контактной сети
Абаканской дистанции электроснабжения
Рисунок 3.10- Диагностирование тарельчатых
фарфоровых изоляторов
4. Тепловизионный контроль
.1 Основные понятия и определения
Тепловизионный контроль проводится с целью
выявления дефектов электрооборудования, в основном контактов и контактных
соединений. Плохое соединение приводит к росту сопротивления и, следовательно,
повышенному нагреву при прохождении тока. Перегрев может вызывать перегрузка и
аварийные токи коротких замыканий.
превышение температуры - разность между
измеренной температурой нагрева и температурой окружающего воздуха;
избыточная температура - превышение измеренной
температуры контролируемого узла над температурой аналогичных узлов других фаз,
находящихся в одинаковых условиях;
коэффициент дефектности - отношение измеренного
превышения температуры контактного соединения к превышению температуры,
измеренного на целом участке шины (провода), отстоящем от контактного
соединения на расстояние не менее 1 м;
контакт - токоведущая часть аппарата, которая во
время операции размыкает цепь, или в случае скользящих или шарнирных контактов
сохраняет непрерывность цепи;
контактное соединение - токоведущее соединение
(болтовое, сварное, выполненное методом обжатия), обеспечивающее непрерывность
токовой цепи.
Оценка теплового состояния электрооборудования и
токоведущих частей в зависимости от условий работы и конструкции может
осуществляться [11]:
по нормированным температурам нагревам
(превышением температуры)
избыточной температуре
коэффициенту дефектности
динамике изменения температуры во времени, с
изменением нагрузки
путем сравнения измеренных значений температуры
в пределах фазы,между фазами, с заведомо исправными участками.
Тепловизионный контроль необходимо проводить при
возможно больших токах нагрузки. При токах нагрузки 0,3 IНОМ и ниже невозможно
выявить дефекты на ранней стадии их развития.
При использовании в качестве критерия
температуры нагрева и ее превышение нагрузка должна быть (0,6-1) IНОМ с пересчетом:
DТНОМ/ DТРАБ
= (IНОМ/) IРАБ)2,
где DТНОМ -
превышение температуры при IНОМ;
DТРАБ - превышение температуры при IРАБ;
Предельные значения температуры нагрева и ее
превышение при номинальных токах:
Таблица 4.1- Допустимые температуры нагрева
Для контактов и болтовых соединений при токах
нагрузки (0,3-0,6) IНОМ
оценка их состояния проводится по избыточной температуре или коэффициенту
дефектности:
Избыточная температура 5-100,
коэффициент дефектности не более 1,2. Начальная степень неисправности, которую
следует держать под контролем и принимать меры по ее устранению во время
проведения ремонта, запланированного по графику.
Избыточная температура 10-30 0С,
коэффициент дефектности 1,2-1,5. Развившийся дефект. Принять меры по устранению
неисправности при ближайшем выводе электрооборудования из работы.
Избыточная температура более 30 0С,
коэффициент дефектности более 1,5. Аварийный дефект. Требует немедленного
устранения.
Периодичность проведения тепловизионного контроля
токоведущих зажимов и контактов разъединителей контактной сети на участках:
переменного тока - 1 раз в 4 года.
Актуальность тепловизионного контроля устройств
тягового электроснабжения существенно возрастает в связи с повышением веса
грузовых поездов и интенсивности движения.
Особенностью тепловизионного контроля устройств
контактной сети, затрудняющей определение степени развития дефектов, является
отсутствие возможности измерения тока нагрузки в контролируемых узлах. Наличие
нагрузки в этом случае определятся визуально по отправлению и проходу поездов.
Учитывая возможные последствия, все выявленные
дефекты признаются опасными, подлежащими незамедлительному устранению.
Руководством службы электрификации и электроснабжения Красноярской ж. д.
установлен диспетчерский контроль за устранением дефектов контактов и
контактных соединений.
.2 Технические средства тепловизионного контроля
Нагрев деталей и конструкций контактной сети
измеряют портативным дефектоскопом (пирометром) ИКД, ИКТ (рис. 4.1) , НРК и
другими (4.2), принцип действия которых - улавливание инфракрасного излучения.
Точность измерения температуры зависит от расстояния и размера объекта
контроля. Эффективность применения на контактной сети низкая из-за достаточно
больших расстояний и малых размеров контактных соединений, может выявить лишь
очень сильно нагретый узел.
Рисунок 4.1- Прибор ИКТ-5МП
Рисунок 4.2- Инфракрасный термометр
"Кельвин"
Наилучшие результаты достигаются при
использовании тепловизора - в виде цифровой видеокамеры с возможностью контроля
объектов в инфракрасном диапазоне. Высокая разрешающая способность и
возможность контролировать объект в целом, в том числе автоматически, в
движении с записью в память прибора, видеомагнитофон, с обработкой изображений
на компьютере и распечаткой термограммы объекта. На Красноярской ж.д.
применяется тепловизор TERMO
TRACER TN7102WX
и ThermaCAM
E45 (рис. 4.3),
которые адаптированы к проведению тепловизионного контроля устройств контактной
сети при объезде в вагоне-лаборатории ВИКС-ЦЭ.
Термоиндикационные краски наносят на токоведущие
детали (или наклеивают термопленочные указатели). В интервале температур 70-100
ОС термокраска изменяет свой цвет с красного на черный, если нагрев
более 120 ОС - цвет гряновато-желтый и при остывании не
восстанавливается.
Термоуказатели с легкоплавким припоем (95…160 ОС)
представляет собой указатель (флажок), который при нагреве укрепляется на КС
припоем, при повышении температуры термоуказатель меняет свое положение (рис.
4.4-4.5). Хороши для контактной сети тем, что не надо ждать нагрузку, если
нагрев был, то флажок упадет и это будет видно при очередном обходе с осмотром.
Комплекты термосвеч (с температурой плавления
50…160 ОС). Свечу закрепляют на изолирующей штанге и касаются ей
отдельных частей контакта или контактного соединения. Первой применяют свечу с
наиболее низкой температурой нагрева. На контактной сети практически не
применяются.
Измерительная штанга ШИ-35: к сменной головке
крепят захваты с проводниками, концы которых присоединяют к клеммам в
зависимости от пределов измерений (например, 0-100 мВ). При первом и втором
замерах на проверяемое контактное соединение симметрично накладывают захваты с
насечкой. Затем производят третий замер на целом проводе. Качество контактного
соединения оценивают сравнением падения напряжения от тока на участке той же
длины целого провода при одной и той же токовой нагрузке. Набросы снимают
специальной вилкой. Условие применения этого метода - одинаковая токовая
нагрузка при обоих измерениях, что для контактной сети обеспечить трудно.
Улучшить достоверность можно, применяя одновременно две штанги с одинаковыми
параметрами.
Рисунок 4.3- Тепловизор
TERMO TRACER TN7102WX
Рисунок 4.3.1- Тепловизор ThermaCAM
E45
Рисунок 4.4- Указатели с легкоплавким припоем
Рисунок 4.5- Термоуказатели, установленные на
питающих зажимах
.3 Результаты тепловизионного контроля
Объезды вагон-лаборатории ВИКС-ЦЭ с
тепловизионным контролем не дают ощутимых результатов на участках переменного
тока. Тем не менее, такие объезды совершаются регулярно два раза в год по
направлению основного грузового движения следом за тяжелым поездом.
Хорошие результаты дает тепловизионный контроль
в ручном режиме, особенно на станциях с тяговыми подстанциями, пунктами
параллельного соединения контактных подвесок и постами секционирования [12].
Всего за 2010 г. выявлено 9 дефектов (3 дефекта
контактов разъединителей и 6 контактных соединений стыковок шлейфов).
Результаты тепловизионного контроля, проводимые при этом расчеты и другие
материалы представлены в Приложении Г.
Проанализировав существующие методы обнаружения
нагрева на устройствах контактной сети, делаем вывод:
1) Наиболее эффективный прибором для контроля
нагрева узлов контактной сети является тепловизор, применяемый как в
"ручном" режиме, так и в составе ИВК ВИКС при объезде контактной
сети. По мере развития техники и удешевления их производства необходимо
оснащение тепловизорами дистанции электроснабжения и районы контактной сети.
2) Особенность тепловизионного контроля
контактной сети - невозможность в большинстве случаев измерить ток нагрузки, и
следовательно определить степень развитие дефекта.
) Учитывая возможные последствия, все
выявленные дефекты признаются опасными, подлежащими незамедлительному устранению.
5. Компьютеризированный вагон-лаборатория для
контроля контактной сети (КВЛ-АРКС)
Рисунок 5.1- Компьютеризированный
вагон-лаборатория для контроля контактной сети, автоматики и связи (КВЛ-АРКС)
Назначение: КВЛ-АРКС входит в состав
диагностического комплекса "ЭРА". КВЛ-АРКС может эксплуатироваться
как в составе комплекса, так и автономно, по отдельному графику. КВЛ-АРКС
предназначен для комплексного автоматизированного контроля технических параметров
контактной сети, технологических параметров напольных устройств систем
автоматики, а также параметров технических средств поездной радиосвязи в
реальном времени в соответствии с требованиями действующих нормативных
документов ОАО "РЖД" для регламентированных параметров назначения. В
состав бортовой аппаратуры КВЛ-АРКС входят:
- Бортовая автоматизированная система
компьютеризированного вагона-лаборатории по испытанию контактной сети (БАС
КВЛЭ.2);
- Система контроля и диагностики состояния
путевых устройств железнодорожной автоматики;
Система контроля связи и телекоммуникаций;
БАС КВЛЭ.2 обеспечивает решение следующих задач:
контроль и автоматизированную балльную оценку
технического состояния контактной сети; измерение положения контактного провода
в плане (зигзаг); измерение высоты подвеса контактного провода;
измерение расстояния фиксаторов и отходящих
ветвей от поверхности полоза токоприемника в точках 600 мм от оси полоза
токоприемника;
фиксация отрыва токоприемника от контактного
провода;
фиксация удара токоприемника;
фиксация опор и определение расстояния от оси
рельсовой колеи до опоры контактной сети;
определение расстояния от поверхности полоза
токоприемника до помех;
определение положения точки касания контактного
провода на скосах;
определение длины пролета между опорами;
определение типа (переменное, постоянное) и
величины напряжения контактной сети;
измерение силы нажатия токоприемника на
контактный провод;
определение сверхнормативных отклонений
параметров визуально наблюдаемых объектов контактной сети;
тепловизионный и ультрафиолетовый контроль
объектов контактной сети;
-видеоконтроль состояния обустройства контактной
сети с возможностью фиксации отметок оператора и записи речевых комментариев и
последующим сплошным или выборочным просмотром по заданным критериям (опоры,
стрелки, отметки оператора и т.п.).
БАС КС позволяет производить обработку и оценку
измеряемых параметров, хранение информации и представление ее пользователю в
удобной форме, а также производить тестирование информационно-измерительной
системы в автоматическом фоновом режиме. Применение измерительного полоза с
бесконтактными датчиками обеспечивает высокую надежность работы и независимость
от погодных условий. Применение оптического канала связи между высоковольтным и
низковольтным оборудованием БАС КС обеспечивает помехозащищенность и большую
скорость обмена информацией. Применение экономичных средств измерений и
преобразовательной техники обеспечивает длительную работу бортовой
автоматизированной системы от аккумуляторов вагонной системы электроснабжения.
АСК АР обеспечивает решение следующих задач:
измерение и контроль амплитудных и временных
параметров сигналов автоматической локомотивной сигнализации непрерывного
действия (АЛСН);
измерение и контроль тока и длин шлейфов системы
автоматического управления торможением (САУТ);
контроль устройств регистрации перегрева букс и
подступичных областей колесных пар вагонов (КТСМ);
измерение и регистрацию параметров технических
средств поездной радиосвязи.
При решении указанных задач обеспечиваются:
автоматическая привязка измерительной информации
к координате пути и техническим объектам;
создание, хранение и документирование базы
данных по участкам железной дороги;
автоматизация процесса обработки и анализа
измерительной информации и составления отчетных документов по результатам
измерений.
Для всей получаемой БАС КС и АСК АР информации,
включая видеоданные и отметки оператора, обеспечивается:
привязка к путевой координате, элементам ж.д.
пути (стрелочные переводы, мосты, тоннели, переезды, рельсовые подкладки,
электронные метки пути и т.д.);
геодезическая привязка (долгота, широта, высота)
с использованием спутниковых навигационных систем типа ГЛОНАСС/GPS.
5.1 Разработка метода
диагностики опор контактной сети с использованием лазерного датчика вибраций
Жесткие поперечины являются наиболее
ответственными устройствами на контактной сети. От их состояния во многом
зависит безопасность и бесперебойность движения поездов. Выход из строя даже
одного ригеля может привести к длительным перерывам в движении поездов или даже
к серьезной аварии. В настоящее время на электрифицированных железных дорогах
эксплуатируют более 100 тыс. жестких поперечин.
Опыт эксплуатации ригелей жестких поперечин
показывает, что после изготовления и монтажа они обладают высокой начальной
безотказностью, и достаточно эффективны в эксплуатации. Однако с течением
времени происходит исчерпание защитных свойств покрытий, они разрушаются и на
металле конструкции развиваются коррозийные процессы. Эти процессы влекут за
собой уменьшение сечения элементов конструкции, сопровождаются изменениями
прочностных и деформационных свойств как основного металла, так и металла
сварных швов. Все это приводит к снижению несущей способности ригелей и создает
угрозу безопасности движения поездов, а в ряде случаев и к отказу конструкций.
Например:
.03.10 в 12 час 11 мин отключились: фидера
контактной сети №1,2 и СЦБ "Запад" и фидер ДПР "Запад" по
тяговой подстанции Чарыш; фидера контактной сети № 1, 3, 4 по тяговой
подстанции Теба; фидер контактной сети № 3 и фидер ДПР "Восток" по
тяговой подстанции Междуреченск.
В 12 час 18 мин электромонтер района контактной
сети станции Теба Шелест А.А. после осмотра станции доложил, что с опор
контактной сети № 61- 62 упал ригель, подавать напряжение в контактную сеть
нельзя. После чего энергодиспетчерским аппаратом выполнено выделение станции
Теба и подано напряжение в к/сеть, ДПР и СЦБ участков Теба - Междуреченск и
Теба - Чарыш.
В 13 час 36 мин со станции Чульжан была
отправлена дрезина ПЧ-7 с краном КДЭ для выполнения работ по уборке ригеля.
Восстановительные работы затруднялись тем, что дрезина АДМ № 1159 в момент
повреждения устройств контактной сети находилась на ст. Лужба и выезд к месту
повреждения был возможен только после освобождения перегона Теба - Лужба в 14 час
01 мин.
С 14 час 48 мин до 15 час 34 мин были выполнены
работы по уборке ригеля и приведению контактной подвески в габарит
электроподвижному составу. После чего организовано движение ЭПС с опущенными
токоприемниками по 1 и 3 пути станции Теба с 106 км 10 пк по 107 км 1 пк, с
выставлением сигналистов.
В 16 час 38 мин создан габарит по 2, 4 и 6 пути,
подано напряжение в контактную сеть и организовано движение ЭПС с опушенными
токоприемниками по четным путям станции Теба с 106 км 10 пк по 107 км 1 пк, с
выставлением сигналистов.После организации движения электроподвижного состава с
опушенными токоприемниками все работы выполнялись в технологические
"окна" по мере подготовки.
Очевидной становится актуальность своевременного
контроля состояния ригелей жёстких поперечин и диагностики их прочности.
Применяемый в настоящее время визуальный контроль малоэффективен, так как
требует подъёма обслуживающего персонала на конструкции, что в условиях наличия
напряжения в контактной сети создает дополнительные трудности и не позволяет
обнаруживать скрытые дефекты. В настоящем исследовании решена задача
диагностики прочности ригелей с применением вибрационного метода.
Разработка вибрационного метода диагностики
несущей способности металлических ригелей жёстких поперечин предусматривает:
анализ основных видов повреждений в ригелях,
влияние этих повреждений на несущую способность ригелей;
определение основных закономерностей влияния
повреждений на прочностные свойства металла поперечин;
построение математических моделей процесса собственных
колебаний ригелей с повреждениями в нижних накладках поясов;
экспериментальные исследования колебаний ригелей
с повреждениями;
разработка методики диагностики и технических
требований к аппаратуре.
Ригели жёстких поперечин изготавливаются в заводских
условиях, и уже на этой стадии создания конструкций в них закладываются
технологические дефекты изготовления, влияющие на надёжность эксплуатации. В
большинстве случаев эти особенности связаны с качеством сварочных работ.
Наибольшее значение имеют два вида дефектов: дефекты подготовки и сборки
конструкций под сварку и непосредственно сварочные дефекты швов.
К дефектам подготовки и сборки ригелей относятся
неправильный выбор зазора между стыкуемыми элементами, несовпадение стыкуемых
плоскостей кромок, расслоения и загрязнения на кромках.
Наличие дефектов в соединениях может
отрицательно сказаться на прочности и работоспособности ригелей.
Значительное влияние на работоспособность
ригелей могут оказать также повреждения, возникающие в процессе эксплуатации.
Одними из наиболее распространённых повреждений являются коррозионные
повреждения. Процесс коррозии металла в значительной степени зависит от
относительной влажности воздуха, создающей электролит на поверхности.
Наибольшая скорость коррозии наблюдается при толщине плёнки электролита в
пределах 10 мкм. При увеличении и уменьшении толщины плёнки скорость коррозии
уменьшается. При наличии в атмосфере пыли и газов скорость коррозии металла
увеличивается. Из газов наиболее агрессивными свойствами обладает диоксид серы.
Отмечено также влияние на скорость коррозии, кроме пыли и газов,
пространственное положение элементов конструкции и время года.
Пространственное положение элементов конструкции
сказывается на том, что в загрязненных атмосферах замкнутые поверхности
коррозируют быстрее, чем открытые поверхности. В зимнее время на конструкциях
накапливается значительное количество агрессивных веществ из атмосферы. Эти
вещества пропитывают продукты коррозии на металле, понижают температуру
замерзания электролита и способствуют интенсивной коррозии даже при низких
отрицательных температурах. В целом коррозия металла приводит к появлению
коррозионного износа и снижению несущей способности ригелей. Кроме того,
коррозионный износ приводит к изменению деформационных и прочностных свойств
металла. При коррозионном износе превышающем 25-30%, деформативность стали
уменьшается более чем на 40%, что должно учитываться при назначении допустимого
износа стальных элементов.
В условиях эксплуатации возможно два вида
диагностирования конструкций: объективное с использованием
контрольно-измерительных приборов, позволяющее получать количественную
информацию и субъективное, производимое при помощи органов чувств или
простейшими техническими средствами, не дающее количественной оценки технического
состояния объекта. В настоящее время известно множество методов диагностики
металлических конструкций. Анализ этих методов показал, что большинство из них,
не может быть использовано для диагностики ригелей жёстких поперечин. Эти
методы в основном пригодны для диагностики конструкций и машин, к которым
имеется хороший доступ. Доступ к ригелям жёстких поперечин крайне ограничен:
во-первых, они расположены на большой высоте и, во-вторых - в зоне воздействия
высокого электрического напряжения от контактной сети. В этих условиях
обеспечить контактную диагностику практически не представляется возможным.
Исключение составляет один из методов, требующий минимального контакта с
ригелем, или вообще не требующий непосредственного контакта с конструкцией, который
основан на анализе собственных колебаний конструкций и известен как
вибрационный метод. Для осуществления вибрационного метода диагностики
требуется выбор определяющих параметров, характеризующих состояние ригелей.
Частота собственных колебаний конструкции, не зависит от сил трения в
конструкции и может быть использована в качестве определяющего параметра при
диагностике состояния ригелей. Для оценки влияния на частоту собственных
колебаний жесткой поперечины её прочностных характеристик, а так же сечение
контактной подвески, необходимо провести контрольные измерения колебаний
заведомо целой поперечины и ригеля с различными степенями дефектности.
Накопление базы данных по колебанию каждой конкретной жесткой поперечины на
перегоне и наложение полученной базы на последующие измерения этой же
поперечины на протяжении нескольких контрольных измерений даст наиболее полную
картину состояния поперечины и позволит спрогнозировать дефекты. То есть
проводя диагностирование каждой поперечины через определенный промежуток
времени, наблюдая за конструкцией в течении всего срока службы с момента
установки можно строить прогнозы какой конкретно ригель и через какой
промежуток времени выйдет из строя. Выявлять дефекты в поперечинах трудоемкий
процесс и очень однообразный, облегчить его позволит не сложное программное
обеспечение, которое будет работать с базой данных колебаний каждой опоры в
отдельности, сравнивать графики колебаний опор в ретроспективе и автоматически
стоить прогнозы по состоянию опоры. Схема установки датчиков и распространение
волновых колебаний от колесных пар воздействующих на опоры показано на рисунках
5.1, 5.2, соответственно. Установка датчиков вид с торца вагона показаны на
рисунке 5.3
Рисунок 5.1- Схема установки датчиков
Рисунок 5.2- Схема распространения волновых
колебаний на опоры контактной сети
Рисунок 5.3- Установка датчиков вид с торца
вагона
Рисунок 5.4 -Схема расположения датчиков на
конструкции вагона
.2 Лазерно-ультразвуковой измеритель расстояния
VERTEX LASER VL400
Laser VL400 - Лазерно-ультразвуковой дальномер
объединяет в одном приборе две технологии лазерную и ультразвуковую близких
измерений. Точные вычисления расстояния, высоты и уклона. Новая технология
позволяит выполнить работу быстро и эффективно.
Дальние дистанции: Vertex Laser VL400 позволяет
измерять расстояния до 400 метров! А с отражателем измеряемое расстояние
увеличивается до 900 м! Vertex Laser VL400 удобен и для работы на линиях
электропередач. Легко могут быть определены и измерены.
Рисунок 5.5- Лазерно-ультразвуковой измеритель
расстояния VERTEX LASER VL400
Провисание проводов на линии электропередачи ,
пограничные деревья, высоты, углы и расстояния. Объективы оборудованы
возможностью оптического увеличения: C красным, крестообразным прицелом
увеличение - 1 - кратное Второй объектив - с 8 кратным увеличением (удобен для
удаленных и тонких целей, например, проводов). Встроенный инфракрасный порт
позволяет переносить данные на карманный или стационарный компьютер для
дальнейшей обработки.
Таблица 4.2- Технические характеристики
дальномера Vertex Laser VL400:
|
Размеры
|
95х72х58
мм.
|
|
Вес
|
290
грамм
|
|
Элемент
питания
|
1хCR
2 (литиевая) 3 V
|
|
Температура
|
-
15 до + 450С
|
|
Измеряемая
высота
|
0
- 999 метров
|
|
Точность
измерения
|
0,1
метр
|
|
Измерение
углов
|
-
55 до 85 градусов
|
|
Точность
измерения углов
|
0,1
градус
|
|
Измеряемое
расстояние без отражателя
|
до
350 метров
|
|
Измеряемое
расстояние с отражателем
|
до
999 метров
|
|
Точность
|
±0,1
м. на расстоянии < 100 м. ±1м. на расстоянии > 100 м.
|
5.3 Принцип работы лазерного регистратора
колебаний
В основу работы датчика, показанного на рисунке
5.6, положен принцип оптической триангуляции. Излучение полупроводникового
лазера 1 фокусируется объективом 2 на объекте 6. Рассеянное на объекте
излучение объективом 3 собирается на CCD-линейке 4. Процессор сигналов 5
рассчитывает расстояние до объекта по положению изображения светового пятна на
линейке 4. Такие датчики выпускает фирма: ЗАО "Электронные технологии и
метрологические системы" Россия, 124482, г. Москва, г. Зеленоград,
Савёлкинский проезд, д. 4, офис 2101
Рисунок 5.6- Принцип работы лазерного
регистратора колебаний и его внешний вид
.5 Многоканальный синхронный
регистратор-анализатор вибросигналов
Многоканальный синхронный регистратор-анализатор
вибросигналов Атлант-8 является современным прибором, предназначенным для
решения наиболее сложных задач в вибрационной диагностике состояния
оборудования. Основу виброанализатора Атлант составляет переносный компьютер
типа "ноутбук", в котором объединены функции регистрации сигналов,
обработки, хранения. Функции первичной обработки вибросигналов, фильтрации и
синхронного цифрового преобразования реализуются во внешнем блоке. К этому
блоку подключаются вибродатчики и отметчик фазы, используемый при балансировке.
Применение компьютера для обработки сигналов снимает практически все
ограничения, свойственные обычным переносным приборам виброконтроля. Это -
малое количество входных каналов, низкое быстродействие, ограниченный объем
памяти. Возможность проведения непрерывной регистрации сигналов в течение
десятков секунд или минут позволяет использовать такие приборы для регистрации
переходных процессов в оборудовании, для контроля вибрационных процессов в
тихоходных механизмах и т. д.
Основные технические характеристики Атлант-8 сведены
в таблицу 5.3
Рисунок 5.7- Многоканальный
регистратор-анализатор вибросигналов
Таблица 5.3- Основные технические параметры
спектроанализатора Атлант
|
Количество
каналов регистрации аналоговых сигналов
|
8,
16, 32
|
|
Частота
опроса каналов при регистрации сигналов, Гц
|
5
- 20 000
|
|
Частотный
диапазон поставляемых вибродатчиков, Гц
|
5
- 5 000
|
|
Длительность
временных выборок сигналов
|
0,01
сек - 30 мин
|
|
Частотное
разрешение получаемых спектров, линий
|
100
- 3200
|
|
Время
работы от внутренних источников питания, час
|
2,5
- 4,0
|
|
Вес
прибора в упаковке без датчиков, кг
|
10,0
|
В состав прибора Атлант входит набор программ
вибрационной диагностики. При помощи программного обеспечения Атлант
<#"520659.files/image061.gif"> года
Рассчитанный срок окупаемости меньше
нормативного (
) лет поэтому
внедрение нового оборудования считается экономически выгодно.
7. Безопасность и экологичность
В основной части дипломного проекта проведен
анализ технического состояния устройств контактной сети на основе данных
диагностирования контактной подвески, опор, изоляторов контактов и контактных
соединений.
Эти разработки и предлагаемые изменения (в
области организации, технологии обслуживания, используемой технических средств)
требуют рассмотрения в аспекте: "Организация безопасного проведения работ
при обслуживании контактной сети":
Безопасность рассматриваемых производственных
технологических процессов (охрана труда, эргономика).
Обеспечение безопасности движения поездов.
Безопасность в чрезвычайных ситуациях, в том
числе экологическая безопасность.
.1 Охрана труда
Организационные и технические мероприятия,
обеспечивающие безопасность работающих на контактной сети, воздушных линиях
(ВЛ) и связанном с нею оборудовании, зависит от категории работ
В отношении мер безопасности установлены
следующие категории работ [13]:
со снятием напряжения и заземлением;
под напряжением (на контактной сети);
вблизи частей, находящихся под напряжением;
вдали от частей, находящихся под напряжением.
При выполнении работы со снятием напряжения и
заземлением в зоне (месте) ее выполнения должно быть снято напряжение и
заземлены те провода и устройство, на которых будет выполняться эта работа.
Приближение самого работника или через инструмент, приспособление к проводам,
находящимся под рабочим или наведенным напряжением, а также к нейтральным
элементам на расстояние менее 0,8 м запрещено. Если в процессе выполнения
работы на отключенных и заземленных проводах, необходимо приблизиться к
нейтральным элементам, то они должны быть заземлены.
При выполнении работы под напряжением провода и
оборудование в зоне (месте) работы находятся под рабочим или наведенным
напряжением. Безопасность работающих должна обеспечиваться применением основных
средств защиты (изолирующих вышки, изолирующие рабочие площадки дрезин и
автомотрис, изолирующие штанги и т.д.) и специальными мерами (завешивание
стационарных и переносных шунтирующих штанг, шунтирующих перемычек и т.д.).
Приближение к заземленным и нейтральным частям на расстояние менее 0,8 м
запрещено.
При выполнении работы вблизи частей, находящихся
под напряжением, работающему, расположенному в зоне (месте) работы на постоянно
заземленной конструкции, по условиям работы необходимо приближаться
непосредственно или через неизолированный инструмент к электроопасным элементам
(в том числе к проводам осветительной сети) на расстояние менее 2 м.
Приближение к электроопасным элементам на расстояние менее 0,8 м запрещено.
При выполнении работы вдали от частей,
находящихся под напряжением, работающему в зоне (месте) работы нет
необходимости и запрещено приближаться к электроопасным элементам на расстояние
менее 2 м.
При выполнении комбинированных работ требуется
соблюдать организационные и технические меры, соответствующие каждой из
категорий, входящих в эту работу.
Общие меры безопасности при различных категориях
работ
Работы по категориям, указанным в пункте 7.1.1,
должны выполняться не менее чем 2 лицами, за исключением перечисленных в
таблице 7.1 При всех категориях работ во избежание поражения электрическим
током следует выполнять основное правило электробезопасности - все элементы
(части контактной сети), ВЛ. и связного с нею оборудования на месте работы, а
также выполняющий на нем работу персонал, должны находиться под одним и тем же
потенциалом. Для этого все элементы контактной сети, ВЛ и монтажные
приспособления, с которых производится работа, соединяются электрически
(металлически) друг с другом в зависимости от категории работ заземляющими или
шунтирующими штангами, разъединителями, шунтирующими перемычками и т.п.
Работы, требующие выполнения оперативных
переключений разъединителей, заземления токоведущих частей, а также работы в
местах секционирования (в зоне между анкерными опорами или на секционных и
врезных изоляторах, разделяющих секции с различными потенциалами) должны
производиться по приказу энергодиспетчера (ЭЧЦ).
Остальные работы могут выполняться без приказа
ЭЧЦ, но с уведомлением его о месте, содержании, категории, времени начала и
окончания работы и получением его согласия на ее производство (об этом должна
быть сделана запись в суточной ведомости работы ЭЧЦ).
В зависимости от применяемых для работ под
напряжением изолирующих средств защиты группы производителей работ и
исполнителей работ должны соответствовать приведенным в таблице 6.2
При работах со снятием напряжения и заземлением,
а также вблизи частей, находящихся под напряжением, запрещено:
работать при наличии электроопасных элементов с
2-х сторон на расстоянии менее 2 м от работающего;
работать над электроопасных элементами, не
имеющими ограждений;
выполнять работы на расстоянии ближе 20,0 м от
места секционирования (секционные изоляторы, изолирующие сопряжения и т.п.) и
шлейфов секционных разъединителей, которыми осуществляются отключения
контактной сети при подготовке места работы. Указанное расстояние отсчитывается
по оси пути;
пользоваться металлическими лестницами.
Запрещается проводить работы на контактной сети
под напряжением в следующих случаях:
при скорости ветра свыше 12 м/с;
во время грозы, дождя, тумана, мокрого
снегопада;
под пешеходными мостами, путепроводами, в
тоннелях и на мостах с ездой понизу;
на несущем тросе ближе 1 м от неизолированной
консоли, ригелей и сигнальных мостиков;
когда не может быть использована полная длина
изолирующей части средства защиты;
при опущенном ограждении изолирующих рабочих
площадок автомотрис и автодрезин;
в опасных местах, за исключением врезных и секционных
изоляторов.
Перечень работ, выполняемых по распоряжению без
права подъема на высоту более 3 м от уровня земли до ног работающих представлен
в таблице 7.1
Таблица 7.1- Перечень работ, выполняемых по
распоряжению без права подъема на высоту более 3 м от уровня земли до ног
работающих
|
Наименование
работ
|
Минимальный
состав бригады, чел.
|
Группа
по электробезопасности
|
|
Обходы
с осмотром контактной сети, ВЛ и связанного с нею оборудования, волноводов и
других линий
|
1
|
4
|
|
Обход
с осмотром электротяговой рельсовой цепи
|
1
|
3
при участии представителя дистанции пути или сигнализации и связи
|
|
Объезды
с осмотром контактной сети, ВЛ и связного с нею оборудования, волноводов и
других линий
|
1
|
4
|
|
Осмотр
и замер габарита опор
|
2
|
4
и 3
|
|
Осмотр
переходов линий электропередачи через контактную сеть
|
1
|
4
при участии представителя организации, обслуживающей переход
|
|
Осмотр
оборудования пунктов группировки
|
2
|
4
и 4
|
|
Проверка
работы компенсирующих устройств контактной подвески
|
2
|
4
и 3
|
|
Ремонт
надземной части фундаментов контактной сети
|
2
|
4
и 2
|
|
Восстановление
знаков высокого напряжения, номерных и отличительной окраски
|
2
|
4
и 3
|
|
Проверка
состояния и измерение изоляции в оттяжках опор контактной сети, измерение
сопротивления опор
|
2
|
4
и 3
|
|
Измерение
степени агрессивности грунта
|
2
|
4
и 3
|
|
Внутренний
осмотр или проверка работы приводов секционных разъединителей с испытанием
изоляции электродвигателей приводов
|
2
|
4
и 3
|
|
Проверка
состояния и ремонт надземной (верхней) части опор контактной сети и ВЛ, в том
числе и степени загнивания деталей деревянных опор
|
2
|
4
и 3
|
|
Проверка
и замена дефектных искровых промежутков, диодных и тиристорных заземлителей,
ремонт индивидуальных и групповых заземлений опор
|
2
|
4
и 2
|
|
Проверка
состояния и ремонт подземной части железобетонных опор, фундаментов и анкеров
с выборочной откопкой на глубине не более 0,5 м
|
2
|
5
и 3
|
|
Осмотр
заградительных щитов
(
вертикальных)
|
|
|
|
Замер
зигзагов и высоты контактного провода от УГР измерительным прибором
|
2
|
4
и 3
|
Группы по электробезопасности исполнителей работ
и производителей работ в зависимости от используемого для работы под
напряжением изолирующего средства защиты представлены в таблице 7.2
Таблица 7.2-Группы по электробезопасности
исполнителей работ
|
Изолирующее
средство защиты
|
Вид
работ под напряжением
|
Группа
по электробезопасности (не ниже)
|
Примечание
|
|
|
Исполнителя
работ
|
помощника
|
Производителя
работ
наблюдающего
|
|
|
Изолирующая
съемная вышка
|
Опробование
изоляции вышки
|
4
|
_
|
5
|
_
|
|
Работа
с вышки
|
5
|
3
|
5
|
Исполнителю
разрешено работать единолично, а помощнику разрешено работать только в
присутствии исполнителя
|
|
|
4
|
4
|
5
|
|
|
Выполнение
сложных работ
|
5
|
4
|
5
|
|
|
Изолирующая
рабочая площадка автодрезины или автомотрисы
|
Опробование
изоляции площадки
|
5
|
_
|
5
|
_
|
|
Работа
с рабочей площадки
|
4
|
4+5
|
5
|
Исполнителю
разрешено работать единолично
|
|
Измерительная
изолирующая штанга для дефектировки
|
Работа
с земли, с опоры, с лестницы
|
4
|
3
|
5
|
_
|
|
Работа
с изолирующей рабочей площадки автодрезины, автомотрисы, с изолирующей
съемной вышки
|
4
|
4
|
5
|
Исполнитель
может выполнять работу единолично
|
|
Изолирующая
штанга для удаления гололеда, замены ПКН с земли и др.
|
_
|
3
|
_
|
5
|
_
|
Примечание: отдельные виды работ под напряжением
с использованием перечисленных в данной таблице изолирующих средств защиты в
связи со спецификой работ должны выполняться персоналом с более высокой группой
по электробезопасности.
При выполнении работ под напряжением и вблизи
частей, находящихся под напряжением, в бригаде должна быть заземляющая штанга
Работа на контактной сети, ВЛ и связанном с нею
оборудовании в темное время суток под напряжением, вблизи частей, находящихся
под напряжением, допускается, если в зоне работ имеется освещение,
обеспечивающее видимость всех изоляторов и проводов на расстоянии не менее 50
м. Производитель работ в таких случаях должен иметь группу 5.
Место работы допускается освещать фонарями, если
работа выполняется вдали от частей, находящихся под напряжением, а также со
снятием напряжения и заземления, если нет необходимости приближаться к частям,
находящимся под напряжением, на расстояние менее 2 м.
Организационные мероприятия по обеспечению
безопасности работающих
Организационными мероприятиями по обеспечению
безопасности работающих являются:
выдача наряда или распоряжения производителю
работ;
инструктаж выдающим наряд производителю работ;
выдача разрешения на подготовку места работы;
инструктаж производителем работ членов бригады и
допуск к работе;
надзор во время работы;
оформление перерывов в работе, переходов на
другое рабочее место, продления наряда и окончания работы.
Выдача наряда или распоряжения производителю
работ.
Все работы в действующих электроустановках,
производятся по нарядам или распоряжениям. Наряд-допуск (наряд) есть письменное
задание на производство работы, составленное на бланке установленной формы,
определяющее содержание и зону (место) работы, категорию и условия ее
выполнения, время начала и окончания, необходимые меры безопасности, состав
бригады и лиц, ответственных за безопасность проведения работы.
Право выдачи нарядов или распоряжений может быть
предоставлено лицам из числа административно-технического персонала дистанции
электроснабжения и ЭЧК, а также лицам с группой 5, имеющим стаж работы на
контактной сети по этой группе не менее 2 лет.
В случае производственной необходимости одному
лицу разрешается совмещать обязанности выдающего наряд и члена бригады, либо
выдающего наряд и ответственного руководителя работ. Список лиц, имеющих право
выдачи нарядов или распоряжений, с указанием объектов, на которые они могут их
выдавать, должен быть утвержден начальником ЭЧ и находиться у энергодиспетчера,
в районах контактной сети и пунктах группировки станции стыкования.
Распоряжения может выдаваться производителю
(исполнителю) работ непосредственно или по телефону (радио). Оно имеет разовый характер
и срок его действия определяется продолжительностью рабочего дня исполнителя.
Наряд может выдаваться производителю работ непосредственно на руки,
передаваться по телефону (радио) или с нарочным. Наряд должен выдаваться не
более чем за 24 ч до начала работы. Срок действия наряда определяется
длительностью работ, но не должен превышать 5-ти календарных дней (включая
продолжение и перерывы). Наряд на работу заполняется в 2-х экземплярах под
копирку чернилами, шариковой ручкой. Запись должна быть ясной и четкой в обоих
экземплярах. Исправления и зачеркивания в наряде не допускаются. При передаче
наряда по телефону (радио) лицо, выдающее наряд, заполняет 1 бланк наряда и
диктует полный его текст (в форме телефонограммы) производителю работ, который
заполняет бланк наряда с обратной проверкой. При этом вместо подписи лица,
выдающего наряд, указывают его фамилию, подтверждаемую подписью принимающего
наряд. Если при чтении наряда у производителя работы возникают какие-либо
сомнения, он обязан немедленно потребовать разъяснения у лица, выдающего наряд.
Один экземпляр наряда должен находиться у
производителя работ до их полного окончания, а другой (копия) - у лица,
выдавшего наряд.
Энергодиспетчеру запрещается разрешать работу
производителю работ одновременно более чем по 1-му наряду или распоряжению.
Наряд должен выписываться на одного производителя работ с одной бригадой.
Изменение состава бригады и применяемых грузоподъемных механизмов допускается
вносить лицу, выдавшему наряд, а в его отсутствие - лицу, имеющему право выдачи
наряда. Изменения записываются в наряде или перелаются по телефону (радио)
производителю работ. Производитель работ, принимая по телефону изменения,
вносит их в наряд и указывает фамилию лица, давшего разрешение на эти
изменения.
Наряд выписывается, как правило, на работы одной
категории. В тех случаях, когда одна работа является продолжением другой и они
составляют единый технологический комплекс, допускается включать в один наряд
работы нескольких категорий. При этом на работы каждой категории в наряде
должны быть указаны соответствующие технические меры.
В перечень таких работ входят:
комбинированные работы;
проверка состояния и регулировка изолирующего
сопряжения или секционного изолятора и шунтирующих их секционных
разъединителей;
контроль состояния и регулировка изолирующего
сопряжения, разъединителя с проверкой и испытанием отсасывающего
трансформатора;
раскатка контактного провода и ввод его в
работу;
проверка состояния и регулировка изолирующих
сопряжений и секционных разъединителей поста секционирования.
Один общий наряд может быть выписан на
выполнение одной бригадой однотипных работ на контактной сети , ВЛ и связанном
с нею оборудовании для поочередного выполнения этих работ, я также на
производство комплекса работ, выполняемых в пределах одной отключаемой зоны
(разные по характеру работы единой категории, выполняемые в зоне питания одних
фидеров и секционных разъединителей).
В перечень однотипных работ входят на контактной
сети и ДПР:
проверка и регулировка роговых или трубчатых разрядников;
проверка и регулировка гибких поперечин;
смена фиксаторов;
проверка состояния и ремонт секционных
изоляторов и воздушных стрелок;
проверка состояния и испытания отсасывающих
трансформаторов;
проверка и ремонт КТП и КТПО, питающихся от ДПР.
Лицо, выдающее наряд, должно при заполнении его
конкретно использовать схему питания и секционирования контактной сети, план
контактной сети и карточки опасных мест.
В графе наряда "Дополнительные меры
безопасности" необходимо указать, где запрещается работа, что остается под
напряжением, опасные места, закрытие путей и съездов для ЭПС или всех поездов.
При выполнении сложных работ свободной бригадой
2-х или нескольких ЭЧК выписке нарядов должна предшествовать разработка и
утверждение начальником ЭЧ проекта производства работ, в котором определяют
содержание работ каждой бригады, лиц, ответственных за общее руководство
работами, ответственного руководителя работ, и меры безопасности в соответствии
с выполняемыми работами и местными условиями.
Работа по наряду или распоряжению должна
выполняться в пределах фидеров и секционных разъединителей, вписанных в наряд
или указанных в распоряжении. Изменить условия или расширять зону работы без
выписки нового наряда или распоряжения запрещено.
В случае невозможности при подготовке места
работы отключить разъединители, указанные в наряде, энергодиспетчеру
разрешается увеличить отключаемую зону без расширения самой зоны работы
бригады. Вносимые изменения должны указываться в приказе ЭЧЦ.
Выдача разрешения на подготовку места работы
Как правило, накануне производитель работ лично
или через дежурного по ЭЧК на основании наряда должен дать энергодиспетчеру
заявку на производство работ. Приняв заявку, энергодиспетчер называет ее номер,
который фиксируется в наряде.
Разрешением на подготовку зоны (места) работы
является приказ или согласование, выданные энергодиспетчером. Запрещается
выдавать один приказ на переключение и начало работ, а также приказ на работу
по заранее обусловленному времени.
Приказ ЭЧЦ производитель работ должен повторить
внятно и дословно. Энергодиспетчер, убедившись в правильности повторенного
текста приказа, утверждает его словом "Утверждаю" с указанием времени
утверждения и своей фамилии. Номер приказа и время утверждения записываются в
наряде. Неутвержденный приказ силы не имеет и выполнению не подлежит. При
работах на одном отключенном участке нескольких бригад энергодиспетчер должен
выдавать приказ производителю работ каждой бригады.
Инструктаж производителем работ членов бригады и
допуск к работе.
Лицо, выдающее наряд или распоряжение, обязано
провести инструктаж (без письменного изложения содержания инструктажа)
производителя работ об особенностях предстоящей работы, порядке безопасного ее
выполнения.
Инструктаж оформляется подписью лица, выдавшего
наряд, и производителя работ в наряде. При работе по распоряжению инструктаж
производителю работ и членам бригады оформляется в оперативном журнале с
подписями лица, выдавшего распоряжение, производителя работ и членов бригады.
Если наряд или распоряжение передается по
телефону (радио) или с нарочным, инструктаж производится соответственно по
телефону (радио) или письменно с фиксированием в журнале регистрации
инструктажа по охране труда или в оперативном журнале.
Производитель работ должен допустить бригаду к
работам лишь после получения приказа от ЭЧЦ. Если работа выполняется без
приказа, разрешением на допуск являются наряд или распоряжение на производство
работы и согласование энергодиспетчером ее выполнения.
Перед допуском к работе по наряду или
распоряжению производитель работ обязан непосредственно на месте работы
произвести инструктаж членов бригады, в котором должен указать:
содержание предстоящей работы;
условия производства работы (ее категорию,
технологию);
точные границы зоны и мест работы каждого члена бригады;
места расположения поблизости нейтральных частей
и частей, оставшихся под рабочим или наведенным напряжением (при работах вблизи
напряжения или со снятием напряжения и заземлением), а также места расположения
заземленных и нейтральных частей (при работах под напряжением);
места секционирования;
места, на которых запрещается работа, а также
опасные места;
места установки заземляющих штанг с выделением
специальных лиц для их установки;
особенности в ограждении места работ;
порядок перемещения в зоне работы;
порядок применения дрезины или автомотрисы,
изолирующей съемной вышки, механизмов.
После инструктажа производитель работ и все
члены бригады должны расписаться в соответствующих графах наряда, производитель
работ - в таблице "Рабочее место подготовлено", члены бригады - под
строкой таблицы "С характером работ ознакомлен, инструктаж от
производителя (руководителя) работ получил".
Оформление инструктажа, получаемого членами
бригады от производителя работ, при работах по распоряжению не требуется.
Если предстоит работа со снятием напряжения и
заземлением, все члены бригады получают инструктаж до установки первой
заземляющей штанги, а расписываются после того, как производитель работ
проверит правильность завешивания заземляющих штанг и осуществит допуск к
работе. Члены бригады, выделенные для завешивания заземляющих штанг и
ограждения места работ, расписываются в наряде о получении инструктажа до
установки первой заземляющей штанги.
Во всех случаях допуск осуществляет
производитель работ после того, как он лично непосредственно на месте работы
убедится в выполнении всех необходимых мероприятий, обеспечивающих возможность
безопасного ее производства.
При выполнении однотипных работ инструктаж и
допуск на каждом рабочем должны осуществляться после сбора всей бригады, кроме
сигналистов, и подписи производителя работ и каждого работающего в
соответствующей графе наряда.
При выполнении комбинированной работы
производитель работ должен перед началом работы распределить обязанности между
исполнителями, провести общий инструктаж, после чего члены бригады
расписываются в наряде.
Надзор во время работы
Надзор за работающими должен осуществлять
производитель работ. Он должен принимать участия в работе по наряду. Если
работа выполняется по одному наряду двумя или более группами работников, при
выписке наряда в каждой группе назначается свой наблюдающий. Производитель
работ в этом случае осуществляет общее руководство работами и контролирует
выполнение мер безопасности во всех группах.
Лица, ведущие надзор, обязаны непрерывно
контролировать выполнение работ исполнителями в полном соответствии с выданным
нарядом и технологией, следить за соблюдением членами бригады требований
Инструкций. Они обязаны отстранять от работы в бригаде лиц, нарушающих эти
требования. Лица, отстраненные от работы, могут быть допущены к работе после
проведения инструктажа и повторной подписи в наряде.
При необходимости проверки качества работы
производитель работ должен на это время назначить наблюдающего из состава
бригады. Если производителю работ по каким-либо причинам необходимо на короткое
время отлучиться с места работы, бригада должна прекратить работу, собраться в
указанном производителем работ месте и возобновить работу лишь после
возвращения производителя работ. Если на месте работ присутствуют руководители
службы, отдела электрификации, ЭЧ, начальник ЭЧК, старший электромеханик или
электромеханик, и они не являются производителями работ (на них не выписан
наряд), то эти лица обязаны также осуществлять надзор за соблюдением
работающими требований безопасности. Им запрещается принимать участие в работах
без соответствующего оформления в наряде и подменять производителя работ.
Оформление перерывов в работе, переходов на
другое рабочее место. Перерывы в работе в течение рабочего дня оформляются в
наряде в таблице "Рабочее место подготовлено". Производитель работ
должен вывести из зоны работы всю бригаду и разрешить вновь приступить к ее
выполнению только после возвращения всех членов бригады, личной проверки, что
условия производства работ не изменилось, повторного инструктажа и подписи
производителя работ и всех членов бригады в наряде. Уведомлять энергодиспетчера
о перерывах в работе в течение рабочего дня не требуется.
Перерыв в работе по окончании рабочего дня
оформляется отметкой в наряде о времени ее окончания с уведомлением об этом ЭЧЦ
В случае перерыва работы на линии, отключенной на все время работы, заземления
могут не приниматься.
Допуск к прерванной работе на следующей день
должен быть осуществлен производителем работ только после осмотра места работы,
проверки возможности безопасного ее производства и инструктажа членов бригады с
подписью производителя работ и членов бригады в наряде в порядке, указанном
выше.
Переходы на другое рабочее место при выполнении
однотипных работ, а также работ, составляющих единый технологический комплекс,
кроме комбинированных работ, оформляются в наряде с указанием времени начала и
окончания работы, подписью производителя работ и членов бригады о получении ими
инструктажа на каждом рабочем месте.
Если работа выполняется под напряжением в
пределах фидеров, указанных в наряде, а также со снятием напряжения с
контактной сети, то срок действия наряда при необходимости может быть продлен
до 5 суток лицом, выдавшим наряд.
После полного окончания работ производитель
работ должен закрыть наряд и передавать его лицу, выдавшему этот наряд, или
начальнику ЭЧК, которые обязаны проверить правильность окончательного
заполнения наряда производителем работ.
Техническими мероприятиями, обеспечивающими
безопасность работающих со снятием напряжения и заземлением, являются:
закрытие путей перегонов и станций для движения
ЭПС или всех поездов, выдача предупреждений на поезда и ограждение места работ;
снятие рабочего напряжения, вывешивание
запрещающих плакатов и принятие мер пропив ошибочной подачи его на место
работы;
проверка отсутствия напряжения;
наложение заземлений, шунтирующих штанг или
перемычек, включение разъединителей;
освещение места работы в темное время суток.
Закрытие путей перегонов и станций для движения
ЭПС или всех поездов, выдача предупреждений на поезда и ограждение места работы
Если для производства работы на контактной сети
требуется закрытие перегона или главных путей станций для движения всех поездов
или только ЭПС, оно производится поездным диспетчером на основании заявки ЭЧЦ,
зарегистрированной в журнале приказов поездного диспетчера.
На станционных путях работы, требующие снятия
напряжения с контактной сети, ограждения сигналами остановки или уменьшения
скорости, производятся на основании предварительной заявки производителя работ
дежурному по станции с записью в журнале осмотра путей, стрелочных переводов,
устройств СЦБ, связи и контактной сети (журнале СБЦ) после согласования этой
работы дежурным по станции.
Если станция оборудована диспетчерской централизацией,
то заявка записывается энергодиспетчером в журнале приказов поездного
диспетчера, и работа должна быть разрешена им. В этом журнале должно быть
указано, какие пути, стрелки, съезды или секции контактной сети и с какого
времени должны быть закрыты для движения всех поездов или только ЭПС.
При необходимости одновременно снятия напряжения
с контактной сети перегонов и станции (работа на изолирующих сопряжениях)
закрытие путей производит поездной диспетчер. При работе на перегонах и главных
путях станций со съемной изолирующей вышки на все поезда ко времени начала
работы бригады должны выдаваться предупреждения. Производитель работ до начала
работ обязан иметь подтверждение о действии предупреждения. Энергодиспетчер не
должен разрешать работу со съемной вышки без проверки действия предупреждения.
Монтаж конструкций контактной сети (консолей,
кронштейнов), раскатку и подъем проводов следует выполнять с закрытием пути для
движения поездов, со снятием напряжения с контактной подвески, ее заземлением в
установленном порядке и с оформлением заявки на выдачу предупреждений поездам,
следующим по соседним путям.
При производстве работ, препятствующих проходу
поездов, место работ должно быть ограждено сигналами остановки в соответствии с
требованиями правил [13] и инструкции [14].
Ограждение изолирующих съемных вышек
производится в соответствии с требованиями [14] и инструкции по обеспечению
безопасности движения поездов при производстве работ на контактной сети с
изолирующих съемных вышек.
Приказ на снятие напряжения с контактной сети
ЭЧЦ должен дать на основании разрешения поездного диспетчера или дежурного по
станции (полученного через производителя работ) после закрытия ими для движения
всех путей и съездов с изолирующими сопряжением или секционными изоляторами,
при перекрытии которых полозом токоприемника возможно попадание напряжения на
отключаемой участок.
Рабочее напряжение снимается с контактной сети и
связанного с ней оборудования посредством отключения коммутирующей аппаратуры,
обеспечивающей видимый разрыв, а также путем отсоединения шлейфов от контактной
сети.
Отключение аппаратуры и отсоединения шлейфов
должны производиться таким образом, чтобы зона работ со всех сторон была
отделена видимым разрывом от токоведущих частей, находящихся под рабочим
напряжением.
Для предотвращения ошибочной подачи
разъединителями напряжения на место работ необходимо выполнять следующее меры
безопасности:
разъединители с ручным приводами закрыть на
замок;
на кнопки управления пульта телеуправляемых
разъединителей надеть предохранительные колпачки или заблокировать на включение
контролируемые пункты, а на кнопки дистанционно управляемых разъединителей
повесить запрещающие плакаты "Не включать. Работа на линии" в
количестве, равном числу работающих бригад.
Производитель работ после получения приказа
энергодиспетчера на работу должен обеспечить проверку отсутствия напряжения и
заземление токоведущих частей в следующем порядке:
проверить отсутствие напряжения;
наложить заземление на токоведущие части.
Снятие переносной заземляющей штанги
производится в обратном порядке - штангу снимают с токоведущих частей, а затем
отсоединяют башмак от заземлителя.
Для заземления контактной сети, проводов ДПР и
ВЛ выше 1000 В следует применять переносные заземляющие штанги с медным
заземляющим тросом площадью сечения не менее 50 мм2.
Указанные площади сечения должны иметь и
переносные шунтирующие штанги и перемычки. Конструкция заземляющей штанги
должна обеспечивать надежное ее закрепление на заземленных элементах и
исключать потерю контакта во время работ. В целях соблюдения последовательности
наложения заземления штанги должны иметь соответствующие блокировки.
Заземления контактной сети, и ДПР, как правило,
является тяговый рельс. В случае, если заземление на рельс затруднено,
разрешается заземлять провода контактной сети и ДПР на трос группового
заземления, непосредственно на металлическую опору или на видимый заземляющий
спуск железобетонной (деревянной) опоры после визуальной проверки их
присоединения к рельсу или дроссель-трансформатору и шунтирования искрового
промежутка (диодного заземлителя) перемычкой площадью сечения не менее 50 мм2.
При работах на воздушных питающих линиях
контактной сети в тех случаях, когда соединение их с рельсом затруднено,
питающую линию допускается заземлять на отсасывающую линию.
Если отсасывающая линия проходит в стороне от
путей, то воздушные питающие линии следует заземлять на дополнительно
монтируемый на время работ трос группового заземления, который следует надежно
присоединить к рельсам.
Проверку отсутствия напряжения в контактной сети
допускается производить заземляющей штангой "на искру" или
специальным прибором-указателем наличия рабочего или наведенного напряжения.
Отключенные для производства работ участки
контактной сети, при перемешанном токе должны быть заземлены двумя заземляющими
штангами, расположенными одна от другой на расстоянии не более 200 м.
При работах в зоне наведенного напряжения с
нарушением целости проводов (разрыв) без наложения шунтирующей перемычки
устанавливаются двойные заземления с обеих сторон от места разрыва на
расстоянии не более 100 м. Наложение шунтирующей перемычки на место разрыва
проводов следует выполнять после заземления проводов с обеих сторон и установки
переносной шунтирующей штанги.
Когда ведутся работы по замене (монтажу)
проводов, заменяемые и монтируемые провода должны быть заземлены в указанном
выше порядке.
В местах секционирования заземляющие штанги
должны быть установлены с обеих сторон с обязательным предварительным
включением разъединителей, кроме того, должна быть установлена перемычка
площадью сечения не менее 50 мм^2, шунтирующая разъединитель или соединяющая
обе секции.
При выключенном разъединителе или при его
отсутствии на каждую секцию контактной сети должно быть установлено по 2
заземляющих штанги.
Для работы на разъединителях заземляющие штанги
должны устанавливаться по одной на каждый полюс разъединителя. После установки
заземления каждый полюс разъединителя при отключенном его положении должен быть
зашунтирован перемычкой на весь период работы.
Заземляющие штанги должны находиться в пределах
одного блок-участка и присоединяться к одному и тому же тяговому рельсу.
Если зона работы одной или нескольких бригад
перекрывает изолирующий стык автоблокировки, то работа должна выполняться с
закрытием пути для движения всех поездов.
Если зона работы охватывает 2 и более секций
контактной сети, то каждая из этих секций должна быть заземлена самостоятельно.
При выполнении работы с дрезины или автомотрисы
допускается использованные штанги, заземляющий провод которой присоединен к
раме дрезины или автомотрисы. Эту штангу следует завешивать в качестве второй и
лишь после установки на контактной сети штанги, присоединенной к рельсу.
Отключение и заземление линий электропередачи,
расположенных в зоне работы и находящихся в ведении других организаций, должно
производиться лицами, непосредственно их эксплуатирующими.
Допускается заземление таких линий работниками
ЭЧК после получения через энергодиспетчера уведомления от эксплуатирующей линию
организации о снятии напряжения.
Техническими мероприятиями, обеспечивающими
безопасность работ под напряжением, являются:
выдача предупреждений на поезда и ограждение
места работ;
выполнение работы только с применением средств
защиты;
включение разъединителей, наложение стационарных
и переносных шунтирующих штанг и перемычек;
При работах в местах секционирования контактной
сети под напряжением (изолирующие сопряжения анкерных участков, секционные
изоляторы и врезные изоляторы), а также при отсоединении шлейфов
разъединителей, разрядников, отсасывающие трансформаторов от контактной сети и
монтаже вставок в провода контактной сети следует применять шунтирующие штанги,
установленные на изолирующих съемных вышках, изолирующих рабочих площадках
автодрезин и автомотрис, а также переносные шунтирующие штанги и шунтирующие
перемычки.
Площадь сечения медных гибких проводов указанных
штанг и перемычек должна быть не менее 50 мм^2. Для соединения проводов
различных секций, обеспечивающих передачу тягового тока, необходимо применять
перемычки из медного гибкого провода площадью сечения не менее 70% площади
сечения соединяемых проводов.
При работах на изолирующем сопряжении анкерных
участков, на секционном изоляторе, разделяющем две секции контактной сети,
врезных изоляторах следует включать шунтирующие их секционные разъединители.
Во всех случаях на месте работы должна быть
установлена шунтирующая перемычка, соединяющая контактные подвески смежных
секций. Расстояние от работающего до этой перемычки должно быть не более 1-го
мачтового пролёта. Если расстояние до шунтирующего секционного разъединителя
свыше 600 м, площадь сечения шунтирующей перемычки на месте работы должна быть
не менее 95 мм2 по меди.
контактный сеть электроснабжение
изолятор
7.2 Особенности организации и ведения работ при
ликвидации последствий производственных аварий, катастроф, стихийных бедствий
Под стихийными бедствиями следует понимать такие
явления природы, которые носят чрезвычайный характер и приводят к нарушению
нормальной деятельности населения, гибели людей, разрушению и уничтожению
материальных ценностей. Наиболее характерное стихийное бедствие для различных
географических районов нашей страны - землетрясение, наводнение, селевые потоки
и оползни, снежные лавины, бури и ураганы, пожары. Крупными производственными
авариями считают выход из эксплуатации машин, механизмов, агрегатов, устройств
и сооружений в результате стихийных бедствий или в следствии нарушений
технологий производства, правил эксплуатации и мер безопасности. Они угрожают
жизни людей и окружающей среде. Под катастрофами понимают внезапное бедствие:
события, влекущие за собой трагические последствия.
Не смотря на различный характер стихийных
бедствий, производственных аварий и катастроф. Общим для них является
внезапность возникновения, гибель людей и значительный материальный ущерб.
Для ликвидации последствий, названных стихийными
бедствиями, могут привлекаться как формирование общего назначения, так и
формирования служб гражданской обороны, министерство чрезвычайных ситуаций. В
отдельных случаях помимо указанных формирований могут привлекаться воинские
части Вооружённых Сил Российской Федерации.
Основная задача формирований при ликвидации
последствий стихийных бедствий, крупных аварий и катастроф - спасение людей и
материальных ценностей. Характер и порядок действий формирований при выполнении
этой задачи зависит от вида стихийного бедствия, аварии или катастрофы,
сложившейся обстановки, количества и подготовленности привлекаемых сил ГО,МЧС,
времени года и суток, погодных условий и других факторов. Успех действий формирований
во многом зависит от своевременной организации и проведения разведки и учёта
конкретных условий обстановки.
В районах стихийных бедствий разведка определяет
границы: очага бедствий и направление его распространения, объекты и населённые
пункты, которым угрожает непосредственная опасность, места скопления людей,
пути подхода техники к местам работ, состояние повреждённых зданий и
сооружений, а также наличие в них людей, место на коммунально-энергетических
сетях, объём спасательных и неотложных аварийно-восстановительных работ.
При крупных авариях и катастрофах разведка
уточняет степень и объём разрушения и возможность проведения работ без средств
индивидуальной защиты, возможность обрушения зданий и сооружений, которые могут
повлечь за собой увеличение размера аварии или катастрофы, места скопления
людей и степень угрозы для их жизни, а также состояние
коммунально-энергетических сетей и трансформаторных коммуникаций.
В состав разведывательных формирований
рекомендуется включать специалистов, знающих расположение объекта и специфику
производства. Если в районе предстоящих действий могут быть сильно действующие
вещества, то в состав разведывательных формирований необходимо включать
специалистов-химиков и медицинских работников .
В связи с внезапностью возникновения стихийных
бедствий, крупных аварий и катастроф оповещение личного состава формирований ГО
и МЧС, и их укомплектования, создание группировки производится в короткие
сроки.
Выдвижения формирований из районов сбора в район
действий осуществляется в максимально сжатые сроки.
В районах стихийных бедствий и местах крупных
аварий спасательные работы в первую очередь проводят с целью предупреждения
возникновения катастрофических последствий, бедствий, предотвращение
возникновения вторичных причин, которые могут вызвать гибель людей и
материальных ценностей.
Командиры формирования должны постоянно знать
обстановку в районе работ и в соответствии с её изменением уточнять или ставить
новые задачи подразделением. После выполнения поставленных задач формирования
выводятся в район постоянного расквартирования.
а) Организация и ведения аварийных работ при
ликвидации последствий землетрясений.
При землетрясениях при ведении спасательных и
неотложных аварийно-восстановительных работ привлекаются спасатели, свободные
отряды (команды) механизации работ, аварийно-технические команды, другие
формирования, которые имеют на оснащении экскаваторы, краны, тягачи,
механизированный инструмент и малой механизации. Успех в выполнение
спасательных работ во многом зависит от степени их механизации.
При проведении спасательных работ в очаге
землетрясения, прежде всего, извлекают из-под завалов, из полуразрушенных и
горящих зданий людей, которым оказывают первую медицинскую помощь; устраивают в
завалах проезды; локализируют и устраняют аварии на инженерных сетях, которые
угрожают жизни людей или препятствуют проведению спасательных работ; обрушивают
или укрепляют конструкции зданий и сооружений, находящихся в аварийном
состоянии; оборудуют пункты сбора пострадавших и медицинские пункты; организуют
водоснабжения.
Организация и ведения спасательных работ при
наводнениях.
При наводнении для проведения спасательных работ
привлекают спасательные отряды, команды и группы, а также ведомственные
специализированные команды и подразделения, оснащённые плавсредствами,
санитарные дружины и посты, гидрометеорологические посты, разведывательные
группы, сводные отряды механизации работ, формирования строительных,
ремонтно-строительных организаций, охрана общего порядка.
Спасательные работы при наводнениях направлены
на поиск людей на затопленной территории и их эвакуации в безопасные места.
Разведывательные группы и звенья, действующие на катерах и вертолётах,
определяют места скопления людей на затопленной территории и их состоянии и
периодически подают световые и звуковые сигналы. На основании полученных данных
разведки начальник ГО уточняет задачи формированиям и выдвигает их к объектам
спасательных работ.
Обстановка в районе может резко осложнится в
результате разрушения гидротехнических сооружений. Работы в этом случае
проводятся с целью повышения устойчивости защитных средств существующих дамб,
плотин и насыпей. Предупреждение и ликвидация подмыва водой земляных сооружений
и наращивания их высоты. Борьбу с наводнением в период ледохода ведут путём
устранения заторов, образующихся на реках.
Организация ведения спасательных работ при
селевых потоках.
При селевых потоках противоселевая служба
предупреждения оповещает населения и формирования. Проводится сбор формирований
и выдвижения их к угрожающих участков.
Спасательные и аварийные группы спасают людей и
эвакуируют их в безопасные районы, устраивают проезды очищают смотровые колодцы
и камеры на коммунально-энергетических сетях, восстанавливают дороги и
гидротехнические сооружения.
Организация и ведение спасательных работ при
оползнях.
При оползнях, о начавшейся подвижке пород, штаб
ГО оповещает объекты и населения, проживающие в оползневом районе, организуют
эвакуацию людей и материальных ценностей. При ликвидации оползней личный состав
формирований и населения должны строго соблюдать меры предосторожности. Опасные
участки ограждают специальными значками, обращают особое внимание на кран
работающих машин. При работе в ночное время траншеи, канавы и другие опасные
места ограждают и обозначают световыми сигналами.
Организация и ведение работ при ликвидации
пожаров.
Ликвидация пожара состоит из остановки пожара,
его локализации. При ликвидации пожаров в первую очередь организуется пожарная
разведка, которая устанавливает места, границы пожаров, направления
распространения, степень их опасности, наличие водоисточников и путей
выдвижения к пожару. Противопожарные выдвижения выезжают к месту пожара , не
дожидаясь окончания разведки. Начальник противопожарной службы осуществляет
руководство тушения пожаров. Он определяет порядок проведения работ по спасению
людей, распределяет силы и средства для тушения пожаров, устанавливает
последовательность и объём работ, необходимость вызова дополнительных сил.
Борьба с лесными пожарами может вестись
активными и пассивными способами или сочетанием этих способов при больших
пожарах.
Активный способ применяется при наличии
достаточных сил и средств для борьбы с низовыми пожарами. При этом необходимо в
первую очередь остановить фронт огня, затем не допустить распространения огня,
сосредоточив усилие на флангах, после чего сосредоточить усилие на тыловой
кромке огня.
Пассивный способ заключается в отдыхе на заранее
подготовленный или естественный рубеж и борьбе с пожаром при недостатке сил.
Главным способом тушения подземного торфяного пожара является окапывание
горящей территории торфа оградительными канавами. Средствами тушения пожаров
является вода, песок или грунт, а также огнетушители, ветки деревьев, одежда и
другие.
Основным правилом каждого, кто привлечён к
тушению пожаров, должны быть осторожны и предусмотрительны.
Ликвидация последствий крупных производственных
аварий и катастроф
Наиболее опасными последствиями производственных
аварий(катастроф) являются пожары, взрывы, обвалы, затопления, образование зон
заражения, столкновение движущих объектов и другие последствия, приводящие к
человеческим жертвам.
Ликвидация последствий крупных производственных
аварий(катастроф) включает следующие виды работ: оповещение рабочих и служащих;
ведение разведки; организацию комендантской службы; спасение людей, оказание им
экстренной медицинской помощи и эвакуацию; тушению пожаров; локализацию аварий
на коммунально-энергетических сетях; устройство проездов и проходов; выявление
угрожающих обвалом зданий; монтаж сохранившегося оборудования; организацию
всестороннего обеспечения перечисленных работ.
В целях недопущения возникновения
производственных аварий на любом производстве необходимо проводить
соответствующие мероприятия по предупреждению возможных причин их
возникновения. К таким мероприятиям относятся: создание безопасных условий
работы рабочих и служащих объекта; разработка мероприятий по безаварийной
остановки производства в случае перебоев в поступлении электроэнергии, воды или
сырья; обеспечение устойчивости управлении производством в различных условиях;
создание специальных формирований и запасов материалов для быстрой ликвидации
неполадок и сбоев в работе.
Анализ причин возможного возникновения
производственных аварий и выполнение мероприятий по их предотвращению должны
регулярно осуществляться на промышленных объектах.
Заключение
В Дипломной работе проведен анализ методов
диагностики технического состояния устройств контактной сети Абаканской
дистанции электроснабжения.
С учетом особенностей основных устройств
контактной сети как объектов диагностирования выполнен обзор и дана
сравнительная характеристика различных методов, аппаратурных и программных
технических средств диагностирования контактной подвески, опорных конструкций,
изоляторов, контактных соединений и контактов разъединителей.
Результаты диагностических испытаний и измерений
были соответствующим образом обработаны, и на основе полученной информации
проведен анализ технического состояния устройств контактной сети Абаканской
дистанции электроснабжения, что позволит полнее использовать ресурс
оборудования, планировать работы по ремонту и обновлению, снизить
эксплуатационные затраты, повысить безотказность устройств и безопасность
движения, улучшить условия труда, повысив его творческую содержательность и
привлекательность.
По мере развития технических средств
диагностирования появится возможность контролировать техническое состояние все
больше различных устройств контактной сети, дистанционно, в том числе и при
объезде в вагоне-лаборатории.
Приложение А
Примеры результатов измерений ИВК ВИКС
параметров контактной подвески и графическое представление измерений показаны
на рисунке А.1-А.6
Рисунок А.1 - ЭЧК-29, перегон Тузуксу-Тея,
отклонения от нормативных значений зигзагов, опор №72 и 76 (по 100 штрафных
баллов). Так же зафиксирован недопустимый наклон указанных опор (по 50 баллов)
Рисунок А.2- ЭЧК-29, перегон Тузуксу-Тея,
зигзаг, подхват фиксатора опора №89 (100 штрафных баллов), уклон (150 штрафных
баллов)
Рисунок А.3 - ЭЧК-29, перегон Тузуксу-Тея,
подхват фиксатора опора 109 (50 штрафных баллов), превышение высоты в пролете
опор 108-110 (по 100 штрафных баллов). Визуально - недопустимый наклон опоры №
106 (50 штрафных баллов)
Рисунок А.4 - ЭЧК-29, перегон Тузуксу-Тея,
аварийный зигзаг, опора №152 (400 штрафных баллов), подхваты фиксатора опора
152, 153 (по 50 штрафных баллов), уклон опора 157 (150 штрафных баллов)
Рисунок А.5 - ЭЧК-29, перегон Тузуксу-Тея,
превышение высоты в пролете опор 190-197 (по 100 штрафных баллов)
Рисунок А.6 - ЭЧК-29, перегон Тузуксу-Тея,
ненормативный зигзаг опора № 89 (100 штрафных баллов
Ведомость отступлений по участку Тузуксу-Тея
Таблица А.1 Расчет оценки состояния по
регулируемым параметрам
|
Штрафных
баллов
|
2950
|
|
Проверено
метров
|
11367
|
|
Средний
балл
|
259
|
|
Оценка
|
неудовлетворительно
|
Приложение Б
Приложение В
Основные дефекты и характерные повреждения опор
контактной сети по результатам диагностирования
В.1 Результаты входного контроля железобетонных
стоек
По результатам входного контроля была
забракована партия стоек типа СС Толмачевского завода по следующим параметрам:
Отсутствие установленных закладных деталей и
гидроизоляционного покрытия фундаментной части стоек (рисунок В.1), отклонения
действительных значений геометрических размеров расположения отверстий (рисунок
В.2), низкая прочность бетона (рисунок В.3). Несоответствующие ГОСТу стойки не
были приняты для использования их в качестве опор контактной сети.
Рисунок В.1-Отсутствие установленных закладных
деталей и гидроизоляционного покрытия фундаментной части стоек
Рисунок В.2- Отклонения действительных значений
геометрических размеров расположения отверстий
Рисунок В.3 Низкая прочность бетона
В.2 Примеры дефектов опор
Рисунок В.4-Выкол бетона (дефект 1Ц), причина -
постороннее воздействие
Рисунок В.5-Продольные трещины (дефект5Ц),
причина - неравномерное увлажнение бетона, температурные воздействия
Рисунок В.6-Поперечные трещины (дефект 6Ц),
причина - временная перегрузка опоры в процессе монтажа
Рисунок В.7-Сетка мелких трещин (дефект 7Ц),
причина - воздействие внутренних напряжений при замораживании и оттаивании
бетона
Рисунок В.8- Комплексные повреждения: местный
выкол с обнажением арматуры (1Ц), коррозийные разрушения арматуры (3Ц), трещины
(5Ц и 7Ц)
Рисунок В.9 - Сетка мелких трещин в зоне
креплениея консоли
Рисунок В.10 - Повреждение фундамента
железобетонной опоры
Рисунок В.11 - Железобетонная опора,
поврежденная путевой техникой
Рисунок В.12 - Металлическая опора, поврежденная
путевой техникой
Рисунок В.13-Коррозия арматуры нижней надземной
части железобетонной опоры, из-за выполнения декоративного покрытия
влагонепроницаемой краской (масляной эмалью ПФ)
Приложение Г
Результаты тепловизионного контроля

Рисунок Г.2 - Фотография дефектной детали после
замены
Рисунок Г.3 - Термограмма разъединителя ФЛ-2,
дефекта контакта
Рисунок Г.4 - Фотография дефектной детали после
замены
Рисунок Г.5 - Термограмма и фотография стыковки
линии отсоса, дефект контактного соединения
Таблица Г.1- Результаты термограммы
|
Параметр
|
Значение
|
|
Температура
воздуха
|
16,0
0С
|
|
Номинальный
ток
|
-
|
|
Ток
нагрузки
|
-
|
|
Измеренная
температура
|
21,3
0С
|
|
Превышение
температуры
|
5,3
0С
|
|
Предельно-допустимое
превышение температуры при Iном
|
50,0
0С
|
|
Предельно-допустимое
превышение температуры при Iраб
|
-
|
|
Степень
развития дефекта
|
-
|
Рисунок Г.6 - Термограмма разъединителя ШР 27.5,
дефекта контакта
Рисунок Г.6.1 (а,б) - Фотография дефектной
детали после замены
Рисунок Г.7 - Термограмма дефекта контактного
соединения шины к вводу выключателя
Рисунок Г.8-Термограмма и фотография линии ФКС
№3, дефекты контактных соединений стыковых соединений стыковок шлейфа.ЭЧК-36,
ст. Кошурниково. Дата: 14.06.05
Таблица Г.2 - Результаты термограммы
|
Параметр
|
Значение
|
|
Температура
воздуха
|
22,0
0С
|
|
Номинальный
ток
|
1000
А
|
|
Ток
нагрузки
|
400
А
|
|
Измеренная
температура
|
31,3
0С
|
|
Превышение
температуры
|
9,7
0С
|
|
Предельно-допустимое
превышение температуры при Iном
|
50,0
0С
|
|
Предельно-допустимое
превышение температуры при Iраб
|
8,0
0С
|
|
Степень
развития дефекта
|
аварийный
|
Рисунок Г.9 - Термограмма разъединителя Л-3,
дефект контакта
Таблица Г.3 - Результаты термограммы
|
Параметр
|
Значение
|
|
Температура
воздуха
|
22,0
0С
|
|
Номинальный
ток
|
1000
А
|
|
Ток
нагрузки
|
400
А
|
|
Измеренная
температура
|
27,0
0С
|
|
Превышение
температуры
|
5,0
0С
|
|
Предельно-допустимое
превышение температуры при Iном
|
35,0
0С
|
|
Предельно-допустимое
превышение температуры при Iраб
|
5,6
0С
|
|
Степень
развития дефекта
|
развившийся
|
Список литературы
1. Правила устройства и
технической эксплуатации контактной сети электрифицированных железных дорог,
ЦЭ-684, утв. М., "Транспорт", 2001 г.-80с.
2. Балльная оценка состояния
контактной сети. Департамент электрификации и электроснабжения Министерства
путей сообщения Российской Федерации. - М., "Трансиздат", 2002
г.-150с.
3. ГОСТ 19330-99. Стойки
железобетонные для опор контактной железных дорог. Технические условия.-125с.
. Ванштейн А.Л., Павлов А.
В.Коррозийные повреждения опор контактной сети. - М.: Транспорт, 1988 г.-90с.
. Указания по техническому
обслуживанию и ремонту опорных конструкций контактной сети. (К-146-2002)
Департамент электрификации и электроснабжения Министерства путей сообщения
Российской Федерации. - М., "Трансиздат", 2003 г.-180с.
. Методические указания по
приемочному контролю железобетонных опор контактной сети, МПС РФ, Красноярская
ж. д., г. Красноярск, 2001 г.-80с.
. Инструкция по эксплуатации
металлических несущих конструкций устройств электроснабжения железных дорог,
ЦЭТ-39. Управление электрификации и электроснабжения Министерства путей
сообщения Российской Федерации. - М., "Транспорт", 1993 г.-115с.
. Инструкция по заземлению
устройств электроснабжения на электрифицированных железных дорогах, ЦЭ-191,
утв. МПС России от 10.06.93 г., М.,1993 г.-86с.
9. Технологии оценки состояния
фарфоровых изоляционных конструкций высоковольтных установок. Шейкин А. А и др.
- СПб.: ПЭИПК, 2004 г.-150с.
10. Контактная сеть и воздушные
линии. Нормативно-методическая документация по эксплуатации контактной сети и
высоковольтным воздушным линиям - СПРАВОЧНИК. Департамент электрификации и
электроснабжения Министерства путей сообщения Российской Федерации. - М.,
"Трансиздат", 2001 г.-350с.
11. Объем и нормы испытаний
электрооборудования/ Под общ. Ред. Б. А. Алексеева, Ф.Л Когана, Л. Г.
Мамиконянца. -М.: Изд-во НЦ ЭНАС, 2001 г.-180с.
12. Володарский А. В. Опыт
тепловизинонного контроля устройств электроснабжения ж. д. в кн.
Ресурсосберегающие технологии на железнодорожном транспорте: Материалы
Всероссийской научно-практической конференции с международным участием: В 2 т./
Отв. ред. В. П. Суров. Красноярск: Изд-во "Гротеск", 2005 г.-300с.
. Правила безопасности при
эксплуатации контактной сети и устройств электроснабжения автоблокировки
железных дорог, ЦЭ-750: - М., Трансиздат, 2000 г.-80с.
. Ефимов А.В., Галкин А.Г.
Надёжность и диагностика систем электроснабжения железных дорог: Учебник для
вузов ж/д транспорта / М : УМК МПС России, 2000 г.-280с.
. Контактная сеть и
воздушные линии. Иллюстрированное пособие по техническому обслуживанию и
ремонту контактной сети и воздушных линий. Департамент электрификации и
электроснабжения ОАО "Российские железные дороги". - М.,
"Трансиздат", 2006 г.-360с.
. Железобетонные опоры
контактной сети . конструкция, эксплуатация, диагностика М : Интекст, ВНИИЖТ.
2007г.-180с.