Эмпирические топологии поверхностей скорости зародышеобразования
Курсовая
работа по теме:
Эмпирические
топологии поверхностей скорости зародышеобразования
Введение
Одной из важных проблем физики аэрозолей
является проблема их искусственного разрушения (осаждения) с целью
предупреждения загрязнения атмосферы индустриальными аэрозолями, образующимися
во многих технологических процессах. Значение этой проблемы в дальнейшем будет
лишь увеличиваться, поэтому, по крайней мере, необходимы экспертные оценки и
прогноз, основанные на результатах моделирования загрязненности атмосферы
аэрозольными частицами.
Другой важной проблемой является использование
регулируемой конденсации при нанесении кластерных и нанопокрытий в порошковой
металлургии и материаловедении. Здесь важно уметь, как ускорять, так и
замедлять скорость нуклеации, поскольку это оказывает влияние на вид функции
распределения по размерам осаждающихся кластеров, и как следствие, на
характеристики покрытия.
Кроме того, при решении многих задач в
современной аэродинамике, газодинамике, теплоэнергетике, металлургии, экологии,
материаловедении и целом ряде других областей науки и техники приходится решать
задачи, связанные с моделированием процесса (неравновесной) нуклеации.
Процессы фазового перехода первого рода
начинаются с возникновения первого (критического) зародыша новой фазы.
Исключительно важна как фундаментальная сторона вопроса, связанная с кинетикой
фазового перехода, так и практическая - необходимость создания инженерных
методов расчёта кинетики образования новой фазы, потребность в которых испытывают
многие отрасли науки и техники. Образование и конденсация паров серной кислоты
в процессе её производства или в атмосфере, образование смога над промышленными
центрами, кипение, кристаллизация, полимеризация - кинетика всех этих процессов
определяется зародышеобразованием.
На сегодняшний день существует несколько
теоретических подходов к решению этой проблемы, например классическая теория
нуклеации [1;2;3], однако они не только не позволяют предсказывать поведение
исследуемой системы с необходимой точностью, но и в целом ряде случаев даже
качественно не воспроизводят наблюдаемые процессы. Более того, имеется ряд
трудностей для теоретического обобщения на более сложные явления, такие как:
ион-индуцированная нуклеация, нуклеация в присутствии большого количества
газа-носителя и др. Дискуссионным до сегодняшнего дня остается вопрос о влиянии
давления газа - носителя на нуклеацию пара. В данной работе рассматривается
возможность интерпретации роли газа-носителя, как еще одного нуклеирующего
компонента.
1. Литературный обзор
.1 Теория нуклеации пересыщенного
пара
Классическая теория нуклеации базируется на
фундаментальных уравнениях термодинамики и физической кинетики. Большинство
современных теорий основываются на классической модели Сциларда и Фаркаша, согласно
которой пар состоит из одиночных молекул и молекулярных агрегатов различных
размеров. При этом кластеры увеличивают свой размер за счёт присоединения
единичных молекул.
где
-
соответственно, мономер, димер и n-мер.
Кинетика этих процессов аналогична химической
кинетике, когда кластеры каждого размера рассматриваются как индивидуальные
химические соединения.
,
где
-
концентрация i-мера,
- константы
скорости присоединения и испарения, соответственно, t - время.
Образование зародыша критического размера
происходит при преодолении кластером энергетического барьера. Общеизвестно, что
процесс нуклеации сопровождает фазовые переходы первого рода. Для этих
переходов типичны метастабильные состояния.
Первое теоретическое описание процесса
образования новой фазы было сделано в 1878г. Дж. В. Гиббсом [3].
Гиббс впервые ввел строгое термодинамическое понятие о критических зародышах
новой фазы и заложил основу для формализованного описания скорости нуклеации.
Причина устойчивости метастабильных состояний, согласно Гиббсу, связана с
необходимостью совершения работы для создания межфазной поверхности раздела.
Свободная энергия образования кластеров, с которой связан ряд важных
термодинамических соотношений, является одним из основных параметров в теории
зародышеобразования. Макроскопический подход дает возможность количественного
описания нуклеации, использующий представления термодинамики и статистической
физики, хорошо определенные для систем из большого числа молекул.
Рассмотрим замкнутую систему при температуре Т,
содержащую пар при давлении р и отдельные капельки жидкости радиуса r,
состоящие из n молекул. Изменение свободной энергии Гиббса при образовании
сферического кластера может быть записано следующим образом:
,
где
-
химические потенциалы молекул в жидкой и паровой фазах, соответственно, r -
радиус кластера,
- коэффициент
поверхностного натяжения. Сомножитель первого слагаемого правой части данного
уравнения может быть оценен следующим образом:
,
где
-объемы
молекул в жидкой и паровой фазах,
-
давление пара. Рассматривая пар как идеальный газ, пренебрегая объемом молекулы
в конденсированной фазе, по сравнению с газообразной фазой, и интегрируя
полученное уравнение, имеем:
,
где k - константа Больцмана, Т - температура, S
-пересыщение, равное отношению парциального давления пара к равновесному при
данной температуре.
Предполагая макроскопическое приближение для
физико-химических свойств зародыша новой фазы (кластера), можно выразить
суммарную работу образования кластера как сумму поверхностного (поверхностная
энергия капли равна
) и объемного
изменения свободной энергии Гиббса. Тогда свободная энергия образования
кластера в капельном приближении имеет вид:
,
В ненасыщенном и насыщенном паре
работа
образования молекулярного комплекса
постоянно
возрастает с увеличением размера кластера. В пересыщенном паре, т.е. при S
>1, часть комплексов достигает критического размера
:
При достижении критического размера
испарение
одной молекулы приводит к уменьшению размера ассоциата, и, обычно, к
последующему испарению кластера. Присоединение одной молекулы к кластеру
увеличивает его размер. Равновесное давление пара над ним понижается, и кластер
начинает самопроизвольно расти. Зародыш жидкости может вырасти в каплю только
при достижении размера больше, чем критический радиус
.
Свободная энергия, затрачиваемая на образование капли радиусом
,
имеет максимальное положительное значение, поэтому радиус, соответствующий
точке максимума, называется критическим радиусом.
Бинарная нуклеация. В этом случае зародыши
образуются за счёт столкновений одиночных молекул разного вида. Также, как и
для однокомпонентной нуклеации, некоторые зародыши находятся в нестабильном
равновесии с паровой фазой и называются критическими. Свободная энергия
образования критических зародышей для двухкомпонентных систем является функцией
двух переменных пересыщений или активностей компонентов.
Энергия образования критического зародыша,
содержащего
молекул вещества 1
и
молекул
вещества 2, выражается в виде:
,
где
-
радиус и коэффициент поверхностного натяжения капли,
-
химические потенциалы компонентов 1 и 2 в сложном кластере (l) и в газовой фазе
(g).
Зародыши могут образовываться, если величина
отрицательная,
т.е. пар каждого компонента является пересыщенным по отношению к образующимся
каплям раствора. Следовательно, первые два члена правой части уравнения
отрицательны, а последний член - всегда положителен.
Уравнение для потенциала Гиббса можно
переписать, используя пересыщения (активности) паров:
Как показано Рейсом [4], для бинарной нуклеации
на графике зависимости
появляется седловая
точка, представляющая энергетический барьер, который необходимо преодолеть
зародышу для образования стабильной капли. Эта точка может быть найдена из
решения двух уравнений:
нуклеация зародыш траектория камера
и
.
Позже начали появляться работы, посвященные
исследованию нуклеации в тройных системах [5], которые могут найти применение
при моделировании процессов городской атмосферы, содержащей кроме паров воды,
серной кислоты и другие примеси.
1.2 Скорость образования зародышей
новой фазы
Описание кинетики образования зародыша новой
фазы было продолжено Фольмером и Вебером [6], получившими аналитическое
выражение для скорости нуклеации:
= K exp(-A/kT) ,
где К - кинетический множитель, характеризующий
частоту столкновений пара с поверхностью зародыша, А - работа, затраченная на
образование критического зародыша, равная:
,
где M - масса нуклеирующей молекулы,
-
плотность зародыша.
Скорость нуклеации зависит от поверхностного
натяжения и пересыщения. Изменение поверхностного натяжения на 5-10% вызывает
изменение скорости нуклеации на несколько порядков [7].
Бинарная нуклеация. Скорость гомогенной гетеромолекулярной
нуклеации можно выразить в виде [6]:
= C exp(G/kT) ,
где С - медленно меняющаяся от внешних условий
частота столкновений одиночных молекул с поверхностью кластера,
-
работа образования критического зародыша.
1.3 Обзор экспериментальных методов
исследования процессов нуклеации
Для изучения динамики генерации аэрозоля
требуются методы, позволяющие создавать пересыщенный пар в контролируемых
условиях. По способу создания пересыщения различают следующие методы: метод
адиабатического расширения, метод турбулентного смешения, метод молекулярной
диффузии, метод химической реакции. Остановимся подробнее на каждом из них.
Метод адиабатического расширения
Первым инструментом в изучении процессов
аэрозолеобразования стала облачная камера Вильсона. Прибор представляет собой
камеру с поршнем и устройством для увлажнения внутренней полости. Быстрое
расширение за счёт движения поршня вызывает охлаждение газа в камере. Поскольку
при этом давление пара в системе превышает равновесное, соответствующее
конечной температуре расширения, то возникает пересыщение, увеличение которого
приводит к нуклеации. Недостатком камеры Вильсона является сложность
определения концентрации генерируемого аэрозоля.
Вагнером и Штреем [8] была предложена
модифицированная двухпоршневая камера Вильсона, реализующая цикл
расширения-сжатия, предложенного Алленом и Касснером [9]. Вагнер и Штрей
сократили время генерации аэрозоля до
.
Недостаток метода - импульсный характер работы камеры, что затрудняет
сокращение времени на получение одной экспериментальной точки. Этот метод был
применён Вагнером и Штреем в изучении процесса аэрозолеобразования в области
скоростей нуклеации от
до 
, Шмидтом с
сотрудниками в области от
до 
.
Адиабатическое охлаждение газа можно также получить
в сверхзвуковых соплах Лаваля. Пар исследуемого вещества, на большой скорости
проходя через сопло, охлаждается и переходит в пересыщенное состояние.
Возникновение нуклеации обычно регистрируется по скачку статического давления
на оси сопла. Этот метод широко применяется при решении нуклеационных проблем
авиации, энергетики и т.д. Верхний предел изучаемых скоростей нуклеации при
охлаждении адиабатическим расширением ограничивается только коагуляцией
аэрозольных частиц.
Метод молекулярных пучков высокой интенсивности
является ещё одним способом получения пересыщения путём адиабатического
охлаждения газа. Молекулярные пучки представляют собой истекающие в высокий
вакуум тонкие сверхзвуковые струи пара, из которых с помощью систем диафрагм
выделяется центральная часть потока [10]. Преимущество метода в том, что он
позволяет изучить распределение кластеров по размеру и непосредственно
критические зародыши. Недостаток - неизотермичность системы, в которой
температуры различных степеней свободы не совпадают, что затрудняет
теоретическое описание системы и интерпретацию эмпирической кинетики
зародышеобразования.
Метод ударных труб является одним из методов
получения пересыщенного пара в результате расширения. В основу этого метода
легло быстрое охлаждение паро-газовой смеси за фронтом ударной волны. Труба
представляет собой устройство, состоящее из двух камер, в котором газ при
высоком и низком давлении разделён диафрагмой. При разрушении диафрагмы
происходит падение давления и охлаждение газа в секции с высоким давлением.
Ходжсон [11] сконструировал трубу с двумя диафрагмами, в которой пар после
разрушения первой диафрагмы, сжимается ударной волной, а затем, после
разрушения второй диафрагмы, расширяется в вакуум. Это позволило расширить круг
веществ, изучаемых этим методом. К недостаткам метода следует отнести сложность
расчётов процессов, происходящих в трубе. Исследуемый диапазон скоростей
нуклеации составляет несколько порядков от
до

.
Метод турбулентного смешивания
Образование аэрозольных частиц может происходить
в результате турбулентного смешивания [12] горячего и холодного газовых
потоков. Температуру смеси, полученную при смешивании двух объемов газа,
концентрацию в ней пара и, следовательно, пересыщение не трудно рассчитать,
зная первоначальный объем и температуру каждого из смешиваемых газов и
содержания в них пара. Расчёты показывают, что пересыщение пара изменяется в
зависимости от соотношения объёмов газов. Данный метод позволяет изучать
процесс нуклеации в интервале скоростей от
до

.
Метод молекулярной диффузии
Работа статической диффузионной камеры основана
на образовании пересыщенного пара в неподвижной газовой смеси между двумя
смоченными исследуемой жидкостью разнотемпературными плоско-параллельными
пластинами. Давление пара жидкости у поверхности обеих пластин соответствует
давлению насыщенных паров
и
при
соответствующих температурах,
и
,
следовательно, пересыщения
. Давление пара и
температура газа снижается от более горячей поверхности к менее нагретой в
результате молекулярной диффузии и теплопроводности. При этом соотношение
скоростей этих процессов таково, что пересыщение пара повышается, достигая
некоторого значения
, (
),
а затем снижается.
В зависимости от направления диффузии пара
различают два типа конструкции термодиффузионной камеры (ТДК). Исторически
первой Лангсдорфом [13] применялась камера, реализующая направление диффузии
сверху вниз. В дальнейшем исследователи перешли на использование камеры обратной
геометрии, когда горячая пластина находиться снизу [14]. Это дает преимущество,
состоящее в том, что в подобных камерах можно было устанавливать замкнутый цикл
жидкости, которая, испаряясь с нижней горячей пластины, конденсировалась на
верхней холодной пластине и опять стекала в нижний резервуар, постоянно
подпитывая испаряющийся объём жидкости. Данный метод позволяет определять
значения скорости нуклеации в области от
до
.
ТДК стала одним из первых инструментов по исследованию влияния давления газа
носителя на скорость нуклеации.
Анисимовым был предложена поточно-диффузионная
камера [15; 16], в которой в ламинарном режиме спутно движутся два
разнотемпературных потока - горячий паро-газовый и холодный из чистого газа.
Молекулярная диффузия и теплопроводность приводят к созданию пересыщения в
системе. Распределение температур и полей пересыщений определяется решением
уравнений тепломассообмена. Диапазон достижимых скоростей нуклеации в
поточно-диффузионной камере составляет интервал от
до

.
Метод химической реакции
Возникновение пересыщенного пара и аэрозоля в
результате химического взаимодействия газообразных веществ в объеме происходит
при условии образования продуктов реакции, которые имеют более низкие значения
давления насыщенных паров по сравнению с исходными веществами. Химические
взаимодействия в паро-газовой среде возникают при столкновении молекул реагирующих
веществ в результате турбулентного или диффузионного перемешивания газов, а
также в результате воздействия на газы различных агентов, инициирующих реакцию,
например, тепла, света, звука. Фотохимический метод получения аэрозолей [17]
имеет ряд преимуществ перед обычными конденсационными методами: аэрозоль,
образующийся при фотолизе, равномерно распределён по объему; не требует
перемешивания, которое может ускорить процесс коагуляции; в результате
образуется хорошо воспроизводимый тонкодисперсный аэрозоль.
Каждый из описанных выше методов имеет свои
достоинства и недостатки и предназначен для изучения процессов
зародышеобразования в своём диапазоне скоростей нуклеации.
2. Описание эксперимента
.1 Описание установки
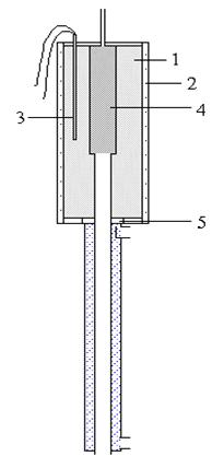
Схема генератора аэрозолей (конденсирующего
устройства) для исследования спонтанной нуклеации паров в газовой среде
представлена на рис.1. Одним из основных элементов генератора аэрозолей
является горячий термостат - насытитель, который представляет собой медную
трубку (1) с внешним диаметром 38 мм, толщиной стенки 18 мм и длиной 110 мм.
Медные детали термостата хромированы. На его внешней поверхности расположен
нихромовый проволочный нагреватель (2). Дрейф температуры насыщения
газа-носителя исследуемым веществом задавался автотрансформатором ЛАТР-2М и
составлял во всех экспериментах величину 0.25¸0.5оС/мин,
что соответствовало скорости изменения подаваемого напряжения на нагреватель
0.5¸1В/мин.
Измерение температуры осуществлялось медно-константановой термопарой (3),
нулевой конец которой поддерживался при температуре 40 +/- 0.05 оС жидкостным
ультратермостатом UТ-4. Термопара калибровалась в соответствующем интервале
температур по показаниям ртутных термометров с точностью 0.1оС. Патрон (4) из
меди наполнялся инертным хроматографическим носителем ИНЗ-600 (зернение 0.5¸1
мм), который удерживался сеточкой. Носитель, предварительно прокаленный в
проточной атмосфере газа-носителя, пропитывался 20 вес.% исследуемого вещества.
Между горячим и холодным термостатами находится теплоизолятор (5) длиной 10 мм.
Рисунок 1 - Конденсирующее устройство (пояснения
в тексте)
Для создания пересыщения пара исследуемого
вещества использовался холодный термостат - конденсатор, который
термостатировался с помощью криостата МК-70 с точностью 0.1оС.
Известно, что при малых числах Рейнольдса (Rе) в
трубке круглого сечения реализуется устойчивое ламинарное течение. Исследование
течений в трубке с острыми кромками [19; 20] показало, что критическое значение
числа Reкр = 2300. При Re < Reкр турбулентное течение в трубке не может
существовать даже при сильных начальных возмущениях. В данных экспериментальных
исследованиях число Re было порядка 100.
В работе [21] представлены результаты
экспериментальных исследований скорости нуклеации как функции скорости потока в
интервале от 5 до 40 см3/с для установления характера течения. Показано, что
при суммарном расходе газа, меньшем 17 см3/с, реализуется чисто ламинарный
режим течения в коаксиальном потоке.
Получение и измерение параметров аэрозоля
производилось на установке, блок-схема которой приведена на рис.2 [22].
Источником газа служит баллон (1) с газом высокой чистоты (содержание основного
вещества не менее 99.99 об.%). Инертный газ- носитель поступает через фильтр
Петрянова (2), ротаметр РМ-06 (3) и регулятор расхода газа (4) в конденсирующее
устройство (5), проходит через хроматографический носитель (А, рис.2.) и
насыщается парами исследуемого вещества. Скорость насыщенного парами газа
приобретает параболический профиль при температуре насыщения в части термостата
(В), в которой устанавливается ламинарное течение. Длина этой части трубки
составляет 40 мм и диаметр 8 мм. Затем смесь проходит в холодную трубку (С).
Паро-газовый поток, попадая в холодную часть конденсирующего устройства, за
счет молекулярной диффузии и теплопроводности переходит в пересыщенное
состояние, в результате которого происходит образование аэрозольных частиц.
Объемные расходы приводились к нормальному давлению и температуре 20оС.
Ротаметр позволял определять расход газа. Калибровка ротаметра производилась
газосчетчиком ГСБ-400 1-го класса точности, с помощью которого измерялся объем
истекающего газа. Время истечения данного объема инертного газа определялось
секундомером с ценой деления 0.02 с. Объемные расходы измерялись при нормальном
давлении и температуре 20оС. Абсолютная ошибка в измерении расхода газа не
превышала 2.0%. Давление и расход газа регулировались игольчатыми вентилями
(4). Концентрация образующегося аэрозоля измерялась фотоэлектрическим счетчиком
аэрозольных частиц (6). Счетный объем находился на 1-2 мм ниже среза выходной
трубки аэрозольного генератора, что позволило исключить генерацию аэрозоля в
счетчике. Давление газа в конденсирующем устройстве и счетчике аэрозолей были
равными и постоянными в одном эксперименте. Информация с датчиков в цифровом
виде накапливалась в буферной памяти (7) и передавалась в персональный
компьютер (8) для дальнейшей обработки экспериментальных результатов.
Рисунок 2 - Блок-схема экспериментальной
установки: 1 - Баллон с инертным газом;2 - Фильтр Петрянова;3 - Ротаметр;4 -
Регулятор расхода и давления газа;5 - Аэрозольный генератор;6 - Счетчик
аэрозольных частиц;7 - Буферная память;8 - Персональный компьютер
В качестве источника света фотоэлектрического
счетчика использовался гелий-неоновый лазер - УНЛЗ-У5. Фотоэлектронный
умножитель ФЭУ-114 регистрировал частицы, попадающие из конденсирующего
устройства в счетный объем. Счетный объем образовывался пересечением сфокусированного
лазерного пучка, сформированного линзой и диафрагмами, сферическим зеркалом и
полем зрения оптической системы фотоэлектронного умножителя. Внутренняя
поверхность части счетчика, в которой находился счетный объем, была почернена
для подавления остаточной паразитной засветки и рассеянного частицами света.
Счетное устройство имело два входа - для абсолютного и относительного счета.
При низких скоростях нуклеации происходил подсчет всех частиц абсолютным
счетчиком. При переходе на высокие концентрации счетное устройство программно
переключалось на второй канал, обеспечивающий режим счета известной доли
частиц. Доля частиц, составляющая в экспериментах величину менее 0.01,
определялась программно - калибровкой по показаниям абсолютного счетчика.
Определение активности паров исследуемого
вещества в конденсирующем устройстве проводили путем решения на ЭВМ уравнений
тепломассообмена в ламинарном стационарном осесимметричном парогазовом потоке.
Поля скоростей и температур газа-носителя рассчитывались численным решением
системы уравнений Навье-Стокса в цилиндрических координатах совместно с
краевыми условиями:
,
где u - скорость газа, r - координата по
радиусу, T - температура, R - радиус трубки, x - координата по оси цилиндрической
трубы,
-
заданная температура стенки трубы,
-
начальный профиль температуры потока при входе в трубку,
-
начальный профиль скорости потока при входе в трубку. Относительная погрешность
расчета составляла 0,5%.
2.2 Расчёт скорости нуклеации в
камере
Для расчета скорости зародышеобразования
использовался алгоритм, предложенный Вагнером и Анисимовым в работе [23]. Для
определения максимальной скорости образования аэрозольных частиц по этой
методике необходимо использование выражения для оценки теоретической скорости
нуклеации.
Отношение максимума теоретической скорости
нуклеации
к расчетному числу
аэрозольных частиц (
), производимых
аэрозольным генератором в единицу времени, примерно равно соответствующему
значению экспериментальных величин. Т.е.
Неточность равенства связана с недостатками
теории. Однако использование теоретических величин дает величину отношения с
небольшой погрешностью, поскольку недостаточно хорошо определенные коэффициенты
теоретического выражения для скорости нуклеации практически точно сокращаются.
Это подтверждается сравнением расчетного и экспериментально определенного
объемов нуклеации. Отсюда легко получить выражение для максимума скорости
нуклеации:
,
где
-
экспериментальное и теоретическое число частиц, произведенных генератором
аэрозолей в единицу времени,
- теоретическая
скорость нуклеации в зоне наиболее интенсивного зародышеобразования. При
соблюдении подобия в распределении концентраций пара и температур (это в
эксперименте выполняется) наблюдается отсутствие зависимости значения максимальной
скорости нуклеации от расхода газа, что снижает требования к точности измерения
последнего.
Максимальная скорость аэрозолеобразования
в
конденсирующем устройстве рассчитывалась решением задачи тепломассообмена и
учетом эмпирических данных о концентрации аэрозоля.
3. Топологический подход к теории
нуклеации
Одна из новых идей для развития представлений об
аэрозолеобразовании в пересыщенном паре связана с анализом топологии
поверхности скоростей нуклеации пара. Создание поверхностей скоростей нуклеации
основано на знании диаграмм фазового состояния исследуемых систем и
экспериментальных результатах по нуклеации.
Первое краткое рассмотрение топологии
поверхности скоростей нуклеации над РТ-диаграммой с тройной точкой, где Р и Т -
соответственно давление и температура, опубликовано в работе [24].
Предварительные результаты с обсуждением топологии поверхности скоростей
нуклеации паров для идеальных систем приведены в [25; 26], где рассматривается
построение поверхности в зависимости от давления или активности для
однокомпонентных и бинарных систем при нуклеации над линией равновесия пара,
охватывающей области устойчивого и метастабильного равновесия пара с жидкостью
или кристаллом.
В работе [27] показана взаимосвязь поверхности
скоростей нуклеации пара с диаграммой состояния растворов, обсуждается принцип
построения поверхностей скоростей нуклеации для бинарных систем с
неограниченной растворимостью компонентов в конденсированной фазе и
ограниченной взаимной растворимостью, имеющей диаграмму состояния с
перитектической точкой для докритической температуры компонентов системы и
температуры выше критической одного из компонентов. Рассмотрение обнаруживает
необходимость учета диаграмм состояния нуклеирующих систем при теоретическом
описании нуклеации бинарного пара. Построение диаграмм состояния исследуемых
веществ дает качественное представление о поверхности скоростей нуклеации. С
использованием топологического анализа некоторые проблемы в теории нуклеации
формулируются более ясно.
Универсальная теория нуклеации, созданная на
основе существующих принципов, не может быть успешной в настоящее время.
Частичный теоретический успех может быть получен только в случае, если будет
известен потенциал взаимодействия молекул. Построение поверхностей скоростей
нуклеации может быть выполнено для идентичных фазовых диаграмм состояния.
Используя эти элементы можно создать поверхность для любой фазовой диаграммы
состояния. Такие построения могли бы дать количественные значения скоростей
нуклеации. При интерпретации экспериментальных результатов необходимо
использовать фазовые диаграммы состояния исследуемой системы. Рассмотренный подход,
приводит к новым результатам, не следующим из принятых теоретических
представлений о нуклеации пара и является одним из перспективных направлений
для пересмотра основ теории нуклеации.
В данной работе используются эмпирически
определённая поверхность зародышеобразования, найденная Тимошиной и Насибулиным
для системы глицерин-диоксид углерода. Ранее эмпирическими и полуэмпирическими
методами было показано существование двух поверхностей образования зародышей
различных фаз в окрестности тройной точки [28]. В нашем случае тройной точкой
является точка, связанная с плавлением глицерина. В эксперименте наблюдается
след от пересечения поверхностей нуклеации соответствующих жидкости и более
упорядоченной фазы.
4. Результаты
В работе использованы результаты измерений,
выполненных Тимошиной и Насибулиным. Данные по скорости зародышеобразования
были получены с использованием экспериментальной установки, принципиальная
схема которой и схема конденсирующего устройства представлены на рис. 2. и рис.
1, соответственно. Измерялась зависимость концентрации образующегося аэрозоля
от температуры насыщения газа носителя исследуемым веществом при различных
температурах термостата и давлениях газа-носителя. Экспериментальные данные
пересчитывались в скорость нуклеации, активность паров и температуру нуклеации.
Исследовалась система глицерин - диоксид углерода при 26 различных температурах
в интервале от 280 К до 330 К. На рис.3 представлены экспериментальные
зависимости скорости нуклеации от температуры и логарифма активностей паров
глицерина при давлении газа-носителя 1 атмосфера.
Рисунок 3 - Поверхность скорости нуклеации для
системы глицерин-диоксид углерода при давлении газа-носителя 1 атм
Пересекающиеся экспериментальные кривые на
данном рисунке соответствуют фазовым переходам первого рода (первая производная
терпит разрыв) в системе глицерин-диоксид углерода. Остановимся на этом
поподробнее.
Изменение свободной энергию Гиббса можно
представить в следующем виде:
,
где n-число молекул в кластере,
-
изменение химического потенциала системы, f- свободная энергия, связанная с
поверхностным натяжением капли. Зависимость химического потенциала паровой и
конденсированных фаз от температуры схематично представлена на рисунке 4.
Рисунок 4 - Зависимости химического потенциала
паровой и конденсированных фаз от температуры
Из рисунка 5 видно, что сначала образуются метастабильные
состояния, связанные с образованием жидкокапельных зародышей. Из опытных данных
следует, что капельки так же образуются в некоторой области ниже температуры
замерзания жидкости (Рис.5). При понижении температуры нуклеации
предположительно происходит переход к образованию более упорядоченной фазы.
Скорость зародышеобразования представляется следующей функцией:
где
-
свободная энергия,
- химические
потенциалы конденсированной и паровой фазы соответственно. Т.к.
терпит
разрыв первой производной, то функция J тоже терпит скачок первой производной,
что проявляется в виде складки на поверхности скоростей зародышеобразования.
Если бы система не перепрыгивала из метастабильного конденсированного состояния
в стабильное, мы бы видели просто линию разрыва первой производной, а не
обнаруженный экспериментально разрыв поверхности скоростей зародышеобразования.
Видимо, возникающие метастабильные состояния конденсата приводит к разрыву
функции
,
как это показано толстой линией на рис. 5.
Рисунок 5 - Траектория эксперимента (жирная
линия)
Более подробная интерпретация полученных данных
выходит за рамки дипломного проекта и развивается в настоящее время совместно с
теоретической лабораторией ИХКГ.
На рисунке 6 представлены зависимости активности
паров глицерина log a от температуры нуклеации Т при постоянных значениях
логарифма скорости нуклеации (log J=1, log J=3, log J=5) при давлении
газа-носителя 1, 2 и 3 атмосферы. Из рисунка 6 видно, что кривые претерпевают
два излома, которые с некоторым сдвигом соответствуют температуре плавления
глицерина (
=292,45 К) и
критической температуре диоксида углерода(
=304,2
К,
=7,39
МПа). Температура плавления сдвигается под действием растворенного в конденсате
диоксида углерода. В критическом зародыше, благодаря поверхностному натяжению в
капле (Лапласовское давление) давление составляет несколько сотен бар.
Повышенное давление в критическом зародыше являться причиной повышенной
растворимости. С увеличением степени метастабильности топология складки меняет
форму. Причины этих изменений являются предметом будущих исследований.
Рисунок 6 - Зависимость активности от
температуры при трёх постоянных значениях логарифма скорости нуклеации для
давлений 1, 2 и 3 атмосферы, соответственно
Рисунок 7 - Зависимость сдвига температур
фазовых переходов от давления
Из рис. 7 видно, что температурный интервал
плавления для глицерина с увеличением давления газа-носителя в системе
сдвигается в область более высоких температур (при давлении в системе P=1 атм.:
293,75 -295,85 K , Р=2 атм.: 293,75 -297,95 K Р=3 атм.: 295,85 -299,03 K ) ,
удаляясь от температуры плавления чистого глицерина, что естественно связать с
ростом растворенного в конденсате двуокиси углерода. Температурный интервал
фазового перехода, связанного с критической линией бинарной системы сдвигается
к критической температуре
т.е. в область
более низких температур (при давлении в системе P=1 атм.: 315,85 -318,95 K ,
Р=2 атм.: 314,75 -316,85 K Р=3 атм.: 310,65- 314,75 K ), что представляет
физически разумный результат, поскольку достаточно очевидно, что найденный
фазовый переход первого рода переходит в фазовый переход второго рода, т.е. в
критическую точку чистой двуокиси углерода. Этот результат можно рассматривать
в качестве экспериментального подтверждения участия газа-носителя в образовании
критического зародыша новой фазы.
Долгое время считалось, что газ-носитель не
принимает участия в образовании критических зародышей, а лишь служит средой для
отвода теплоты конденсации и подержания процесса аэрозолеобразования в
изотермических условиях. Однако, многие авторы указывают на то, что в
конденсирующейся газовой среде могут находиться критические кластеры,
включающие в себя газ-носитель [29]. В 90-х годах при измерении эффекта
давления обнаружено, что в приближении идеальных растворов молекулы
газа-носителя входят в состав критических зародышей, т.е. в кластеры, состоящие
из молекул пара, способного к нуклеации, входят молекулы газа. Хейст с
коллегами [30; 31] сообщили о влиянии эффекта давления и эффекта природы
газа-носителя на скорость нуклеации для серии коротко-цепочечных спиртов
(измерения были сделаны с использованием статической диффузионной камеры при
давлениях до 40 бар в атмосфере
). Результаты
экспериментов различных исследовательских групп подтверждают наличие
зависимости скорости нуклеации от общего давления газа-носителя.
Независимые результаты, полученные с
использованием различных экспериментальных схем, демонстрируют несовпадение
изотерм скоростей зародышеобразования для идентичных паро-газазовых систем при
одинаковых температурах нуклеации и пересыщениях пара (Рис.8).
Рисунок 8 - Примеры несовпадения
экспериментальных данных для а) расширительной камеры (крестики), б)
статической камеры (закрашенные значки) в сравнении с результатами
поточно-диффузионной камеры. S- пересыщение
Природа этих несоответствий пока не изучена и
является одной из главных проблем современного эксперимента по исследованию
кинетики зародышеобразования. Наша гипотеза состоит в том, что нуклеацию в
таких системах нужно рассматривать с позиций представлений о зародышеобразовании
в бинарной системе. В качестве второго компонента нужно рассматривать
газ-носитель. При этом кривая
(скорость
нуклеации - давление) трансформируется в поверхность
,
где x - состав смеси. Пример такой поверхности представлен на Рисунке 9.
Рисунок 9 - Пример поверхности скорости
нуклеации для системы пентанол-вода,
-
суммарное давление, x - состав. Данные получены при помощи расширительной
камеры [32]
Причина несовпадения экспериментальных данных,
полученных различными методами, может быть связана с ошибочной интерпретацией
участия газа-носителя в процессе нуклеации. В данный момент не существует
эмпирических результатов, в которых бы учитывался газ-носитель, как
нуклеирующий компонент, поэтому мы обратились к опубликованным
экспериментальным данным [32], которые были получены при помощи расширительной
камеры для системы пентанол-вода. Эти данные могут быть рассмотрены в качестве
модельных для демонстрации эффектов от газа, участвующего в создании
критического зародыша конденсата. Особенностью экспериментов в расширительной
камере является постоянное отношение концентраций компонентов для одной серии
измерений. Из результатов экспериментов [32] видно, что вдоль одной
экспериментальной кривой активности компонентов варьируются. При измерении
скорости зародышеобразования с помощью поточно-диффузионной камеры активность
одного из компонентов обычно остается постоянной [33]. Изотермы скорости
нуклеации в системе пентанол-вода для ряда постоянных значений активности
компонентов, моделирующих измерения в поточно-диффузионной камере были получены
линейной интерполяцией данных [32].
Рисунок 10 - Траектории экспериментов для
расширительной камеры (кружки) и для поточно-диффузионной (ромбы). A1, A2 -
активности первого и второго компонентов
На рис. 10 показано расхождение траекторий
изотерм скорости зародышеобразования для данных, полученных в расширительной
камере и в поточной диффузионной камере.
Рисунок 11 - Пример несовпадения изотерм
скоростей нуклеации в поточно-диффузионной (квадратики) и расширительной
камерах (круги) для системы пентанол-вода
Сравнение этих результатов (Рис.10, 11) без
учета траекторий обнаруживает явное расхождение по скоростям нуклеации. На
модельной системе показано, что эти два эмпирических метода имеют различные
траектории в пространстве параметров нуклеации, что может объяснять природу
расхождения данных различных экспериментальных методов.
Заключение
Исследована бинарная система глицерин - диоксид
углерода. Найдены фазовые переходы первого рода в критических зародышах,
связанные с плавлением / кристаллизацией в бинарной системе глицерин - диоксид
углерода. Этот результат иллюстрирует новую возможность обнаружения изменения
фазового состояния критических зародышей из экспериментов по нуклеации.
Следует отметить, что имеющегося большого число
экспериментальных точек, демонстрирующих складки на поверхности скорости
зародышеобразования еще недостаточно для получения подробной информации о
топологии складок. Для более точного эмпирического описания полученных складок
необходимо уменьшить шаг по температуре до 0,5 - 1 градуса, что увеличит
количество эмпирических точек более чем в три раза. Это позволит более точно
определить слабо проявляющиеся особенности аэрозолеобразования в бинарных
системах.
Результат моделирования системы пентанол-вода
демонстрирует расхождение эмпирических данных для бинарной системы при
различных траекториях экспериментов в пространстве параметров
зародышеобразования. Для подобных измерений в паро-газовых системах необходимо
иметь достаточный объем эмпирических данных, позволяющих получить представление
об изотермических поверхностях скорости нуклеации. Оценка, полученная по
результатам данной работы, составляет величину 15-20 тысяч измерений скорости
нуклеации, что в несколько раз превышает существующий объем данных, полученных
во всех лабораториях мира. Интерпретация эмпирических скоростей нуклеации в
паро-газовых системах в приближении бинарного раствора позволяет надеяться на
получение согласованных результатов по скоростям нуклеации в различных
экспериментальных схемах. Для регистрации этих эффектов требуется создать
измерительное устройство со временем получения данных по скорости
зародышеобразования для одной точки порядка 1 минуты и рабочими параметрами,
охватывающими подкритические и закритические условия. Существующие
измерительные системы не соответствуют данным условиям. Наиболее перспективной
схемой для таких измерений является поточная диффузионная камера, где есть
надежда получать требуемый объем эмпирической информации при давлениях более
100 бар.
Литература
1. Farkas
L. Keimbildungs in übersättigen
Dämpfen
// Z. Phys. Chem. 1927. s. 236-242.
2. Зельдович
Я.Б. Теория образования новой фазы. Кавитация. // ЖЭТФ,1942, с. 525-538.
. Reiss
H. The kinetics of phase transition in binary systems .// J. Chem. Phys.
1950.V.19. p. 840-848.
. Ochta
S. On the rate of homogeneous nucleation in ternary system. // J. Aerosol Sci.
-1982.p. 139 - 145.
. Volmer
M., Weber A. Keimbildungs in übersättigen
Gebelden. // Z. Phys. Chem. 1926. Bd.119. s. 277-301.
. Щукин
В.Г., Марусин В.В. О некоторых проблемах зародышеобразования. // ЖКХ ,1981 т.
55 с.1105-1117.
. Strey
R., Wagner P. Measurements of the heteromolecular homogeneous nucleation of
partially miscible liquids, // J. Aerosol Sci. 1988. p. 813-816.
. Allen
L., Kassner J. Nucleation water vapor in the absence of particulate matter and
ions. // J. Coll. Interfaces Sci. 1969. p. 81 - 93.
. Kantorovwitz
A., Grey J. A high intensity source for molecular beam. Part 1. // Theoretical.
-Rev. Sci. Instr.1951. p. 28 - 32.
. Hodgson
A.W., Mackie J.C. Homogeneous nucleation of cyclohexane: A double-diaphragm
shok-tube study. // J.Coll. Interface Sci. 1981. p. 547-557.
. Амелин
А.Г. Образование пересыщенного пара и аэрозоля при смешивании газов, содержащих
пар и имеющих разную температуру. // Коллоидн. Ж. 1948.с. 169 - 176.
. Langsdorf
A.A continuously sensitive diffusion cloud chamber. // Rev. Sci. Instr. 1939.
p. 91 - 103.
. Чуканов
В.Н., Коробицын Б.А. Кинетика стационарной гомогенной нуклеации в пересыщенных
парах этанола. // ЖФХ. 1989. с. 1970 - 1973.
. Анисимов
М.П., Костровский В.Г., Штейн М.С. Получение пересыщенного пара и аэрозоля
дибутилфталата смешением разнотемпературных потоков путём молекулярной
диффузии. // Коллоидн. Ж. 1978. с. 116 - 121.
. Анисимов
М.П. К вопросу об экспериментальном исследовании объемной нуклеации пара.
Новосибирск, 1978. 24 с.
. Грин
Х., Лейн В. Аэрозоли - пыли, дымы и туманы. Химия, 1969. 427 с.
. Anisimov
M.P., Taylakov A.V. LAF - a new method of investigation of spontaneous rate
nucleation of supersaturated vapor // Proceedinings of the third Chinese
Aerosol Conference, Beijing, 29 Sept.- 1 Oct. - 1990.- P.19-22.
. Шиллер
Л. Движение жидкостей в трубах.- М.: ОНТИ НКТП, 1936.- 151с.
. Абрамович
Г.Н. Прикладная газовая динамика.- М.: Наука, 1969.-264с.
. Anisimov
M.P., Hameri K., Kulmala M. Construction and test of laminar flow diffusion
chamber: homogeneous nucleation of DBF and n-hexanol // J. Aerosol Sci.- 1994.-
V.25.- P.23-32.
. Анисимов
М.П., Насибулин А.Г., Тимошина Л.В. Бинарная нуклеация в системе глицерин -
гексафторид серы в окрестности линии фазового перехода // Коллоидн. ж.- 1997.-
Т.59, № 5.- С.596-602.
. Wagner
P.E. and Anisimov M.P. A new possibility for the evaluation of nucleation rates
from experimental data obtained by means of a gas flow diffusion chamber // J.
Aerosol Sci.- 1993.- V.24.- P.103.
. Anisimov
M.P. Metastable vapor states diagram // J.Aerosol Sci.- 1990.- V.21., Suppl.1.-
P.23-26.
. Anisimov
M.P. and Anisimov K.M. Some nucleation rate surfaces / Fourth International
Aerosol Conference. Los Angeles, California. Abstracts.- 1994.- V.1.-
P.109-110.
. Anisimov
M.P. Topological paradox of results interpretation og a binary ideal vapor
nucleation / AAAR’95 Fourteenth Annual Meeting. Pittsburg, Pennsylvania, USA.
Abstracts.- 1995.- P.350.
. Анисимов
М.П. Взаимосвязь поверхности скоростей нуклеации пара с диаграммой состояния
растворов // ДАН.- 1997.- T.352, №6.- С.816-818.
. Anisimova
L., Hopke P.K., Terry J. // J. Chem. Phys. 2001. V. 114. № 22. P. 9852-9855.
. Р.Г.
Шарафутдинов, А.Е. Зарвин, Н.Г. Коробейщиков, В.Ж. Мадирбаев, С.Я. Хмель.
Кластеры в импульсной свободной струе смеси моносилан - аргон. // Письма в ЖТФ,
1999. Т.25, с. 47-51.
. Heist
R.H., Ahmed J., Janujua M. // Effects of Carrier gases on Homogeneous
Nucleation of Vapors. // J. Phys. Chem. 1995. 99, p. 375-383.
. Berttelsmann
A., Heist R.H. Diffusion cloud chamber operation and the background gas effect.
// Atmospheric Res. 1998. .46, p. 195-209.
. Strey
R., Viisanen Y., Wagner P.E. Measurement of the molecular content of binary
nuclei. Use of the nucleation rate surfaces for the water-n-alcohol series. //
J.Chem.Phys. 1995. 103(10) p. 4333-4345.
. М.П.
Анисимов, С.Н. Вершинин, А.А. Аксенов, А.М. Сгоннов, Г.Л. Семин.
Экспериментальное определение скорости спонтанной нуклеации, размера и состава
критического зародыша в пересыщенном многокомпонентном паре. // Коллоидн. Ж. 1987.
с. 842-846.