Расчет посадки и устойчивость рефрижераторного судна при затоплении отсека
КУРСОВАЯ РАБОТА
По дисциплине
«Судоходство»
Тема:
«Расчет посадки и
устойчивость рефрижераторного судна при затоплении отсека»
Содержание
Введение
.
Реферат
.
Запас плавучести судна
.1
Величина надводного борта
2.2 Непотопляемость
2.3
Способы обеспечения непотопляемости
.4
Требования регистра к непотопляемости морских cудов
2.5
Роль водонепроницаемых переборок
3.
Определение элементов судна
.1
Расчет количества воды, поступающий в аварийный отсек через пробоину
.2
Определение параметров посадки судна после аварии
.
Устройство и постановка мягкого пластыря
.
Бетонирование пробоины
.1Установка
цементного ящика
.2
Приготовление цементного раствора
Заключение
Список
литературы
Введение
В соответствии с заданием курсовой работы на примере
рефрижератора «Прибой» рассмотрим основные характеристики судна. Как один из
вариантов не штатной ситуации, с которой встречаются работники на судах -
получение пробоины в грузовом отсеке №3 с дальнейшими расчетами остойчивости и
посадки судна при затоплении грузового отсека. После произведенных расчетов
предложим методы заделки пробоины. Цель курсовой работы - уметь применять
теоретические знания в дальнейшей практической деятельности.
1. Реферат
Курсовая работа содержит -- страниц, 9 рисунков,2 таблицы.
Перечень ключевых слов: судно, остойчивость, непотопляемость,
пробоина, пластырь.
Объект исследования - рефрижератор судно «Прибой».
Цель курсовой работы - закрепить теоретические знания по
дисциплине «Теория, устройство и борьба за живучесть судна», научиться работать
с учебной литературой, руководствами и нормативными документами по живучести и
непотопляемости судна, правильно принимать полученные знания в дальнейшей
практической деятельности.
В первом разделе курсовой работы рассмотрены характеристики,
которые положительно влияют на безопасность и обеспечивающие возможности
сохранения судна на плаву.
Во второй части произведены расчеты, свидетельствующие о том
что при заданном варианте аварийный отсек будет затоплен 9минут. При этом судно
будет иметь достаточно положительную плавучесть и остойчивость.
В третьем разделе приведен вариант временной заделки пробоины
и в зависимости от успешного результата варианты дальнейшего устранения.
2. Запас плавучести судна
рефрижераторное судно затопление отсек пробоина
Для обеспечения безопасности плавания судно должно обладать
определенной потенциальной плавучестью - запасом плавучести, характеризуемой
величиной непроницаемого для воды объема корпуса, расположенного выше
действующей ватерлинии. Следовательно, запасом плавучести можно считать то
количество грузов (или воды), которое судно может принять сверх уже находящихся
на нем до полной потери плавучести.
Запас плавучести обычно выражается в процентах от
водоизмещения судна с полным грузом, т.е. является относительным запасом
плавучести.
Сохранение запаса плавучести и его конструктивное обеспечение
имеют жизненно-важное значение для всякого судна. Достаточный запас плавучести
в процессе проектирования и постройки судна достигается рядом конструктивных
мероприятий, к числу которых относятся: обеспечение достаточной высоты
надводного борта, устройство водонепроницаемых закрытий и разделение судна на
отсеки прочными водонепроницаемыми переборками и палубами. При отсутствии
последних, любое повреждение подводной части судна может привести к полной
потере запаса плавучести и гибели судна. Запас плавучести в этом случае
конструктивно не обеспечен.
.1 Величина надводного борта
Запас плавучести непосредственно связывают с высотой
надводного борта: чем она больше, тем больше запас плавучести. Поэтому высоту
надводного борта судна принимают в качестве основного измерителя запаса
плавучести и регламентация запаса плавучести в определенной степени сводится к
нормированию минимальной высоты надводного борта, допускаемой с точки зрения обеспечения
плавучести судна.
Допустимая высота надводного борта, именуемая в «Правилах о
грузовой марке морских судов» (1974 г.) минимальным надводным бортом,
обеспечивает судну запас плавучести, который считается достаточным для
безопасного плавания в определенных районах и в определенное время года. Высоту
безопасного надводного борта устанавливают для каждого судна в зависимости от
его длины, коэффициента общей полноты, седловатости (продольной погиби) палубы,
погиби бимсов и других факторов. При назначении судну минимального надводного
борта принимается во внимание также его прочность и наличие эффективных средств
защиты самого судна и его личного состава от воздействия среды (закрытия люков,
отверстий в бортах, палубах и надстройках; средства доступа в судовые
помещения; леерные ограждения).
.2
Непотопляемость
Непотопляемостью называется способность судна оставаться на
плаву, сохраняя в достаточной степени остойчивость и некоторый запас
плавучести, при затоплении одного или нескольких отсеков, образованных внутри
корпуса судна водонепроницаемыми переборками, палубами и платформами.
Поступление забортной воды в корпус судна, в результате его
повреждения или намеренного затопления отсеков, приводит к изменению
характеристик плавучести и остойчивости, управляемости и ходкости.
Перераспределение сил плавучести по длине судна вызывает дополнительные
напряжения в корпусе судна, который должен сохранить при этом достаточную
прочность. Кроме того, решение задачи об обеспечении непотопляемости
транспортного судна затрагивает ряд очень важных технико-эксплуатационных
показателей.
В процессе расчета непотопляемости определяют посадку судна и
остойчивость судна после затопления одного или нескольких водонепроницаемых
отсеков. Если оказывается, что аварийный крен, минимальная высота аварийного
надводного борта и остойчивость поврежденного судна лежат в пределах,
предусмотренных требованиями к непотопляемости, то непотопляемость судна
считается обеспеченной. В противном случае принимают меры к улучшению аварийной
посадки и остойчивости.
Масса влившейся внутрь корпуса воды изменяет посадку,
остойчивость и другие мореходные качества судна. Непотопляемость судна
обеспечивается его запасом плавучести: чем больше запас плавучести, тем больше
забортной воды оно может принять, оставаясь на плаву.
Выбор числа переборок на судне (помимо ряда других
обстоятельств) определяется с учетом влияния затопления каждого из отсеков на
посадку и остойчивость судна.
Объем любого отсека или их группы должен быть меньше запаса
плавучести, а уменьшение остойчивости при затоплении отсека или группы отсеков
не должно сопровождаться опрокидыванием.
Количество непроницаемых переборок и расстояния между ними
определяют с использованием кривой предельных длин отсеков, получаемой путем
выполнения специального расчета. Ординаты кривой представляют собой наибольшие
длины отсеков, которые может иметь судно, чтобы при затоплении какого-либо из
них оно не погружалось глубже предельной линии погружения, проходящей на 76 мм
ниже бортовой линии палубы переборок (палуба, до которой доходят поперечные
непроницаемые переборки).
При установке на судне продольных водонепроницаемых переборок
необходимо тщательно анализировать их влияние на непотопляемость. С одной
стороны, наличие этих переборок может вызвать недопустимый крен после
затопления отсека, с другой - отсутствие переборок отрицательно скажется на
остойчивости из-за большой площади свободной поверхности воды.
Таким образом, деление судна на отсеки должно быть таким,
чтобы при бортовой пробоине плавучесть судна исчерпывалась ранее его
остойчивости: судно должно тонуть без опрокидывания.
Для спрямления судна, получившего крен и дифферент в
результате пробоины, производят принудительное контрзатопление заранее
подобранных отсеков с одинаковыми по величине, но с обратными по значению
моментами. Эта операция выполняется с использованием таблиц непотопляемости -
документа, с помощью которого можно с минимальной затратой времени определить
посадку и остойчивость судна после повреждения, выбрать отсеки, подлежащие затоплению,
а также оценить результаты спрямления до его выполнения на практике. Впервые
принцип контрзатопления был предложен в конце прошлого века
ученым-кораблестроителем С.О. Макаровым и в дальнейшем разработан академиком
А.Н. Крыловым, который и предложил составлять для каждого судна таблицы
непотопляемости.
Непотопляемость морских судов регламентируется Правилами
Регистра, разработанными на основе Международной конвенции по охране
человеческой жизни на море 1974 г. (СОЛАС-74). В соответствии с этими правилами
судно считается непотопляемым, если после затопления одного любого отсека или
нескольких смежных, количество которых определяется в зависимости от типа и
размеров судна, а также числа находящихся на судне людей (обычно это один, а
для крупных судов- два отсека), судно погружается не глубже, чем по предельную
линию погружения. При этом начальная метацентрическая высота поврежденного
судна должна быть не менее 5 см, а максимальное плечо диаграммы статической
остойчивости - не менее 10 см, при минимальной протяженности положительного
участка диаграммы 20°.
.3 Способы обеспечения непотопляемости
Непотопляемость, которая является одним из важнейших качеств
судна, обеспечивается конструктивными и предупредительными
организационно-техническими мероприятиями.
Конструктивно непотопляемость обеспечиваю, разделяя корпус
судна на ряд отсеков с помощью водонепроницаемых переборок, палуб и платформ.
Палубу, до которой доходят главные водонепроницаемые переборки, принято
называть палубой переборок. Конструктивно непотопляемость судна обеспечивается
также устройством на судне осушительных систем, мерительных труб,
водонепроницаемых закрытий и т.п. Большое значение дпя обеспечения запаса
плавучести, остойчивости и прочности судна после затопления отсеков имеет также
правильный выбор соотношений главных размерений судна.
Не менее важное значение для обеспечения непотопляемости
имеют предупредительные организационно-технические мероприятия. Наиболее
важными из них являются: правильная организация личного состава в борьбе за
непотопляемость; систематическая и тщательная подготовка по вопросам
непотопляемости; поддержание в исправном состоянии всех водонепроницаемых
закрытий (дверей, люков, горловин, иллюминаторов); строгое соблюдение
инструкции по приему и расходованию жидких грузов, балластировки судна в
условиях штормовой погоды и устранению свободных поверхностей жидких грузов;
регулярный контроль водонепроницаемости корпуса судна путем замеров уровней
жидкости в льяльных колодцах и танках двойного дна.
В аварийной ситуации личный состав борется с распространением
воды и добивается восстановления остойчивости и спрямления поврежденного судна
(уменьшение его крена и дифферента). Особенно важно сохранить достаточную
положительную остойчивость после аварии. Известно, что потеря судном плавучести
в результате постепенного затопления является процессом относительно медленным;
опрокидывание же судна вследствие потери остойчивости происходит неожиданно и
обычно влечет за собой гибель судна и человеческие жертвы.
Таким образом, обеспечение непотопляемости транспортного
судна охватывает большой комплекс вопросов как теоретического, так и
практического характера, решение которых представляет значительные трудности.
В зависимости от характера затопления различают три категории
затопленных отсеков: отсек первой категории, затопленный полностью; отсек
второй категории, затопленный частично (имеющий свободную поверхность
жидкости), но не сообщающийся с забортной водой; отсек третьей категории,
затопленный частично и сообщающийся с забортной водой через пробоину в наружной
обшивке.
Наиболее просто выполняются расчеты посадки и остойчивости
поврежденного судна после затопления отсеков первой и второй категории. Так при
затоплении отсеков первой категории проникшая в них забортная вода может рассматриваться
как принятый на судно твердый груз; тогда элементы посадки и остойчивости судна
могут быть определены по формулам, по которым определяют эти элементы при
приеме твердого груза.
В случае затопления отсеков второй категории вода в них может
рассматриваться как жидкий груз, принятый на судно. При этом должно быть учтено
влияние его свободной поверхности на остойчивость.
Особенно сложны расчеты при затоплении отсека третьей
категории, имеющего свободную поверхность и сообщающегося с забортной водой
через пробоину. В этом случае количество воды в отсеке изменяется при изменении
посадки судна, а посадка, в свою очередь, зависит от количества влившейся воды.
Такие расчеты выполняются только в процессе проектирования судна.
.4 Требования регистра к непотопляемости морских судов
В нашей стране непотопляемость гражданских морских судов
регламентируется требованиями, изложенными в части V "Правил классификации
и постройки морских стальных судов" Регистра. Эти требования составлены с
учетом положений Международной конвенции по охране человеческой жизни на море
1960 г.
Согласно Правилам, судно считается удовлетворяющим
требованиям к посадке в поврежденном состоянии, если расстояния между его
главными поперечными переборками не превышают допустимой длины отсека,
определяемой по кривой допустимых длин отсека. Если фактор подразделения не
равен единице, половине или одной трети, то при проектировании судна,
независимо от проверки расположения поперечных переборок, должны быть выполнены
расчеты его посадки с затопленными отсеками. Результаты расчетов должны
показать, что аварийная ватерлиния ни в одной точке не пересекает предельной
линии погружения.
Правилами выдвигается ряд требований к остойчивости
поврежденного судна. Эти требования считаются выполненными, если при затоплении
одного, двух или трех любых смежных отсеков (в зависимости от значения фактора
подразделения) начальная поперечная метацентрическая высота, определенная
методом постоянного водоизмещения, составляет не менее 0,003 ширины судна или
0,05 м (смотря по тому, что больше).
Правила указывают также, что угол крена поврежденного судна
при несимметричном затоплении до спрямления не должен превышать 15°, а после
спрямления - 7° для пассажирских судов и 12° для прочих судов.
Аварийная ватерлиния должна проходить до спрямления, по
крайней мере, на 0,3 м ниже отверстий, через которые возможно дальнейшее
распространение воды по судну, а после спрямления - ниже предельной линии
погружения.
.5 Роль водонепроницаемых переборок в обеспечении
непотопляемости
В процессе проектирования транспортных судов вопрос об их
непотопляемости, в конечном счете сводится к проверке правильности выбора
количества и мест расположения водонепроницаемых переборок. Такая проверка
имеет своей целью установить соответствие их размещения тем требованиям,
которые предъявляются регистром. Для морских транспортных судов нормирование
посадки после затопления одного или группы отсеков производится по предельную
линию погружения, которая проходит по борту ниже бортовой линии палубы переборок
на расстоянии 76 мм (3 дюйма) по всей длине судна. Установить предельную линию
погружения необходимо, т.к. нельзя допустить, чтобы запас плавучести судна был
вовсе потерян.
Таким образом, критерием непотопляемости судна после
затопления одного или группы отсеков является положение ватерлинии ниже
предельной линии погружения. Решение вопроса об удовлетворении этому критерию
сводится к установлению такой предельной длины затопления в различных частях
корпуса судна (предельной длины отсека), при которой указанное условие будет
соблюдено. Придельной длиной затопления называется длина некоторого условного
отсека, при затоплении которого действующая ватерлиния касается предельной
линии погружения, не превышая ее.
3. Определение элементов судна
δ=
; (1)
α=
, (2)
где δ - коэффициент общей полноты;
α - коэффициент полноты
ватерлинии;
V - объёмное водоизмещение судна (м³);

- площадь ватерлинии (м²);

- длина судна;

- ширина судна (м);

- осадка судна (м).
Соответственно объёмное водоизмещение и площадь ватерлинии судна
находятся по формулам:
V =
·
· δ (м³)
V = 172 · 25 · 8,53 · 0,66= 24208,14 (м³); (3)

α (м²) (4)

172
25
0,78 = 3354 (м²)
Так как в задании не были определены параметры посадки судна,
допускаю, что первоначально (до аварии) судно находилось на ровном киле, т. е.
крен равен нуля, дифферент равен нулю.
3.1 Расчет количества воды, поступающий в аварийный отсек
через пробоину
Количество воды, поступающеё в отсек через пробоину,
определяется по формулам:
Q = µF
(м³/с) (5)=
0,7 · 0.5
= 2,69 (м³/с);= 60µF
(м³/мин.) (6)=
60 · 0,7 · 
= 161,4 (м³/мин.);
µ - коэффициент расхода - он нужен, так как пробоина - это рваная
рана, поэтому завихрения воды могут быть различными(µ = 0,65÷0,75; для больших пробоин значение коэффициента
больше; в данном случае µ = 0,7);- площадь пробоины (м²);= 9,81 м/с² - ускорение свободного падения;
Нв - расстояние от ватерлинии до центра пробоины (м).
При переменном напоре вместо НВ следует подставить (Hв - hв) -
разность между уровнями ватерлинии и воды в отсеке над центром пробоины.
Рисунок 1 вид пробоины
В справочниках значения Q в зависимости от F и Hв даются в
виде графиков или таблиц. Если пробоина бортовая, то процесс затопления отсека
состоит из двух периодов: затопления объёма V₁ (от днища до центра пробоины) и затопления объёма V₂ (от центра пробоины до ватерлинии).
Продолжительность первого периода в минутах равна:
t₁ = 
= 
, (7)
Во втором периоде гидростатический напор (Hв - hв) является
переменной величиной. Его значение зависит от высоты воды в отсеке над
пробоиной hв. Время затопления верхней части отсека рассчитывается по формуле:
t₂ = 
. (8)
Общее время затопления отсека до ватерлинии в минутах
t
= t₁ + t₂ = (
₁
+ 2
₂)
/ Q . (9)
Если пробоина днищевая, то:
= 
/ Q, (10)
где 
- объём отсека от днища до ватерлинии (
= 
+ 
).
Как бы ни были мощны водоотливные средства судна, они не в
состоянии справиться с откачкой воды, вливающейся в отсек даже через среднюю
пробоину.
Расчёты показывают, что через пробоину площадью F = 0,2 м² (при диаметре пробоины ≈ 0,5 м),
расположенную на глубине Hв = 4 м, интенсивность поступления воды в отсек будет
равна 55 м³/мин., или
3300 м³/ч, а при
пробоине F = 1 м² (при
диаметре пробоины ≈1,13 м) - 320 м³/мин., или 1900 м³/ч. В то же время самые мощные
водоотливные средства имеют подачу не более 1000 т/ч.
Рассчитываю 
- объём отсека от днища до центра пробоины и 
- объём отсека от центра пробоины до ватерлинии.

= ι · b
· (T - Hв) (м³)

= 23 · 18 · (7,39 - 4) = 1403,46 (м³);

= ι · b
· Hв (м³)

= 23 · 18 · 4 = 1656 (м³),
где ι - длина
затопленного отсека (м);
b - ширина
затопленного отсека (м).
Рассчитываю полный объём затопленного отсека:

= 
+ 

= 1403,46+ 1656= 3059,46 (м³).
Рассчитываю время затопления нижней части отсека по формуле (7):
t₁ = 
= 
= 8,7 (мин.) .
Рассчитываю время затопления верхней части отсека по формуле
(8):
t₂ = 
= 
= 20,5 (мин.) .
Рассчитываю общее время затопления отсека до ватерлинии по формуле
(9):
t
= t₁ + t₂ = (
+ 2 · 
/ Q= 8,7
+ 20,5 = (1403,46 + 2 · 161,4) / 161,4 = 29,2 (мин) .
Маловероятно, что за это время, возможно, заделать пробоину и
обеспечить водоотлив. Наибольшая площадь пробоины, при которой водоотливной
насос ещё будет в состоянии справить с поступаю щей водой, определяется:
F = 
(м²),
(11)
Где Qвон - объёмная подача водоотливного насоса (м³/ч).
Располагаемое время для заделки пробоины при работающем
водоотливном насосе:
t₁ = 
/ 60(Q -
Qвон)
(мин) (12)
Чем больше пробоина и напор воды, тем большие усилия необходимо
прикладывать для постановки пластыря. Один человек способен преодолеть
сопротивление струи воды силой 700
800 Н (70
80 кгс). 1 кгс = 9,81 Н.
Гидродинамическое давление водяной струи:
Рдин = 2φFHвρ (Н, кгс), или Рдин = 20,2 FHв (кН), (13)
где φ - коэффициент местного
сопротивления, близкий к единице;- площадь пробоины (м²);в - напор столба воды от ватерлинии до центра пробоины (м вод.
ст.);
Ρ = 9,8 · 1025 Н/м³ (γ = 1025 кг/м³) - удельный (объёмный) вес забортной воды.
Гидростатическое давление на установленный пластырь:
ст = ρFплНв (Н, кгс), или Рст =
5,1DплВплНв (кН), (14)
где Fпл - площадь пластыря или другой заделки (м²).
Количество людей для заделки пробоин и прочность пластырей
должны соответствовать динамическому и статическому давлению воды.
Ели принять, что в среднем человек способен сдержать напор,
равный более 500 Н (50кгс), то расчетное количество людей, необходимое для
преодоления динамического напора воды, равно:
Nлс 
2Рдин (15)
3.2 Определение параметров посадки судна после аварии
Посадка судна - это положение относительно поверхности спокойной
воды, которое характеризуется углом крена (
), углом дифферента (Ψ), дифферентом (Δ),
осадками (Тн, Тк, Тср).
Отсеки I категории - отсеки, полностью затопленные водой; они
закрыты сверху, могут сообщаться или не сообщаться с забортной водой. Такие
отсеки расположены, как правило, ниже ватерлинии и поэтому повышают начальную
остойчивость (см. рисунок 2).
Отсеки II категории - отсеки, заполненные частично (имеют
свободную поверхность) и не сообщаются с забортной водой. Такое затопление
возможно при тушении пожаров, при повреждении трубопроводов, при фильтрации
воды из смежных отсеков или через неплотно заделанные пробоины. Остойчивость
судна повышается из-за свободной поверхности жидкости и приёма воды выше
ватерлинии.
Рисунок 2 варианты затопленных отсеков
Отсеки III категории - отсеки, имеющие свободную поверхность
и сообщающиеся с забортной водой. Уровень воды в них всегда будет на одном
уровне с действующей ватерлинией. Остойчивость судна снижается из-за влияния
свободной поверхности и из-за возможного принятия новых порций воды при
наклонении.
Затопление отсеков всех категорий увеличивает Тср и уменьшает
запас плавучести. При несимметричном затоплении отсеков любых категорий судно
получает крен или дифферент.
Запас плавучести (А) - это непроницаемый объём корпуса от
действующей ватерлинии до верхней непрерывной палубы, включая объём полубака.
После того, как верхняя непроницаемая палуба сравняется с поверхность воды,
судно начинает погружаться. Для неповреждённого судна:
Ао = 
· 100, %, (16)
где
(весь непроницаемый объём корпуса судна) - объём корпуса до
верхней непрерывной палубы;

вп - объём подводной части судна.
Об остаточном запасе плавучести судна можно также судить по
величине условной средней высоты надводного борта.
При запасе плавучести численно равному значению 30% и менее Ао а
также при высоте надводного борта менее 0,2-0,4 м, положение поврежденного
судна следует считать тяжелым.
В зависимости от категории затопленного отсека расчёт элементов
остойчивости и посадки судна производится по совершенно разным формулам и
зависит от метода расчёта.
При затоплении отсека первой категории вес заполнившей его воды
может рассматриваться, как принятый на судно твёрдый груз и расчёт элементов
остойчивости и посадки судна производится по тем же формулам, как и перед приёмом
на борт твердого груза.
В случае затопления отсека второй категории вода в них может
рассматриваться, как принятый на судно жидкий груз. При этом должно быть учтено
влияние свободной поверхности жидкости. В этом случае элементы посадки и
остойчивости судна рассчитывают по формулам, соответствующим случаю загрузки на
судно жидкого груза со свободной поверхностью.
При затоплении отсека третьей категории для расчёта элементов
посадки и остойчивости судна применяется метод постоянного водоизмещения. Объем
воды в затопленном отсеке исключается из запаса плавучести судна. При этом
водоизмещение судна и положение его центра тяжести остаются такими же, как и до
аварии, а изменяются форма подводного объема и средняя осадка судна.
Если принять, что в пределах изменения осадки (ΔТ) борта судна остаются прямостенными, то
дополнительный объём, заключенный между старой и новой ватерлиниями будет равен
произведению площади новой ватерлинии на величину изменения осадки:
+ 
= S´· ΔТ. (17)
С другой стороны, этот объём равен объёму затопленного отсека,
который можно рассчитать по формуле:

= ι
· b · T, (18)
где T - высота затопленного отсека.
Так как эти объёмы равны, то можно приравнять их правые части.
Отсюда изменения осадки рассчитываю по формуле:
ΔТ = 
, (19)
где S´ -
площадь новой (действующей) ватерлинии (м²).
Площадь новой ватерлинии определяю по формуле:
´ = S - Sυ, (20)
где S - первоначальная площадь ватерлинии (м²);υ = ι · b - площадь потерянной ватерлинии (площадь затопленного отсека
на уровне ватерлинии).
Рассчитываю площадь потерянной ватерлинии:υ
= ι
· b (м²)
Sυ = 23 · 18
= 414 (м²).
Рассчитываю площадь новой ватерлинии по формуле (20):´ = S - Sυ (м²)´ = 3345- 414 = 2931 (м²).
Рассчитываю величину изменения осадки по формуле (19):
ΔТ = 
(м)
ΔТ = 
= 1,2 (м).
Изменение продольной и поперечной метацентрических высот определяю
по формулам:
Δh = 
· (To + 
- zv - 
), (21)
ΔH = 
· (To + 
- zv
), (22)

- объёмное водоизмещение (м³);
То - первоначальная осадка судна (м);v - аппликата
затопленного отсека - вертикальное расстояние от основной плоскости до центра
тяжести затопленного отсека (м);
ipx, ipy -
моменты инерции потерянной ватерлинии относительно поперечной и продольной осей
(м⁴).
Моменты инерции рассчитываю по зависимостям:
ipx = iυx
+ Sυ · y²υ + S´ · (y´f)², (23)
ipy = iυy + Sυ
· x²υ
+ S´ · (x´f)² - S · x²f, (24)
где iυx, iυy - моменты инерции свободной поверхности воды
затопленного отсека относительно поперечной и продольной осей, проходящих через
центр тяжести этого отсека (м⁴);´f, y´f - координаты центра тяжести площади новой ватерлинии
относительно продольной и поперечной осей (м);f - абсцисса центра
тяжести площади ватерлинии (м);υ, yυ - координаты центра тяжести аварийного
отсека (м).
Координаты центра тяжести новой ватерлинии определяю следующим
образом:
x´f = 
(м) (25)´f = 
=- 7,96´f = 
(м) (26)´f = 
= 0,28 (м).
Моменты инерции площади затопленного отсека рассчитываю по
формулам:
iυx = 
(м⁴) (27)
iυx = 
= 11178 (м⁴);
iυy = 
(м⁴) (28)
iυy = 
= 44524 (м⁴)
Рассчитываю моменты инерции потерянной ватерлинии относительно
поперечной и продольной осей по формулам (23, 24):
= iυx + Sυ
· yυ2+ S´ · (y´f)² (м⁴)
ipx = 11178
+ 414 · 52 + 
· 0,282 = 21757,8 (м⁴);
ipy = iυy + Sυ
· xυ2+ S´ · (x´f)² - S · x²f (м⁴)
ipy = 44524+
414 · 16² + 2931 ·
(-7,96)² - 3345 ·
(-5)
=181648 (м⁴).
Рассчитываю изменение поперечной и продольной метацентрических
высот по формулам (21,22):
Δh = 
· (To + 
- zv - 
) (м)
Δh = 
· (8,53 + 
- 3,39 - 
) = 0,16 (м);
ΔH = 
· (To + 
- zv
) (м)
ΔH = 
· (8,53 + 
- 3,39 - 
) =6,4(м).
По полученным данным рассчитываю новые значения поперечной и
продольной метацентрических высот:
h₁ = h + Δh (м)(29)₁ = 0,62 + 0,16= 0,78 (м) ;₁
= H + ΔH (м)(30)₁ = 145 + (- 6,4) = 138,6 (м),
где h - первоначальная поперечная метацентрическая высота
(м);- первоначальная продольная метацентрическая высота (м).
Углы крена и дифферента определяю по следующим зависимостям:

о = 
(31)

о = 
=15,9;
Ψо = 
(32)
Ψо = 
= 1,25.
Тн1 = To + ΔТ + 
(L / 2 - x´f) (33)
Тн1 = 8,53 + 1,2 + 
(
+ 7,96) = 9,59 (м);
Тк1 = To + ΔТ + 
(L / 2 + x´f) (м) (34)
Тк1 = 8,53 + 1,2 + 
(
+ 7,96) = 9,76 (м);
Тср1 = 
(м) (35)
Тср1 = 
= 9,67 (м).
Таблица 1 - сравнительная таблица элементов судна до и после
аварии
|
№п/п
|
Элементы
|
До аварии
|
После аварии
|
|
1
|
Средняя осадка
(м)
|
8
|
9,67
|
|
2
|
Осадка носом
(м)
|
8
|
9,62
|
|
3
|
Осадка кормой
(м)
|
8
|
10,82
|
|
4
|
Поперечная
метацентрическая высота(м)
|
0,62
|
0,78
|
|
5
|
Угол крена
(град)
|
0
|
15,9
|
|
6
|
Угол дифферента
(град)
|
0
|
1,25
|
|
7
|
Водоизмещение
судна (т)
|
24200
|
27259,46
|
По данным из таблицы №1 выполняю схему посадки аварийного
судна
Таблица 2- исходные данные
|
Наименование,
единицы измерения
|
Обозначение
|
Значение
|
|
Длина судна
|
L
|
172,0
|
|
Ширина судна
|
B
|
25,0
|
|
Осадка судна
|
T
|
8,53
|
|
Коэффициент
общей полноты судна
|
δ
|
0,662
|
|
Коэффициент
полноты ватерлинии
|
α
|
0,78
|
|
Поперечная
метацентрическая высота
|
h
|
0,62
|
|
Продольная
метацентрическая высота
|
H
|
145,0
|
|
Длина
затопленного отсека
|
l
|
23,0
|
|
Ширина
затопленного отсека
|
18,0
|
|
Площадь
пробоины
|
F
|
0,5
|
|
Координаты
центра тяжести затопленного отсека
|
xv
|
16,0
|
|
Yv
|
2,0
|
|
zv
|
3,39
|
|
Расстояние от
ватерлинии до центра пробоины
|
Hb
|
4,0
|
|
Абсцисса центра
тяжести площади ватерлинии
|
Xf
|
-5,0
|
|
Коэффициент
расхода
|
µ
|
0,7
|
Рисунок 3 - Схема аварийной посадки судна
4. Устройство и постановка мягкого пластыря
Виды мягкого пластыря. Большие, в некоторых
случаях средние пробоины не могут быть заделаны изнутри судна из-за воздействия
на пластырь значительных сил гидростатического давления воды. Отсеки с большими
пробоинами затапливаются водой за считанные минуты или секунды, поэтому заделка
их происходит первоначально со стороны внешнего борта при отсутствии расхода
воды через пробоину. Для этого на судах применяют мягкие пластыри. Они
способны принимать форму обводов корпуса судна. К мягким пластырям относятся:
кольчужный, шпигованный, пластырь Макарова - учебный.
Кольчужный пластырь (рис. 4) является
наиболее прочным из всех мягких пластырей. Он представляет собой металлическую
сетку-кольчугу 5 из стального гибкого каната диаметром 9 мм, состоящую
из соединенных между собой металлических колец, которые при натяжении пластыря
приобретают форму квадрата. Металлическая сетка обшита с каждой стороны двумя
слоями парусины. Внутрь каждой ячейки вставлены тройные парусиновые шайбы 4,
через которые прошиваются между собой все слои парусины. Сетка-кольчуга
препятствует вдавливанию парусины внутрь пробоины давлением воды. Пластырь
окантован одним общим пеньковым ликтросом 2, к которому крепится
стальной ликтрос сетки 3. По углам и посередине всех сторон пластыря в
ликтрос вделаны коуши (петли) 1 для крепления концов при заводке
пластыря. Масса пластыря размером 3x3 м равна 90 кг.
Рисунок 4. Кольчужный пластырь. 1 - коуш; 2 - ликтрос
пластыря; 3 - ликтрос сетки; 4 - парусиновые шайбы; 5 - сетка-кольчуга.
Кольчужный пластырь, имеющийся на судне, должен
обеспечиваться следующей комплектацией:
· конец подкильный из мягкого
стального троса диаметром 13,5 мм - 3 шт.;
· шкот окружностью 90-100
мм - 2-3 шт.;
· оттяжка пенькового троса
окружностью 75-90 мм, длиной 70 м - 2 шт.; скоба такелажная для стального
каната диаметром 24 мм - 12 шт.;
· тали с вертлюжным гаком
на 1000 кг - 2 шт.;
· канифас-блок для
пенькового троса окружностью 90 мм - 2 шт.;
· штерт контрольный
пенькового троса окружностью 50 мм, длиной 35 м, имеющий через каждые 0,5 м
насечки (узлами, либо краской, либо вшитой цветной материей) - 1 шт.
Шпигованный пластырь (рис. 5.) имеет
стандартные размеры 2x2 м, состоит из двух слоев парусиновых прошитых полотен 3.
На одну сторону нашит шпигованный мат 4. Пластырь окантован
ликтросом 1, по углам имеются коуши. В верхней части по середине имеется
коуш круглый (петля). На пробоину пластырь заводится шпигованной стороной.
Рисунок 5. Шпигованный пластырь. 1 - ликтрос пластыря; 2 -
бензель ликтроса; 3 - парусина; 4 - мат шпигованный
Пластырь Макарова (учебный) представляет собой соединение
двух слоев парусины, прошитой вдоль и поперек. Пластырь окантовывается
ликтросом, по углам располагаются коуши для крепления концов, причем один коуш
имеется в средней части одной из сторон пластыря для крепления контрольного
(мерного) штерта.
Заводка мягкого пластыря. Для временной заделки
больших пробоин в различных местах судна применяют мягкие пластыри. Для
успешной установки пластыря проводят ряд предварительных работ: определяют
точные размеры пробоины, ее расположение по высоте относительно действующей
ватерлинии и по длине судна (номера шпангоутов). Если размеры пробоины велики и
есть опасность (при откачке воды из аварийного отсека) вдавливания пластыря в
пробоину, предусматривают заводку на пробоину фальшшпангоута (стальной трос).
Рисунок 6. Схема постановки мягкого пластыря
Рисунок 7. Заведение подкильных концов и установка пластыря
на пробоину
Кроме того, на большие и очень большие пробоины можно
устанавливать бортовые кессоны (рис. 8). Эта процедура может быть
выполнена силами аварийно-спасательных служб и с помощью специально
оборудованных судов, а также на судоремонтных заводах при отсутствии доков.
Рисунок 8. Установка бортового кессона. 1 - кессон; 2 -
мягкие подушки; 3 - прижимные концы
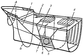
Практическая заводка пластыря на пробоину (рис. 6, 7)
является трудоемкой процедурой, требующей больших человеческих ресурсов (около
12 человек) и в общем плане может осуществляться следующим образом:
· заводят два подкильных
конца из мягкого стального троса через носовую оконечность, однако если судно
имеет большие размеры и позволяет кормовая оконечность (рули, винты не
выступают), а также в том случае, если пробоина вблизи кормы, целесообразнее
завести концы через кормовую оконечность; на ходу судна - только с носа (для
предотвращения попадания подкильных концов на винт, руль, выдвижные устройства
и другие выступающие части необходимо в средней части подкильных концов
закрепить груз; для этого можно использовать, например, тяжелые такелажные
скобы);
· на противоположном
аварийному борту два конца стального троса крепят на средства, способные к
выборке (тали, блоки, лебедка);
· в районе аварийного борта
убирают леера и стойки, мягкий пластырь разворачивают на палубе;
· за нижние крайние коуши
при помощи такелажной скобы крепят другие концы стального троса (подкильного
конца);
· за верхние крайние коуши
пластыря крепят шкоты из пенькового или синтетического троса;
· за средние боковые коуши
крепят оттяжки из пенькового или синтетического троса;
· за верхний средний коуш
крепят контрольный штерт;
· после надежного крепления
указанных тросов одновременно постепенно выбирают подкильные концы, которые
закреплены, например на талях, находящихся на противоположном аварийному борту,
при этом травя шкоты и оттяжки;
· шкоты и подкильные концы
необходимо установить под углом 45 градусов относительно сторон пластыря, что
обеспечит плотное прижатие его к пробоине;
· при спуске пластыря с
палубы на аварийный борт необходимо обеспечить по возможности плотное прижатие
пластыря к борту;
· расстояние от поверхности
воды до пробоины, т.е. глубину установки пластыря, необходимо контролировать по
контрольному штерту;
5. Бетонирование пробоин
Заделка повреждений корпуса судна при помощи бетона обладает
значительными преимуществами перед другими способами, так как отличается
надежностью, долговечностью и герметичностью. С помощью бетонирования можно не
только устранить водонепроницаемость корпуса, но и частично восстановить
местную прочность в районе поврежденного корпуса. Заделка пробоин бетоном
проводится для более надежной герметизации корпуса судна после временной
заделки пробоины пластырем, особенно в труднодоступных местах (под фундаментами
паровых котлов, механизмов, в оконечностях и на скулах судна). Кроме того,
практика показала, что в большинстве случаев только бетонированием удается
восстановить герметичность затопленных отсеков судна, сидящего на камнях или на
жестком грунте.
Недостатки бетонирования повреждений заключаются в том, что
это очень сложная и трудоемкая процедура. Бетон плохо переносит вибрацию и
обладает малым сопротивлением растяжению. Бетонирование необходимо осуществлять
в сухом помещении, так как подводное бетонирование намного труднее и менее
надежно.
Бетонированием могут заделываться надводные и подводные
пробоины. Простейшей является заделка пробоин, расположенных выше действующей
ватерлинии, в том случае если нет возможности заварить эти неплотности при
помощи газо- или электросварки. Такая заделка выполняется при наличии в обшивке
мелких отверстий, трещин, которые предварительно закрывают пластырями,
пробками, клиньями; законопачивают; корпус судна в районе повреждения тщательно
очищают, в труднодоступных местах его можно прожечь паяльной лампой; затем
устанавливают опалубку и заливают бетоном.
Рисунок 9. Постановка цементного ящика на пробоину. а -
днищевую; б - бортовую; 1 - упор; 2 - опалубка; 3 - водоотливная труба; 4 -
жёсткий пластырь; 5 - клинья для упора; 6 - клин для пробоины.
5.1 Установка цементного ящика
В целом организация установки цементного ящика на пробоину,
расположенную в подводной части корпуса судна, осуществляется следующим образом
(рис. 9):
· если есть возможность
установить мягкий пластырь на пробоину с внешней стороны корпуса, это сделать целесообразно,
исключая большие протечки воды в аварийный отсек;
· изнутри аварийного отсека
на пробоину необходимо установить и раскрепить жесткий пластырь 4 в виде
деревянного с мягкими бортами; если на судне нет пластыря необходимого размера,
его следует изготовить;
· борт в районе пробоины
тщательно очищают;
· в нижней части ящика
проделывают отверстие и устанавливают с небольшим уклоном дренажную
металлическую трубку 3 (диаметр трубки 3 необходимо подобрать
таким образом, чтобы вода свободно сливалась без напора);
· над внутренней опалубкой
устанавливают второй, наружный ящик (опалубка) большего размера, состоящий
только из четырех стенок (без верхней крышки); расстояние между стенками
наружного и внутреннего ящиков и превышение над крышкой должно быть не менее
250 мм;
· длину дренажной трубки
подбирают с тем расчетом, чтобы она выходила за пределы наружного ящика
(опалубки);
· после закрепления
опалубок пространство между стенками ящиков заполняют предварительно
приготовленным цементным раствором;
· после окончательного
заттвердения цементного раствора отверстие в дренажной трубке забивают
деревянной пробкой.
5.2 Приготовление цементного раствора
Цементный раствор (бетон) необходимо изготовлять вблизи места
работы (если позволяют размеры аварийного отсека) на специальном настиле с
бортами из плотно сбитых досок.
Компоненты цементного раствора и их соотношение:
1. быстротвердеющий цемент (портландцемент, глиноземный,
цемент Байдалина или другие) - 1 часть;
2. наполнитель (песок, гравий, битый кирпич, в крайнем
случае шлак) - 2 части;
. ускоритель твердения бетона (жидкое стекло - 5-8%
общего состава смеси, каустическая сода - 5-6%, хлорид кальция - 8-10%, соляная
кислота - 1-1,5%);
. вода (пресная либо забортная, однако приготовление
бетона на морской воде уменьшает его прочность на 10%) - по потребности.
Вначале на настил высыпают наполнитель (песок), сверху -
цемент, затем составные части цемента перемешивают, работают, как правило,
вдвоем, загребая лопатами навстречу друг другу.
На середину смеси порциями необходимо наливать воду и
тщательно перемешивать до получения однородной массы, напоминающей густое
тесто.
Для сокращения сроков твердения цементного раствора добавляют
ускорители в процентах относительно общего состава смеси, указанных выше.
Приготовленным раствором немедленно заполняют пространство
между внутренней и внешней опалубкой. Цемент схватывается примерно через 8-12
ч, а окончательно затвердевает через 3 сут.
При бетонировании значительных пробоин в раствор
целесообразно установить арматуру (связанные проволокой стальные пруты),
приваренную к корпусу судна.
Различные варианты бетонирования повреждений показаны на
рисунках 2 - 7. Установка цементного ящика (бетонирование) является временной
мерой. Поэтому при постановке судна в док или по его приходе в порт
поврежденные связи заменяют или заваривают отверстия. В том случае, когда нет
возможности поставить судно в док, бетонную заделку на корпусе судна
обваривают, т.е. заключают в привариваемую к корпусу стальную коробку. При
этом, если есть возможность, то снаружи или изнутри заваривают саму трещину или
разошедшийся шов в корпусе судна. Листы, образующие стенку коробки вокруг
бетонной заделки или цементного ящика, обычно приваривают непосредственно к
обшивке или набору судна. Затем все свободное пространство цементного ящика
заполняют новым раствором и сверху заваривают накладными листами.
Заключение
В курсовой работе рассмотрены технические характеристики
судна, мореходные качества, непотопляемость, ходкость, управляемость судна, что
полностью соответствуют требованиям регистра судоходства России. Тем самым
обеспечивается безопасная эксплуатация судна в различных гидрологических и
метеорологических условиях.
В работе произведена оценка времени затопления аварийного
отсека и предложены рекомендации по ликвидации последствий аварии.
Произведенный расчет параметров посадки и остойчивости показал, что при
заданном варианте повреждений корпуса судно будет иметь достаточную начальную
остойчивость, крен ьр10,7 градусов на левый борт и незначительный дифферент на
нос судна. Для спрямления судна необходимо принять балласт в цистерны №4,5
Список литературы
1. Моисеев
Я.З. Капарулин Н.В. Бельский Г.В «Транспортные рефрераторные суда промыслового
флота СССР. Каталог технических характеристик» - «Гипрыбфлот» Ленинград,1974
г.- с 113 -121.
2. Антипов
А.Б. Флот рыбной промышленности. Справочник - Москва.1990 г.- с 347 - 349.
. Донцов
С.В. «Основы теории судна» - Одесса: Феникс, 2007г.
. Смирнов
В.Г.«Теория и устройство судна» - Москва:Транспорт,1992 г.
. Снопков
В.И. « Правила классификации и постройки морских судов тт. 1,2. Российский
морской Регистр судоходства». Санкт-Петербург, 1999г.
6. <http://www.seaman-sea.ru>
раздел: теория устройства судна, борьба за живучесть
. http://www.seaman.com.ua/lib/safety/betonirovanie-proboin/