Расчет бурового вертлюга
Содержание
Введение
1.
АНАЛИЗ СУЩЕСТВУЮЩИХ КОНСТРУКЦИЙ
.1 Общее устройство вертлюгов
.2 Анализ отечественных вертлюгов
1.3 Анализ зарубежных вертлюгов
.4 Выбор и обоснование прототипа
.
ОПИСАНИЕ
КОНСТРУКЦИЙ ЭЛЕМЕНТОВ ВЕРТЛЮГА
. РАСЧЕТНАЯ
ЧАСТЬ
3.1 Расчет ствола
3.2 Расчет штропа
3.3 Расчет подшипника
.
ЭКСПЛУАТАЦИЯ И СМАЗКА ВЕРТЛЮГОВ
Заключение
Список
использованной литературы
Введение
Вертлюг предназначен для подвода бурового
раствора во вращающуюся бурильную колонну. В процессе бурения вертлюг подвешивается
к автоматическому элеватору, либо к крюку талевого механизма и посредством
гибкого шланга соединяется со стояком напорного трубопровода буровых насосов.
При этом ведущая труба бурильной колонны соединяется с помощью резьбы с
вращающимся стволом вертлюга, снабженным проходным отверстием для бурового
раствора. Во время спускоподъемных операций вертлюг с ведущей трубой и гибким
шлангом отводится в шурф и отсоединяется от талевого блока. При бурении
забойными двигателями вертлюг используется для периодических проворачиваний
бурильной колонны с целью предотвращения прихватов.
1.
АНАЛИЗ СУЩЕСТВУЮЩИХ КОНСТРУКЦИЙ
1.1 Общее устройство вертлюгов
На рисунке 1.1 показано схематическое устройство
вертлюга для бурения глубоких скважин. Основная вращающаяся деталь вертлюга -
полый ствол, воспринимающий вес колонны. Ствол, смонтированный в корпусе на
радиальных и упорных или радиально-упорных подшипниках качения, снабжен
фланцем, передающим вес колонны через главный опорный подшипник на корпус и
далее на штроп. Опоры ствола вертлюга фиксируют его положение в корпусе,
препятствуя осевым вертикальным и радиальным перемещениям и обеспечивая его
устойчивое положение при вращении.
Рисунок 1.1- Схематическое устройство вертлюга
- ствол; 2, 8 - нижний и верхний масляные
сальники; 3 - корпус; 4, 6 - подшипники радиальные нижний и верхний; 5 - опора
главная; 7 - опора вспомогательная; 9 - уплотнение быстросменное; 10 -
соединение быстроразъемное; 11 - труба напорная; 12 - крышка; 13 - подвод; 14 -
штроп
Вес корпуса вертлюга, толчки и удары от колонны
снизу вверх воспринимаются вспомогательной осевой опорой, устанавливаемой
обычно над главной. Ствол вертлюга является ведомым элементом. При принятом в
бурении нормальном направлении вращения бурильной колонны (по часовой стрелке,
если смотреть сверху на ротор) ствол и все связанные с ним детали во избежание
самоотвинчивания имеют стандартные конические левые резьбы. Вертлюг имеет штроп
для подвески его на крюках различной конструкции. Штроп крепится к корпусу на
осях и должен иметь возможность поворачиваться на угол до 40°.
Корпус имеет приливы, которые исключают
консольный монтаж осей штропа, ограничивают поворот и устанавливают его в
положение, удобное для захвата крюком, когда вертлюг с ведущей трубой находятся
в шурфе [1].
К верхней крышке корпуса прикреплен изогнутый
патрубок-подвод с резьбой или фланцем, к которому присоединяется напорный
буровой рукав. Напорный сальник во время роторного бурения эксплуатируется в
тяжелых условиях, срок его службы значительно меньше срока службы остальных
деталей вертлюга, поэтому сальник выполняется быстросменным.
Проточную часть вертлюга выполняют обтекаемой
формы для обеспечения минимальных гидравлических потерь и износа абразивными
частицами, содержащимися в буровом растворе, движущемся со скоростью до 6 м/с.
Размеры корпуса и конструкция вертлюга выполняются с учетом обеспечения
надежной смазки всех опор и отвода от них тепла. В верхней и нижней частях
корпуса для уплотнения зазора между корпусом и вращающимся стволом
устанавливают самоуплотняющиеся манжетные сальники, которые защищают внутреннюю
полость корпуса с масляной ванной от попадания в них влаги и грязи извне и
удерживают масло от вытекания из нее при вертикальном рабочем и горизонтальном
нерабочем положении вертлюга во время транспортировки и хранения [6].
Вертлюги снабжаются устройствами для заливки,
спуска и контроля уровня масла, а также сапунами с отверстиями для
уравновешивания с атмосферным
давления воздуха, создающегося внутри корпуса при нагреве в процессе работы.
Корпуса выполняются обтекаемой формы для того, чтобы вертлюг не цеплялся за
детали вышки при перемещениях. Детали предохраняются от самоотвинчивания.
.2 Анализ вертлюгов отечественного производства
Вертлюг - промежуточное звено между талевой
системой и бурильным инструментом. Он обеспечивает свободное вращение
инструмента и подачу бурового раствора в колонну труб.
Техническая характеристика вертлюгов
отечественного производства приведена в таблице 1.1 [9].
Таблица 1.1- Техническая характеристика
вертлюгов отечественного производства
Вертлюг установки БУ50Бр-1 (рисунок 1.2)
бесштропный, и для его подвески в корпусе выполнены две проушины под штроп
крюкоблока. Корпус вертлюга представляет собой стальную полую отливку. Чтобы
штроп
не
соскакивал, имеются подпружиненные защелки. Для откидывания защелки служит
петля стопора. В корпусе установлены радиальные и упорный шариковые подшипники,
в которых вращается ствол, воспринимающий вес колонны бурильных труб во время
бурения. К корпусу вертлюга сверху болтами крепится крышка. В проточку крышки
устанавливается уплотняющая ствол резиновая манжета, которая препятствует
вытеснению масла из корпуса.
Рисунок 1.2- Вертлюг БУ-50Бр
- отвод; 2 - фланец напорный; 3 - уплотнительное
кольцо; 4 - крышка; 5 - шарикоподшипник; 6 - корпус; 7 - ствол; 8 - упорный
шарикоподшипник; 9 - защелка; 10 - скоба; 11 - опорные кольца; 12 - нижний
радиальный подшипник; 13 - масляный сальник; 14 - нижняя крышка; 15 - напорная
труба; 16 - переводник; 17 - нажимная втулка; 18 - нажимное кольцо; 19 -
манжетное уплотнение; 20 - пружина уплотнения; 21 - грундбукса; 22 - крышка
Для герметичности масленой ванны между корпусом
и крышкой установлена паронитовая прокладка. Сверху к крышке крепится отвод, к
которому подсоединяется буровой рукав. Между крышкой и отводом болтами
зажимается фланец грязевой трубы. Внизу в переводнике радиальной опорой
грязевой трубы служит грундбукса грязевого сальника, выполненная из латуни. В
нижней части корпуса вертлюга на болтах крепится крышка, в ней устанавливаются
четыре уплотнения - две самоуплотняющиеся резиновые манжеты, резиновое кольцо и
войлочное уплотнительное кольцо. Уплотнения препятствуют протеканию масла из
корпуса вертлюга. Из масленки, размещенной в крышке, смазка подается в полость
между резиновыми манжетами. Нижний конец ствола вертлюга имеет левую резьбу для
подсоединения к нему переводника. В корпусе переводника выполнена проточка, в
которой расположены грундбукса и манжетное кольцо грязевого сальника. Между
манжетами грязевого сальника и грунбуксой находится манжетное уплотнение,
представляющее собой набор асбографитовых манжет. Снизу манжеты через кольцо
грязевого сальника поджимаются распорной пружиной, а сверху через грундбуксу -
нажимной втулкой. Поджатие манжет регулируется гайками двух откидных болтов. На
нижнем конце переводника сделана замковая резьба для соединения с квадратной
штангой. Для предохранения резьбы от повреждений при транспортировке на нее
навинчивают крышку. В верхней крышке корпуса вертлюга имеется пробка -
отдушина, через которую заливают масло в полость корпуса. Сливная пробка
расположена в нижней крышке. Пробка, расположенная в средней части корпуса,
служит для контроля за уровнем масла.
Вертлюг установки БУ75Бр (рисунок 1.3) пальцами
шарнирно соединен со штропом. Форма приливов корпуса обеспечивает поворот
штропа в положение, удобное для заводки его в зев крюка. На пальцах имеются
резьбовое отверстие, предназначенное для демонтажа, и масленка. В верхней части
корпуса установлен сфероконический роликоподшипник - основная опора ствола
вертлюга. В нижнюю часть корпуса вертлюга вмонтирован упорный
шарикоподшипник,
который центрирует ствол и воспринимает нагрузку от толчков, идущих с забоя. Во
время вращения ствола масло поднимается по напорной трубке и, стекая вниз,
смазывает подшипник. На корпусе вертлюга установлена верхняя крышка, к которой
через уплотнительную прокладку крепится отвод. Внутри крышки проходит грязевая
труба.
Рисунок 1.3- Вертлюг БУ-75Бр
- штроп; 2 - отвод; 3 - грязевая труба; 4 -
нажимная гайка; 5 - масленки; 6 - сальник; 7 - корпус сальника; 8 - втулка; 9 -
грундбукса; 10 - верхняя крышка; 11 - ствол; 12 - корпус; 13 - сфероконический
роликоподшипник; 14 - напорная трубка; 15 - упорно-радиальный шарикоподшипник;
16 - установочная гайка; 17 - пробка; 18 - манжета; 19 - войлочное кольцо; 20 -
переводник; 21 - предохранительная крышка; 22 - нажимная крышка; 23 - втулка;
24 - нижняя крышка; 25 - пробка; 26 - пружина; 27 - манжета грязевого сальника;
28 - манжетное кольцо
Ствол вертлюга - основная вращающаяся деталь,
воспринимающая вес колонны. На нижнем конце ствола имеется резьба для
присоединения переводника. Сверху манжеты поджимаются через манжетное кольцо
нажимной гайкой, а снизу - пружиной. Вытеснение смазки из корпуса вертлюга
предупреждают уплотнения, установленные в верхней и нижней частях ствола. В
нерабочем положении на переводник навертывают предохранительную крышку.
Рисунок 1.4- Вертлюг УВ-250
- переводник; 2 - нижняя крышка; 3 -
подшипник; 4 - корпус; 5 - ствол; 6 - основная опора; 7 - палец; 8 - стопорная
планка; 9, 10 - подшипник; 11 - отвод; 12 - штроп
Вертлюг ШВ 14-160 - стальная полая конструкция с
карманами для штропа. Внутри корпуса имеется кольцевая площадка под плиту
основной опоры. Штроп соединяется с вертлюгом пальцами. Сверху корпус закрыт
крышкой,
в которой смонтировано наружное кольцо верхнего направляющего подшипника. К
верхнему фланцу крышки присоединяются отвод шлангового соединения и грязевая
труба. Плита основной опоры крепится к корпусу четырьмя винтами. В нижней части
вертлюга крепится корпус масляного сальника с вмонтированными двумя
пружинно-манжетными уплотнениями, которые предотвращают вытекание масла в месте
выхода нижнего конца ствола. Ствол своим фланцем через основной подшипник и
плиту опирается на кольцевую площадку корпуса. Ниже основной опоры
располагаются упорный и нижний направляющий подшипники. Упорный подшипник
поджимается гайкой ствола с зазором 0,1 мм. Грязевый манжетный сальник
уплотняет соединение грязевой трубы и ствола. В сальнике установлены V-образные
манжеты, которые под давлением самоуплотняются.
Конструкция верхнего масляного сальника
исключает попадание раствора в масляную ванну корпуса вертлюга.
Вертлюг УВ - 250 (рисунок 1.4). Корпус вертлюга
выполняется в виде стальной полой отливки с двумя кронштейнами. В кронштейнах и
корпусе имеются горизонтальные отверстия для пальцев, при помощи которых
вертлюг соединяется со штропом. Кронштейны фиксируют положение штропа, удобное
для подхватывания его крюком при вытаскивании вертлюга с ведущей трубой из
шурфа. Угол поворота штропа не превышает 45º.
Пальцы штропа имеют смазочные канавки и
отверстия с резьбой для пружинных масленок. В центральной части корпуса имеется
кольцевая площадка, к которой крепится плита. На нее устанавливается основная
опора. Ниже кольцевой площадки имеется цилиндрическая расточка, в которой устанавливается
роликовый радиальный подшипник. Такой же подшипник размещается в крышке
корпуса, и оба они центрируют ствол вертлюга. В основной опоре ствола
устанавливается упорный подшипник с короткими цилиндрическими роликами.
Благодаря укороченной длине снижается скольжение роликов относительно колец при
вращении ствола. Это благоприятно влияет на износ и нагрев подшипников. Ствол
представляет собой стальной
цилиндр с центральным проходным отверстием для промывочной жидкости и с
наружным фланцем для упорных подшипников. Ствол вращается с частотой бурового
ротора и испытывает нагрузки, создаваемые бурильной колонной и промывочной
жидкостью, нагнетаемой в скважину. По сравнению с другими несущими узлами и
деталями ствол вертлюга наиболее нагружен. Это предъявляет повышенные
требования к его прочности.
Для соединения вертлюга с ведущей трубой
бурильной колонны используется сменный ниппельный переводник, предохраняющий
резьбу ствола от износа и механических повреждений. В связи с тем, что ствол
вертлюга и верхний переводник ведущей трубы имеют внутренние резьбы, для их
соединения используется переводник ниппельного типа. С целью предотвращения
самоотвинчивания при вращении долота ствол вертлюга, переводники и верхний
конец ведущей трубы имеют левую резьбу. Корпус вертлюга закрывается верхней и
нижней крышками с центральными отверстиями для выводных концов ствола. Крышки
крепятся к корпусу ввертными болтами. Верхняя крышка снабжена стойками и вторым
фланцем, на котором укреплен отвод для соединения вертлюга с буровым шлангом.
Из отвода промывочная жидкость поступает в проходное отверстие ствола через
промежуточное устройство.
Полость между корпусом с крышками и стволом
вертлюга заполняется жидким маслом для смазки основного и нижнего радиального
подшипников. Стакан ствола образует отдельную масляную ванну для смазки
вспомогательного и верхнего радиального подшипников. Масло заливается через
отверстие в верхней крышке корпуса. Для слива отработанного масла предусмотрено
отверстие в нижней крышке корпуса. Уровень масла проверяется контрольной
пробкой, ввинченной в корпус вертлюга. Масляные отверстия закрываются
резьбовыми пробками.
Вертлюги УВ-320 и УВ-450 аналогичны вертлюгу
УВ-250. Отличие состоит только в том, что основные детали, воспринимающие
нагрузку от бурильных колонн и
давление, создаваемой насосами, рассчитанными на эту нагрузку, получились более
мощными и привели к некоторому увеличению габаритных размеров и массы этих
вертлюгов.
1.3 Анализ вертлюгов зарубежного производства
Техническая характеристика вертлюгов зарубежного
производства приведена в таблице 1.2.
Таблица 1.2- Техническая характеристика
вертлюгов зарубежного производства
Все вертлюги, выпускаемые в США, одинаковы по
конструктивной схеме и незначительно отличают между собой в выполнении
отдельных элементов. Допускаемая скорость вращения превышает 400 об/мин. Как
правило, все вертлюги обтекаемой формы. Ствол вертлюга установлен на системе
опор, состоящей из основной опоры - упорного роликоподшипника с коническими
роликами, воспринимающего основной вес бурильной колонны, вспомогательного
упорного шарикоподшипника, который воспринимает случайные осевые нагрузки снизу
вверх, и двух радиальных направляющих роликоподшипников,
расположенных по обе стороны основной опоры. В некоторых вертлюгах
вспомогательный упорный и верхний направляющий подшипники заменены одним
радиально-упорным подшипником. Обычно вертлюг имеет три сальника, один грязевый
и два масляных (верхний и нижний). Грязевый сальник состоит из набора шевронных
уплотнительных колец. Масляные сальники состоят из двух пружинно-манжетных
уплотнений каждый. Корпуса вертлюгов большинства американских фирм с наружной
стороны сверху имеют два односторонних выступа, между которыми вставлена
резиновая подушка, служащая амортизирующей опорой для постоянно подвешенных на
борте штропов и для уменьшения шума в буровой.
Фирма Bowen
предлагает целый набор силовых вертлюгов, от малых портативных установок, чаще
всего применяемых для мелких ремонтных работ, до моделей с крутящим моментом до
20000 ft/Lbs,
предназначенных для глубокого скважинного бурения или работ, связанных с
крупным свайным сооружением. Имеются также установки, частоту вращения и момент
которых можно приспособить к любому виду работ.
Все силовые вертлюги Bowen
создаются для получения сглаженного, без ударной нагрузки, крутящего момента,
что снижает износ бурильной колонны. Благодаря применению силового вертлюга Bowen
в большинстве случаев снижается потребность в цепных и трубных ключах,
вращателях для добавления трубы; это сокращает количество запусков и остановок,
что в свою очередь снижает износ насосов, лебедок и прочего бурового
оборудования.
Все модели S-45,
HDS-2, S-2,5,
S-3, S-3,5,
S-200, S-300
имеют гидропривод и соответствующий трейлер или установлены на салазках вместе
с барабаном силового шланга и хорошо согласованным дизельным приводом. На
большей части моделей вертлюги или несущие переводники стойки стандартны. Блоки
управления могут быть из разряда пневматических, электрических или униблочных
(гидравлических), и монтируются на портативных стойках, которые можно
устанавливать отдельно от блока питания. Калиброванные приборы для измерения
крутящего момента стандартны.
Силовые вертлюги S-2,5
и S-3,5. Эти установки
с хорошо согласованными силовыми блоками примерно на 25% легче других установок
с аналогичным крутящим моментом и скоростными характеристиками.
В предлагаемых установках применяется замкнутая
гидравлическая система с переменной подачей, допускающая реверсирование через
центральные насосы и имеющая, как правило, пневматическое управление
(предусмотрено также и электрическое управление). Частоту вращения можно
изменять на протяжении всего рабочего цикла. Управление крутящим моментом
напорно-компенсаторного типа обеспечивает отключение управления частотой
вращения для достижения нужного максимального крутящего момента. Стандартные
установки имеют крутящий момент от 3200 ft/Lbs
и частоту вращения 195 мин-1 для S-2,5А
до 8100 ft/Lbs
и 155 мин-1 для S-3,5.
Силовые вертлюги S-200 и S-300 фирмы Bowen представляют
собой установки с гидравлическим приводом для вращения труб. Компактная модель
S-200 согласно проекту выдерживает растягивающие нагрузки на трубу до 200 m
без вращения и 106 m
динамической нагрузки при частоте вращения 100 мин-1. У модели S-300
расчетная динамическая нагрузка 300 m
при 50 мин-1.
Обе установки оснащены промывочным узлом, что
допускает циркуляцию через бурильный инструмент во время вращения или в
неподвижном положении. Расчетные номинальные характеристики силового вертлюга
модели S-200 для крутящего
момента 11000 ft/Lbs
(максимум) при 160 мин-1 (максимум). У модели S-300
- 1500 ft/Lbs
при 100 мин-1, соответственно. Существует модель с дополнительной
характеристикой 19000 ft/Lbs.
Насос с переменной подачей и гидравлическая
система позволяют бесконечно менять крутящий момент и частоту вращения в
пределах, указанных выше, при этом не нужно переставлять шестерни или
останавливать и вновь включать установку. Силовые вертлюги Bowen
S-200 и S-300
поставляются в комплекте с соответствующей силовой установкой, а также с
пневматическим или электрическим дистанционными средствами контроля. Все
указанные
компоненты установлены на салазки или трейлер и образуют единую прочную
портативную установку.
Вертлюги фирмы Industrialexport,
в частности вертлюг СН-200 обладает длительным сроком службы, быстрым
подсоединением и отсоединением бурового рукава. Основное преимущество вертлюгов
этого типа состоит в жесткой установке отвода, позволяющей выдерживать
направление бурового рукава.
Производятся вертлюги для геологического
бурения, позволяющие достигать частоту вращения 1500 мин-1 без
осевой нагрузки и выдерживать колонну бурильных труб до 32 тонн без вращения.
Промывочные вертлюги предназначены для
использования с подъемниками румынского или российского производства при
текущем и капитальном ремонте скважин. Выпускаются в двух вариантах
грузоподъемностью 50 и 80 тонн. Рассчитаны для работы при температуре
окружающей среды от - 40ºС до + 40ºС.
Вертлюг фирмы "Резерфорд-Петко" для
бурения скважин на море предназначен для поддержания стабильного положения внутренней
гидравлической труборезки при использовании её в морском бурении при качке.
После спуска и установки на устье скважины вертлюг обеспечивает плавное ведение
операций при работе труборезки.
Силовые вертлюги этой фирмы способны передавать
крутящий момент в 11000 ft/Lbs
и выдерживать нагрузку 200 m.
В установках применяется система гидравлики с замкнутой цепью переменной
вместимости, допускающей реверс и имеющей
пневматическое или электрическое управление.
Две 500-тонные модели силовых вертлюгов фирмы "Нэйшенл"
- односкоростная модель PS1
и двухскоростная PS2.
Особенности моделей: встроенный вертлюг - в системе используются коренной
подшипник P-650 и промывочная
втулка (отдельного вертлюга не требуется); система с двумя направляющими -
изолирует узлы вертлюга (подшипники и шток) от веса обсадных и бурильных труб.
Эти модели рассчитаны на грузоподъёмность 500 m;
не требуется гидравлический привод - все функции выполняются с использованием
электрического или пневматического привода.
Конструкция вертлюга РС-650 фирмы
"Нэйшенл" (США) рассчитан на рабочую нагрузку 4,25 МН при частоте
вращения до 100 об/мин и допускает максимальную частоту вращения до 400 об/мин.
Главная опора - конический роликоподшипник - хорошо смонтирована в корпусе,
оригинально выполнена система смазки с вынесенной горловиной, что позволяет
полость вертлюга заполнять жидкой смазкой до уровня, беспечивающего надёжную
смазку верхнего радиального роликового и упорного подшипников. Ствол вертлюга
выполнен мощной конструкцией с проходным отверстием диаметром 76 мм, подвод
бурового рукава приспособлен для резьбового соединения [7].
Вертлюги N-47,
N-49 с диапазоном
глубин бурения 1200-2750 м и вертлюги Р-400, Р-500, Р-650 с диапазоном глубин
бурения 2400-10000 м фирмы "Нэйшенл", все с максимальной частотой
вращения ствола 400-450 об/мин, имеют несколько меньшую массу, чем
отечественные при том же диапазоне глубины бурения.
.4 Выбор и обоснование прототипа
На основании сделанного анализа остановим свой
выбор на продукции отечественного производства и выберем в качестве прототипа
вертлюг буровой УВ - 250. Он прост в обслуживании, надежен в эксплуатации и
имеет ряд преимуществ:
ü кинематическая четырехопорная схема
обеспечивает длительную работу без регулировки по вертикали;
ü быстросъемное уплотнение с трубой
"плавающего" типа значительно удлиняет срок службы манжет и не
требует много времени на замену;
ü конструкции нижней части корпуса
уплотнения гарантируют надежную герметизацию масляной ванны и высокую
работоспособность манжет;
ü отвод из высоколегированной стали
обладает износостойкостью к воздействию промывочной жидкости при высоких
давлениях.
В этом вертлюге удачно использован объем
корпуса, в результате чего уменьшена высота вертлюга и упрощен монтаж ствола.
Уплотнение с двухсторонней отработкой уплотнительной пары повышает ресурс
работы узла.
2.
ОПИСАНИЕ КОНСТРУКЦИЙ ЭЛЕМЕНТОВ ВЕРТЛЮГА
Все вертлюги имеют принципиально общую
конструкцию. Вертлюг состоит из двух узлов - система вращающихся и
невращающихся деталей. Невращающаяся часть вертлюга подвешивается к подъёмному
крюку, а к вращающейся части вертлюга - бурильная колонна.
К невращающимся деталям относятся: корпус
вертлюга, крышка, отвод, штроп. Вращающиеся детали: ствол вертлюга, переводник,
сальниковый и подшипниковые узлы.
Корпус вертлюга представляет собой полую отливку
из низколегированной или углеродистой стали (35Л и др.) с наружными боковыми
карманами для штропа. Внутренняя полость отливки разделена по высоте
горизонтальной перемычкой, служащей опорной поверхностью основного упорного подшипника
ствола и усиленной для жесткости вертикальными ребрами.
Конструкция опорных поверхностей подшипников в
корпусе вертлюга должна исключать возможность нарушения её перпендикулярности
относительно оси ствола, так как это ведёт к преждевременному износу основной
опоры.
Между стенками корпуса и опорной плитой
предусматриваются каналы для обеспечения циркуляции смазки при вращении ствола.
Штроп имеет дугообразную форму и круглое поперечное сечение.
При конструировании корпуса весьма важно
обеспечить максимально возможное расстояние между осью шарниров штропа и
опорой, что позволяет достичь большой стабильности оси ствола при вращении и
смещения центра массы вертлюга к нижней крышке. Такое решение снижает риск
изгиба ведущей трубы при её установке в шурф и подъёме из него. В некоторых
вертлюгах к корпусу приваривают или укрепляют на болтах кронштейны с резиновыми
амортизаторами,
предохраняющими корпус от ударов штропов. Вертлюги с амортизаторами должны
иметь несколько увеличенную ширину.
На высаженных концах штропа рассчитываются
отверстия для пальцев, соединяющих штроп с корпусом вертлюга. Пальцы
устанавливаются в горизонтальных расточках карманов и корпуса и предохраняются
от выпадения и поворотов стопорной планкой, которая входит в торцевой паз
пальца и приваривается к корпусу вертлюга. При отводе ведущей трубы в шурф
штроп вертлюга отклоняется от вертикали и занимает положение, удобное для
разъединения и соединения его с крюком талевого механизма. Угол поворота штропа
ограничивается стенками карманов корпуса вертлюга и не превышает 45º.
Пальцы штропа имеют смазочные канавки и отверстия с резьбой для пружинных
масленок. Резьба смазочных отверстий используется для завинчивания болтов, с
помощью которых производится распрессовка пальцев вертлюга.
Штропы вертлюгов изготавливают из
низколегированных конструкционных сталей марок 40ХН, 40ХНМА, 38ХГН, 30ХГСА и
др. по ГОСТ 4543-81 [2]. Штропы изготавливают методом свободной ковки с
высадкой и прошивкой пружин. Механической обработке подвергаются только
отверстия и торцевые поверхности проушин.
Для получения равнопрочной конструкции диаметр
штропа на наклонном прямолинейном участке обычно увеличивают в направлении к
дуговой части с отношением наибольшего и наименьшего диаметров до 1,4.
Изгибающий момент имеет максимум в сечении перегиба. Для обеспечения
необходимой прочности и жесткости штропа с учетом износа его дуговая часть
выполняется эллиптического сечения. В вертлюгах малой грузоподъёмности штропы
для упрощения изготавливают кругового сечения.
Штроп вертлюга изнашивается по отверстиям
проушин и внутреннему радиусу дуговой части. Для защиты проушин от износа
применяют сменные втулки. При проектировании диаметр штропа иногда увеличивают
на 15-20% с учетом износа.
В корпусе вертлюга на упорных и радиальных
подшипниках вращается ствол с переводником для соединения вертлюга с ведущей
трубой бурильной колонны. Ствол вращается с частотой бурового раствора и
испытывает нагрузки, создаваемые бурильной колонной и промывочной жидкостью,
нагнетаемой в скважину.
Ствол вертлюга - наиболее нагруженная и
ответственная деталь. На ствол действует растягивающая сила, изгибающий момент
и внутреннее давление. Ствол также подвержен усталостному и
абразивно-эрозионному износу по внутренней поверхности канала и механическому
износу в зоне контакта с уплотняющими кольцами.
Стволы изготавливаются из конструкционных
низколегированных сталей перлитного класса марок 40Х, 40ХН, 38ХГН, 38ХВА,
34ХН1М по ГОСТ 4543-81 и др. Заготовки стволов получают свободной ковкой,
причем грибовидный опорный фланец выполняется за одно целое со стволом. Ствол
подвергается закалке с последующим отпуском до твердости 280-320 НВ.
Снаружи и внутри ствол подвергают механической
обработке, посадочные поверхности и переходные участки шлифуют. Наружные и
внутренние поверхности канала должны быть сосны и иметь минимальную
разностенность, а также жесткими для обеспечения равномерного распределения
напряжений по сечениям. Биение посадочных шеек подшипников и перпендикулярность
плоскости опорного фланца к оси вращения ствола должны оговариваться допусками,
величину которых рассчитывают или выбирают по нормам завода-изготовителя.
Диаметр канала ствола определяется скоростью
потока промывочной жидкости. Во избежание абразивного износа эта скорость
должна быть более 6 м/с. Канал не должен иметь резких пережимов и расширений.
Увеличение диаметра канала влечет за собой увеличение его наружного диаметра,
что снижает долговечность уплотнительных устройств. Длину ствола выбирают с
учетом возможности многократной нарезки изношенной левой внутренней замкнутой
резьбы, выполненной по ГОСТ 5286-75, служащей для соединения
с
ведущей трубой. Для предохранения резьбы от износа применяют предохранительные
переводники. Участки ствола, контактирующие с верхними и нижними
уплотнительными манжетами, защищают от износа втулками или удлиненным
внутренним кольцом подшипников. Втулки шлифуют и термически обрабатывают до
45-50 HRC.
Опоры ствола вертлюга воспринимают нагрузки,
обеспечивают свободное вращение ствола и его фиксацию от радиальных и осевых
перемещений. В качестве главной опоры в вертлюгах применяют подшипники упорные
или ударно-радиальные в последнем случае или воспринимаются также радиальные
нагрузки и центрируется ствол в корпусе.
Для работы при высоких частотах вращения
подшипники имеют массовые стальные или бронзовые сепараторы. Штампованные
сепараторы и бессепараторные конструкции применяются редко.
Основные опоры вертлюгов являются элементами,
лимитирующими их работоспособность. При эксплуатации они испытывают
разнообразные повреждения: выкрашивание, отслаивание, усталостные трещины,
осповидный износ на поверхностях тел качения и колец, образование
подповерхностных трещин, приводящих к контактно-усталостным разрушениям.
Устранение проскальзывания тел качения по
кольцам и снижение контактных напряжений уменьшают вероятность контактного
окатывания и повышают долговечность основной опоры.
Лучше из этих упорных подшипников - роликовые
сферические с бочкообразными роликами, обеспечивающие более равномерное
распределение нагрузки, в результате чего снижается износ внешних торцов
роликов и колец подшипника. Однако вследствие сложности изготовления эти
подшипники применяют весьма ограниченно. В обычных конических роликоподшипниках
бурт кольца и торцы роликов сильно изнашиваются под действием центробежных сил,
возникающих в роликах при вращении ствола.
Выбор того или иного радиального подшипника
определяется конструктивными соображениями и возможностями использования
стандартных
подшипников.
Более удачный вариант крепления радиального и
упорного вспомогательного подшипников, когда они оба центрируются в расточке
крышки одного диаметра и обеспечивают их сложность. Эти конструкции не только
проще, но и обеспечивают лучшие условия работы ствола. Регулировка упорного
подшипника осуществляется прокладками между крышкой и корпусом, что проще и
лучше, чем гайкой, так как при этом заранее можно проконтролировать необходимый
зазор в подшипнике и установить прокладку нужной толщины, а при фиксации гайкой
подшипник может быть пережат, чего не следует допускать во избежание
ускоренного износа, перегрева и закаливания.
В качестве основных опорных подшипников в
вертлюгах, рассчитанных на большие нагрузки, чаще всего применяют роликовые
подшипники с коническими роликами. Подшипники с цилиндрическими роликами
применяются реже.
Для вспомогательных опор вертлюгов обычно
применяют упорные шариковые или роликовые подшипники. В качестве радиальных
опор используют однорядные радиальные роликовые подшипники с короткими
цилиндрическими, иногда и с игольчатыми роликами.
В связи с тем, что ствол вертлюга и верхний
переводник ведущей трубы имеют внутренние резьбы, для их соединения
используется переводник ниппельного типа. С целью предотвращения
самоотвинчивания при вращении долота ствол вертлюга, переводники и верхний
конец ведущей трубы имеют левую резьбу. Следует помнить, что нижний переводник
ведущей трубы и все другие соединения бурильной колонны имеют правую резьбу,
совпадающую с направлением вращения долота.
Корпус вертлюга закрывается верхней и нижней
крышками с центральными отверстиями для выводных концов ствола. Крышки крепятся
к корпусу ввертными болтами. Верхняя крышка снабжена стойками и вторым фланцем,
на котором укреплён отвод для соединения вертлюга с буровым шлангом. Из
отвода
промывочная жидкость поступает в проходное отверстие ствола через промежуточное
устройство.
Полость между корпусом и крышками и стволом
вертлюга заполняется жидким маслом для смазки основного и нижнего радиального
подшипников. Стакан ствола образует отдельную масляную ванну для смазки
вспомогательного и верхнего радиального подшипников. Масло заливается через
отверстия в верхней крышке корпуса. Для слива отработанного масла предусмотрено
отверстие в нижней крышке корпуса. Уровень масла проверяется контрольной
пробкой, навинченной в корпус вертлюга. Масляные отверстия закрываются
резьбовыми пробками.
Разработаны различные конструкции устройств для
соединения отвода со стволом. Быстросъёмное соединение отвода со стволом
состоит из свободно плавающей напорной трубы, манжетных уплотнений для
герметизации прокачиваемой жидкости и накидных гаек, навернутых на ствол и
втулку, зажатую крепёжными болтами между отводом и фланцем крышки вертлюга.
Свободно плавающая напорная труба позволяет обеспечить быструю замену
уплотнений и самой трубы, изнашиваемых абразивными частицами, содержащимися в
промывочной жидкости. Для этого необходимо отвернуть накидные гайки и, вытащив
весь узел, заменить его новым или заблаговременно отремонтированным.
Каждая эластичная самоуплотняющаяся манжета,
уплотняющая зазор между корпусом и трубой, размещается в индивидуальной камере,
образуемой дистанционными кольцами. Камеры ограничивают деформации манжет под
действием давления раствора. Верхняя манжета служит для удержания консистентной
смазки, периодически закачиваемой ручным насосом через пресс-масленку в
манжетные камеры для снижения трения и износа. Это уплотнение надежно работает
при рабочих давлениях 35 МПа; испытательное давление 55 МПа.
Практикой
установлено, что оптимальным является наличие трёх рабочих манжет, так как
применение большого числа манжет не увеличивает срок
службы
уплотнения, а ведет к перегреву вследствие плохого теплоотвода и чем больше
поверхность соприкосновения, тем быстрее идёт износ, а надёжность не
повышается. Манжеты изготовляются из маслостойких резин с твёрдостью по прибору
ТИР 76-86, резиноасбестовых композиций или пластмасс полиуретановой группы.
Для
изготовления напорных труб используют бесшовные трубные заготовки из
низколегированных цементуемых конструкционных сталей по ГОСТ 4543-81 (12ХН2А,
20ХН3А и др.). Напорные трубы подвергают термохимической обработке для создания
по наружной поверхности износостойкого слоя твердостью 52-62 HRC
на глубину 1,5-3,0 мм. В некоторых вертлюгах применяют трубы из конструкционных
среднеуглеродистых сталей. Наружную поверхность напорных труб подвергают
высокоточной механической обработке, для уменьшения шероховатости практикуется
полирование или выглаживание роликами. Долговечность
напорного сальника зависит от давления уплотняемого раствора, его плотности,
концентрации, абразивных частиц в нём и от частоты вращения ствола.
Экспериментально установлено, что долговечность при давлении 16 МПа и плотности
раствора 1200 кг/м3 находится в пределах от 3∙105
до 6∙105 при частоте вращения ствола 70-200 об/мин.
Сальники,
удерживающие жидкую смазку в ванне корпуса вертлюга, имеют уплотняющие элементы
- эластичные манжеты одностороннего действия. Уплотнительные кольца
изготавливают из маслотеплостойких резин или пластмасс. Для повышения усилия
обжатия применяют уплотняющие кольца с тороидальными пружинами. Между манжетами
иногда устанавливают металлическое дистанционное кольцо для улучшения
теплоотвода. Масляные сальники вертлюгов работают в относительно благоприятных
условиях - при давлении, практически равном атмосферному. Скорость скольжения
до уплотняемой поверхности обычно не превышает 3 м/с.
3.
РАСЧЕТНАЯ ЧАСТЬ
3.1 Расчет ствола
Исходные данные для расчета вертлюга:
Материал ствола прототипа вертлюга 34ХН1М σВ
= 655 МПа,
нагрузка от наибольшего веса бурильной колонны Q
= 310 тонн
Рисунок 3.1- К расчету ствола вертлюга
В сечении 1 - 1 грибовидный фланец ствола
подвергается деформации изгиба. Напряжение изгиба в этом сечении
где Мизг - изгибающий
момент в сечении:
Мизг = Qp ∙ lц ,
p - расчетная
осевая нагрузка на ствол:
вертлюг скважина бурение
смазка
Qp = kд ∙ Q ∙ g ,
- расстояние от центра основной
опоры до опасного сечения:
,
- осевой момент сопротивления
кольцевого сечения,
,
где h - высота
грибовидного фланца, h = 110 мм;
кд = 1,25 - коэффициент
динамичности приложения нагрузки [9];
Q - нагрузка
на ствол, Q = 310 тонн.
p = 1,25 ∙
310000 ∙ 9,8 =3920 кН.
Мизг = 3920 ∙ 0,06
= 235,2 кН ∙ м.
Коэффициент запаса прочности

где km -
коэффициент концентрации напряжения в резьбе при простых расчетах, km = 3 [9];
F - площадь
поперечного сечения ствола в сечении 2 - 2:
где D - диаметр
сечения, D = 0,197 м,
d4 = d + 2 ∙
P = 0,075 + 2
∙ 0,003175 = 0,08135 м, [4],
Коэффициент запаса прочности
меняем
материал ствола вертлюга на более прочный 40ХН σВ = 820 МПа.
Коэффициент запаса прочности в
сечении 1 - 1
Коэффициент запаса прочности в
сечении 2 - 2
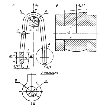
.2 Расчет штропа
Материал штропа вертлюга Сталь 35, σв = 530 МПа
Расчет штропа вертлюга производят на
растяжение и условный изгиб по сечениям I - IV.
В сечении I - I возникают напряжения
от половины расчетной нагрузки, приходящейся на одну из двух ветвей штропа.
Где Qp - расчетная
нагрузка, кН,
d1
- диаметр
штропа, 0,15 м,
Рисунок 3.2- Схема к расчету штропа
В сечении II - II штроп
рассчитывают на условный изгиб по формуле Ляме.
где R2 - радиус
закругления, R2 = 0,125 м;
R1 - радиус
изгиба, R1 = 0,275 м;
qII -
интенсивность давления,
где С - диаметр зева крюка под вертлюг, С = 0,3
м [4],
α
= 90º,
Для расчета сечения III - III надо знать
диаметр d, который
равен диаметру пальца штропа. В пальце штропа возникают напряжения среза по
двум площадкам на двух ветвях штропа:
где Fп - площадь
поперечного сечения пальца, м2;
п - диаметр пальца штропа, м, dп = 0,1 м,
Проушина
штропа в сечении III - III рассчитывается на условный изгиб по формуле Ляме.
Находим интенсивность давления в сечении III - III
где
d = dП - диаметр
пальца, dП = 0,1 м;
b - ширина штропа, b = 0,1 м,
где
D - диаметр
проушины, D = 0,33 м,
Кроме
того, проушину штропа необходимо проверить на растяжение в сечении IV - IV:
3.3
Расчет подшипника
При
расчете подшипника сначала определяют эквивалентную нагрузку Ра,
действующую на главную опору вертлюга:
для
упорных однорядных подшипников
Ра
= Fa∙fd ,
где
Fa -
постоянная по величине и направлению осевая нагрузка, Н;
fd -
коэффициент, учитывающий безопасность и надёжность работы, то есть коэффициент
динамического напряжения
d = kТ ∙ kб ∙ kК ∙ kЭ ,
где
kТ -
температурный коэффициент (kТ=1 при t≤1000C, kТ=1,005 при t=1250C);
kб -
коэффициент безопасности, kб =1,4÷1,8 (для
обеспечения показателя вероятности безопасности P(t)=0,92-0,94
при Lh = 3000 ч);
kК -
кинематический коэффициент для упорных подшипников при осевой нагрузке, kК = 1;
kЭ -
коэффициент эквивалентной нагрузки, kЭ =0,7.
fd = 1 ∙
1,5 ∙ 1 ∙ 0,7 = 1,05.
Динамическую
нагрузку, действующую на ствол вертлюга в процессе бурения скважины при
вращении колонны, можно приравнять к Pbd:
где
ρР - плотность
бурового раствора, ρв = 1100 кг/м3;
li - длина
трубы одинакового веса, li = 4700 м;
qi - вес одного
метра трубы с учетом веса высаженной части с замком,
qi = 300 Н/м;
GKi - вес прочих
элементов, составляющих бурильную колонну, Н, (длина 300 м, удельный вес 1780
Н/м);
PD - расчетная
нагрузка на долото, PD = 310000 Н;
PР - расчетное
давление жидкости, PР = 20000 Па;
f - площадь поперечного сечения
отверстия ствола вертлюга:
где
dB - диаметр
отверстия ствола вертлюга, dB = 0,075 м,
Ра
= 1,9 ∙ 1,05 = 1,995 МН.
Суммарное
число оборотов, которое может сделать подшипник главной опоры за весь срок
службы при расчетной нагрузке:
где
L10 - суммарное
число оборотов, об;
Са
- динамическая грузоподъёмность, Са = 3,51 МН (упорный конический
роликоподшипник серии 889752); ρ - показатель степени, для
роликоподшипников
.
Долговечность подшипника
определяется как:
где n - расчетная
частота вращения вертлюга, n = 100 об/мин,
4.
ЭКСПЛУАТАЦИЯ И СМАЗКА ВЕРТЛЮГОВ
Перед началом и во время эксплуатации
необходимо проверить все крепления, а также состояние переводника и ствола
вертлюга (наружный осмотр). Ствол вертлюга должен вращаться от усилия одного
рабочего, приложенного к ключу с плечом 1 м.
Для контроля уровня масла в ванне
отвинчивают пробку со стержнем, конец которого на длине 45 мм окрашен белой
краской. В пределах окрашенной части указателя и должен находиться уровень
масла. Если масло загрязнено, то его следует слить, промыть ванну керосином или
газойлем, затем бензином или минеральным маслом веретенным, нагретым до 60-80
°С, и налить новое. При утечке масла из ванны через нижнее уплотнение
необходимо сменить манжеты и севанитовое уплотнение, набить густой смазкой
полость установки севанитового уплотнения, полости корпуса уплотнения и нажимной
гайкой. Во время бурения обслуживающий персонал обязан строго следить за
состоянием масла и его уровнем в ванне. Полную проверку проводят не реже
сроков, указанных в карте смазки. Состояние смазки вертлюга следует проверять в
каждую вахту, нельзя допускать нагрева вертлюга выше 70 °С. Если уплотнение
внутренней трубы пропускает промывочный раствор, то манжеты уплотнения надо
сменить и развинтить нажимную гайку с помощью ключа до отказа.
При смене манжеты одновременно проверяют
состояние внутренней трубы. Если при этом обнаружат значительную сработку,
задиры или промывы, то внутреннюю трубу также надо заменить. Резьбовое
соединение переводника и ствола не должно пропускать раствор. В противном
случае вертлюг надо заменить. Прокладка между внутренней трубой и отводом не
должна пропускать глинистый раствор. При обнаружении течи необходимо подтянуть
гайки или сменить прокладку. Во втором случае надо одновременно проверить
состояние
отвода между стволом и внутренней трубой. Если обнаружится большой износ стенок,
то отвод заменяют новым. Во время каждой вахты следует проверять общее
состояние вертлюга - затяжку гаек, исправность всех деталей.
Вертлюги
транспортируются в частичной упаковке или без неё. Перед пуском в эксплуатацию
с них удаляется консервационная смазка и проверяется стопорением всей крепёжной
системы.
Уход
за вертлюгами в процессе эксплуатации заключается в доливке или смене смазки и
в наблюдении за сальниковыми уплотнениями. Перед
началом эксплуатации после проверки штропа вертлюг подвешивают на крюк и
убеждаются в подвижности вращения его ствола, который должен проворачиваться
усилием одного рабочего, приложенного к ключу с плечом рычага не более 1 м.
Если
никаких дефектов не обнаруживают, то смазывают резьбу на элеваторе и свинчивают
их. Во избежание порчи резьба вначале свинчивается вручную, после крепится
машинным ключом. Затем напорный рукав присоединяется к приемному патрубку и
производится опрессовка. Почти во всех
современных вертлюгах применяется комбинированная смазка - барботажная жидким маслом
или размещением их масляной ванне главной опоры и подшипников, расположенных в
нижней части вертлюга, и местная универсальной среднеплавкой смазкой
подшипников и других элементов, расположенных в верхней части. Жидкая смазка
заливается в картер вертлюга до определённого уровня, универсальная подаётся к
местам смазки через пресс-масленки. При загрязнении смазка заменяется, но не
реже, чем после 2-2,5 тыс. часов работы. При этом корпус вертлюга промывается
керосином или газойлем, а затем бензином или нагретым до 80 - 100 ºС
веретенным маслом. При утечке через нижний сальник его меняют и смазывают
консистентной смазкой. Вытекание
промывочной жидкости через верхний сальник может происходить в результате
износа сальниковых манжет или промыва напорной трубы
сальника. Небольшие утечки через набивные сальники устраняются их натяжкой. При
износе напорной трубы и манжетных сальников их заменяют новыми.
Заключение
На основе проведенных расчетов делаем вывод, что
вертлюг УВ-250 при нагрузке Q = 310 т работоспособен, что обеспечивается
необходимым запасом прочности основных элементов. Долговечность основного
подшипника составила 1093,3 часа. В качестве материала ствола используем сталь
40ХН, штропа - сталь 35, конструктивные размеры вертлюга УВ-250 при этом оставляем
прежними.
Список использованной
литературы
1.
Алексеевский
Г.В. Буровые установки Уралмашзавода. - М.: Недра, 1981. - 528 с.
2.
Анурьев
В.И. Справочник конструктора-машиностроителя: т. 1. - М.: Машиностроение, 1982.
- 736 с.
3.
Анурьев
В.И. Справочник конструктора-машиностроителя: т. 2. - М.: Машиностроение, 1982.
- 584 с.
4.
Баграмов
Р.А. Буровые машины и комплексы: учебник для вузов. - М.: Недра, 1988. - 501 с.
5.
Бочарников
В.Ф., Чижиков Ю.Н. Методические указания по курсовому проектированию для студентов
специальности 170200 "Машины и оборудование нефтяных и газовых
промыслов". - Тюмень, ТюмИИ, 1991. - 31 с.
6.
Ильский
А.Л., Миронов Ю.В., Чернобыльский А.Г. Расчет и конструирование бурового
оборудования: учебное пособие для вузов. - М.: Недра, 1985. - 452 с.
7.
Калмыков
Н.Н., Стефанов Ю.А., Яковлев А.И. Буровая техника и технология за рубежом. -
М.: Недра, 1968. - 318 с.
8.
Поляков
В.П., Смирнов В.Н., Константинов А.А. Буровые установки завода Баррикады. - М.:
Недра, 1972. - 288 с.
9.
Северинчик
Н.А. Машины и оборудование для бурения скважин. - М.: Недра, 1986. - 368 с.