Устройство для перемешивания медицинских препаратов с кварцевыми измерителями линейных ускорений в качестве чувствительных элементов
Бакалаврская
работа
«Устройство
для перемешивания медицинских препаратов с кварцевыми измерителями линейных
ускорений в качестве чувствительных элементов»
Содержание пояснительной записки
Рефератabstract
Введение
.
Состояние вопроса в настоящее время. Краткий обзор существующих технических
решений.
.1
Доказательство необходимости разработки.
.2
Анализ существующего уровня техники.
.3
Анализ тенденций развития. Обзор патентной и научно-технической литературы.
.
Теоретическая часть.
.1
Конструкция и принцип действия прибора
.2
Математическая модель устройства
.3
Математическая модель разделения частиц
.
Расчетно - конструкторская часть
.1
Расчет основных параметров акселерометра.
.1.1
Расчет маятниковости
.1.2
Расчет момента инерции маятника
.1.3
Расчет емкостного ДУ
.2
Расчет основных параметров качающейся платформы.
.2.1
Определение реакций в кинематических парах и движущего момента в механизме с
учетом трения
.2.2
Расчет кривошипно-шатунного механизма
.2.3
Расчёт шагового двигателя
.3
Расчёт фактора разделения
.4
Построение графиков АЧХ и переходных процессов.
.
Исследовательская часть.
Заключение
Литература
Приложение
Реферат
В процессе дипломного проектирования были проведены работы по
модернизации широкоскоростного прецизионного поворотного стенда КХ4.135.351,
для возможности его использования в медицинских целей,:а именно:
1. Разработка пространственно
колеблющейся платформы для установки ее на вращающуюся платформу стенда.
2. Было предложено в целях упрощения
конструкции стенда замена его шести прецизионных кварцевых акселерометров типа
КФБН 982128.003.СБ, на четыре кварцевых акселерометра тогоже типа.
3. Для возможности использования данной
установки для целей центрифугирования был разработан пробиркодержатель
устанавлеваемый на место качающейся платформы.
Язык пояснительной записки к дипломному проекту - русский, записка
содержит листов текста, рисунков, таблиц, 11 листов А1 графического материала.
The abstract
degree designing the activities on modernizing a widely
fast-track precision rotary bench КХ4.135.351, for a capability of its use in the medical purposes, carried
out, spent:
1. Development spatially of oscillating platform for the
installation herit on a rotated platform of a bench.
. The replacement it him of six precision quartz
accelerometers such as КФБН982128.003СБ was offered with the purposes of
simplification of a design of a bench. , on four quartz accelerometers of the
same type.
. For possibility of using of the given installation for
the purposes of a centrifuging the medical bank header established on a place
of a shaking platform designed.of an explanatory slip to the degree project -
Russian, the slip contains of sheets of the text, drawings, tables 11 sheets А1 of a graphic material.
Введение
В современных научно-исследовательских микробиологических лабораториях
используются такие достижения техники, как электронный и люминисцентный
микроскопы, инфракрасные спектрофотометры, встряхиватели, ультрацентрифуги и
другие современные приборы. Вместе с тем в практическую микробиологию эти
достижения входят чрезвычайно медленно.
Основные методы, применяемые в сегодняшней микробиологической практике,
разработаны еще в прошлом веке . Подтверждением этому служит номенклотура
аппаратов и приспособлений, широко используемых в современной
микробиологической практике: печь Пастера, аппарат Коха, шпатели Дригальского,
чашки Петри и др., вошедших в практику еще в конце Х\Х века.
Характерной тенденцией развития современных технических средств в
лабораторной технике вообще и в микробиологии в частности является создание
оснащения, позволяющегопроводить массовые анализы с наименьшей затратой труда.
Новым плодотворным направлением в батериологиии иммунололгии является
применение физико-химических принципов исследования ферментативных процессов,
вызываемых микроорганизмами.
Если проследить весь ход микробиологического анализа, то его условно
можно разделить на два этапа а) вспомогательный и б) собственно
микробиологический.
Вспомогательный процесс включает в себя мытье лабораторной посуды, ее
сушку, приготовление и розлив питательных сред и другие подготовительные
операции.
К собственно микробиологическому этапу относится взятие исследуемого
материала и его посев на питательные среды, выделение чистой культуры микроба с
последующей его идентификацией серологическими и биохимическими методами.
Большинство вспомогательных операций при микробиологических исследованиях
весьма трудоемко.
Встряхивание и перемешивание - одна из частых процедур проводимых в
биохимических лабораториях, благодаря которым осуществляется эмульгирование или
суспендирование фаз или повышение градиента концентрации компонентов в течении
химической реакции. Встряхивание и перемешивание преследуют одну и ту же цель,
но отличаются по способу осуществления и интенсивности.
Под перемешиванием понимают такое движение жидкости, которое возникает
внутри сосуда при его легком центробежном движении.
Под встряхиванием подразумевают энергичное движение всего сосуда с
содержащейся в нем жидкостью. В биохимии различие в виде и интенсивности
движения играет существенную роль. Так например, интесивное встряхивание
нативного яичного белка приводит к образованию пены и к его денатурации. В то
время как перемешивание к этим результатам не приводит.
Рассматриваемый прибор является универсальным. Он может использоваться
также для целей центрифугирования .
Центрифугирование - разделение грубо дисперсных систем, которые состоят
из твёрдых и жидких компонентов с разными плотностями под действием
центробежных сил. Этот метод применяется в биологии, медицине и технике и очень
часто заменяет процессы фильтрования, отстаивания и отжимания.
Ультрацентрифугирование - один из главных современных методов выделения и
исследования белков, нуклеиновых кислот, вирусов и других биополимеров. В
данном случае большая скорость вращения и оптимальный выбор размеров ротора
центрифуги позволяет добиться оседания даже небольших молекул.
Данный метод даёт возможность получить изолированные клеточные структуры,
такие как ядро, лизосома, рибосома и другие. Особенности этого метода в
сочетании с электронно-микроскопическим изучением позволяют привязать те или
иные биохимические процессы, которые совершаются в клетке, к определённым
структурам и органоидам. Рассматриваемая в данном проекте установка позволяет
проводить встряхивание и перемешивание исследуемых проб в медицинской таре.
Центрифугирование позволяет провести разделение фракций что также необходимо в
медицинской исследовательской деятельности. В некоторых случаях чрезвычайно
важным является точная стабилизация задаваемой скорости, например для
культивирования микроорганизмов. В данном проекте эта проблема решается
использованием прецизионных кварцевых акселерометров.
1. Состояние
вопроса в настоящее время. Краткий обзор существующих технических решений
.1
Доказательство необходимости разработки
Необходимо разработать медицинское устройство для культивирования
микробиологических культур, встряхивания медицинской тары, и центрифугирования
на базе прецизионного одноосного стенда с кварцевыми измерителями линейных
ускорений в качестве инерциальных чувствительных элементов.
Устройство должно
иметь следующие технические характеристики:
Диапазон задания угловых скоростей: от 0,1 град/с до 3000 град/с.
Диапазон задания линейных ускорений: от 0.1 до 50 g.
Случайная составляющая в запуске по линейному ускорению, не зависящая от
перегрузки: 3×10-6g линейность масштабного коэффициента
0.03 %
Потребляемая мощность канала измерения линейного ускорения: не более 1
Вт.
Масса прибора: не более 50 кг.
Параметры
движения объекта:
,
t, w
, w=Bsinnt, максимальная
задаваемая угловая скорость 1500 °/с, измеряемые
ускорения
- до 50g
Амплитуда колебаний встряхивателя 20 мм.
1.2 Анализ
существующего уровня техники
Аппаратура для встряхивания и перемешивания
Отечественная промышленность выпускает магнитную мешалку ММ-3. Мешалка
ММ-3 - прибор настольного типа применяются для перемешивания жидкостей. На
основании мешалки установлен электродвигатель, на валу которого закреплен
подковообразный постоянный магнит. При вращении магнита его поле
взаимодействует со стальным стержнем, который помещают в сосуд с перемешиваемой
жидкостью. Для предотвращения коррозии и химических реакций с жидкостями
стержень покрыт герметичной полиэтиленовой оболочкой.С помощью магнитных
мешалок можно проводить титрование с перемешиванием жидкостей. Для этого у
мешалок имеется штанга, позволяющая укреплять над сосудом необходимые
приспособления (бюретку и пр.). Для того, чтобы подковообразный магнит не
размагничивался, по окончании работы на электроплитку следует положить стальное
кольцо, прилагаемое к прибору и служащее для замыкания магнитных силовых линий.
Другим устройством для перемешивания является вращатель биохимический
793, выпускаемый объединением «Красногвардеец». Вращатель имеет три скорости
вращения 600, 900, 1200 об.мин. и позволяетпроизводить перемешивание как с
помощью магнитных мешалок в стаканах и колбах емкостью до 100 мл. так и
используя стержневые мешалки для перемешивания жидкости в сосудах емкостью до
1000 мл. Питание вращателя осуществляется от сети переменного тока напряжением
220 В, частотой 50 Гц. Мощность, потребляемая вращателем, - всего 20 Вт.
Габаритные размеры
х220х200 мм, масса-3,5 кг.
Миниатюрная мешалка (серия 1Е) фирмы «Электротермал» предназначается для
перемешивания маловязких жидкостей в сосудах сошлифами. Работает мешалка от
батареи или трансформатора напряжением 22 В. В комплект малогабаритной мешалки
входят перемешиваюшие стержни для сосудов емкостью 100 -1000 мл.
В России выпускаются в достаточном ассортименте различные модели
встряхивателей как малой грузоподъемностидля встряхивания малообъемных
сосудов(пробирки, мелкие флаконы и колбы), так и большой грузоподъемн ости для
встряхивания сосудов и бутылей большой емкости.
Аппарат для встряхивания универсальный АВУ 6п предназначен для
встряхивания жидкости в лабраторной посуде - колбах, пробирках, бутылях-с целью
ускорения протекания химических реакций, механического перемешивания
компонентов, улучшения аэрации при выращивании культур для бактериологических
исследований. В аппарате имеются сменные платформы-три для колб и одна
универсальная для размещения и фиксации кассет с пробирками и бутылей. Аппарат
можно включать на длительное время (до 5 суток непрерывной работы) и на
короткие отрезки времени (от 5 до 55 мин.), по истечении которых происходит
автоматиче ская остановка. В зависимости от объема лабораторной посуды на
сменных платформаходновременно может быть установлен один из следующих наборов
30 колб емкостью 250 мл, 12 колб по 500 мл, 2 бутыли емкостью 3 л, 160 пробирок
с диаметром от 11 до 19 мм. Число колебаний регулируется плавно от 100 до 280 в
минуту, а амплитуда колебаний также регулируется плавно в пределах от 10 до 25
мм.
Прибор для встряхивания меланжеров представляет собой настольную
портативную модель, с помощь.ю которой создается гомогенная взвесь форменных
элементов крови в разводящей жидкости, необходимая для микроскопических
исследований. Принцип устройства прибора в 2 катушках электромагнита находится
стальной с, шарнирно связанный с рычагом на котором закреплен штатив с
меланжерами. Попеременно втягиваясь то в одну, то в другую катушку, стержень
заставляет рычаг совершать колебательные движения. На штативе можно
одновременно поместить от 1 до 6 меланжеров.
Электронный прибор для взбалтывания типа ТНYS -1 является универсальным
устройством для взбалтывания и перемешивания. Аппарат пригоден для получения
мелкодисперсных эмульсий, активизации протекания химических реакций. Частоту
колебаний в приборе можно плавно регулировать. Амплитуда колебаний достигает 50
мм. Прибор подключается к сети напряжением 220В, 50 Гц. Потребляемая мощность -
0,1 кВт. Габариты прибора высота- 270 мм, размер основания-500х300 мм,
масса-около 20 кг. На приборе могут быть установлены от одной до четырех
делительных воронок на 200, 500 или 1000 мл, химические пробирки 160х16 и склянки
емкостью от1 до 2л. Прибор выпускается в Германии.
Отечественная промышленность выпускает следующие виды встряхивателей.
Аппарат для встряхивания жидкостей в сосудах АВ-3,
Аппарат универсальный для встряхивания жидкостей в колбах и пробирках
АВУ-1.
Аппарат для встряхивания универсальный АВУ-6п.
Аппарат для встряхивания колб и пробирок АВУ-10р.
Аппарат для встряхивания пробирок АВП-10р.
Аппарат для скоростного встряхивания АВБ-4п.
Аппарат для втряхивания колб и бутылей АВУ-50р.
Прибор для встряхивания меланжеров.
Встряхиватели, выпускаемые венгерским предприятием «Лабор», обладают
большой универсальностью. Они малогабаритны, но, несмотря на небольшие размеры,
обеспечивают возможность одновременного встряхивания нескольких сосудов.
Виброплита в таком аппарате совершает совместное движение с валом, на
выступающих концах которого по обеим сторонам аппарата устанавливаются
держатели для колб и пробирок. На виброплиту может быть установлено несколько
крупных сосудов. В аппарате имееется возможность регулирования скорости
движения и амплитуды колебаний, которая может изменяться через каждые 5 мм в
диапазоне до 40 мм.
Латвийская фирма ‘ELMI’
выпускает аппарат для перемешивания ‘Шейкер S.3.02’, ‘Шейкер S.3.01’. данный прибор создает вращательное движение радиусом 4 мм. Он
предназначен для создания вращательного перемешивания житкости в пробирках,
стаканах, чашках Петри и т.п.
Аппаратура для культивмрования микроорганизмов
Представляет несомненный интерес отечественный аппарат АК-10 для
глубинного ферментирования микроорганизмов. В ферментере рабочей емкостью 5л
осуществляется автоматическая стабилизациятемпературы питательной среды, ее
аэрирование и перемешивание. Система терморегуляции обеспечивает плавное
регулирование и поддержание температуры в диапазоне от 20 до 60 С, с точностью
5 С. Число оборотов мешалки - от 50 до 1500 10 об\ мин. Масса прибора -65 кг.
Шведской фирмой «Биотек» выпускают сосуды для хранения и транспортировки
питательных сред. МЛ-075, общий объем-90 л, МЛ-100, объем-160л, МЛ-150, объем -
200 л. Серия аппаратов МЛ представляет собой новый тип устройства,
предназначенного для стерилизации большого количества сред или для сбора и
охлаждения выращенных культур микроорганизмов при использовании выпускаемых
этой же фирмой ферментеров к аппаратам для непрерывного культивирования
микробов. Для перемешивания используется магнитная мешалка, приводимая в
движение трехфазным электромотором. Рабочая скорость перемешивания у всех трех
моделей фиксированная-770 об/мин.
Ряд зарубежных фирм выпускают комплекты ферментационного оборудования,
которые оснащены устройствами и приборами, обеспечивающими автоматическое
регулирование основных параметров процесса культивирования микроорганизмов.
В качестве примера такого устройства может быть приведена контрольная
панель ЛП-300 с ферментером шведской фирмы. Панель обеспечивает контроль и
поддержание в заданных пределах скорости перемешивания питательной среды,
температуры и подачи газа, дозирования компонентов питательной среды.
Противопенные препараты вводятся с помощью перистальтического насоса, который
автоматически включается, если пенный пробоотборник определяет наличие пены.
Наибольшее распространение получили на международном рынке установки
«Биотек», которые выпускаются в нескольких модификациях с ферментерами емкостью
1,3,10 и 15л. Набор из отдельных функциональных блоков обеспечивает
термостатирование, рН-статирование, химическое пеногашение, аэрацию и
возможность ведения непрерывных процессов. Наибольшее распространение получили
ферментеры типов ФЛ-103 и ФЛ110.
Ферментер ФЛ-103 имеет полезный объем 1 и 3л, а ферментер ФЛ-110 - 10 и
20л.
Ферментер типа ФМ-100 выпускаемый фирмой «Биотек», является передвижной
моделью и предназначендля ферментирования непатогенных бактерий, Основные
достоинства этого типа ферментера - перемешивающее устройство, вмонтированное в
дно сосуда, облегчает манипуляции, перемешиватель легко вынимается и может быть
установлен на любой необходимой высоте над дном сосуда. Мощный электромотор
перемешивающего устройства имеет электронный контроль скорости вращения.
Фирма «Биотек» выпускает миниферментер - портативное компактное
устройство, легко автоклавируемое, легко собираемое и быстро подготавливаемое к
работе. С помощью миниферментера можно быстро получать культуры для их
биохимического исследования. Значение температуры внутри сосуда емкостью 700мл
может выбираться в интервале от 20° до 60° С Количество оборотов перемешивателя
- от 100 до 2000 в 1 мин. В миниферментере легко могут быть использованы
приспособления для дополнительного контроля рН, рО2, что позволяет
культивировать различные виды микроорганизмов как в аэробных, так и анаэробных
условиях.
Предприятие «Glass Keramik» (Германия) выпускает ферментер для
аэробных культур ФС/002 и для анаэробных культур ФС/003.
Роллерные установки предназначены для культивирования тканевых культур
при вирусологических исследованиях на внутренних стенках цилиндрических сосудов
при вращении их на подвижных валиках (роликах) с различными скоростями. В этих
условиях происходит орошение культуры, прикрепленной на внутренней стенке
сосуда, а вместе с тем и более оптимальная аэрация, что способствует более
эффективному размножению вируса.
Роллерный аппарат американской фирмы «Forma Scientific» предназначен также для получения
клеточной массы в больших объемех в одном слое в цилиндрических сосудах,
врщающихся одновременно при различных скоростях (от 0,1 до 8 об/мин.).
Роллерные аппараты позволяют максимально использовать пространство для
питательной среды и дают высокий выход клеток с квадратного сантиметра поверхности,
обеспечивая хороший доступ кислорода и питательной среды к клеткам, создавая в
конечном итоге значительную экономию времени при посеве, выращивании и сборе
их.
Выпускаются роллеры различных моделей: от настольной, рассчитанной на 5 -
15 флаконов, до напольной с 7 полками, на каждой из которых можно разместить по
4 сосуда. Все модели оборудованы тахометрами, с погрешностью в пределах 1% для
контроля скорости вращения сосудов. Интервалы скоростей вращения могут
изменяться от 0,1 до 4 об/мин. Аппараты оборудованы звуковой сигнализацией,
включающейся при падении напряжения в сети или при отключении аппарата. По [9].
Помимо упомянутых зарубежных фирм, специализирующихся на выпуске
лабороторного ферментационного оборудования, следует также упомянуть японскую
фирму «Marubishi», английскую - «Gallenkamp» и швейцарскую «Chemap».
1.3 Анализ
тенденций развития. Обзор патентной и научно-технической литературы
|
United States
Patent
|
4,199,265
|
|
Sanderson , et
al.
|
April 22, 1980
|
Motorless magnetically coupled stirrer plurality of magnetic
field generating, electrical coils are preferably arranged in a circle, in one
embodiment. Digitally controlled, recurring switching pulses are generated for
sequentially defining a plurality of discrete time periods. During each of
these time periods, a separate magnetic field is generated responsive to each
switching pulse. The pulses are applied to the coil, in turn, for sequentially
stepping a magnetic field in a rotary motion about the circle of coils. In
other embodiments, the pole pieces may be arranged in another geometry. For
example, they could be linearly positioned to slide a stirrer or to lift a
stirrer member up a test tube. A substance which is to be stirred is placed in
a non-magnetic container positioned within the stepping magnetic field. A stir
rod of magnetic material is placed in the container and within the stepping
magnetic field, so that the stir rod couples into and rotates or otherwise
moves with the rotary magnetic field. The invention is particularly artractive
when used with electronic controllers, such as counters, sequences, sensors,
electronic controllers, or the like, since it is much easier for such a
electronic devices to control digital pulses than to control analog currents.
|
Inventors:
|
Sanderson;
Robert A. (Northbrook, IL); Chan; Patrick S. (Skokie, IL)
|
|
Assignee:
|
American
Hospital Supply Corporation (Evanston, IL)
|
|
Appl. No.:
|
955970
|
|
Filed:
|
October 30, 1978
|
|
Current U.S.
Class:
|
366/274
|
|
Intern'l Class:
|
B01F 013/08
|
|
Field of Search:
|
366/273,274 310/49 R
|
References Cited [Referenced By]
<C:netacginph-Parser?Sect1=PTO2&Sect2=HITOFF&p=1&u=%2Fnetahtml%2Fsearch-adv.htm&r=0&f=S&l=50&d=CR80&Query=ref4,199,265>.S.
Patent Documents
|
2641452
<C:netacginph-Parser?Sect2=PTO1&Sect2=HITOFF&p=1&u=%2Fnetahtml%2Fsearch-bool.html&r=1&f=G&l=50&d=PALL&RefSrch=yes&Query=PN%2F2641452>Jun.,
1953Wagner366/273.
|
|
|
|
|
3268785
<C:netacginph-Parser?Sect2=PTO1&Sect2=HITOFF&p=1&u=%2Fnetahtml%2Fsearch-bool.html&r=1&f=G&l=50&d=PALL&RefSrch=yes&Query=PN%2F3268785>Aug.,
1966Gerber et al.310/491.
|
|
|
|
|
3445741
<C:netacginph-Parser?Sect2=PTO1&Sect2=HITOFF&p=1&u=%2Fnetahtml%2Fsearch-bool.html&r=1&f=G&l=50&d=PALL&RefSrch=yes&Query=PN%2F3445741>May.,
1969Gerber310/49.
|
|
|
|
|
3848363
<C:netacginph-Parser?Sect2=PTO1&Sect2=HITOFF&p=1&u=%2Fnetahtml%2Fsearch-bool.html&r=1&f=G&l=50&d=PALL&RefSrch=yes&Query=PN%2F3848363>Nov.,
1974Lovness et al.366/273.
|
|
|
|
|
4040605
<C:netacginph-Parser?Sect2=PTO1&Sect2=HITOFF&p=1&u=%2Fnetahtml%2Fsearch-bool.html&r=1&f=G&l=50&d=PALL&RefSrch=yes&Query=PN%2F4040605>Aug.,
1977Towsend366/273.
|
|
|
|
|
4065708
<C:netacginph-Parser?Sect2=PTO1&Sect2=HITOFF&p=1&u=%2Fnetahtml%2Fsearch-bool.html&r=1&f=G&l=50&d=PALL&RefSrch=yes&Query=PN%2F4065708>Dec.,
1977Ulland et al.310/49.
|
|
|
|
|
4066947
<C:netacginph-Parser?Sect2=PTO1&Sect2=HITOFF&p=1&u=%2Fnetahtml%2Fsearch-bool.html&r=1&f=G&l=50&d=PALL&RefSrch=yes&Query=PN%2F4066947>Jan.,
1978Nakajima et al.310/49.
|
|
|
|
|
4131370
<C:netacginph-Parser?Sect2=PTO1&Sect2=HITOFF&p=1&u=%2Fnetahtml%2Fsearch-bool.html&r=1&f=G&l=50&d=PALL&RefSrch=yes&Query=PN%2F4131370>Dec.,
1978Lawrence et al.366/273.
|
|
|
|
Examiner: Coe; Philip R. , Agent or Firm: Laff, Whitesel
& Rockman claim:
. A digitally controlled motorless stirrer comprising means
for generating cyclically recurring pulses, electronically controlled means for
establishing a stepping magnetic field responsive to said recurring pulses, a
container, a magnetic stir rod positioned in said container and against a
surface thereof made from a non-magnetic material, and means for supporting
said surface of said container within said magnetic field in a position where
said magnetic stir rod follows the stepping of said magnetic field.
. The stirrer of claim 1 wherein said means for establishing
a magnetic field comprises a plurality of coils positioned in a predetermined
geometrical arrangement beneath said stir rod supporting surface, a plurality
of pole pieces associated with each of said coils and extending in the
predetermined arrangement toward said container, and means associated with each
of said coils for completing a magnetic circuit between said coils.
. The stirrer of claim 2 and means for applying said
recurring pulses to adjacent ones of said coils in an overlapping pulse
relationship whereby magnetic flux is built by an energization of each
individual one of the coils before the magnetic flux built by its immediately
neighboring coil disappears.
. The stirrer of claim 2 and programmable means for
controlling the generation and the application of said pulses to said coils.
. The stirrer of claim 2 wherein said stir rod has an
enlarged equatorial region forming a bearing surface on which said stir rod may
turn.
. The stirrer of claim 1 wherein said predetermined
geometrical arrangement is a circle of pole pieces beneath said surface for
creating a rotary magnetic field.
. The stirrer of claim 1 wherein said predetermined
geometrical arrangement is a row of pole pieces for creating a sweeping linear
magnetic field for moving said stir rod in at least a linear motion along said
linear field.
. A method for
controlling the stirring of a fluid or similar mixable substance comprising the
steps of: . generating digitally controlled, recurring switching pulses for
sequentially defining successive discrete time periods; . generating successive
magnetic fields responsive to said switching pulses, for sequentially stepping
a magnetic field in a predetermined motion; . positioning an integral
non-magnetic container including the substance to be stirred within said
stepping magnetic field; and . positioning a magnetic stir rod which is
entirely separate from said container in said container and within said
stepping magnetic field, whereby said rod moves with said magnetic field in
order to stir said substance.
. The method of
claim 8 and an added step wherein said switching pulses of step a. are
generated and applied under control of a programmable means, whereby said
magnetic stir rod may be programmed to follow a great variety of different
patterns of movement by generating and applying said switching pulses in a
different order.
. The method of
claim 9 and the added step of generating and applying said switching pulses in
overlapping relationships.
. The method of
claim 9 wherein said switching pulses are generated at a recurrence rate
relative to the inertia of said stir rod which causes the switching pulses to
lead the stir rod as it moves, so that said rod moves continuously and does not
come to rest at any pole piece.
. The method of
claim 11 and the step of changing said recurrence rate with a ramp function
whereby said pulses recur at an increasing or decreasing rate which varies as a
function of the inertia of the stir rod so that it may accurately follow said
magnetic field.
. The method of
claim 12 and the step of changing the direction of the magnetic field stepping
each time that said recurrence rate slows.
. An automatic
stirrer comprising a circle of paired coils, each of said pair of coils being
diametrically opposed in said circle, said coils being wound in directions to
produce magnetically opposed flux fields, whereby one of said pair induces one
magnetic pole when the opposite of said pair induces the opposite magnetic pole
responsive to an energization of the pair of coils, digital means for
sequentially generating switching pulses for energizing each of said pair of
coils in a predetermined order around said circle, means for alternatively
reversing the relative positions of said opposite magnetic poles when each of
said pair of coils is energized, a free magnetic stir rod, means for supporting
said stir rod in the magnetic fields created by said coils and means for
varying the characteristics of said switching pulses to coordinate their
generation with the inertia characteristics of said stir rod.
. The stirrer of
claim 14 and means for varying said predetermined order to cause said rod to
follow any of many alternative patterns of rod motions.
. The stirrer of claim
14 wherein said digital means comprises two driver means, each of which
controls the energizing sequence of one half of said coils, steering means for
synchronizing said two drivers to energize said coils in either of two orders
for driving said stir rod in either of two directions.
. The stirrer of
claim 16 and timer means for cyclically operating said steering means to
sequentially reverse the directions in which said stir rod is driven.
. The stirrer of
claim 17 wherein said digital means also includes a pulse source having a
variable pulse repetition rate, and means controlled by said timer for varying
said variable repetition rate in a manner which speeds up the movement of said
stir rod after each operation of said stir rod after each operation of said
steering means and slows down said movement of said stir rod before each
operation of said stir rod.
. A stirrer
comprising a plurality of linearly-oriented, magnetic pole pieces, digitally
controlled means for sequentially energizing said pole pieces to create a
linearly moving magnetic field, means for positioning a mixable substance in
said field, and a magnetic stir rod positioned with said mixable substance for
moving said mixable substance linearly as said stir rod moves back and forth
past said linearly-oriented pole pieces.
. A digitally
controlled device comprising a plurality of electromagnetic means positioned to
generate separate magnetic fields in a geometrical pattern, a magnetic stir
rod, a non-magnetic surface positioned to support said stir rod under gravity
adjacent said plurality of magnetic means with an orientation wherein said
pattern of magnetic fields coincides with said surface, and digital control
means for selectively and individually energizing said electromagnetic means to
step said fields in said pattern whereby said stir rod moves in the pattern
established by the stepping of said field.
|
United States
Patent
|
5,176,446
|
|
Chiba , et al.
|
January 5, 1993
|
Magnetic type agitator which is capable of generating
ultrasonic wave magnetic type agitator, is provided which has a magnetic
agitator element disposed in a magnetically permeable vessel, and a magnetic
rotating plate rotatably coupled to the bottom of the vessel. The magnetic type
agitator is improved according to present invention in that it further includes
a thin ultrasonic vibrating element fixed to the bottom of the vessel, the
magnetic rotating plate being placed so as to permit the magnetic force from
the magnetic rotating plate to effect the magnetic agitator element, thereby
permitting simultaneous agitation and ultrasonic vibration of the liquid in the
vessel.
|
Inventors:
|
Chiba; Shigeru
(28-1-1 Sannoucho 4-chome, Minami-ku, Yokohama-shi, JP); Ito; Kazuo (28-1-1
Sannoucho 4-chome, Minami-ku, Yokohama-shi, JP)
|
|
Appl. No.:
|
747205
|
|
Filed:
|
August 19, 1991
|
|
Current U.S.
Class:
|
366/114; 366/274
|
|
Intern'l Class:
|
B01F 011/02;
B01F 013/08
|
|
Field of Search:
|
366/273,274,127,128,108,110,111,113,114,115,116,117,118
68/3 SS
|

References Cited [Referenced By]
<C:netacginph-Parser?Sect1=PTO2&Sect2=HITOFF&p=1&u=%2Fnetahtml%2Fsearch-adv.htm&r=0&f=S&l=50&d=CR93&Query=ref5,176,446>.S.
Patent Documents
|
2655011
<C:netacginph-Parser?Sect2=PTO1&Sect2=HITOFF&p=1&u=%2Fnetahtml%2Fsearch-bool.html&r=1&f=G&l=50&d=PALL&RefSrch=yes&Query=PN%2F2655011>Oct.,
1953Ihle366/274.
|
|
|
|
|
4199265
<C:netacginph-Parser?Sect2=PTO1&Sect2=HITOFF&p=1&u=%2Fnetahtml%2Fsearch-bool.html&r=1&f=G&l=50&d=PALL&RefSrch=yes&Query=PN%2F4199265>Apr.,
1980Sanderson366/274.
|
|
|
|
|
4979829
<C:netacginph-Parser?Sect2=PTO1&Sect2=HITOFF&p=1&u=%2Fnetahtml%2Fsearch-bool.html&r=1&f=G&l=50&d=PALL&RefSrch=yes&Query=PN%2F4979829>Dec.,
1990Allen366/118.
|
|
|
|
|
4991973
<C:netacginph-Parser?Sect2=PTO1&Sect2=HITOFF&p=1&u=%2Fnetahtml%2Fsearch-bool.html&r=1&f=G&l=50&d=PALL&RefSrch=yes&Query=PN%2F4991973>Feb.,
1991Maaz366/274.
|
|
|
|
Examiner: Jenkins; Robert W. , Agent or Firm: Cushman, Darby
& Cushman is claimed is:
. A magnetic type agitator comprising: magnetic agitator
element disposed inside a magnetically permeable vessel; magnetic rotating
plate rotatably disposed below a bottom of said vessel for driving said
magnetic agitator and thereby agitating liquid inside of said vessel by
rotating said magnetic rotating plate; and ultrasonic vibrating element fixed
to the bottom of said vessel; said magnetic rotating plate being placed so as
to permit the magnetic force from said magnetic rotating plate to effect said
magnetic agitating element, thereby permitting simultaneous agitation and
ultrasonic vibration of said liquid in said vessel.
. A magnetic type agitator according to claim 1, wherein said
vessel includes an interior space, a container being disposed in said interior
space, said container containing said liquid, and said magnetic agitating
element being disposed within said container and wherein an annular space
defined between said vessel and said container is filled with a medium which
permits transmission of ultrasonic vibration.
. Magnetic type agitator according to claim 2 wherein said
vessel is integrally formed with the body of said agitator.
. Magnetic type agitator according to claim 3 further
including a plurality of containers disposed in said interior space of said
vessel.
. Magnetic type agitator according to claim 1 or 2 wherein
said ultrasonic vibrating element 4 is an electrostriction vibrating element.
. Magnetic type agitator according to claim 1 further
including a plurality of vessels each having an ultrasonic vibrating element
disposed on a bottom thereof, said magnetic rotating plate being placed so as
to permit the magnetic force from said magnetic rotating plate to effect said
magnetic agitation element, thereby permitting simultaneous agitation and
ultrasonic vibration of said liquid in each said vessel.
. A magnetic type agitator comprising: magnetically permeable
vessel filled with a liquid to be agitated; magnetic agitator element disposed
in said liquid within said vessel and positioned on the bottom of said vessel
for free motion thereof; magnetic driver provided below the bottom of said
vessel and establishing a magnetic field across said magnetic agitating
element, said magnetic driver rotating said magnetic element within said liquid
for promoting agitation of said liquid; and ultrasonic vibration driver being
in cooperation with said vessel for transmitting ultrasonic vibration to said
vessel for inducing ultrasonic vibration in said liquid.
. A magnetic type agitator comprising: magnetically permeable
vessel filled with a liquid to be agitated; magnetic agitator element disposed
in said liquid within said vessel and positioned on the bottom of said vessel
for free motion thereof; magnetic driver provided below the bottom of said
vessel and establishing a magnetic field across said magnetic agitating
element, said magnetic driver rotating said magnetic element within said liquid
for promoting agitation of said liquid; and ultrasonic vibration driver
disposed between the bottom of said vessel and said magnetic driver for
transmitting ultrasonic vibration to said vessel for inducing ultrasonic
vibration in said liquid.
. A magnetic type agitator comprising: magnetic permeable
vessel filled with a liquid to be agitated; magnetic agitator element disposed
in said liquid within said vessel and positioned on the bottom of said vessel
for free motion thereof; magnetic driver provided below the bottom of said
vessel and establishing magnetic field across said magnetic agitating element,
said magnetic driver rotating said magnetic element within said liquid for
promoting agitation of said liquid; and ultrasonic vibration driver being in
cooperation with said vessel for transmitting ultrasonic vibration to said
vessel for inducing ultrasonic vibration in said liquid simultaneously with
agitation by said magnetic agitator element.
. Magnetic type agitator according to claim 7, 8 or 9,
wherein said liquid includes a pulverized materia
|
United States
Patent
|
6,382,827
|
|
Gebrian
|
May 7, 2002
|
Method and apparatus for mixing liquid solutions using a
rotating magnet to generate a stirring vortex action method for rapidly mixing
a liquid solution in a sample container by causing a small magnetic mixing
member to rapidly revolve or orbit the container's axis within the solution in
a generally circular pattern in response to a revolving magnetic field
positioned in close proximity to the sample container.
|
Inventors:
|
Gebrian; Peter
Louis (Wilmington, DE)
|
|
Assignee:
|
Dade Behring
Inc. (Deerfield, IL)
|
|
Appl. No.:
|
703139
|
|
Filed:
|
November 1, 2000
|
|
Current U.S.
Class:
|
366/274
|
|
Intern'l Class:
|
B01F 013/08
|
|
Field of Search:
|
366/273,274,348 416/3
422/99 435/302.1
|

References Cited [Referenced By]
<C:netacginph-Parser?Sect1=PTO2&Sect2=HITOFF&p=1&u=%2Fnetahtml%2Fsearch-adv.htm&r=0&f=S&l=50&d=CR02&Query=ref6,382,827>.S.
Patent Documents
|
2844363 <C:netacginph-Parser?Sect2=PTO1&Sect2=HITOFF&p=1&u=%2Fnetahtml%2Fsearch-bool.html&r=1&f=G&l=50&d=PALL&RefSrch=yes&Query=PN%2F2844363>Jul.,
1958Clark.
|
|
|
|
2951689
<C:netacginph-Parser?Sect2=PTO1&Sect2=HITOFF&p=1&u=%2Fnetahtml%2Fsearch-bool.html&r=1&f=G&l=50&d=PALL&RefSrch=yes&Query=PN%2F2951689>Sep.,
1960Asp et al.
|
|
|
|
3088716
<C:netacginph-Parser?Sect2=PTO1&Sect2=HITOFF&p=1&u=%2Fnetahtml%2Fsearch-bool.html&r=1&f=G&l=50&d=PALL&RefSrch=yes&Query=PN%2F3088716>May.,
1963Stott.
|
|
|
|
3356346
<C:netacginph-Parser?Sect2=PTO1&Sect2=HITOFF&p=1&u=%2Fnetahtml%2Fsearch-bool.html&r=1&f=G&l=50&d=PALL&RefSrch=yes&Query=PN%2F3356346>Dec.,
1967Landsberger.
|
|
|
|
3503592
<C:netacginph-Parser?Sect2=PTO1&Sect2=HITOFF&p=1&u=%2Fnetahtml%2Fsearch-bool.html&r=1&f=G&l=50&d=PALL&RefSrch=yes&Query=PN%2F3503592>Mar.,
1970Taylor, Sr. et al.
|
|
|
|
3595531
<C:netacginph-Parser?Sect2=PTO1&Sect2=HITOFF&p=1&u=%2Fnetahtml%2Fsearch-bool.html&r=1&f=G&l=50&d=PALL&RefSrch=yes&Query=PN%2F3595531>Jul.,
1971Williams et al.
|
|
|
|
3749369
<C:netacginph-Parser?Sect2=PTO1&Sect2=HITOFF&p=1&u=%2Fnetahtml%2Fsearch-bool.html&r=1&f=G&l=50&d=PALL&RefSrch=yes&Query=PN%2F3749369>Jul.,
1973Landsberger.
|
|
|
|
3831903
<C:netacginph-Parser?Sect2=PTO1&Sect2=HITOFF&p=1&u=%2Fnetahtml%2Fsearch-bool.html&r=1&f=G&l=50&d=PALL&RefSrch=yes&Query=PN%2F3831903>Aug.,
1974Harmel, Jr.
|
|
|
|
3997272
<C:netacginph-Parser?Sect2=PTO1&Sect2=HITOFF&p=1&u=%2Fnetahtml%2Fsearch-bool.html&r=1&f=G&l=50&d=PALL&RefSrch=yes&Query=PN%2F3997272>Dec.,
1976George.
|
|
|
|
4162855
<C:netacginph-Parser?Sect2=PTO1&Sect2=HITOFF&p=1&u=%2Fnetahtml%2Fsearch-bool.html&r=1&f=G&l=50&d=PALL&RefSrch=yes&Query=PN%2F4162855>Jul.,
1979Bender.
|
|
|
|
4390283
<C:netacginph-Parser?Sect2=PTO1&Sect2=HITOFF&p=1&u=%2Fnetahtml%2Fsearch-bool.html&r=1&f=G&l=50&d=PALL&RefSrch=yes&Query=PN%2F4390283>Jun.,
1983Meyer.
|
|
|
|
4477192
<C:netacginph-Parser?Sect2=PTO1&Sect2=HITOFF&p=1&u=%2Fnetahtml%2Fsearch-bool.html&r=1&f=G&l=50&d=PALL&RefSrch=yes&Query=PN%2F4477192>Oct.,
1984Bonney.
|
|
|
|
4534656
<C:netacginph-Parser?Sect2=PTO1&Sect2=HITOFF&p=1&u=%2Fnetahtml%2Fsearch-bool.html&r=1&f=G&l=50&d=PALL&RefSrch=yes&Query=PN%2F4534656>Aug.,
1985De Bruyne.
|
|
|
|
4665736
<C:netacginph-Parser?Sect2=PTO1&Sect2=HITOFF&p=1&u=%2Fnetahtml%2Fsearch-bool.html&r=1&f=G&l=50&d=PALL&RefSrch=yes&Query=PN%2F4665736>May.,
1987Yokoyama et al.
|
|
|
|
4720025
<C:netacginph-Parser?Sect2=PTO1&Sect2=HITOFF&p=1&u=%2Fnetahtml%2Fsearch-bool.html&r=1&f=G&l=50&d=PALL&RefSrch=yes&Query=PN%2F4720025>Jan.,
1988Tatevosian et al.
|
|
|
|
4728500
<C:netacginph-Parser?Sect2=PTO1&Sect2=HITOFF&p=1&u=%2Fnetahtml%2Fsearch-bool.html&r=1&f=G&l=50&d=PALL&RefSrch=yes&Query=PN%2F4728500>Mar.,
1988Higo.
|
|
|
|
4876069
<C:netacginph-Parser?Sect2=PTO1&Sect2=HITOFF&p=1&u=%2Fnetahtml%2Fsearch-bool.html&r=1&f=G&l=50&d=PALL&RefSrch=yes&Query=PN%2F4876069>Oct.,
1989Jochimsen.
|
|
|
|
5078969
<C:netacginph-Parser?Sect2=PTO1&Sect2=HITOFF&p=1&u=%2Fnetahtml%2Fsearch-bool.html&r=1&f=G&l=50&d=PALL&RefSrch=yes&Query=PN%2F5078969>Jan.,
1992Bacus.
|
|
|
|
5272092
<C:netacginph-Parser?Sect2=PTO1&Sect2=HITOFF&p=1&u=%2Fnetahtml%2Fsearch-bool.html&r=1&f=G&l=50&d=PALL&RefSrch=yes&Query=PN%2F5272092>Dec.,
1993Hamasaki et al.
|
|
|
|
5529391
<C:netacginph-Parser?Sect2=PTO1&Sect2=HITOFF&p=1&u=%2Fnetahtml%2Fsearch-bool.html&r=1&f=G&l=50&d=PALL&RefSrch=yes&Query=PN%2F5529391>Jun.,
1996Kindman et al.
|
|
|
|
5547280
<C:netacginph-Parser?Sect2=PTO1&Sect2=HITOFF&p=1&u=%2Fnetahtml%2Fsearch-bool.html&r=1&f=G&l=50&d=PALL&RefSrch=yes&Query=PN%2F5547280>Aug.,
1996Wanninger et al.
|
|
|
|
5578201
<C:netacginph-Parser?Sect2=PTO1&Sect2=HITOFF&p=1&u=%2Fnetahtml%2Fsearch-bool.html&r=1&f=G&l=50&d=PALL&RefSrch=yes&Query=PN%2F5578201>Nov.,
1996Collier et al.
|
|
|
|
5586823
<C:netacginph-Parser?Sect2=PTO1&Sect2=HITOFF&p=1&u=%2Fnetahtml%2Fsearch-bool.html&r=1&f=G&l=50&d=PALL&RefSrch=yes&Query=PN%2F5586823>Dec.,
1996Carr.
|
|
|
|
3344754
|
Jun., 1985
|
DE.
|
|
2082929
|
Mar., 1982
|
GB.
|
|
63-185435
|
Aug., 1988
|
JP.
|
|
1-310514
|
Dec., 1989
|
JP.
|
Examiner: Cooley; Charles E. , Agent or Firm: Jordan; Leland
K is claimed is:
. A method for mixing a liquid solution, the method
comprising: a container having a bottom with the liquid solution therein;
disposing a spherical ferromagnetic mixing member within the container; and, a
U-shaped, L-shaped or cup-shaped bracket having an upper arm portion in a
circular pattern around the outside of and in close proximity to the container,
the bracket having and a permanent or semi-permanent magnet for generating
magnetic forces attached to the upper arm portion, the magnet and the upper arm
portion being disposed distance above the bottom of the container, that
magnetic forces acting upon the mixing member cause the mixing member to
revolve said distance above the bottom of the container, thereby generating a
mixing motion within the liquid solution.
. The method of claim 1 wherein the mixing member is made of
an iron alloy and has a diameter in the range 2-6 mm.
. The method of claim 1 wherein the mixing member has a
protective coating to prevent contamination thereon, the coating having
thickness about 25 microns.
. A method for mixing a liquid solution, the method
comprising: a container having a bottom with the liquid solution therein;
disposing a spherical ferromagnetic mixing member within the container; and,
the container with a rack; transporting the rack proximate a magnetec field;
the magnetic field in a circular pattern outside of and in close proximity to
the container; that magnetic forces acting upon the mixing member cause it to
revolve within the container thereby generating a mixing motion within the
liquid solution.
. The method of claim 4 wherein the mixing member is made of
an iron alloy and has a diameter in the range 2-6 mm.
. The method of claim 4 wherein the mixing member has a
protective coating to prevent contamination thereon, the coating having
thickness about 25 microns.
. An apparatus for mixing a liquid solution contained in a
liquid container, the apparatus comprising: container having a bottom with the
liquid solution therein; spherical ferromagnetic mixing member freely disposed
within the container; permanent or semi-permanent magnet; and, for revolving a
U-shaped, L-shaped or cup-shaped bracket in a circular pattern around the
outside of and in close proximity to the liquid container, the bracket having
an upper arm portion with the permanent or semi-permanent magnet attached to
the upper arm portion, the magnet and the upper arm portion being disposed a
distance above the bottom of the container, that magnetic forces acting upon
the mixing member cause it to revolve said distance above the bottom of the
container and generate a mixing motion within the liquid solution.
. The apparatus of claim 7 wherein the mixing member is made
of an iron alloy and has a diameter in the range 2-6 mm.
. The apparatus of claim 7 wherein the mixing member has a
protective coating to prevent contamination thereon, the coating having
thickness about 25 microns.
|
United States
Patent
|
6,467,946
|
|
Gebrian
|
October 22, 2002
|
Method and apparatus for mixing liquid samples in a container
using rotating magnetic fields a liquid solution in a container by rotating a
pair of bar-shaped magnets in a coordinated pattern in which lines parallel to
the axes of the bar-shaped magnets remain normal to one another, the magnets
disposed in close proximity to and on opposite sides of the container a
distance above the bottom of the container so that a magnetic mixing member is
caused to rotate in the liquid about the same distance above the bottom of the
container. Relative vertical movement of the magnets and the container
generates a vortex-like mixing action throughout the container.
|
Inventors:
|
Gebrian; Peter
Louis (Wilmington, DE)
|
|
Assignee:
|
Dade MicroScan
Inc. (Sacramento, CA)
|
|
Appl. No.:
|
841468
|
|
Filed:
|
April 24, 2001
|
|
Current U.S.
Class:
|
366/273
|
|
Intern'l Class:
|
<C:WINDOWSРабочий
столдипломисходный материалвируспатентpatent6_467_946" l >
<C:WINDOWSРабочий столдипломисходный
материалвируспатентpatent6_467_946" l >B01F 013/08
|
|
Field of Search:
|
366/208,209,212,218,219,273,274
416/3 417/420 464/29 435/302.1 266/234
|
|
|
|

References Cited [Referenced By]
<C:netacginph-Parser?Sect1=PTO2&Sect2=HITOFF&p=1&u=%2Fnetahtml%2Fsearch-adv.htm&r=0&f=S&l=50&d=CR02&Query=ref6,467,946>.S.
Patent Documents
|
2844363
<C:netacginph-Parser?Sect2=PTO1&Sect2=HITOFF&p=1&u=%2Fnetahtml%2Fsearch-bool.html&r=1&f=G&l=50&d=PALL&RefSrch=yes&Query=PN%2F2844363>Jul.,
1958Clark.
|
|
|
|
|
2951689
<C:netacginph-Parser?Sect2=PTO1&Sect2=HITOFF&p=1&u=%2Fnetahtml%2Fsearch-bool.html&r=1&f=G&l=50&d=PALL&RefSrch=yes&Query=PN%2F2951689>Sep.,
1960Asp et al.
|
|
|
|
|
3088716
<C:netacginph-Parser?Sect2=PTO1&Sect2=HITOFF&p=1&u=%2Fnetahtml%2Fsearch-bool.html&r=1&f=G&l=50&d=PALL&RefSrch=yes&Query=PN%2F3088716>May.,
1963Stott.
|
|
|
|
|
3356346
<C:netacginph-Parser?Sect2=PTO1&Sect2=HITOFF&p=1&u=%2Fnetahtml%2Fsearch-bool.html&r=1&f=G&l=50&d=PALL&RefSrch=yes&Query=PN%2F3356346>Dec.,
1967Landsberger.
|
|
|
|
|
3503592 <C:netacginph-Parser?Sect2=PTO1&Sect2=HITOFF&p=1&u=%2Fnetahtml%2Fsearch-bool.html&r=1&f=G&l=50&d=PALL&RefSrch=yes&Query=PN%2F3503592>Mar.,
1970Taylor, Sr. et al.
|
|
|
|
|
3595531
<C:netacginph-Parser?Sect2=PTO1&Sect2=HITOFF&p=1&u=%2Fnetahtml%2Fsearch-bool.html&r=1&f=G&l=50&d=PALL&RefSrch=yes&Query=PN%2F3595531>Jul.,
1971Williams et al.
|
|
|
|
|
3730488
<C:netacginph-Parser?Sect2=PTO1&Sect2=HITOFF&p=1&u=%2Fnetahtml%2Fsearch-bool.html&r=1&f=G&l=50&d=PALL&RefSrch=yes&Query=PN%2F3730488>May.,
1973Gardner, Jr.
|
|
|
|
|
3749369
<C:netacginph-Parser?Sect2=PTO1&Sect2=HITOFF&p=1&u=%2Fnetahtml%2Fsearch-bool.html&r=1&f=G&l=50&d=PALL&RefSrch=yes&Query=PN%2F3749369>Jul.,
1973Landsberger.
|
|
|
|
|
3831903
<C:netacginph-Parser?Sect2=PTO1&Sect2=HITOFF&p=1&u=%2Fnetahtml%2Fsearch-bool.html&r=1&f=G&l=50&d=PALL&RefSrch=yes&Query=PN%2F3831903>Aug.,
1974Harmel, Jr.
|
|
|
|
|
3997272
<C:netacginph-Parser?Sect2=PTO1&Sect2=HITOFF&p=1&u=%2Fnetahtml%2Fsearch-bool.html&r=1&f=G&l=50&d=PALL&RefSrch=yes&Query=PN%2F3997272>Dec.,
1976George.
|
|
|
|
|
4040605
<C:netacginph-Parser?Sect2=PTO1&Sect2=HITOFF&p=1&u=%2Fnetahtml%2Fsearch-bool.html&r=1&f=G&l=50&d=PALL&RefSrch=yes&Query=PN%2F4040605>Aug.,
1977Towsend.
|
|
|
|
|
4162855
<C:netacginph-Parser?Sect2=PTO1&Sect2=HITOFF&p=1&u=%2Fnetahtml%2Fsearch-bool.html&r=1&f=G&l=50&d=PALL&RefSrch=yes&Query=PN%2F4162855>Jul.,
1979Bender.
|
|
|
|
|
4266950
<C:netacginph-Parser?Sect2=PTO1&Sect2=HITOFF&p=1&u=%2Fnetahtml%2Fsearch-bool.html&r=1&f=G&l=50&d=PALL&RefSrch=yes&Query=PN%2F4266950>May.,
1981Makino et al.
|
|
|
|
|
4390283
<C:netacginph-Parser?Sect2=PTO1&Sect2=HITOFF&p=1&u=%2Fnetahtml%2Fsearch-bool.html&r=1&f=G&l=50&d=PALL&RefSrch=yes&Query=PN%2F4390283>Jun.,
1983Meyer.
|
|
|
|
|
4477192
<C:netacginph-Parser?Sect2=PTO1&Sect2=HITOFF&p=1&u=%2Fnetahtml%2Fsearch-bool.html&r=1&f=G&l=50&d=PALL&RefSrch=yes&Query=PN%2F4477192>Oct.,
1984Bonney.
|
|
|
|
|
4534656
<C:netacginph-Parser?Sect2=PTO1&Sect2=HITOFF&p=1&u=%2Fnetahtml%2Fsearch-bool.html&r=1&f=G&l=50&d=PALL&RefSrch=yes&Query=PN%2F4534656>Aug.,
1985De Bruyne.
|
|
|
|
|
4653519
<C:netacginph-Parser?Sect2=PTO1&Sect2=HITOFF&p=1&u=%2Fnetahtml%2Fsearch-bool.html&r=1&f=G&l=50&d=PALL&RefSrch=yes&Query=PN%2F4653519>Mar.,
1987Kanner.
|
|
|
|
|
4665736
<C:netacginph-Parser?Sect2=PTO1&Sect2=HITOFF&p=1&u=%2Fnetahtml%2Fsearch-bool.html&r=1&f=G&l=50&d=PALL&RefSrch=yes&Query=PN%2F4665736>May.,
1987Yokoyama et al.
|
|
|
|
|
4720025
<C:netacginph-Parser?Sect2=PTO1&Sect2=HITOFF&p=1&u=%2Fnetahtml%2Fsearch-bool.html&r=1&f=G&l=50&d=PALL&RefSrch=yes&Query=PN%2F4720025>Jan.,
1988Tatevosian.
|
|
|
|
|
4728500
<C:netacginph-Parser?Sect2=PTO1&Sect2=HITOFF&p=1&u=%2Fnetahtml%2Fsearch-bool.html&r=1&f=G&l=50&d=PALL&RefSrch=yes&Query=PN%2F4728500>Mar.,
1988Higo.
|
|
|
|
|
4876069
<C:netacginph-Parser?Sect2=PTO1&Sect2=HITOFF&p=1&u=%2Fnetahtml%2Fsearch-bool.html&r=1&f=G&l=50&d=PALL&RefSrch=yes&Query=PN%2F4876069>Oct.,
1989Jochimsen.
|
|
|
|
|
5078969
<C:netacginph-Parser?Sect2=PTO1&Sect2=HITOFF&p=1&u=%2Fnetahtml%2Fsearch-bool.html&r=1&f=G&l=50&d=PALL&RefSrch=yes&Query=PN%2F5078969>Jan.,
1992Bacus.
|
|
|
|
|
5272092
<C:netacginph-Parser?Sect2=PTO1&Sect2=HITOFF&p=1&u=%2Fnetahtml%2Fsearch-bool.html&r=1&f=G&l=50&d=PALL&RefSrch=yes&Query=PN%2F5272092>Dec.,
1993Hamasaki et al.
|
|
|
|
|
5352036
<C:netacginph-Parser?Sect2=PTO1&Sect2=HITOFF&p=1&u=%2Fnetahtml%2Fsearch-bool.html&r=1&f=G&l=50&d=PALL&RefSrch=yes&Query=PN%2F5352036>Oct.,
1994Haber et al.
|
|
|
|
|
5529391
<C:netacginph-Parser?Sect2=PTO1&Sect2=HITOFF&p=1&u=%2Fnetahtml%2Fsearch-bool.html&r=1&f=G&l=50&d=PALL&RefSrch=yes&Query=PN%2F5529391>Jun.,
1996Kindman et al.
|
|
|
|
|
5547280
<C:netacginph-Parser?Sect2=PTO1&Sect2=HITOFF&p=1&u=%2Fnetahtml%2Fsearch-bool.html&r=1&f=G&l=50&d=PALL&RefSrch=yes&Query=PN%2F5547280>Aug.,
1996Wanninger.
|
|
|
|
|
5578201
<C:netacginph-Parser?Sect2=PTO1&Sect2=HITOFF&p=1&u=%2Fnetahtml%2Fsearch-bool.html&r=1&f=G&l=50&d=PALL&RefSrch=yes&Query=PN%2F5578201>Nov.,
1996Collier et al.
|
|
|
|
|
5586823
<C:netacginph-Parser?Sect2=PTO1&Sect2=HITOFF&p=1&u=%2Fnetahtml%2Fsearch-bool.html&r=1&f=G&l=50&d=PALL&RefSrch=yes&Query=PN%2F5586823>Dec.,
1996Carr.
|
|
|
|
|
5961213
<C:netacginph-Parser?Sect2=PTO1&Sect2=HITOFF&p=1&u=%2Fnetahtml%2Fsearch-bool.html&r=1&f=G&l=50&d=PALL&RefSrch=yes&Query=PN%2F5961213>Oct.,
1999Tsuyuki et al.
|
|
|
|
|
6033377
<C:netacginph-Parser?Sect2=PTO1&Sect2=HITOFF&p=1&u=%2Fnetahtml%2Fsearch-bool.html&r=1&f=G&l=50&d=PALL&RefSrch=yes&Query=PN%2F6033377>Mar.,
2000Rasmussen et al.
|
|
|
|
|
6382827
<C:netacginph-Parser?Sect2=PTO1&Sect2=HITOFF&p=1&u=%2Fnetahtml%2Fsearch-bool.html&r=1&f=G&l=50&d=PALL&RefSrch=yes&Query=PN%2F6382827>May.,
2002Gebrian366/274.
|
|
|
|
|
Foreign Patent
Documents
|
|
3344754
|
Jun., 1985
|
DE.
|
|
|
2082929
|
Mar., 1982
|
GB.
|
|
|
2082930
|
Mar., 1982
|
GB.
|
|
|
63-185435
|
Aug., 1988
|
JP.
|
|
Examiner: Cooley; Charles E. , Agent or Firm: Jordan; Leland
K. is claimed is:
. A method for mixing a liquid solution contained in a
container having a false bottom, the method comprising: a ferromagnetic mixing
member within the liquid solution contained in the container; and, a pair of
magnetic fields in a circular pattern in close proximity to the container near
the location of the false bottom, rotating the pair of magnetic fields comprises
rotating a pair of magnets in a coordinated pattern in which lines parallel to
the axes of the magnets remain normal to one another, that magnetic forces
acting upon the mixing member cause it to revolve thereby generating a mixing
motion within the liquid solution.
. The method of claim 1 wherein the pair of magnetic fields
are rotated in close proximity to opposite sides of the container.
. The method of claim 1 wherein the magnets comprises
bar-shaped permanent or semi-permanent magnets.
. The method of claim 1 wherein rotating the magnetic fields
comprises rotating a pair of disks containing said magnets in a coordinated
pattern in which the magnetic fields of the two separate magnets are 90 degrees
out of phase with one another.
. The method of claim 1 wherein the mixing member is
spherical.
. The method of claim 1 wherein the mixing member is made of
an iron alloy and has a diameter in the range 2-6 mm.
. The method of claim 1 wherein the mixing member has a
protective coating to prevent contamination having thickness about 25 microns.
. The method of claim 7 wherein the protective coating
comprises a material selected from the group consisting of parylene, SURLYN.TM.
and TEFLON.TM. plastics.
. The method of claim 1 wherein the liquid container is
supported within a rack and the rack is moved through the rotating magnetic
fields.
. A method for mixing a liquid solution contained in a
container, the method comprising: a ferromagnetic mixing member within the
liquid solution contained in the container; a pair of magnetic fields in a
circular pattern in close proximity to the container; and, the container
vertically relative to the magnetic fields so that magnetic forces acting upon
the mixing member cause it to revolve thereby generating a mixing motion
throughout the entirety of the liquid solution.
. The method of claim 10 for mixing a liquid solution
contained in a container wherein rotating the pair of magnetic fields comprises
rotating a pair of bar-shaped magnets in a coordinated pattern in which lines
parallel to the axes of the bar-shaped magnets remain normal to one another.
. The method of claim 10 wherein the magnetic fields are
rotated in close proximity to opposite sides of the container.
. The method of claim 10 wherein the ferromagnetic mixing
member is spherical.
. An apparatus for mixing a liquid solution within a liquid
container, the apparatus comprising: liquid container having a false bottom;
spherical ferromagnetic mixing member within the liquid in the container; pair
of magnetic field sources positioned at opposite sides of the container
proximate the false bottom; and, for rotating the magnetic field sources in
circular patterns in close proximity to the liquid container, the means for
rotating the magnetic field sources comprise rotating a pair of bar-shaped
magnets in a coordinated pattern in which lines parallel to the axes of the
bar-shaped magnets remain normal to one another, that magnetic forces acting
upon the magnetic mixing member cause it to rotate, thereby generating a mixing
motion within the liquid solution.
. The apparatus of claim 14 wherein the magnetic field
sources are rotated in close proximity to the sides of the liquid container.
. The apparatus of claim 14 for mixing a liquid sample
solution within a liquid container wherein rotating the magnetic field sources
comprises rotating a motor shaft having said magnetic field sources attached
thereto.
(19)
КЦ (11)2115128(13) С1
(51) 6 С 01 Р
21/00
РОССИЙСКОЕ АГЕНТСТВО ПО ПАТЕНТАМ И ТОВАРНЫМ ЗНАКАМ
(12) ОПИСАНИЕ
ИЗОБРЕТЕНИЯ
к патенту Российской Федерации
(21) 95120719/28 (22) 05.12.95 (46) 10.07.98 Бюл. ¹ 19 (72) Калихман Д.М., Калихман Л.Я.,
Пестунов А.Н., Андрейченко К.П., Улыбин В.И. (71) (73) Производственное
объединение "Корпус"
(56) 54, авторское
свидетельство, 476516, О 01 Р 21/00, 1975. 511, авторское свидетельство,
1136085, О 01 Р 21/00, 1985. 84, авторское свидетельство, 1720023, О 01 Р
21/00, 1992. 511, авторское свидетельство, 1793385, О 01 Р 21/00, 1993. 5Н,
авторское свидетельство, 459735, О 01 Р 21/00, 1975. (54) СТЕНД ДЛЯ КОНТРОЛЯ
ИЗМЕРИТЕЛЕЙ УГЛОВЫХ СКОРОСТЕЙ (57) Использование: в измерительной технике.
Сущность изобретения: стенд для контроля измерителей угловых скоростей (ИУС),
содержит корпус, платформу на оси стенда, электродвигатель постоянного тока,
коллектор, два кварцевых маятниковых акселерометра, каждый из которых содержит
кварцевую пластину, емкостной датчик угла и магнитоэлектрический датчик
момента, соединенные через соответствующие усилители обратной связи, выходные
каскады которых выполнены в виде делителей напряженя, при этом корпус первого
акселерометра закреплен на платформе стенда так, что его ось чувствительности
перпендикулярна радиусу платформы, а корпус второго акселерометра закреплен,
так, что ось его чувствительности расположена вдоль радиуса платформы,
усилитель системы стабилизации с сумматором, входящим в его состав,
фотоэлектрический муаровый датчик угла, интерполятор фазовый и блок
преобразования информации фотоэлектрического датчика угла, процессорный модуль,
содержащий пятиканальный аналогово-цифровой преобразователь (АЦП),
двухканальный цифроаналоговый преобразователь (ЦАП), унифицированный
параллельный 16-разрядный интерфейс, а также процессор и
электронно-вычислительную машину (ЭВМ). 10 ил.
2.
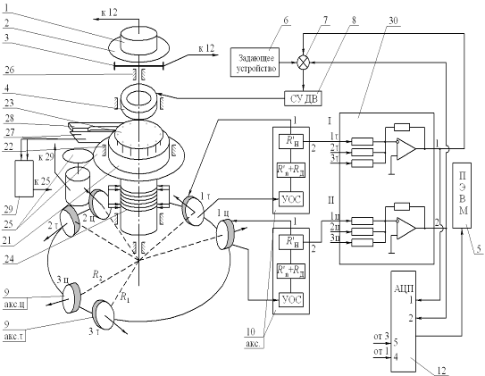
Теоретическая часть
2.1
Конструкция и принцип действия прибора
Комбинированнаяая схема прибора (рис.1) представляет собой
широкоскоростное управляемое основание с повышенной стабильностью задаваемой
угловой скорости [8]. Чувствительными элементами стенда являются два
акселерометра, измеряющие тангенциальное ускорение, и два акселерометра,
измеряющие центростремительное ускорение точек их крепления к платформе
установки, расположенные под углами 180° (расположение указано для каждого вида акселерометров). [20]
Схема содержит устройство минимизации момента трения по оси вращения
платформы. При этом учитывается следующее обстоятельство. В функционально -
кинематической схеме прецизионного стенда используются по 2 акселерометра
каждого вида, расположенных под углом 180° друг к другу. Это означает, что рассматриваются две
координаты для акселерометров, измеряющих тангенциальное ускорение, - b23,1, b23,2 и две координаты b24,1, b24,2, для акселерометров, измеряющих центростремительное ускорение.
Помехи вида bпt, представляющие собой периодическое
возмущение в выходном сигнале кварцевого акселерометра при его вращении вместе
с платформой, возникающие вследствие невертикальности оси “Т” прибора, для
каждого из двух акселерометров, измеряющих тангенциальное и центростремительное
ускорения, имеют различное математическое выражение из - за фазовых сдвигов
между помехами. Поэтому в уравнениях движения эти помехи записываются как b23,1, b23,2- для измерителей тангенциального и как b24,1, b24,2,- для измерителей центростремительного ускорений.
Необходимо показать, что комплексирование прецизионных кварцевых акселерометров
позволяет решить ряд проблем, одной из которых является проблема влияния
невертикальности оси “Т” вращения платформы прибора [13]. Данная проблема
решается методами комплексирования акселерометров в пары и подачей общего,
суммированного сигнала в систему управления устройством.
По сигналам, получаемым из цепи обратной связи осуществляется управление
двигателем и измерение заданной угловой скорости в области значений угловых
скоростей от 0,1 о/с до 30 о/с. Каждый из акселерометров (чувствительных
элементов, обозначенных дополнительно индексами, относящимися к измеряемому
ускорению: т - тангенциальное и “ц”- центростремительное), имеет усилитель
обратной связи. Сигналы из цепей обратной связи усилителей. поступают
двухканальный суммирующий усилитель (канал 1- для измерителей
центростремительного ускорения, канал 11- для измерителей тангенциального
ускорения). Сигналы с выхода 1 усилителя - для измерителей центростремительного
ускорения и с выхода 2 усилителя - для акселерометров - измерителей
тангенциального ускорения поступают как в систему измерения стенда - через АЦП
в ПЭВМ, так и в систему управления двигателем, т.е. на сумматор. При этом в
области малых угловых скоростей (до 50 о) от ПЭВМ 5 через интерфейс подается
управляющее воздействие на сумматор. Таким образом осуществляется управление
двигателем вращения платформы. Это означает, что в области задаваемых значений
угловых скоростей управление стендом осуществляется по сигналам акселерометров,
измеряющих тангенциальное и центростремительное ускорения. Аппарат имеет
упрощенную аналоговую схему управления основным двигателем, однако, учитывая
наличие устройства минимизации момента сопротивления по оси вращения аппарата,
следует ожидать высокой стабильности задаваемой угловой скорости, а,
соответственно, и задаваемых ускорений.
Устройство минимизации момента сопротивления (рис. 2) также иммеет
систему управления. Эта система включает в себя датчик момента и блок
управления устройством минимизации момента сопротивления по оси вращения
аппарата [12].
Указанное устройство является универсальным, оно решает принципиальную
задачу - разгрузки оси вращения платформы управляемого основания от веса
установленного на платформе (что минимизирует момент трения по осви вращения
платформы) и исключения влияния на эту же ось момента трения токоподводящего
коллектора.
Минимизация трения по оси подвеса платформы стенда достигается за счет
выполнения подвеса в виде двух соосно и концентрично расположенных осей, из
которых одна нагружена моментом трением коллектора подвода питания и весом
испытуемого оразца со сменным блоком, а вторая ось разгружена от веса прибора и
имеет подвод питания через торцевой упругий токоподвод (безмоментный).
Платформа 2 с усстановленным сменным блоком, вращается вокруг разгруженной оси,
управление по угловой скорости осуществляется также по разгруженной оси.
Механизм отслеживания обеспечивает вращение своего выходного звена вокруг
нагруженной оси таким образом, чтобы рассогласование угловых положений обоих
вращающихся подвесов (платформы и выходного звена механизма отслеживания) было
минимальным. Конструктивно подвес выполнен следующим образом.
Платформа 2 жестко соединена с траверсой (поэтому платформа и траверса
имеют одинаковое обозначение -2). Траверса 2 (рис. 2) выполнена в виде трубы на
длине L, труба соединена в единый, строго соосный вал с верхней и нижней
частями траверсы, имеющими сплошное сечение. К торцу “А” трубы жестко
прикреплен нижний конец торсиона 19, верхний конец которого жестко соединен со
стержнем 20, расположенным горизонтально и своими концами соединенным жестко со
втулкой 21. Стержень 20, располагаясь горизонтально, проходит через два
цилиндрических отверстия трубы (траверсы), ось которых перпендикулярна оси
траверсы 2, а диаметр отверстий допускает относительный разворот стержня и
траверсы на углы ±5°. Ленточный торсион может, например,
иметь размеры: длину 200 мм, поперечное сечение b=4 мм, h=0.2 мм. Втулка 21
полая, подвешена в корпусе стенда на двух шарикоподшипниках 22, которые
реализуют первую (нагруженную) ось устройства. Траверса расположена внутри
втулки 21, соосна и концентрична втулке 21, подвешена в корпусе стенда на
подшипниках 26,
Рис. 1. Функционально - кинематическая схема установки
которые реализуют вторую (разгруженную) ось, несущую платформу с
испытуемым прибором. Внутри втулки 21 размещен торцевой упругий токоподвод 23,
верхняя колодка которого связана с траверсой 2, а нижняя - со втулкой 21. Со
втулкой 21 жестко соединена втулка многодорожечного кольцевого коллектора 24,
щетки коллектора закреплены на корпусе стенда. Со втулкой 21 соединено зубчатое
колесо- выходное звено механизма отслеживания 25, который содержит одну
зубчатую передачу и шаговый двигатель с электронным управлением. На нижней
колодке токоподвода 23 закреплены два геркона (герметичных контакта) 27, на
верхней колодке токоподвода закреплен магнит 28. Герконы расположены так, что
угол между контактами герконов равен 8.64°, магнит находится в среднем положении между контактами.
Магнит и пара герконов предназначены для регистрации углов рассогласования
положений верхней и нижней колодок токоподвода, т.е. подвеса втулки 21
(вращающейся вокруг нагруженной оси) и подвеса платформы 2, вращающейся вокруг
разгруженной оси по заданному закону.
При развороте подвеса платформы вокруг разгруженной оси на угол ± 4.32° в любую сторону магнит оказывается над контактами
герконов, последние замыкаются, включается шаговый двигатель, вследствие чего втулка
21 разворачивается, отслеживая положение платформы 2. Разгрузка опор 26 оси
вращения траверсы 2 обеспечивается за счет натяжения торсиона 19, передающего
вес испытуемого прибора через стержень 20 на шарикоподшипники 22 оси вращения
втулки 21 (нагруженной оси), момент трения шарикоподшипников 22 “парируется”
шаговым двигателем механизма отслеживания 25. Момент сопротивления коллектора
24 также преодолевается шаговым двигателем механизма отслеживания. Таким
образом, к управляемой по заданному закону разгруженной оси вращения траверсы
(и платформы) 2 приложены только малые моменты. Этими моментами являются:
момент трения шарикоподшипников 26, полностью разгруженных от веса испытуемого
прибора 1 (порядок момента - 0.5 гсм), момент скручивания золотых проводников
упругих торцевых токоподводов 23, имеющий порядок 0.2 гсм при максимальном угле
«отставания» отслеживающего подвеса от платформы, равном ±4.32°, момент скручивания ленточного торсиона, имеющий при
углах закручивания порядка ±4° и при приведенных выше параметрах
порядок 0.8 - 0.9 гсм. Суммарный момент сопротивления по оси вращения траверсы
не превышает 2-3 гсм, если рассогласование положений подвесов максимальное, в
то время как момент сопротивления по оси вращения втулки 21 имеет порядок 300 -
400 гсм. Выбор в качестве приводного двигателя механизма отслеживания шагового
двигателя с электронным управлением процессом коммутации его обмоток имеет
серьезные обоснования, заключающиеся в том, что в случае использования в
механизме отслеживания двигателя любого другого типа возможно возникновение
перерегулирования, приводящего к деформациям или даже разрушению торцевых
упругих токоподводов. Кроме того, импульсный характер движения отслеживающего
подвеса позволяет в любой момент времени по частоте подаваемых импульсов
получать информацию о величине угловой скорости и угла разворота платформы и
оптимизировать эти параметры, при условии, что коммутация обмоток шагового
двигателя осуществляется процессорным устройством.
Шаговый двигатель может обеспечивать два режима работы следящей системы.
Первый режим, допускающий замыкание герконов на предельных углах
рассогласования положения подвесов, обеспечивает закручивание проводников
упругих торцевых токоподводов и торсиона на углы ±j0= ±4° (j0 - половина угла между герконами) [12]. Следствием является
возникновение по разгруженной оси момента, изменяющегося по синусоидальному
закону и имеющего небольшую амплитуду 2 - 3 гсм. Во втором режиме
обеспечивается синхронное вращение обоих подвесов, при этом к разгруженной оси прикладываются
возмущающие моменты, не превышающие величин 0.1- 0.3 гсм.
Сменные блоки представляют собой устройства устанавливаемые на
вращающущуюся платформу аппарата. Пробиркодержатель представляет собой
металическую тару с посадочными местами для установки стандартных пробирок. К
пробиркодержателю крепятся специальные кронштейны с установленными на них
четырьмя акселерометрами. Два из них измеряют тангенциальные ускорения, а два
других центростремительное. По их сигналам можно судить о скорости вращения
платформы и о величине фактора разделения.
Другой сменный блок представляет собой качающуюся платформуна которую
посредствам магнитных зажимов крепится исследуемый образец. Мехнизм этого
устройства представляет собой электропривод выполненый посредствам трех шаговых
двигателей и трех кривошипно-шатунных механизмов, расположенных под углом 120 о
по отношению друг к другу. Таким расположением достигается симметричность
пространственного движения платформы. Сигнал управления на шаговые двигатели
подается с ПЭВМ через систему управления. Следует отметить что скорость
вращения каждого из трех шаговых двигателей можно задавать независимо друг от
друга и от скорости вращения самой платформы. Такая развязка добавляет
универсализма в данный аппарат.
2.2
Математическая модель устройства
Система дифференциальных уравнений, используемая для расчета АФЧХ,
переходных процессов, анализа устойчивости работы системы управления прибором,
имеет вид [10]:
.Ia00a+na00a +Mдв00=Мa00+ М1.12a002;
G23l23
.I23zb23+ nb23b23+С23b23+ kдм23iдм23= ¾¾¾ R1a+Мb23;
g
G24l24
.I24zb24+ nb24b24+С24b24+ kдм24iдм24= ¾¾¾ R1a2 signa+Мb24.
g
Полагаем установку с установленными на нее элементами динамически
отбалансированной с высокой точностью.
Помеха M1.12a002
носит методический характер, ее влияние не изменяется в зависимости от схемы
установкуи Помеха вида Ma002
при дальнейших исследованиях прибра по схеме (рис. 1) данная помеха не
рассматривается.
Рассмотрим характер помех, учитываемых в системах уравнений (2.2.1)
1. Помеха Мa00
- нестабильность момента сопротивления по оси “Т” вращения платформы
устройства. Устройство имеет механизм разгрузки опор оси “Т”, выполненный по
схеме (рис. 2 ). Поэтому, помеха Мa00 подчиняется закону Мa00=3sin(pw0/4)t и зависит от задаваемой угловой скорости w0.
Эксперименты показывают, что в этом режиме работы шагового двигателя
могут возникать скачки момента, распределенные по нормальному закону, с
математическим ожиданием 0.6 гсм и СКО 0.01 гсм. Таким образом, момент помехи Мa00 выражается комбинацией
функциональной зависимости Мa00=3sin(pw0/4)t и закона
распределения:
1 (Мa00 - 0.6 )2
j(Мa00)= -¾¾¾¾¾¾ exp(- -¾¾¾¾¾¾ ). (2.2.2)
0.01Ö 2p
2× 0.012
соответствующего действию скачков малой амплитуды - 0.6 гсм.
В случае синхронного режима работы, обеспечивающего отсутствие углового
рассогласования подвесов, вращающихся вокруг обеих осей, изменение момента Мa00 не подчиняется закону Мa00=Мaa00 sin(pw0/j0)t.
Теоретическое значение момента Мa00 »0,
а практически Мa00
представляет собой случайный процесс с математическим ожиданием 0.3 гсм и СКО
0.01 гсм.
1 (Мa00 - 0.3)2
j(Мa00)= -¾¾¾¾¾¾ exp( - -¾¾¾¾¾¾ ). (2.2.3)
0.01Ö 2p
2× 0.012
. Помеха DUзад
- нестабильность источника задающего напряжения. Принимаем, что помеха DUзад носит характер ступенчатой
функции. Амплитуда скачка 15.5 мкВ. Скачки носят одиночный характер и возникают
в количестве 2 - 3 скачка за 10 мин.
j(DUзад) = ¾¾¾¾¾ exp(- ¾¾¾¾¾¾ ). (2.2.4)
3.5×10-6Ö2p 2× (3.5×10-6)2
. Помехи Мb23i
(i=1,2,3) - изменение момента тяжения, действующего вокруг осей поворота
кварцевых пластин каждого из трех акселерометров, приводящее к изменению во
времени их нулевых сигналов. Момент Мb23i подчиняется экспоненциальному закону вида:
Мb23=Мb230(1+ae-nt). (2.2.5)
Для базового кварцевого маятникового акселерометра получены значения Мb230, а,n. Примем, что три акселерометра, измеряющих
тангенциальное ускорение, имеют аналогичные законы изменения Мb23, отличающиеся только значениями Мb230, а,n в пределах разброса допусков на нулевой сигнал в
партии акселерометров ( ± 5 %
):
Мb231=0.9×10-7× (1+8.33e - 0.00097×t );
Мb23 2=0.855×10-7× (1+7.91 e - 0.00092×t );
Мb233=0.945×10-7× (1+8.75e - 0.00102t ).
(2.2.6)
В случае введения системы термостатирования акселерометров изменение
момента Мb23 по
экспоненте отсутствует. Математическую модель помехи Мb23 можно представить случайной
функцией с нулевым математическим ожиданием и СКО, соответствующим случайной
составляющей дрейфа в запуске.
Для рассматриваемого акселерометра случайная составляющая дрейфа в
запуске равна 0.5×10-6g, что соответствует протеканию тока
0.5×10-6 мА, или при крутизне датчика
момента 150 гсм/А - СКО момента Мb23 - 7.5×10-7 гсм.
1 - (Мb23)2
j(Мb23)= ¾¾¾¾¾¾ exp(¾¾¾¾¾¾¾ ) . (2.2.7)
7.5×10-7×Ö 2p 2×(7.5×10-7)2
. Помехи Мb24i,
(i=1,2,3) - изменение момента тяжения, действующего вокруг оси поворота
кварцевой пластины каждого из двух акселерометров, измеряющих
центростремительное ускорение, которое приводит к изменению во времени нулевых
сигналов кварцевых акселерометров. Момент Мb24i принимается подчиняющимся закону: Мb24=Мbц0(1+ae-nt), (2.2.8)
такому же, как и момент тяжения акселерометров, измеряющих тангенциальное
ускорение.
Моменты тяжения двух акселерометров, измеряющих центростремительное
ускорение, соответствуют выражениям (2.2.6):
Мb241=0.9×10-7(1+8.33e - 0.00097t );
Мb24 2=0.855×10-7(1+7.91 e - 0.00092t );
Мb243=0.945×10-7(1+8.75e - 0.00102t ).
(2.2.9)
В случае введения системы термостатирования моменты тяжения
акселерометров (2.2.9) практически отсутствуют.
Математическую модель помехи Мb24 можно представить случайной функцией с нулевым
математическим ожиданием и СКО, соответствующим случайной составляющей дрейфа в
запуске. 0.5×10-6g, что соответствует СКО момента Мb24 - 7.5×10-7 гсм.
1 - (Мb24)2
j(Мb24)= ¾¾¾¾¾¾ exp(¾¾¾¾¾¾¾ ) . (2.2.10)
7.5×10-7×Ö 2p 2×(7.5×10-7)2
. Помехи bп23i
(i=1,2,3) bп231, bп232, исчисляются в угловой мере и
представляют собой угловые колебания плоскости кварцевой пластины акселерометра
вокруг вертикали места, возникающие в случае вращения платформы с
акселерометрами вокруг невертикальной оси “Т”. Помеха bп23i подчиняется закон ее изменения:
G23i l23i Rн23i zвых23i
bп23i= ¾¾¾¾¾¾¾¾¾ gra cosni cosw0t. (2.2.11)
zн23i kдм23i kду23i Wуос23i
Метод комплексирования выходной информации [3] акселерометров, являющихся
чувствительными элементами стендов, обеспечивает инвариантность системы
управления (и точностных характеристик прибора) к помехам bп23 только при равенстве всех
соответствующих параметров акселерометров.
Это означает, что для выполнения комплексирования - параметры G23i, l23i,
Rн23i, zвых23i, zн23i, kдм23i, kду23i,½Wуос23i ½ при i=1,2,3 полагаются равными, разница в значениях bп23i определяется только величиной
cosni, т.е. ориентацией акселерометра на
платформе. Для двух акселерометров, закрепленных на платформе с угловым шагом
360°/N = 180°, помехи bп23i имеют вид:
bп231= Kb23 gra cosn0 cosw0t; bп232= Kb23 gra cos(n0 + 180°)cosw0t; (2.2.12)
G23 l23 Rн23 zвых23
Kb23 = ¾¾¾¾¾¾¾¾¾ . (2.2.13)
zн23 kдм23 kду23 ½Wуос23½
Если n0=0, то (2.2.12) примет вид:
bп231= Kb23 gra cosw0t; bп232= Kb23 gra cos180°cosw0t= - Kb23 gra cosw0t. (2.2.14)
Несложно заметить, что сумма bп23i равна 0,что соответствует правилу 1, сформулированному в
монографии [10]. Поскольку практически обеспечить равенство соответствующих
параметров акселерометров сложно, целесообразно сформулировать требование по
выбору комплексного параметра акселерометров, при равенстве которого для всех
акселерометров прибора обеспечивается инвариантность системы к помехам bп23.
Напряжение на выходе УОС акселерометра UDgi (на нагрузке Rн23), возникающее вследствие действия
помехи bп23i, описывается зависимостью
Dgi=bп23ikду23Wуос23zн23/zвых23.
(2.2.15)
То же напряжение на выходе УОС акселерометра UDgi (на нагрузке Rн23), выраженное
через ток i23 обратной связи, соответствующий проекции Dg вектора ускорения силы тяжести на
ось чувствительности i - го акселерометра:
G23i l23i Rн23i
UDgi= ¾¾¾¾¾¾ gra cosni cosw0t . (2.2.16)
kдм23i
Из равенства этих двух выражений и получается формула (2.2.11).
Комплексным параметром для акселерометров, обеспечение равенства которого
при решении задачи комплексирования гарантирует идентичность акселерометров по
выходной информации для управления двигателем стенда, является крутизна
выходной характеристики по току обратной связи акселерометра. Таким образом,
для комплексируемых акселерометров должно выполняться равенство:
G23i l23i/ kдм23i =
G23 l23 / kдм23 (2.2.17)
Помехи bп24i (i=1,2,3)
для акселерометров, измеряющих центростремительное ускорение, имеют такую же
физическую природу и характер, что и помехи bп23i (i=1,2,3) для акселерометров, измеряющих тангенциальное
ускорение, и выражаются формулой:
G24 l24 Rн24 zвых24
bп24i= ¾¾¾¾¾¾¾¾¾ gra cosni cosw0t . (2.2.18)
zн24 kдм24 kду24 Wуос24
Для акселерометров, измеряющих тангенциальное ускорение, было принято n0=0, т.е. проекция вектора ускорения
силы тяжести на плоскость платформы (в начальный момент времени) совпадает с
осью чувствительности условно 1-го акселерометра, измеряющего тангенциальное
ускорение. Примем, что условно 1-й акселерометр, измеряющий центростремительное
ускорение, закреплен на платформе так, что его ось чувствительности составляет
с осью чувствительности 1-го акселерометра, измеряющего тангенциальное
ускорение, угол 60°.
Тогда выражения для bп24i
примут вид:
bп241 =
Kb24gra cosw0t; bп242 = - Kb24g ra×cosw0t. (2.2.19)
Исследование динамических характеристик универсальной установки.
Рассмотрим структурные схемы предлагаемой установки, осуществим выбор
корректирующих звеньев, запишем передаточные функции, АФЧХ, проведем анализ
запаса устойчивости системы управления установки.
Для анализа запаса устойчивости используются передаточные функции
разомкнутой системы Wрс(p), определяемые из структурной схемы
установки, приведенной на рис. 3 а .
рc(р)=Фa00’(р)(k24 (р)Фb24(р) mWстрег24(р)+ к23(р)Фb23(р)nW’стрег23(р)), (2.2.20)
где n,m - число акселерометров, измеряющих тангенциальное и
центростремительное ускорения, соответственно.
Wa00(р) передаточная функция объекта
Ф’a00(р)= ¾¾¾¾¾¾¾¾¾¾¾¾ - управления прибора
1+ Wa00(р)
Wb23(р)
Фb23(р) = ¾¾¾¾¾¾¾¾¾ - передаточная функция
акселерометра,
1+Wb23(р)Wосрег23(р) измеряющего тангенциальное ускорение;
Wb24(р)
Фb24(р) = ¾¾¾¾¾¾¾¾¾ - передаточная функция
акселерометра,
1+ Wb24(р)Wосрег24(р) измеряющего центростремительное ускорение;
(2.2.21)
стрег21(р)=Wосрег21(р)Rф21Wф21(р)Wк21(р)Wст1(р)/kдм- (2.2.22)
Передаточная функция регулятора установки по углу b23 акселерометра, измеряющего
тангенциальное ускорение;
стрег24(р)= Wосрег24(р) Zф24(р)Wф24(р)Wк24(р) ky24Wст1(р)/kдм24 - (2.2.23)
передаточная функция регулятора установки по углу b24 акселерометра, измеряющего
центростремительное ускорение;
23(р)=G23l23R1p2/g - (2.2.24)
коэффициент передачи акселерометра, измеряющего тангенциальное ускорение,
по углу поворота платформы прибора a;
24(р)=G24l24R1pa/g - (2.2.25)
коэффициент передачи акселерометра, измеряющего центростремительное
ускорение, по углу поворота платформы прибора a;
1
Wa00(р)=
¾¾¾¾¾ - передаточная функция механической части
Ia00p2+na00p
1
Wb23(р)=
¾¾¾¾¾¾¾ - передаточная функция подвижной
части
I23zp2+nb23p+С23
акселерометра, измеряющего тангенциальное
ускорение; (2.2.27)
1
Wb24(р)=
¾¾¾¾¾¾¾ - передаточная функция подвижной
части
I24zp2+nb24p+С24
акселерометра, измеряющего
центростремительное
ускорение; (2.2.28)
Wосрег23(р)=kду23Wуос23(р)kдм23/Zвых23 - передаточная функция
регулятора акселерометра, измеряющего тангенциальное ускорение; (2.2.29)
Wосрег24(р)=kду24 Wуос24(р) kдм24
/ Zвых24(р) - передаточная функция
регулятора акселерометра, измеряющего центростремительное ускорение; (2.2.30)
В последующем выражении для передаточных функций обозначены через: “к“ с
индексами, соответствующими рассматриваемому звену, коэффициенты передачи
звеньев, а через “Т” с соответствующими индексами, постоянные времени
звеньев.Так, ky23, ky24 - коэффициенты усиления масштабного усилителя
акселерометров, измеряющих тангенциальное и центростремительное ускорения,
соответственно [4]; к23 и kк24 -
коэффициенты усиления корректирующих устройств тех же акселерометров;
ky23(T231p+1)(A232p2+ A231p+1) уос23(р) = ¾¾¾¾¾¾¾¾¾¾¾¾¾ - (2.2.31)
p (T232p +1)(A233p2+ A234p+1)
передаточная функция усилителя обратной связи акселерометра, измеряющего
тангенциальное ускорение;
ky24(T241p +1)(A22p2+ A241p+1) уос24(р)= ¾¾¾¾¾¾¾¾¾¾¾¾¾ - (2.2.32)
p (T242p +1)(A243p2+ A244p+1)
передаточная функция усилителя обратной связи акселерометра, измеряющего
центростремительное ускорение;
kст1(T6p +1)(T7p +1)
Wст1(р)=
¾¾¾¾¾¾¾¾¾ - (2.2.33)
p(T8p +1)(T9p +1)
передаточная функция разгрузочного устройства прибора;
Tк232p2 + Tк23(1+kк230Ак23/
kк23)p/ qк23+1
Wк23(р)=
kк23 ¾¾¾¾¾¾¾¾¾¾¾¾¾¾¾¾¾ ;
q23Tк232p2 + Tк23p/ qк23+1
Tк242p2 + Tк24(1+kк240Ак24
/ kкц)p/ qк24+1
Wк24(р)=
kк24 ¾¾¾¾¾¾¾¾¾¾¾¾¾¾¾¾¾ ; (2.2.34)
q24Tк242p2 + Tк24 p / qк24+1
Tк2312p2 + Tк231(1+k230Ак231
/ kк231)p/ qк231+1
Wк231(р)=
kк231 ¾¾¾¾¾¾¾¾¾¾¾¾¾¾¾¾¾¾ .
q231Tк2312p2 + Tк231p/ qк231+1
Группа формул (2.2.34) описывает передаточные функции
многофункционального корректирующего устройства регулятора прибора, по углу
поворота подвижной части акселерометров, измеряющих тангенциальное и
центростремительное ускорения.
Обозначено:
Ак23, Ак231, Ак24 - коэффициенты усиления полосовых усилителей,
соответственно, акселерометров, измеряющих тангенциальное ускорение, и
акселерометров, измеряющих центростремительное ускорение;
q23, q231, q24- безразмерные множители,
позволяющие выбирать параметры сложных передаточных функций тех же каналов
акселерометров.
qк23, qк231, qк24 - аналогичные коэффициенты для
корректирующих звеньев тех же каналов.
R232
Wф23(р)
= ¾¾¾¾¾¾¾¾¾¾¾ - передаточная функция нагрузки
(Tф23p+1) (R232 + R231 +Rдм23) на выходе УОС акселерометра,
измеряющего
тангенциальное
ускорение;
R242
Wф24(р)
= ¾¾¾¾¾¾¾¾¾¾¾ - передаточная функция нагрузки
(Tф24p+1) (R242+R241+Rдм24) на выходе УОС акселерометра,
измеряющего
центростремительное
ускорение;
(R232+R231+Rдм23)(Tф23p+1) полное сопротивление нагрузки
Zвых23(р)
= ¾¾¾¾¾¾¾¾¾ - УОС акселерометра, измеряющего
(Tф231p+1) тангенциальное ускорение;
(R242 + R241 +Rдм24)(Tф24p+1) полное сопротивление нагрузки
Zвых24(р)
= ¾¾¾¾¾¾¾¾¾ - УОС акселерометра, измеряющего
(Tф241p+1) центростремительное ускорение.
Для анализа частотных свойств прибора используются передаточные функции
замкнутой системы [4], определяемые из структурной схемы прибора, приведенной
на рис. 3
Мa00(р) a(р) рa(р)
Мдв00(р)
Рис. 3 . Структурная схема установки для определения передаточной функции
замкнутой системы.
Передаточные функции установки.
Передаточные функции по моменту Мa00 на оси вращения установки можно записать в следующем виде.
Для угловой скорости a , °/с гсм:
p Ф’a00(р)
W’a·,Мa00(р)= ¾¾¾¾¾¾ ×57.3 .
1+ Wрс2(р)
Для момента двигателя разгрузочного устройства Мдв00, гсм/гсм:
W рс2(р)
W’Мдв00, Мa00(р)= ¾¾¾¾¾ .
1+ Wрс2(р)
Для сигнала с акселерометра, измеряющего центростремительное ускорение, Uвых24, В/гсм:
W’a·,.Мa00(р)Фb24(р) k24 (р)Wстрег24(р)
W’Uвых24, Мa00(р)= ¾¾¾¾¾¾¾¾¾¾¾¾¾¾¾¾ .
57.3 × pWк24(р) Wст1(р)
Для сигнала с акселерометра, измеряющего тангенциальное ускорение,Uвых23, В/гссм
W’a·,Мa00(р)Фb23(р)
k23 (р)Wстрег23(р)
W’Uвых23, Мa00(р)= ¾¾¾¾¾¾¾¾¾¾¾¾¾¾¾¾ . (2.2.36)
57.3×pWк231(р) Wст1(р)
Передаточные функции по сигналу управления Uзад.
Для угловой скорости a, °/с В:
W’a·,Uзад(р)= W’a·,Мa00(р)Wст1(р).
Для момента двигателя разгрузочного устройства Мдв00, гсм/В:
W’ Мдв00, Мa00(р)Wст1(р)
W’Мдв00
,Uзад(р)= ¾¾¾¾¾¾¾¾¾¾¾ .
Wрс2(р)
Для сигнала с акселерометра, измеряющего центростремительное ускорение, Uвых24, В/В:
W’a·,Uзад(р) W’Uвых24, Мa00(р)
W’Uвых24, Uзад(р)= ¾¾¾¾¾¾¾¾¾¾¾ .
W’a·,Мa00(р)
Для сигнала с акселерометра,измеряющего тангенциальное ускорение, Uвых23, В/В:
W’a·,Uзад(р)W’Uвых23, Мa00(р)
W’Uвых23, Uзад(р)= ¾¾¾¾¾¾¾¾¾¾¾¾ . (2.2.37)
W’a·,Мa00(р)
Передаточные функции по шумовой составляющей Uпвых24, приведенной к углу bп24 поворота подвижной части акселерометра,
измеряющего центростремительное ускорение.
Под шумовой составляющей Uпвых24
понимается напряжение на выходе акселерометра, измеряющего центростремительное
ускорение, возникающее вследствие действия помех, рассмотренных выше: угловых
колебаний bп24i (2.2.18) плоскости кварцевой
пластины вокруг вертикали места, скачков момента, имеющих характер случайного
процесса (2.2.3).
Для угловой скорости a , °/с×дуг. с:
’a·,bп24 = W’a·, Мa00 (р)m Wстрег24(р)(1-Фb24(р)Wocрег24(р)) × 4.85×10 -6.
Для момента двигателя разгрузочного устройства Мдв00, гссм/дуг.с:
W’a·,bп24(р) W’
Мдв00, Мa00(р)
W’Мдв00,bп24(р) = ¾¾¾¾¾¾¾¾¾¾¾¾ .
W’a·,Мa00(р)
Для сигнала с акселерометра, измеряющего центростремительное ускорение, Uвых24, В/дуг.с:
W’a·,bп24(р) W’Uвых24, Мa00(р)
W’Uвых24, bп24(р) = ¾¾¾¾¾¾¾¾¾¾¾¾¾ .
W’a·,Мa00(р)
Для сигнала с акселерометра,измеряющего тангенциальное ускорение, Uвых23, В/дуг.с:
W’a·00,bп24(р) W’Uвых23, Мa00(р)
W’Uвых23, bп24(р) = ¾¾¾¾¾¾¾¾¾¾¾¾¾ . (2.2.38)
W’a·00,Мa00(р)
Передаточные функции по шумовой составляющей Uпвых23, приведенной к углу bп23 поворота подвижной части акселерометра,
измеряющего тангенциальное ускорение.
Для угловой скорости a, °/с дуг. с:
W’a·,bп23(р)= W’a·,Мa00(р)n Wстрег23(р)(1-Фb23(р)Wocрег23(р)) × 4.85 ×10-6.
Для момента двигателя разгрузочного устройства Мдв00, гсм/дуг.с:
W’a·,bп23(р) W’Мдв00,
Мa00(р)
W’
Мдв00,bп23(р) = ¾¾¾¾¾¾¾¾¾¾¾¾ .
W’a·,Мa00(р)
Для сигнала с акселерометра, измеряющего центростремительное ускорение Uвых24, В/дуг.с:
W’a·,bп23(р) W’Uвых24,Мa00(р)
W’Uвых24,bп23(р) = ¾¾¾¾¾¾¾¾¾¾¾¾ .
W’a·,Мa00(р)
Для сигнала с акселерометра, измеряющего тангенциальное ускорение, Uвых23, В/дуг.с:
W’a·,bп24(р) W’Uвых23,Мa00(р)
W’Uвых23,bп23(р) = ¾¾¾¾¾¾¾¾¾¾¾¾ . (2.2.39)
W’a·,Мa00(р)
Для сигнала с акселерометра, измеряющего тангенциальное ускорение, Uвых23, В/дуг.с:
W’a·,bп22(р) W’Uвых23,Мa00(р)
W’Uвых23,bп22(р) = ¾¾¾¾¾¾¾¾¾¾¾¾ . (2.2.40)
W’a·,Мa00(р)
Для приведения к углу bп21i переменной составляющей Uпi (i=21,22)
используется соотношение (2.2.3).
Для приведения к углу bп23i шумовой составляющей (напряжения) Uпвых23, акселерометра, измеряющего
тангенциальное ускорение, используется соотношение:
bп 23i=
Uпвых 23i Zвых 23i / (kду23 iW уос23 i Zн 23i). (2.2.41)
При этом шумовые составляющие, вызываемые действием bп23i, имеют вид [15]: Uпвых23i= [G23il23iRн23i/kдм23i]×g×r×cosn×coswot (1.7)
Для приведения к углу bп24i шумовой составляющей Uпвых24i используются выражения, аналогичные (2.41):
bп 24i=
Uпвых 24i Zвых 24i / (kду24i×Wуос24i ×Zн24i). (2.2.42)
Необходимо сделать некоторые замечания по методу линеаризации статической
характеристики установки по рассматриваемой схеме
При управлении установкой по сигналу акселерометров, измеряющих
центростремительное ускорение, система управления нелинейна [4], поскольку
центростремительное ускорение выражается через квадрат угловой скорости
вращения платформы. В правую часть уравнений движения платформы установки входит
выражение, которое может быть линеаризовано следующим образом:
G24l24 G24l24
G24l24 · ·
¾¾¾ R1a2= ¾¾¾ R1 (a00+w0)2= ¾¾¾ R1 (a002+2a00w0+w02).
G g g
С точностью до малых второго порядка имеем:
G24l24
G24l24
¾¾¾ R1 (a002+2×a00×w0+w02)= ¾¾¾ ×R1× (w02+2×a00×w0). (2.2.44)
g g
Физический смысл выражения (2.2.44) заключается в следующем: это есть
момент, действующий вокруг оси поворота кварцевой пластины акселерометра,
возникающий вследствие действия центростремительного ускорения в точке
закрепления акселерометра на вращающейся платформе установке. Моменту (2.2.44)
соответствует протекание тока обратной связи, равного:
G24l24 ·
i
дм24= ¾¾¾ ×R1× (w02+2×a00×w0). (2.2.45)
g×kдм24
С нагрузки Rн24 на выходе усилителя обратной связи акселерометра
снимается напряжение:
G24l24
U24i= ¾¾¾××Rн24×R1×(w02+2×a00×w0), (2.2.46)
g×kдм24
где i - номер акселерометра,
комплексируемого в “двойку”.
Сумма выходных напряжений 2-х акселерометров равна:
G24l24
US= 2 × ¾¾¾ ×Rн24×R1× (w02+2×a00×w0). (2.2.47)
g×kдм24
Это напряжение есть напряжение, поступающее (после корректировки в
корректирующем контуре) на вход сумматора. Если желательно задать платформе
установки угловую скорость w0, то необходимо на вход сумматора подать напряжение Uзад = US. В линеаризованном выражении (2.2.47) составляющая
суммарного выходного сигнала 2-х акселерометров:
G24l24
2 × ¾¾¾ ×Rн24×R1×w02 = US1 (2.2.48)
g×kдм24
уравновешивает заданное напряжение Uзад = US1
(2.2.48), что соответствует установившемуся режиму вращения платформы с
желаемой угловой скоростью w0 = const.
Если в сумме выходных сигналов 2-х акселерометров вследствие
нестабильности a·00
угловой скорости вращения платформы, возникающей вследствие действия помех в
системе управления прибором, присутствует вторая составляющая, вызванная нестабильностью
a·00 и равная:
G24l24
Uрег=
6 × ¾¾¾ ×Rн24×R1×a00×w0, (2.2.49)
g kдм24
то последняя выступает в качестве регулирующего воздействия,
обеспечивающего выравнивание величин фактического значения развиваемой
платформой угловой скорости wa и заданной w0.
Регулирующее воздействие зависит от задаваемой угловой скорости.
Могут быть сделаны следующие выводы:
. При работе установки по рассматриваемой схеме статическая
характеристика нелинейна.
. Зависимость регулирующего воздействия от задаваемой угловой скорости
приводит к необходимости исследования устойчивости системы управления для
каждого значения задаваемой угловой скорости w0.
Структурная схема, соответствующая принятой линеаризации, представлена на
рис. 3 а, где формирование регулирующего воздействия отражено введением
перемножителя (коэффициент 2, присутствующий во втором слагаемом выражений
(2.2.44 - 2.2.48) реализуется в усилителе).
Была рассмотрена возможность линеаризации системы управления установкой
при его работе, т.е. обеспечения линейной статической характеристики установки
и постоянного управляющего воздействия путем введения переменного сопротивления
Rн24 на выходе усилителя обратной
связи акселерометров, измеряющих центростремительное ускорение. Получен закон
изменения Rн24 в зависимости от задаваемой
угловой скорости. Однако исследования показали, что в определенном диапазоне
изменения Rн24 нарушается устойчивость цепи
обратной связи самого акселерометра. Поэтому в окончательном варианте принят
нелинейный закон управления при котором при достаточно сложной структуре
регулятора удается обеспечить устойчивость во всем диапазоне задаваемых угловых
скоростей.
Масштабный коэффициент определяется соотношением:
где UIImax=
10 В,
=200 °/c. (2.2.50)
При ограничении на момент двигателя £ 400 гссм допускается задавать сигнал UIIзад ступенькой не более 1 В с
интервалом не менее 10 сек.
Рассмотрим результаты анализа АФЧХ системы управления устройством и
результаты математического моделированиях [10]. Исходные данные для
математического моделирования приведены в литературе [4]. Тексты программ,
разработанных на алгоритмическом языке BORLAND C++ версии 3.1 [14, 15, 16, 17], по которым проводилось
математическое моделирование, приведены в соответствующих разделах Приложения
.3
Математическая модель разделения частиц
Центрифуга - прибор, который широко применяется в медицине для осаждения
частиц, которые взвешены в моче или других жидких средах. Для отделения
форменных элементов от плазмы крови.
Принцип действия основан на создании большой центробежной силы, под
действием которой скорость разделения компонентов смеси, помещённой в
центрифугу, увеличивается во много раз, по сравнению со скоростью осаждения
частиц под действием силы тяжести [9]. Частицы, различные по массе
распределяются по слоям. При увеличении скорости вращения траектория движения
частиц в пробирке происходит по спирали.
Центрифугирование - разделение грубо дисперсных систем, которые состоят
из твёрдых и жидких компонентов с разными плотностями под действием
центробежных сил. Этот метод применяется в биологии, медицине и технике и очень
часто заменяет процессы фильтрования, отстаивания и отжимания.
Ультрацентрифугирование - один из главных современных методов выделения и
исследования белков, нуклеиновых кислот, вирусов и других биополимеров. В
данном случае большая скорость вращения и оптимальный выбор размеров ротора
центрифуги позволяет добиться оседания даже небольших молекул.
Данный метод даёт возможность получить изолированные клеточные структуры,
такие как ядро, лизосома, рибосома и другие. Особенности этого метода в
сочетании с электронно-микроскопическим изучением позволяют привязать те или
иные биохимические процессы, которые совершаются в клетке, к определённым
структурам и органоидам. В обычных центрифугах скорость вращения ротора от 1000
об/мин до 8000 об/мин.В ультрацентрифугах скорость вращения от 20000 об/мин до
80000 об/мин. Центробежная сила может превышать в 400000 раз силу тяжести
Земли.
Классификация центрифугирования.
Препаративное центрифугирование заключается в выделении биологического
материала для последующих биохимических исследований. При этом можно брать
большие количества исходного биологического материала для последующих
биохимических исследований.(по литературе [9]).
Аналитическое центрифугирование применяется для изучения чистых
препаратов макромолекул или частиц, например рибосом. В данном случае небольшое
количество материала, а седиментация исследуемых частиц непрерывно
регистрируется с помощью специальных оптических систем. Данный метод позволяет
получить данные о чистоте, молекулярном весе и структуре материала.
Дифференциальное центрифугирование основано на различиях в скоростях
седиментации частиц, различающихся друг от друга размерами и плотностью.
Разделяемый материал например, гомогенат ткани, центрифугируют при ступенчатом
увеличении центробежного ускорения, которое выбирается так, чтобы на каждом
этапе на дно пробирки осаждалась определенная фракция. В конце каждой стадии
осадок отделяют от надосадочной жидкости и несколько раз промывают, чтобы в
конечном итоге получить чистую осадочную фракцию.
Зонально-скоростное центрифугирование. Метод заключается в наслаивании
исследуемого образца на поверхность раствора с непрерывным градиентом
плотности. Затем образец центрифугируют до тех пор, пока частицы не
распределятся вдоль градиента в виде дискретных зон или полос. Благодаря
созданию градиента плотности удается избежать смешивания зон, возникающего в
результате конвекции. Данный метод применяется для разделения гибридов РНК-ДНК,
субъединиц рибосом и других клеточных компонентов.
Изопикническое центрифугирование проводят как в градиенте плотности, так
и обычным путем. Если центрифугирование проводят не в градиенте плотности,
препарат сначала центрифугируют так, чтобы осели частицы, молекулярный вес
которых больше, чем у исследуемых частиц. Эти тяжелые частицы отбрасывают и
образец суспендирует в среде, плотность которой такая же, как и у фракции,
которую хотят выделить, а затем центрифугируют до тех пор, пока исследуемые
частицы не осядут на дно пробирки, а частицы меньшей плотности не всплывут на
поверхность жидкости.
Зонально-изопикническое центрифугирование. Способ заключается в
наслаивании образца на поверхность раствора с непрерывным градиентом плотности,
охватывающим диапазон плотностей всех компонентов смеси. Центрифугирование
проводят до тех пор пока плавучая плотность частиц не сравняется с плотностью
соответствующих зон, т.е. пока не произойдет разделение частиц по зонам.
Равновесное центрифугирование в градиенте плотности. Для создания
градиента плотности используют соли тяжелых металлов, например рубидия или
цезия, а также растворы сахарозы. Данный метод является также одним из методов
разделения и изучения липопротеидов плазмы крови человека.
Аналитическое ультрацентрифугирование.
В отличие от препаративного центрифугирования, целью которого является
разделение веществ и их очистка, аналитическое ультрацентрифугирование
применяется в основном для изучения седиментационных свойств биологических
макромолекул и других структур. Поэтому в аналитическом центрифугировании
применяют роторы и регистрирующие системы особой конструкции; они позволяют
непрерывно наблюдать за седиментацией материала в центробежном поле.
Аналитические ультрацентрифуги могут развивать скорость до 70000 об/мин, при
этом ускорение до 500000g.
Ротор у них, как правило, имеет форму эллипсоида и соединен посредством струны
с двигателем, что позволяет варьировать скорость вращения ротора. Ротор
вращается в вакуумной камере снабженной холодильной установкой, и имеет две
ячейки аналитическую и балансировочную, которые устанавливаются в центрифуге
строго вертикально параллельно оси вращения. Балансировочная ячейка служит для
уравновешивания аналитической и представляет собой металлический блок с
прецизионной системой. В ней имеются два индексных отверстия, находящиеся на
строго определенном расстоянии от оси вращения, с помощью которых определяют
соответствующие расстояния аналитической ячейки. Аналитическая ячейка, емкость
которой, как правило, равна 1 см3, имеет секторальную форму. При правильной
установке в роторе она, несмотря на то, что стоит вертикально, работает по тому
же принципу, что и ротор с подвесными стаканами, создавая практически идеальные
условия седиментации.
Применение препаративных центрифуг.
Препаративные центрифуги можно подразделить на три основные группы:
Центрифуги общего назначения;
Скоростные центрифуги;
Препаративные ультрацентрифуги.
Центрифуги общего назначения развивают максимальную скорость 6000 об/мин
и ЦУ до 6000 g. Они отличаются друг от друга только
емкостью и имеют целый ряд сменных роторов: угловых и с подвесными стаканами.
Одной из особенностей этих центрифуг является их большая емкость - от 4 до 6
дм3, что позволяет загружать их не только пробирками емкостью 10, 50 и 100 см3,
но и сосудами емкостью до 1,25 дм3. Во всех центрифугах этого типа роторы
жестко крепятся на валу привода, и центрифугируемые пробирки должны быть
тщательно уравновешены и различаться по весу не более чем 0,25 г. Нельзя
загружать в ротор нечетное число пробирок, а при загрузке в ротор пробирки
следует размещать симметрично одна против другой, обеспечивая таким образом
равномерное распределение пробирок относительно оси вращения ротора.
Скоростные центрифуги развивают предельную скорость вращения до 25000
об/мин и ОЦУ до 89000 g.
Камера ротора снабжена системой охлаждения, предотвращающей нагревание, которое
возникает вследствие трения при вращении ротора. Как правило скоростные
центрифуги имеют емкость до 1,5 дм3 и снабжены сменными роторами, как угловыми
так и с подвесными стаканами.
Препаративные ультрацентрифуги развивают скорость до 75000 об/мин и
максимальное угловое ускорение 510000 g. Они снабжены как холодильником, так и
вакуумной установкой, чтобы предотвратить перегрев воздуха вследствие трения
его о воздух. Роторы таких центрифуг изготавливают из высокопрочных алюминиевых
и титановых сплавов. Для уменьшения вибраций, возникающих вследствие
неравномерного наполнения пробирок, ультрацентрифуги имеют гибкий вал. Пробирки
для центрифугирования и их содержимое должны быть тщательно уравновешены с
точностью до 0,1г.
Если рассмотреть более точную математическую модель разделения частиц, то
необходимо рассмотреть уравнение следующего вида:
=BU+Cf′ - кинематическое уравнение (2.3.1)
где X - скорость протекания процесса;
x - фазовая координата;
U - движущая сила;
f′ - возмущающий фактор;
B,C - коэффициенты при управлении и возмущении соответственно.
Разновидностью обобщённого кинетического уравнения (1.3.1) является
кинетическое уравнение, которое описывает процесс естественного осаждения
(седиментации), а также использование для описания искусственного процесса
разделения частиц.
Это уравнение называется уравнением Стокса:
Ux=X=K
∆ρ (2.3.2)
где Ux - cкорость осаждения твёрдой фазы из дисперсно-жидкой среды при
седиментации или центрифугировании, м/c; - толщина твердой фазы осадка;
∆ρ - эффективная плотность дисперсной
смеси, кг/м3,- константа Стокса.
Таким образом, по закону Стокса скорость седиментации пропорциональна
эффективной плотности смеси, причём
∆ρ= ρ1 - ρ2 (2.3.3)
где ρ1 , ρ2 - соответственно плотности твёрдой и жидкой фаз.
(2.3.4)
где
d - эквивалентный диаметр частицы; - ускорение свободного падения, g=9,81 м/с2;
μ - коэффициент динамической вязкости жидкости, Па•с.
Константа
Стокса характеризует скорость нарастания осадка при осаждении, которое
приходится на единицу эффективной плотности дисперсной смеси. При выводе
уравнения Стокс исходил из рассмотрения условия равновесия сил, которые
действуют на шарообразную частицу, оседающую в жидкости с постоянной скоростью,
и рассмотрел уравнение
G=R+P
(2.3.5)
где
G - вес частицы в вакууме; P - выталкивающая сила Архимеда; - cила
гидродинамического сопротивления.
Считалось,
что G=m1g; P=m2g (2.3.6)
Согласно
Стоксу
R=3nμdV (2.3.7)
где m1 - масса частицы; - масса среды в объёме частицы;- объём частицы.
(2.3.6) - (2.3.7) Þ (2.3.5): уравнение (2.3.2) и (2.3.3),(2.3.4)
Причём разность G - P характеризует кажущийся вес частицы в данной среде,
а ∆ρ может трактоваться как кажущаяся плотность частицы в данной
среде.
Соотношения (2.3.5) - (2.3.7), а также (2.3.2), (2.3.3) и (2.3.4)
справедливы для установившегося процесса седиментации, который протекает в
условиях квазеламинарного процесса обтекания средой поверхности шарообразной
частицы.<5.
На практике, в общем, случайный процесс седиментации протекает в не
установившемся режиме (не ламинарный режим)
Re>5.
В механике сыпучих сред и дисперсно-жидких смесей шаровая форма частиц
принята за нормированную. Причём эквивалентный диаметр нормальной частицы
находится из условия равенства объёмов шарообразной и не шарообразной частиц. В
частности, если частица имеет форму трехосного эллипсоида, то её диаметр
определяется как
d=2(a ·b ·c)1/3 (2.3.8)
где a,b,c - соответственно полуоси эллипсоида.
Для повышения эффективности и ускорения естественного процессов
применяется центрифугирование. В этом случае вместо сил тяжести рассматриваются
иск силы центробежного характера Qц, а также кариолисовы силы Qк. Формирование
этих сил обеспечивается за счёт придания центрифуге угловой скорости и соответственно
процесс центрифугирования делится на три части:
центрифугальная седиментация;
центрифугальная флотация;
центрифугальная фильтрация.
Таким образом, предложена схема универсальной установки, в которой в
качестве чувствительных элементов использованы две пары акселерометров,
измеряющих тангенциальное и центростремительное ускорения, введено устройство
минимизации моментов сопротивления по оси вращения платформы установки.
Результаты исследований подтверждены математическим моделированием на ПЭВМ,
показана возможность обеспечения высокой стабильности угловой скорости,
задаваемой в широких пределах, а, соответственно и задаваемых ускорений.
3. Расчетно -
конструкторская часть
.1 Расчет основных параметров акселерометра
На величину и стабильность основных параметров акселерометра влияют:
маятниковость;
жесткость подвеса;
крутизна характеристики ДМ;
крутизна характеристики ДУ;
крутизна характеристики тракта ДУ и предварительного усилителя;
электростатическое тяжение ДУ;
паразитные емкости;1
момент инерции чувствительного элемента, величина которого входит в
расчет динамических свойств следящей системы акселерометра.
.1.1 Расчет
маятниковости
Маятниковость акселерометра рассчитывается на базе соотношений,
приведенных в [13].
М = М’+M’’+M’’’, (3.1.1)
где,
M’=P2кат L; M’’= Pосн L; M’’’= Pд L
где Р2кат - вес катушек,
Pосн -
вес оснований
Pд -
вес диска,
L -
плечо.
L =
0.54·10-2м;
P2кат
= 0,19·10-2Н;
Pосн =
0,58·10-2Н;
Pд =
0,13·10-2Н;
M’=
0,19·0.54 = 0,1026·10-4Нм;
M’’=
0.58·0.54 = 0,3132 ·10-4Нм;
M’’’=
0.13·0.54 = 0,0702 ·10-4Нм;
M=
0,486·10-4Нм;
Расстояние от оси подвеса до центра тяжести диска с катушками:
Lцт=
(3.1.2)
цт
=
.1.2 Расчет
момента инерции маятника
Расчет момента инерции маятника акселерометра [12 ].
Jд=0,3´10-9 кгм2;
J2
кат=0,5´10-9 кгм2;
Jосн=0,9´10-9 кгм2;
чэ= Jд +J2 кат+Jосн; (3.1.3)
чэ=(0,3+0,5+0,9)´10-9=1,7´10-9 кгм2
3.1.3 Расчет
емкостного ДУ
Емкость плоского конденсатора.
[Ф]
(3.1.4)
e=1, e0=8.856´10-12 Ф/м, S=0.39´10-4 м2, d= 0.0019´10-2 м.
Где
e - диэлектрическая проницаемость вакуума;
С=
Реактивное сопротивление емкости на рабочей частоте 54000 Гц:
Xе=
, (3.1.5)
C - емкость в
фарадах;
f - частота в
герцах;
Xе - реактивное
сопротивление в омах.
Xе=
Расчет
крутизны ДУ.
Из
(3.1.4) видно, зависимость рабочей емкости от зазора нелинейная. При переходе
на размерность C [ПФ], S[см2],d[см] формула (3.1.4) примет вид:
=
Если
подставить в формулу величину S=0.389 см2 получим:
С=
(3.1.6)
Вычислим
изменение емкости при перемещении Ч.Э. на 1мкм=10-4см при рабочем зазоре 19
мкм:
Линейное перемещение Ч.Э. на 1 мкм соответствует углу поворота ЧЭ вокруг
оси на 22 у.с. При повороте Ч.Э. на 1 у.м. изменение емкости составит:
,
при
При
увеличении рабочего зазора до 17×10-6 м:
Расчет величины электростатического тяжения ДУ.
Условия расчета:
- статизм акселерометра (отклонение маятника при измерении 1g) равен 10 у.с. (по ТЗ) или 0.33 мкм;
на обкладках 1 и 2 по отношению к выводу 3 присутствует постоянный
наминал 15мВ;
на обкладках 1,2 по отношению к обкладке 3 присутствует переменное
напряжение 5 В 54000 Гц.
Результирующая сил электростатического тяжения рассчитывается по формуле:
(3.1.7)
При
отклонении маятника на 0.33 мкм (10 у.с.), пи номинальном рабочем зазоре 19 мкм
s1= 18.67*10-6м, s2=19.33*10-6м.
Сила
электростатического тяжения от постоянного напряжения 15 мВ:
Момент
электростатического тяжения от постоянного напряжения при равнодействующей,
отстоящей на Lд=0.66 см от оси А - А:
Mпост=Fпост*Lд
(3.1.8)
Mпост=0.72*10-3*0.66=0.48*10-6
Нм
или
в единицах g:
Mпост=
Сила электростатического тяжения от напряжения питания 5В 54000 Гц:
Момент электростатического тяжения от напряжения питания 5В 54000 Гц:
Mпит=78.49*10-6*0.66=51.8*10-8
Нм,
или в единицах g:
Таким
образом электростатическое тяжение, обусловленное напряжением питания ДУ,
является преобладающим (около 1 у.м.).
Анализ
схемы подключения емкостного ДУ к предусилителю
На
рис.4 изображена схема предусилителя с подключенным к нему ДУ.
I - ДУ прибора;
II - цепь
соединения ДУ с предусилителем и подключение источника питания;
III -
предусилитель;IV - операционные усилители 740УД4.
Особенностью
этого усилителя является то, что он имеет два симметричных входа, состоящих из
операционных усилителей 1,2 имеющие одинаковые коэффициенты передачи и
подключенные затем к суммирующему операционному усилителю 3 через делитель R4 R5 для
выравнивания коэффициентов усиления каналов предусилителя по входам 1 и 2.
Определим коэффициент деления делителя R4 R5,
при котором коэффициенты усиления по входам 1,2 равны, для чего сделаем
расчеты:
а) определение коэффициента передачи по входу 1 предусилителя (с учетом
подключения Ca1).
Сопротивление цепи обратной связи операционного усилителя 1:
, (3.1.9)
тогда;
(3.1.10)
б)
Сопротивление цепи обратной связи операционного усилителя 2 (с учетом
подключения Cа2):
(3.1.11)
Коэффициент
передачи по каналу 2:
(3.1.12)
При
нулевом положении ДУ Cа1=Cа2, тогда исходя из требований К1=К2 можно записать выражение:
Номиналы
элементов схем каналов предусилителей выбраны таким образом, что:
C1=C2, C3=C4, C5=C6, R1=R2.
(3.1.13)
Соответственно
будут равны и реактивные сопротивления конденсаторов отсюда следует:
(3.1.14)
Из
решения уравнения (3.1.14) следует, что:
R5=R7
(3.1.15)
Равенство
(3.1.15) определяет условие, при котором К1=К2 и выходное напряжение Uвых=0
(при Са1=Са2).
При
Са1 ¹ Са2 и соблюдении условий (3.1.15) выражение для
расчета Uвых будет:
(3.1.16)
Номиналы
выбраны так:
ZC2<<ZCa2; ZC3<<R1;
ZC4<<R2;<<ZCa1; ZC5<<R3; ZC6<<R4.
В
силу (3.1.16) коэффициент усиления операционного усилителя 1, 2, 3 определяются
в основном номиналами элементов C3, C4, R1, R2, R3, R7, а коэффициент усиления - отношением
.
В
связи с этим выражение (3.1.15) для практических расчетов может быть приведена
к виду:
(3.1.17)
или
принимая во внимание, что:
,
(3.1.18)
выражение
(3.1.17) приобретает вид:
(3.1.18)
при
этом знак Uвых определяет фазу выходного напряжения ПУ.
Крутизна
выходного сигнала ДУ+ПУ.
Согласно
вышесказанному крутизна ДУ при нормальном рабочем зазоре равна 1.59 пФ/у.м.
При
отклонении на 1 у.м.:
Ca1=18.1-1.59=16.51
пФ;
Ca2=18.1+1.59=16.69
пФ.
Относительные
величины входящие в выражение (2.30):Uпит=5В; f=54000 Гц; C3=C4=75
пФ; R3=24 кОм; R7=94 кОм.
3.2 Расчет
основных параметров качающейся платформы
3.2.1
Определение реакций в кинематических парах и движущего момента в механизме с
учетом трения
Силовой анализ механизмов с учетом трения, но без учета веса звеньев и
сил инерции, премлем для тихоходных нагруженных машин [22]. Такие механизмы
выполняют по возможности симметричными относительно средней плоскости; рабчие силы
и вызываемые ими силы трения значительны по сравнению с силами тяжести и силами
инерции. При решении задачи целесообразно использовать углы и круги трения;
решение основано на рассмотрении условий равновесия звеньев и выполняется
графоаналитическим или аналитическим способом.
Для
кривошипно-шатунного механизма по полезной силе на ползуне Q=0,5
кГ требуется определить реакции в кинематических парах и движущий крутящий
момент на подшипнике
(рис 5).
Заданы:
основные размеры механизма r =
мм, l=25мм,
диаметры соответствующих вращательных пар
;
; коэффициенты во вращательных парах
; [13] угол трения в поступательной паре
; координата положения кривошипа
.
Масса платформы с установленной пробой M=5 Н.
По литературе [2.13].
а) определяют радиусы кругов трния во вращательных парах (по[13])
(3.2.1)
(3.2.2)
Наносят
круги трения на схему и, пользуясь правилом приведения коэффициента трения
проводят линии действия реакций 1-1 и 2-2, касательные к кругам трения и
паралельные друг другу, так как по условию равновесия кривошипа
должен уравновесится парой паралельных сил
.
б)
Определяют нужные в дальнейшем геометрические соотношения: угол γ между линией действия 2-2 и прямой, проходящей черкз
центры шарниров шатуна,
; (3.2.3)
углы α и β через угловую координату положения кривошипа φ
(3.2.4)
(3.2.5)
плечо
пары сил на кривошипе
(3.2.6)
в)
Из условия равновесия ползуна в векторной форме
(3.2.7)
определяют
реакции
(3.2.8)
(3.2.9)
а
из условий равновесия ползуна и кривошипа следует
Н;
(3.2.10)
(3.2.11)
.2.2 Расчет
кривошипно-шатунного механизма
Проведем расчет кривошипно-шатунного механизма. В устройстве для
встряхивания установлены три одинаковых привода по окружности между которыми
лежит угол 120 градусов.
Исходные данные:
Радиус
кривошипа r=
мм.
Масса
платформы с установленной пробой M=5 Н.
Длина
шатуна l=
мм.
Кинематический
анализ механизма при
n=5об /мин (рис.6).
Методика расчета по литературе [13,2].
Расстояние между ползуном и его крайним правым положением находится по
формуле:
(3.2.12)
Длинна
хода ползуна находится по формуле:
(3.2.13)
Скорость
ползуна находится по формуле:
(3.2.14)
где
r -в мм.; ω - в

при
в
Средняя
скорость ползуна находится по формуле:
. (3.2.15)
Наибольшая
скорость ползуна находится по формуле:
.
(3.2.16)
Ускорение
ползуна находится по формуле:
;
(3.2.17)
.
(3.2.18)
Координаты
центра тяжести шатуна
находится по формуле:
;
(3.2.19)
.
(3.2.20)
Ускорение
центра тяжести шатуна по направлению осей координат находится по формуле:
;
(3.2.21)
.
(2.3.22)
Угловое ускорение шатуна находится по формуле:
,
(3.2.23)
где