Механизация удаления ботвы перед уборкой картофеля в СПК 'Радостовский' Дрогичинского района с модернизацией ботвоуборочной машины БДН-4-75-70
СОДЕРЖАНИЕ
ВВЕДЕНИЕ
1.
ТЕХНИКО-ЭКОНОМИЧЕСКАЯ ХАРАКТЕРИСТИКА РУСПП 1-АЯ
МИНСКАЯ ПТИЦЕФАБРИКА МИНСКОГО РАЙОНА
1.1 Общие
сведения о хозяйстве
.1.1
Климатическая характеристика природных условий
.1.2
Специализация хозяйства 1-ая Минская птицефабрика
.1.3 Краткая
характеристика растениеводства
.1.4 Краткая
характеристика животноводства
.1.5 Наличие
сельскохозяйственной техники
.2 Краткие
сведения об агротехнике возделывания картофеля в хозяйстве
. ОБОСНОВАНИЕ
ТЕМЫ ДИПЛОМНОГО ПРОЕКТА
2.1 Анализ
способов уборки картофельной ботвы и агротребования к машинам для уборки ботвы
.2 Анализ
конструкции ботвоуборочной машины
.3 Описание
технологической схемы и конструкции модернизированной машины
. РАСЧЁТ
ТЕХНОЛОГИЧЕСКОЙ СХЕМЫ И МОДЕРНИЗИРОВАННЫХ УЗЛОВ
.1
Технологический расчёт
.2
Кинематический расчёт
.3
Конструктивный расчёт
.3.1 Расчёт
ременной передачи
.3.2 Расчёт
вала на кручение и на изгиб
.4
Энергетический расчёт агрегата
.5 Расчёт
операционно-технологической карты
.
БЕЗОПАСНОСТЬ ЖИЗНЕДЕЯТЕЛЬНОСТИ
.1
Безопасность жизнедеятельности на производстве
.1.1 Анализ
состояния охраны труда в 1-ой Минской птицефабрике Минского района
.1.2 Правило
безопасности при уборке ботвы картофеля
.1.3 Расчёт
предохранительной муфты
.1.4
Обеспечение пожарной безопасности в 1-ой Минской птицефабрике Минского района
.2
Безопасность жизнедеятельности в чрезвычайных и экологически неблагоприятных
ситуациях
.2.1
Повышение стабильности производства отросли растениеводства
4.2.2
Уплотнение почвы и пути его снижения
5.
ЭКОНОМИЧЕСКОЕ ОБОСНОВАНИЕ И РАСЧЁТ ЭФФЕКТИВНОСТИ ИНЖЕНЕРНЫХ РЕШЕНИЙ
.1 Расчёт
эксплуатационных показателей
.2 Расчёт
трудозатрат и роста производительности труда
.3
Материалоёмкость процесса
.4
Энергоёмкость процесса
.5 Расход
топлива
.6
Капиталоёмкость процесса
.7 Расчёт
эксплуатационных издержек
.8 Расчёт
показателей эффективности капиталовложений
ЗАКЛЮЧЕНИЕ
СПИСОК
ИСПОЛЬЗОВАННОЙ ЛИТЕРАТУРЫ
ПРИЛОЖЕНИЕ
РЕФЕРАТ
Дипломный проект включает расчётно-пояснительную записку на 94 страницах
машинописного текста, графическую часть на 9 листах формата А1, 12 таблиц, 9
рисунков, 5 приложений.
Ключевые слова: анализ, технология, уровень механизации, система машин,
машинно-тракторный агрегат, ботвоуборочная машина, рабочий орган.
Целью дипломного проекта является закрепления теоретических знаний и
получение практических навыков.
В проекте приведён анализ хозяйственной деятельности и использования МТП
1-ой Минской птицефабрики Минского района.
В конструкторской части проекта обоснована целесообразность и
перспективность применения роторно-цепочного рабочего органа ботвоуборочной
машины.
Выполнены технологический расчёт: определена частота вращения рабочего
органа; кинематический; определено передаточное отношение и подобран редуктор;
конструкционный расчёт: расчет вала рабочего органа на изгиб и кручение и
подобраны диаметры вала рабочего органа; и энергетический: определена мощность
затрачиваемая при работе с машиной.
Обоснованность принятых в проекте решений подтверждено
технико-экономическими расчетами.
В соответствии с заданием разработаны вопросы по безопасности
жизнедеятельности на производстве, при уборке ботвы, безопасности
жизнедеятельности в чрезвычайных и экологически неблагоприятных ситуациях.
ВВЕДЕНИЕ
Сельское хозяйство в настоящее время находится в сложном экономическом
положении. Постоянный рост цен на горюче-смазочные материалы, удобрения,
машины, семена, корма приводит с/х предприятия к работе с убытками.
Технология производства картофеля предусматривает совместное применение
передовой агротехники, интенсивных сортов с различными сроками созревания,
прогрессивных технологических приёмов, рациональной организации и своевременной
формы оплаты труда, трудно увязанной с моральными и материальными стимулами за
конечный результат. Это безусловное выполнение агротехнических требований и
соблюдение правил производства всех видов работ на базе применения современных
машин и передовой технологии обеспечивает производство картофеля с минимальными
затратами ручного труда.
Картофель - одна из ведущих сельскохозяйственных культур Республики Беларусь.
Он является незаменимым продуктом питания, широко используется как корм для
животных и как сырье для получения различных картофелепродуктов: крахмала и
спирта. По валовому производству этой культуры Беларусь занимает восьмое место
в мире, по производству в расчете на душу населения (700-900 кг) - первое.
Потребность республики в картофеле, рассчитанная исходя из научно
обоснованных норм потребления, формирования необходимых фондов, резервов и
экспортного потенциала, составляет 10,5-11,0 млн.т. Все области имеют
возможность для полного самообеспечения картофелем. Однако реальные показатели
отрасли за последние три года вызывают серьезную обеспокоенность: валовое
производство за 2002, 2003 и 2004 гг. составило соответственно 7,6; 7.5 и 8,7
млн.т. средняя урожайность - только 114-134 ц/та. Такая ситуация обусловлена
прежде всего возникшими трудностями сбыта продовольственного картофеля как
внутри республики, так и на экспорт. Объемы заготовок упали с 1,8-2.0 млн.т до
100-200 тыс.т, объемы экспорта - в 10 раз. Сказалось насыщение рынка
картофелем, выращенным в личных подсобных хозяйствах, и усложнение процедуры
экспортных поставок на постсоветском пространстве. Снижение товарности,
экономической эффективности в хозяйствах привело к падению уровня технологического
и технического обеспечения, обострению проблем борьбы с вредителями, болезнями
и сорняками, ухудшению качества продукции.
Дальнейшее развитие отрасли будет зависеть от направленности
государственной политики по отношению к этому приоритетному, экспортообразующему
сектору сельскохозяйственного производства. Имеются благоприятные предпосылки
для интенсификации и успешного решения накопившихся проблем.
Почвенно-климатические условия республики практически идеально соответствуют
биологическим особенностям культуры; географическое положение, соотношение цены
и качества, наличие спроса позволяют конкурировать с другими поставщиками на
рынках стран СНГ. Сохранен потенциал перерабатывающих предприятий, постоянно
повышается уровень продуктивности сортов, постепенно разворачивается
отечественная индустрия производства специальных машин, оборудования и
материалов.
1. ТЕХНИКО-ЭКОНОМИЧЕСКАЯ ХАРАКТЕРИСТИКА РУСПП 1-АЯ МИНСКАЯ ПТИЦЕФАБРИКА МИНСКОГО РАЙОНА
1.1 Общие сведения о хозяйстве
Государственное предприятие птицефабрика 1-ая Минская птицефабрика
создана на основании приказа Министерства сельского хозяйства БССР от 5 января
1968 г. № 7, и переименовано в Республиканское унитарное сельскохозяйственное
предприятие 1-ая Минская птицефабрика в соответствии со статьями 48 и 50
Гражданского кодекса Республики Беларусь.
Собственником предприятия выступает Республика Беларусь, а полномочия
собственника осуществляет Министерство сельского хозяйства и продовольствия
Республики Беларусь.
Основной целью деятельности РУСПП 1-ая Минская птицефабрика является
хозяйственная деятельность, направленная на получение прибыли, необходимой для
удовлетворения социальных и экономических интересов работников и интересов
предприятия.
Предметом деятельности РУСПП 1-ая Минская птицефабрика является
производство продукции, выполнения работ, оказание услуг.
РУСПП 1-ая Минская птицефабрика имеет широкую организационную структуру,
позволяющую обеспечивать производство качественной птицеводческой продукции.
Птицефабрика имеет ряд птицеводческих ферм по содержанию птицы, ферму по
содержанию КРС, развитую сеть производства растениеводческой продукции,
промышленные цеха для переработки сельхозпродукции собственного производства и
давальческий (цех убоя птицы и КРС, колбасный, кулинарный цех, цех по
переработке молока). Имеется фирменная торговля, представленная на 13-ю
торговыми точками. Вышестоящим органом управления является Республиканское
объединение птицеводческой промышленности «Белптицепром».
Основные цели деятельности филиала:
1.) хозяйственная деятельность, направленная на получение прибыли для
удовлетворения социальных и экономических интересов работников.
2.) повышение эффективности производства на основе внедрения
достижений научно - технического прогресса, эффективных форм хозяйствования и
управления производством, обеспечения устойчивого финансового состояния
филиала.
Источниками формирования имущества являются:
денежные и не денежные вклады членов хозяйства, имущество хозяйства;
доходы, полученные от реализации продукции, работ, услуг, а также других
видов хозяйственной деятельности;
кредиты банков и других кредиторов;
Хозяйство выполняет поставки сельскохозяйственной продукции для
государственных нужд на договорной основе в порядке, определяемом
законодательством.
Все работы в хозяйстве выполняются как личным трудом его членов, так и
граждан, работающих в хозяйстве по трудовому договору (контракту).
.1.1 Климатическая характеристика природных условий
Климат - умеренный, влажный. Зима - довольно мягкая, но бывают и сильные
морозы. Продолжительность зимнего периода 130 - 140 дней. Продолжительность
тёплого периода составляет 225 - 235 дней. Самым холодным месяцем является
февраль. Зима наступает в конце ноября и продолжается до второй половины марта.
В течение года выпадает 650 мм осадков. Весенние заморозки обычно прекращаются
в последней декаде апреля - первой декаде мая.
В целом территория организации имеет благоприятные условия для ведения
сельского хозяйства.
На территории предприятия естественной растительности сохранилось мало.
Леса находятся в ведении гослесхозов, а большинство сенокосов и пастбищ
окультурены. Наибольшую площадь занимают суходольные луга нормального
увлажнения.
Почвы. На территории предприятия преобладают почвы дерново-подзолистые
суглинистые на лёгких пылевых суглинках почвы, подстилаемые с глубины 50-80 см.
мореными суглинками, с глубины около 1 м. - песками. Средний балл
сельскохозяйственных угодий 39, пашни 41,7.
Гидрография на территории представлена в основном сетью осушительных
каналов. Имеются несколько прудов.
Следовательно, на предприятии имеется определённый резерв по увеличению
урожайности всех сельскохозяйственных культур за счет более рационального
использования органических и минеральных удобрений, повышение культуры
земледелия и внедрения интенсивных технологий параллельно с внедрением
высокоурожайных сортов сельскохозяйственных культур.
.1.2 Специализация хозяйства 1-ая Минская птицефабрика
Результаты хозяйственной деятельности во многом зависят от уровня
специализации и концентрации производства. Специализация и концентрация
сельскохозяйственного производства развивается под воздействием двух тенденций:
с одной стороны, углубление общественного разделения труда содействует более
узкой специализации, а с другой - особенности сельскохозяйственного производства
(сезонность, особая роль земли и тесная связь растениеводства и животноводства)
вызывает необходимость развития многоотраслевых предприятий.
Специализация отражает производственное направление и отраслевую
структуру хозяйства. Уровень специализации наиболее точно характеризуется
удельным весом отраслей в структуре товарной продукции.
Специализация хозяйства определяется по структуре его товарной продукции.
Внутрихозяйственная специализация определяется по структуре валовой продукции,
исчисленной в закупочных или сопоставимых ценах. Фактически сложившееся
производственное направление - по удельному весу реализации основной продукции
в общей выручке от реализации сельхозпродукции.
Таблица 1.1
Выручка от реализованной продукции
|
Наименование показателей
|
2007 (млн. руб.)
|
2006 (млн. руб.)
|
2005 (млн. руб.)
|
|
Выручка от реализации товаров, продукции, работ, услуг
|
52715
|
50289
|
50124
|
|
в тои числе: Выручка, не оплаченная покупателями
|
3858
|
3563
|
3581
|
|
Выручка, оплаченная покупателями
|
49130
|
47026
|
46543
|
|
в том числе: Денежными средствами
|
48063
|
46318
|
44120
|
|
Неденежными средствами
|
1067
|
708
|
2423
|
Как видно из таблицы, выручка, от реализованной продукции, с каждым годом
растет, что положительно сказывается на предприятии.
Таблица 1.2
Основные средства и нематериальные активы
|
Наименование показателей
|
На начало года
|
Поступило
|
Выбыло
|
На конец года
|
Сумма начисленной амортизации
|
|
Основные средства - всего:
|
94870
|
20676
|
2664
|
112882
|
43816
|
|
в том числе: Здания и сооружения
|
34841
|
6681
|
391
|
41131
|
17856
|
|
Машины и оборудование
|
48588
|
10915
|
555
|
58948
|
21237
|
|
Транспортные средства
|
2946
|
258
|
7
|
3197
|
1909
|
|
Прочие основные затраты
|
8495
|
2822
|
1711
|
9606
|
2814
|
Таблица 1.3
Затраты производства
|
Наименование показателей
|
2007
|
2006
|
2005
|
|
Наличие энергетических мощностей, тыс.л.с.
|
31625
|
34703
|
305420
|
|
Расход энергетических ресурсов: дизельное топливо, тонн
|
971
|
1069
|
1145
|
|
бензина, тонн
|
214
|
229
|
245
|
|
Электроэнергии, тыс. квт. час
|
7679
|
7683
|
7721
|
|
газа, тыс. куб.м.
|
4830
|
5497
|
5845
|
.1.3 Краткая характеристика растениеводства
Таблица 1.4
Валовая продукция сельского хозяйства и производительность труда
|
Наименование показателей
|
2007
|
2006
|
2005
|
|
Валовая продукция сельского хозяйства в сопоставимых ценах
- всего
|
46777
|
48785
|
45888
|
|
В том числе: растениеводства
|
3927
|
3317
|
3833
|
|
животноводства
|
42850
|
45468
|
42055
|
|
Среднегодовая численность работников, чел
|
478
|
564
|
570
|
|
Произведено валовой продукции сельского хозяйства на одного
среднегодового работника, руб.
|
97859833
|
82456782
|
81361702
|
|
На 1 чел.-час, руб.
|
43473
|
39546
|
36075
|
Таблица 1.5
Структура площадей, га
|
Наименование.
|
Площадь 2007г.
|
Площадь 2006г.
|
Площадь 2005г.
|
|
1
|
2
|
3
|
4
|
|
Общая площадь.
|
7651
|
7651
|
7651
|
|
В т.ч. пашня.
|
3790
|
3770
|
3830
|
|
Сенокосы.
|
1540
|
1471
|
1471
|
|
Пастбища.
|
1539
|
1611
|
1578
|
|
Итого сельхозугодий.
|
6925
|
6914
|
6937
|
Таблица 1.6
Показатели в растениеводства за последние годы и прогноз на следующий год
|
Наименование культуры.
|
Показатели.
|
|
2007 г.
|
2006 г.
|
2005 г.
|
|
Площадь га
|
Урожайность. ц/га.
|
Площадь га
|
Урожайность. ц/га.
|
Площадь га
|
Урожайность. ц/га.
|
|
Зерновые и зернобобовые(без кукурузы)
|
2180
|
46,1
|
2182
|
42,3
|
2190
|
39,8
|
|
Озимые зерновые.
|
1450
|
56,2
|
1320
|
52,1
|
1300
|
49,2
|
|
Яровые зерновые.
|
730
|
41,2
|
862
|
39,6
|
890
|
38,3
|
|
Рапс.
|
370
|
20,1
|
340
|
19,3
|
320
|
17,2
|
|
Кукуруза и зерно.
|
300
|
441
|
280
|
395
|
250
|
Для наращивания производства растениеводческой продукции необходимо
внедрять интенсивные технологии. Интенсивные технологии - это высокий рост
продуктивности и резкое снижение затрат. Если не идти по пути интенсификации
сельскохозяйственного производства, резкого снижения затрат, то экономика
хозяйства будет плохой. Не обходимо интенсивные технологии, конечные
результаты, дохода от отрасли ставить на первый план.
Немаловажное значение в повышении эффективности отрасли растениеводства
имеет и грамотная работа со средствами защиты растений. Из-за недостаточного
количества гербицидов невозможно правильно произвести защиту
сельскохозяйственных культур, а отсюда и результат - снижение урожайности. В
перспективе все эти негативные факторы хозяйству необходимо устранять.
.1.4 Краткая характеристика животноводства
В этой таблице отражено состояние продукции животноводства в настоящее
время
Таблица 1.7
Среднегодовое поголовье
|
Вид животных
|
2007
|
2006
|
2005
|
|
КРС (молочного направления)
|
1115
|
1005
|
984
|
|
Животные на выращивании и откорме
|
1239
|
1120
|
986
|
|
Птицеводство: куры взрослые, тыс. гол.
|
930
|
850
|
720
|
|
молодняк кур на выращивании тыс. гол.
|
420
|
396
|
385
|
|
Прочая птица: взрослая, тыс. гол.
|
19
|
17
|
16
|
|
молодняк прочей птицы на выращивании, тыс. гол
|
14
|
13
|
11
|
|
Пчеловодство (число семей в период медосбора)
|
55
|
50
|
48
|
Таблица 1.8
Продукция животноводства
|
Наименование
|
2007
|
2006
|
2005
|
|
Молоко, т.
|
6715
|
6042
|
5860
|
|
Приплод, голов
|
1094
|
1005
|
986
|
|
Масса телят при рождении, т.
|
39
|
40
|
38
|
|
Прирост, т.
|
295
|
294
|
296
|
|
Яйца кур, тыс. шт.
|
272131
|
250456
|
212895
|
|
Прирост, т.
|
1687
|
1569
|
|
Яйца прочей курицы, тыс.шт.
|
4895
|
4568
|
4258
|
|
Прирост, т.
|
11
|
12
|
10
|
|
Мёд, ц.
|
4
|
3,5
|
3,2
|
|
Воск, ц.
|
1
|
0,87
|
0,8
|
Особое внимание нужно уделить защите животных от болезней, для этого уже
сейчас ветеринарная служба поддерживает тесный контакт с такими
научно-диагностическими организациями республики, как Витебская Государственная
академия ветеринарной медицины, Белорусский научно-исследовательский институт
животноводства, ветеринарными лабораториями местного и республиканского
значения.
Животноводству в последнее время уделяется значительно больше внимания,
т.к. отрасль животноводства является практически основным источником получения
финансов в хозяйстве.
1.1.5 Наличие сельскохозяйственной техники
Большое влияние на результаты хозяйственной деятельности оказывает
наличие и технико-экономические показатели машинно-тракторного и автомобильного
парка колхоза.
Для оптимизации затрат по производству сельскохозяйственной продукции
необходимо обоснованно выбирать состав машинно-тракторного и автомобильного
парка. Под оптимальным составом понимают подбор машин такого типа и
количественного соотношения, которые дают возможность механизировать все виды
работ в хозяйстве при наименьших затратах труда и средств на единицу продукции.
Таблица 1.9
Состав машинно-тракторного и автомобильного парка
|
Марка
|
количество
|
|
Тракторы всех марок
|
64
|
|
в том числе:
|
|
|
МТЗ-80/82/100/892/920/852/1021
|
33
|
|
Беларус-1221
|
14
|
|
К-700/701
|
4
|
|
Импортные
|
1
|
|
Зерноуборочные комбыйны
|
14
|
|
в том числе:
|
|
|
КЗС-10
|
1
|
|
Лида-1300
|
5
|
|
Импортные
|
8
|
|
Кормоуборочные комбайны
|
4
|
|
в том числе:
|
|
|
Е-281/282
|
3
|
|
Ягуар
|
1
|
|
Самоходные косилки
|
4
|
|
Косилки тракторные
|
2
|
|
Плуги
|
|
в том числе:
|
|
|
Оборотные
|
3
|
|
Импортные
|
1
|
|
Комбинированные почвообрабатывающие-посевные агрегаты
|
3
|
|
Культиваторы
|
14
|
|
Сеялки зерновые
|
6
|
|
Сеялки для кукурузы и свеклы
|
5
|
|
Импортные
|
2
|
|
Картофелесажалки
|
1
|
|
Разбрасыватели твёрдых минеральных удобрений
|
6
|
|
Машины для поверхностного внесения твердых органических
удобрений
|
6
|
|
Погрузчики
|
7
|
|
в том числе:
|
|
|
«Амкодор»
|
1
|
|
Опрыскиватели
|
4
|
|
Прицепы тракторные
|
42
|
|
Пресс-подборщики
|
5
|
|
Зерноочистительные-сушильные комплексы
|
4
|
|
Зерносушилки
|
4
|
|
Грузовые автомобили
|
71
|
|
Доильные установки и агрегаты
|
9
|
|
Установки для охлаждения молока
|
8
|
|
Раздатчики кормов для КРС
|
6
|
В результате ознакомления с предприятием были обнаружены следующие
недостатки присущие всем хозяйствам республики: многая техника в хозяйстве уже
давно отработала свой ресурс и устарела как физически, так и морально. На
предприятиии производилась покупка тракторов в приобреталась
сельскохозяйственная техника. Также анализируя выше приведённые данные видно,
что хозяйство сокращает поголовье КРС. Анализируя деятельность хозяйства по
растениеводству, мы видим, что урожайность культур не достигала планируемой
урожайности. Наибольшая урожайность была достигнута в условиях 2004 года. В
связи с этим перед нами стоит задача поддерживать рост урожайности, а также
снижать себестоимость продукции на основе применения модернизированных машин и
узлов к ним.
1.7 Краткие сведения об агротехнике возделывания картофеля в хозяйстве
Картофель - одна из важнейших сельскохозяйственных культур
разностороннего использования. Прежде всего, это ценнейший продукт питания,
который справедливо называют вторым хлебом.
В большинстве хозяйств Беларуси картофель занимает 7-10% площади пашни
(одно поле в севообороте). В хозяйстве картофель занимал 15 га в 2005 году,
урожайность колеблется по годам (максимальная урожайность была достигнута в
2007 году 22.15 т/га).
По биологическим свойствам картофель существенно отличается от
большинства сельскохозяйственных культур. Клубни картофеля начинают прорастать
при температуре не ниже 3є-5єС. Активное прорастание начинается когда
температура почвы на глубине их заделки(6-12 см) достигнет 7є-8єС. Картофель
требователен к влажности почвы, но потребность эта в различные периоды роста и
развития растений неодинакова. По мере роста потребность картофеля в воде
возрастает, достигая максимума в период бутонизации-массовое цветение. Эта
культура очень требовательна к воздушному режиму. Недостаток кислорода в почве
может привести к гибели прорастающих клубней, а в более поздний период и
взрослых растений. Оптимальная кислотность почвы для картофеля рН 5-6.
Известкование улучшает качество картофеля. При отсутствии или недостатке света
растение вытягиваются, развитие их замедляется.
Для роста урожайности и обеспечения качества продукции на основе уборки в
оптимальные сроки имеет сорта картофеля. В хозяйстве возделывают следующие
сорта: Адрета, Верас, Темп, Скарб.
Бессменное выращивание часто сопровождается развитием вредителей,
болезней. При бессменной культуре урожайность снижается не только за счет
накопления инфекции, но и за счет ухудшения физических свойств почвы. Поэтому
при выращивании в специализированных хозяйствах с высокой концентрацией
картофеля профилактическая роль чередования культур в севообороте значительно
возрастает.
Картофель можно выращивать после всех сельскохозяйственных растении.
Однако лучшие предшественники для него - озимые зерновые, зернобобовые
культуры, оборот пласта многолетних трав, пласт многолетних трав (если поля не
заражены проволочником). При внесении удобрений под картофель влияние
предшественника на урожай сглаживается.
При размещении картофеля по стерневым предшественникам обработка почвы
начинается с лущения стерни. На полях, засоренных преимущественно однолетними
сорняками в хозяйстве производят лущение на глубину 5-8 см дисковыми
лущильниками ЛДГ-10, ЛДГ-5. В борьбе с многолетними, особенно корневищными и
корнеотпрысковыми, сорняками целесообразны лущильники ППЛ-5-25 и ППЛ-10-25, с
помощью которых можно проводить рыхление на глубину 10-12 см. Через две-три
недели после лущения стерни поле пашут на зябь. При интенсивной технологии
возделывания картофеля на этой работе, кроме плугов ПЛН-3-35, ПЛН-4-35,
ПЛН-5-35, широко используют широкозахватные плуги ПТК-9-35, ПН-8-35, ПЛП-6-35 с
тракторами К-701 и тракторами МТЗ-1221.
Поля с не стерневыми предшественниками пашут на зябь без предварительного
лущения. При размещении картофеля после пропашных культур зяблевая вспашка
может быть заменена дискованием.
Весной для закрытия влаги на переувлажнённых и тяжёлых почвах применяют
дискование или культивацию. Органические удобрение вносят с осени.
Окончательная запашка органических удобрений проводится на 3-5 см почвах
органические удобрения вносят в дозе 55-60 т/га.
В качестве предпосевного удобрения используем 55 кг/га суперфосфата
одновременно с посадкой.
В качестве подкормки картофеля на лёгких почвах используют 100 кг/га
аммиачной селитры в дозе 10-15 см высоты растений.
Максимально допустимой дозой внесения азотных удобрений на фоне 60-70
т/га органических 120 кг/га д.в. Причём доза азота зависит от группы спелости
сорта: для ранних и среднеранних сортов она составляет 110-120 кг/га,
среднеспелых-100-110 кг/га, среднепоздних и позднеспелых-80-90 кг/га. Азотные
удобрения вносятся весной под культивацию.
Доза фосфорных и калийных удобрений зависит от содержания этих элементов
в почве. Для дерново-подзолистых почв с содержанием Р2О5
и К2О 100-200 мг/кг почвы оптимальное соотношение NPK 1:1.1:1.4.
Фосфорные удобрение вносят как осенью, так и весной и обязательно в рядки
при посадке (20-30 кг/га Р2О2). Хлорсодержащие калийные
удобрения на связанных почвах вносят при вспашке или культивации зяби, на
лёгких-только весной, картофель относится к числу культур, весьма отзывчивых на
местное локальное внесение удобрений одновременно с предварительной нарезкой
гребней или с посадкой клубней картофелесажалками обеспечивает наиболее высокий
урожай и окупаемость удобрений. Особенно эффективно их внесение не одной, а
двумя лентами по сторонам формирующегося гребня. Для внесения минеральных
удобрений таким способом используют подкормочные ножи, которые устанавливают в
держателях к концам грядилей секции по бокам окучивающей лапы.
Вносят органику с помощью разбрасывателей органических удобрений- РОУ-5,
ПРТ-10, ПРТ-16. Для внесения жидких органических удобрений применяют
разбрасыватели жидких удобрений РЖУ -3,6, РЖТ-8, РЖТ-16.
Минеральные удобрения вносят с помощью разбрасывателей минеральных
удобрений и извести 1РМГ-4, РУМ-5, РУМ-8, НРУ-0,5.
Для посадки здоровых, выровненных, с высокими урожайными свойствами
клубней - существенный резерв повышения урожайности и одно из важнейших условий
реализации интенсивной технологии производства картофеля.
Основные приемы подготовки клубней к посадке - сортировка и калибровка,
воздушно-тепловой обогрев, проращивание, протравливание, обработка
микроэлементами, стимуляторами роста.
Биологически и экономически наиболее целесообразна посадка клубнями
средней величины - массой 50-80 г.
Высокая эффективность светового проращивания клубней известна давно.
Прибавка урожайности картофеля от проращивания в зависимости от условий
составляет 3,5- 8 т/га, а в ряде случаев превышает 10-13 т/га.
Для протравливания клубней используют «Гуматокс С» - передвижную машину
производства Венгерской Народной Республики или опрыскиватель ОВТ-1В.
В соответствии с биологическими особенностями картофеля, к посадке его
приступают когда почва на глубине 10 см прогреется до температуры 7-10°С. В зависимости от района и погодных
условий года календарные сроки посадки картофеля в основных районах его
производства обычно приходятся на вторую половину апреля первую половину мая.
Основной способ посадки картофеля в хозяйстве- посадка в предварительно
нарезанные гребни. Для посадки используют картофелесажалки с опускающимися
бункерами КСМ-4, КСМ-6, Л-201. При посадке картофеля, вал отбора мощности
трактора должен быть переключен на синхронный привод, а густота посадки должна
регулироваться не скоростью движения агрегата а соответствующим подбором
сменных звездочек контрпривода и на выходном валу редуктора.
Весовая норма посадочного материала зависит от величины клубня, ширины
посадки и колеблются от 2 до 5 т/га, густота посадки-от 47 до 70 тыс. клубней
на гектар.
Глубина посадки не должна превышать 6 см считая от верхней точки клубня до
вершины гребня.
В задачу ухода за посадками картофеля входят поддёржание почвы в рыхлом и
чистом от сорняков состоянии, а также борьба с вредителями и болезнями,
поражающими картофель в период вегетации.
Для картофеля характерен длительный период от посадки до появления
всходов. За это время успевает взойти и укорениться множество сорняков, поэтому
борьбе с сорной растительностью в довсходовых период следует уделять самое
серьезное внимание.
В хозяйстве технология ухода за картофелем в довсходовых период («слепая»
обработка) сочетают рыхление почвы в междурядьях и борьбу с сорняками.
Выполняют эту работу культиваторами КОН-2,8ПМ, КРН-4,2Г, которые агрегатируют с
тракторами МТЗ-80 и МТЗ-82.Для более полного уничтожения сорняков культиваторы
дополняют сетчатой бороной БСО-4А или ротационными боронами БРУ-0,7. До
появления всходов проводят 2-3 междурядные обработки и одну в период полного
появления всходов.
В период вегетации картофеля до смыкания ботвы культиваторами КОН-2,8ПМ
или КРН-4,2Г проводят еще 2 междурядные обработки - окучивания. Междурядные
обработки полей, засоренных камнями, проводят культиваторами КНО-2,8, на
тяжелых глинистых почвах рекомендуется использовать фрезерные культиваторы
КГФ-2,8, ФПУ-4,2. Глубина рыхления почвы в междурядьях при довсходовых
обработках 6-10 см, при обработках вегетирующего картофеля 10-14 см.
В борьбе с однолетними двудольными и злаковыми сорняками весьма
эффективна обработка посевов картофеля (в течение 3-4 дней после посадки)
смесью гербицидов, что позволяет сократить число механических обработок.
Для внесения гербицидов используют штанговые опрыскиватели ОПШ-15,
ОН-400, ОВТ-1, которые агрегатируют с трактором МТЗ-80. Применяются
ядохимикаты: карате, детис, раундап.
Большой урон урожаю картофеля в период вегетации во всех основных
картофелепроизводящих районах могут нанести из вредителей - колорадский жук, а
из болезней - фитофтора.
Обработку посевов картофеля против колорадского жука проводят 2-3 раза
при массовом появлении личинок первого и второго возрастов.
В борьбе с фитофторой в период вегетации картофеля проводят
профилактическое опрыскивание фунгицидами контактного действия.
Начало и продолжительность уборки картофеля в хозяйстве устанавливается в
зависимости от назначения физиологической зрелости картофеля. В первую очередь
убирают ранний картофель для потребления, ранние на семена, затем семенной
картофель, и наконец, продовольственный среднепоздних и поздних сортов.
Механизированную уборку осуществляют в два этапа. Для облегчения работы и
повышения производительности картофелеуборочных машин, сокращения потерь и
ускорения созревания клубней заблаговременно скашивают ботву. Для выполнения
этой работы используют ротационную косилку-измельчитель.КИР-1,5, БДН-4.
За 2-3 дня до начала массовой уборки картофеля убирают урожай с
поворотных полос с помощью копателей КТН-2В или КСТ-1,4. Ширина поворотной
полосы 14-15м.
Клубни убирают в хозяйстве картофелеуборочными комбайнами ККУ-2А
(несколько модификаций). Комбайновую уборку в зависимости от уровня
урожайности, типа почвы и ее влажности, назначения картофеля, сорта проводят
тремя способами - прямое комбайнированием, раздельная и комбинированная уборка.
С поля картофель поступает либо для дальнейшей доработки на стационарные
сортировальные пункты, либо закладывается на хранение.
Весь картофель перед длительным хранением должен пройти 2-х недельный
лечебный период во временных буртах при t=15-18єС. После переборки он закладывается на хранение.
Оптимальная t при долгосрочном хранении семенного
картофеля 2-4єС, продовольственного 4-5єС.
2. ОБОСНОВАНИЕ ТЕМЫ ДИПЛОМНОГО ПРОЕКТА
.1 Анализ способов уборки картофельной ботвы и агротребования к машинам
для уборки ботвы
В основном картофель убирают путем выкапывания. Иногда ранний картофель
убирают методом теребления за ботву. Повсеместно перед уборкой она удаляется.
Это обеспечивает ускорение физиологического вызревания клубней, требуемый
уровень содержания cyxиx веществ, снижение заболеваемости
картофеля.
Удалять ботву картофеля можно химическим, механическим и комбинированным
способами. Также в середине прошлого столетия в некоторых странах (Бельгия,
Нидерланды) ботву удаляли тепловым способом, используя для этого горелки,
работающие на пропане или на жидком топливе. Такой способ уборки позволял
удалять ботву полностью, однако при этом выжигались органические вещества,
находящиеся в верхних слоях почвы, т. е. Фактически почва подвергалась
разрушению. По этой причине от данного способа уборки ботвы картофеля пришлось
отказаться.
Химический способ удаления (наиболее распространен в США, Англии)
предполагает обработку ботвы химическими препаратами - десикантами. В качестве
десиканта используют раствор хлората магния или реглон. Дозы препарата и
рабочего раствора зависят от развития ботвы и погодных условий. При
слаборазвитой или предварительно скошенной ботве расходуют 25- 30 кг/га
препарата, растворенного в 400-500 л воды. При сильно развитой ботве и
неустойчивой погоде дозу увеличивают до 40- 50 кг/га, а объем рабочего раствора
- до 800 л/га.
При химическом способе происходят медленное отмирание ботвы и интенсивный
отток питательных веществ в клубни, в результате чего урожайность из-за
удаления ботвы существенно не снижается.
Условием для эффективного применения десиканта является устойчивая сухая
погода. В дождливую погоду ботва полностью не высыхает и сваливается в
междурядья, мешая работе подкапывающих лемехов уборочных машин. Поэтому при
неустойчивой погоде вначале проводят скашивание ботвы, а затем обработку
оставшейся части раствором десиканта.
Однако, учитывая, что опрыскивание необходимо производить за две-три
недели до уборки, в большинстве районов нашей страны из-за сжатости сроков
уборки этот способ применять нельзя.
Прогрессивный способ удаления ботвы - комбинированный. Он предполагает
совмещение скашивания ботвы с химической обработкой. Для этого на трактор с
косилкой-измельчителем типа КИР-1,5 навешивают баки опрыскивателя ПОУ. У
косилки снимают верхнюю часть дефлектора и на выходе из него монтируют
трубчатую рамку с распылителями. Шестеренчатый насос для подачи рабочей жидкости
крепят на КИР-1,5, привод насоса осуществляется от главного вала косилки через
дополнительно установленную звездочку и цепную передачу. При комбинированном
способе раствор десиканта обрабатывает измельченную ботву (при вылете ее из
силосопровода), а также пожнивные остатки. Такой способ позволяет сократить
расход препарата и совместить две операции.
Однако в последнее время предпринимаются попытки сократить до минимума
использование химических веществ с учетом требований охраны окружающей среды.
Поэтому вновь обсуждается вопрос о применении тепловых методов, которые в
течение длительного времени считались дорогостоящими и трудоемкими. Проведенные
в Нидерландах эксперименты с инфракрасными светильниками принесли
многообещающие результаты. И хотя конструкция и режим работы этих приборов
являются совершенными, применение их требует более высоких затрат средств и
энергии по сравнению с механическими и химическими методами.
Из вышесказанного следует, что наиболее приспособлены для удаления ботвы
картофеля в Республике Беларусь механические способы уборки.
При механизированной уборке картофеля в осуществлении операции удаления
ботвы имеются два основных направления:
1) предварительное
удаление ботвы с поля перед уборкой клубней;
2) отделение ботвы
от клубней в картофелеуборочных комбайнах. Предварительное удаление ботвы не
обеспечивает полной ее ликвидации с поля и поэтому не исключает необходимости
иметь ботвоудаляющие органы в комбайне.
Устройства для предварительного удаления ботвы могут быть скомпонованы в
виде отдельных самостоятельных машин или смонтированы как отдельные узлы на
раме комбайнов перед подкапывающими рабочими органами.
Ботвоуборочная машина должна обеспечивать скашивание картофельной ботвы,
ее измельчение и разбрасывание по полю. Полнота уборки ботвы и других растений
должна составлять не менее 80%.
Содержание в измельченной массе частиц длиной до 15см не менее 60%.
Смятие рядков, разрушение клубневых гнезд, извлечение клубней на
поверхность поля и их повреждение не допускается.
.2 Анализ конструкций ботвоуборочной машины
Для механического удаления ботвы служат различные типы ботвоудалителей
или ботвотеребильных аппаратов.
Рабочие органы для механической уборки ботвы картофеля подразделяются на
режущие, дробильные и теребильные.
Основными рабочими органами ботвоудалителей являются роторы с
вертикальной или горизонтальной осью вращения со свободно установленными
металлическими или резиновыми ножами (бичами)-КИР-1.5Б, УБД-3, КИН-1.5,
КИП-1.5, БДН-4(6) (СНГ), резиновая транспортерная лента ("Nimos"/"Drost"), наполненные воздухом резиновые вальцы ("Oldenhuis") или пневматические шины
("Sebeco", "Structural", (Нидерланды)).
Ботвотеребильные аппараты устанавливаются и на картофелеуборочных
комбайнах непосредственно в передней части наклонных транспортеров для почвы,
как это делается фирмами “Juko”
(Финляндия) и “Riekam” (Бельгия).
Машины подобной конструкции играют особо важную роль при сборе раннеспелого
картофеля.
Теребильные рабочие органы интересны тем, что удаляют ботву полностью, не
оставляя корешков и столонов на клубнях.
В ВИСХОМе исследовали ряд ботвотеребильных аппаратов различных типов, в
том числе шнекороликовый ботвоудалитель с вращающимися навстречу друг другу
роликами и ленточный клиноременный аппарат, применяемый в льноуборочных
машинах. В этом аппарате поднятая лифтерами ботва захватывается клиновидными
ремнями и подается на отводящий транспортер.
Теребильные аппараты обоих типов оказались практически неработоспособными
из-за сгруживания ботвы лифтерами, наматывания ее на шнеки и пробуксовывания
клиновидных ремней. Кроме того, они обеспечивали малый процент теребления ботвы
так как захватывали ботву на большой высоте по отношению к поверхности грядки.
Дисковый ботвотеребильный аппарат, предложенный И.М. Полуночевым (рис.
2.1, а), состоит из теребильного диска 2 с пальцами и сбрасывающего диска 1.
Угол между смежными пальцами составляет 15°. Основным рабочим органом
ботвоотделителя такого же типа с подвижными пальцами (рис. 2.1, б) является
диск 4 с пальцами 3.
Дисковые ботвоотделители имеют ряд серьезных недостатков. Ботва в них
наматывается на вращающиеся вертикальные валы, забиваются просветы между
пальцами, повреждаются клубни, а из-за того, что теребильный диск наиболее
эффективно работает при условии погружения в почву, часть ботвы сбрасывается в
междурядья, а сами рабочие органы быстро изнашиваются и часто ломаются. Все
указанные недостатки присущи ботвоотделителям как с неподвижными, так и с
подвижными пальцами. Преимуществом ботвоотделителя последнего типа является
возможность самоочищения пальцев от почвы и растительности вследствие
подвижности пальцев и отсутствие наматывания ботвы на барабан.
а)
б)
Рис. 2.1 Дисковые теребильные аппараты
Аппарат ленточного типа с защемляющими шипами (рис. 2.2) состоит из
ведущего 5 и ведомого 7 шкивов, плоского ремня 6, на котором закреплены шипы 8.
Теребление осуществляется нижней ветвью 9 ремня. Исследования, проведенные в
ВИСХОМе Т.Т. Кусовым, показали, что аппарат такого типа имеет по сравнению с
теребильными аппаратами других типов лучшие показатели. Максимальную полноту
теребления ботвы ленточный аппарат обеспечивает при скорости ленты 1,2-1,3 м/с;
при скорости свыше 3 м/с полнота теребления уменьшается, а количество разорванных
стеблей возрастает вследствие того, что при повышенных скоростях процесс
теребления переходит в процесс дробления.
Рис. 2.2 Теребильный аппарат ленточного типа с защемляющими шипами.
Как было отмечено выше, ботвотеребильные аппараты используются для
предварительного удаления ботвы в картофелеуборочных комбайнах некоторых
зарубежных фирм при уборке раннего или семенного картофеля. Это связано с тем,
что ботву такого картофеля удаляют в сроки, когда она еще слабо полегшая,
Также для предварительного удаления ботвы картофеля в картофелеуборочных
комбайнах зарубежных производителей используются рабочие органы режущего типа
(рис. 2.3).
Дисковый ботворез (рис. 2.3, а) состоит из сферического диска 10,
конического барабана 11 с лопастями 12 на нем для отбрасывания срезанной ботвы.
Максимальное удаление ботвы сферическим диском не превышает 45% при глубине
хода диска в почве 3 см, окружной скорости 15 м/с и угле установки рабочей
кромки относительно поверхности грядки 5°. Недостатком его является то, что
диск может работать только при погружении в почву, так как упругость стеблей
ботвы не превышает усилия, необходимого для их среза, и происходит отталкивание
стеблей дисками. При уборке картофеля с длинной ботвой последняя наматывается
на вращающийся конический барабан.
а)
б)
с)
д)
е)
Рис 2.3 Дисковые ботвоудаляющие рабочие органы
Радиально-саблеобразный ботворез (рис. 2.3, б) имеет 12 саблеобразных
ножей 13, расположенных в два яруса в шахматном порядке и закрепленных на
коническом кожухе 14 и диске 15. При движении аппарата вдоль грядки ножи
срезают ботву, а лопасти 16 отбрасывают ее в сторону убранного поля.
Близки по конструктивному оформлению и принципу действия к данному
аппарату цилиндрический ботворез (рис. 2.3, в), установленный на однорядном
комбайне фирмы Пакман (Англия), конический (рис. 3, г) с шарнирно закрепленными
ножами - на картофелеуборочном комбайне фирмы Амазоне (ФРГ) и плоский (рис. 3,
д) - на комбайне фирмы Самро (Швейцария).
Результаты испытаний этих ботворезов на ЦМИС показали, что
цилиндрический, конический и плоский ботворезы срезают не более 50% ботвы.
Наиболее полное удаление ботвы происходит при заглублении ножей ботвореза на
2-3 см в почву. Однако в этом случае ножи повреждают клубни, расположенные
близко к поверхности. Ботву полеглую и расположенную в междурядьях ботворезы не
захватывают. При работе комбайнов на полях с полеглыми растениями ботворезы
удаляют ботву не более чем на 30%.
Испытания рабочих органов дробильного типа (рис. 2.4) показали, что по
сравнению с теребильными и режущими аппаратами дробильные более надежны и имеют
лучшие качественные показатели.
а)
б)
Рис. 2.4 Схемы ботводробителей: а - цепной с вертикальным валом; б-
молотковый с горизонтальным валом
Цепной дробитель (рис. 2.4, а) имеет вертикальный вал с горизонтальным
диском, с внешней стороны которого закреплены три калиброванные цепи длиной
450-500 мм. При вращении диска (п = 950-1100 об/мин) цепи располагаются
горизонтально и дробят ботву, отбрасывая ее на убранное поле. Достоинством
цепного дробителя является простота конструкции, недостатком - сравнительно
низкий процент удаления ботвы (50-60%), особенно при дроблении полеглой ботвы,
и забивание при дроблении сильно развитой зеленой ботвой. Ботводробитель с
горизонтальным валом (рис. 2.4, б), применяемый в ГДР, представляет собой
барабан 1 с шарнирно закрепленными билами 2. Расположение бил по длине
соответствует поперечному профилю грядок, что предусматривает возможность захвата
полеглой ботвы в междурядьях.
Ботводробители, выпускавшиеся ранее в СССР (КИР-1,5, УБД-3), имели
рабочий орган, подобный представленному на рис. 2.4 б, однако их била имели
одинаковую длину, т. е данные рабочие органы могли убирать ботву только на вершинах
грядок, что отрицательно сказывалось на полноте уборки ботвы, особенно
полегшей.
В США применяется ботводробитель, который имеет два ротора 1 и 2,
вращающихся навстречу один другому. Между ними сверху расположен шнек 3,
служащий для отвода срезанной ботвы в сторону. Второй ротор снабжен резиновыми
билами, что позволяет устанавливать его ближе к поверхности грядки.
Рис. 2.5 Схема ботводробителя с двумя роторами (США)
Ботводробители в США и других странах бункером не оборудуют, так как
ботву картофеля не собирают на силос, а запахивают.
В бывшем СССР на применяемых для удаления и сбора ботвы машинах КИР-1.5Б
и УБД-3 в качестве ботвоудаляющего рабочего органа использовался ротор с
горизонтальным валом.
В косилке-измельчителе КИР-1,5Б (рис. 2.6, а) измельченная масса в бункер
подается молотками дробителя, для чего к державкам кроме ножа крепят
нагнетательную пластину. В ботвоуборочной машине УБД-3 (рис. 2.6, б)
измельченная масса молотками дробителя 1 подается в шнек 6 и далее в швырялку
5, которая направляет ее через дефлектор 2 в бункер 4. Выгружается масса из
бункера машины УБД-3 с помощью скребкового транспортера 3, а из бункера
КИР-1,5Б путем его опрокидывания.
Достоинством машины КИР-1,5Б является простота конструкции, недостатками-
невысокое качество измельчения массы и увеличенные нагрузки на дробильный
аппарат, особенно при ударах о естественную гребнистость поля, в результате
чего часто ломаются молотки и нарушается динамическая уравновешенность
дробителя.
При наличии шнека и швырялки в машине УБД-3 часть нагрузки с дробильного
рабочего органа снимается, но зато усложняется конструкция, увеличивается масса
и снижается производительность из-за необходимости очистки шнека и швырялки,
особенно при уборке полуотмершей или подмороженной ботвы.
а)
б)
Рис. 2.6 Схемы ботводробителей
Роторные ботвоуборочные машины УБД-3 и КИР-1,5Б удаляют около 60-70%
ботвы. Ботву, расположенную в междурядьях, ножи ротора не захватывают.
В настоящее время в некоторых хозяйствах Республики Беларусь еще
используются ботводробители КИР-1,5, которые являются модификацией машин
КИР-1,5Б и отличаются от последних отсутствием бункера-накопителя. Машины УБД-3
в настоящее время не используются.
Ротор косилки-измельчителя КИР-1.5 представляет собой трубчатый вал
диаметром 100 мм, на поверхности которого по винтовой линии шарнирно в четыре
ряда (через 90°) закреплены 28 ножей лопаточного типа. Кронштейны ножей на
втулках закреплены болтами. Частота вращения ротора 1500 об/мин; диаметр по
концам ножей 510 мм; окружная скорость ножей 50 м/с; высота среза 60-250 мм.
В настоящее время в Российской Федерации Государственным унитарным
предприятием заводом “Уралсельмаш” г.п. Бисерть Нижне-Сергинского района
Свердловской области и Открытым акционерным обществом “Уральский
научно-исследовательский технологический институт” г. Екатеринбурга
производится ботводробитель БДН-4-75/70 (рис. 2.7), предназначенный для
удаления ботвы картофеля на посадках с междурядьями 70 и 75см.
Ботводробитель навесной, навешивается на стандартную 3-х точечную
систему. Имеет сварную раму, на которую установлен ротор с ножами и битами,
опорные колеса, механизм привода. Ротор состоит из левого и правого валов. На
валах шарнирно закреплены ножи, которые скашивают ботву на гребне, и биты,
скашивающие ботву и другие растения свалившиеся или растущие в борозде. Высота
среза ботвы регулируется винтовыми устройствами опорных колес. На ширину
междурядий машина регулируется перестановкой ножей и бит, а так же изменением
ширины колеи опорных колес. Привод машины осуществляется от ВОМ трактора при
скорости вращения 1000 и 540 об/мин. Для этого прикладываются два сменные шкива
и прорезиненные клиновые ремни разной длины.
Рис. 2.7 Ботводробитель БДН-4-75/70
Однако ботводробители, типа БДН-4-75/70, характеризуются высокой
динамической неустойчивостью в процессе работы, что приводит к ускоренным
поломкам машины, отрицательно сказывается на приводе трактора, вызывает
повышенную опасность работ.
В СибИМЭ разработан и в 1996 году испытан тросовый ботводробитель,
который лишен этих недостатков. Он состоит из рамы 1 с валом 2, на котором
крепятся гибкие связи 10, состоящие из молотка 3 и троса 4 (рис.2. 8.). На раме
установлен редуктор 7. Рама через подвижную стойку 8 опирается на копирующую
шину 9. Для агрегатирования с трактором рама имеет навеску 6. Активная часть
ботводробителя закрыта защитным кожухом 5. Ботводробитель агрегатируется с трактором
класса 1,4 кН.
Работает машина следующим образом. Крутящий момент от вала отбора
мощности трактора через конический редуктор передается на вал с закрепленными
на нем молотками. В процессе вращения вала трос под действием сил инерции
растягивается и занимает рабочее положение, а молотки ударяют по стеблю
растения и срезают его.
Рис. 2.8 Тросовый ботводробитель
При многократном воздействии молотков ботва измельчается и отбрасывается
на скошенное место за ботводробителем. Высота среза ботвы регулируется
подвижной стойкой.
Хозяйственные испытания 4-рядного варианта ботводробителя проводились в
совхозе "Обской" Новосибирской области и показали высокую
эффективность ботводробителя. Однако у машины выявлен очень серьезный
недостаток - при износе троса, особенно в местах наибольшего изгиба (в местах
крепления к барабану и около молотков) отламываются проволочки и попадают в
почву, ботву и клубни, что недопустимо и делает невозможным применение
ботводробителя с таким рабочим органом.
Республике Беларусь промышленностью выпускаются косилки-измельчители типа
КИН-1,5, КИП-1,5, которые специально не предназначены для удаления ботвы
картофеля, но могут использоваться для выполнения этой операции. Специальные
высокопроизводительные ботвоудалители в Беларуси не выпускаются.
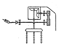
2.3 Описание технологической схемы и конструкции модернизируемой машины
Модернизация машины заключается в модернизации рабочего органа для машины
БДН-4. Суть заключается в том, что применяется роторно - цепочный рабочий орган
для предуборочного удаления ботвы картофеля и ее дробления. Данный рабочий
орган включает 2 барабана, к одному барабану прикреплены длинные петли цепи,а к
другому короткие петли цепи.
Работает машина следующим образом. Крутящий момент от вала отбора
мощности трактора через конический редуктор и ременные передачи передается на
валы с закрепленными на них короткими и длинными петлями цепи. В процессе
вращения валов цепи под действием сил инерции растягиваются и занимают рабочее
положение, ударяя по стеблю растения и срезают его.
Работает рабочий орган следующим образом. При вращении барабана петли
цепи под действием сил инерции приобретают форму, представленную на рис. 2.9. и
2.10.
Форму петли можно изменять изменением длины цепи или изменением
расстояния между ее концами на барабане. Этим обеспечивается более точное
копирование поверхности картофельной грядки. В процессе вращения барабана,
петли цепи срезают ботву, измельчают и разбрасывают ее по полю.
Рис. 2.9 Схема рабочего органа
Таким образом, применяя данный рабочий орган можно добиться более точного
копирования поверхности картофельной грядки, чем достигается повышение полноты
уборки картофельной ботвы. Применение цепи для удаления ботвы исключает попадание
металлических частиц в клубни
модернизация техника картофельный ботва
3. РАСЧЁТ ТЕХНОЛОГИЧЕСКОЙ СХЕМЫ И МОДЕРНИЗИРОВАННЫХ УЗЛОВ
3.1 Технологический расчёт
Для нормального удаления ботвы необходимо определить угловую скорость
движения малой цепи и частоту вращения вала. Производим расчёт по малой цепи
так как если будет происходить нормальное удаление и измельчение ботвы малой
цепью (с меньшим радиусом), то и нормально будет удалятся ботва и большей цепью
(с большим радиусом).
Для определения частоты вращения рабочего органа принимаем скорость
резания ботвы 16 м/с и радиус подвески цепи r=0,125 м [12] стр. 36.
Частоту вращения роторно-цепочного ботвоудаляющего рабочего органа
определяем из формулы:
, (3.1)
где
n-частота вращения рабочего органа, об/мин;
ω-угловая скорость вращения рабочего органа ботвоуборочной машины, с-1.
Из
формулы находим частоту вращения:
. (3.2)
Угловую
скорость определяем по формуле:
, (3.3)
где
v-линейная скорость движения малой цепи, м/с.
Тогда
угловая скорость вращения рабочего органа
128 с-1
Определяем
частоту вращения роторно-цепочного ботвоудаляющего барабана:

1220
об/мин.
Данная
частота вращения соответствует частоте вращения рабочих органов машин имеющих
роторные рабочие органы с горизонтальной осью вращения.
.2
Кинематический расчёт
Кинематический
расчёт заключается в определении передаточного отношения от ВОМ трактора к
рабочему органу машины. Для этого принимаем частоту вращения ВОМ трактора 540
об/мин.
Частоту
вращения рабочего органа рассчитана выше n=1220 об/мин.
Общее
передаточное число привода рабочего органа определяем по формуле:
, (3.4)
где
nр-частота
вращения рабочего органа, об/мин;
nВОМ---частота вращения ВОМ трактора, об/мин.
Тогда:
.
Для
передачи вращения от ВОМ к ременной передачи принимаем угловой редуктор
установленный на КИР-1,5 передаточное отношение которого равное 1. Тогда
передаточное отношении ременной передачи будет:
, (3.5)
где
Uрем-передаточное
отношение ременной передачи;
Uред-передаточное отношение редуктора;
2,25.
.3
Конструктивный расчёт
.3.1
Расчёт ременной передачи
Конструктивный
расчёт ременной передачи производим по методике представленной в [13] стр.
76…89.
Для
определения параметров ременной передачи находим мощность необходимую для
вращения рабочего органа машины.
Мощность
определяется по формуле:
Р=Мω, (3.6)
где
М-вращающий момента необходимый для вращения рабочего органа, Н м;
ω-частота вращения рабочего органа, с-1;
ω=128 с-1.
Так
как в междурядьях растительность слабо развита, то вероятно наибольшее усилие,
а значит и вращающий момент возникает при встречи цепи с кустом картофеля.
Момент
определяем по формуле:
М=F∙r∙Zц
(3.7)
где
F-усилие разрыва ботвы картофеля, Н;
F=255 Н стр. 10
[11];
r-радиус малой
цепи, м;
r= 0,125 м [12]
стр. 36;
Zц-количество цепей работающих при удалении ботвы;
Zц=4;
М=255∙0,125∙4
127,5 Н м.
Тогда мощность на привод рабочих органов:
Р=127,5∙128=15816
Вт
16 кВт.
По
найденной мощности Р=16 кВт и по угловой скорости малого шкива ω=128 с-1 или частоте вращения n=1220
об/мин принимаем сечение клинового ремня по рис. 5.2 стр.83[13], сечение Б.
Из
табл. 5.4. стр. 84 [13] в зависимости от выбранного типа ремня и предаваемого
вращающего момента выбираем диаметр меньшего шкива передачи: dmin=100 мм.
Определяем
расчётный диаметр большего шкива:
d2=Ud1(1-ε), (3.8)
где u-передаточное отношение ременной
передачи, u=3,02;
ε-коэффициент скольжении, ε=0,01…0,02 стр. 77 [2],
принимаем ε=0,02.
d2=2.25∙100(1-0,02)=220.5 мм.
Округляем d2 до стандартного стр. 426 [2],
ближайший стандартный диаметр d2=224 мм.
Определяем фактическое передаточное число передачи:
uр =d2/[d1(1-ε)]; (3.9)
Uр=224/[100∙(1-0,02)]=2,28;
Δu=
.
Отклонение
1,3 %, допускается ±3 %.
Вычисляем
ориентировочное межосевое расстояние:
, (3.10)
где
h-высота сечения ремня, мм, h=10,5 стр. 418
[2].
.
Вычисляем
расчётную длину ремня:
; (3.11)
lр=2∙188.+0,5∙3,14(100+224)+0,25(224-100)2/188,7=708,5
мм.
Принимаем
стандартную lр=710 мм.
Определяем
фактическое межосевое расстояние при выбранной длине ремня:
; (3.12)
=414
мм.
Принимаем
межосевое расстояние а=а+0,025l=414+0,025∙710=431.75 мм.
Определяем
угол обхвата ремнём малого шкива.
α1=1800-570(d2-d1)/а’
[ α1]=1200;
(3.13)
α1=1800-570(224-100)/431.75=163037’> [ α1]=1200.
Определяем
скорость ремня и сравниваем ее с максимально допустимой:
V=πd1n1/(60*103)
25 м/c,
где
d1-диаметр
ведущего шкива, мм;
n1-частота вращение ведущего шкива, об/мин;
V=3,14∙100∙1220/(60∙103)=6.38
м/с.
Проверяем
долговечность ремня по числу пробегов ремня в секунду.
U=V/l
30 c-1;
U=6.38/0.710=8.98
с-1.
Определяем
допускаемую приведённую мощность, передаваемую одним ремнём Р0, кВт.
Принимаем для заданного сечения ремня по диаметру малого шкива и скорости ремня.
Р0=5.17 кВт. Табл. 5.5 стр.86 [13].
Вычисляем
допускаемую мощность кВт, передаваемую одним ремнём в условиях эксплуатации:
[Рn]=
, (3.14)
где
Сα-коэффициент обхвата, Сα=0,91 Табл. 5.2 стр.79 /2/;
Сl-коэффициент
длины ремня, Сl=l/l0=1.04.
Табл. 5.2 стр. 79 /2/;
Ср-коэффициент
динамической нагрузки и режима работы Ср=1,1…1,3 стр.239 [3],
принимаем Ср=1,3.
Сz-коэффициент
неравномерности распределения нагрузки, учитывающей число ремней Сz,
принимаем Сz=0,93. Табл. 5.2 стр. 80 [2].
Вычисляем
допускаемую мощность кВт, передаваемую одним ремнём в условиях эксплуатации:
[Рn]=
5.17∙0,91∙1.04∙1,3∙0,93=5.91 кВт.
Определяем
число клиновых ремней в комплекте передачи:
, (3.15)
где
Р-мощность передаваемая ремнём, кВт.
[z]
5-допустимое число ремней.
2.87,
принимаем z=3 ремней.
Определяем
силу предварительного натяжения комплекта ремней.
F0=850РСl/(zVCαCр); (3.16)
F0=850∙16∙0.98/(3∙6,38∙0,91∙1.3)=582
Н
Определяем
окружную силу передаваемую комплектом клиновых ремней:
Ft=Р∙103/v;
(3.17)
Ft=16∙103/6,86=2478
Н.
Определяем
силы натяжения ведущей F1 и
ведомой F2 ветвей:
F1=F0+Ft/2z; (3.18)2=F0-Ft/2z;
(3.19)1=582+2478/(2∙3)=995 Н;
F2=582-2478/(2∙3)=169,5 Н;
Fоп=2zF0sinα1/2;
(3.20)
Fоп=2∙3∙582∙sin163037’
/2=3455,3 Н.
.3.2
Расчёт вала на кручение и на изгиб
Для
определения диаметра вала рабочего органа необходимо произвести растёт вала на
кручение и изгиб и определить диаметры и после этого принять окончательный диаметр
вала.
Для
расчёта вала на кручение представляем вал в виде расчётной схемы и составляем
уравнения равновесия.
Определяем моменты:
М1=М2=М3=М4=F∙r=31,8 Н м.
Разбиваем вал на участки.
Определяем крутящий момент по участкам:
Мк1=M4= 31,8
.
Мк2=
M4+M3
=31,8+31,8=63,6
.
Мк3=
M4+M3+M2 =31,8+31,8+31,8=
95,4
.
Мк4=
M4+M3+M2+М1 =31,8+31,8+31,8+31,8=127,2
.
Строим
эпюру крутящихся моментов Мк.
Определяем
диаметр вала из условия прочности и жёсткости:
Мкmax=127,2
.
Так
как максимальный крутящий момент возникает на хвостовике, а сечение в этом
месте круг, то условие прочности имеет вид:
d=
, (3.21)
где
[τ]-предел прочности материала при кручении, МПа;
[τ]=30 МПа стр.128 [13].
d=
57,3 мм.
Принимаем
d=60 м.
При
работе рабочего органа возникающие центробежные силы возникающие при движении
цепей уравновешиваются друг другом. А изгиб возникает при соприкосновении стеблей
с малыми цепями рабочего органа. Для расчёта на изгиб представляем вал в виде
расчётной схемы.
Так цепи прикреплены к валу в двух точках, то силы разлагаем на две
составляющие:
F1= F2= F3= F4=255/2=127,5 Н.
Силу от действии я ременной передачи разлаживаем на две составляющие:
горизонтальную и вертикальную.
Fру=Fрsin300=3455.3∙sin300=1727,65 Н.
Fрх=Fрсos300=3455.3∙cos300=2992.4 Н.
Определяем реакции опор подшипников в вертикальной плоскости. Составляем
уравнения равновесия относительно опор 1 и 2:
1798,2 Н.
70,5 Н.
Определяем
реакции опор подшипников в горизонтальной плоскости. Составляем уравнения
равновесия относительно опор 1 и 2:
687,8 Н.
-2604,5
Н.
Знак
«минус» говорит о том, что реакция R1х направлена в противоположную сторону нежели на схеме.
Проверяем
правильность решения:
Fрх+Rх1-F1.1-F1.2-F2.1-F2.2-F3.1-F3.2-F4.1-F4.2+ Rх2=2992.4-2604.5-127.5-127.5-
.5-127.5-127.5-127.5-127.5-127.5+687.8=0.
Строим
эпюру изгибающих моментов:
М1
=Fрх∙110=2992,4∙110=329,1∙103
Н м.
М1.1
=Fрх∙130+Rх1∙20=2992,4∙130-2604.5∙20=336.9∙103
Н м.
М1.2
= Fрх∙685+Rх1∙575-F1.1∙555=2992,4∙685-2604.5∙575-
.5∙555=481.7∙103
Н м.
М2.1
= Fрх∙830+Rх1∙720-F1.1∙700-F1.2∙145=2992,4∙830-2604.5∙720-127.5∙700-
.5∙145=500.7∙103
Н м.
М2.2=
Fрх∙1380+Rх1∙1275-F1.1∙1255-F1.2∙700-F2.2∙555=2992,4∙1380-
.5∙1275-
.5∙1255-127.5∙700-127.5∙555=488.7∙103
Н м.
М3.1=
Rх2∙1275-F4.2∙1255-F4.1∙700-F3.2∙555=687.8∙1380-127.5∙1275-
.5∙1255-127.5∙700-127.5∙555=466.6∙103
Н м.
М3.2=Rх2∙720-F4.2∙700-F4.1∙145=687.8∙720-127.5∙700-127.5∙145=387.35∙103
Н
м
М4.1=
Rх2∙575-F4.2∙555=687.8∙575-127.5∙555=324.7∙103
Н м.
М4.2=Rх2∙110=687,8∙110=75,6∙103 Н
м.
Опасными
сечениями являются точка 1 и точка 2.1. Определяем суммарные моменты для этих
точек.
М=
. (3.22)
Для
точки 1:
М=
=380∙103 Н м.
Для
точки 2.1:
Для
точки 2.1 изгибающий момент в точке 2.1 будет:
М2.1х=Fру∙830-Rу1∙720=1227,65∙830-1798,2∙720=172,6∙103
Н м.
М=
=530∙103 Н м.
По
максимальному моменту определяем диаметр вала. Так как опасным сечением
является точка 1.2, сечение вала в этой точке-кольцо.
Из
условия прочности для кольца:
, (3.23)
где
[σ]-допустимый предел прочности для материала, МПа.
Для
материала вала [σ]=160
МПа стр. 49 [13].
С-отношение
внутреннего диаметра к внешнему,
принимаем
С=0,65 стр. 213 [13].
=44,3.
Принимаем
d=45 мм.
Внешний
диаметр вала D=d/C=45/0.65=69,2 мм, принимаем D=70 мм.
3.4 Энергетический расчёт агрегата
Энергетический расчёт проводим согласно методике указанной на с. 51-64
[7].
Мощность затрачиваемая на привод и перемещение машины:
N=NВОМ+Nпер, (3.25)
где NВОМ-мощность затрачиваемая на привод
рабочего органа машины, кВт;
Nпер-мощность затрачиваемая на
перемещение машины с учётом уклона, кВт;
Nпер=RперVр, (3.26)
где Vр-рабочая скорость агрегата, м/с;
Rпер-сила сопротивления перемещению, кН;
Rпер=Gм(fм±i/100), (3.27)
где Gм-вес машины, кН;
Gм=10,45 кН;
fм-коэффициент сопротивление
перекатываю, fм=0,23 табл. 2.10, с. 56 [7];
i-уклон,
%
Rпер=10,45(0,23±2/100)=2,61 кН.
Находим мощность затрачиваемую на перекатывание машины:
Nпер=2,61∙2,01=5,25кВт.
Тогда общая мощность:
N=16+5,25=21,25
кВт.
.5 Расчёт операционно-технологической карты на междурядную обработку
картофеля
Для удаления ботвы картофеля применяется агрегат МТЗ-82 и ботвоуборочная
машина.
Для расчёта операционно-технологической карты необходимо следующие
данные:
1. Состав агрегата МТЗ-82+ботвоуборочная машина
2. Размер
поля 1200
500 м
. Уклон
i=2є.
. Фон-поле
под уборку картофеля
. Удельное
сопротивление машины К=2,5…3,5 кН/м, принимаем К=3 кН/м.
Определяем
скоростной режим работы посадочного агрегата. Рабочая скорость агрегата должна
находится в интервале агротехнически допустимых скоростей (от Vагр
min
Vр
Vагр max).
По
табл. 2.5 [7] рекомендуемая скорость движения агрегата МТА при удаления ботвы
картофеля:
Vагр=6..8 км/ч=1,7…2,2 м/с.
Кроме
того скорость движения ограничивается мощностью двигателя:
Vp.max=
, (3.28)
где
Nен-номинальная
мощность двигателя, кВт;
ηен-коэффициент
использования номинальной мощности двигателя;
Nвом, ηвом-соответственно
мощность на привод активных рабочих органов, коэффициент использования мощности
на привод активных рабочих органов;
ηмг-коэффициент
полезного действия трансмиссии трактора;
ηб-коэффициент
полезного действия буксования;
Rмг-тяговое сопротивление культиватора;
Gтр-эксплуатационный вес трактора, кН;
f-коэффициент
сопротивления качению;
i-уклон
местности;
Из
табл. 1.2 [7] выбираем значение приведённых выше данных.
ηмг=η αц ηβк, (3.29)
где
ηц,ηк-КПД
соответственно цилиндрической и конической передачи трансмиссии;
α, β-число пар в зацеплении соответственно цилиндрической и конической
передачи;
ηц =0,98; ηк =0,96;
α=5; β=1;
ηмг =0,985*0,96=0,87
ηб=
, (3.30)
где
δ-коэффициент буксования, (табл. 1.11 /7/) δ=11 %;
ηб =
=0,89.
Тяговое
сопротивление машины:
Rмг=К∙В+Gм(λf+i/100), (3.31)
где
λ-коэффициент, учитывающий величину догрузки трактора
при работе с навесными машинами (при междурядной обработке λ=1.0…15) Принимаем λ=1,2. /7/ стр. 68.
Gсхм-эксплуатационный вес культиватора, кН;
Gсхм =10,45 кН.
В-ширина
захвата ботвоуборочной машины, м;
В=2.8
м.
Rмг=3∙2,8+10,45(1,2∙0,14+2/100)=10,36 кН;
Gтр=33,4 кН;
f=0.12…0.18
(табл. 2.10[7]).
Влияние
уклона до 3% не учитывается.
Nвом=16 кВт;
ηвом=0,98;
Vр.max=
=2,04 м/с=7,34 км/ч.
Таким, образом, Vр
max входит в агродопустимый предел
скоростей, но меньше верхнего придела. Принимаем предел агродопустимых
скоростей Vр=6…7,67 км/ч=1,7…2,13 м/с. Выбираем передачи трактора
которые входят в агротехнический допустимый предел скорости. Поэтому за рабочие
скорости принимаем агротехнически допустимые скорости.
Исходя из данного диапазона скоростей принимаем основную и дополнительную
рабочую передачу трактора. Основная: 3-я передача без редуктора и УКМ где V=7,24 км/ч, дополнительная 4-я с
редуктором и УКМ V=6,73 км/ч.
Определяем фактическое значение коэффициента ηен на рабочем режиме на основной
передаче:
ηен=
; (3.32)
Nер=
; (3.33)
Nех=
; (3.34)
где
Рf-сопротивление качению трактора, кН.
Pf=Gcxм ∙f;
(3.35)
Pf=10,45
∙0.14=1,46 кН.
Rмх-сопротивление агрегата при холостом ходе, кН;
Rмх=Gм(f+i) (3.36)мх=10,45(0,14+0,02)=1,67
кН.ер=
=30,68
кВт.
ηен=
=0,52.ех=
=8,13
кВт.
Тогда
коэффициент загрузки трактора на холостом ходу трактора будет:
ηех=
=0,14.
Подготовка
агрегата к работе включает проверку комплектности и состояния ботвоуборочной
машины, проверку работоспособности гидросистемы трактора. Трактор также
подготавливается к работе, устанавливается колея трактора 1400 мм. Давление в
шинах трактора должно составлять 0.12…0.13 МПа, передних 0.17 МПа. Длина
раскосов-515 мм. На передний брус трактора устанавливаются противовесы.
Ботвоуборочная машина соединяется с трактором при помощи автосцепки СА-1. После
агрегатирования ботвоуборочную машину регулируют необходимую высоту среза при
помощи опорных колёс. А также проводят регулировку для формирования гребня,
т.е. что бы рабочие органы не разрушали гребни при удаления ботвы. Регулировку
производим изменением длины цепи при преставлении кольц цепи по шпилькам
крепления.
Выбираем
челночный способ движения как производилась посадка картофеля. Определяем для
данного способа движения коэффициент φ, радиус поворота Rо, длину
выезда е, ширину поворотной полосы Е, рабочую длину гона Lр, оптимальную ширину загона при челночном способе
движения не определяется.
Для
навесного агрегата радиус поворота Rо равен радиусу поворота трактора, но не мене Rо=5…6 м [7].
Принимаем
Rо=6 м.
Длину
выезда агрегата принимаем:
е=0,1 lк, (3.37)
где lк-кинематическая длина агрегата;
lк=lт+lм; (3.38)
lк=1,2 м; lм=1,57 м;
lк=1,2+1,57=2,77 м;
тогда е=0,1∙2,77=0,277 м.
Согласно табл. 5.2 /7/ определяем φ, Е, и Сопт.
Поворотная полоса организовывается на поле, если нет возможности
производить развороты за пределами поля.
Ширина поворотная полоса определяется по формуле:
Е=2,8Rо+0,5dк+е, (3.39)
где dк-расстояние между крайними точками по
ширине(проекция);
dк=3 м.
Е=2,8∙6+0,5∙3+0,277=18,58 м.
Однако ширина поворотной полосы должна быть кратна ширине захвата
сажалки:
Вр=2,8 м.
Е/Вр-целое число
18,58/2,8
7
Тогда
Е=2,8∙7=19,6 м.
Коэффициент
рабочих ходов φ рассчитывается по формуле:
φ=
, (3.40)
где
Lр-рабочая
длина гона, м;
С-ширина
загона, м;
Lр=L-2Е; (3.41)
Lр=1200-2∙19,6=1160,8 м.
Тогда:
φ=
=0,97.
Средняя
длина холостого пути на поворот будет:
Lx=
; (3.42)
Lx=
=35,9 м.
Количество
циклов работы агрегата за смену определяем по формуле:
nц=
, (3.43)
где
Тсм-время смены, Тсм=7 ч;
Тпз-подготовительно-заключительное
время, ч;
Тотл-время
регламентированных перерывов на отдых и личные надобности механизатора, Тотл=0,5
ч; стр. 106 [7]
Тто-время
на техническое обслуживание агрегата в период смены, Тто=0,21 ч.
Подготовительно-заключительное
время:
Тпз=tето+tпп+tпн+tпнк, (3.44)
где
tето-время
на проведения ежесменного технического обслуживания,tето=0,55ч;стр. 243 [7].
tпп-- время на подготовку агрегата к переезду, tпп=0,06 ч; стр. 106 [7];
tпн-- время на получения наряда и сдачу работы, tпн=0,07 ч; стр. 106 [7];
tпнк-- время на переезды в начале и конце работы, tпнк0,09 ч; стр. 106 [7];
Тпз=0,55+0,06+0,07+0,09=0,77
ч.
Для
ботвоуборочного агрегата время кинематического цикла (одного круга):
tц=
, (3.45)
где
tоп-время
на технологическую остановку, tоп=0 мин;
tц=
=0,35 ч.
Определяем
количество циклов агрегата за смену:
nц=
15,77, принимаем nц=16 циклов.
Действительное
время смены будет:
Тсм=tцnц+Тпз+Тотл+Тт, (3.46)
Тсм=0,36∙16+0,77+0,5+0,21=7,24 ч.
Чистое время кинематического цикла:
Тр=
,; (3.47)
Тр=
∙16=5,13 ч.
Время
холостых поворотов за смену:
Тх=
. (3.48)
Коэффициент
использования времени смены определяется:
Тх=
=0,16 ч;
η=
; (3.49)
η=
=0,7.
Производительность
агрегата для междурядной обработки определяется за цикл:
Wц=
; (3.50)
Wц=
=0,65 га/ц.
За
час:
Wч=0,36ВрVр; (3.51)
Wч=0,36∙2,8∙2,01∙0,7=1,41 га/ч.
За
действительное время смены:
Wсм=0.36ВрVрη Тсм; (3.52)
Wсм=0,36∙2,8∙2,01∙0,7∙7,24=10,23
га/см.
Расход
топлива на один гектар определяется:
Q=
, (3.53)
где
Gтр, Gтх, Gто-значение
часового расхода топлива соответственно на рабочем, холостом ходу и остановках,
кг/ч;
Тр,
Тх, То-соответственно за смену, чистое рабочее время,
общее время на повороты и время остановок агрегата с работающим двигателем,ч;
Продолжительность
остановок в часах:
То=Тотл+0.5Тето;
(3.54)
То=0,5+0,5∙0,55=0,775
ч.
Часовой
расход топлива по режимам работы двигателя:
Gтр=Gех+(Gен-Gех)
; (3.55)
Gтх=Gех+(Gен-Gех)
; (3.56)
Gох=0,46Gех, (3.57)
где
Gен, Gех,Gох-соответственно
часовой расход топлива на рабочем режиме, холостом ходу и на остановках
агрегата, кг/ч;
Gтр=5,4+(11,2-5,4)
=8,2
кг/ч;
Gтх= 5,4+(11,2-5,4)
=6,2
кг/ч;
Gох=0246∙6,2=2,9 кг/га.
Тогда:
Q=
= 4,53 кг/га.
Затраты
труда на один гектар посадочного агрегата:
Н=
, (3.58)
где
mмех,mвсп-число механизаторов и вспомогательных рабочих
обслуживающих агрегат;
Для
данного агрегата: mвсп=0.
Н=
=0.68 ч/га.
.
БЕЗОПАСНОСТЬ ЖИЗНЕДЕЯТЕЛЬНОСТИ
4.1 Безопасность жизнедеятельности на производстве
.1.1 Анализ состояния охраны труда в РУСПП 1-ая Минская птицефабрика
В соответствии с типовым положением о работе по охране труда, в хозяйстве
за состоянием охраны труда отвечает руководитель предприятия, а по отраслям -
главные специалисты [19]. В хозяйстве имеется также и инженер по охране труда.
Он подчиняется непосредственно руководителю и контролирует состояние охраны
труда на всех производственных участках.
На мероприятия по охране труда на предприятии ежегодно выделяются
денежные средства. В хозяйстве организовано обучение и инструктаж работников по
безопасности движения.
Вводный инструктаж проводят при принятии на работу инженер по ОТ.
Регистрируется он в журнале регистрации вводного инструктажа.
Первичный инструктаж на рабочем месте проводит руководитель
подразделения. Регистрируется в журнале регистрации инструктажей. Повторный инструктаж
проводится перед началом весенне-полевых и осенне-полевых работ руководителем
подразделения, фиксируют его так же, как и первичный.
Внеплановый инструктаж проводится при изменении правил безопасности, при
установлении нового оборудования и при нарушении работником правил техники
безопасности. Этот инструктаж регистрируется так же, как и первичный, но с
указанием причины его проведения.
Целевой инструктаж-перед работами, на которые оформлен наряд-допуск, и
регистрируют в этом наряде.
На фермах и ремонтных мастерских имеются уголки по ТБ состоящие из:
Инструкции по охране труда;
Плакатов, схем и макетов.
Большое внимание уделяется спецодежде и индивидуальным средствам защиты
при выполнении различных работ.
Для допуска к работе с ядохимикатами рабочие достигшие 18 лет, кроме
инструктажа, проходят медкомиссию.
В хозяйстве имеются случаи травматизма. Информация о состоянии
травматизма за последние два года приведена в табл. 4.1.
Таблица 4.1
Информация о состоянии травматизма в хозяйстве
|
Показатели
|
2005
|
2006
|
2007
|
|
Среднегодовое количество работников в хозяйстве, nр Кол-во
несчастных случаев на производстве, n1: Количество дней нетрудоспособности,
Дн
|
570 2 12
|
564 1 14
|
478 2 21
|
|
Коэффициент частоты травматизма Коэффициент тяжести
травматизма
|
13,8 6
|
6,8 14
|
13,1 10,5
|
Основной причиной травматизма в хозяйстве является несоблюдение
требований техники безопасности.
Состояние охраны труда в хозяйстве находится еще не на должном уровне и
имеет ряд недостатков. Поэтому предлагается провести ряд мер по улучшению охраны
труда.
Необходимо внедрить трехступенчатый контроль. На первой ступени ежедневно
за 15...20 минут до начала работы руководитель подразделения проверяет
состояние охраны труда на рабочих местах
На второй ступени главный специалист один раз в 7... 10 дней совместно с
представителя общественности, руководителем участка, инженером по охране труда
проверяют состояние техники безопасности, чтобы предотвратить аварии и
несчастные случаи, изучить устройства и правила регулировок машин и сборочных
единиц.
На третьей ступени создается комиссия, в состав которой входят
руководитель хозяйства и председатель общественности. Комиссия раз в месяц
проверяет состояние охраны труда в производственных подразделениях.
.1.2 Правила безопасности при уборке ботвы картофеля
Безопасность производственных процессов при уборке картофеля
обеспечивается: выбором технологического процесса, приемов, режимов работы,
порядком обслуживания с.-х. машин, содержанием производственных помещений,
поддержанием машин в безопасном состоянии, применением средств индивидуальной
защиты.
При уборке картофеля необходимо, чтобы трактор и сельскохозяйственная
машина находились в исправном состоянии и должны выполнятся правила
безопасности.
Запрещается допускать к работе рабочих, служащих и специалистов,
находящихся в нетрезвом состоянии. Отстранять от работы лиц, нарушающих
требования нормативных документов по охране труда, и допускать их к работе
только после прохождения внепланового инструктажа или внеочередной проверки
знаний. Выезд машин к месту проведения работ разрешается только при наличии у
водителя (тракториста, комбайнера) удостоверения и путевого листа (наряда),
подписанного должностным лицом, ответственным за проведение работ.
В соответствии с установленными требованиями к управлению тракторами
допускаются лица, имеющие документы на право управления машинами и прошедшие
инструктаж но охране труда, достигшие 17 лет. При заправке машин нельзя
допускать разлива топлива и смазочных жидкостей. Поэтому надо использовать
соответствующие средства механизации. При осмотре емкостей нельзя использовать
открытый огонь. Необходимо строго выполнять требования безопасности при работе
с ГСМ.
Перед началом движения трактора необходимо подать звуковой сигнал,
убедиться в отсутствии людей на пути движения и только после этого плавно
трогать трактор с места.
Двигатель машины не должен иметь утечки топлива, масла и воды, пропуска
выхлопных газов в соединениях выхлопного коллектора с двигателем и выхлопной
трубой.
Машины со снятыми кабинами или внешними защитными каркасами к
эксплуатации не допускаются.
При сцепке с трактором подъезжать к ботвоуборочной машине надо на низшей
передаче, плавно и без рывков. При этом тракторист обязан наблюдать за
командами прицепщика, ступни ног держать на педали муфты сцепления и тормоза,
чтобы в случае необходимости быстро остановить машину. Соединять прицепное
устройство можно только при полной остановке трактора по команде тракториста.
Во время навески машины тракторист обязан установить рычаг коробки переключения
передач в нейтральное положение, а ногу держать на тормозе.
Автосцепка, а также система гидроуправлепия навеской должны находиться в
исправном состоянии. Соединения шлангов гидросистемы должны быть надежными и не
допускать подтекания масла в гидросистеме. Гидравлические шланги следует
располагать и закреплять так, чтобы во время работы они не касались подвижных
деталей машин.
Движущиеся, вращающиеся части машин (карданные, цепные, ременные,
зубчатые передачи и т. д.) должны иметь ограждения, обеспечивающие безопасность
обслуживающего.
Часто причинами несчастных случаев являются захваты одежды открытыми
передачами, особенно карданными валами машин, регулировка, устранение
неисправностей на ходу, а также обслуживание механизмов без рукавиц или без
специальных приспособлений. Имеют место порезы рук о режущие аппараты косилок,
диски борон, сошники; захват конечностей ременными и другими передачами,
выгрузными шнеками, высевающими аппаратами сеялок, измельчающими барабанами.
Вывод: многих травм удалось бы избежать, если бы подвижные детали и
механизмы были надежно закрыты кожухами, ограждениями. А также соблюдались все
правила по охране труда, работа осуществлялась на исправной технике и
соблюдались все выше перечисленные правила.
.1.3 Расчёт предохранительной муфты
На модернизированной машине установлена предохранительная кулачковая
муфта для предотвращения поломок рабочих органов при попадании посторонних
предметов. По рассчитанному ранее моменту подбираем жёсткость пружины для
данной муфты при работе при данных условиях.
Рассчитываем кулачковую предохранительную муфту. Выбираем трапециидальные
кулачки. Наружный диаметр муфты рекомендуется принимать:
D=2d, (4.1)
где d-диаметр вала на котором
располагается муфта, диаметр вала 25 мм, тогда d=2·25=50 мм.
По рекомендации число кулачков z=7; ширина кулачка а=8 мм, высота кулачка h=6 мм табл.15.3 /6/. Принимаем угол скоса кулачка α=60є.
Внутренний диаметр муфты
D1=D-2a=50-2·8=34 мм
Средний диаметр кулачков
Dm=
=
=42 мм.
Материал
для кулачков принимаем углеродистая сталь 15, цементированная, с поверхностной
закалкой HRC 58…62.
Расчёт
пружины заключается в определении усилия включения муфты:
Fa=
, (4.2)
где
Тр-расчётный момент при кратковременных перегрузках;
Определяем
момент по формуле:
Тр=
, (4.3)
-передаваемая
мощность, МПа,
где
ω1-угловая
скорость вращения ведомого вала, с-1;
ω1=
=
56,88 с-1
ω- угловая скорость вращения ведущего вала, с-1;
-
передаточное число ременной передачи
Тогда
крутящий момент:
Тр=
281300 Н мм.
Dm-средний
диаметр расположения кулачков;
α-угол профиля кулачка: α>45;
р-угол
трения на кулачках: обычно р=5…6є;
d-диаметр вала;
f-коэффициент
трения в шлицевом или шпоночном соединении вал-полумуфта: f
0.15.
Тр=КрТн,
(4.3)
где
Кр-коэффициент режима работы, Кр=1.5 табл.15.2 /6/
Тр=1.5·281300=421950
Н мм.
Fa=
= 33759 Н.
Из
расчётов видно, что муфта включится при усилии на пружину равное 33759 Н,
исходя из чего выбираем жёсткость пружины, с диаметрами D=40
мм и толщиной проволоки S=2 мм.
4.1.4 Обеспечение пожарной безопасности в РУСПП 1-ая Минская птицефабрика
Ремонт и обслуживание сельскохозяйственной техники при возделывании
картофеля производят в ремонтных мастерских, где необходимо соблюдать и
выполнять правила пожарной безопасности. Для обеспечения пожарной безопасности
в ремонтных мастерских необходимо строго соблюдать противопожарный режим,
своевременно убирать горючие отходы, хранить легковоспламеняющиеся и горючие
материалы в специально отведенных местах. Работы с применением огня, за
исключением помещений горячей обработки металла, как правило, не разрешаются. В
случаях же крайней необходимости только главным инженером сельскохозяйственного
предприятия при согласовании этого вопроса со специалистом но охране труда и
организации пожарной охраны.
В каждом производственном помещении есть средства пожаротушения, а также
инструкция о мерах пожарной безопасности. Средства тушения размещают в
доступных для пользования местах. В хозяйстве применяются огнетушители ОПХ-10,
ОП-5. Они не загромождаются оборудованием и материалами. Основные
противопожарные требования к системам вентиляции и кондиционирования воздуха
направлены на предотвращение образования горючей среды и источников зажигания в
ней и распространения огня но воздуховодам.
Определенную пожарную опасность в помещениях, связанных с холодной
обработкой металлов, представляют процессы охлаждения обрабатываемых деталей и
инструментов легковоспламеняющимися (ЛВЖ) и горючими жидкостями (ГЖ), особенно
при шлифовке цилиндров, так как при этом в качестве охлаждающей жидкости иногда
применяют керосин. При мойке и обезжиривании деталей вместо ЛВЖ и ГЖ надо
применять пожаробезонаспые методы обезжиривания: химический, электрохимический
в ультразвуковом поле, обезжиривание галлоидопроизводными углеводородами, моющими
препаратами и пастами в расплаве солей.
Пожарная опасность сварочных работ связана с применением открытого
пламени, наличием расплавленного металла, который может разбрызгиваться,
искрением, высокой температурой. При газосварке используются кислородные и ацетиленовые
баллоны или ацетиленовые генераторы, из которых возможна утечка пожароопасных
газов. Наиболее опасным является образование обратных ударов пламени от
горелки, резака к ацетиленовому генератору, которые возникают при перегреве
сварочной горелки, закупоривании мундштука горелки расплавленным металлом или
шлаком, засорении сопла кислородного капала. Чтобы пламя обратного удара не
распространялось в баллон, верхняя часть баллона заполняется активированным
углем. Применение ацетиленовых генераторов более опасно, чем баллонов. Для
предотвращения обратного удара пламени в них применяется гидравлический затвор.
Опасное повышение давления в генераторе (выше 0,2 МПа) возникает, если в
реторту загружают карбид кальция с большим содержанием карбидной пыли. Самовоспламенение
ацетилена в реторте, его взрывчатое разложение возникает при попадании в
корзину реторты незначительного количества воды. При этом все тепло
затрачивается па разогрев карбида кальция. Разогрев может наступить и в случае,
если слой карбида кальция в корзине реторты составляет более половины ее
высоты. Особенно опасен саморазогрев в пусковой период, когда воздух из
генератора еще не удален. Для предотвращения повышенного давления в генераторе
в них устанавливают предохранительные клапаны. Не реже двух раз в смену и после
каждого обратного удара необходимо проверять уровень воды в генераторе и в
гидравлическом затворе. Шланги должны быть защищены от механических повреждений
и попаданий па них расплавленного металла. Переносной генератор устанавливают
не ближе 10м от нагревательных приборов, места сварки и других пожароопасных
объектов: печей, кузнечных горнов, вентиляторов, компрессоров.
Пожарную опасность представляет также проведение электросварочных работ.
Места производства сварочных работ обеспечены средствами пожаротушения.
Сгораемые конструкции в радиусе 5 м защищают металлическими листами. При
выполнении сварочных работ в неспециальпых помещениях администрация должна
поставить в известность об этом местное пожарное формирование и назначить лиц,
отвечающих за соблюдение мер пожарной безопасности на месте проведения этих
работ. При этом выдается специальное письменное разрешение (наряд-допуск).
Меры пожарной безопасности при проведении электрогазосварочных, паяльных
работ, а также при варке битумов и смол. Причинами возникновения пожаров в
помещениях для термической обработки металлов могут быть: горючие жидкости,
применяемые для нагревания печей и закалки металлических деталей; соли,
применяемые в расплавленном виде (калиевая и натриевая селитры);
самовоспламенение топлива при нарушении работы форсунок и затухании факела;
нарушение правил разжигания печей.
Пункты технического обслуживания размещаются в общих зданиях ремонтных
мастерских и гаражей, но они отделены противопожарными стенами от стоянки
машин. Наибольшую пожарную опасность представляют контрольно-регулировочные
(топливной аппаратуры), электротехнические и смазочные работы. Это связано с
образованием взрывоопасных концентраций паров бензина с воздухом (нары бензина
тяжелее воздуха и концентрируются внизу помещений на уровне пола, в смотровых
ямах). Техобслуживание электрооборудования может сопровождаться искрением и
коротким замыканием.
Пожаробезонасность помещений для зарядки аккумуляторов связана с тем, что
химический процесс аккумулирования электрической энергии сопровождается
выделением водорода, который в смеси с воздухом образует "гремучий
газ". Опасность его образования увеличивается с увеличением общего
количества заряжаемых аккумуляторов и суммарной силы зарядного тока. Поэтому
необходимо предотвращать скопление выделяемого газа в аккумуляторном помещении
вентиляцией и не допускать искрообразования в помещении.
При работе агрегата в поле на уборке ботвы картофеля, трактор должен быть
в исправном состоянии, не должно быть подтекания ГСМ, а также следить за
тепловым режимом работы двигателя. В ботвоуборочной машине не должен
происходить перегрев рабочих органов. На выхлопной трубе трактора должен
имеется искрогаситель, должен быть огнетушитель и средства пожаротушения.
Вывод: при соблюдении всех правил пожарной безопасности в хозяйстве
количество пожаров снизится или вообще прекратятся.
.2 Безопасность жизнедеятельности в чрезвычайных и экологически
неблагоприятных ситуациях
.2.1 Повышение стабильности производства отросли растениеводства
Отрасль растениеводства, являясь основным поставщиком пищи, должна
постоянно развиваться и устойчиво функционировать в экстремальных условиях.
После аварии на Чернобыльской АЭС на территории Беларуси сложилась
неблагоприятная обстановка из-за радиационного загрязнения. Вокруг территории
республики расположены другие источники возможного радиационного загрязнения в
частности Игналинская АЭС, Смоленская АЭС.
Поэтому необходимо уделять большое внимание при работе на территории
подверженных радиационному загрязнению, а также возможного загрязнения.
Необходимо создавать условия защиты механизаторов, а также придавать большое
внимание выращиванию продукции которая в меньшей степени накапливает
радионуклиды.
Противорадиационная защита механизаторов основывается на принципах
изоляции органов дыхания и тела человека от вредных агентов, находящихся в
окружающем воздухе или фильтрации зараженного воздуха средствами защиты. Защита
от внешнего гамма- и нейтронного излучения строится на принципах поглощения и экранизации
ионизирующих излучений защитными сооружениями, производственными, жилыми и
другими помещениями. Таким образом, противорадиационная защита механизаторов
строится на сочетании применения средств защиты.
При радиоактивном заражении местности трудно создать такие условия, при
которых люди практически бы не облучались. Вместе с тем при организации
противорадиационной защиты должны приниматься все меры, чтобы дозы облучения
механизаторов при работе в поле были по возможности минимальными.
Порядок действия механизаторов, применения средств и способов защиты в
зонах радиоактивного заражения, предусматривающий максимальное уменьшение
возможных доз облучения, называется режимом противорадиационной защиты.
Время непрерывного нахождения механизаторов в местах работы и на открытой
местности зависит от уровня радиации, защитных свойств техники установленных
для данного вида работы доз облучения и организации производственной
деятельности (количество работающих смен).
Ориентируясь на конкретные начальные уровни радиации, зная характер их
спада и располагая данными о защитных свойствах техники, можно заблаговременно
разработать для механизаторов режимы защиты.
К исходным данным для разработки режимов защиты относятся также
необходимая степень защищенности механизаторов, определяемая с учетом
требований норм инженерно-технических мероприятий ГО, и допустимые дозы
облучения, устанавливаемые в соответствии с нормативными документами.
Время непрерывного нахождения на рабочих участках взрослого
трудоспособного населения, принимается минимально необходимым при создавшейся
обстановке.
При разработке режимов работы механизаторов в условиях радиоактивного
заражения важно добиваться максимального сокращения времени вынужденного
прекращения производственной деятельности. Эта проблема может решаться путем
максимального использования защитных свойств техники как в период вынужденной
остановки, так и в процессе работы механизаторов в первые сутки после заражения
местности, когда уровни радиации будут высокими.
Степень защищенности механизаторов в различных условиях, а также условия
жизнедеятельности различных групп механизаторов неодинаковы. Эти особенности
учитывают при разработке режимов защиты механизаторов и работы бригад в
условиях радиоактивного заражения.
Соблюдение режимов защиты механизаторов при неуклонном соблюдении
предусмотренного в них порядка применения средств и способов защиты в
соответствии со сложившейся обстановкой и при какой можно рекомендовать прибор
обеспечивает работу тракторной бригады с минимальным временем прекращения их
производственной деятельности.
Продукцию растениеводства, имеющую высокую степень поверхностного или
структурного радиоактивного загрязнения, перерабатывают. Полученный из зерновых
культур и картофеля крахмал в 50 раз, а спирт в 1000 раз чище исходного
продукта, сахар в 50 раз чище сахарной свеклы. Переработка масличных личных
культур на масло путем экстракции позволяет получить практически во всех случаях
чистую продукцию.
Ведение растениеводства на землях с повышенным содержанием стронция и
цезия. Для организации сельскохозяйственного производства на землях,
загрязненных стронцием-90 и цезием-137, следует провести радиохимический и
химический анализ почвы, определив их содержание в единицах кюри на квадратный
километр (Ки/км2).
В зависимости от плотности загрязнения почвы РВ и с учетом ее
механического и химического состава изменяют структуру посевных площадей таким
образом, чтобы получить продукцию полеводства, пригодную для употребления в
пищу людям или для кормления животных и получения от них продукции с допустимым
содержанием РВ.
В условиях радиационного загрязнения производят специальную обработку
посевов. Для борьбы с фитофторой картофеля проводят опрыскивание его ботвы
фунгицидами в комплексе с внекорневой фосфорно-калийной подкормкой. Для этого
используют смесь бордоской жидкости, хлористого калия и вытяжки суперфосфата.
Норма расхода этих препаратов 2-3 кг действующего вещества на 1 га.
.2.2 Уплотнение почвы и пути ее снижения
Развитие сельского хозяйства обуславливает все более возрастающие темпы
механизации. Сельскохозяйственные машины вследствие значительной массы,
скорости перемещения, использования топлива в качестве энергоносителя, необходимости
их ремонта и хранения создают ряд экологических трудностей, накопление которых
может перерасти в трудноразрешимые экологические проблемы. Воздействие
сельскохозяйственной техники на окружающую среду при возделывании картофеля
заключается в следующем.
1) Уплотнение почвы происходит при удобрений и междурядной обработке.
2) Разрушение
почвы при основной ее обработке и проведения технологических операций
выращивания сельскохозяйственных культур, особенно пропашных культур -
окучивание.
3) Технологические
потери почвы вследствие выноса плодородной земли с сельскохозяйственной
продукцией и на рабочих органах машины за пределы поля, что очень часто
наблюдается при окучивании и уборке картофеля.
4) Возможно
загрязнение почв и вод горючим и маслами вследствие утечки из двигателей,
гидросистем и смазки при транспортировке и заправке машин, при хранении ГСМ, в
местах ремонта техники и т.д. Для предотвращения потерь необходимо своевременно
и полно проводить техосмотр и ремонт оборудования, постов заправки, устранять
негерметичность люков, трещины в швах, утечку топлива вследствие испарения и
загрязнения.
Одним из более опасным воздействием
сельскохозяйственной техники на дерново-подзолистых почвах РБ-уплотнение.
Воздействие на почву рабочих органов и ходовых систем
машинно-тракторных агрегатов зависит главным образом от типа и массы движителей
(гусеничный, колесный). Тракторы МТЗ-80, ДТ-75, Т-70С уплотняют почву на
глубину до 45 см, тракторы Т-150К, К-700 - 50 - 70 см. Негативные явления,
сопутствующие переуплотнению почв:
. Уплотнение почвы связано с изменением ее структуру.
Наиболее ценными для физических свойств. почвы являются поры размерами 100 -
300 мкм и более. Такая структура способствует распределению воды в почве,
проникновению в нее воздуха. Влага, содержащаяся в порах размерами менее 10
мкм, малодоступна растениям.
. Уплотнение почвы ведет к ухудшению воздухообмена в
ней. Интенсивность выделения из уплотненной почвы двуокиси углерода(С0)
уменьшается в 1,2-1,6 раза. Увеличение плотности почвы с 1,25 до 1,40 г/см3
приводит к уменьшению суточного прироста сухого вещества в 1,5 - 2 раза,
поступления азота в растение - в 1,5-1,7 раза.
. Повышение плотности почвы сопровождается увеличением
ее твердости (до трех раз), что в свою очередь сказывается при прорастании
растений.
4. Уплотнение почвы ходовыми системами машин
способствует глыбообразованию. Если на неуплотненных участках земель комьев
размерами более 10 мм содержится 12 - 15%, то после прохода трактора К-700 - 38
- 45%. Вспашка и последующая обработка предварительно уплотненной почвы снижает
ее плотность до 0,9-1,0 г/см3, но при этом образуются глыбы.
Пути и приемы сокращения уплотняющего воздействия МТА
на почву:
. На всех типах среднесуглинистых, тяжелосуглинистых и
глинистых почв при предпосевной обработке и посеве сельскохозяйственных культур
при влажности почвы выше 0,70 полевой влагоемкости, на малосвязных, мягких и
влажных почвах необходимо применять гусеничные трактора.
. При подготовке почвы к севу, севе и уходе за
культурами рекомендуется применять широкозахватные агрегаты.
. Желательно, чтобы проход техники по полю был сведен
к минимуму.
Реализация этих правил достигается следующими
средствами:
применением комбинированных широкозахватных агрегатов
(например, за один проход: обработка почвы, сев пропашных культур с внесением
удобрений или гербицидов или междурядная обработка с подкормкой);
снижение давление в шинах;
сдваивание шин и установка уширителен, что позволяет
снизить среднее статистическое давление движителей на почву почти на 50%;
оптимальное комплектование агрегатов, выбор режимов
работы, движение агрегатов по постоянным маршрутам.
5. ЭКОНОМИЧЕСКОЕ ОБОСНОВАНИЕ И РАСЧЁТ ЭФЕКТИВНОСТИ ИНЖЕНЕРНЫХ РЕШЕНИЙ
Технико-экономические показатели конструкторской разработки
Сущность разработки заключается в изменении ботвоудаляющего рабочего
органа. Рабочий орган более прост в изготовлении, легче и более эффективно
удаляет ботву, как на гребне, так и в междурядиях.
Технико-экономические показатели исчисляем по единой методике для обоих
вариантов: 1. Базовый, (индекс “1”), при расчёте агрегата МТЗ-82 и БДН-4-75/70.
2. Проектный, (индекс “2”), при использовании агрегата МТЗ-82 и машина для
удаления ботвы.
Исходные данные приведены в таблице 5.1.
Таблица 5.1
Исходные данные
|
Наимено-вание работ
|
Варианты применяемой с/х техники
|
Рабочая ширина захвата м.
|
Рабочая скорость, км/ч
|
К исп. раб. врем.
|
Обслуживающий персонал
|
Раз-ряд
|
Масса машины кг.
|
Тариф-ная ставка руб.
|
|
|
|
|
|
Тракто-ристов
|
Вспом. раб
|
|
|
|
|
1
|
2
|
3
|
4
|
5
|
6
|
7
|
8
|
9
|
10
|
|
Удаление ботвы
|
МТЗ-82+ БДН-4-75/70
|
2.8
|
6
|
0,7
|
1
|
--
|
6
|
965
|
777,9
|
|
МТЗ-82+ Машина для удаления ботвы
|
2,8
|
7,24
|
0,7
|
1
|
--
|
6
|
1045
|
777,9
|
.1 Расчёт эксплуатационных показателей
Производительность агрегата на механизированных полевых работах за 1 ч
сменного времени рассчитывается по формуле:
Wч=0,1ВрVрη, (5.1)
где Вр-рабочая ширина захвата, м;
Vр-средняя рабочая скорость агрегата,
км/ч;
η-коэффициент рабочего времени смены;
Wч1=0,1∙2,8∙6∙0,7=1,2
га/ч,
Wч2==0,1∙2,8∙7,24∙0.7=1,41
га/ч.
Годовой объём работ исчисляется по формуле:
Wг=Wч∙Тг (5.2)
где Тг-годовая сезонная наработка машины часов сменного
времени, ч;
Wг1=1,2∙140=168 га.
Wг2=1,41∙140=197,4 га.
.2 Расчет трудозатрат и роста производительности труда
Прямые затраты труда в расчёте на единицу работы агрегата определяется по
формуле:
tп=
, (5.3)
где
Л-количество работников, обслуживающих машину, чел.;
tп1=
=0,83 ч/га.
tп2=
=0,7 ч/га.
Экономию
затрат труда рассчитываем по формуле:
Эт=(tп1-tп2) ∙Wг2; (5.4)
Эт=(0,83-0,7)
∙197,4=25,66 ч.
Рост
производительности труда исчисляем по формуле:
Рит=
, (5.5)
Рит=
=18,6 %.
.3
Материалоёмкость процесса
Материалоёмкость
рассчитывается по формуле:
Ме=
, (5.6)
где
Мj-масса j-й машины, участвующей в производственном процеccе,
кг;
Ме1=
=7,99 кг/га.
Ме2=
=7,2 кг/га.
Снижение материалоёмкости производственного процесса определяется по
формуле:
jм=
, (5.7)
jм=
= 10,97%.
.4
Энергоёмкость процесса
Величина
энергоёмкости процесса определяем как отношение энергетической мощности
двигателя к часовой производительности:
Эе=
, (5.8)
где
α-коэффициент использования мощности двигателя,
принимаем из операционной технологической карты;
Эе1=
=35 кВт ч/га.
Эе2=
=29,78 кВт ч/га.
Снижение
энергоемкости процесса исчисляют по формуле:
Jэе=
, (5.9)
Jэе=
= -14,9%.
5.5 Расход топлива
Расход топлива на единицу работы определяем по формуле:
G=
, (5.10)
где
Nе-номинальная
мощность двигателя, кВт;
q-удельный
расход топлива на единицу мощности двигателя, кг/кВт;
G1=
=9,03 кг/га.
G2=
=7,68 кг/га.
Снижение расхода топлива определяем по формуле:
JG=
, (5.11)
JG=
= -14,9%.
Экономия
основного топлива на сезонный объём работ новой машины:
Эт=(G1-G2)∙Wг2, (5.12)
Эт=(9,03-7,68)
∙197,4=266,5 кг.
.6
Капиталоёмкость процесса
Удельные
капитальные вложения на единицу работы определяется по формуле:
Куд=
, (5.13)
где
Бсj-балансовая стоимость или востановителтная стоимость j-й
машины участвующей в процессе работы, руб.;
Куд1=
=23541,7 руб./га.
Куд2=
= 19382 руб./га.
.7
Расчёт эксплуатационных издержек затрат
Прямые
затраты на единицу работы которые связаны с эксплуатации сельскохозяйственной
техники рассчитывается по формуле:
Uэ=Uэ+Uсоц+Uгсм+Uр+Uа+Uпр, (5.14)
где
Uз-затраты
на оплату труда обслуживающего персонала, руб.;
Uсоц-отчисление на социальные нужды, руб.;
Uгсм-стоимость горючесмазочных материалов, руб.;
Uр-затраты на ремонт и техническое обслуживание, руб.;
Uа-амортизационные отчисления на ремонт
сельскохозяйственной техники, руб.;
Uпр-прочие затраты, руб.
Затраты
на оплату труда обслуживающего персонала в расчёте на еденицу работы определяем
по формуле:
Uз=
, (5.15)
где
nj-количество обслуживающего персонала j-го
разряда, чел.;
Стj-тарифная
часовая ставка оплаты труда обслуживающего персонала по 6-му разряду, руб.;
С=777,9 руб/ч;
Кув-коэффициент
увеличения тарифного заработка, который учитывает все виды доплат, надбавок,
премий и компенсаций;
Uз1=
=1296,5руб./га.
Uз2=
=1103,4 руб./га.
Отчисление
на социальные нужды устанавливаемые в размере 30,9% от суммы начислений
заработной платы.
Uсоц=0.309∙Uз, (5.16)
Uсоц1=0.309∙1296,5=400,6 руб./га
Uсоц2=0.309∙1103,4=340,9 руб./га
Затраты
на горючие и смазочные материалы исчисляем исходя из расхода топлива на единицу
работы и комплексной цены топлива 1кг основного топлива
Uгсм=G∙Цком, (5.17)
где
Цкомп-комплексная цена 1 кг топлива, Цкомп=1150руб.
Uгсм1=9,03∙1150=10385 руб./га
Uгсм2=7,68∙1150=8832 руб./га
Затраты
на ремонт и техническое обслуживание сельскохозяйственной техники определяем по
формуле
Uр=
, (5.18)
где
rт-норматив
затрат на техническое обслуживание и ремонт трактора, %;
rм-норматив затрат на техническое обслуживание
сельскохозяйственной машины, %:
Uр1=
=3131,5
руб./га.
Uр2=
=2599,7 руб./га.
Амортизационные
отчисление на реновацию сельскохозяйственной техники в расчёте на единицу
работы определяем по формуле:
Uа=
, (5.19)
где
αт-норма
ежегодных амортизационных отчислений от баланса вой стоимости трактора, %;
αм-норма
ежегодных амортизационных отчислений от баланса вой стоимости
сельскохозяйственной машины, %.
Uа1=
=2546,1 руб./га.
Uа2=
=2085,2 руб./га.
Прочие
затраты включают издержки на страхование и хранение сельскохозяйственной
техники:
Uпр=
, (5.20)
где
Нхст-норматив затрат на страхование и хранение трактора, %;
Нхсм-норматив
затрат на страхование и хранение сельскохозяйственной техники, %.
Uпр1=
= 353,1руб./га.
Uпр2=
=290,7руб./га.
Uэ1=1296,5+400,6+10385+3131,5+2546,1+353,1=18112,8
руб./га.
Uэ2=1103,4+340,9+8832+2599,7+2085,2+290,7=15251,9
руб./га.
Таблица 5.2
Состав и структура эксплуатационных издержек
|
Статьи затрат
|
1 (базовый)
|
2 (проектируемый)
|
|
руб.
|
В % к итого
|
руб.
|
В % к итого
|
|
1. Оплата труда 2. Отчисления на социальные нужды 3.
Стоимость горючего и смазочного материала 4. Техническое обслуживание и
ремонт машин 4а. Всего материальных затрат (3+4) 5. Амортизационные
отчисления 6. Прочие затраты.
|
1296,5 400,6 10385 3131,5 13318,5 2546,1 353,1
|
7,2 2,2 57,3 17,2 74,5 14,1 2
|
1103,4 340,9 8832 2599,7 11431,7 2085,2 290,7
|
7,2 2,2 57,9 17 74,9 13,7 2
|
|
7. Итого затрат
|
18112,8
|
100
|
15251,9
|
100
|
По результатам табл.5.2 исчисляем снижение эксплуатационных издержек по
формуле:
Juэ=
, (5.21)
Juэ=
=-15,8 %
Годовая
экономия эксплуатационных затрат определяем по формуле:
Эиг=(Uэ1-Uэ2)∙Wг2, (5.22)
Эиг=(18112,8-15251,9)∙197,4=564741,7
руб.
.8
Расчёт показателей эффективности капиталовложений
Годовой
доход рассчитывается по формуле:
Дг=Эиг+(Uа2∙Wг2-Uа1∙Wг1),
(5.23)
Дг=564741,7+(2085,2∙197,4-2546,1∙168)=548615,4
руб.
Чистый
дисконтированный доход определяем по формуле:
ЧДД=Дг∙αт-∆К,
(5.24)
где
αт-коэффициент
приведения по времени и началу рассчитываемого периода;
ΔК-дополнительные капитальные вложения, руб.;
Коэффициент
приведения рассчитывается по формуле:
α т=
, (5.25)
где
Е-банковская ставка за долгосрочный кредит, Е=0.15;
Т-средний
амортизационный срок службы сельскохозяйственной машины, лет.
Т=
, (5.26)
где
асхм-годовая норма амортизации, %;
Т=
8 лет.
α т=
=4,4873.
Сумма
дополнительных капитальных вложений рассчитываем по формуле:
ΔК=К2-К1, (5.27)
где
К1 и К2-капиталовложение соответственно в базовом и
проектируемом вариантах, руб.
К=
, (5.28)
К1=24746500
+1290000=3955007,5 руб.
К2=24746500
+1161000=3826007,5 руб.
ΔК=3826007,5-3955007,5= -129000 руб.
ЧДД=548615,4
∙4,4873-(-129000)=2590801,8 руб.
Коэффициент возврата капитальных вложений
; (5.29)
.
Срок
возврата капитальных вложений
; (5.30)
года.
Все
полученные данные сводим в таблицу 5.3.
Таблица 5.3
Технико-экономические показатели
|
Показатели
|
Вариант
|
Отклонение (+;-)
|
|
1 (базовый)
|
2 (проектируемый
|
|
|
1. Технические: производительность, га/ч годовой объем
работ, га материалоёмкость процесса, кг/га энергоёмкость, кВт ч/га расход
топлива, кг/га экономия топлива на годовой объём работ, кг 2. Показатели
затрат труда: прямые затраты труда, ч/га рост производительности труда, %
|
1,20 168 7,99 35 9,03 -- 0,83 --
|
1,41 197,4 7,2 29,78 7,68 266,5 0,70 18,6
|
0,21 29,4 -0,79 -5,22 -1,35 -- -0,13
|
|
3. Показатели экономической эффективности: эксплуатационные
затраты: всего, руб/га в.ч. оплата труда материальные затраты годовая
экономия эксплуатационных затрат, руб. капиталоёмкость, руб/га годовой доход,
руб. чистый дисконтированный доход, руб. коэффициент возврата инвестиций срок
возврата инвестиций год
|
18112,8 1296,5 13516,5 -- 3955007,5 -- -- -- --
|
15251,9 1103,4 11431,7 564741,7 3826007,5 548615,4
2590801,8 4,1 0,26
|
-2860,9 -193,1 -2102,8 -- 129000 -- -- -- --
|
Из приведённых расчётов видно, что использование проектируемой разработки
в хозяйстве является экономически эффективно и целесообразно. При
проектировании годовой доход составил 548615,4 руб., срок возврата инвестиций
0,26 года, чистый дисконтированный доход равен 2590801,8 руб. При этом прямые
затраты труда снижены на 0,13 ч/га производительность труда выросла на 18,6%.
Проектируемый вариант получился наиболее экономически выгодным.
ЗАКЛЮЧЕНИЕ
. СПК «Радостовский» имеет 3165 га пашни. Специализируется на
производстве мясомолочной продукции, зерновых, зернобобовых и кормовых культур.
В хозяйстве производят посев новых сортов картофеля, зерновых культур, сахарной
свеклы, рапса. Урожайность основных сельскохозяйственных культур за последние
три года находилась на уровне среднереспубликанских показателей. Оснащённость
тракторами соответствует среднереспубликанским нормативам, но за последние три
закупались марки новых тракторов.
. Хозяйство, как и все хозяйства республики, находится в сложном
экономическом положении, ощущается недостаток финансовых средств, что не
позволяет вести расширенное производство, приобретать, производить техническое
обслуживание и ремонт тракторов и сельхозмашин, большинство которых выработало
установленные амортизационные сроки.
. В проекте приведён анализ машин и рабочих органов машин для удаления
ботвы. Рассмотрены и приведены достоинства и недостатки этих машин и рабочих
органов и предложена конструкция рабочего органа который исключает некоторые
недостатки существующих аналогов.
. В дипломном проекте рекомендуется внедрение машины для удаления ботвы
картофеля цепочно-роторным ботвоудаляющим аппаратом, что позволит улучшить
качество и полноту удаления ботвы и растений в междурядиях картофеля.
Предложенная конструкция машины позволит сократить расход топлива на единицу
площади на 1,35 кг и также приведёт к сокращению эксплуатационных издержек на
15,8%.
СПИСОК ИСПОЛЬЗОВАННОЙ ЛИТЕРАТУРЫ
1. Справочник
картофелевода. Под ред. А.И. Замотаева.- М.: ВО “Агро промиздат”, 1987.-351 с.:
ил.
.
Индустриальная технология производства картофеля. Сост. К.А. Пшеченков.-М.:
Россельхозиздат, 1985.-239 с., ил.
. Интесивные
технологии возделывания сельскохозяйственных культур. Г.В. Коренев, Г.Г.
Гатаулина, А.И. Зинченко и др.; Под ред. Г.В. Коренева. - М.; Агропромиздат,
1988.-301 с.; ил.
. Практикум
по сельскохозяйственным машинам: Для с.-х. вузов по спец. “Механизация сель.
хоз-ва”. И.Р Размыслович, Р.С. Сташинский, В.И. Ходосевич и др.-Мн.: Ураджай,
1997.-с.:ил.
. Заводская
инструкция к ботвоуборочной машине БДН-4. Лидсельмаш.
.Детали машин
в примерах и задачах. Под ред. С.Н. Ничепарчука.-М.: Машиностроение, 1981.-382
с., ил.
. А.П. Ляхов
и др. Эксплуатация машинотракторного парка.-Мн.: Уроджай, 1991-336 с., ил.
.
Методические указание. Эксплуатация машинно-тракторного парка.
.
Районированые сорта-основа высоких урожаев. Кат. Райониров. Сортов по Белоруси.
Отв. Ред. А.М. Старовойтов.-Мн.: Уроджай, 1995-480 с.: ил.
. Агрохимия.
И.Р. Вильдфлуш, С.П. Кукреш, В.А. Ионас и др.-Мн.: Ураджай, 1995-480 с., ил.
. Петров Г.Д.
Картофелеуборочные машины.-2-е изд., переработан и доп.-М.: Машиностроение,
1984.-320 с., ил.
12.
Механизация технологических процессов сельскохозяйственного производства: /
Науч. - техн. бюл./ РАСХН. Сиб. от - ние. СибИМЭ. - Новосибирск, 1997. - Вып.
1. 56с. (с. 36 - 38).
. А.Е.
Курсовое проектирование деталей машин.- М: Высш. Шк., 1991-432 с.
14. А.Т
Дорофенюк, В.Т. Квасов. Охрана труда в сельском хозяйстве: Учеб. Пособие.-Мн.:
Ураджай, 2000.-247 с., ил.
. Гражданская
оборона на объектах агропромышленного комплекса. И.М. Дмитриев, Г.Я. Курочкин,
О.М. Мдивнишвили и др.; Под ред. Н.С. Николаева, И.М. Дмитриева.-М.:
Агропромиздат, 1990-351 с.,:ил.
. О.И.
Родькин, Т.М. Дайнеко, Л.А. Веремейчик, А.Ф. Гуз. Учебно-методическое пособие.
Сельскохозяйственноя экология. Минск-2001.
.
Методическое указание ”Экономическое обоснование дипломных проектов”.- Мн.:
1996.-54 c.
.
Методические указания. Экономическое обоснование дипломных проектов. Минск.
2003.
. Типовое
положение о службе охраны труда организации утвержденное постановлением
Министерства труда и социальной защиты РБ от 24 мая 2002г. №82 (национальный
реестр трудовых актов РБ, 2002 №89).