Очистка обсаженного ствола скважины от песчаных пробок с помощью беструбных гидробуров
Содержание
ВВЕДЕНИЕ
. БОРЬБА С ОБРАЗОВАНИЕМ ПЕСЧАНЫХ
ПРОБОК В СКВАЖИНАХ
.1 Методы предотвращения поступления
песка в скважину
.2 Ликвидация песчаных пробок
.3 Оборудование и механизмы,
используемые при удалении песчаных пробок в скважинах
.4 Разработки конструкторов
советского периода
2.
Практическая часть. Вариант № 26
.
Литература
ВВЕДЕНИЕ
В процессе эксплуатации нефтяных скважин в
стволе образуются песчаные пробки, которые в ряде случаев доходят до интервалов
перфорации эксплуатационной колонны и приводят к снижению дебита, а в ряде
случаев к полному прекращению поступления жидкости из пласта. Особенно
интенсивно процесс образования песчаных пробок происходит на месторождениях
нефти, продуктивные горизонты которых представлены слабосцементированными песчаниками
и глино-песчанистыми горными породами. Необходимость промывки песчаных пробок
создает проблемы технического характера, связанные с необходимостью проведения
монтажно-демонтажных работ, а также с необходимостью применения специального
оборудования для промывки ствола скважины. Кроме этого, процесс образования
пробок и последующие работы по их ликвидации приводят к снижению добычи нефти и
снижают экономическую эффективность добычи нефти скважинными штанговыми
насосами. Один из способов очистки обсаженного ствола скважины от песчаных
пробок - с помощью беструбных гидробуров. Этой теме и посвящена данная работа,
состоящая из теоретической и практической (расчетной части).
1. БОРЬБА С ОБРАЗОВАНИЕМ ПЕСЧАНЫХ ПРОБОК В
СКВАЖИНАХ
Борьба с образованием песчаных пробок - одна из
старейших проблем нефтяной промышленности. Пробкообразование в скважинах в
основном происходит при эксплуатации нефтяных скважин на месторождениях
Азербайджана, Краснодарского края, Туркмении, водозаборных скважин, пробуренных
на сеноманский горизонт Западной Сибири, а также при осуществлении теплового
воздействия на залежь.
Песок (частицы породы) выносится из пласта в
ствол скважины в результате разрушения пород, обычно рыхлых,
слабо-сцементированных, под воздействием фильтрационного напора при
определенной скорости фильтрации или градиенте давления. Вынос песка из пласта
приводит к нарушению устойчивости пород в призабойной зоне, к обвалу пород и,
как следствие, к деформациям (смятиям) эксплуатационных колонн и нередко к
выходу из строя скважин. Песок, поступающий в скважину, осаждаясь на забое,
образует пробку, которая существенно снижает текущий дебит скважины. Удаление
пробки с забоя требует трудоемких ремонтных работ и связано с неизбежными
потерями добычи нефти. Песок, выносимый из пласта, приводит также к усиленному
износу эксплуатационного оборудования.
Существующие методы борьбы с пробкообразованием
можно разделить на три группы: 1) предотвращение поступления песка в скважину;
2) вынос песка с забоя на поверхность и приспособление оборудования к работе в
пескопроявляющих скважинах; 3) ликвидация песчаных пробок.
Рис 1 Последовательность выполнения работ при
текущем ремонте скважин
.1 Методы предотвращения поступления песка в
скважину
Избежать разрушения пород можно уменьшением
дебита до определенного допускаемого уровНя, при этом уменьшается скорость
фильтрации, депрессии давления и, как следствие, напряжения в породе. Однако в
условиях слабосцементированных пород эксплуатация скважин при таких режимах
нередко оказывается экономически нерентабельной. Поэтому в основном применяют
различные забойные фильтры или осуществляют крепление пород в призабойной зоне.
Большинство исследователей объясняют вынос песка
в скважину действием сил трения и образующимся
при этом градиентом давления при фильтрации
жидкости в скважину. При высоких градиентах давления и недостаточной прочности
цементирующего материала зерна песчаника отделяются от основного массива и
выносятся в скважину.
При разработке продуктивных пластов, сложенных
рыхлыми песчаниками, в ПЗП может образовываться зона подвижного песка. В этом
случае в первые месяцы эксплуатации скважины наблюдается интенсивное
неконтролируемое пескопроявление, связанное с вымыванием песка и образованием
каверны у кровли пласта, либо у неразрушенного пропластка при неоднородном
пласте.
На образование и характер пластической области
влияют многие факторы: перераспределение около горной выработки ранее
существовавших напряжений, вызванное бурением; действие бурового раствора на
цементирующий материал, скрепляющий зерна песка; ударные нагрузки на
призабойную зону при кумулятивной перфорации и т. д.
При выносе песка в обсадной или лифтовой
колоннах скважины могут образоваться песчаные пробки, которые ограничивают ее
производительность. Для восстановления дебитов пробки удаляют, используя обычно
желонки или осуществляя промывку через колонну сифонных труб, спускаемую внутрь
лифтовой колонны. В тех случаях, когда пробки образуются очень часто, может
оказаться более выгодным для поддержания постоянной добычи установить на забое
средства задержания песка. Это является основным при решении вопроса -нужно ли
предупреждать разрушение призабойной зоны.
В некоторых случаях (месторождение Вентура, шт.
Калифорния, США), успешно проводили добычу с одновременным выносом песка.
Однако такой подход может оказаться опасным, так как он создает возможность
нарушения обсадной колонны и потери скважины.
Разрушение обсадных колонн и фильтров Вынос
песка обычно увеличивается с ростом отбора продукции, при увеличении
водонефтяного фактора, истощении эксплуатируемого пласта и др.
Применяемые методы, направленные на
предотвращение выноса песка в скважину делят на три группы:
механические методы, предполагающие создание
искусственных перемычек, предотвращающих доступ песка в скважину;
химические методы, основанные на закачке в пласт
веществ, впоследствии твердеющих и цементирующих песок;
комбинированные методы, предполагающие
использование механических фильтров и химическое закрепление зерен песка.
К технологическим методам предотвращения
пескопроявлений в скважинах относится прежде всего, регулирование отборов
флюидов из скважины. При этом определенное значение имеет вязкость флюида в
пластовых условиях. Чем выше вязкость флюида, тем меньший градиент давления
может быть критическим, то есть таковым, при котором начинается вынос песка.
На практике осуществить такое регулирование
отборов, чтобы совершенно предотвратить вынос песка из призабойной зоны в ствол
скважину, невозможно. Спустя некоторое время песок будет накапливаться в
стволе, образуя песчаную пробку.
При образовании песчаных пробок на забое скважин
дебит скважин снижается или скважина полностью прекращает подачу продукции.
Для удаления песчаной пробки применяется прямая
или обратная промывка скважин. При этом в качестве промывочных жидкостей
используются следующие растворы: водометанольный, двухфазные пены, конденсат и
т. д. Основными недостатками технологии промывки песчаных пробок с данными
растворами являются:
большие гидравлические потери по БДТ, в связи с
чем при проведении работ наблюдаются высокие устьевые давления (до 100-130
кгс/см2), что приводит к разрушению структуры пенных растворов, из-за их
недостаточной стабильности;
низкая скорость восходящего потока, не всегда
обеспечивающего полный вынос песка из скважины и т.д.
Для предотвращения выноса песка из призабойной
устанавливаются противопесочные фильтры.
Намывные гравийные фильтры в открытом стволе
устанавливаются там, где прочность призабойной зоны позволяет расширить ствол
скважины. Эти фильтры обладают более низкими фильтрационными сопротивлениями и,
как следствие, более высокой продуктивностью по сравнению с внутриколонными
гравийными фильтрами или укреплением призабойной зоны химическими реагентами.
При одновременной эксплуатации нескольких
пластов, среди которых только некоторые нуждаются в оборудовании гравийными
фильтрами, наиболее предпочтительными являются гравийные фильтры, изготовленные
на поверхности. Здесь можно чередовать обычные фильтры с гравийными.
Щелевидные фильтры дороги и не всегда надежны,
поэтому применяют и другие способы оборудования забоя для предотвращения
поступления песка в скважину. Например, забой скважины оборудуют иногда
металлокерамическими, песчано-пластмассовыми или гравийными фильтрами.
Последние создают путем заполнения гравием кольцевого пространства между
трубным фильтром и стенками скважины. Считают, что для образования надежного
песчаного «моста» достаточен слой гравия толщиной в 5-6 диаметров его зерен. Размер
зерен и гравия также определяют по диаметру зерен 10%-ной фракции кривой
механического состава пластового песка d10.
Этот перечень может несколько изменяться в связи
с разнообразием устройств и способов, применяемых для создания гравийных
фильтров, а также различиями в техническом оснащении буровых установок.
.2 Ликвидация песчаных пробок
Песчаные пробки периодически промывают жидкостью
или чистят гидробуром.
В качестве промывочной жидкости применяют нефть,
воду (обработанную ПАВ), глинистый раствор, аэрированную жидкость, пену,
плотность которых соответствует пластовому давлению. Промывка основана на
использовании энергии струи закачиваемой жидкости для разрушения песчаной
пробки и выноса песчинок на поверхность. Возможны прямая, обратная, комбинированная
и непрерывная промывки.
При прямой промывке жидкость закачивают в НКТ,
вынос песка происходит по затрубному пространству. При обратной промывке
создают поток в обратном направлении. Струя, выходящая из НКТ, лучше размывает
пробку. Для улучшения разрыхления пробки на конец НКТ.навинчивают различные
наконечники (кососрезанную трубу, насадку, фрезу и др.). Однако при прямой
промывке скорость восходящего потока меньше, чем при обратной промывке. Поэтому
при комбинированной промывке размыв осуществляют путем закачки в НКТ, а для
выноса песка периодически переходят на обратную промывку. Промывочное
устройство, которое устанавливают выше башмака НКТ, позволяет закачивать
жидкость в затрубное пространство, размывать через башмак НКТ и осуществлять
подъем по НКТ. При промывке трубы подвешивают на вертлюге подъемника, а
жидкость поступает по промывочному шлангу. Для обратной промывки устье скважины
герметизируют промывочной головкой (сальником). При непрерывной прямой промывке
применяют промывочную головку, которая позволяет наращивать трубы почти без
прекращения прокачки жидкости.
Для чистки песчаных пробок применяют также
гидробур, который спускается в скважину на канате. Гидробуром ударяют о
поверхность пробки, при этом долото разрыхляет ее. При подъеме плунжер
поршневого насоса гидробура засасывает жидкость с песком из-под долота. Песок
отделяется в сепараторе и поступает в желонку, а жидкость - под плунжер насоса.
Беструбный гидробур действует как желонка
многократного действия. Он состоит из трех основных узлов долота, служащего для
разрушения породы; желонки, в которой собирается разбуренная порода, и
плунжерного насоса, создающего циркуляцию жидкости в скважине. При
необходимости для увеличения веса инструмента между долотом и желонкой
устанавливают утяжелитель из толстостенной трубы. После падения инструмента на
забой долото врезается в породу. Плунжер насоса под действием собственного веса
и инерции при ударе двигается вниз, вытесняя жидкость из корпуса насоса через
отверстие бокового плоского клапана.
Песчаные пробки удаляют чисткой ствола желонкой
или промывкой скважины. Чистка скважины - длительный и трудоемкий процесс,
вызывающий к тому же сильный износ оборудования скважины. Ее применяют лишь на
неглубоких скважинах при небольшой мощности пробок. Для чистки используют
желонки различных типов: простые, поршневые и автоматические. Желонку спускают
на канате в скважину, и когда от желонки до пробки остается несколько метров,
отпускают тормоз лебедки. Под действием собственного веса желонка падает вниз и
с силой ударяется о пробку. При ударе клапан желонки открывается и некоторое
количество песка попадает в желонку. Для лучшего заполнения желонки ее
несколько раз приподнимают и ударяют о пробку, после чего желонку извлекают на
поверхность для очистки.
1.3 Оборудование и механизмы, используемые при
удалении песчаных пробок в скважинах
Подьемная лебедка ЛПТ-8
Предназначена для выполнения спуско-подъемных
операций при ремонте и освоении нефтяных и газовых скважин, оборудованных
стационарными вышками и мачтами. Применяется в районах с умеренным климатом.
Подъемная лебедка ЛПТ-8 - модификация .установки УПТ-32. отличается отсутствием
собственной вышки, дополнительно комплектуется цепным колесом для привода
ротора и безопасной катушкой для раскрепления резьб труб и подтаскивания
тяжестей к устью скважины. Подъемная лебедка - самоходный подъемник,
смонтированный на шасси гусеничного трактора Т170,00-1. Состоит из коробки
передач, однобарабанной лебедки, подлебедочной рамы-кронштейна, узла привода
ротора, упорных домкратов и безопасной катушки. Барабан подъемной лебедки
свободно сидит на опорах качения на валу, размещенном также на опорах качения в
сварной станине коробчатой конструкции. Левая (от водителя) реборда барабана с
зубьями по окружности является одновременно колесом храпового механизма. На
правой реборде барабана закреплен шкив одноленточного тормоза со сменными
колодками. Внутри шкива размещена однодисковая фрикционная муфта
пневматического действия. Концы вала барабана выходят за опоры; на них
размещены безопасная катушка слева и цепное колесо привода ротора с зубчатой
муфтой включения справа. Для предохранения подъемной лебедки от раскачивания и
опрокидования во время работы на скважине с передней и задней сторон трактора
предусмотрены откидные домкраты -упоры. Всеми механизмами подъемника (за
исключением муфты включения цепного колеса привода ротора) управляют из кабины
водителя.
В комплект входит : Подъемная лебедка в сборе,
запасные части и инструмент.
Номинальное тяговое усилие, кН- 84
Мощность привода, кВт- 118
Частота вращения барабана, с- 1.35-5.35
Количество скоростей намотки: прямых - 4
обратных - 2
Габаритные размеры, мм- 6.430x2.550x3.087
Масса, кг- 18.400
Монтажной базой этого подъемника является
гусеничный трактор Т-130.1.Г (рис. 2), обеспечивающий ремонт скважин глубиною
до 2500 м. Каждая из четырех скоростей коробки достигается одновременным
включением обеих муфт. На свободном конце ведомого вала III установлена
коническая шестерня 8 для передачи конической шестерни 6 трансмиссионного вала
V лебедочного блока.
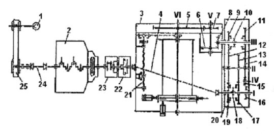
Рис. 2. Подъемная лебедка ЛПТ-8: 1 - рама; 2 -
топливный бак; 3 - воздушные баллоны; 4 - компрессор; 5 - пульт управления; 6 -
лебедка; 7 - карданный вал; 8 - консольная рама; 9 - коробка передач; 10 - безопасная
катушка; 11 - механизм привода ротора; 12 - съемная приставная лестница; 13 -
откидной винтовой упор
Универсальный винтовой ограничитель подъема
талевого блока 21 приводится от барабана цепной передачей. Привод навесного
оборудования подъемника осуществляется (рис. 3) от тягового двигателя трактора
2 через коробку отбора мощности 22, установленную на задней по ходу стенке
корпуса бортовых фрикционов 23, карданный вал 4 и коробку передач 20,
прикрепленную к станине лебедочного блока 3.
Рис. 3. Кинематическая схема подъемной лебедки
ЛПТ-8: I - компрессор; 2 - двигатель; 3 - лебедочный блок; 4 - карданный вал;
5, 7 - шестерни; 6, 8 - шестерни конические; 9 - шестерня 3-й и 4-й скоростей;
10 - муфта; II - шестерня 1-й и 2-й скоростей; 12, 13, 14 - шестерни
промежуточного вала; 15, 16 - шестерни обратного вращения барабана; 17 -
шестерня 2-й и 4-й скоростей; 18 - муфта переключения скоростей; 19 - шестерня
1-й и 3-й скоростей; 20 - коробка передач; 21 - ограничитель подъема талевого
блока; 22 - коробка отбора мощности; 23 - бортовой фрикцион; 24 - карданный
вал; 25 - передача ременная; I - ведущий вал; II - промежуточный вал; III -
ведомый вал; IV - ось шестерни заднего хода; V - вал силовой передачи; VI - вал
барабан
Основные узлы подъемной лебедки - силовая
передача, электропневматическая лебедка и пневматическая система управления.
Лебедка однобарабанная. Все узлы и механизмы
лебедочного блока - барабанный вал в сборе, вал силовой передачи, тормозная
система, храповое устройство, ограничитель подъема талевого блока, кожухи и
ограждения - собраны на цельносварной станине коробчатого типа. Барабан
включают посредством собранной внутри тормозной шайбы фрикционной муфты. Шайбу
крепят к ребордам барабана.
На правом конце барабанного вала по ходу
установлена безопасная шпилевая катушка, на левом - цепное колесо привода
ротора.
Тормозная лента выполнена из пружинной стали с
наклеенным на ее внутреннюю поверхность фрикционным материалом. Для длительного
удержания колонны труб или штанг на весу в лебедке предусмотрено храповое
устройство.
Фрикционная муфта однодисковая, пневматическая.
Для включения барабана лебедки воздух от пневмосистемы подается в вертлюжок,
ввернутый в торец вала барабана.
Пневмосистемы питаются от двухцилиндрового
одноступенчатого компрессора, привод которого осуществляется от двигателя
трактора посредством карданного вала и ременной передачи. Сжатый воздух из
компрессора 4 подается в воздушные баллоны 3, из которых в процессе работы
необходимо удалять жидкость. Компрессор и топливный бак 2 расположены спереди
трактора на удлиненной части рамы перед радиатором.
Для крепления подъемника в рабочем положении
имеются два откидных винтовых упора 13.
У шестискоростной коробки передач КП-100 четыре
прямые скорости и две обратные.
Такая компоновка создает лучшие условия для обслуживания
коробки передач, обеспечивает доступ к прицепному устройству и бортовым
фрикционам трактора.
Привод воздушного компрессора 1 осуществляется
от ходового двигателя трактора с помощью карданного вала 4 и ременной передачи
25.
В корпусе коробки передач на роликовых
подшипниках установлены ведущий I, промежуточный II, ведомый III валы и ось
паразитной шестерни заднего хода IV. На бронзовых втулках ведущего вала
установлены шестерня 19 первой и третьей скоростей, шестерня 17 второй и
четвертой скоростей, между которыми размещена муфта переключения скоростей 18.
На ведущем валу также установлена подвижная шестерня 16. На промежуточном валу
неподвижно смонтированы шестерни 14, 13 и 12, на бронзовых втулках ведомого
вала - шестерня 11 первой и второй скоростей и шестерня 9 третьей и четвертой
скоростей, между которыми находится муфта переключения 10.
На оси IV коробки передач 20 на двух роликовых
подшипниках установлена шестерня 15, при работе которой совместно с подвижной
шестерней 16 осуществляется обратное вращение барабана.
Трансмиссионный вал, помещенный в герметичной
масляной ванне станины, передает через шестерни 7 и 5 вращение барабанному валу
VI. Барабан включают посредством фрикционной муфты.
.4 Разработки конструкторов советского периода
Советскими специалистами была проделана большая
работа по улучшению технологии и созданию специального высокопроизводительного
оборудования для очистки скважин от песчаных пробок. Научными сотрудниками
ВНИИбурнефти А. А. Мининым, К. А. Чефрановым и А. А. Погарским разработан
специальный беструбный гидробур, который, как показали промышленные испытания,
в 2-3 раза эффективнее желонок. Гидробур, как и желонку, спускают в скважину на
канате: при достижении им пробки верхняя часть его продолжает двигаться вниз, в
то время как нижняя часть покоится на забое.
При обратном движении вверх часть пробки вместе
с жидкостью засасывается во внутреннюю полость гидробура. При повторении
возвратно-поступательных движений полость гидробура постепенно заполняется
песком. Опорожнение гидробура от песка производится, как и в обычной желонке,
при его подъеме на поверхность.
Работы по совершенствованию конструкции
беструбного гидробура продолжаются.
Рис 4. Гидробур БГ-120.
-верхний клапан;
- пружина;
- плунжер;
- нижний клапан;
- камера-желонка;
- долото;
- центральная трубка.
Еще более эффективным средством для очистки
песчаной пробки в неглубоких скважинах с низким пластовым давлением оказался
струйный насос, разработанный Особым конструкторским бюро по бесштанговым
насосам.
В отличие от обычной промывки песчаной пробки,
при применении струйного насоса давления на пласт со стороны столба промывочной
жидкости не создается, что имеет очень важное значение.
Рис 5. Струйный насос.
Основными узлами погружного оборудования
установки является струйный насос с приспособлением для разрушения плотных
песчаных пробок и колонна сдвоенных труб. Жидкость к соплу струйного насоса
подается промывочным агрегатом через шланг высокого давления, промывочную
головку и кольцевое пространство сдвоенных труб. Из сопла насоса рабочая
жидкость с большой скоростью выходит в камеру смешения диффузора, увлекая за
собой имеющуюся там пластовую жидкость и создавая постоянную депрессию,
благодаря чему обеспечивается постоянный отбор размытой пробки из скважины.
Общее время ремонта скважин при помощи установки
струйного насоса, включая время на спуско-подъем сдвоенных труб, в два-два с
половиной раза меньше времени чистки желонкой пробки той же мощности.
2. Практическая часть
Вариант 26
Задача VI.1
2. Определить необходимую мощность двигателя и время на чистку песчаной пробки
гидробитумом.
Исходные данные: глубина скважины 1150 м;
диаметр эксплуатационной колонны 168 мм; мощность песчаной пробки 20м;
плотность песчаной пробки ρП
= 2000 кг/м3; плотность жидкости в скважине ρж
= 850 кг/м3. Чистка скважины проводится гидробуром БГ-100М с подъемниками ЛПТ-8
на канате диаметром dк = 15мм.
Решение. Вес поднимаемого груза определяем по
формуле
=qH+G, (VI.33)
где q - вес 1 м стального каната диаметром 15 мм
(q = 804H); Н - глубина
скважины, м; G - вес гидробура, заполненного жидкостью с песком:
= G1 + G2, (VI.34)
где G1 - вес гидробура (G1 = 1960H);
G2 - вес песка и жидкости в гидробуре:
= (Vж
ρП
+ Vн
ρж)g,
(VI.35)
где Vж
- рабочий объем желонки (Vж
= 0,033 м3); Vн - объем жидкости
в цилиндре насоса (Vн = 0,0045
м3). Подставляя численные данные в формулу (VI.35),
получим:= (0,033*2000+0,045*850)*9,81= 685 H.
Таким образом, по формуле (VI.34)
получим:= 1960 + 685 = 2645 Н.
Подставляя полученные цифровые данные в формулу
(VI.33), будем
иметь:=8,04*1150 + 2645 = 11891 Н = 11,9кН.
Определим диаметр навивки каната на барабан
лебедки. Диаметр навивки каната колеблется от Dmin
до Dmax, где Dmax
- максимальный диаметр навивки каната при полностью поднятом гидробуре (по
замеру канат навивается на барабан лебедки в 14 рядов).
Максимальный диаметр, равный диаметру 14 ряда
навивки каната на барабан лебедки подъемника, определяем по формуле:
Dz = Dб
+ dк
+ a (2z - 2) dк, (III.21)
где a
- коэффициент, учитывающий расстояние между рядами навивки каната (обычно a
= 0,90 - 0,93, принимаем 0,93); z
- число рядов каната на барабане; Dб
- диаметр бочки барабана; dк
- диаметр талевого каната.
Dmax = D14
= 420+15+0,93*26*15 = 798 мм = 0,798 м.
Минимальный диаметр навивки каната на барабан
лебедки при положении гидробура на забое определяем по формуле:
(VI.36)
где Lб
- длина бочки барабана лебедки. Для подъемника ЛПТ- 8 Lб
= 800 мм.
Подставляя числовые данные в формулу (VI.36),
будем иметь:
Необходимую мощность двигателя для
подъема гидробура с забоя на IV скорости определяем по
формуле
(VI.37)
где P - натяжение
ходового конца каната, равное весу поднимаемого груза Q, так как
спуск и подъем гидробура в скважину осуществляется без оснастки талевой
системы; υ
- скорость
подъема гидробура из скважины, м/с;
υ = πDсрnб/60, (VI.38)
где Dср - средний
диаметр навивки каната на барабан лебедки, равный
nб - частота
вращения барабана подъемника, об/мин (определяется по таблице); ηоб - общий
механический к.п.д. передачи двигателя до барабана лебедки (ηоб = 0,82).
Подставив в формулу (VI.37)
значение υ
= πDсрnб/60,
получим:
(VI.39)
Подставив численные значения в
формулу (VI.39),
получим:
Так как мощность двигателя
подъемника ЛПТ-8 равна 118 кВт, то работа гидробуром на VI скорости
подъемника вполне возможна.
Определим скорость подъема гидробура
на VI скорости
подъемника по формуле (VI.38):
υп = 3,14*0,66*211/60 = 7,3
м/с.
Спуск гидробура в скважину проводят
на II скорости
обратного хода подъемника. Тогда
υс = 3,14*0,66*188,8/60 = 6,5
м/с.
Определим время спуска гидробура:
Время на заполнение песком желонки
гидробура t2= 3 мин
(опытные данные). Определим время на подъем гидробура:

Определяем продолжительность одного
рейса гидробура (спуск - заполнение - подъем - разгрузка):
tp=t1+t2+t3+t4=2,9+3+2,6+6=14,5
мин.
Определим общую затрату времени на
очистку скважины от пробки высотой 20 м.
За один рейс желонки гидробура БГ-100М выносит
33 л песчаной смеси, в результате чего высота пробки в 168-мм колонне
понижается на 1,8 м.
Для очистки скважины от 20-м песчаной пробки
потребуется:
np = 20:1,8=11
рейсов.
Общая затрата времени на очистку 20-м песчаной
пробки в 168-мм колонне (без подготовительных работ) составит:
T = tphp
= 14,5*11 = 160 мин = 2 ч 40 мин.
ствол
скважина очистка песчаный гидробур
3. Литература
1. Квашнин Г. П., Деревянных А. И.
Водозаборные скважины с гравийными фильтрами. М.: Недра, 1981.
2. РД 153-39-023-97
. Будников В,Ф,, Булатов
А.И,, Петерсон А.Я,, Шаманов С,А,
Контроль и пути улучшения
технического состояния скважин. - М.: 000 "Недра-Бизнеспентр", 2001.
- 305 с.: ил.
4. МИРЗАДЖАНЗАДЕ А.Х., КУЗНЕЦОВ
О.Л., БАСНИЕВ К.С., АЛИЕВ З.С.
Основы технологии добычи газа. - М.:
ОАО "Издательство "Недра", 2003. - 880 с.: ил.
5. Булатов А.И., Качмар Ю.Д.,
Макаренко П.П., Яремийчук Р.С.
Освоение скважин: Справочное пособие
/ Под ред. Р.С. Яремийчука. - М.: ООО "Недра-Бизнеспентр", 1999. -
473 с.: ил.
6. Газизов А.Ш., Газизов А.А.
Повышение эффективности разработки нефтяных месторождений на основе ограничения
движения вод в пластах. - М.: ООО "Недра-Бизнесцентр» , 1999. - 285 с.:
ил. - ISBN 5-8365-0022-3