Пайка в инфракрасной печи
Курсовая
работа
На тему: «Пайка в инфракрасной печи»
Введение в
технологию поверхностного монтажа
Технология поверхностного монтажа компонентов обладает важнейшим
критерием прогрессивности, обеспечивает миниатюризацию аппаратуры при одновременном
росте ее функциональной сложности. Это отвечает требованиям рынка электронных
изделий. По этой причине технология поверхностного монтажа компонентов (ТПМК)
будет внедряться в технологию производства новых изделий с такой быстротой, как
этого требует рынок, и, с другой стороны, как это позволяют темпы освоения
методов поверхностного монтажа.
Процесс поверхностного монтажа охватывает позиционирование и установку
компонентов, пайку, контроль, испытание и ремонт. Современное состояние
освоения каждого из этих этапов и их совокупности все еще не позволяет получать
высокий выход годных изделий при низких затратах, ожидаемых от применения ТПМК.
Кроме того, для успешного внедрения ТПМК в производство современной
микроэлектронной аппаратуры необходима увязка вопросов технологичности на
этапах конструкторского проектирования изделий.
Техника поверхностного монтажа способствовала появлению множества новых
портативных потребительских изделий: видеокамеры высокого разрешения, переносные телефоны,
калькуляторы, малогабаритные компьютеры и т.д.
1. Анализ
существующих технологических процессов монтажа на поверхность
Несмотря на очевидное преимущество поверхностного монтажа, в настоящее
время при проектировании и производстве РЭА применяются как монтаж на
поверхность, так и монтаж в отверстия. Это связано с тем, что конструктивные
исполнения ряда компонентов не пригодны для поверхностного монтажа.
Применение двух групп компонентов-монтируемые в отверстия (КМО) и
монтируемые на поверхность (КМП) печатных плат, а также, одно- или двусторонняя
их установка на плате дает шесть основных конструктивных исполнений
функциональных узлов, которые реализуются с помощью различных технологий.
Если в конструкции изделия используют только КМП (исполнение 1 и 2, табл.
1), то изделие изготавливают методами технологии монтажа на поверхность (ТМП).
При использовании только компонентов, монтируемых в отверстия (исполнение 6)
изделие изготавливают по традиционной технологии-монтажа в отверстия (ТМО). В
остальных случаях (конструктивные исполнения 3,4,5) применяют комбинированную
технологию, т. е. совместно ТМП и ТМО.
1.1 Основные
виды технологических процессов монтажа ЭРЭ
Рассмотрим конструктивное исполнение 1(см. табл. 1).
В данной конструкции применяют только монтируемые на поверхность компоненты,
которые устанавливают с одной стороны печатной платы (КМП1). Для
исполнения 1 характерна высокая плотность компоновки. Пайку компонентов в
основном проводят в паровой фазе (ПФ) инфракрасным излучением (ИК) на плоских
нагревателях (ПН). При этом используют припойную пасту. Данный технологический
процесс наиболее широко применяется в настоящее время.
Монтаж компонентов по КМП1 состоит из следующих операций (рис.1):
нанесение припойной пасты через трафареты на контактные площадки печатной
платы; установка компонентов на контактные площадки; оплавление припойной
пасты; промывка платы печатной в сборе; контроль паяных соединений; ремонт (при
необходимости).
В первоначальных вариантах технологического процесса пайку проводили
паяльником на полуавтоматических установках; использовали также лазерную и
импульсную пайку.
В первом случае применяли проволочный припои, который автоматически
подавался к месту пайки, во втором и третьем-применяли фольгу из припоя,
которой опрессовывали выводы КМП с нижней стороны, а также предварительно
обслуживали контактные площадки и выводы КМП. Несмотря на относительно низкую
производительность и высокую стоимость по сравнению с групповыми методами
пайки, эти методы и в настоящее время получили распространение при изготовлении
специальной аппаратуры.
При монтаже компонентов по КМП1 возможно применение пайки
волной припоя, хорошо зарекомендовавшую себя в традиционной технологии монтажа
в отверстия (ТМО) по следующей схеме:
нанесение клея на поверхность платы; установка КМП на контактные
площадки; полимеризация клея; поворот платы на 180°; пайка волной припоя.
Недостатком метода является необходимость применения только КМП,
устойчивых к действию расплавленного припоя, при этом достигнуть требуемого
качества соединений оказалось невозможным, так как резко возрастает количество
перемычек между выводами, а также непропаев вследствие эффекта тени.
Качество соединений можно повысить за счет применения паяльных паст и
групповых методов их оплавления ИК нагревом в паровой фазе, а также на плоских
нагревателях.
Технологический процесс включает в себя сушку припоя пасты для удаления
летучей части, особенно при пайке в паровой фазе. В настоящее время данная
операция исключена, так как состав паст улучшен до уровня качества, не
требующего этой операции.
А
б в
Рис. 1. Схема технологического процесса монтажа ТМП ФУ исполнения 1
(процесс типа I):
а - нанесение паяльной пасты; б - установка КМП1; в -
оплавление пасты
Таблица 1
В промышленности широко применяют конструктивное исполнение 2 (см. табл.
1), т. е. КМП на верхней и нижней сторонах платы (КМП1 и КМП2).
Такая сборка обеспечивает наивысшую плотность компоновки печатных плат,
приближаясь по своим параметрам к гибридным интегральным схемам (ГИС).
Изготовление проводят методами ТМП по следующей схеме (рис. 2):
на контактные площадки печатной платы наносят пасту припоя;
в местах установки элементов наносят расчетную дозу клея;
проводят установку элементов (КМП1);
осуществляют полимеризацию клея УФ или ИК излучением;
пасту припоя оплавляют;
плату переворачивают и наносят пасту припоя;
устанавливают компоненты (КМП2);
проводят оплавление пасты припоя;
проводят промывку сборки и ее контроль.
При такой последовательности операций используют установки, в которых
пайка осуществляется ИК излучением с односторонним нагревом.
При пайке в паровой фазе (ПФ), а также ИК излучением на установках с
нижним и верхним расположением излучателей операцию оплавления пасты после
установки КМП1 не проводят. Нанесение клея и приклеивание после
установки КМП1 необходимо для предотвращения их отделения от платы
при оплавлении пасты. Однако эта операция для КМП1 с малым числом
выводов (в корпусах MELF, SOT и SOIC) может быть исключена, поскольку компоненты в этом
случае удерживаются на поверхности силами поверхностного натяжения припоя.
Рис. 2. Схема технологического процесса монтажа ТМП ФУ исполнения 2
(процесс типа I):
а - нанесение пасты; б - нанесение клея; в - установка КМП1; г
- полимеризация клея и оплавление пасты; д - переворот платы; е - нанесение
пасты; м - установка КМП2;1 з - сушка и оплавление пасты
В конструктивном исполнении 3 (см. табл. 1) применяют компоненты обоих
типов-монтируемые на поверхность (КМП) и в отверстия (КМО) на верхней стороне
печатной платы.
Конструктивное исполнение этого типа применяют при отсутствии ряда
компонентов, предназначенные для поверхностного монтажа. Плотность компоновки
элементов ниже, чем в случае конструктивного исполнения 2.
Сборку проводят по комбинированной технологии, включающей следующие
операции (рис. 3):
нанесение на поверхность платы пасты припоя;
установка КМП1;
оплавление пасты припоя;
установка в отверстия КМО1;
пайка волной припоя;
промывка сборки и ее контроль.
Рис. 3. Схема технологического процесса монтажа ТМП ФУ исполнения 3:
а - нанесение пасты; б - установка КМП1; в сушка и оплавление
пасты; г - установка КМО1; д -
пайка КМО2 двойной волной припоя
Конструктивное исполнение 4 включает КМП на нижней стороне платы, КМО-на
верхней стороне (см. табл. 1).
Это конструктивное исполнение возможно осуществить, используя только один
способ пайки-волной припоя. Для устранения трудностей, связанных с пайкой
многовыводных КМП, применяют специальные методы пайки, такие как пайка двойной
волной припоя, волной типа «Омега», реактивной струей и др.
Сборку и монтаж проводят в следующей последовательности (рис. 4):
на поверхность платы наносят дозатором клей; устанавливают КМП1;
клей полимеризуют УФ и (или) ИК излучением; плату переворачивают; устанавливают
КМО2; проводят одновременную пайку КМП1 и КМО2
волной припоя; промывают сборку и проводят контроль.
К недостаткам такого конструктивного исполнения следует отнести сложность
обрезки выводов КМО2 при использовании высокопроизводительных
серийных установок обрезки.
Рис. 4. Схема технологического процесса монтажа ТМП ФУ исполнения 4
(процесс типа II): а - нанесение клея; б - установка КМП1; в
полимеризация клея; г - переворот платы; д - установка
КМО2; е - пайка КМП1 и КМО2 двойной волной
припоя
Конструктивное исполнение 5 (КМП на нижней и верхней стороне платы, КМО - на верхней стороне) позволяет
использовать все типы компонентов, т.е. преимуществом данного конструктивного
исполнения является отсутствие какого-то либо ограничения по выбору
компонентов, при этом исполнении плотность компоновки на уровне исполнения 4 и
3, но ниже, чем при исполнении 2. Технологический процесс сборки и монтажа ТМП
этого исполнения состоит из следующих операций:
на печатную плату дозатором наносят клей;
проводят установку КМП1;
клей полимеризуют с помощью УФ и (или) ИК излучения;
печатную плату переворачивают;
наносят с помощью трафарета пасту припоя;
устанавливают КМП2;
производят оплавление пасты припоя в паровой фазе, либо ИК излучением;
устанавливают КМО2;
производят совместно пайку КМП1 и КМО2 волной
припоя;
Возможен другой вариант технологического процесса по исполнению 5 (рис.
5) со следующими операциями:
наносят припойную пасту;
устанавливают КМП1;
припойную пасту оплавляют любым методом (ИК, ПФ, ПН);
печатную пасту переворачивают;
наносят дозатором клей;
устанавливают КМП2;
клей полимеризуют;
плату еще раз переворачивают;
монтируют в отверстия КМО2;
производят совместную пайку КМП2 и КМО2 волной
припоя;
проводят пайку КМП2 с помощью концентрированного потока
горячего воздуха (горячих воздушных ножей).
Преимущества этого способа - снижение времени сборки и стоимости оборудования
за счет пайки всех компонентов за один проход на одной установке.
Таким образом, рассмотрение всех шести видов конструктивных исполнений
плат печатных в сборке и их технологий показывает, что каждое исполнение имеет
преимущества перед остальными. Выбор той или иной конструкции определяется
совокупностью требований к функциональному узлу для конкретного вида
аппаратуры.
Следует отметить, что в зарубежной практике принята отличная от
рассмотренной классификация технологических процессов сборки ТМП функциональных
узлов (ФУ), в основу которой положены не конструктивные исполнения ФУ, а
технологические способы их изготовления. Все технологические процессы разделены
на три группы: тип I (А), II (В) и III (С) (см. табл. 1). Технологический
процесс типа I используют для изготовления узлов исполнения 1 и 2, типа II-для
исполнения 4, типа III-для исполнения 5.
2. Общие
сведения и методы пайки
Пайка представляет собой распространенный способ монтажа компонентов в
производстве радиоэлектронных узлов. При этом обеспечивается и механическое
крепление выводов компонентов, и электрическое контактирование в соответствии с
электрической принципиальной схемой. При пайке две металлические детали (или
детали с металлическим покрытием) соединяются при помощи припоя - третьего
металла или сплава. Соединяемые детали не расплавляются сами, расплавляется
только припой. Поэтому пайка имеет более щадящий тепловой режим для деталей,
чем сварка. Для получения качественного паяного соединения, обладающего
хорошими электропроводящими и прочностными свойствами, необходимо обеспечить
несколько условий:
. Получить чистые металлические поверхности у соединяемых деталей
(удалить загрязнения и пленки окислов) с помощью технологического флюса;
. Нагреть припой выше точки плавления;
. Обеспечить вытеснение флюса с помощью наступающего припоя;
. Обеспечить растекание жидкого припоя по металлической поверхности;
. Обеспечить диффузию атомов из твердой металлической фазы в жидкий
припой и наоборот - образование сплавных зон.
Среди припоев в радиоэлектронике наиболее широкое распространение
получили припои на основе композиции олова и свинца (ПОС). Сплав имеет особую
точку, называемую точкой эвтектики. В этой точке температура кристаллизации
припоя составляет 183 °С, что значительно ниже точек плавления Sn и Pb (232 °С
и 327 °С).
Флюс является материалом, под воздействием которого происходит быстрое и
совершенное смачивание металлической поверхности соединяемых деталей
расплавленным припоем благодаря влиянию сил поверхностного натяжения. Кроме
того, флюс обладает свойством растворения и удаления окисных слоев на
контактируемых металлах и защиты очищенной поверхности от нового окисления.
Остатки флюса должны легко удаляться, быть не изменять электрические параметры
исходного материала и не вызывать коррозии. Распространены флюсы на основе
органических кислот из смол хвойных пород деревьев (канифоль). Известно и
большое количество синтетических материалов.
Смачивание, как решающий фактор процесса пайки, может улучшаться
посредством поверхностно-активных веществ флюсов. Качество смачивания можно
определить по краевому углу смачивания (рис.6). Уменьшение поверхностного
натяжения припоя в расплавленном состоянии приводит к уменьшению угла
смачивания. Именно в процессе смачивания создаются условия (наряду с высокой
температурой) для создания диффузионных сплавных зон на границах раздела припоя
и соединяемых металлов, которые определяют прочностные характеристики паяного
соединения. Зачастую прочность диффузионных сплавных зон превышает прочность
соединяемых металлов.
В последнее время набирает силу движение за исключение свинца как
токсичного металла из электронных сборок. В поисках сплавов на замену
традиционной композиции SnPb исследовано большое количество материалов, однако
абсолютно равноценной замены пока не найдено. ПОС обладает практически
оптимальными свойствами для РЭА: хорошей смачиваемостью, прочностью,
пластичностью, удобной точкой плавления, коррозионной стойкостью, усталостной
прочностью, и, наконец, стоимостью.
Появление на ПП поверхностно монтируемых компонентов существенно изменило
технологию пайки. Пайка волной припоя была внедрена в середине прошлого века и
до настоящего времени является единственным групповым методом пайки
компонентов, устанавливаемых в отверстия ПП. Она выполняется чаще всего
погружением обратной стороны платы с выступающими выводами в ванну с припоем.
Для пайки плат со смешанным монтажом (компоненты, монтируемые в отверстия с
одной стороны платы и простые, монтируемые на поверхность с другой) был
разработан метод пайки двойной волной припоя.
Для пайки поверхностно монтируемых компонентов была разработана
технология оплавления дозированного припоя. Методами трафаретной печати припой
в виде пасты наносится на контактные площадки ПП, затем на него устанавливаются
компоненты. В ряде случаев припойную пасту просушивают после нанесения с целью
удаления из ее состава летучих ингредиентов или предотвращения смещения
компонентов непосредственно перед пайкой. Оплавление припоя и получение паяных
соединений происходит в нагревательном устройстве. В 1973 г. появилась пайка в
парогазовой фазе (ПГФ), когда фирма DuPont разработала и запатентовала
специальные жидкие материалы, имеющие температуру кипения 215 °С. С 1983 г.
основным конкурентом пайки в ПГФ стала пайка расплавлением дозированного припоя
с помощью инфракрасного нагрева (ИК-пайка). Примерно с этого же времени
развивается пайка в конвекционных печах. В Японии пайка компонентов,
устанавливаемых на поверхность недорогих плат с низкой плотностью монтажа,
производится с применением нагретого инструмента. Для чувствительных к
тепловому воздействию и сложных микросборок с поверхностным монтажом ведущими
японскими компаниями была разработана лазерная пайка. Ведущие поставщики
сборочно-монтажного оборудования обычно включают установки для пайки в состав
выпускаемых производственных линий. В
технологии поверхностного монтажа компонентов для пайки компонентов на печатной
плате применяются следующие методы пайки:
пайка двойной волной припоя;
пайка расплавлением дозированного припоя в парогазовой фазе;
инфракрасная пайка;
лазерная пайка;
другие методы пайки.
3. Пайка
расплавлением дозированного припоя с инфракрасным (ИК) нагревом.
Процесс пайки компонентов, собранных на коммутационной плате, с помощью
ИК -нагрева аналогичен пайке в ПГФ, за исключением того, что нагрев платы с
компонентами производится не парами жидкости, а ИК -излучением.
В течение последнего десятилетия в промышленности
велись работы по использованию ИК -излучения для оплавления пастообразных
припоев, однако получаемые при этом результаты носили противоречивый характер.
Основными проблемами, стоявшими перед разработчиками, были:
неравномерность нагрева сборок, появление в них
горячих точек;
плохая воспроизводимость результатов вследствие
рассогласования спектра излучения источника и спектра поглощения подложки,
проводников, элементов;
сложность отвода легко испаряющихся веществ (флюса,
органических составляющих пай и др.), которые оседали на нагревателях и
ухудшали их работу;
-необходимо подбирать режимы пайки для каждого типа
плат в зависимости от их геометрии, массы и
т. п.
Широкое внедрение ТМП активизировало работу в области
установок ИК оплавления, которые в настоящее время доведены до высокого уровня
совершенства, получили широкое распространение и являются основным видом
оборудования для групповой пайки ТМП ФУ.
3.1 Технологические установки пайки ИК - излучением
В зависимости от соотношения температур источника излучения и
нагреваемого объекта процессы нагрева можно разделить на термодинамически
равновесные и неравновесные. При равновесном нагреве температура нагревателя и
объекта близки друг к другу (например, нагрев в парах кипящей жидкости), при
неравновесном - значительно отличаются. На практике желательно иметь
равновесный режим нагрева, позволяющий устранить неравномерность нагрева и
другие отрицательные факторы.
В настоящее время в технологии ИК пайки применяют три разновидности
конструкций установок, различающиеся видом излучателей: ламповые, панельные и
комбинированные.
Рассмотрим более конструкций установок ИК пайки.
Установки с ламповыми излучателями содержат несколько зон нагрева, где
установлен ряд трубчатых ИК ламп снизу и сверху транспортера, на котором
размещают монтируемы платы(рис.8).
Рис.8.Утановка ИК лампового нагревателя:1-вытяжная вентиляция,2- матрица
ИК ламп,3-плата,4- ИК лампа,5- отражатель.6-устройство охлаждения,7- конвейер
В зоне оплавления располагается большое количество ламп, заключенных в
отражающие рефлекторы, что позволяет создать большую плотность ИК-излучения. В
зоне предварительного нагрева лампы расположены реже, что обеспечивает плавный
режим нагрева и выравнивание температуры компонентов. Для удаления летучих
соединений, образующихся при пайке, на выходе и входе из зоны нагрева
используется вытяжной вентиляции. На выходе также имеется система
принудительного охлаждения плат.
Аналогичную конструкцию имеют установки с панельным ИК нагревом в виде
керамических панелей различной мощности, что также позволяет осуществлять
формирование необходимого температурно-временного профиля нагрева, но не с
такой степенью гибкости. Конструкция ИК панельного нагревателя включает в себя
три слоя. Лицевая сторона, обращенная к нагревательной плате, изготавливается
из стекла, керамики или металла, и в зависимости от применяемого материала
может выполнять функции вторичного излучателя или прозрачного окна. В первом
случае излучающие свойства будут уже определяться не первичным нагревателем, а
материалом лицевого слоя. Второй слой или первичный нагреватель обычно
изготавливается в виде фольги или спирали из резистивного материала. Третий
слой является изоляционным и выполняется из тугоплавкой керамики.
Широкое применение нашли панельные излучатели Panel IR System,работающие в среднем и дальнем спектре излучения 3-10
мкм, которые конструктивно представляют собой нагреваемые керамические панели
больших размеров, работающих при температуре 200-450С.Такие установки содержат
воздушные камеры с инертным газом, поэтому 60% тепловой энергии к нагреваемым
объектам доставляется за счет конвекции, а 40% за счет ИК излучения среднего и
дальнего спектра. Малая разница температур излучателя и нагреваемого объекта
обеспечивает нагрев в режиме, близкому к равновесному. В данном случае теряются
такие достоинства лампового ИК нагрева, как безынерциальность, гибкость
регулирования режимов, и другие.
Большую гибкость и возможность использования преимуществ лампового и
панельного нагрева обеспечивают комбинированные системы, в которых панельные и
ламповые ИК нагреватели образуют необходимое количество зон нагрева,
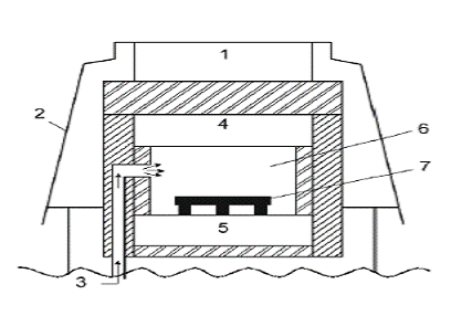
Конструкция типичной установки ИК оплавления приведена на рисунке 9.
Установка состоит из корпуса 1, внутри которого расположено несколько зон
нагрева, в каждой из которых поддерживается заданный тепловой режим. В первой и
второй зонах производят постепенный предварительный нагрев изделия 2 с помощью
плоских нагревателей 3. Пайку производят в третьей зоне быстрым нагревом
объекта выше температуры плавления припоя с помощью кварцевых ИК ламп 4, затем
объект охлаждают с помощью устройства 5.
Рис.9
- Схема установки пайки ИК-излучением
Печатные платы транспортируются через установку на ленточном (обычно
сетка из нержавеющей стали) конвейере 6. Режимы работы нагревателей и скорость
движения конвейера регулируются с помощью микропроцессорной системы 7, В памяти
компьютера хранится библиотека типовых режимов оплавления для печатных плат
различных типоразмеров, температурный профиль вдоль установки отображается в
графической и цифровой форме на экране дисплея 8. Характеристики температурного
профиля, т. е. значения температур в каждой зоне, возможно, изменять в широких
пределах, также возможно иметь библиотеку типовых режимов оплавления для
печатных плат различных типоразмеров
Одним из наиболее известных производителей оборудования, использующих
технологию сфокусированного ИК излучателя в своих системах, с 1986 г. является
фирма PDR из Великобритании, которая является
одним из ведущих производителей оборудования для пайки поверхностного монтажа.
Оптическая система паяльной станции фирмы PDR (рис.10)формирует коротковолновое ИК пятно с красной
подсветкой для удобства наведения. Размер пятна устанавливается с большой
точностью системой оптических линз. Цифровой контроллер управления с
бесконтактным датчиком температуры обеспечивает температурный профиль. В нижней
части устройства расположен набор кварцевых нагревательных элементов
средневолнового диапазона излучения, осуществляющий подогрев платы.
Рис.10.Устройство паяльной станции фирмы PDR:1-Ик оптическая система, 2- пирометр.3- печатная плата,4-кварцевый подогреватель
Одной из разработок фирмы PDR
(рис.11) является паяльно -ремонтный центр IR-X410 для монтажа
или демонтажа любых SMD,включая как
соединители, так и чип компонентов, и т.д. Прецизионный вакуумный установщик
микросхем гарантирует точность позиционирования. Контроль нагрева микросхемы
осуществляется в реальном времени. Программное обеспечение позволяет установить
любой температурный профиль с возможностью контроля температуры в восьми
точках.
Рис.11 Паяльная система IR-Х410
ЗАО
ЦНИТИ «Техномаш-Трасса»выпускает установки ИК пайки SMD-TRASSA-5609,которая
имеет пять зон нагрева. В зоне предварительного двухстороннего нагрева плата
нагревается до 100-270
С, имеется возможность отключения нижних нагревателей.
Установка снабжена микропроцессорной системой управления, позволяющей поддерживать
заданные режимы пайки, сохранять в памяти до 9 температурных профилей,
отображать значения всех параметров на жидкокристаллическом индикаторе. Время
пайки 20-30 мин.
Фирмой
Harotek AG(Швейцария) выпускается
камерная печь ИК нагрева ECOSOLD 350 Superior(рис.12)с комбинированной ИК и конвекционной системой
нагрева, где используются два типа нагревателей: четыре ИК лампы по 1000 Вт
сверху и шесть керамических нагревателей 400Вт снизу. Сочетание двух видов
излучателей -коротковолнового и длинноволнового, а также вентилятор для подачи
горячего воздуха зоне пайки позволяет уменьшить неравномерность нагрева платы и
компонентов с большими корпусами. Время предварительного нагрева 3 мин.,
оплавлении-3мин. Подача плат в зону пайки автоматическая, производительность-до
40 европлат/ч. Установка имеет программное обеспечение компьютерного контроля
режимов, графическое отображение термопрофиля и времени пайки на мониторе.
Рис.12.Камерная
печь ИК нагрева ECOSOLD 350 Superior
Наибольшую
популярность получило технологическое оснащение фирмы ERSA,в частности
конвекционно-инфракрасная настольная печь камерного типа для мелкосерийных
производств ТТ-500А(рис.13),которая имеет 28 термопрофилей с возможностью их
перепрограммирования.
Рис.13 Конвекционно-инфракрасная
настольная печь ТТ-500А
Размер
плат, помещаемых в печь, до 300х400 мм с высотой компонентов на плате до 40 мм.
Печь укомплектована двумя контактными сенсорами для отладки термопрофилей , в
дополнение к штатному измерителю температуры воздуха в центре камеры все
показания режимов отображаются на ЖК-дисплее.
ИК
установка типа «Радуга»,предназначена для оплавления припойных паст при сборке
плат с применением поверхностно -монтируемых компонентов, позволяют
осуществлять пайку как с одной стороны, так и одновременно с двух сторон
печатной платы. Установка для пайки «Радуга- 10»состоит из нагревательной
камеры с регулируемой температурой плоских нагревателей 100-300
С и пульта управления(рис.14) . Конструкция установки
предусматривает ручную подачу печатных плат на специальном подплатнике.
Конструктивно электрооборудование установки реализовано в виде отдельных блоков
нагревателя и управления. Измеритель температуры, регулирующий, совместно с
микропроцессорным управлением, обеспечивают точность поддержания температуры.
Значения температуры на поверхности нагревателей измеряются при помощи
термопары ХК и используются в качестве входных параметров системы
регулирования. Временной интервал пайки задается цифровым таймером МТЦ
3501.Контрольный измеритель температуры ИТ 2511 определяет температурный режим
печи и интервал времени пайки.

Конвейерная
установка ИК пайки «Радуга- 21»(рис.15) состоит из 5-зонной нагревательной
камеры с регулируемой по зонам температурой пайки ИК нагревателем; пульта
управления; загрузочного и разгрузочного устройств; электрооборудования.
паста
инфракрасный нагрев пайка
Рис.15 Конвейерная установка ИК пайки
«Радуга-21»
Фирма Heller Industries Ins. разработала установку ИК
оплавления, обеспечивающая равномерное распределение температуры вдоль
поверхности платы за счет применения излучающих панелей с принудительной
конвекцией воздуха. Применено микропроцессорное управление.
Фирма Universal Instruments Corp. (США) разработала систему типа
4813А Cureflow, предназначенную для полимеризации
клея и оплавления пасты. Размеры печатных плат от 50ХЮ0 до 400X450 мм. Возможно
оплавлять платы с одно- и двусторонней установкой элементов, с основанием из
стеклотекстолита, керамики .или эмалированной стали. В постоянной памяти
содержится около 1200 значений параметров, включая энергию излучения и скорость
движения конвейера.
Фирма RTC (Radiant Technology Corp.) (США) разработала несколько установок
для ИК оплавления.
Система MI00--настольная
конвекционная ИК установка для оплавления гибридных ИС. Температура до 300
"С, длина 1200 мм.
Система РА-316- настольная, для пайки ТМП элементов.
Температура до 700 °С, азотная или газовая атмосфера. Нагреватели вольфрамовые
или нихромовые лампы.
Система F-300
- высокопроизводительная установка ИК оплав--ления для ТМП. Атмосфера - сухой
воздух или азот, рабочая зона 235X375X600 мм, температура до 800°С.
Фирма Research Inc. (США)
разработала систему ИК оплавления типа 4470, в которой использованы ИК лампы и
цепной конвейер с настраиваемой шириной ленты для перемещения печатной платы.
Возможна комбинация верхнего нагрева и нижнего охлаждения для снижения
опасности повреждения монтируемых в отверстие элементов. Краевые лампы
обеспечивают равномерный прогрев вдоль конвейера, ИК лампы типа Т-3
концентрируют энергию ' непосредственно на паяные соединения.
Фирма BGK
(США) разработала ИК систему типа 1648, в которой использовано сочетание ИК
ламп типа ТЗ и панелей кварцевых излучателей. Применен ленточный конвейер из
нержавеющей стали шириной 450 мм, имеется восемь зон с контролируемым значением
температуры. Установка управляется от персонального компьютера, информация
выводится на черно-белый дисплей.
Фирма Elvo Electronics Corp. (США) разработала установку
"ИК оплавления типа Precisold. Плата автоматически перемещается через пять зон: загрузки, подогрева,
оплавления, охлаждения и возвращается в зону загрузки. Максимальный размер плат
составляет 200 X 300 мм. Возможно
регулировать температуру от 30 до -280 °С.
Наиболее совершенной в настоящее время технологией пайки является
локальная инфракрасная, когда нагрев производится сфокусированным пучком
ИК-излучения только в местах пайки. Установка локальной пайки состоит из двух
нагревателей, один из которых подогревает плату снизу до сравнительно невысокой
температуры, и верхнего, осуществляющего в нужный момент быстрый локальный нагрев
требуемой области платы до температуры плавления припоя. Фокусированная пайка
более всего подходит для проведения ремонтных работ с использованием микросхем
в корпусах BGA, а также для монтажа и демонтажа
компонентов в труднодоступных местах.
Таким образом, для поверхностного монтажа все большее применение получают
ИК паяльные установки, которые различаются по свои функциональным возможностям
и способностям эффективно выполнять монтаж и демонтаж компонентов в корпусах
типа BGA, CSP, PGA, SOIC, QPF, PLCC.
ИК нагрев выгодно отличается тем, что имеет более простое оборудование, которое
намного экономичнее и более целесообразно для поверхностного монтажа
современных изделий.
3.2 Температурный профиль ИК пайки
Специалисты утверждают, что с помощью метода ИК пайки достигаются
наилучшие результаты пайки. Это обусловлено тем , что температурный профиль
(температурная кривая , рис .16) согласован во всех случаях с заданными
предпосылками. Разработка термопрофиля (термопрофилирование) в настоящее время
приобретает особую важность в связи с распространением бессвинцовой технологии,
в которой окно процесса (разница между минимальной необходимой и максимально
допустимой температурой термопрофиля) значительно уже из-за повышенной
температуры плавления припоя.
Часто использующийся контраргумент в отношении высокой термической
нагрузки на конструктивные компоненты является , как показывает опыт ,
несостоятельным .Температура должна подводиться к конструктивному компоненту не
слишком быстро , однако сам процесс пайки должен протекать как можно быстрее .
Температурная кривая для метода пайки в ИК -печи представлена на рис .8 и
является типичной для плат малого размера . На участке от 0 до 90 с температура
увеличивается приблизительно до 85 0 С . В течение этого времени происходит
испарение летучих материалов , которые содержатся в паяльной пасте . На участке
от 90 до 120 с при температуре от 90 0 С до 130 0 С происходит удаление
вязкостных добавок . На участке от 120 до 200 с и при температуре от 130 0 С до
180 0 С осуществляется активация частиц флюса , и протекают необходимые
восстановительные процессы .На последнем участке от 200 до 255 с достигается
температура пайки 217
С .На основании этих характеристик можно сделать вывод о том
, что процесс пайки в ИК -печи сопряжен с определенным временно -температурным
профилем ,который необходим для достижения высококачественных результатов . Для
более крупных печатных плат необходимо время предварительного нагрева до 3 мин
.
Современные ИК -печи позволяют осуществлять пайку ПП с большим
количеством конструктивных различных компонентов с высоким качеством в течение
10 с .
В течение этой непродолжительной длительности такта температура внутри
интегральной схемы остается существенно меньшей , нежели температура плавления
припоя .
Рис.16.Температурный кривая работы ИК печи
3.3
Особенности ИК пайки
Зонный нагрев объекта. На рис. 16 показана зависимость
температуры различных элементов от времени при ИК оплавлении (температурные
профили) при перемещении печатной платы через установку.
В первой зоне происходит быстрый, главным образом,
радиационный подогрев с длиной волны, проникающей в материал, что позволяет
провести безопасное и быстрое удаление летучих веществ. Обычно скорость нагрева
в этой зоне составляет 2-7сС/с. Увеличение скорости нагрева повышает
производительность операции пайки, однако при этом вследствие теплового удара
могут возникнуть повреждения керамических элементов, в частности, многослойных
конденсаторов.
Во второй зоне происходит выравнивание температуры
сборки, что предупреждает повреждение термочувствительных элементов при
оплавлении. В этой области происходит снижение температурных градиентов,
возникших на первом этапе нагрева. Скорость нагрева в этой зоне весьма низка и
для малых элементов может даже иметь отрицательный знак. Температура
стабилизируется на уровне 160-170'°С. Этот этап является одним из наиболее
важных для получения качественных паяных соединений.,
В третьей зоне происходит непосредственное оплавление
пасты, и создание паяного соединения.
Для этой зоны характерна высокая скорость нагрева
коротковолновым ИК излучением, что позволяет минимизировать время оплавления и
контролировать параметры пайки таким образом, чтобы снизить до минимума
пребывание элементов при высокой температуре. Оптимальным является режим, при
котором корпуса элементов имеют температуру ниже температуры оплавления.
Поскольку температура элементов на предыдущей стадии была стабилизирована на
уровне 160--170 °С, то быстрый дополнительный нагрев на 30-45 "С не
приводит к возникновению больших температурных градиентов в сборке.
Температурный профиль платы проверяют экспериментально
с помощью термопар с диаметром 0,25--0,12 мм> чт0
позволяет производить измерения температуры в небольших областях яа плате без
нарушения ее теплового режима. Измерение обычно проводят в трех точках - на
краю (углу) платы, где перегрев максимален, в ее центре, где имеем минимальную
температуру нагрева и на половине расстояния между этими точками. Температурный
про филь регистрируют с помощью самописца. Измерение проводили на припое 63Sn/37Pb и 62Sn/36Pb/2Ag. Температура должна лежать в диапазоне 210 ± 10°С. Число
контрольных проходов -не более 5.
Первоначально снимают тепловой портрет для массивных
плат с большими размерами и регулируют параметры установки до достижения
оптимальных условий оплавления. Затем проводят аналогичную работу для
малогабаритных плат, причем оптимального режима добиваются увеличением скорости
движения ленты конвейера, либо изменением режима одного, двух нагревателей.
В современных установках число зон нагрева достигает 7
и более, что позволяет максимально приблизиться к оптимальному режиму.
Скорость и равномерность нагрева. Любой метод быстрого
нагрева изделия создает в последнем перепад температур. Величина этого перепада
зависит от скорости нагрева, массы и геометрии изделия. Скорость нагрева может
регулировать оператор, но при этом он не может контролировать изменения таких
характеристик изделия, как размеры, форма и масса элементов, их
теплопроводимость и степень черноты поверхности.
Наибольшее влияние на равномерность нагрева оказывает
соотношение геометрических размеров и массы изделия, в особенности для
материалов с низкой теплопроводностью. С этой точки зрения наиболее слабым
местом, т. е. местом, подверженным перегреву, является край печатной платы, а
не элементы с большой поглощающей способностью поверхности. Это становится
ясно, если рассмотреть кубический элемент на краю платы, который тремя гранями
обращен к источнику нагрева, в отличие от элемента в ее центр, у которого
нагреву подвержена только одна грань.
На равномерность нагрева сборки на печатной плате
оказывают также влияние ее сложность и чувствительность (восприимчивость) к
нагреву. В первом случае, для определенной конструкции ФХ и перепада
температур, этот параметр зависит исключительно от скорости нагрева,
незначительно меняясь от способа доставки тепловой энергии кондукцией,
конвекцией, излучением или конденсацией пара. Различие в неравномерности нагрева
не превышает 1 - 2°С,
если устройство нагрева и изделие находятся в равновесии. Это означает, что до
достижения этого равновесия необходимо задержать оплавление припоя, т. е.
повышение температуры изделия до рабочего значения не должно быть простым, линейным.
До стадии оплавления следует выронить температуру изделия с температурой
системы оплавления.
Рис.17.Зависимость температуры печатной платы и
компонентов при различных скоростях движения конвейера
Опасения, связанные с перегревом элементов с высокой
степенью черноты поверхности корпусов, не оправдались. Температура внутри не
сравнима с температурой поверхности ПП и быстро выравнивается вследствие
теплопроводности и конвекции. Менее чувствительны к перегреву большие корпуса
(например, SOIC-40) по сравнению с малогабаритными (SOT-23, SOIC-8 и др.) вследствие значительно большей их массы. С
ростом скорости движения конвейера возрастает влияние излучения по сравнению с
кондукциеи и конвекцией, что приводит к росту температуры корпуса ( рис. 17).
Платы зеленого, голубого, красного или черного цвета имеют степень черноты
поверхности в пределах 0,91 ... 0,95 при Т = 230
°С, что приводит к разнице в температуре нагрева ± 1 ... ± ±4°С и
подтверждается измерениями с помощью термопар.
Значительное влияние на равномерность нагрева сборки
оказывают установленные на плате элементы, причем как их геометрия, так и
масса. Наличие тени практически не сказывается на скорости нагрева. В одной
серии экспериментов было увеличено расстояние между элементами с 2,5 до 5 мм,
что привело к снижению массы сборки приблизительно на 8 % и росту максимальной
температуры при оплавлении также на 8 %. Такое пропорциональное снижение массы
и повышение температуры наблюдалось постоянно. Влияние на скорость нагрева
цвета, затененности и других оптических характеристик объекта практически
всегда мало по сравнению с влиянием его массы и геометрии.
Пайка двусторонних плат. На практике используют две
разновидности технологического процесса - пайка за один проход или за два
прохода. В первом случае используют установки с нижними и верхними
излучателями, во втором- только с верхними. В последнем варианте плату
закрепляют на ленточном конвейере и два раза пропускают ее через установку
пайки. Перед вторым проходом плату переворачивают, при этом оплавленные при
первом проходе элементы оказываются снизу, припой частично расплавляется, но
сил поверхностного натяжения оказывается достаточно, чтобы удержать элементы
(проверяли ИС в корпусах с выводами J-типа и чип -элементы).
При одинарном проходе для крепления элементов на
нижней стороне платы применяют отверждаемые с помощью ИК и УФ излучения
адгезивы, причем предпочтительным является УФ отверждение. Возможно также для
целей закрепления элементов использовать паяльную пасту, предварительно
высушенную при температуре 165 °С и охлажденную до комнатной температуры. Затем
плату переворачивают, наносят пасту на другую сторону, устанавливают элементы и
производят ИК оплавление. Паста удерживает ИС в корпусах LCC и чип -элементы на месте. Последний
способ находится в стадии изучения.
Атмосфера в рабочей зоне. При проведении ИК оплавления
состав атмосферы внутри рабочей зоны установки может быть легко
проконтролирован и поддерживаться с высокой точностью. Возможно, определять наличие
посторонних газов при их концентрации до 1 ... 3 ррт, что позволяет подробно
изучить влияние различных загрязнений и измерение их концентрации в атмосфере
на качество паяных соединений.
В установках наиболее часто оплавление ведут в
воздушной атмосфере, однако это не всегда желательно, поскольку присутствующий
в его составе кислород приводит к разрушению, как органических материалов, так
и металлов. Разница в температурах разложения материала и оплавления определяет
температурное окно процесса в воздушной среде. Если этот диапазон температур
мал, то скорость нагрева должна быть невелика, температура сборки близка к
равновесной перед вводом изделия в зону оплавления. Представляет проблему
окисление металлических выводов на втором этапе ИК оплавления, а также
возникновение шариков припоя вследствие окисления припоя в паяльной пасте. Для
успешного проведения операции оплавления длительность всего цикла не должна
превышать 100-150с.
Наиболее часто при создании инертной среды используют
азот с малым содержанием кислорода. При этой атмосфере, возможно, нагревать
стеклотекстолитовыс печатные платы до температуры 300 "С без их
расслоения, расширяя окно процесса на 240 %, в результате чего цикл оплавления
может быть сокращен до 90-50 с. Кроме чисто экономических выгод, такой подход
снижает опасность теплового повреждения элементов, устраняет окисление флюса,
что способствует лучшему очищению подлежащих пайке поверхностей и снижению
вероятности образования шариков припоя.
Применяют также водородно-азотную атмосферу, которая
благоприятно воздействует на используемый при пайке флюс, увеличивая краевой
угол смачивания флюса по отношению к полимерным материалам и керамике.
Так, введение 5 % водорода в азотную среду приводит к
значительному снижению растекания флюса по подложке.
В этом случае, во-первых, можно уменьшить радиус
галтели припоя в паяном соединении, образующийся при оплавлении.
Во-вторых, снизить вероятность смещения элементов
вследствие ее скольжения на флюсе. И, наконец, увеличение краевого угла
смачивания уменьшает количество флюса, затекающего под корпус элемента, что
упрощает очистку плат и снижает степень ионных загрязнений.
Изменение в контактном угле смачивания флюса
обусловлено увеличением его поверхностной энергии в присутствии водорода.
3.4 Установка температурного режима инфракрасной пайки
Прежде чем производить пайку необходимо правильно установить
температурный режим установки инфракрасной пайки.
Для этого необходимо:
- закрепить термопару на плате таким образом, чтобы спай термопары был
плотно прижат к поверхности печатной платы.
Термопару желательно закреплять в центре посадочного места наиболее
массивного элемента (например - микросхемы);
- сверху закрепленного спая термопары установить элемент, который должен
находиться в данном месте печатной платы;
- подключить термопару к термоизмерительному прибору (например - КСП-4) с
пределом измерения не менее 250°С;
- установить плату на подплатник;
Рассмотрим устаноку температурного режима для установки
"Радуга-3":
- подплатник поставить на конвейер установки пайки;
- установить скорость движения конвейера равную 0,5±0,05 м/мин;
- установить температуру нагревателей печи: I зона - 300°С
II зона - 150°С
III зона - 300°С;
- включить конвейер.
После того, как плата пройдет через печь, получается график изменения
температуры на поверхности печатной платы. Изменяя температуру нагревателей,
необходимо добиться, чтобы график имел вид, показанный кривой 1 на рис.18. Если
на одной или более зон установлена максимально допустимая температура (420°С),
а температура на поверхности платы получилась ниже необходимой, добиваться
увеличения последней следует путем уменьшения скорости движения конвейера.
Рис.18 Графики
изменения температур: 1- отражает классическую кривую трехзонной пайки,- 2
отражает экспоненциальную <F:siteeksponent.htm> кривую однозонной пайки
Для
установки "Радуга-6" или "Радуга-7":
-установить
на таймере 2 мин,
-установить
температуру нагревателей 300°С,
-установить
подплатник в печь и сразу запустить таймер.
Изменяя
температуру нагревателей, необходимо добиться, чтобы график имел вид,
показанный кривой 2 на рис.18. Если на нагревателях установлена максимально
допустимая температура (420°С), а температура на поверхности платы получилась
ниже необходимой, добиваться увеличения последней следует путем увеличения
времени, установленного на таймере.
После
установки необходимого температурного режима печи печатную плату с
установленными компонентами помещают на подплатник, который устанавливают на
конвейер для осуществления групповой пайки. Плата размещается вверх элементами,
монтируемыми в отверстия.
Необходимо
помнить, что на стороне печатной платы, которая при пайке будет являться
нижней, не следует устанавливать ЧИП-элементы весом более 0,5 г и микросхемы.
Это необходимо предусмотреть при разработке топологии печатной платы.
3.5 Достоинства и достоинства метода пайки в ИК печи
Достоинства метода пайки в ИК печи :
испытанный способ серийного и массового изготовления , который может быть автоматизирован ;
отсутствует необходимость фиксации, приклеивания конструктивных
компонентов , по меньшей мере , в случае одностороннего монтажа . К тому же в
этом случае обеспечивается полное действие эффекта самостоятельного
центрирования ("плавание" конструктивного
элемента на жидком припое );
высокая плотность монтажа . Отсутствует необходимость предусмотрения
специальных (более значительных ) технологических зон между конструктивными
компонентами , так как при этом методе пайки нет необходимости в выравнивании
конструктивных компонентов относительно обусловленной системой оси ;
все конструктивные компоненты могут паяться . Это особенно важно для
конструктивных компонентов с так называемыми скрытыми под корпус контактными
площадками , например , PLCC на керамическом кристалле .
Пайка таких компонентов может осуществляться только в ИК -печи с
достижением необходимой надежности , так как контроль мест пайки сопряжен со
значительными трудностями и по этой причине основное внимание должно быть
уделено вопросу надежности ;
подвод тепла может осуществляться целевым образом , то есть
осуществляется подвод такого количества тепла ,
которое необходимо для обеспечения высококачественной пайки и может
регулироваться до оптимальной величины применительно к отдельным регулируемым
зонам ;
незначительные расходы на установку и последующие издержки .
Недостатки этого метода определены следующими факторами :
неравномерность нагрева изделий , появление в них горячих точек ;
избирательность по отношению к материалу ПП и ограничения по выбору
элементной базы . То и другое объясняется поглощающей способностью элементов
конструкции , подвергающихся ИК - нагреву по всему объему (эффект абсолютно
черного тела );
трудность отвода легко испаряющихся веществ (флюса, составляющих
припойных паст );
необходимость подбора режима пайки для каждого типа печатного узла.
3.6 Способы уменьшения недостатков инфракрасной пайки
В настоящее время недостатки ИК пайки значительно уменьшены.
Ранние конструкции ИК - печей использовали для нагрева ламповые ИК -
излучатели с температурой 700 - 800 0 С . Поскольку режим пайки требует
температуру 210 - 215 0 С , то нагрев значительно отличается от равновесного ,
при этом возникали перегретые участки , обусловленные , в частности , различной
степенью черноты поверхностей .
Фирма Dynapert предлагает формулу зависимости длины волны излучателя от
его температуры , которая имеет следующий вид
λ = 2898 мкм град / Т 0 К
где λ - длина волны в мкм , Т 0 - температура излучателя в К 0 .
Стандартное оборудование ИК -печи работает в диапазоне температур 190-450 0 С ,
из которого следует ,что длина волны лежит в пределах 4-6,25 мкм , поэтому
улучшение характеристик установок пайки получено переходом на излучатели ,
работающие в средневолновом ИК - диапазоне (4 - 6,25 мкм ). Конструктивно такие
излучатели представляют собой керамические панели больших размеров со
значительным количеством воздушных камер, работающих при температуре 280 -325 0
С .Применительно к конструкции современных установок, которые ещё долго будут
использоваться в обозримом будущем, следует учитывать следующее :
длина волны излучателя должна изменяться в диапазоне поглощения
обрабатываемого материала ;
мощность излучения или эффективность в спектре должна достигать своей
максимальной величины при использовании необходимой длины волны.
На рис19. приведена зависимость в нормальной атмосфере поглощения пропускания ИК -излучения от длины волны.
Рис.19 Кривая поглощения/пропускания ИК
-излучения от длины волны. А-пропускание
(%), В-поглощение (%)
На рис .20 поясняется зависимость поглощения /пропускания ИК -излучения
базовым материалом от длины волны.
Рис.20 Зависимость поглощения /пропускания
ИК- излучения базовым материалом от длины волны. А-пропускание(%),В-поглощение(%)
Таким образом, наиболее эффективной длиной волны излучателей является
длина в диапазоне 4 - 6,25 мкм, т .е . в так называемом средневолновом
диапазоне инфракрасного спектра . Этот диапазон лежит вне диапазона для
видимого света , т .е .различная окраска объектов не оказывает никакого влияния
на их равномерный нагрев . Другой важной особенностью средневолнового
излучателя является способность к лучшему нагреву воздуха по сравнению с
обычными инфракрасными лампами .
Нагрев подвижного воздуха может использоваться, например, для
предотвращения возникновения тени, которая оказывается тем сильнее , чем больше
размеры конструктивных компонентов . К числу таких конструктивных компонентов
можно отнести пластмассовые носители чипов с 44, 68, 84, 200 выводами . Кроме
того ,плохая теплопроводность эпоксидных материалов ухудшает результаты пайки .
На рис.21 приведен вид сбоку на установку ИК - пайки с использованием
плоских источников излучения (для простоты первая и вторая зоны не показаны).
Рис.21.Установка ИК пайки с плоскими источниками излучения. 1- внутренний блок; 2-внешний блок; 3-впускное
отверстие для внутренней атмосферы; 4,5-плоский
излучатель; 6-область протеканияпроцесса; 7- транспортировочная лета из
благородной стали
Первая зона установки предназначена для предварительного нагрева платы ,
которая активизирует флюс ,а, следовательно , уменьшает количество возможно
окислившихся мест соединений, а также удаляет летучие вещества из паяльной
пасты ,что является важной предпосылкой для достижения хорошего результата
пайки .
Вторая зона представляет собой вентилирующую переходную зону , в которой осуществляется отвод летучих материалов. К этой зоне
примыкает зона протекания процесса, в которой три плоских излучателя
расположены выше транспортировочной ленты и три плоских излучателя - ниже
транспортировочной ленты .
Каждый из этих излучателей индивидуально управляется с помощью
регуляторов на базе микропроцессора. Устройство управления, которое входит в
состав установки, обеспечивает поддержание заданного значения и постоянной
компенсации при падении и возрастании температуры. Аналогичным образом
устройство управления компенсирует нелинейные характеристики применяемого
термоэлемента. Этот термоэлемент с незначительной массой и малым временем
реагирования располагается в центре плоского излучателя . Такая система
поддержания температуры обеспечивает наилучшую реакцию нагревательного
устройства при различных загрузках печи и позволяет обрабатывать самые
разнообразные ПП.
Ширина транспортировочной ленты из благородной стали, составляет 457 мм, а максимальное отклонение температуры внутри зоны протекания
процесса - до ±2,5 0 С . Скорость движения
транспортировочной ленты контролируется замкну той цепью регулирования и может
изменяться в любой момент времени.
В зоне протекания процесса может создаваться инертная атмосфера (рис.20)
за счет введения соответствующих газов,
например, азота.
Производственные испытания установки такой конструкции показали, что в
ней достигается согласование материала в отношении поглощения и достаточная
передача конвективного тепла. При использовании плоских излучателей были
достигнуты хорошие результаты пайки без обугливания и расслоения ПП .
Кроме этого, сравнение температуры на поверхности ПП с внутренней
температурой конструктивного компонента доказали, что чувствительные к
воздействию температуры компоненты при этом не повреждаются . С помощью цепного
транспортера возможна также пайка ПП с двухсторонним монтажом .
3.7 Сравнение
методов пайки в парогазовой фазе и ИК - печи
При пайке в парогазовой фазе теплопередача осуществляется весьма быстро, после чего достигается термическое равновесие, то есть
насыщенный пар, печатная плата и конструктивные компоненты нагреваются до
температуры , которая задана точкой кипения жидкости .
Процесс охлаждения протекает в противоположность нагреву относительно
медленно с целью высушивания конденсата , находящегося на плате внутри
установки , и уменьшения потерь весьма дорогостоящей жидкости .Нагрев платы в
ИК печи, осуществляющейся с помощью инфракрасного излучателя, происходит
медленнее (рис.22, кривая 2), скорость нагрева почти на один порядок ниже по
сравнению с установками для конденсационной пайки (рис.22, кривая 1). В зоне
пайки не возникает состояние термического равновесия, а нагревание переходит
непосредственно в фазу охлаждения . При сравнимом времени пайки пиковая
температура превышает температуру при конденсационной пайке , однако при этом
не возникает увеличение интегральной термической нагрузки .
Оба метода обладают специфическими преимуществами и недостатками ,
которые сведены в табл.2.
Рис.22 Сравнение методов пайки 1-пайки
парогазовой фазе;2-ИК пайка
Таблица 2
3.8 Сравнение
методов пайки волной припоя и в ИК печи
Для этой проверки была проведена пайка образцов при скорости движения
ленты 0,8 м /мин применительно к двойной волне и в ИК -печи . На
рис.22приведены результаты испытаний с использованием срезающего усилия для
обоих методов пайки , причем для образцов , пайка осуществлялась в ИК печи
,была выбрана толщина слоя паяльной пасты 250 мкм.
Рис.22 График испытаний.1-срез
усиления(Н);2-пермещение срезающего крюка(мм)
При этом прошедшие волновую пайку образцы отличаются существенно
болеевысокой устойчивостью к срезающим усилиям по сравнению с образцами , про
шедшими пайку в ИК -печи , эта величина в среднем для всех конструктивных форм
больше приблизительно на 60 %.
Прочность таких мест пайки была подчас настолько высокой , что компоненты
ломались , когда , прикладывающий срезающее усилие , крюк скользил по
компоненту .Полученные характеристики могут быть объяснены в основном
следующими причинами :
точка приклеивания существенно способствует устойчивости к воздействию срезающего усилия ;
при пайке волной наносится количество припоя больше , чем в случае
наносимого под давлением дозированного слоя паяльной пасты толщиной 250 мкм ;
возникает иная структура пайки с более высокой прочностью ;
структура паяного слоя более однородная .
Есть основания предполагать действие всех четырех причин , причем первая
является наиболее существенной .
С целью исследования влияния клея на качество сборки , на ПП были
наклеены 10резистивных чип -компонентов типа 1206, после чего они прошли
обработку в печи на отвердение клея и подверглись двукратной обработке с помощью
одной волны припоя . После этого была измерена средняя устойчивость к
воздействию срезающего усилия , которая равна 53 Н, что обусловлено главным
образом наличием клея .
При анализе срезов, а также при подробном рассмотрении мест пайки видно
,что при пайке волной зачастую наносится большее количество припоя, нежели чем
при дозированном способе. При этом образцы, прошедшиепайку волной припоя ,имеют
более тонкую структуру , чем соответствующие образцы , прошедшие пайку
оплавлением дозированного припоя в ИК -печи .
Наблюдаемые на срезе поры , которые возникают в местах пайки в ИК печи, проявляются более отчетливо и в большом количестве в местах
разрушения после испытаний с использованием срезающих усилий . Поскольку
преобладающая часть образцов разрушалась на границе поверхностей "
металлизированная поверхность контактной площадки компонента припой " и в
этой области было установлено наибольшее количество пор , то можно предположить
, что уменьшение общей площади соприкосновения контактов в месте пайки обуславливает
снижение устойчивости к воздействию срезающих усилий .
Остается исследовать вопрос и выяснить, а потом и снять причины появления
пор с целью устранения этих слабых мест.
4. Нанесение
флюса
Флюс в составе припойных паст служит не только для активации
контактируемых металлических поверхностей, удаления с них окислов и
предотвращения окисления припоя в процессе пайки (что необходимо для создания
паяного соединения), но и обеспечивает требуемую растекаемость (реологию), а
также изменение вязкости со временем (тиксотропность) при нанесении припойной
пасты на коммутационную плату. Если состав припойной пасты имеет недостаточную
вязкость, она будет растекаться, или "расползаться", что, несомненно,
приведет к потере точности рисунка, обеспечиваемой трафаретом, а это в свою
очередь может послужить причиной образования шариков припоя или перемычек в
процессе пайки. Кроме того, количество припойной пасты, нанесенной на плату, в
ряде мест может оказаться недостаточным из-за ее растекания по плате.
Для уменьшения растекания припойной пасты можно увеличить процентное
содержание в ней порошка припоя. Можно также изменить химический состав флюса
путем введения в него специальных вяжущих добавок (загустителей), но здесь
нужно соблюдать меру, ибо в противном случае может произойти закупорка сопла
дозатора или ячеек трафарета.
Флюс должен удалять окислы с контактируемых металлических поверхностей
при пайке. Для эффективного протекания этого процесса очень важно правильно
выбрать необходимый температурно-временной режим) пайки. Если во время
разогрева платы температура повышается слишком быстро, то растворитель,
входящий в припойную пасту в составе флюса, сразу испаряется, что приводит к
потере активности флюса и разложению или выгоранию его компонентов; при этом
расплавление припоя осуществляется неравномерно, а процесс пайки -
непредсказуемо. Если же нагревательный цикл завершен преждевременно, то окислы
в местах паяных соединений могут быть не полностью удалены. Формирование слоя
припойной пасты рекомендуется производить в химически инертной атмосфере (для
избежания окисления припоя).
Некоторые сборочно-монтажные системы разработаны с учетом этой
возможности. Жидкий флюс может наноситься распылением, использоваться в
пенообразователе в волновой технологии. Жидкий флюс представляет собой смесь
растворителей (обычно изопропиловый спирт или другой растворитель с высокой
температурой кипения) в которых растворены активаторы (обычно мягкие кислоты).
Флюс может содержать канифоль, которая в нагретом состоянии обладает кислотными
свойствами. К тому же, флюс может содержать смачивающие вещества, а также
антикоррозионные добавки. Твердые составляющие, входящие в состав флюса,
состоят из канифоли, смачивающих веществ и активаторов, количество которых
отражено в процентном содержании по весу от всего количества флюса. Низкое
содержание твердых веществ позволяет получать более чистый край паяного
соединения (если используется безотмывочный флюс). При использовании
"водосмывных" флюсов, остатки, полученные после пайки, требуют
смывки, поскольку такие флюсы могут содержать повышенное количество кислот и
галоидов (соединения с хлором, бромом, фтором или йодом). Если в состав флюса
входят галоиды, это означает, что он обладает большей активностью и,
следовательно, с помощью такого флюса можно паять трудно спаевыемые соединения.
Но такие вещества не используются повсеместно, т.к. являются очень
коррозионно-активными.
4.1 Нанесение
флюса распылением
Метод распыления считается все более популярным. Метод распыления
позволяет уменьшить расход флюса, обеспечить точное и равномерное нанесение
флюса, уменьшить возможность образования капель.
Давление распыления флюса подбирается опытным путем. Если установить давление
слишком низким капли флюса становятся больше и имеют нестабильный размер. В свою
очередь, чрезмерно высокое давление может приводить к отражению флюса от
печатной платы, это приводит вместо улучшения качества смачивания к большему
расходу флюса, загрязнению печатных плат и оборудования. Необходимо проверить
количество флюса нанесенного на печатную плату. Флюс должен покрывать всю
поверхность равномерным слоем. В случае наличия «сухих» полос или пятен,
следует немного увеличить давление и повторить эксперимент. Если проблема не
устраняется путем незначительного увеличения давления, корректировку параметров
процесса флюсования следует осуществлять в комбинации с изменением других
параметров: скорости конвейера и режимами подачи флюса.
В случае применения флюсов с высокой плотностью, таких как VOC-free
(флюсы на водной основе) давление распыления следует увеличить на 10 20% по
сравнению с флюсами на спиртовой основе.
На рис. 23 изображена схема флюсования при помощи вращающегося сетчатого
барабана. В барабан подают сжатый воздух, который, проходя через сетку, создает
струю из мелких частиц жидкого флюса. На величину осаждаемого флюса оказывают
влияние четыре параметра:
· скорость движения конвейера
· скорость вращения барабана
· вязкость флюса
При изменении этих параметров толщину слоя флюса можно менять в пределах
от 1 до 10 мкм. К устройству флюсования предъявляют следующие требования:
· однородность нанесенного слоя флюса, толщиной от 1 до 10 мкм в сухом
состоянии
· регулируемая скорость вращения барабана от 0 до 20 об/мин
· угол падения струи около 30° относительно поверхности платы
· давление воздуха переменное от 0 до 250 кПа (0-2.5 бар), без
загрязнения парами масла
Рис.
23. Флюсование при помощи вращающегося сетчатого барабана
-
жидкий флюс; 2 - сжатый воздух; 3 - сетчатый барабан; 4 - печатная плата
4.2 Метод
пенного флюсования
Для нанесения флюса методом пенного флюсования применяются трубчатые
фильтры, которые образуют мелкопузырчатую пену, обеспечивающую улучшенное
смачивание, особенно при сквозной металлизации. Кроме того, такие фильтры
обладают повышенной надежностью, меньше забиваются и даже выход из строя одного
из элементов не ведет к нарушению производственного процесса. Заполните
флюсователь до максимального уровня. Начинайте работу с минимального давления,
постепенно увеличивая давление, добейтесь стабильной и качественной формы шапки
пены. Конкретная величина давления зависит от конструкции системы пайки.
Оптимальные условия нанесения флюса обычно достигаются при высоте шапки пены не
более 2 см, при этом следует исключить затекание флюса на верхнюю сторону
печатной платы.
Рис.
24. Пенное флюсование
-
жидкий флюс; 2 - сжатый воздух; 3 - аэратор; 4 - печатная плата
Пену
направляют на поверхность платы при помощи специального сопла. Плату перемещают
вдоль сопла, при этом при этом флюсуется нижняя ее сторона. Лопающиеся пузырьки
пены разбрызгивают флюс, который проникает во все отверстия платы. К пенному
флюсующему устройству предъявляются следующие требования:
· установка должна создавать однородные диаметром 1…2 мм
пузырьки, что можно достигнуть только при полностью свободных всех воздушных
каналов аэратора
· высота пены должна регулироваться в диапазоне от 0 до 15 мм
· аэратор должен легко заменяться
· в случае отказа устройства флюсования процесс пайки должен
немедленно прекращаться
5.
Предварительный нагрев
Предварительный нагрев обеспечивает:
-Подогрев подлежащих пайке электронных компонентов с целью уменьшения
термоудара.
Удаление растворителя из флюса.
Активацию флюса.
Выбор температуры предварительного нагрева зависит от конструкции
печатных плат, а также от температуры испарения растворителя. Для флюсов на
спиртовой основе общепринятыми являются следующие режимы
|
Тип печатной платы
|
Температура на плате
|
|
Односторонняя
|
80 - 90°C
|
|
Двухсторонняя
|
90-120°С
|
|
Многослойная (до 4-х слоев)
|
105-120°С
|
|
Многослойная (более 4-х
слоев)
|
110-130°С
|
Особенное внимание следует уделить подогреву при работе с многослойными
печатными платами, который должен обеспечить качество пайки сквозных
металлизированных отверстий. Изменение температуры на стадии предварительного
нагрева должно осуществляться со скоростью не более 2°С/сек. В случае
недостаточного прогрева и неполного удаления растворителя флюса при пайке
происходит выделение газов в волну припоя, это ухудшает смачивание и может
приводить к непропаям вводов компонентов.
6. Технология
нанесения припойной пасты
Процесс нанесения паяльной пасты зависит от большого числа составляющих:
от характеристик оборудования - принтеров, держателей плат и др.;
от трафаретов - формы и размеров отверстий, качества стенок отверстий,
толщины трафарета;
от параметров процесса нанесения пасты - скорости, угла атаки, давления и
жесткости ракеля, скорости отделения трафарета, зазора между трафаретом и
платой;
от припойной пасты - размера частиц, объемного содержания металла,
вязкости пасты, подвижности флюса;
от параметров рабочего помещения - температуры, влажности, пыли.
Припойная паста может наноситься с помощью механических устройств для
трафаретной печати (ручной способ), с помощью автоматических принтеров, с
помощью дозаторов.
Дозаторы - устройства последовательной обработки, паста наносится по
программе в определенном объеме на заданные точки ПП. Автоматический дозатор
представляет собой рабочий стол, на который крепится обрабатываемая плата. Над
рабочим полем перемещается дозатор, который осуществляет нанесение материалов
на плату, для управления используется персональный компьютер. Ключевые
параметры дозаторов: скорость дозирования (до 15 тыс. точек в час) и
максимальный формат обрабатываемой платы (до 450x450 мм). Как и любой
последовательный процесс, такой способ нанесения пасты занимает гораздо больше
времени, чем трафаретная печать. Однако для дозатора не требуется разрабатывать
и изготавливать трафарет. При малых объемах производства (единичные платы) для
нанесения материалов можно применять и ручное дозирование.
Если на производстве изготавливается большое число конструкций плат при
малом их количестве, то целесообразно применять метод дозирования, особенно при
лабораторном производств, так как стоимость изготовления трафаретов (по одному
на каждую сторону каждой разновидности плат) может оказаться больше стоимости
изготовления самих плат. В случае промышленного производства, напротив, нанесение
материалов методом дозирования нежелательно из-за низкой скорости процесса по
сравнению с трафаретной печатью. На крупносерийных производствах стоимость
трафаретов не вносит заметного вклада в общие расходы.
Устройства трафаретной печати могут быть как ручными, так и
автоматическими.
Ручной принтер представляет собой сравнительно простое устройство: на
металлической раме закрепляется трафарет, после чего раму крепят к рабочему
столу, на котором находится плата, давление на ракель осуществляется оператором
вручную. В автоматических принтерах все операции - совмещение трафарета и
печатной платы, осуществление приводного давления на ракель, дозирование
припойной пасты на трафарет - выполняются автоматически. Эти устройства могут
работать как автономно, так и в составе производственной линии. Основные
параметры автоматических принтеров: максимальный формат платы, который может
достигать значения 510х510 мм, и скорость перемещения ракеля (до 150 мм/с).
.1 Выбор
припойной пасты
Припойные пасты, использовавшиеся ранее в производстве гибридных
микросборок, были значительно улучшены применительно к технике поверхностного
монтажа. Однако при разработке высоконадежного и экономически эффективного
процесса изготовления изделий инженер-технолог должен выбрать припойную пасту с
характеристиками, оптимально удовлетворяющими требованиям технологии
производства конкретного изделия.
Характеристики припойных паст в первую очередь определяются их составом.
6.2 Состав припойных паст
Припойные пасты, как правило, представляют собой смесь мелкодисперсного
порошка материала припоя со связующей жидкой основой; при этом содержание
порошка припоя составляет приблизительно 88 % от веса всей смеси (обычно этот
показатель меняется в пределах от 85 до 92 %). Однако чаще всего состав
припойных паст выражают через соотношение ингредиентов материала припоя. Так,
например, 63/37 означает содержание в составе материала припоя 63 % олова и 37
% свинца, а 62/36/2-62 % олова, 36% свинца и 2 % серебра. Хотя оба этих состава
довольно часто используются для приготовления припойных паст в ТПМК, существуют
некоторые опасения, что присутствие в составе припоя добавки серебра
способствует ускорению процесса выщелачивания серебра, входящего в состав
материала выводов компонентов для поверхностного монтажа.
Характеристики частиц в припойных пастах.
Характеристики частиц материала припоя в припойной пасте оказывают
существенное влияние на качество паяного соединения. Наиболее важным
параметром, характеризующим припойный материал, является размер частиц припоя,
который выражается в мешах (единицах измерений при классификации номеров сит).
Так, 200/+325 означает припойную пасту, частицы которой проходят через сито
номер 200, но не проходят через сито номер 325 после предварительного удаления
крупнодисперсных частиц, т. е. их размер лежит в диапазоне 44-74 мкм. Если
припойная паста наносится на коммутационную плату методом трафарет-ной печати,
рекомендуется применять припойную пасту, у которой максимальный размер частиц
припоя составляет половину размера ячейки трафарета.
Форма частиц материала припоя также оказывает существенное влияние на
процесс трафаретной печати; считается, например, что использование в составе
паст частиц припоя сферической формы облегчает процесс трафаретной печати, в то
время как наличие частиц другой, отличной от сферической, формы может
способствовать появлению загрязнений (например, трафарета), затрудняющих
процесс печати. Частицы неправильной формы могут, кроме того, способствовать
ускорению процессов окисления материалов припоя. Пульверизация расплавленного
припоя, с помощью которой наиболее просто получить порошко-образные припои,
образует частицы преимущественно сферической формы. Использование паст со
сферическими частицами припоя позволило достичь требуемую воспроизводимость
техно-логического процесса от одной партии изделий к другой при формировании
рисунка припойной пасты.
6.3 Общие
замечания
Используемая припойная паста должна быть пригодна для реализации
выбранного способа пайки, например в ПГФ либо с ИК-нагревом. Кроме того, паста
должна быть совместима с остальными операциями технологического цикла. Пока еще
трудно утверждать, нужна ли просушка припойной пасты после ее нанесения на
плату с целью предотвращения быстрого испарения растворителя во время пайки и,
соответственно, исключения вероятности искажения заданного рисунка припойного
слоя. Просушка, несомненно, эффективна еще и с точки зрения улучшения фиксации
компонентов, по крайней мере на период транспортировки собранной платы в зону
пайки. И вместе с тем, если просушка паст применяется, то нужно принять
соответствующие меры для предотвращения окисления припойного материала. При
этом исправление брака и удаление припойной пасты существенно усложняются.
Промежуток времени между нанесением припойной пасты на коммутационную
плату и процессом пайки является еще одним фактором, который нужно учитывать
при выборе пасты; длительный промежуток времени может привести к ухудшению
электрофизических параметров пасты. Припойная паста не должна ухудшать свои
параметры не только в условиях термообработки при повышенной температуре, но и
в условиях циклического воздействия температуры, которым подвергается плата как
в процессе пайки, так и на других этапах изготовления изделия.
В дополнение к этому припойная паста должна быть стойкой к воздействию
химических реактивов, используемых в ТПМК, особенно во время очистки
смонтированных плат, в процессе которой применяются органические растворители
на основе хлора и фтора, а также вода. Несомненно, припойная паста должна быть
совместима с материалами коммутационной платы, а также с технологическими
процессами, в которых она участвует. Распространенными материалами выводов или
внешних контактов электронных компонентов являются золото, серебро,
палладий-серебро, медь, а также луженая медь, и припойная паста должна
выбираться таким образом, чтобы исключить выщелачивание этих материалов в
местах пайки и повысить надежность паяного соединения.
6.3 Трафаретный метод нанесения припойной пасты
Наиболее важным в массовом производстве печатных плат, является метод
трафаретного нанесения припойной пасты, в котором паста продавливается через
трафарет (окна) на контактные площадки печатной платы. Припойная паста уже
содержит в себе и припой, и флюс, а их пропорция одна из важных характеристик
пасты. Материалом трафарета может быть как сплав никеля, так и нержавеющая
сталь. Отверстия в трафарете обычно прорезаются лазером или протравливаются.
В массовом производстве этот метод эффективен, но относительно не гибок,
так как свой собственный трафарет (причем несколько) требуется для каждой
платы. Гибкость достигается только за счет быстрой смены трафарета и
автоматического распределения пасты. Основные этапы этого метода показаны на
рис.24.
Рис.24 Основные этапы
При
проведении скребком по поверхности трафарета припойная паста продавливается
сквозь отверстия в трафарете на контактные площадки. Наиболее важной фазой
этого процесса является продвижение пасты вдоль поверхности трафарета, она
должна продвигаться с правильной силой, углом и скоростью. Трафарет и скребок
должны быть чистыми и паста должна иметь строго определенные характеристики для
этой силы, угла и скорости. Ошибки в этих параметрах приводят к плохим
характеристикам пайки, такие как непропай и другие. Практика показывает, что
больше половины ошибок всего процесса сборки печатных плат приходятся именно на
процесс нанесения припойной пасты. Преимуществом метода трафаретного нанесения
припойной пасты является то, что паста может быть нанесена слоем до 300 мкм с
очень высокой точностью. Также трафарет позволяет наносить пасту толщиной до
0,65 мм(рис.25)
Рис.25 Устройства
трафаретной печати
6.4
Дисперсный метод нанесения припоя
Довольно часто встречающимся методом нанесения припойной пасты,
применяемым в штучном и мелкосерийном производстве, является диспенсорный
метод, в котором используется диспенсер - шприц.
На рис. 26 показано: 1 - крышка; 2 - давящий воздух; 3 - поршень; 4 -
припойная паста; 5 - цилиндр; 6 - сопло; 7 - контактная площадка.
Автоматическая дозировка осуществляется в соответствии с данными САПР при
помощи сжатого воздуха. Паста поступает в виде "капель"
непосредственно на контактные площадки печатной платы. Преимуществом диспенсорного
метода является высокая гибкость его применения. Этим методом можно наносить
пасту на контактные площадки толщиной от 0,75 мм.
Рис.
26- устройство для нанесения припоя дисперсным методом.
6.5 Контроль
примесей в припое
Контроль примесей осуществляется путем химического анализа припоя.
Проверка включает:
• Анализ в ванне установки пайки волной припоя проводится не реже 1
раза в месяц для установок с загрузкой ванны 100-110 кг и не реже 1 раза в 3
месяца для установок с загрузкой больше 300 кг.
6.5.1
Рекомендации по взятию проб
Оловянно-свинцовые сплавы при затвердевании проявляют тенденцию к
расслаиванию при медленном охлаждении, в результате этого на отдельных участках
может происходить обогащение припоя примесями, что приводит к неправильным
результатам анализа. Поэтому для взятия проб рекомендуется:
• Обеспечить температуру в ванне с припоем не ниже 240°С
• Использовать черпак для взятия проб из нержавеющей стали
• Взятие проб производится при включенных волнообразователях
Результаты анализа должны содержать процентно-весовые доли следующих
элементов: Си, Ag, Au, Zn, A1, Cd, Sb, As, Bi, Fe, Ni, P. Точность измерений
должна составлять 0,001%.
6.5.2 ПДК примесей в припое
Если степень загрязнения припоя для пайки превышает установленные нормы,
то следствием этого являются технологические дефекты. В связи с этим на
предприятиях внутренними нормативами должны устанавливаться допустимые
максимальные степени загрязнения припоя и определяться периодичность анализа
припоя.
Влияние примесей на качество расплавленного припоя приведено в таблице 3.
Как видно из таблицы, требования отечественных и зарубежных нормативных
документов "слегка" отличаются.
Следовательно, наиболее дешевые припои, даже удовлетворяющие требованиям
отечественного ОСТ 4Г 0.054.267, не обязательно наиболее экономичны с точки
зрения срока жизни в ванне, надежности и качества паяных соединений.
.5.3 Корректировка состава припоя
При превышении хотя бы одного из предельно допустимых показателей по
примесям ванна для пайки считается не пригодной для использования. Однако в
очень редких случаях необходима полная замена содержимого ванны, как правило,
замене подвергается лишь часть припоя. Превышение допустимого предела для
каждого элемента примеси (А) может быть определено по формуле
А = ((С - В) / В) * 100%
где С - результат анализа, В - допустимое значение.
В результате удвоения полученного результата определяется количество
припоя подлежащего замене, при этом степень загрязнения ванны по данной примеси
уменьшается до 50% предельно допустимого значения.
Пример: Измеренное содержание Cu в ванне составило 0,28%. Предельно
допустимое содержание Cu в ванне 0,25%. Содержание ванны 500 кг.
А = ((0,28 - 0,25) / 0,25) * 100% = 12% (превышение допустимой
концентрации примеси Cu на 12%). Таким образом, количество припоя подлежащего
замене составляет 24% от объема ванны.
Замена 24% от 500 кг = 120 кг. Необходимо заменить 120 кг припоя в ванне
новым припоем.
Снизить концентрацию следующих примесей в припое также возможно с
применением перфорированного черпака:
Cu до 0,17 - 0,19%, Fe до 0,01% и Au до 0,15%
Таблица 3
Наименование примесей ПДК примесей в ванне припоя, %
Влияние превышения предельно допустимой концентрации (ПДК) примесей в
припое на качество пайки
по ОСТ 4Г0.054.267 по зарубежным стандартам .
Медь 0,50 0,05 - 0,08
Припой более вязкий, поверхности паек зернистые, увеличивается время
смачивания, припой прилипает к плате
Золото 0,20 0,08
Образуются хрупкие соединения с оловом и свинцом, приводящие к снижению
прочности паяного соединения, тусклая поверхность пайки
Железо 0,02 0,01-0,02
Зернистая поверхность пайки, образуется FeS2
Алюминий
Цинк
Кадмий 0,008
,008 0,001- 0,005
,001 - 0,005
,001 - 0,005
Повышает температуру плавления, зернистая и тусклая поверхность пайки,
увеличивается скорость окисления поверхности расплавленного припоя, снижается
коэффициент растекания припоя.
Висмут 1,0 0,05 - 0,1
Потускнение припоя и поверхности паяного соединения
Отсутствие припоя плохое смачивание.
Определяется по отталкиванию припоя от поверхностей, которые должны быть
спаяны.
Причины Методы корректировки
Высокое содержание защитного масла в волне Откорректировать
содержание и распределение масла в волне.
Неправильное соотношение диаметров отверстия и вывода компонента.
Изменить конструкцию отверстия. Увеличить время пайки
Недостаточное время и температура пайки.
Повысить время/температуру пайки
Недостаточная активность флюса/загрязнение флюса.
Проконтролировать плотность, качество и количество наносимого флюса Флюс
должен покрывать всю поверхность печатной платы равномерным слоем без пропусков
и пятен. Проконтролировать чистоту флюса.
Высокая скорость конвейера Откорректировать скорость конвейера.
Чрезмерное загрязнение припоя, попадание шлама на плату.
Проконтролировать содержание примесей в припое, произвести его замену
Отсутствие контакта плат с припоем
Отрегулировать расстояние между волной и печатной платой
Плохая паяемость плат и компонентов Проконтролировать паяемость плат и
компонентов.
Загрязнение печатных плат Очистить платы перед сборкой
Разбрызгивание шариков припоя
Определяется по очень маленьким сферическим каплям припоя, разбрызганных
по поверхности печатной платы.
Причины. Методы корректировки
Выделение газа. Неполное испарение растворителя флюса на стадии
предварительного нагрева. Присутствие влаги. Увеличить время или
температуру предварительного нагрева. Обеспечить просушку печатных плат перед
сборкой.
Неравномерность волны
Повысить равномерность волны
Высокая плотность флюса
Откорректировать плотность флюса
Низкая температура предварительного нагрева Увеличить температуру
предварительного нагрева
Высокая скорость конвейера Снизить скорость конвейера
Пористая структура паяльной маски Используйте качественную паяльную
маску
Перемычки припоя
Причины
Методы корректировки
Недостаточная активность или количество флюса Использовать более
активный флюс, увеличить плотность флюса
Недостаточный подогрев печатных плат Увеличить температуру,
время предварительного нагрева.
Загрязнение припоя, попадание шлама на плату
Откорректировать содержание примесей в припое, удалить шлам
Неправильная ориентация микросхем по направлению к волне припоя
Конструкция печатных плат должна соответствовать требованиям стандарта
IPS-SM-782A
Неоптимальный угол выхода платы из волны припоя Откорректировать
угол наклона конвейера.
Сосульки и шипы припоя
Причины
Методы корректировки
Недостаточная активность или количество флюса Использовать более
активный флюс, увеличить плотность флюса.
Высокая скорость конвейера Снизить скорость конвейера
Неоптимальный угол выхода платы из волны припоя Откорректировать
угол наклона конвейера.
Оптимальный угол - 7°
Низкая температура пайки Увеличить температуру пайки
Большие открытые контактные площадки Изменить конструкцию платы.
Использовать более активный флюс
Плохая паяемость плат Очистить платы перед сборкой
7. Очистка
плат после пайки
Обычная ПП содержит много внутренних полостей (в том числе и под
компонентами), имеющих выход на поверхность через узкие вертикальные зазоры
между компонентами или их выводами. Эти полости способны удерживать продукты
разложения флюса и другие загрязнения, которые могут стать источниками коррозии
или причиной проникновения внутрь корпусов компонентов веществ, вызывающие
повышенные токи утечки. Усиленные попытки очистить плату, например, с помощью
органических растворителей, сами по себе могут вызвать механические повреждения
или коррозию.
Как правило, загрязнения бывают либо полярными (ионы), либо неполярными.
Свободные ионы, особенно электроотрицательные, обладающие высокой химической
активностью, быстро вступают в реакцию с металлом коммутационных дорожек и
вызывают коррозию. Неполярные загрязнения ухудшают адгезию припоя, свойства
защитного покрытия и электрический контакт для функционального испытания
микросборки.
Органические растворители в соответствии с их очистной способностью можно
разделить на три группы. Гидрофобные - не смешиваются с водой, используются для
растворения органических загрязнений, например канифоли и жиров. Гидрофильные -
смешиваются с водой, растворяют полярные и неполярные соединения, причем
последние в меньшей степени, чем гидрофобные растворители. Азеотропные -
представляют собой в основном смесь вышеуказанных типов растворителей. В их
состав обязательно входят такие ингредиенты, как фреон-113 или
тетрахлордифторэтан, с добавками спиртов и стабилизирующих ингредиентов.
Очистка изделий с применением растворителей может быть реализована
погружением плат в ванну с растворителем, равномерным по полю платы или
направленным в виде струй опрыскиванием, либо комбинацией обоих методов. Может
применяться ультразвуковое перемешивание при очистке плат в ванне с растворителем.
На эффективность очистки может повлиять ряд факторов, в том числе расположение
компонентов. Компоненты должны размещаться на поверхности платы таким образом,
чтобы их корпуса не загораживали друг друга при движении потока растворителя.
Прерывания движения платы и остановки во время пайки волной припоя должны быть
сведены к минимуму, чтобы флюс нигде не задерживался в полостях платы. Если
используются чувствительные компоненты, рекомендуется обрабатывать микросборки
в потоке растворителя. При этом необходимо обеспечить максимальную однородность
потока растворителя, а интервал времени между пайкой и очисткой уменьшить до
минимума.
8. Контроль
печатных плат
На всех стадиях сборочно-монтажных операций выполняются операции
контроля: входной контроль, операционный контроль, выходной контроль. По
степени охвата большинство операций относятся к сплошному контролю, т.е.
проверке подвергаются все модули. Обнаруженные дефекты фиксируются в
сопроводительной документации на узел для последующего устранения, для статистического
учета и с целью выявления и устранения причин их появления. Протоколирование
дефектов в соответствии с программой ведет и автоматическое оборудование.
Визуальный контроль с помощью оператора - самый распространенный способ.
Оборудование - микроскоп с увеличением от 2 до 10 крат. Качество контроля
зависит от квалификации оператора. Такой контроль применяется в лабораторных
условиях или на опытном производстве. В сборочных линиях контроль осуществляют
автоматические установки.
Автоматическая оптическая инспекция (АОИ). Автоматизированный контроль
реализуется в ходе четырех основных этапов технологического процесса: нанесения
припойной пасты, позиционирования компонентов, отверждения адгезива и проверки
после пайки.
Очень важна оптимизация процесса трафаретной печати припойной пасты,
поскольку она служит источником дефектов пайки (перемычек и непропаев), а
дефекты, связанные с пайкой, являются основной причиной отбраковки изделий на
выходном контроле. Настоятельно рекомендуется контроль собранных плат после
отверждения адгезива. Вследствие недостаточного или чрезмерного количества
нанесенного адгезива компоненты могут оказаться приподнятыми под углом по
отношению к поверхности платы или установленными с разворотом (смещенными в
плоскости платы).
Это способствует появлению дефектов при пайке. Отсутствие конвейера для
транспортировки коммутационных плат и перемещение плат вручную (после
позиционирования компонентов) в камеру для отверждения адгезива может привести
к смещению компонентов.
АОИ позволяет контролировать:
нанесение припойной пасты (недостаточное, избыточное, неточное,
позиционирование трафарета);
качество позиционирования компонентов (отсутствие/наличие компонента,
точность позиционирования, включая разворот по горизонтали и вертикали, несоответствие
полярности или номера вывода, дефект вывода, наличие посторонних предметов);
качество паяного соединения (короткое замыкание, непропай,
несмачиваемость, излишек или недостаток припоя).
Основой АОИ является формирование изображений объектов и анализ
характерных особенностей их элементов. Двухмерное изображение объекта
формируется оптическими матрицами. Для повышения контрастности изображения
используют дополнительное освещение инспектируемой поверхности. Типичными
параметрами установки являются: стандартное поле зрения (порядка 30х50 мм) и
поле высокочеткого зрения (порядка 6х8 мм), скорость сканирования (до 18÷36 см2/сек) и количество
одновременно обрабатываемых изображений (как правило, более 70). Используются
монохромные системы, двух- и трехцветовые (самые распространенные). Фон
теплового излучения от платы и компонентов может создавать помехи, компенсация
помех выполняется программными средствами. Изображение оцифровывается, и
формируется матрица, несущая информацию об объекте. Сформированная картинка
может сравниваться с эталонным изображением платы или с информацией о сборке на
основании данных CAD и Gerber-файлов. Такие системы позволяют выполнять
100%-ный контроль плат со скоростью до 150 000 компонентов в час, но
чувствительны к смене материала платы и компонентов. Большинство АОИ хорошо
обнаруживают дефекты расположения компонентов и с меньшим успехом различают
дефекты нанесения припойной пасты или качество пайки.
Оптические системы на основе лазеров могут формировать 3-х мерное
изображение объектов. Они применяются и для двумерного анализа сборок, особенно
в тех случаях, когда наблюдаемые элементы имеют малую высоту или небольшое
различие по контрасту (отверстия, реперные точки). Лазерные системы в составе
автоматических сборщиков не формируют изображение объекта, а анализируют
отражение от компонента, и если присутствует тень вместо отраженного луча, то
компонент пропущен при установке и система выдает соответствующее сообщение.
Рентгеновские контрольные технологические установки (РКТУ). Для контроля
качества внутренних слоев ПП и качества пайки некоторых типов компонентов
применяется анализ изображений, полученных с помощью рентгеновских установок.
Изображение внутренних слоев МПП и паяных соединений шариковых выводов корпусов
типа BGA, скрытых под днищем микросхемы, может быть получено благодаря высокой
проникающей способности рентгеновских лучей и разной способности материалов
поглощать рентгеновские кванты. Проникающая способность излучения зависит от
его энергии, которая определяется напряжением на рентгеновской трубке. Для
пластика ПП достаточно напряжения в 30 кВ, для исследования паяных контактов
BGA компонента требуется напряжение 100 кВ. Опасности для персонала такое
излучение не представляет, поскольку оно полностью поглощается достаточно
тонкими металлическими защитными стенками.
Рентгеновские лучи позволяют получать изображения с разрешением от 0,5 до
единиц микрон. Существуют определенные сложности формирования увеличенного
изображения объекта в рентгеновских лучах, поскольку для них не существует линз
и других элементов обычной оптики. Основная задача лежит на алгоритмах
обработки изображения, конвертированного детектором квантов в электрический
сигнал. Достаточно хорошо с помощью РКТУ идентифицируются дефекты пайки
(непропаи и короткие замыкания), скрытые под корпусами микросхем. С помощью
рентгеновского контроля можно обнаружить дефекты типа пустот внутри паяных
соединений. Широкое применение рентгеновский контроль нашел в производстве МПП
для обнаружения дефектов ширины внутренних проводящих дорожек, расслоения
диэлектрика и других. Однако установки весьма дороги, для них характерна низкая
скорость контроля, повышенные эксплуатационные расходы.
Электрический контроль. При тестировании электрическим методом платы
устанавливаются на адаптеры, построенные по принципу «поля контактов». Для
обнаружения коротких замыканий и обрывов используется низкое напряжение (10 В).
Высоким напряжением (500 В) тестируется изоляция на утечку и пробой. Наличие
тестовых контактов в переходных отверстиях позволяет с высокой точностью
локализовать обрывы. Тестирование плат при помощи этого метода занимает
несколько секунд. Самой ответственной частью тестеров является тестовый
контакт, так как именно от качества контактирования зависит достоверность информации.
Тестовые контакты содержат подпружиненную контактирующую часть.
Тестирование многослойных ПП имеет определенные сложности. Обычные
способы («поле контактов», «летающие пробники») позволяют найти цепи с
имеющимися короткозамкнутыми слоями или проводниками, однако они не определяют
их точного местоположения. Если учесть, что стоимость некоторых МПП достаточно
велика, то можно говорить о рентабельности оборудования, позволяющего
локализовать и устранять такие дефекты. Для точного определения места межслоевого
короткого замыкания применяется оборудование, работающее по методу «векторного
поиска». Суть его в том, что на область предполагаемого дефекта подается
напряжение питания, после чего отслеживается зависимость изменения величины
протекающего тока от положения пробника на ПП. В основе приборов с такой
технологией применяются очень точные миллиомметр, микровольтметр и
миллиамперметр.
9. Заключение
Данная курсовая работа посвящена анализу существующих технологических
процессов монтажа на поверхность, рассмотрены основные виды технологических
процессов монтажа ЭРЭ. Рассмотрены различные методы пайки, более подробно был
раскрыта инфракрасная пайка.Также была проведена сравнительная характеристика
этого метода пайки с другими(спайкой в парогазовой фазе и пайкой волной
припоя).
В курсовой работе даны рекомендации по взятию проб для правильного
получения результатов анализа, а также методы корректировки с дефектами пайки
волной припоя. Также были освящены методы нанесения флюса и припойной пасты. В
заключении рассматривались методы контроля печатных плат.
В результате анализа и проделанной работы, был сделаны выводы о том, что
применение ИК пайки является перспективным направлением в технологии
поверхностного монтажа, которой обеспечивает уменьшение затрат на эксплуатацию
оборудования при одновременном повышении качества паяных соединений.
ИК нагрев выгодно отличается тем, что имеет более простое оборудование,
которое намного экономичнее и более целесообразно для поверхностного монтажа
современных изделий.
10. Список
литературы
1. Основы технологии поверхностного монтажа/ Сускин В.В. -
Рязань: Узорочье, 2001 - с.160.
. Медведев
А.М. Печатные платы. Конструкции и материалы. - М.: Техносфера, 2005.
3. Из истории
технологий печатных плат. Электроника: НТБ, 2004, № 5.
. Новинки
электронной техники. Фирма Intel возвещает эру трехмерных транзисторов.
Альтернатива традиционным планарным приборам // Электроника-НТБ, 2002, № 6.
. Медведев
А.М. Технология производства печатных плат. - М.: Техносфера, 2005.
6. Мэнгин Ч., Макклеланд С.Технология поверхностного
монтажа.М:Мир.1990
. Зворыкин Д.В., Прохоров Ю.И. Применение лучистого
инфракрасного нагрева в электроннлй промышленности.М.:Энергия 1990.
.Кундас С.П.,
Достанко А.П.,Ануфриев Л.П. Технология поверхностного монтажа/Минск:Армита.2000
9. Ватанабе Риочи. Замечательная идея
от фирмы Samsung // Компоненты и технологии. Приложение: Технологии в
электронной промышленности, 2005, № 5.
.
Http://www.urazaev.narod.ru
. Цветков Ю.
Микротехнология - универсальная основа производства современной электроники //
Компоненты и технологии. Приложение. Технологии в электронной промышленности,
2005, № 4.
. Медведев
А.М. Летняя конференция - 2005 Европейского института печатных схем //
Компоненты и технологии. Приложение: Технологии в электронной промышленности,
2005, № 4.
13.
Http://lmis2.epfl.ch/articles/pdt/16.pdf
14. Ляйзинг
Г., Штар Й. Тенденции развития печатных плат // Компоненты и технологии.
Приложение: Технологии в электронной промышленности, 2005, № 5.
15. Справочник по композиционным
материалам. Под ред. Д. Любина. Пер. с англ. - М.: Машиностроение, 1988.
. Уразаев
В.Г. Все взаимопроникает, все… // Компоненты и технологии. Приложение:
Технологии в электронной промышленности, 2005, № 1.
. Петров В.
Серия статей "Законы развития систем" //
Http://www.trizland.ru/trizba.php?id=108
. Алферов
Ж.И. Полупроводниковая электроника в России. Состояние и перспективы развития
// Электроника: НТБ, 2003, № 4.
19.www.ersa.ru
.www.ostec.ru/smt
21.Монтаж на
поверхность: Технология. Контроль качества/ В.Н. Григорьев, А.А. Казаков, А.К.
Джинчарадзе и др.; Под общей редакцией И.О. Шурчкова М.: Издательство
стандартов, 1991 - с.184.
22. Краткий
справочник по поверхностному монтажу/ http://www.pribor.ru www.aimsolder.com.
23. ГОСТ 17325. Пайка. Термины и определения.