Технология струйной цементации грунтов

  • Вид работы:
    Дипломная (ВКР)
  • Предмет:
    Другое
  • Язык:
    Русский
    ,
    Формат файла:
    MS Word
    756,21 kb
  • Опубликовано:
    2011-08-26
Вы можете узнать стоимость помощи в написании студенческой работы.
Помощь в написании работы, которую точно примут!

Технология струйной цементации грунтов

СОДЕРЖАНИЕ

Введение

1. Технология струйной цементации грунтов

2. Обоснование выбора оборудования

. Анализ конструкции и работы бурового станка СБГ-3320

3.1 Назначение и условия его работы

.2 Техническая характеристика станка

3.3 Устройство станка

3.4 Работа станка

3.5 Подготовка станка к работе

3.6 Порядок работы

4. Организация работ в проходческой выработке

. Рекомендации по совершенствованию оборудования

.1 Разработка бурового става для струйной цементации грунтов

.2 Расчетная часть

Заключение

Список используемой литературы

Введение

Развитие технологии струйной цементации грунтов шло параллельными курсами в ряде развитых стран (Япония, Италия, Англия). В настоящее время, технология СЦГ широко применяется в промышленном и гражданском строительстве, а также строительстве подземных сооружений.

 <#"518181.files/image001.gif">

ССР: Раствор цемента под высоким давлением

Однокомпонентная с затопленной струей

JSP: Раствор цемента в среде сжатого воздуха

Однокомпонентная с растворовоздушной струей

CJG: То же с вытеснением пульпы раствором цемента

Двухкомпонентная с водовоздушной струёй

SS S-MAN: То же с регенерацией цементного раствора

Трехкомпонентная

Струйная цементация грунтов позволяет решить многие вопросы строительной практики:

. устройство ограждающих конструкций при проходке вертикальных и горизонтальных горных выработок без остановки производственных процессов (рис. 1);

. крепление котлованов при строительстве подземных сооружений в обводненных и слабых грунтах в условиях плотной городской застройки;

. устройство грунтоцементных свай в основании проектируемых фундаментов плитного, ленточного или столбчатого типа устройство грунтоцементных свай при сооружении или заглублении подвалов под существующими зданиями;

. устройство шпунтового ограждения при ведении земляных работ вблизи зданий и сооружений при заглублении подвалов, прокладке коммуникаций, строительстве вблизи существующих зданий;

. устройство свайных фундаментов из грунто-цементных свай с армированием железобетонным сердечником;

. устройство противофильтрационных завес способом "стена в грунте" для защиты водоносных горизонтов и предотвращения фильтрационных деформаций берегов рек, дамб, железнодорожных и автомобильных насыпей;

. устройство грунтоцементных свай в основании существующих (при аварийных деформациях в результате снижения несущей способности грунтов или увеличения нагрузок на фундаменты при надстройке или реконструкции) и проектируемых зданий и сооружений. [2]

Рис. 1.

К преимуществам технологий создания грунтобетонных конструкций перед известными технологиями создания фундаментов в подземном строительстве следует отнести:

·        высокая производительность работ (так, например, скорость создания противофильтрационной завесы при самых неблагоприятных условиях работы для выпускаемого оборудования составляет не менее 8 м2/ч);

·        отсутствие динамических нагрузок на фундаменты близко расположенных зданий и сооружений, в отличие от забивания железобетонных свай;

·        возможность работы в стесненных условиях - внутри зданий, горных выработок, подвальных помещений (уменьшение объема дополнительных работ). [3]

Процесс работ по СЦГ (рис. 2) рассмотрен в 4 пункте данной работы.

Рис. 2. Процесс создания грунтобетонной сваи

буровой станок цементация грунт

Следует отметить, что высокоскоростные водоцементные струи обладают значительной кинетической энергией, обеспечивающей существенное увеличение диаметра получаемой грунтобетонной сваи по отношению к диаметру пилотной скважины, за счет сплошного струйного разрушения грунта. По этой же причине, получаемый грунтобетон характеризуется высокой степенью однородности физико-механических свойств, обусловленной интенсивным перемешиванием в скважине образующейся массы. [4]

Достоинствами СЦГ грунтов является широкая область применения (практически весь диапазон грунтов - от гравия до торфов и илов), и высокая предсказуемость результатов укрепления грунтов, что отодвигает традиционные технологии инъекционного закрепления грунтов на второй план.

К известным недостаткам СЦГ, сдерживающим еще более широкое внедрение представляемой технологии создания свайных фундаментов для зданий и сооружений, является гарантированная правильная цилиндрическая форма получаемой сваи только в условиях однородных грунтов по всей глубине сваи. В случае, если в толще грунта встречается пропласток существенно отличающийся по прочности от остального массива грунта, форма получаемой сваи может существенно искажаться. При более слабом пропластке диаметр сваи в этом месте будет увеличен, что ведет к необоснованному увеличению расхода материала - водоцементного раствора, а при более прочном пропластке, диаметр сваи будет соответственно уменьшен, что приводит к ослаблению несущей способности сваи за счет уменьшения общей площади ее контакта с массивом грунта.

Устранению данного недостатка СЦГ призвана служить разработанная, и в настоящее время внедряемая система автоматического управления работы бурового оборудования.

Принципиально, работа САУ СЦГ заключается в непрерывном мониторинге параметров бурения во время проходки пилотной скважины, позволяющем построить график изменения физико-механических свойств грунта по глубине сваи. Основываясь на полученной информации система задает параметры процесса цементации при обратном ходе буровой колонны таким образом, что бы грунтобетонная свая создавалась заданного диаметра, не зависимо от прочности вмещающих грунтов.

Таким образом, оснащение бурового станка САУ СЦГ позволит создать отечественную современную строительную машину, обладающую более широкими технологическими возможностями, чем зарубежные машины аналогичного назначения, при вполне доступных, для массового потребителя, ценовых показателях.

2. Обоснование выбора оборудования

В качестве варианта проведения работ была принята одноструйная (однокомпонентная) технология, в которой для создания свай необходима подача бетона высокого давления и воды низкого давления. Для этой технологии необходимо наличие в инструменте только одного канала, что существенно упрощает конструкцию бурового става.

Технологические параметры:

давление подачи раствора - 10-60 МПа;

расход раствора - 50-150 л/мин;

скорость подъема монитора - 15-50 см/мин;

частота вращения монитора - 10-30 об/мин;

Комплект технологического оборудования, необходимый для производства струйной цементации грунтов:

·              цементировочный насос высокого давления;

·              станция приготовления водоцементного раствора;

·              буровая установка;

Мною предлагается два компоновочных варианта комплекса оборудования для закрепления массива горных пород методом СЦГ: с применением стационарного комплекса для цементации и с применением мобильного комплекса для цементации, смонтированного на вездеходном грузовом шасси (рис. 3).

Рис. 3. Варианты компоновки комплекса для СЦГ горных пород

Так, первый вариант подразумевает наличие стационарного комплекса, установленного отдельно и соединенного с буровым станком гидрокоммуникациями. Передвижение такого комплекса по стройплощадке производится по мере выполнения буровых работ.

Применяемость конкретного варианта компоновки комплекса выбирается индивидуально с учетом возможности совмещения установкой различных буровых работ. Так, при выполнении разовых работ по возведению грунтобетонных свай рационально применение мобильной цементировочной станции, а большая загруженность установки по данной технологии оправдывает наличие стационарного цементировочного комплекса.

Насосы высокого давления, станция приготовления водоцементного раствора для струйной технологии необходимо подбирать в соответствии с типом струйного процесса, требуемого давления и расхода рабочей жидкости и воздуха, объема закачиваемого раствора.

Итак, примем доступный и распространенный на сегодняшний цементировочный насос НЦ-320 с приводным двигателем мощностью 100 кВт. Максимальное давление, развиваемое насосом, составляет 60 МПа. Таким образом, при давлении 60 МПа максимальный расход составит 0,0031 м3/с (без учета потерь на гидравлическое трение в трубопроводах), что является достаточным для одноструйной технологии ГСЦ. [1]

При выборе базовой машины для размещения на ней буровой головка с буровым ставом ГСЦ определяющими требованиями являются максимально возможная энерговооруженность и универсальность применения ходовой тележки, которая может применяться при производстве других операций в условиях той же строительной площадки, что может существенно повысить коэффициент использования оборудования и сократить сроки его окупаемости.

При этом навесное буровое оборудование (буровая головка) и базовая машина должна быть конструктивно увязаны, и, прежде всего по энергетическим, схемным и компоновочным возможностям, с обеспечением безопасности при эксплуатации машины.

Известны многоцелевые коммунально-строительные машины, например, отечественного производства типа МКСМ-800 (Курганского машзавода), ПУМ-500, 600 и 1000 (Уралвагонзавода), и зарубежные: BOBCAT-500 и 600 фирмы "CLARK", машины фирмы "GEHLMAX Champion" и других производителей, которые могут выполнять целый спектр технологических операций, потребность в которых существует на любом производстве. [1]

Кроме того, исполнение ходовой части - на колесном ходу позволяет иметь возможность передвижения оборудования (на небольшие расстояния) по дорогам общего назначения без повреждения дорожного покрытия. Гусеничные шасси малогабаритных размеров на данный момент в нашей стране не выпускаются, поэтому к рассмотрению не принимались.

Мною был выбран буровой самоходный станк СБГ-3320, который изготовлялся на Скуратовском экспериментальном заводе. Данный станок реализует механическое бурение грунтов для различных строительных технологий. Рабочим буровым инструментом такого станка является резцовая коронка или буровой шнек.

Основной отличительной особенностью бурового станка для создания грунтобетонных свай методом СЦГ являются его малые габариты и масса, которые позволяют работать в стесненных условиях, в том числе из подвальных помещений или горных выработок, использовать станок в качестве навесного оборудования для горных или строительных машин.

Таблица 2. Технические характеристики станций приготовления водоцементного раствора.

Тип оборудования

Производительность, м3

Мощность, кВт

Габариты, мм

Масса, кг




длина

ширина

высота


Турбинный смеситель РМ-750 Турбинный смеситель РМ-2000

15 24

7 10

2000 2400

1100 1500

1000 1500

512 740

Струйный смеситель ГДМ-70

24-70

56

2100

1500

1700

1994

Струйная смесительная установка IСМР-20

108

32

9000

2600

3400

7750

Блок струйных смесителей БГС

140-180

32

6000

2460

2400

3400

Фрезерно-струйная мельница

80-120

28

2420

1940

1500

1700

Глиномешалка МГ-2-4

12

14

3890

3015

1455

3565


Из данной таблицы наглядно видно, что нам подходит струйный смеситель ГДМ-70. [1]

Предлагаемый комплекс для СЦГ горных пород позволяет существенно повысить производительность работ при выполнении крепления стенок и дна котлованов при строительстве подземных сооружений в обводненных и неустойчивых горных породах, устройстве противофильтрационных завес для предотвращения фильтрационных деформаций берегов рек, гидротехнических сооружений, устройстве породобетонных свай в основании проектируемых фундаментов плитного, ленточного или столбчатого типа (устройство ленточных фундаментов и сплошных фундаментных плит осуществляется взаимно пересекающимися породобетонными массивами, устройстве породобетонных конструкций с армированием железобетонным сердечником или стальным каркасом, проведении противооползневых мероприятий путем сооружения подпорных стен для повышения устойчивости склонов и откосов, создание породобетонных конструкций заданной конфигурации.

3. Анализ конструкции и работы бурового станка СБГ-3320

.1 Назначение и условия его работы

Гидрофицированный буровой станок для вращательного и ударно-вращательного бурения предназначен для проведения вертикальных и наклонных скважин, при усилении и реконструкции фундаментов зданий, сооружение свайных фундаментов, опор и др. строительных работ. Станок позволяет вести работы на стесненных рабочих площадках, в труднодоступных местах.

.2 Техническая характеристика станка

Наименование основных параметров и размеров

Норма

1

250

2

 Глубина бурения вертикальных скважин, м, не более

20

3

 Усилие при подъеме макс., кН(кг)

30(3000)

4

 Усилие подачи при бурении, кН (кг)

0…30 (0…3000)

5

 Скорость подачи, м/мин при бурении/подъеме

0…3,8

6

Ход подачи вращателя, мм

1300

7

Частота вращения выходного вала вращателя, не менее, с-1 (об/мин)

2,0…0,33 (120…20)

8

Давление в гидросистеме МПа (кг/см2) -  подачи - вращателя

 15+1(150+10) 23+1(230+10)

9

Класс чистоты рабочей жидкости по ГОСТ 17216, не грубее

12

10

Кинематическая вязкость рабочей жидкости, мм2/с (сСт) - номинальная - максимальная - минимальная

 25 1500 10

11

Давление сжатого воздуха, Мпа (кг/см2)

0,5±0,1 (5±1)

12

 Мощность электродвигателя, кВт

18

13

 Напряжение питания станка, В

380, 50 Гц.

14

Габаритные размеры основных сборочных единиц бурового станка в рабочем положении, не более, мм станок соединительные рукава dy12 соединительные рукава dy16

 2400x800x2020 5000 5000

15

Масса основных сборочных единиц станка (без штанг и инструмента), кг станок

 420


.3 Устройство станка

Буровая установка состоит (рис. 4) из базовой тележки с рамой 1, движителей хода 2, объемного гидропривода с насосами и моторами привода движителей правого и левого борта, вспомогательного насоса подпитки замкнутых гидросистем, стояночными тормозами с механизмом управления ими, а также установленной на раме ходовой тележки посредством механизма подвески 3, рамы податчика 4 с механизмами вращения 5 и подачи 6 бурового става вдоль оси скважины с гидравлическими моторами приводов этих механизмов 7 и 8, причем гидравлические моторы приводов вращения бурового става 7 и механизма его подачи 8 при бурении подключены к насосам правого и левого борта вместо гидромоторов приводов движителей, посредством двухпозиционных золотников, управление которыми объединено с механизмом управления стояночными тормозами.

Рис. 4. Общий вид буровой установки.

При выполнении стояночных тормозов с тормозными гидравлическими цилиндрами и золотником управления ими, двухпозиционные золотники выполняются с гидравлическим управлением, а входы в камеры управления золотниками соединяются магистралями с входом в рабочие гидроцилиндры стояночных тормозов.

Вспомогательный насос системы перемещения стрелы 9 навесного оборудования машины, сама эта система остаются без изменений и используются для выполнения вспомогательных операций.

Такое схемное и компоновочное решение позволяет в максимальной степени использовать энергетические возможности базовой машины и обеспечить безопасность при эксплуатации буровой установки.

На верхнем конце проходного шпинделя вращателя устанавливается гидросъемник 10 для подачи высоконапорной водоцементной суспензии.

Процесс бурения пилотной скважины и формирования закрепленного массива контролируется при помощи АСУ СЦГ.

3.4 Работа станка

Буровой станок обеспечивает выполнение следующих операций, связанных непосредственно с процессом бурения:

§  Вращение бурового става;

§  Создание необходимого осевого усилия на забой;

§  Спуск и подъем бурового инструмента и става с регулируемой скоростью;

§  Удержание бурового става при его разборке и наращивании;

§  Свинчивание и развинчивание буровых штанг с резьбовым соединением;

§  Подачу промывочного раствора и сжатого воздуха к забою скважины;

§  Обогащение подаваемого в скважину воздуха маслом при работе с пневмоударником.

.5 Подготовка станка к работе

Перед пуском в эксплуатацию необходимо:

§ Расконсервировать станок и пульт управления;

§  Собрать станок:

- подключить кабель к станции управления,

подключить рукав подвода сжатого воздуха к автомасленке,

подключить рукава привода вращателя и податчика к гидроблоку, напорные и сливной рукава гидроблока.

§  Проверить надежность соединений отдельных узлов между собой;

§  Залить масло в бак через заливной фильтр;

§  Заземлить станок согласно правилам электробезопасности;

§  Перед монтажем, а также после длительных простоев (свыше месяца) измерить сопротивление изоляции электродвигателя мегомметром на напряжение 500 В. Наименьшее допустимое сопротивление изоляции 1 Мом. Двигатель с сопротивлением изоляции менее 1 Мом, необходимо просушить. Сушка может производиться включением двигателя с заторможенным ротором на пониженное напряжение (10-15% номинального) или методом наружного обогрева (посредством электрических ламп, сушильных печей и др.). Во время сушки наибольшая температура обмотки или других частей двигателя не должна превышать 1000С;

§  Подключить напряжение сети на клеммы клемника Блока зажимов (кабель типа КГН3×6+1×2,5). Включить выключатель трансформатора. Проверить правильность и надежность соединения элементов гидравлики;

§  Удалить воздух из гидросистемы попеременным включением режимов "бурение" и "подъем" и перемещением вращателя из одного крайнего положения в другое без нагрузки (не менее 5 раз);

§  При необходимости дозаправить маслом гидросистему (через заливной фильтр);

§  Проверить правильность настройки предохранительных клапанов;

§  Проверить уровень и долить масло в редуктор вращателя, податчика, насосного блока и автомасленку. [5]

.6 Порядок работы

Для пуска в работу станка необходимо включить электродвигатель и рукояткой гидрораспределителей (положение "бурение") подать буровой став до упора коронки в породу. Включить правое вращение шпинделя вращателя (режим "бурение").

Для наращивания штанг бурового става необходимо включить левое вращение, отвернуть штангу. Отодвинуть вращатель в крайнее положение, навинтить следующую штангу.

Свинтить штанги и продолжить бурение. Использовать вращатель для навинчивания штанг лишь после того, как штанга будет навинчина вручную не менее чем на два оборота.

Перед эксплуатацией бурового станка при отрицательных температурах окружающей среды рабочая жидкость должна быть прогрета.

4. Организация работ в проходческой выработке

Работы в проходческой выработки начинаются с провидением опережающей скважины для закреплении слабых и обводненных грунтов. Это осуществляется с помощью бурового станка СБГ 33-20, который устанавливается на опорной части проходческого щита.

Работы по струйной цементации грунтов выполняют в два этапа - в процессе прямого и обратного хода буровой колонны.

На первом этапе, во время прямого хода буровой колонны, производится бурение пилотной скважины до проектной отметки, предусмотренной для сооружения сваи из грунтобетона. Промывочный раствор под низким давлением (чаще всего до 1 МПа) поступает через канал в буровой колонне к разрушающему инструменту и осуществляет удаление шлама методом прямой промывки. В качестве промывочного раствора традиционно используются вода, бентонитовый или цементный раствор. На втором этапе, в процессе обратного хода, в канал буровой колонны подается водоцементный раствор под высоким давлением (до 60 МПа и более) при помощи цементировочного насоса высокого давления. Автоматическое клапанное устройство, реагируя на повышение давления подаваемого бурового раствора, перекрывает каналы промывки, одновременно открывая подачу раствора в струеформирующие устройства, расположенные в непосредственной близости от бурового инструмента и сориентированные таким образом, чтобы высокоскоростные водоцементные струи истекали в направлении перпендикулярном оси пилотной скважины.

После выполнения полного обратного хода из скважины удаляется буровая колонна, таким образом, формируя опережающую скважину из грунтоцемента.

Длина бурового става выбирается таким образом, чтобы проходка участка горной выработки данной длины заняла достаточно времени, чтобы закрепляемый породный массив набрал прочность достаточную для гарантированного безопасного ведения работ. После этого средствам экскаваторным исполнительным органом осуществляется выемка грунта. Отработанный грунт при помощи погрузочного устройства поподает в вагонетки.

5. Рекомендации по совершенствованию оборудования

.1 Разработка бурового става для струйной цементации грунтов

Мною был разработан буровой став, для выполнения работ по закреплению массива неустойчивых горных пород методом СЦГ. Он состоит из следующих элементов:

гидросъемник;

буровые штанги (количество которых зависит от длины закрепляемого массива горных пород);

гидромонитор (ГСЦ инструмент).

Буровая штанга (рис. 5) предназначена для передачи крутящего момента и осевого усилия от вращателя бурового станка к механическому буровому инструменту и гидромонитору, а также для передачи высоконапорной водоцементной суспензии от гидросъемника к гидромонитору при СЦГ и промывочного раствора от гидросъемника к механическому буровому инструменту при бурении пилотной скважины.

Количество буровых штанг зависит от длины закрепляемого массива горных пород.

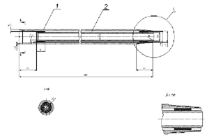
Буровая штанга состоит из двух соосно расположенных толстостенных труб 1 и 2 относительное перемещение которых в радиальном направлении сдерживается эластичными втулками 3, расположенными в непосредственной близости от торцевых срезов труб. Внешняя труба 1 имеет резьбовые концы с ленточной специальной резьбой (один из концов с внутренней резьбой, другой с наружной). При помощи резьбовых соединений буровые штанги соединяются между собой, для получения буровой колонны требуемой длины, а также с гидросъемником и гидромонитором. Передача крутящего момента и осевого усилия осуществляется через внешнюю трубу 1. Внутренняя труба 2 предназначена для передачи высоконапорной водоцементной суспензии при СЦГ и промывочного раствора при бурении пилотной скважины. Для герметизации стыков между буровыми штангами и другими элементами бурового става (гидросъемником и гидромонитором) была разработана оригинальная конструкция уплотнения, заключающаяся в обеспечении контакта сферического конца (наружная сфера) одной трубы с коническим концом ответной трубы (внутренний конус). Регламентированное превышение длины внешней трубы над длиной трубы 1 компенсируется продольным изгибом внутренней трубы в пределах пластической деформации материала.

Рис. 5. Буровой став для выполнения работ по закреплению массива неустойчивых горных пород методом СЦГ.

Гидросъемник (рис. 6) предназначен для передачи высоконапорной водоцементной суспензии от питающего трубопровода внутрь вращающейся буровой колонны при осуществлении СЦГ горных пород, а также низконапорного промывочного раствора при бурении пилотной скважины.

Гидросъемник состоит из следующих основных элементов: вала 1, в котором находится канал для подачи водоцементной суспензии во внутрь буровой колонны, уплотнительных манжет 2, крышки 3, втулок 4. Уплотнительные манжеты крышкой прижимаются к валу гидросъемника, тем самым обеспечивая герметизацию, надежность которой обеспечивается фиксации крышки при помощи втулок.

Работа гидросъемника осуществляется следующим образом: водоцементная суспензия подается от водоцементного насоса высокого давления в канал гидросъемника под давлением в 60 МПа, а затем в трубопровод буровой штанги. На конце вала разработана наружная сфера для герметизации стыков с внутренней трубой буровой штанги.

Рис. 6. Конструкция гидросъемника

Струйный монитор является основным рабочим органом струйной установки, функционально определяющим тип струйной технологии. Мною был выбран гидромонитор разработанный и рассчитаны, с использованием известных инженерных методик в соответствии с разработанным типоразмерным рядом оборудования для ГСЦ.

Гидромонитор предназначен для формирования высокоскоростной водоцементной струи, обеспечивающей разрушение горных пород и перемешивания продуктов разрушения, в режиме ГСЦ, подачи промывочного раствора и передачи крутящего момента с осевым усилием к механическому инструменту в режиме бурения пилотной скважины, а также автоматическому переключению потока жидкости, в зависимости от режима работы.

5.2 Расчетная часть


Трубопроводы буровых штанг подвергаются одновременно нагрузкам статического и динамического характера. К первым относятся рассмотренные статические нагрузки, обусловленные внутренним давлением жидкости, а также нагрузки, возникающие в результате температурных деформаций. Ко вторым относятся нагрузки, возникающие при частотных деформациях (колебаниях) трубы, обусловленных пульсацией давления жидкости, гидравлическими ударами, а также колебаниями (вибрацией) самих трубопроводов, вызываемыми внутренними и внешними причинами. Напряжения, возникающие в материале труб, создаются суммой перечисленных составляющих, причем основное место в этой сумме занимают составляющие, обусловленные динамическими факторами, и в особенности при частотной их повторяемости.

Определим толщину стенки трубопровода буровой штанги, которая выдержит приложенные к ней нагрузки, а также сжимающие силы и нормальные напряжения при возникающем продольном изгибе во внутренней и внешней трубах.

Прочность прямых тонкостенных труб, нагруженных внутренним давлением, при котором можно пренебречь дополнительными напряжениями, возникающими вследствие овальности (эллиптичности) сечения трубы, может быть проверена на продольный разрыв по формуле:

, (1)

где σp - допустимое напряжение разрыва материала трубы, которое обычно выбирается равным 30-35% величины временного сопротивления (σв), p = 600 атм. - максимальное давление жидкости, МПа; d - наружный диаметр трубы, мм; s - толщина стенки трубы, мм.

Толщину стенки с учетом отклонения в размерах диаметра и толщины стенки вычисляют по выражению

, (2)

где m = 0,3 - отклонение по диаметру трубы, мм (ГОСТ 8734 - 58)

n = 0,9 - коэффициент, учитывающий отклонение по толщине стенки трубы (ГОСТ 8734-58).

Для стали 40ХН σв = 100 кгс/мм2

Тогда σp = 300 МПа.

Толщина стенки будет равна

, м

Минимальная толщина стенки вычисляется по выражению:

,м (3)

Под толстостенными понимают трубы, в которых отношение наружнего диаметра трубы к толщине ее стенки удовлетворяет условию

≤16, (4)

≤16. [6]

1.       Продольный изгиб в буровой штанге возникает под действием центрально приложенных продольных сжимающих сил вследствие потери устойчивости. В трубе постоянного сечения различным формам потери устойчивости соответствуют критические значения сжимающих сил определяемая формулой Эйлера:

, (5)

где Е - модуль упругости материала стержня (для стали 40ХН, Е = 22·104 МПа), [7]- минимальное значение осевого момента инерции поперечного сечения стержня, м4,- длина стержня, м,

n - целое число.

Практический интерес обычно представляет минимальное значение критической силы, при n = 1. Стержень изгибается с образованием одной полуволны синусоиды, при всех последующих n число полуволн соответственно равно n.

Тогда формула Эйлера примет вид:

, (6)

Практический интерес обычно представляет минимальное значение критической силы.

Нормальные напряжения в поперечном сечении, возникающие при действии этой сжимающей силы находятся по формуле:

, (7)

где F - площадь поперечного сечения стержня, м2.

Момент инерции для толстостенных труб определяется по формуле:

, (8) [8]

Для внешней трубы:

, м4

 кН,


Для внутренней трубы:

, м4

 кН,

 МПа.

Отсюда видно, что потеря устойчивости наступает при напряжениях, значительно меньших предела текучести или предела прочности материала, т.к. для стали 40ХН т = 80 кгс/мм2. [7]

Для определения параметров комплекса использовалась "Методика расчета конструктивных параметров СЦГ инструмента, режимных параметров процесса СЦГ горных пород и энергетических характеристик насосного оборудования" также разработанная в ТулГУ.

Результаты расчета основных параметров работы оборудования и исходные данные к расчету представлены в таблице.

№ п.

Наименование параметра

Ед. изм.

Норма

Исходные данные (задаются исходя из доступного насосного оборудования)

1

Диаметр закрепляемого массива

м

2,8

2

Гидравлическая мощность насоса установки

кВт

100

3

Давление водоцементного раствора

МПа

60

4

Коэффициент сцепления горной породы

МПа

0,01

Расчетные величины

1

Диаметр струеформируещей насадки

м

0,0035

2

Частота вращения буровой колонны

с-1

0,1

3

Скорость подачи буровой колонны

м/с

0,0044


Таким образом, теоретическая скорость продвигания забоя (по технологии ГСЦ) составляет 0,0044 м/с или теоретическая производительность составит  = 15,8 м/ч.

Суточная производительность (м/сут.) проходки рассчитывается по формуле:

, (9)

где - число рабочих смен в сутки; - длительность смены, (ч);  - коэффициент машинного времени;  - коэффициент прерывности работы.

Учитывая сложность проведения работ в выработках малого диаметра принимаем  = 0,4;  = 0,7.

Тогда, при односменной работе получим:

, м/сут

При допущении, что закрепляемый массив набирает достаточную устойчивость за трое суток, то для осуществления непрерывной проходки по закрепленному массиву горных пород необходимо опережение проходческого забоя (т. е. длина буровой колонны) 35 × 3 = 105 м. Что вполне соответствует технологическим возможностям буровой техники.

Заключение

В данной работе спроектирован буровой став для гидрофицированного бурового станка СБГ 33-20, предназначенный для выполнения работ по закреплению массива неустойчивых горных пород методом СЦГ. Буровой став удовлетворяет всем современным требованиям СЦГ. Рассматриваемая технология удобна в производственном процессе и намного упрощает труд рабочего персонала.

Список используемой литературы

1.       Никитенко М.И., Попов О.В. Проектирование и устройство фундаментов и подземных сооружений с использованием струйной цементации грунтов. Минстройархитектуры, 2005. 162 с.

2.       Юркевич О.П. Статья "Итальянский опыт использования струйной цементации". [Электронный ресурс]. - М., 2005.

3.       ОАО "Нью Граунд". Статья "струйная цементация грунтов". [Электронный ресурс] - <http://new-ground.ru>. 2006.

4.       ИнжПроектСтрой. [Электронный ресурс]. - <http://www.jet-grouting.ru>. 2006.

5.       Станок буровой гидрофицированный СБГ-3210. Руководство по эксплуатации. 2002. - 20 с.

6.       Башта Т.М. Справочное пособие "Машиностроительная гидравлика". М.: Недра, 1971. 672с.

7.       Анурьев В.И. Справочник конструктора-машиностроителя, Том №1. М.: Недра, 1982. 576 с.

8.       Александров А.В., Потапов В.Д., Державин Б.П. Сопротивление материалов: Учеб. Для вузов. - 2-е изд. Испр. - М.: Высш. Шк., 2001. - 560с.


Не нашли материал для своей работы?
Поможем написать уникальную работу
Без плагиата!
Без нейросетей!