Расчет установившегося режима и оценка состояния режима энергосистемы по данным телеизмерений на базе ПВК 'Космос'
ВВЕДЕНИЕ
Основное назначение программного комплекса
КОСМОС - решение задач краткосрочного планирования и оперативного управления на
основе телеметрической информации. В настоящий момент в составе комплекса
объединены программы решения следующих задач:
· синтеза расчетной схемы на основе описаний схем
первичных коммутаций станций и подстанций;
· оценивания режимов энергосистем на основе
телеметрической информации;
· расчета установившихся и самоустанавливающихся
по частоте режимов;
· утяжеления установившихся режимов;
· ввода режимов в допустимую область;
· оптимизации режимов по реактивной
мощности.
Технологические программы, входящие в состав
комплекса, объединены общей сервисной оболочкой и опираются на единую
специализированную базу данных. В комплексе широко используются возможности
работы с графическими изображениями схем энергосистем и схем первичных
коммутаций станций и подстанций. Основной режим работы - интерактивный
предполагающий постоянное взаимодействие с технологом.
В качестве автономной составной части в комплекс
входит модуль предназначенный для решения задачи оценивания состояния в составе
и по инициативе некоторой системы реального времени (оперативно информационного
комплекса, советчика диспетчера, систем централизованного противоаварийного
управления и др.). Информационная поддержка функционирования данного модуля,
включающая подготовку исходных данных, оперативную коррекцию информации и
контроль за работой осуществляется с помощью сервисной подсистемы комплекса.
Программный комплекс ориентирован на
эксплуатацию в операционной системе WINDOWS
95 и в ее более поздних версиях.
Все без исключения программные модули, входящие
в состав комплекса написаны на языке ФОРТРАН. Для трансляции и редактирования
использовался компилятор Digital
Fortran 6.0.
ЗАДАНИЕ
На выполнение
курсовой работы по курсу «АСДУ в электроэнергетических системах» на тему
«Расчет установившегося режима и оценка состояния режима энергосистемы по
данным телеизмерений на базе ПВК КОСМОС»
1 Рассчитать параметры схемы замещения электрической
системы (ЭС) по исходным данным заданного варианта и данным справочной
литературы.
· Задание в таб. №1
· Результаты расчета параметров схемы
замещения свести в табл. №2
. Задать параметры схемы замещения в ПВК
“КОСМОС”.
.1. Перед заданием информации в ПВК “КОСМОС”
освоить процесс сохранения введенных данных в соответствии с инструкцией ПВК
“КОСМОС” и п.2.6.
· Старт ПК (ярлык КОСМОС)
· Представление (3-6 любых символов)
· Выбрать «обмен»
· Выбрать «ввод с экрана»
· Выбрать «универсальный макет (расширенный)»
· Выбрать «узлы-топология»
· На клавиатуре нажать клавишу «INSERT»
для ввода
· пустых строк по количеству узлов
·
2.2. Заполнить таблицу «узлы-топология» на
основании задания из табл. №3
· № узла
· Uном
· Модуль (только для БУ и генераторных
узлов)
· Имя узла (произвольное - Узел-1,
ПС220, СШ-110 и т.д.) не более 8 символов.
.3. Заполнить таблицу «Узлы установившегося
режима» на основании задания из табл. № 3
· Pн,
МВт
· Qн,
МВАр
· Pг,
МВт
· Qг,
МВАр
· U,
кВ - только для БУ и генераторных узлов (из задания)
· Qг.
мин , МВАр - только для БУ и генераторных узлов (из
задания)
· Qг.
мах , МВАр - только для БУ и генераторных узлов (из
задания)
2.4. Заполнить таблицу «Ветви-топология» на
основании табл. № 2.
· № узла нач (для AT
Uвн)
· № узла кон (для AT
Uнн)
· Rвет
, Ом
· Xвет
, Ом
· Ввет , мкСим - только для
ветвей типа ВЛ (задается со знаком «-»)
· Ктр1 - только для ветвей типа АТ (Uнн/Uвн)
2.3. Задать информацию о балансирующем узле.
· «главное меню» → «данные» →
«константы УР и оптимизации» → НБУ = 1 (для всех вариантов), задать
параметр ТШН = 0,01
· «главное меню» → «данные» →
«константы оценивания состояния» → НБУ = 1 (для всех вариантов).
2.6. Сохранить заданную информацию с уникальным
именем ( например: фамилия студента)
ü выход в «главное меню» →
«архивы» → установить маркер на нужный архив (это может быть обозначение
группы: IV-ЭТ-2) →
установить маркер на последний режим в списке режимов → «запись после» →
enter.
энергосистема телеизмерение режим
программный
3. Рассчитать установившийся режим (см.
инструкцию ПК «КОСМОС»).
.1. Вывести на печать результаты расчета в
таблицах.
Порядок вывода в соответствии с инструкцией).
. Сформировать графическое изображение схемы ЭС
(см. инструкцию ПК «КОСМОС» С:\Космос 99\Instr\).
. Полученные результаты установившегося режима
изменить в соответствии с заданием своего варианта и задать как измерения в
таблицы «узлы-замеры» и «ветви-замеры». Задания в табл. №4 и табл. № 5.
. Выполнить расчет «Оценивания состояния» режима
ЭС при отказах ТИ (отсутствие замера) и ложных ТИ (заведомо неверное показание
ТИ).
. Сравнить дорассчитанные параметры режима в
результате оценивания с результатами УР.
. Выводы.
Таблица №1
Исходных данные для расчета параметров схемы
замещения
|
№
ветви
|
№
узла
|
№
узла
|
Провод/АТ
|
Длина
ВЛ, (км)
|
|
начало
|
конец
|
|
10
вариант
|
|
1
|
1
|
2
|
АС-400
|
130
|
|
2
|
2
|
3
|
АС-300
|
60
|
|
3
|
3
|
4
|
АС-240
|
50
|
|
4
|
4
|
5
|
АС-240
|
50
|
|
5
|
5
|
6
|
АС-240
|
50
|
|
6
|
6
|
7
|
АС-300
|
70
|
|
7
|
7
|
8
|
АС-300
|
70
|
|
8
|
1
|
8
|
АС-400
|
130
|
|
9
|
2
|
9
|
2 125-
|
|
|
10
|
3
|
11
|
2 125-
|
|
|
11
|
7
|
14
|
2 125-
|
|
|
12
|
8
|
12
|
2 125-
|
|
|
13
|
9
|
12
|
АС-185
|
40
|
|
14
|
9
|
10
|
АС-240
|
50
|
|
15
|
10
|
11
|
АС-185
|
40
|
|
16
|
12
|
13
|
АС-240
|
50
|
|
17
|
11
|
14
|
АС-185
|
40
|
|
18
|
13
|
14
|
АС-185
|
50
|
Таблица №3
Исходные данные по узлам
|
№узла
|
Uном
|
Pнагр
|
Qнагр
|
Pген
|
Qген
|
модуль
задQминQмах
|
|
|
|
1-БУ
|
220
|
|
|
|
|
238
|
-1000
|
1000
|
|
2
|
220
|
|
|
|
|
|
|
|
|
3
|
220
|
|
|
|
|
|
|
|
|
4
|
220
|
50
|
30
|
170
|
|
232
|
-300
|
300
|
|
5
|
220
|
80
|
30
|
|
|
|
|
|
|
6
|
220
|
30
|
10
|
150
|
|
232
|
-200
|
200
|
|
7
|
220
|
|
|
|
|
|
|
|
|
8
|
220
|
|
|
|
|
|
|
|
|
9
|
110
|
130
|
40
|
|
|
|
|
|
|
10
|
110
|
70
|
30
|
|
|
|
|
|
|
11
|
110
|
60
|
20
|
|
|
|
|
|
|
12
|
110
|
70
|
30
|
|
|
|
|
|
|
13
|
110
|
100
|
30
|
|
|
|
|
|
|
14
|
110
|
80
|
30
|
|
|
|
|
|
Таблица №2
Расчет параметров схемы замещения
|
№
ветви
|
№
уз нач.
|
№
уз кон.
|
Марка
провода (АТ)
|
Uном, кВ
|
Длина
ВЛ,км
|
Удельные
параметры ветви на 100 км
|
Расчетные
параметры ветви
|
|
|
|
|
|
|
|
R0, Ом
|
Х0,
Ом
|
В0,10-4
См
|
R, Ом
|
X, Ом
|
В,10-4
См
|
К
т.p
|
|
1
|
1
|
2
|
АС-400
|
220
|
130
|
7,3
|
42
|
2,701
|
9,49
|
54,6
|
3,51
|
-
|
|
2
|
2
|
3
|
АС-300
|
220
|
60
|
9,6
|
42,9
|
2,645
|
5,76
|
25,74
|
1,58
|
-
|
|
3
|
3
|
4
|
АС-240
|
220
|
50
|
11,8
|
43,5
|
2,604
|
5,9
|
21,75
|
1,3
|
-
|
|
4
|
4
|
5
|
АС-240
|
220
|
50
|
11,8
|
43,5
|
2,604
|
5,9
|
21,75
|
1,3
|
-
|
|
5
|
5
|
6
|
АС-240
|
220
|
50
|
11,8
|
43,5
|
2,604
|
5,9
|
21,75
|
1,3
|
-
|
|
6
|
б
|
7
|
АС-300
|
220
|
70
|
9,6
|
42,9
|
2,645
|
6,72
|
30,03
|
1,85
|
-
|
|
7
|
7
|
8
|
АС-300
|
220
|
70
|
9,6
|
42,9
|
2,645
|
6,72
|
30,03
|
1,85
|
-
|
|
8
|
1
|
8
|
АС-400
|
220
|
130
|
7,3
|
42
|
2,701
|
54,6
|
3,51
|
-
|
|
9
|
2
|
9
|
2x125
|
220/110
|
-
|
|
|
|
0,5
|
48,67
|
0,108
|
0,5
|
|
10
|
3
|
11
|
2x125
|
220/110
|
-
|
|
|
|
0,5
|
48,67
|
0,108
|
0,5
|
|
11
|
7
|
14
|
2x125
|
220/110
|
-
|
|
|
|
0,5
|
48,67
|
0,108
|
0,5
|
|
12
|
8
|
12
|
2x125
|
220/110
|
-
|
|
|
|
0,5
|
48,67
|
0,108
|
0,5
|
|
13
|
9
|
12
|
АС-185
|
110
|
40
|
15,9
|
41,3
|
2,747
|
6,36
|
16,52
|
1,09
|
-
|
|
14
|
9
|
10
|
АС-240
|
110
|
50
|
1,8
|
40,5
|
2,808
|
5,9
|
20,25
|
1,4
|
-
|
|
15
|
10
|
11
|
АС-185
|
110
|
40
|
15,9
|
41,3
|
2,747
|
6,36
|
16,52
|
1,09
|
-
|
|
16
|
12
|
13
|
АС-240
|
110
|
50
|
1,8
|
40,5
|
2,808
|
5,9
|
20,25
|
1,4
|
-
|
|
17
|
11
|
14
|
АС-185
|
110
|
40
|
15,9
|
41,3
|
2,747
|
6,36
|
16,52
|
1,09
|
-
|
|
18
|
13
|
14
|
АС-185
|
110
|
50
|
15,9
|
41,3
|
2,747
|
7,95
|
20,65
|
1,37
|
-
|
Таблица №4
Таблица измерений по узлам
|
№
узла
|
Uизм
|
Pнагр
|
Qнагр
|
Pген
|
Qген
|
|
1-БУ
|
1,0
|
-
|
-
|
Не
изм
|
Не
изм
|
|
2
|
0,98
|
-
|
-
|
-
|
-
|
|
3
|
Не
изм
|
-
|
-
|
-
|
-
|
|
4
|
1,03
|
Не
изм
|
Не
изм
|
170
|
1,1
|
|
5
|
Не
изм
|
Не
изм
|
Не
изм
|
-
|
-
|
|
6
|
0,97
|
Не
изм
|
Не
изм
|
150
|
0,9
|
|
7
|
0,98
|
-
|
-
|
-
|
-
|
|
8
|
Не
изм
|
-
|
-
|
-
|
-
|
|
9
|
0,98
|
Не
изм
|
Не
изм
|
-
|
-
|
|
10
|
1,02
|
Не
изм
|
Не
изм
|
-
|
-
|
|
11
|
1,03
|
Не
изм
|
Не
изм
|
-
|
-
|
|
12
|
0,97
|
Не
изм
|
Не
изм
|
-
|
-
|
|
13
|
Не
изм
|
Не
изм
|
Не
изм
|
-
|
-
|
|
14
|
1,0
|
Не
изм
|
Не
изм
|
-
|
-
|
Таблица №5
Таблица задания измерений по ветвям
|
№ ветви
|
№ нач
|
№ кон
|
Pнач
|
Qнач
|
Pкон
|
Qкон
|
|
1
|
1
|
2
|
1,1
|
1,05
|
0,9
|
|
|
2
|
2
|
3
|
0,95
|
0,9
|
0,95
|
1,0
|
|
3
|
3
|
4
|
0,90
|
0,9
|
|
|
|
4
|
4
|
5
|
|
|
0,95
|
0,95
|
|
5
|
5
|
6
|
0,9
|
0,95
|
|
0,95
|
|
6
|
6
|
7
|
0,95
|
0,9
|
0,9
|
|
|
7
|
7
|
8
|
1,1
|
0,95
|
0,9
|
|
|
8
|
1
|
8
|
0,9
|
0,9
|
0,9
|
1,1
|
|
9
|
2
|
9
|
|
|
0,95
|
1,1
|
|
10
|
3
|
11
|
|
|
0,9
|
1,05
|
|
11
|
7
|
14
|
|
|
1,0
|
1,1
|
|
12
|
8
|
12
|
|
|
0,9
|
0,95
|
|
13
|
9
|
12
|
1,2
|
0,9
|
0,9
|
1,2
|
|
14
|
9
|
10
|
0,9
|
0,95
|
|
|
|
15
|
10
|
11
|
0,8
|
0,9
|
|
|
|
16
|
12
|
13
|
|
|
1,1
|
0,9
|
|
17
|
11
|
14
|
0,8
|
0,9
|
1,2
|
0,8
|
|
18
|
13
|
14
|
1,2
|
0,9
|
|
|
РАСЧЕТ УСТАНОВИВШЕГОСЯ РЕЖИМА
В таблице установившегося режима задаются
параметры, необходимые для расчета установившегося режима и оптимизации:
нагрузки активной (МВт) и реактивной (МВар) мощностей, активные (МВт) и
реактивные (МВар) генерации, напряжения в опорных узлах (кВ), и диапазоны
допустимого изменения реактивных генераций.
Информация в таблицу может быть занесена вручную
для выполнения какого-либо конкретного расчета. Однако, обычно содержимое
таблицы обновляется в результате решения задачи оценивания состояния - во все
узлы заносятся оцененные нагрузки и генерации активных и реактивных мощностей.
Напряжения обновляются лишь в тех узлах, в которых и в предшествующем режиме
(до занесения новой информации) также были заданы опорные напряжения (то есть
узлы имели тип Р - U).
Параметры, полученные в результате оценивания
состояния и занесенные в данную таблицу, рассматриваются в дальнейшем в
качестве основы для выполнения имитационных расчетов - проверки влияния на
режим различных планируемых возмущений (отключения ветвей, изменения мощностей
станций и др.), а также для решения задачи оптимизации.
В столбце «Сх» указываются номера статических
характеристик нагрузок по напряжению и частоте. Сами характеристики задаются в
таблице «Статические характеристики». В программе предусмотрена возможность
задания до пяти типов характеристик, причем коэффициенты, соответствующие
первым двум, указаны по умолчанию и являются стандартными.
Ход вычислительного процесса представлен в
таблице №6.
Таблица № 6
Ниже (таблица №7) приведены результаты расчета
установившегося режима по узлам.
Таблица № 7












ГРАФИЧЕСКАЯ ТЕХНОЛОГИЧЕСКАЯ
ПОДСИСТЕМА КОМПЛЕКСА
Основное назначение
технологической подсистемы - выполнение оперативных расчетов режимов энергосистем
с широким использованием графических изображений схем энергосистем и
энергообъектов - станций и подстанций. Принципиальным моментом построения
подсистемы является сочетание преимуществ анализа результатов расчетов,
представленных в виде таблиц, и нанесенных непосредственно на схемы.
Если
информация с описанием схемы полностью подготовлена, то для выполнения
оперативных расчетов средств графической технологической подсистемы вполне
достаточно и в большинстве случаев применение комплекса КОСМОС исчерпывается
именно работой в данной подсистеме. Можно считать, что все описанные ранее
подсистемы служат для подготовки исходной информации и проведения опытных
расчетов.
В
программе предусмотрены два варианта инициализации технологической подсистемы -
либо путем указания в главном меню комплекса пункта "Графика", либо
путем запуска программы с параметром командной строки "/8=", с
помощью которого задается имя описания режима, на основе которого будут
выполняться расчеты. В последнем случае программа осуществляет поиск указанного
описания в архивах, загружает его в оперативную память и выводит изображение
панели технологической подсистемы. Управление работой в технологической
подсистеме осуществляется с помощью многоуровневого меню.
При
работе в технологической подсистеме предусмотрена возможность воздействия на:
0
изображения
элементов схем (включение - отключение линий, выключателей и разъединителей;
изменение параметров элементов и т.д.);
1
изображения
клавиш, расположенных на бортике основной панели;
2
изображения
клавиш, соответствующих строкам меню (расположенных на левых бортиках
дополнительных панелей).
ФУНКЦИИ КЛАВИШ
ОСНОВНОЙ ПАНЕЛИ
На нижнем бортике основной
панели изображены клавиши, инициализирующие выполнение функций, потребность в
которых может возникнуть на любом этапе работы. Далее приводятся характеристики
этих функций.
"Меню" -
убирает меню любого уровня, полностью освобождая поле для просмотра схемы, а
затем, при повторном воздействии, возвращает его изображение. Убрать и вернуть
меню можно также посредством нажатия на клавиатуре нижней длинной клавиши
(пробел).
"Сжатие" -
вне зависимости от объема схемы сжимает ее до размера одного экрана. Для
возврата к нормальному изображению требуется установить курсор в район
расположения интересующего объекта и нажать клавишу мышки. После этого на экран
выводится фрагмент, в центре которого находится указанный объект.
"Информ" -
выводит дополнительную панель, предназначенную для управления составом
параметров, отображаемых на схеме.
"Назв/N"
-
осуществляет переход от названий станций и подстанций к номерам узлов схемы
замещения; при повторном нажатии на клавишу на схему возвращаются названия.
"Возврат"
-
выполняет возврат к схеме энергосистемы после работы со схемой первичной
коммутации какого-либо объекта.
В средней части каждого из
четырех бортиков главной панели расположены клавиши, предназначенные для
сдвигов изображения. Клавиши, на которых нарисованы красные стрелки, позволяют
сдвинуть изображение на один экран, а с синими - на четверть экрана.
Осуществить сдвиг на четверть экрана можно также с помощью клавиатуры. С правой
стороны размещаются клавиши с изображением цифр и стрелок. При нажатии клавиши
с цифрой "8" и стрелкой, направленной вверх, происходит сдвиг
изображения в сторону верхнего края схемы. Сдвиги в соответствующих
направлениях вызываются нажатием клавиш со стрелками и цифрами "4",
"6", "2".
УПРАВЛЕНИЕ РАБОТОЙ
ПОСРЕДСТВОМ МЕНЮ
За каждой панелью меню
закреплено определенное место на экране, однако при желании его можно изменить.
Для этого необходимо установить курсор мышки на рамку панели и нажать правую
или левую клавишу на манипуляторе. В ответ панель меню будет заключена в рамку
красного цвета. Далее следует перенести курсор в точку, в которой должен
располагаться левый верхний угол панели, и нажать левую клавишу. Красная рамка
переместится вслед за курсором. Если ее положение соответствует желаемому,
нажимаете; правая клавиша и панель переносится на место рамки. В противном
случае уточняется положение курсора и повторно нажимается левая клавиша.
Для выбора некоторого пункта
меню необходимо установить курсор на клавишу, изображенную слева от
наименования функции (на бортике панели), нажать любую из клавиш мышки. Для
того, чтобы упростит позиционирование, допускается устанавливать курсор не
только на изображение клавиши, но и на строку меню.
При работе с меню могут быть
использованы некоторые клавиш: клавиатуры:
Перемещение курсора на
изображение клавиши следующего пункта меню:
перемещение курсора на
изображение клавиши предыдущего пункта меню; "Еnter"
-
исполнение пункта меню, на котором стоит курсор. Если курсор находится не в
поле меню, то нажатие любой из трех перечислены клавиш сначала устанавливает
курсор на изображение красной или первой клавиши меню, а затем, при повторном
нажатии, происходит перемещение курсора или исполнение функции.
Для возврата к меню предыдущего
уровня можно воспользоваться либо изображением клавиши с надписью "Выход"
на нижнем бортике панели меню либо клавишей "Еsс"
на клавиатуре. Если нажимается клавиша "Выход" меню первого уровня,
то на экран выводится запрос, требующий подтвердить желание завершить работу в
среде графической технологической подсистемы.
В
случае, если число строк меню или таблицы превышает допустимое, предусмотрена
возможность листания текста. Для этой цели на правом бортике дополнительной
панели устанавливаются клавиши со стрелками, те же действия могут быть
выполнены с помощью клавиш "Раgе
Uр" и "Раgе
Down"
на
клавиатуре.
УПРАВЛЕНИЕ СОСТАВОМ
ОТОБРАЖАЕМЫХ ПАРАМЕТРОВ
Вывод
исходных данных (измерений) и результатов расчета осуществляется в заранее
расставленные окна. Места установки окон и их ориентация определяются при
настройке, правила выполнения которой будут описаны дальше.
Каждое
окно связано с определенным элементом схемы - шиной, линией, генератором,
нагрузкой, реактором или трансформатором. В окна, относящиеся к шинам, могут
быть выведены модули и фазы напряжений; в окна, относящиеся к другим элементам
- активные и реактивные мощности, а также величины токов.
В
программе предусмотрена возможность нанесения на схему следующих групп
параметров:
3
измерений
(после оценивания состояния);
4
результатов
последнего рассчитанного режима;
5
результатов
одного из предыдущих расчетов.
После завершения решения задачи
по умолчанию в окна напряжений выводятся модули и фазы, а в окна мощностей -
активные и реактивные генерации, нагрузки и перетоки по линиям и
трансформаторам. В некоторых случаях состав отображаемых параметров может
меняться в соответствии с назначением просматриваемых таблиц. Так, при
просмотре таблицы "Активная наблюдаемость", на схему наносятся
измеренные и расчетные активные мощности.
Как
отмечалось, состав отображаемых параметров может быть изменен с помощью клавиши
"ИНФОРМ", расположенной на нижнем бортике основной панели. После
воздействия на ее изображение выводится дополнительная панель.
В
каждое из окон может быть выведена пара параметров в любом сочетании, например:
измеренное и рассчитанное напряжения, активная к реактивная мощности последнего
расчета, активные мощности текущего и предыдущего расчетов и т.д.
Наименования параметров, нанесенных в текущий момент работы на схему,
указываются на двух табло, расположенных в левом и правом верхних углах панели.
На
дополнительной панели изображены четыре группы клавиш распределенные по
столбцам. Первая и вторая группы позволяют указать пару параметров, которые
необходимо вывести в окна напряжений, третья и четвертая - в окна мощностей.
Нажатие какой-либо клавиши вызывает отжатие другой, ранее нажатой, находящейся
в пределах того же столбца.
В
нижней части дополнительной панели размещены длинные клавиши с надписями:
"Измерения", "Параметры текущего расчета", "Параметры
предыдущего расчета". Нажатие какой-либо из этих клавиш сразу
устанавливает определенный набор параметров, наносимых на схему, и, как
следствие, вызывает отжатие остальных клавиш дополнительной панели.
Если необходимо вывести в окна
не пару параметров, а один, следует вместо задания второго указать клавишу без
надписи, расположенную в верхней части панели.
После
воздействия на изображение клавиши с надписью "Выход" дополнительная
панель исчезает, а указанные на этот момент параметры режима наносятся на схему.
ГРАФИЧЕСКОЕ ИЗОБРАЖЕНИЕ СХЕМЫ ЭС
ОЦЕНИВАНИЕ СОСТОЯНИЯ РЕЖИМА ЭС
Полученные результаты установившегося режима
изменим в соответствии с заданием своего варианта и зададим как измерения в
таблицы «узлы-замеры» и «ветви-замеры». Задания в табл. №4 и табл. № 5.
Выполним расчет «Оценивания состояния» режима ЭС
при отказах ТИ (отсутствие замера) и ложных ТИ (заведомо неверное показание
ТИ).
.Введем 100% телеметрической информации




2. Введем 70% телеметрической информации от
задания






3. Введем 50% телеметрической информации:




. Введем 30% телеметрической информации:




Выбор средств автоматизации диспетчерского
управления
Для рассматриваемой в проекте энергосистемы
необходимо выбрать устройства телемеханики и обоснованно определить объём
телеметрии, т.е. число каналов телеизмерений (ТИ) и телесигнализации (ТС) для
каждого объекта системы, выбрать средства связи и показать общую схему
информационного обеспечения, полагая, что диспетчерский пункт энергосистемы
находится в районе нагрузочного узла 1.
ЭС топологически наблюдаема, если число и
размещение телеизмерений таково, что ранг матрицы измеренных параметров режима
не меньше числа неизвестных параметров режима. Это условие является необходимым
и достаточным.
В данной курсовой работе
рассматривается схема из 14 узлов, соответственно в каждом из них существует по
четыре неизвестных параметра - напряжение (фаза и модуль) и мощности узлов
активная и реактивная, итого количество неизвестных параметров s
составит 56. Чтобы обеспечить достаточную наблюдаемость режима необходимо
равномерно и в достаточном количестве распределить устройства телеметрии.
Следует учесть, что в настоящее время наиболее широкое распространение в ЭЭС
получили ТИ перетоков мощностей по линиям электропередач, суммарных мощностей
нагрузок и станций, модулей напряжений в узлах сети. Поэтому установим в каждом
узле измерительные преобразователи напряжения Е885/2. Далее, необходимо
установить на узлах электрической станции измерительные преобразователи частоты
Е-858 и выдаваемой активной и реактивной мощности Е-849. Последние установим
также на узлах всех подстанций 220 кВ и на 10 и 13 узле 110 кВ, а на остальных
110 кВ будет достаточно измерительных преобразователей Е-848 для измерения
активной мощности.
|
№
|
Измеряемый
параметр
|
Тип
|
Входной
сигнал
|
Класс
точности
|
Выходн.
ток, mА
|
Потребл.
ВА
|
|
Напряжение
|
Е-855
|
0
- 125 В 75 - 125 В
|
0,5
|
0
- 5, 0-20
|
0,2
|
|
Активная
мощность трёхфазная
|
Е-848
|
0
- 1, 0 - 5 А 0 - 120 В 80 - 120 В
|
0,5
|
0
- 5, ± 5, 0-20
|
0,6
по АС,АВ,СВ 0,2
|
|
Активная
и реактивная мощность трёхфазная
|
Е-849
|
0
- 1, 0 - 5 А 0 - 120 В 80 - 120 В
|
1
|
0
- 5, ± 5, 0-20
|
4,0
по АС, 0,2 по ост., 0,2
|
|
Частота
|
Е-858
|
45
- 52 Гц
|
0,02
Гц
|
0-5,0-20
|
2,0
|
Масштабы квантов по мощности для 8-и разрядного
АЦП выбираются по следующей формуле:
.
Масштаб кванта по напряжению зависит
от модификации вторичного преобразователя типа Е-855, определяющей тип его
шкалы, для Е-855/2, имеющего усечённую шкалу
.
Масштаб кванта по частоте
Так как телепередача информации
обо всех интересующих параметрах режима ЭЭС практически невозможна и
экономически неоправданна при разработке вариантов всегда стремятся обеспечить
наблюдаемость при минимальном количестве и длине каналов связи.
Поэтому из 56 неизвестных
параметров 38 параметров будет измерено, остальные можно будет определить,
использовав математическую модель системы на вычислительных комплексах.
Передачу ТС и ТИ осуществим по
каналам связи, а именно самим линиям электропередач. В этом случае
электрическая длина линии (ее сопротивление) может характеризовать длину канала
связи. При расстановке средств ТС следует руководствоваться критерием
минимального количества и длине каналов связи (линий в нашем случае).
При построении АСУ ТП используем технический
комплекс «НЕВА», первые версии которого предназначались для регистрации
электрических сигналов. В современной модификации все технические средства
комплекса в соответствии с назначением разделены на следующие составные части:
– блок регистрации и контроля нормальных и
аварийных режимов и учета электроэнергии (БРКУ) - основной блок системы;
– датчики аналоговых и дискретных
сигналов;
– персональный компьютер (ПК);
– источник бесперебойного питания (ИБП).
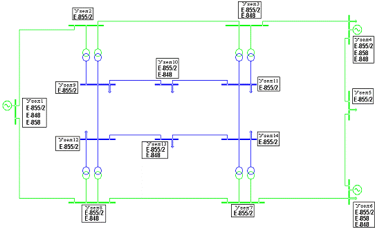
Структурная схема комплекса показана на рис. 14.
Один блок БРКУ позволяет контролировать 32, 64 или 96 параметров нормального
режима, осциллографировать до 64 мгновенных значений тока и напряжения,
контролировать до 288 дискретных сигналов от устройств РЗА, блок-контактов
коммутационных аппаратов, счетчиков электроэнергии и других устройств.
Рис. 14
Подключенные к БРКУ сигналы от выключателей и
разъединителей позволяют отображать текущее состояние схемы объекта на экране
ПК, а сигналы с преобразователей типа Е дают возможность отобразить и текущие
параметры нормального режима.
Записанные осциллограммы
позволяют проводить всесторонний анализ аварийных событий, используя для этой
цели построение векторных диаграмм, расчет фаз, симметричных составляющих тока
и напряжения в любой момент доаварийного, аварийного и послеаварийного режима.
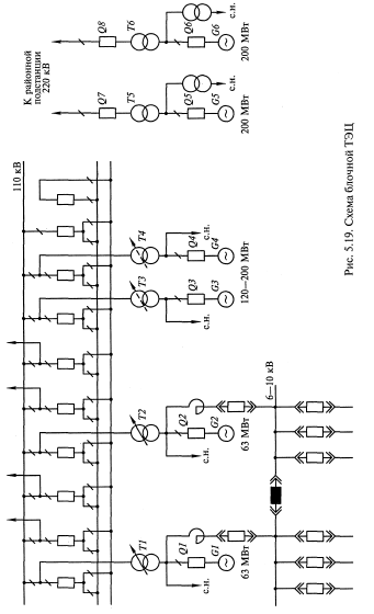
Главная электрическая схема подстанции
Главная электрическая схема станции ГЭС
Главная электрическая схема блочной ТЭЦ
ВЫВОД
В данной курсовой работе была использована схема
из 14 узлов и 18 ветвей.
С целью оценки состояния энергетической системы
была сформирована расчетная схема энергосистемы, по которой были заданы
следующие исходные данные: топология электрической сети, параметры узлов и
ветвей, графическая схема. Рассчитан установившийся режим, при котором все
средства телемеханики работают безотказно, а программа распределяет потоки
мощностей в зависимости от их показания, а также произведена оценка состояния
режима, при котором были заданы заведомо ложные данные на основе результатов
установившегося режима и коэффициентов искажения.
Несмотря на изменения параметров установившегося
режима, операция по оценке состояния должна определять ложные показания
датчиков и заменять их рассчитанными значениями. Этот эксперимент показал, что
программный комплекс «Космос» способен рассчитывать режимы работы
энергосистемы, несмотря на неточные показания средств телеизмерения, а также
определять места, в которых необходима установка дополнительных средств
телеизмерения по отклонениям активной и реактивной мощности, а также
напряжения.
ЛИТЕРАТУРА
1. Б.Н. Неклепаев, И.П. Крючков.
Электрическая часть электростанций и подстанций: Справочные материалы для
курсового и дипломного проектирования.- 4-е изд., перераб. и доп.-М.:
Энергоатомиздат, 1989.-608с.: ил.
2. Методическое пособие по
лабораторным работам по курсу «АСДУ в электроэнергетике».
. Руководство пользователя
ПВК «Космос».