Расчет блок-картера
Белорусский
национальный технический университет
Кафедра ТЭА
ПОЯСНИТЕЛЬНАЯ
ЗАПИСКА
к курсовому
проекту
по дисциплине
"Информатика"
Тема: Расчет
блок - картера
Минск 2009
СОДЕРЖАНИЕ
Введение
. Постановка задачи
. Математическое описание
. Нормативно-справочные данные
. Блок-схема и программа
. Результаты расчета
. Инструкция пользователя
. Выводы и предложения
Список использованной литературы
ВВЕДЕНИЕ
В настоящее время ЭВМ широко используется почти во всех отраслях
промышленности, а также и в области машиностроения, автомобилестроения и
эксплуатации автомобильного транспорта. С помощью ЭВМ производятся
проектирование новых моделей автомобилей, улучшение технических характеристик
уже существующих моделей и другие операции, связанные с их производством и
эксплуатацией.
Информационные технологии находят широкое применение при проектировании,
отладке, производстве и эксплуатации программных средств, в таких областях, как
машиностроение, приборостроение, металлургия, энергетика. Автоматизированные
промышленные системы выполняют многочисленные функции управления процессами
моделирования и анализа ситуаций, прогнозирования событий, принятия решений и
планирования действий в сфере производства.
Применение средств вычислительной техники в области технической
эксплуатации автомобилей способствует развитию навыков в моделировании
различных технологических, конструкторских и исследовательских задач.
Данная курсовая работа описывает алгоритм расчета блок - картера.
К нему предъявляют следующие требования: 1) блок - картерная система
должна обеспечивать прочность, жесткость, надежность, компактность; 2)вес блок
- картера должен быть минимальным; 3) блок - картер должен обеспечивать
равномерный отвод тепла от цилиндров.
Материалом блок - картера служат литейные чугуны и литейные сплавы на
основе алюминия.Для снятия внутренних напряжений блок - картер подвергают
соответствующей термической обработке.
1. ПОСТАНОВКА ЗАДАЧИ
В данной курсовой работе необходимо составить алгоритм расчета блок -
картера. Это является главной задачей курсовой работы.
Целью расчета блок - картера
является определение:
номинальной толщины стенки чугунного цилиндра (dн);
напряжение разрыва по образующей цилиндра (sр) и по кольцевому сечению (s’р);
напряжение изгиба (sи).
Также задачей курсовой работы является написание
расчетно-пояснительной записки, в которой будут описаны следующие разделы:
введение;
постановка задачи;
математическое описание;
блок схема и программа;
результаты расчета;
инструкция пользователя;
выводы и предложения;
список использованной литературы.
2.
МАТЕМАТИЧЕСКОЕ ОПИСАНИЕ
Определяем номинальную толщину стенки чугунного цилиндра:
dн = 0,05D + 2, (2.1)
где D - диаметр цилиндра.
Определяем напряжение разрыва по образующей и по кольцевому сечению:
s р = pzM D/(2dp )
, (2.2)
s’р = pzM D/(4dp ) , (2.3)
где
pzM - максимальное давление газов, определяемое из
числового расчета; dp - расчетная или наименьшая толщина стенки цилиндра
Величина
dp
может быть определена по эмпирической формуле:
dp » 0,05D
, (2.4)
При
наличии в двигателе вставных мокрых гильз проверяем на разрыв стенки водяной
рубашки:
sp
= PzM /fB.p , (2.5)
Где
PzM = pzM(pD2/4) - сила, разрывающая водяную рубашку;
fB.p -
площадь поперечного сечения водяной рубашки одного цилиндра.
Вставные
гильзы цилиндров следует проверить на изгиб силой N
s и = Mи max / W
» N(ab/l0)/[0.1(D14
- D4)/D1], (2.6)
где
D1 - нужный
диаметр гильзы;
b -
плечо силы N
Mи
max - максимальный изгибающий момент,
определяемый по графику
Ми - j
3. НОРМАТИВНО
СПРАВОЧНЫЕ ДАННЫЕ
Для расчета блок - картера необходимо учесть следующее:
Ввиду относительно малой величины изгибающего момента Ми max напряжения изгиба получаются незначительными
(sи<300 кгс/см2).Следует иметь в виду, что
при недостаточном укреплении мокрых гильз сила N может вызвать их расшатывание и просачивание воды в местах
уплотнения.
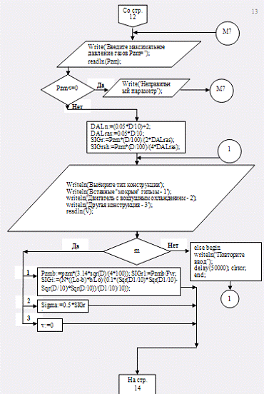
4. БЛОК-СХЕМА И ПРОГРАММА
картер алгоритм программа pascal
Блок-схема основной программы
Процедура расчета

Delay(x);(33,3);('Кафедра ТЭА');(x);(31,9);('КУРСОВАЯ
РАБОТА');(x);
Gotoxy(25,10);
writeln('по
дисциплине "Информатика"');
Delay(x);
Gotoxy(22,12);
writeln('Тема:
Расчет блок-картера ');
Delay(x);
Gotoxy(12,17);
writeln('Исполнитель
Иванов М.В.');
Delay(x);
Gotoxy(12,18);
writeln('Студент
2-го курса группы ХХХХХХХХ ');
Delay(x);
Gotoxy(12,21);
writeln('Руководитель
Сай А.С. ');
Delay(x);(37,24);('2008');(x);
Gotoxy(21,25);
write('для
продолжения нажмите любую клавишу');
M1:while not KeyPressed=True
doM1;:=readkey;;raschet;M1,M2,M3,M5,M6,M7,M8,1,2;D,D1,Fvr,Lo,N,b,SIGr,SIGi,SIGras,Sigma,SIGrsh:real;,pzm,Daln,Dalrsh,Dalras,Dalr,SIGr1:real;
V:word;(Ft,'Blok.txt');(Ft);
gotoxy(22,1);
Writeln('ВСЕ
значения вводятся в миллиметрах');
M1:Write('Введите диаметр цилиндра (внутрений
диаметр гильзы) D= ');
readln(D);D<=0 then begin Writeln('Неправильный
параметр'); M1; end;
M2:Write('Площадь поперечного сечения водяной
рубашки одного цилиндра Fв.р.=
');
readln(Fvr);Fvr<=0 then begin Writeln('Неправильный
параметр'); M2; end;
M3:Write('Введите наружный диаметр гильзы D1= ');
readln(D1);(D1<=0) or (D1<=D) then begin
Writeln('Неправильный параметр');M3; end;:Write('Введите длину гильзы Lо=
');(Lo);Lo<=0 then begin Writeln('Неправильный параметр'); M5; end;
M6:Write('Введите значение силы N= ');
readln(N);N<=0 then begin Writeln('Неправильный
параметр'); M6; end;
M7:Write('Введите длину плеча силы "N" b= ');
readln(b);(b<=0) or (b>=Lo) then begin
Writeln('Неправильный параметр'); M7; end;
M8:Write('Введите максимальное давление газов
Pzm= ');
readln(Pzm);Pzm=0 then begin Writeln('Неправильный
параметр');M8;
end;:=(0.05*D/10)+2;:=0.05*D/10;:=Pzm*(D/100)/(2*DALras);:=Pzm*(D/100)/(4*DALras);
:clrscr;('Выбирите тип конструкции');
Writeln('Вставные
"мокрые" гильзы - 1');
writeln('Двигатель
с воздушным охлаждением - 2');
writeln('Другая
конструкция - 3');
readln(V);
case V of
: begin Pzmb:=pzm*(3.14*sqr(D)/(4*100));
SIGr1:=Pzmb/Fvr;:=(N*((Lo-b)*b/Lo)/(0.1*(Sqr(D1/10)*Sqr(D1/10)-Sqr(D/10)*Sqr(D/10))/(D1/10)/10));
end;
: begin Sigma:=0.5*SIGr; end;
: begin v:=0 end;begin Writeln('Повторите ввод');
delay(50000); goto 1; end;;;(20,1);('РЕЗУЛЬТАТЫ РАСЧЕТА');('Диаметр гильзы D= ',D:1:1);
Writeln('Номинальная
толщина DALн= ',Daln:4:2);
Writeln('Напряжение
разрыва по образующей цилиндра SIGр=
',SIGr:4:2);
Writeln('Напряжение
разрыва по кольцевому сечению SIGр"= ',SIGrsh:5:2);v=1 then begin('Для вставных "мокрых"
гильз');
Writeln('Сила
разрывающая стенки водяной рубашки Pzm= ',Pzmb:5:2);
Writeln('Напряжение
возникающее при разрыве водяной рубашки SIGр= ',Sigr1:5:2);
Writeln('Напряжение
при изгибе гильзы Sigи= ',Sigi:5:2);
end;
if v=2 then begin
writeln('Для
двигателя с воздушным охлождением');
Writeln('Напряжение
разрыва в кольцевом сечении SIGр=
',Sigma:2:2);
end;
Writeln(Ft,'РЕЗУЛЬТАТЫ РАСЧЕТА');
Writeln(Ft,'Диаметр гильзы D= ',D:1:1);
Writeln(Ft,'Номинальная толщина DALн= ',Daln:4:2);
Writeln(Ft,'Напряжение разрыва по образующей
цилиндра SIGр= ',SIGr:4:2);
Writeln(Ft,'Напряжение разрыва по кольцевому
сечению SIGр"=
',SIGrsh:5:2);v=1 then begin(Ft,'Для вставных "мокрых"
гильз');
Writeln(Ft,'Сила разрывающая стенки водяной
рубашки Pzm= ',Pzmb:5:2);
Writeln(Ft,'Напряжение возникающее при разрыве
водяной рубашки SIGр= ',Sigr1:5:2);
Writeln(Ft,'Напряжение при изгибе гильзы Sigи= ',Sigi:5:2);
end;
if v=2 then begin
writeln(Ft,'Для двигателя с воздушным
охлождением');
Writeln(Ft,'Напряжение разрыва в кольцевом
сечении SIGр= ',Sigma:2:2);
end;(Ft);(10);(21,25);('для продолжения нажмите любую клавишу');
2:while not KeyPressed=True do2;;;;;;
end.
5. РЕЗУЛЬТАТЫ РАСЧЕТА
Диаметр гильзы D= 100.0
Напряжение разрыва по образующей цилиндра SIGр= 50.00
Напряжение разрыва по кольцевому сечению SIGр"= 25.00
Для вставных "мокрых" гильз
Сила разрывающая стенки водяной рубашки Pzm= 3925.00
Напряжение возникающее при разрыве водяной рубашки SIGр= 392.50
Напряжение при изгибе гильзы Sigи= 42.66
6. ИНСТРУКЦИЯ ПОЛЬЗОВАТЕЛЯ
Данная программа предназначена для расчета блок - картера.
Для запуска программы необходимо загрузить Turbo Pasсal,
открыть файл "blok.pas" , и запустить программу.
Здесь нужно ввести необходимые для расчета данные, при этом будут
появляться соответствующие запросы. После введения необходимых данных нужно
нажать ENTER.
После введения всех данных и нажатия клавиши, результаты расчета будут
выведены в текстовый файл.
При нажатии клавиши "ENTER",
пользователь может продолжить расчет; при нажатии клавиши "ESC" программа завершит работу и
выйдет в Turbo Pasсal.
Программа выполняется столько раз, сколько необходимо пользователю.
Для просмотра результатов необходимо в том же каталоге, где находится
сама программа найти файл результатов с введенным ранее именем и нажать "F4".
7. ВЫВОДЫ И ПРЕДЛОЖЕНИЯ
В ходе выполнения курсовой работы мною было изучено программирование в
среде Turbo Pasсal.
Программа предназначена для расчета блок - картера.
Результаты вычислений программы выводятся в текстовый файл, что позволяет
их просмотреть, сохранить, распечатать и использовать для дальнейших расчетов.
Использование возможно на автомобилестроительных и машиностроительных предприятиях,
связанных с расчетом блок - картеров, для снижения трудоемкости этих работ,
экономии времени на их выполнение.
СПИСОК ИСПОЛЬЗОВАНОЙ ЛИТЕРАТУРЫ
1. Вальвачев А.Н. Крисевич В.С. Программирование на
языке Паскаль для персональных ЭВМ ЕС.- Мн.: Вышэйшая школа,1989
. Фаронов В.В. Турбо Паскаль 7.0 Учебное пособие.-М.:
Нолидж,1999
3. Форсайт Р. Паскаль для всех-М.: Машинострение,1987
. Попык К.Г., Автомобильные и тракторные двигатели. -
М., 1980.