Прецизионный двухконтурный термостат

  • Вид работы:
    Дипломная (ВКР)
  • Предмет:
    Физика
  • Язык:
    Русский
    ,
    Формат файла:
    MS Word
    544,73 kb
  • Опубликовано:
    2011-07-23
Вы можете узнать стоимость помощи в написании студенческой работы.
Помощь в написании работы, которую точно примут!

Прецизионный двухконтурный термостат













Курсовая работа

Прецизионный двухконтурный термостат

Радиофизика

Оглавление

Введение

. Измерение и стабилизация температуры

1.1 МТШ-90

.2 Платиновый терморезистор

.3 Измерение температуры

1.4 ПИД-регулятор

.5 Настройка регуляторов

1.6 Постановка задачи и выбор метода исследования

2. Экспериментальная установка

.1 Структурная схема

.2 Принципиальная электрическая схема

2.3 Описание термостатируемого блока

Введение


Одним из важнейших параметров как лабораторных экспериментов, так и технологических процессов многих отраслей промышленности является температура. По оценкам отечественных и зарубежных специалистов технические измерения температуры составляют 40-50% общего числа всяких измерений.

Температура - физическая величина, характеризующая состояние термодинамического равновесия макроскопической системы. Температура одинакова для всех частей изолированной системы, находящейся в термодинамическом равновесии. Если изолированная система не находится в равновесии, то с течением времени переход энергии (теплопередача) от более нагретых частей системы к менее нагретым приводит к выравниванию температуры во всей системе. Температура определяет: распределение образующих систему частиц по уровням энергии и распределение частиц по скоростям; степень ионизации вещества; свойства равновесного электромагнитного излучения тел - спектральную плотность излучения, полную объёмную плотность излучения и т. д. Температуру, входящую в качестве параметра в распределение Больцмана, часто называют температурой возбуждения, в распределение Максвелла - кинетической температурой, в формулу Саха - ионизационной температурой, в закон Стефана - Больцмана - радиационной температурой. Поскольку для системы, находящейся в термодинамическом равновесии, все эти параметры равны друг другу, их называют просто температурой системы. В кинетической теории газов и других разделах статистической механики температуру количественно определяется так, что средняя кинетическая энергия поступательного движения частицы (обладающей тремя степенями свободы) равна 3/2кТ, где k - Больцмана постоянная, Т - температура тела. В общем случае температура определяется как производная от энергии тела в целом по его энтропии. Такая температура всегда положительна, её называют абсолютной температурой. За единицу абсолютной температуры в Международной системе единиц (СИ) принят кельвин (К) [1].

Строго определённой температурой характеризуется лишь равновесное состояние тел. Существуют, однако, системы, состояние которых можно приближённо охарактеризовать несколькими не равными друг другу температурами. Например, в плазме, состоящей из лёгких (электроны) и тяжёлых (ионы) заряженных частиц, при столкновении частиц энергия быстро передаётся от электронов к электронам и от ионов к ионам, но медленно от электронов к ионам и обратно. Существуют состояния плазмы, в которых системы электронов и ионов в отдельности близки к равновесию, и можно ввести температуру электронов и температуру ионов, не совпадающие между собой [2].

В телах, частицы которых обладают магнитным моментом, энергия обычно медленно передаётся от поступательных к магнитным степеням свободы, связанным с возможностью изменения направления магнитного момента. Благодаря этому существуют состояния, в которых система магнитных моментов характеризуется температурой, не совпадающей с кинетической температурой, соответствующей поступательному движению частиц. Магнитная температура определяет магнитную часть внутренней энергии и может быть как положительной, так и отрицательной. В процессе выравнивания температуры энергия передаётся от частиц (степеней свободы) с большей температурой к частицам (степеням свободы) с меньшей температурой, если они одновременно положительны или отрицательны, но в обратном направлении, если одна из них положительна, а другая отрицательна. В этом смысле отрицательная температура "выше" любой положительной [2].

 

1. Измерение и стабилизация температуры


1.1 МТШ-90


Положение о международной температурной шкале - это главный законодательный документ в области термометрии. Он устанавливает значения температур основных реперных точек (фазовых переходов чистых веществ) и способ интерполяции между точками. Каждое изменение шкалы - результат научных исследований метрологических центров всего мира. Цель изменения - максимальное приближение к термодинамической температурной шкале, которая реализуется через основные физические законы, связывает температуру с другими основными физическими величинами и универсальными постоянными, но реализация которой очень трудоемка и не может быть воспроизведена с достаточной точностью и стабильностью во всех национальных метрологических центрах - хранителях государственных эталонов. Введение новой редакции температурной шкалы сказывается на градуировках всех средств измерения температуры [3].

Для обеспечения единства и точности температурных измерений служит Государственный эталон единицы температуры - кельвин, что позволяет в диапазоне 1,5-2800 К воспроизводить международную практическую шкалу с наивысшей достижимой в настоящее время точностью. Дадим определение кельвина. Единицей фундаментальной физической величины, термодинамической температуры, обозначаемой символом Т, является кельвин, обозначение К, который по определению равен 1/273,16 части термодинамической температуры тройной точки воды. Таким образом, единица температуры оказывается в зависимости от качества производства тройной точки воды. Исследования последних лет показали, что на стабильность температуры тройной точки воды влияет состав стекла ампулы, степень очистки воды и изотопный состав воды. Исследования, включающие сличения ампул с различным изотопным составом воды показали, что расхождения в значениях температур могут достигать нескольких десятых мК [3].

Международная температурная шкала (МТШ-90) введена в соответствии с решением XVIII Генеральной конференции по мерам и весам. МТШ-90 по сути является практической температурной шкалой и заменяет собой предыдущую Международную практическую температурную шкалу МПТШ-68. Основные изменения в шкале связаны с изменением температур реперных точек, расширением диапазона определения шкалы, введением новых интерполяционных приборов и новых методик построения интерполяционных зависимостей для платиновых термометров сопротивления. Шкала считается очень близко аппроксимирующей термодинамическую шкалу температур, поэтому слово "практическая" было опущено в ее названии [4].

Температура не может быть измерена непосредственно. Об её изменении судят по изменению других физических свойств тел (объёма, давления, электрического сопротивления, эдс, интенсивности излучения и др.), связанных с температурой определёнными закономерностями. Поэтому методы измерения температуры являются по существу методами измерения указанных выше термометрических свойств, которые должны однозначно зависеть от температуры и измеряться достаточно просто и точно. При разработке конкретного метода или прибора необходимо выбрать термометрическое вещество, у которого соответствующее свойство хорошо воспроизводится и достаточно сильно изменяется с температурой. Для измерения температуры (при любом методе) необходимо определить температурную шкалу [1].

Методы измерения температуры разнообразны; они зависят от принципов действия используемых приборов, диапазонов измеряемых температур, условий измерений и требуемой точности. Их можно разделить на две основные группы: контактные методы - собственно термометрия, и бесконтактные методы - термометрия излучения, или пирометрия.

Общим и существенным для всех контактных методов измерения температуры является то, что всякий прибор, измеряющий температуру среды, должен находиться с ней в тепловом равновесии. Основными узлами всех приборов для измерения температуры являются: чувствительный элемент, где реализуется термометрическое свойство, и связанный с ним измерительный прибор, который измеряет численные значения этого свойства. В газовой термометрии термометрическим свойством является температурная зависимость давления газа (при постоянном объёме) или объёма газа (при постоянном давлении), соответственно различают - газовый термометр постоянного объёма и газовый термометр постоянного давления. Термометрическое вещество в этих термометрах - газ, приближающийся по своим свойствам к идеальному. Уравнение состояния идеального газа pV = RT устанавливает связь абсолютной температуры Т с давлением р (при постоянном объёме V) или Т с объёмом V (при постоянном давлении). Газовым термометром измеряют термодинамическую температуру. Точность прибора зависит от степени приближения используемого газа (азот, гелий) к идеальному [2]. В конденсационных термометрах термометрическим свойством является температурная зависимость давления насыщенных паров жидкости. Чувствительный элемент - резервуар с жидкостью и находящимися с ней в равновесии насыщенными парами - соединён капилляром с манометром. Термометрические вещества - обычно низкокипящие газы: кислород, аргон, неон, водород, гелий. Для вычисления температуры по измеренному давлению пользуются эмпирическими соотношениями. Диапазон применения конденсационного термометра ограничен. Высокоточные термометры (до 0,001 град) служат для реализации реперных.

В термометрах жидкостных термометрическим свойством является тепловое расширение жидкостей, термометрическим веществом - главным образом ртуть. При определении температуры не производят измерений объёма жидкости; для этого при изготовлении калибруют капилляр термометра в °С, то есть по его длине наносят отметки с интервалами, соответствующими изменению объёма при заданном изменении температуры. Точность термометра зависит от точности калибровки.

В термометрах манометрических, которые являются приборами технического применения, используются те же термометрические свойства, что и в жидкостных или газовых термометрах. В термометрах сопротивления термометрическим свойством является температурная зависимость электрического сопротивления чистых металлов, сплавов, полупроводников; термометрического вещества выбираются в зависимости от области температурных измерений и требуемой точности. Для определения температуры по измеренному электрическому сопротивлению пользуются эмпирическими формулами или таблицами. Термометры для точных измерений (платина, легированный германий) градуируются индивидуально [2]. В диапазоне криогенных (ниже 90 К) и сверхнизких (ниже 1 К) температур, кроме обычных методов измерения температур, применяются специфические. Это - магнитная термометрия (диапазон 0,006-30 К; точность до 0,001 град); методы, основанные на температурной зависимости эффекта Мёссбауэра и анизотропии g-излучения (ниже 1 К), термошумовой термометр с преобразователем на эффекте Джозефсона (ниже 1 К). Особой сложностью термометрии в диапазоне сверхнизких температур является осуществление теплового контакта между термометром и средой.

Путём сравнения с эталоном значения температур передаются образцовым приборам, по которым градуируются и проверяются рабочие приборы для измерения температуры. Образцовыми приборами являются германиевые (1,5- 13,8 К) и платиновые [13,8-903,9 К (630,7 °С)] термометры сопротивления, платинородий (90% Pt, 10% Rd) - платиновая термопара (630,7-1064,4°С) и оптический пирометр (выше 1064,4 °С) [3].

Перечень основных реперных точек МТШ-90 приведен в таблице 1 [5].

Табл. 1.1. Перечень основных фиксированных точек МТШ-90

Вещество

Реперная точка

T90/K

t90/°C

e-H2

Тройная точка

13.8033

-259.3467

e-H2

Давление паров

≈17

≈ -256.15

e-H2

Давление паров

≈20.3

≈ -252.85

Ne

Тройная точка

24.5561

-248.5939

O2

Тройная точка

54.3584

-218.7916

Ar

Тройная точка

83.8058

-189.3442

Hg

Тройная точка

234.3156

-38.8344

H2O

Тройная точка

273.16

0.01

Ga

Точка плавления

302.9146

In

Точка затвердевания

429.7485

156.5985

Sn

Точка затвердевания

505.078

231.928

Zn

Точка затвердевания

692.677

419.527

Al

Точка затвердевания

933.473

660.323

Ag

Точка затвердевания

1234.93

961.78

Au

Точка затвердевания

1337.33

1064.18

Сu

Точка затвердевания

1357.77

1084.62


В приведенной ниже таблице показаны температуры некоторых вторичных реперных точек МТШ-90. После принятия новой Международной температурной шкалы МТШ-90 встал вопрос о приведении в соответствие с новой шкалой вторичных реперных точек, температуры которых были получены в результате исследований еще во время действия МПТШ-68. Эта работа включала не только пересчет температур, основываясь на функции отклонения двух шкал, но и анализ результатов исследований, представленных метрологическими институтами и оценку их неопределенности. Температуры всех приведенных в таблице вторичных точек считаются соответствующими МТШ-90 с неопределенностью не лучше 1 мК [6].

температурный реперный электрический терморезистор

Табл. 1.2. Перечень вторичных фиксированных точек МТШ-90

Реперная точка

Температура, °С

Неопределенность, К

Точка кипения азота

-195,798

0,002

Точка сублимации двуокиси углерода

-78.464

0.003

Точка плавления эвтектики Ga/20.5%In

15.650

0.001

Точка плавления эвтектики Ga/8%Sn

20.476

0.002

Точка затвердевания натрия

97,794

0.005

Точка кипения воды

99,974

0,001

Точка затвердевания бензойной кислоты

122,352

0.007

Точка затвердевания висмута

271,402

0,001

Точка затвердевания кадмия

321,069

0,001

Точка затвердевания свинца

327,462

0,001

Точка кипения серы

444,614

0.002

Точка затвердевания сурьмы

630,628

0,001

779.63

0.05

Точка кипения натрия

882,940

0.005

Точка затвердевания никеля

1455

1

Точка затвердевания кобальта

1495

3

Точка затвердевания палладия

1554,8

0.1

Точка затвердевания платины

1768,2

0.4

Точка затвердевания родия

1963

3

Точка плавления оксида алюминия

2053

2

Точка затвердевания иридия

2446

6

Точка плавления молибдена

2622

4

Точка плавления вольфрама

3414

7


.2 Платиновый терморезистор

Использование платины в качестве терморезистора обусловлено , что платина - благородный металл, слабо взаимодействует с окружающей средой, легко обрабатывается, имеет кубическую кристаллическую решётку, поэтому расширение и сжатие чувствительного элемента (ЧЭ) при изменении температуры происходит изотропно. Методы получения и очистки платины от загрязнений весьма совершенны, и платина является одним из наиболее воспроизводимых в чистом виде материалов.

Чаще всего для изготовления ЧЭ используется платина в виде проволоки. В зависимости от того, в каком температурном интервале и для каких целей используется терморезистор, диаметр проволоки не превосходит 0,05 - 0,02 мм (для низких температур). Сопротивление при 273,16 К выбирается от десятков до сотен Ом. Для точных и эталонных терморезисторов ЧЭ изготавливают из проволоки диаметром 0,05 - 0,07 мм, чтобы сопротивление при 273,16 К равнялось 25, 50 или 100 Ом.

Так как при загрязнении и механических напряжениях, которые возникают в проволоке при изготовлении, воспроизводимость и долговременная стабильность ухудшаются, то при изготовлении терморезисторов с высокими метрологическими характеристиками к чистоте исходного материала и технологии изготовления предъявляются специальные требования.

Для изготовления ЧЭ используют спектрально чистую проволоку с содержанием основного вещества 99,999%. Чистоту такой платины контролируют, измеряя отношение сопротивлений R373,16 К/R273,16 К, которое должно быть больше или равно 1,3925. Марка этой платины ПЛ-0[3].

Термометры, используемые для технических целей, от которых не требуется высокая точность, изготавливают из платины марки ПТ-2 с R373,16 К/R273,16 К >1,39.

Температура воспроизводится платиновыми терморезисторами в качестве первичного эталона с погрешностью воспроизведения температуры реперных точек, т. е. меньше 0,001 К [4].

Чувствительный элемент, используемый в конструкции платинового терморезистора, на керамическом каркасе выполнен в виде спирали 3 из платиновой проволоки марки ПТ-0 диаметром 0,05 мм, которая помещена в четырехканальный керамический изолятор 2. К концам спирали припаяны выводы 1 из платиновой проволоки марки ПЛ-2. Каналы со спиралью засыпаны безводной окисью алюминия. Описанный терморезистор используется в установке. Помимо него используются два платиновых SMD-терморезистора копании Honeywell сопротивлением 1000 Ом каждый и классом точности А.

Характеристика преобразования платинового терморезистора очень точно апроксимируется уравнением Каллендара-Ван Дусена[5]:

 (1)

где A = 3,9083*10-3 К-1 , B = -5,775*10-7 К-2.

 

.3 Измерение температуры


Существует большое количество измерительных мостов и потенциометров, работающих в комплекте с термометрами сопротивления. Причем отечественные приборы не уступают, а иногда превосходят по качеству импортные установки. Термометры сопротивления могут подключаться к измерительной установке по двух-, трех-, и четырех-проводной схемам. Причем для ТС классов АА и А двух-проводная схема не допустима, т.к. в данном случае, сопротивление подводящих проводов включается в полное измеренное сопротивление термометра и приводит к значительному снижению точности измерения, даже если номинальное сопротивление выводов приведено в документации и учитывается в расчетах. Выбор измерительного тока также влияет на точность измерения температуры. Поскольку ЧЭ изготовлен из очень тонкой проволоки или пленки, даже малый ток может вызвать существенный нагрев ЧЭ. Во избежание значительного увеличения погрешности из-за нагрева ЧЭ измерительным током для 100-омных ТС рекомендуется использовать токи 1 мА и ниже. В этом случае погрешность не превысит 0,1 °С. Для снижения эффекта нагрева ЧЭ иногда используется импульсный измерительный ток.

Для измерения температуры можно использовать следующую простейшую схему. Схема представлена на рис 1.1. Ток возбуждения задается с помощью источника тока, чтобы его внутреннее сопротивление и сопротивление подводящих проводов не влияло на величину тока через термопреобразователь. В этом случае напряжение на выходе дифференциального усилителя будет равно:

, (2)

независимо от сопротивления подводящих проводов, поскольку входное сопротивление дифференциального усилителя в этих условиях нетрудно сделать практически бесконечным.

Рис.1.1 Четырехпроводная схема измерения температуры

.4 ПИД-регулятор

ПИД-регулятор - это звено в контуре управления с обратной связью, используемое для поддержания заданного значения измеряемого параметра. ПИД-регулятор измеряет отклонение стабилизируемой величины от заданного значения (так называемой уставки) и генерирует управляющий сигнал, являющийся суммой трёх слагаемых, первое из которых пропорционально этому отклонению, второе пропорционально интегралу отклонения и третье пропорционально производной отклонения. Если какие-то из составляющих слагаемых не используются, то регулятор соответственно называют пропорционально-интегральным, пропорционально-дифференциальным, пропорциональным и т. п. На риc. 1.2 показана упрощенная функциональная схема ПИД-регулятора[6]:

Рис. 1.2. Функциональная схема ПИД-регулятора.(t) - отклонение измеряемой величины от уставки (ошибка);(t) - управляющее воздействие, генерируемое регулятором.

На рис. 1.3 показано более типичное изображение ПИД-регулятора в виде одного функционального блока.

Рис. 1.3. Упрощенное изображение ПИД-регулятора в виде одного функционального блока.

Назначение ПИД-регулятора заключается в поддержании некоторой величины PV на заданном значении SP с помощью изменения другой величины OP, где- измеряемый параметр- заданное значение измеряемого параметра (уставка);- управляющее воздействие;

Разность (SP-PV) называется ошибкой или рассогласованием.

Как уже сказано, выходной сигнал OP определяется тремя слагаемыми:

 , (3)

где KP, KDI, KTI - коэффициенты усиления соответственно пропорциональной дифференциальной и интегральной составляющей.

Однако в большинстве реальных систем используют несколько другую формулу выходного сигнала, в которой пропорциональный коэффициент находится за скобкой:

 , (4)

где Pp = 1/KP (зона пропорциональности); PD = KDI (постоянная дифференцирования); PI = 1/KTI (постоянная интегрирования).

Пропорциональная составляющая стремится устранить непосредственную ошибку (SP-PV) в значении стабилизируемой величины, наблюдаемую в данный момент времени. Значение этой составляющей прямопропорционально отклонению измеряемой величины от уставки (SP-PV). Так если входной сигнал равен уставке, т.е. PV=SP, то пропорциональная составляющая равна нулю.

При использовании только пропорционального регулятора значение регулируемой величины никогда не устанавливается на заданном значении (PVуст≠SP). Существует так называемая статическая ошибка, которая равна такому отклонению регулируемой величины, которое обеспечивает выходной сигнал, стабилизирующий выходную величину именно на этом значении. Например, в регуляторе температуры выходной сигнал OP, регулирующий мощность нагревателя, постепенно уменьшается при приближении температуры PV к уставке SP: при PV → SP , OP → 0.

Система стабилизируется на определенном значении OP, при котором мощность нагревателя равна тепловым потерям. При этом температура не может достичь уставки, так как в этом случае мощность нагревателя станет равной нулю (OP=0), и он начнет остывать, а вместе с этим будет падать и температура.

По мере увеличения коэффициента пропорциональности (усиления) уменьшается статическая ошибка, однако слишком большой коэффициент усиления может стать причиной автоколебаний, а при дальнейшем увеличении коэффициента система может потерять устойчивость.

Для устранения статической ошибки вводится интегральная составляющая. Если система не испытывает внешних возмущений, то через некоторое время регулируемая величина стабилизируется на заданном значении. При стабилизации (PV=SP) пропорциональная составляющая будет равна нулю, а выходной сигнал будет полностью обеспечиваться интегральной составляющей. При постоянном значении рассогласования (SP-PV) интегральная составляющая представляет линейно увеличивающуюся со временем величину.

Физически интегральная составляющая представляет задержку реакции регулятора на изменение величины рассогласования, внося в систему некоторую инерционность, что может быть полезно для управления объектами c большой чувствительностью.

Процесс настройки ПИД-регулятора состоит в основном из задания уставки и значений указанных выше трех коэффициентов. Существует несколько математических методов вычисления оптимальных коэффициентов PID-регулятора исходя из обеспечения наибольшей устойчивости системы. Однако на практике настройка регулятора проводится эмпирическим методом. В современных автоматических средствах управления зачастую применяются так называемые самонастраивающиеся ПИД -регуляторы, которые путем подачи на объект единичного воздействия и анализа ответной реакции автоматически выставляют если не оптимальные, то достаточно хорошие коэффициенты. Более того, существуют алгоритмы адаптированного ПИД -регулирования, предполагающие автоматическую корректировку (подстройку) коэффициентов регулирования в процессе управления. С их помощью можно достичь очень высокого качества управления даже в сильно нелинейных системах[7].

.5 Настройка регуляторов

При применении PID-регуляторов для каждого конкретного объекта необходимо настраивать от одного до трех коэффициентов. Для типовых регуляторов известны простейшие аналитические и табличные методы настройки (например, методика Цидлера)[8].

Алгоритм настройки по реакции на входной скачок:

на вход подается новое задание (уставка) - нагреватель включается на максимальную мощность, и по переходному процессу X(t) определяются t0, R, tи (см. рис. 1.4):

Рис 1.4. Разгонная кривая для объекта с транспортным запаздыванием- время транспортного запаздывания; tи - постоянная времени (время согласования) определяется инерционностью объекта; Xy - установившееся значение; R - наклон разгонной кривой dX/dt (макс. скорость изменения Х)

вычисляются коэффициенты настройки согласно следующим примерным соотношениям:

для P-регулятора КP= 1/R·t0

для PD-регулятора КP= 1/R·t0, KDI =0.25·t0

для PI-регулятора КP= 0.8/R·t0, KTI = 1/3·t0

для PID-регулятора КP= 1.2/R·t0, KTI = 1/2·t0, KDI =0.4·t0.

Не обязательно выводить объект на максимально возможную величину Х. Однако, следует иметь в виду, что слишком маленький скачок не позволяет определить R с достаточно высокой точностью[9].

 

.6 Постановка задачи и выбор метода исследования


В ходе работы необходимо создать термостат, в рабочем объеме которого можно установить необходимую температуру из диапазона от 253 К до 373 К, при этом для определения температуры используется платиновые термометры сопротивления. Для высокой точности и стабильности поддержания заданной температуры был выбран прецизионный двухконтурный термостат с пропорционально-интегрально-дифференциальным регулированием.

Необходимо добиться стабилизации температуры во внутреннем контуре термостата с точностью до 0.001 К, во внешнем - 0.01 К. Определение температуры производится с помощью 31-разрядного АЦП ADS1281 фирмы Texas Instruments и внутреннего 24-разрядного АЦП конвертора ADuC845.

Разработана программа управления аппаратной частью устройства. Для обработки результатов измерений используются ресурсы ПК, сопряжение с которым реализовано через интерфейс USB. Измерительная часть схемы гальванически развязана с портом компьютера.

2. Экспериментальная установка

 

2.1 Структурная схема


На рис. 2.1 представлена структурная схема прибора.

Камера 1 является основным объектом термостатирования, её температура воздействует на датчик 1, в качестве которого используется одинарный мост с платиновым терморезистором (1000 Ом) в одном из плечей, и датчик 2, представляющий собой платиновый терморезистор (50 Ом). Термоэлектрический модули Пельтье 1 и 2 служат для нагрева и охлаждения камер 1 и 2 соответственно. Камера 2 является окружающей средой для камеры 1. Использование модулей Пельтье обеспечивает работу термостата в широким температурном диапазоне. Работа модулей Пельтье определяется напряжением на выходах усилителей мощности. Входным воздействием на усилители мощности являются напряжения на выходах ЦАП: внешнего DAC8550 и встроенного в ADuC845. Датчик 3 (платиновый терморезистор сопротивлением 1000 Ом), находится в камере 2. Через датчик 3 протекает ток от источника тока. Сигнал с датчика 1 усиливается предусилителем. Напряжения измеряются двумя АЦП, а переключение между датчиками 1 и 2 происходит с помощью системы коммутации (СК). Напряжение попадает на вход цифрового ПИД-регулятора, который осуществляет регулировку и выдаёт сигнал ошибки на ЦАП.

Внешний кожух служит для уменьшения воздействия окружающей среды на термостатируемый объект.

Рис. 2.1. Структурная схема установки

2.2 Принципиальная электрическая схема


Принципиальная схема установки состоит из измерительно-регулировочного и силового блоков. Схема представлена на рис. 2.2.

Схема силовой части состоит из двух одинаковых мощных операционных усилителей LM765 фирмы National Semiconductors, включенных по схеме дифференциального усилителя. Они служат для усиления выходного напряжения цифроаналоговых преобразователей: ADuC845 и 16-разрядного DAC8550. Выходные сигналы с силовой части подключены к термоэлектрическим модулям Пельтье. Благодаря тому, на один из входов каждого усилителя подается напряжение 2,5 В, можно изменять направления тока лишь управляя уровнем выходного напряжения ЦАП. Это обеспечивает и нагрев и охлаждение камер термостата.

Авторегулирования термостата осуществляется микроконвертером ADuC845. Выбор обоснован тем, что в составе ADuC845 имеется 24-х разрядный и 16-ти разрядный сигма-дельта-АЦП, один 10-разрядный ЦАП. Частота работы позволяет использовать микроконвертер в качестве цифрового ПИД-регулятора.

В качестве источника опорного напряжения в 2,5 В используется специализированная микросхема ISL21007 фирмы Intersil, выход которой подключен к микроконвертеру, предусилителю, источникам тока, силовой части, внешнему 31-разрядному АЦП ADS1281 фирмы Texas Instruments. ИОН на 5 В, микросхема x60003 фирмы Intersil, подключена к ЦАП DAC8550. ИОН на 3,3 В, микросхема TLV1117 фирмы Texas Instruments , подключена к АЦП ADS1281. Через платиновые терморезисторы, используемые в качестве датчиков температуры, протекают токи от двух источниках тока, выполненных на основе микросхем AD8531 и LM375, представляющих собой операционные усилители. Токозадающий резистор подобран так, чтобы ток через него был равен 1мА. Микросхема AD620 служит предусилителем для усиления напряжения, падающего либо на эталонном 50-омном терморезисторе R2, либо на платиновом терморезисторе R1. Для переключения между R1 и R2, а также для переключения между R3 и выходом предусилителя используется система коммутации, выполненная на четырех сдвоенных аналоговых ключах ADG821 фирмы Analog Devices.. Аналоговый ключ ISL84780 используется для коммутации тока через терморезисторы для учета действия термо-ЭДС. Все ключи управляются ADuC845 и оптически развязаны с ним с помощью оптопар pc3h7 фирмы SHARP. Микроконвертер ADuC845 служит одновременно и блоком авторегулирования (цифровой ПИД-регулятор) и блоком управления. Тактирование ADS1281 происходит с помощью тактового генератора CGS3311M.

В зависимости от измеренного значения температуры происходит подстройка напряжения ЦА-преобразователей. Для питания всей измерительно-регулировочной части используются аккумуляторные батареи, а для питания силовой части - аккумуляторы.

Для связи с компьютером используется интерфейс UART. В настоящее время на материнских платах персональных настольных компьютеров все реже устанавливается разъем последовательного порта, на ноутбуках данные разъемы вообще практически не встречаются. Поэтому более предпочтительным вариантом является интерфейс USB. В некоторых моделях современных контроллеров встречается аппаратная реализация указанного интерфейса, но данные контроллеры либо очень дороги, либо сложны в смысле программирования. Поскольку обмен с компьютером информацией происходит достаточно медленно, то можно использовать микросхему мост USB-UART, который позволяет использовать современный интерфейс USB, но протоколом обмена информацией при этом является протокол UART. Для исключения наводок от цепей питания компьютера используется гальваническая развязка.

Рис. 2.2. Принципиальная электрическая схема

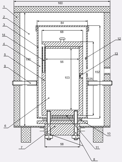
2.3 Описание термостатируемого блока


Рассмотрим блок термостата. На рис 2.3 представлен чертеж термостатируемого блока. Термостат изолирован от внешней окружающей среды кожухом 1 и теплоизоляцией 2, которая уменьшает энергопотребление и совместно с теплоёмкостью изотермической камеры 3 образует тепловой фильтр, который сводит к минимуму амплитуду колебаний температуры внешней среды при передаче их к статируемому объекту 6. Компенсация тепловых потерь камеры 4 осуществляется термоэлектрическим модулем Пельтье 11. Отвод тепла с другой стороны модуля происходит через дно камеры 3. Датчик температуры 12 располагается на стенке цилиндра 3 и имеет с ней хороший тепловой контакт с камерой 4. Датчик температуры 13 располагается на стенке цилиндра 5, рядом располагается плата измерительного моста, с которым соединён датчик 13.

Внутренняя камера является термостатируемым объектом, находящимся в камере 4. Изотермическая камера 5 представляет собой массивный алюминиевый блок в виде цилиндра с толщиной стенок 6 мм, что обеспечивает уменьшение влияния внешней среды на объект термостатирования. Для камеры 6 внешней средой уже является камера термостата 4, в которой поддерживается необходимая температура. Датчик 14 вмонтирован в стенку имеет маленькие размеры и хороший тепловой контакт с камерой 6. Термоэлектрический модуль Пельтье 10 компенсирует тепловые потери камеры 6 термостата, при взаимодействии с камерой 4. Все выводы от нагревателей и датчиков выведены через отверстия.

Блок термостата имеет разборную конструкцию, что позволяет внутрь камеры 6 поместить исследуемый объект, а также даёт возможность поместить теплоизоляцию между камерами (при необходимости) для сглаживания быстрых колебаний или отдельных выбросов температуры. Для фиксации камер внутри термостата и хорошего контакта камер с модулями Пельтье, а также контакта модуля Пельтье 10 с блоком водного охлаждения 7 используются 4 фторопластовых болта М6. Для фиксации внешней камеры 3 внутри кожуха используются 3 текстолитовых болта М10. Выбор материала болтов обусловлен их низкой теплопроводностью.

Кожух 1 изготовлен из двустороннего стеклотекстолита. Камера 3 изготовлена из алюминия толщиной 2 мм. Камеры 3 и 5 имеют удобные, плотно прилегающие к ним, крышки, также изготовленные из алюминия. Для устранения механического воздействия на хрупкие модули Пельтье и на датчики 1, 2, 3 к камерам 3 и 5 прикреплены колодки к которым припаяны провода от вышеперечисленных элементов. На границы соприкосновения камера 5 - модуль Пельтье 11 - камера 3 - модуль Пельтье 10 - блок водного охлаждения нанесен тонкий слой солидола, обеспечивающий хорошую теплопроводность между ними. Блок водного охлаждения изготовлен из алюминиевого бруска с системой отверстий, просверленных в нём.

Рис. 2.3. Чертеж камеры термостата

3. Результаты

В ходе работы необходимо было достичь точности измерения и стабилизации температуры не менее 0.001 градуса Цельсия. Для достижения такой точности нужно использовать высокоразрядный АЦП. Самым восокоразрядным АЦП на данный момент является ADS1281 фирмы TI. Он и был использован в данной курсовой. Было произведено термостабилизирования (10 градусов Ц). Для внешнего контура - на рис. 3.1. Для внутреннего - на рис. 3.2. В масштабе для внутреннего - на рис.3.3. Была достигнута заявленная точность стабилизации в 0.001 градус Цельсия.

Рис 3.1. Стабилизация для внешнего контура

Рис 3.2. Стабилизация для внутреннего контура

Рис 3.3. Стабилизация для внутреннего контура (масштаб)

Заключение


В результате проделанной работы был улучшен прецизионный двухступенчатый термостат, который обеспечивает стабильность температуры до 1мК. Работа осуществляется в диапазоне температур от -20 до 100 градусов Цельсия.

В дальнейшем планируется с помощью термостата воспроизвести одну из реперных точек (тройную точку воды) и исследовать фазовый переход вблизи неё с помощью регистратора тройной точки воды. Таким образом можно будет исследовать единицу температуры - градус Кельвина.

Литература


1.       Попов М. М., Термометрия и калориметрия, Изд.МГУ ,М., 1954. - 942с.

.        Сосновский А. Г., Столярова Н. И., Измерение температур, Издательство комитета стандартов, мер и измерительных приборов М., 1980. - 512c.

3.       <http://www.temperatures.ru>

.        Preston-Thomas H., Metrologia, 1990, 27(1), 3-10

5.       Proces-Verbaux du Comite International des Poids et Mesures, 78th meeting, 1989, pp. T1-T21 (French version) and pp. T23-T42 (in English)

.        Metrologia, 33, р. 133-154 "Recommended values of temperature on the ITS-90 for a selected set of secondary reference points"

.        B. W. Magnum, P. Bloembergen, M. V. Chattle, B. Fellmuth, P. Marcarino and A. I. Pokhodun, On the ​International Temperature Scale of 1990 (ITS-90), Metrologia 36 (1999), 79-88

.        Techniques for Approximating the International Temperature Scale of ​1990. Published by the Bureau International des Poids et Mesures, ​1990, - 205 c.

9.       Малков М. П Справочник по физико-техническим основам криогеники. - М.: Энергоатомиздат, 1985. - 432 с.

.        Орлова М. П. Низкотемпературная термометрия. - М.: Энергоатомиздат, 1987. - 280 с.

.        ГОСТ Р 8.625-2006

.        <http://www.rlda.ru/Temperature_Measuring.htm>

.        Духин С.С. Электропроводность и электрокинетические свойства дисперсных систем. - Киев.: Наук. думка, 1975. - 334c.

Приложение 1. Листинг программы


#include <ADuC845.h>

#include <stdio.h>

#include <math.h>ADC_int(void);set_curr(void);delay(int);set_sw(int, int);spi(void);set_adc(char);prin(void);DIN = P2^0; // SPI for ADCDOUT = P2^1; //DRDY = P2^2; //SCLK = P2^3; //char RESET = 0x06; // functions for ADCSTOPC = 0x11; //STANDBY = 0x02; //WRR1 = 0x41; // write in reg 01hWRN1 = 0; // write in one regWRDAT = 0x40; //READC = 0x10; //SYNC = 0x04; //long DATA=0; // variable for ADCREGD=0; //x=0, y=0; //carry = PSW^7; //sw1 = P2^4; // switchessw2 = P2^5; //sw3 = P2^6; //sw4 = P2^7; //sw0 = P3^2; //dac_data = P3^5; // SPI for DACdac_sync = P3^3; //dac_sclk = P3^4; //current = 0; // Voltage from DACn=3, m=1, c=0, c1=0, c2=0, d;char sign;out, vaduc, v, v0, sum=0, sum1=0, t=10, M1, M2;

//-------------------------- ADC_intADC_int () interrupt 6

{= (ADC0H*0x10000 | ADC0M*0x100 |ADC0L);= (vaduc / 8388608 - 1) * 1.28;(vaduc<0)vaduc=-vaduc;= 0;= 0;

}

//--------------------------- MAINmain(){CON = 0x86;// 9600FD = 0x12; //= 0x52; //= 13;= 0x3B;CON1 = 0x86;CON2 = 0x4A;CON = 0x4B;= 0x07;= 0x00;= 1;= 1;_sw(m, n);_adc(RESET);

//set_adc(STOPC);

//set_adc(WRR1);_adc(WRN1);_adc(WRDAT);_adc(0x21);_adc(0);_adc(READC);(5000);(1)

{=spi();(c<30) {c++;}(c==30){v0 = v; c++;}(c>30)

{(fabs(v-v0)<0.005)

{(c2==50){set_sw(!m, n);}(c1==100)

{(c2==c1+1)set_sw(!m, n++);= sum*0.01-0.022;= sum1*0.01;= (sum/1.003-1)*255.88;= (sum1/1.003-1)*255.88;(fabs(sum1-t)<5) M2 = 0.2*(sum1-t);M2 = 1;=(2048+1500*M2);= d/256;= d&0xFF;(fabs(sum-t)<2){ M1 = 0.5*(sum-t);}M1=0;= 2.5 + M1;_curr();("%.4f\t", sum);("%.4f\n", sum1);=0;=0;=0;=0;

}v0 = v;

}

}

}

//-------------------------- SET_CURRset_curr(void)

{int temp, mask;cnt;_sync = 0;_data = 0;(cnt = 0; cnt < 8; cnt++)

{_sclk = 0;_sclk = 1;

}= 0x8000;= 32768*(current*0.4-1);(cnt = 0; cnt < 16; cnt++)

{= (int)current & mask;(temp == 0){ dac_data = 0; }{ dac_data = 1; }_sclk = 0;_sclk = 1;= mask >> 1;

}_sync = 1;

}

//------------------------- DELAYdelay(int j)

{(j ; j>0; j--){;}

}

//------------------------ SET_SWset_sw(int s0, int s1)

{(s0) {sw0=1;}{sw0=0;}(s1 == 0) {sw1=0; sw2=0; sw3=0; sw4=0;}(s1 == 1) {sw1=1; sw2=0; sw3=1; sw4=0;}(s1 == 2) {sw1=0; sw2=1; sw3=1; sw4=0;}(s1 == 3) {sw1=0; sw2=0; sw3= 0; sw4=1;}(100);

}

//------------------------- SPIspi()

{(DRDY);= 0;(DOUT){DATA<<=1; sign=0;}{DATA++; DATA<<=1; sign=1;}(y = 0; y < 31 ;y++)

{= 1;= 0;(DOUT)++;<<= 1;

}(sign)out = DATA;out = ~DATA;= (out/2147483648)*0.625;(1000);(out);

}

//------------------------- SET_ADCset_adc(char reg)

{(x=0; x<8; x++)

{<<=1;= carry;= 1;= 0;

}= 0;(10);

}

Похожие работы на - Прецизионный двухконтурный термостат

 

Не нашли материал для своей работы?
Поможем написать уникальную работу
Без плагиата!
Без нейросетей!