Токарно-гвинторізний верстат
ЛАБОРАТОРНА РОБОТА
№1. ГЕОМЕТРИЧНІ
ПАРАМЕТРИ РОБОЧОЇ ЧАСТИНИ РІЗЦІВ
Мета роботи -
ознайомитися з основними типами різців, їх геометричними параметрами, приладами
та методикою контролю заточування різців, із впливом геометричних параметрів
різців на умови різання; скласти ескізи основних типів токарних різців і
виміряти їх геометричні параметри.
1.1 Інструменти та
наочні приладдя
1. Кутоміри
настільні
. Кутоміри
універсальні.
. Лінійки
масштабні.
. Штангенциркулі.
. Радіусонори.
. Різці токарні -
прохідні, підрізні, відрізні, різьбові.
. Плакати із
зображенням геометричних параметрів різців та кресленням різця.
1.2 Загальні
положення
У практиці
металообробки застосовуються різні види ріжучого інструменту. Проте формою
ріжучої частини всіх ріжучих інструментів є клин, який має одну або декілька
ріжучих кромок.
ГОСТ 25762-83
установлює єдині, які використовуються в науці, техніці, виробництві, терміни і
визначення загальних понять, що стосуються всіх видів обробки різанням, а також
буквені позначення величин кінематичних елементів різання, координатних площин
і елементів леза.
Найбільш
розповсюдженими ріжучими інструментами й водночас найбільш простими за
конструкцією є різці, тому геометрію ріжучих інструментів розглянемо на
прикладі токарного прохідного різця.
1.2.1 Будова
токарного різця
Токарний прямий
прохідний різець (рис. 1.1.) має ріжучу частину А і приєднану частину Б, яка
призначена для кріплення різця в різцеутримувачі.
Рис. 1.1
Ріжуча частина має
такі елементи: передню поверхню 1, по якій сходить стружка; головну задню
поверхню 2, повернуту до поверхні різання заготовки; допоміжну задню поверхню
3, звернену до обробленої поверхні заготовки, ріжучу кромку 4, утворену
перетином передньої та головної задньої поверхонь; допоміжну ріжучу кромку 5,
утворену перетином передньої та допоміжної задньої поверхні; і вершину різця 6,
утворену перетином головної та допоміжної ріжучих кромок.
Інструмент
заточують по передній і задній поверхнях. Для визначення кутів, під якими
розташовуються поверхні ріжучої частини інструмента відносно одна одної,
вводять статичну систему координат (рис. 1.2) із ряду площин.
1.2.2 Координати
площини різця
Рис. 1.2
Основна площина РV
- координатна
площина, яка проведена через основу або вершину
різця перпендикулярно напрямкові швидкості головного руху.
Площина різання РП
- координатна площина, яка дотикається до ріжучої кромки і перпендикулярна
основній площині.
Головна січна
площина РТ - координатна
площина, яка перпендикулярна лінії перетину основної площини та площини
різання.
Робоча площина РS
- площина, у якій розміщені напрямки швидкості руху різання та руху подачі.
1.2.3 Статичні кути
різця
Куги різця в
статиці розглядають, виходячи з умов, що вісь різця перпендикулярна осі
заготовки, вершина різця знаходиться на рівні осі заготовки, роблячи тільки
головні рухи різання (без подачі). (Рис. 1.3)
Рис. 1.3
Головний передній
кут γ
виміряють у головній перехресній площині між лініями її перехрещення з
передньою поверхнею й основною площиною.
Головний задній кут
α
виміряють у головній січній площині між лініями її перетинання з головною задньою
поверхнею та площиною різання.
Допоміжний задній
кут α1
виміряють у допоміжній січній площині між лініями й перетинання з допоміжною
задньою поверхнею і вертикальною площиною.
Головний кут
у плані φ
- це кут в основній площині між площиною різання і напрямком руху подачі.
Допоміжний кут
у плані φ1
- кут в основній площині між проекцією допоміжної ріжучої крайки на основну
площину і напрямком, зворотним руху подачі.
Кут нахилу ріжучої
кромки λ
- кут у площині різання між ріжучою кромкою та основною площиною.
Кут загострення β
- виміряється в головній січній площині між лініями її перетинання з передньою
і головною задньою поверхнями.
β=90°-(α+γ).
1.2.4 Вплив кутів
різця на умови різання
Головний передній
кут γ
суттєво впливає на різання. З його збільшенням зменшується деформація
зрізаючого шару, зменшуються сили різання і витрати потужності, поліпшуються
умови відходження стружки, підвищується якість оброблюваної поверхні. Але
збільшення кута у знижує міцність інструменту, збільшує його зношуваність через
викришення і погіршення тепловідведення. При обробці крихких і твердих
матеріалів призначають менші кути у, інколи навіть від'ємні , а при обробці
м'яких і в'язких матеріалів кут у збільшують до 10...20°.
Головний задній кут
α
служить для знищення тертя між головною задньою поверхнею інструмента і
поверхнею різання заготовки, що зменшує зношення інструмента по головній задній
поверхні. Збільшення кута а знижує міцність інструменту. При обробці в'язких і
м'яких матеріалів застосовують різці з великими кутами α.
При
різних умовах обробки кути а призначають у межах 6…12°.
Допоміжний, задній
кут α1
знижує тертя між допоміжною задньою поверхнею та обробленою поверхнею
заготовки.
Головний кут у
плані φ
істотно впливає на стійкість ріжучого інструмента і на шорсткість обробленої
поверхні. Із зменшенням кута φ збільшується
довжина активної частини головної ріжучої кромки (ширина шару - який зрізують)
і зменшується товщина шару, який зрізують. Це приводить до зниження теплового й
силового навантаження на різець, зменшення зношуваності інструмента та зниження
шорсткості обробленої поверхні. Проте при малих кутах φ
стрімко
збільшується радіальна складова сили різання, що сприяє прогину заготовки, а
інколи і виникнення вібрацій, що підвищує зношуваності інструмента і погіршує
якість обробленої поверхні. Кут φ призначають
від 30 до 90°.
Допоміжний кут у
плані φ1
призначений для зменшення тертя допоміжної задньої поверхні інструмента з
обробленою поверхнею. Зі зменшенням кута φ1
збільшується міцність вершини різця і знижується шорсткість поверхні. Дія
прохідних різців при обробці жорстких заготовок φ1=5...10°,
а при обробці заготовок малої жорсткості φ1=30...45°.
Кут нахилу головної
ріжучої кромки λ,
визначає
напрямок сходу стружки: при λ=0 стружка
сходить перпендикулярно головній ріжучій кромці, при позитивному куті λ
стружка
відходить у бік обробленої поверхні, а при негативному - до поверхні, яка
обробляється. Позитивний кут λ
призначений
для зміцнення ріжучої крайки. При чистовій обробці беруть кут λ
- до "-" 5° , а при чорновій до
"+"5°.
Кут загострення β
визначає форму клина головної ріжучої кромки. Чим менший кут β,
тим
легше інструмент урізається в матеріал, який обробляється, і міцність різця
буде меншою. Тому при обробці м'яких і в'язких матеріалів кут β
зменшують,
а при обробці твердих і крихких - збільшують.
У процесі різання
кути виміряють у кінематичній системі координат, яка орієнтована в напрямку
швидкості результативного руху різання. І як наслідок цього задній кут а
зменшується, а передній кут γ збільшується.
Для звичайних умов обробки зміни кутів не суттєві, і ними можна знехтувати.
1.2.5 Контроль
геометричних параметрів різців
Габаритні розміри
різця виміряють масштабною лінійкою і штангенцир-кулем, а кутомірні параметри -
настільним й універсальним кутомірами.
Передній кут у,
задні кути α і
α1,
кут нахилу головної ріжучої кромки λ вимірюють
за допомогою настільного кутоміра спеціальної конструкції. При вимірюванні
переднього і заднього кутів різець установлюють на плиті так, щоб площина
вимірювального сектора розміщалась у відповідній січній площині різця. При
цьому ніж шаблона підводиться до зіткнення з потрібною межею різця, а величина
кута відраховується за шкалою сектора. Для зміни кута λ
ніж
шаблона підводиться до зіткнення з головною ріжучою кромкою різця.
Головний
і допоміжний кути в плані φ і
φ1
визначають за допомогою універсального кутоміра, а радіус при вершині різця -
за допомогою радіусоміра.

ЛАБОРАТОРНА РОБОТА
№ 2. РІЖУЧИЙ
ІНСТРУМЕНТ
Ріжучий інструмент,
який випускається, а також окремі його елементи класифіковані за
конструктивними ознаками і призначенням. Використання класифікаторів дає змогу
правильно вибирати потрібний інструмент та замовити його у виробника.
Загальносоюзним
класифікатором продукції (ОКП) ріжучий інструмент віднесений до 39-го класу.
Позначення інструменту (код ОКП) включає, крім класу (39), підклас (один знак),
групу (один знак), підгрупу (один знак), вид (один знак), порядковий номер
(чотири знаки).
Приклад позначення
свердел спіральних швидкоріжучих із циліндричним хвостовиком середньої серії
правих, діаметром 1,55 мм, звичайного виконання, без повідка: 3912133121.
РІЗЦІ
Різці - найбільш
розповсюджений вид ріжучого інструменту. Вони поділяються на токарні,
довбальні, стругальні, розточувальні.
Токарні різці
класифікуються: за матеріалом ріжучої частини (сталеві, керамічні,
твердосплавові, діамантові, ельборові); за характером операцій (чорнові і
чистові), за формою леза відносно стержня (прямі, зігнуті, відігнуті й
відтягнуті); за напрямком руху (праві і ліві); за призначенням (прохідні,
розточувальні, підрізні, відрізні, фасонні, різьбові і канавочні).
Значення
геометричних і конструктивних елементів цих різців вибирають за нормами і
ГОСТами, виходячи з умов обробки. Наприклад, при обробці конструктивних сталей
різцями із швидкоріжучих сталей γ=20-30°,
α=8-12°; λ=0; при обробці твердим
сплавом γ=.15°; α=8-12°; λ=0-5°. Для
чавуну різцями із твердого сплаву γ=0;
"-"5°; α=6-10°, λ=0;"- "5°.
Призматичні фасонні
різці можуть бути радіальні (подавання здійснюється в радіальному напрямку) і
тангенційні (подавання направлене по дотичній до поверхні, яка обробляється).
Різьбові різці
служать для нарізання зовнішньої і внутрішньої різьби будь-якого профілю.
Різьбові різці поділяють на стержневі, круглі і призматичні (гребінки).
За конструкцією
розрізняють різці суцільні, виготовлені з однієї заготовки, складові (з
нероз'єднувальним з'єднанням його частин); з припаяними пластинками; з
механічним кріпленням частин. Закріплюючу частішу різців виготовляють із
конструкційних сталей.
Геометричні
параметри стругальних і довбальних різців ті ж, що й токарних: передній кут γ,
задній
кут α, головний кут у
плані φ, допоміжний кут у
плані φ1,
і кут нахилу головної ріжучої кромки λ.
Для попередження заклинювання при різанні стругальні різці рекомендують
виготовляти зігнутими.
ФРЕЗИ
Фрези - один із
найбільш розповсюджених видів інструменту. За формою і призначенням фрези
розпізнають: циліндричні, торцеві, кінцеві, шпонкові, дискові, кутові, фасонні,
різьбові та ін.
Фрези циліндричні
(рис. 2.3.)
призначені для обробки плоских поверхонь, ширина яких менша від довжини фрези.
Вони можуть бути виготовлені як суцільні із швидкоріжучих сталей, так і зі
вставними ножами із швидкоріжучих сталей або Пластинами із твердого сплаву
(рис.2.3.).
Циліндричні фрези найчастіше усього випускають із гвинтовими зубцями, тобто з
кутом нахилу відносно осі фрези ω=30...40°.
Фрези торцеві
призначені для обробки поверхонь великої площі, а також поверхонь, які мають
велику поверхневу твердість (рис.2.3).
Фрези кінцеві
призначені для фрезерування площин, уступів, пазів, різноманітних контурів (рис
2.4.).
Принципові
положення по вибору кутів зубця фрези ті ж, що і для різців. Середні значення
кутів зуба для швидкоріжучих фрез γ=5-20°;
α=12-30°; для твердосплавних γ=15-10°;
α=12-20°, φ=30-60°; φ1=1-20°.
Для нарізання зубчастих коліс застосовують дискові модульні і черв'ячні фрези.
Інструменти для
обробки отворів
СВЕРДЛА
За конструктивними
ознаками свердла можна розділити на спіральні, перові, для глибоких отворів,
комбіновані центровочні.
Найбільш
розповсюджені спіральні свердла. Спіральне свердло (рис.2.5)
складається із робочої частини і хвостовика, який може бути циліндричним або
конусним. Ріжуча частина свердла має дві головні, дві допоміжні та одну
поперечну ріжучі кромки. Головні ріжучі кромки свердла прямолінійні, нахилені
до осі свердла й утворюють між собою кут у плані 2φ
(від 80а для м'якого і крихкого
матеріалу, до 140° для твердого та в'язкого матеріалу). Відведення стружки
здійснюється по гвинтових стружкових канавках. На кожному пері свердла є
стрічка, яка виконує функції допоміжної ріжучої кромки. Задні поверхні пера,
перетинаючись між собою, визначають форму і розміри поперечної ріжучої кромки
та кут ці, її нахил до ріжучої крайки (ψ=55-60°).
У головній січній
площині свердло має форму різця з кутами у, а. Передній кут у периферії γ=25-30",
у перемичці γ=0. Задній
кут α у периферії
дорівнює 8-14°.
Рис. 2.5
Спіральне свердло: 1 - передня поверхня леза, 2 - головна ріжуча кромка, 3 -
допоміжна ріжуча кромка, 4 - леза перемички
Рис. 2.8
Внутрішня протяжка: 1 - замкова частина, 2 - передня направляюча, 3 - ріжуча
частина, 4 - калібруючи частина, 5 - задня направляюча
АБРАЗИВНИЙ
ІНСТРУМЕНТ
Конструктивні особливості
абразивних інструментів на прикладі шліфувального круга за його маркуванням.
ІШ 500x60*305 34А
40 СТ2 6 К5 35м/с А Ікл
У маркування
входять:
. Тип круга і його
розміри (ПП 500х60х305).
. Марка абразивного
матеріалу (34А).
. Індекс
зернистості (40)
. Твердість (СТ2).
. Структура(6).
. Зв'язка (К5).
. Допустима окружна
швидкість (35м/с).
. Клас точності
(А).
Клас
неврівноваженості(ікд)
. Тип круга
визначається формою його перерізу: наприклад,
ПП - плоский
прямого профілю;
ГТВ - плоский із
виточкою,
ТЦ - чашковий
циліндричний.
Алмазні круги
позначаються літерою "А", наприклад, АПВ (6А2 - за ГОСТ 16176-80) -
плоский із виточкою. Ельборові круги позначають літерою "Л",
наприклад, ЛПП (або ІАІ) плоский прямий.
2. В якості
абразивного матеріалу широко використовують електрокорунд, карбід кремнію,
діамант, ельбор. Позначення: електрокорунд нормальний - (13А-16А). білий -
(22А-25А), хромистий - (32А-34А), титановий - (37А). цирконійовий - (38А),
монокорунд - (43А-45А); карбід кремнію: чорний - (53С-54С), зелений (63С-64С).
Марки діамантів за ГОСТ 9206-80: АС2 - діамант синтетичний, звичайної міцності,
АС4 - підвищеної міцності, АС6 - високої міцності, АСІ5 - кристали, АС32 -
монокристали, АРВ1 - балас, АРК4 - карбонаде.
Абразивні
інструменти мають різні ступені твердості - від надзвичайно твердих (ЧТ) до
м'яких (ЧМ), а також дуже м'яких (ВМ), м'які (М), середньом'які (СМ), середні
(С), тверді (Т) і дуже тверді (ВТ). Чим вища твердість, тим більші зв'язки і
менше пор. Чим твердіший матеріал, який обробляють, тим м'якшим повинно бути
коло.
Структура
шліфувального круга (процентне співвідношення трьох складових - зерен, зв'язки
і пор в об'ємі абразивного інструменту) позначається номерами від 0 до 20.
Структури поділяють на закриті (1-4), середні (5-8), відкриті (9-12) і
високопористі (13-го).
Шліфувальні круги
виготовляють трьох класів точності АА, А, Б. За неврівноваженістю встановлені 4
класи 1, 2, 3, 4.
ЛАБОРАТОРНА РОБОТА
№3.
ВИЗНЛАЧЕННЯ ТЕМПЕРАТУРИ РІЗАННЯ
Мета роботи -
ознайомитися з методикою визначення температури різання методом природної
термопари, дослідити залежність температури різання від елементів режиму
різання, вивчити вплив температури різання на умови різання.
Обладнання,
прилади, матеріали
Токарний верстат,
спеціальний різець із наплавкою з твердого сплаву, потенціометр для вимірювання
термо ЕДС, сталева заготовка діаметром 40...60 мм, ізолююча прокладка, плакат
із графіком залежності термо ЕДС природної термопари сталь - твердий сплав від
температури.
Загальні положення
Температура різання
- один із основних фізичних показників процесу різання, оскільки вона визначає
допустимі значення швидкості різання, стійкість інструменту, точність обробки
та ін. Експериментально встановлено, що майже вся робота деформації. яка
виникає при різанні, переходить у тепло. Причинами утворення теплоти є
напружено-пластичні деформації в зоні стружкоутворення, тертя стружки з
інструментом та інструмента з поверхнею заготовки.
Рівняння теплового
балансу має такий вигляд:
Q1 + Q2
+ Q3 + Q4 = q1 + q2 + q3
+ q4,
де Q1 -
тепло, яке виділяється в результаті пластичної деформації і руйнування металу в
зоні стружко утворення (генерується в площині сколювання),2 - робота
сил тертя стружки на передній поверхні леза різця,
Q3 -
робота сил тертя заготовки по задній поверхні леза інструмента,
Q4 -
робота, витрачена на пластичну деформацію матеріалу перед площиною сколювання.
Кількість тепла, що
виділяється за одиницю часу:
Q= РZ V,
де РZ -
сила різання;- швидкість різання
Витрата тепла:1
-теплота, що відводиться зі стружкою;2 - нагрівання металу ріжучої
частини різця;3 - нагрівання заготовки.- відведення тепла в
навколишнє середовище.
Відносна величина
складових теплового балансу залежить від умов різання її особливо від швидкості
різання. У середньому (Q1 складає 75-80% усієї доходної частини
балансу, Q2 - 18…22%, Q3 - 2…3,5%, Q4 -
близько 0,5%. Із витратної частини q1 становить 68…75%, q2
- 2...5%, q3 - 2…8%, q4 - 9…24%.
Способи вимірювання
температури різання, за допомогою термопар (натуральних га природних),
термокольорів. кольорів побіжності, оптичний тощо Найбільш іонним і поширеним є
спосіб термопар.
Суть природної
термопари полягає в тому, що різнорідним сплавом термопари і матеріали різця та
заготовки, яка обробляється.
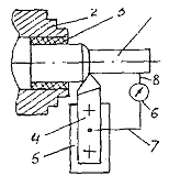
За способом
природної термопари (Рис. З) заготовка 1 із вуглеводневої сталі ізолюється від
патрона 2 прокладкою 3. Різець 4 з напайкою із твердого сплаву також ізолюється
від різцеутримувача прокладкою 5.
Вимірювальний
прилад 6 провідниками 7 та 8 з'єднаний з тілом різця і заготовкою, яка
обробляється. Для забезпечення електричного контакту провідника 8 із
заготовкою, яка обертається, застосовується струмознімач із вугільними щітками.
Показання приладів за допомогою графіка або таблиць переводяться в градуси за
Цельсієм.
Теплоутворення
негативно впливає на процес різання. Нагрівання інструмента до високих
температур (800…1000°С) викликає структурні перетворення в його матеріалі,
зниження твердості та втрату ріжучої здатності. При нагріванні відбуваються
зміни геометричних розмірів інструмента та заготовки, що викликає відхилення
розмірів і форми поверхні, яка обробляється Шляхи зниження температури різання,
подання в зону різання мастильно-охолоджуючих рідин (або газів), поліпшення
відведення тепла від леза інструмента шляхом збільшення перерізу тіла різця та
підвищення теплопровідності його матеріалу (легування Мо, Со, Ті), застосування
інструмента з водоохолоджуючими каналами.
Рис. 3 Схема природної термопари
Вплив різних
факторів на температуру різання
1. Швидкість
різання. З її прискоренням збільшується роботи різання і збільшується загальна
кількість виділяємого тепла. Зі збільшенням швидкості різання - зменшується
кількість тепла за рахунок пластичної деформації, але збільшується за рахунок
роботи сил тертя.
. Глибина різання t
і подача S.
Зі збільшенням подачі, температура в зоні різання збільшується, але менш
інтенсивно чим при збільшенні швидкості. Ще менший вплив на температуру різання
здійснює глибина різання, що пояснюється тим, що зі збільшення глибини різання
також збільшується довжина активної частини ріжучої кромки інструмента, що в
свою чергу збільшує тепловідведення.
. Передній кут γ.
З
його збільшенням робота деформації зменшується і як наслідок зменшується
кількість тепла, яке виділяється, але одночасно погіршуються умови відведення
тепла так як зменшується маса самого різця. Тому спочатку зі збільшенням у
температура різання зменшується до оптимального значення, а потім починає
збільшуватися.
4. Головний кут у
плані φ. Зі збільшенням кута
φ
тепло
виділення декілька зменшується так як зменшується усадка стружки і робота сили
різання, але одночасно погіршуються умови відводу тепла, так як зменшується
довжина робочої частини і ріжучої кромки. В наслідок цього температура
збільшується зі збільшенням кута φ.
5. Радіус при
вершині різця r.
З його збільшенням декілька збільшується усадка стружки, робота деформації і
тепловідведення. Однак при цьому покращується відведення тепла у зв'язку зі
збільшенням ширини активної частини ріжучої кромки.
Результати
вимірювань занесені в наступну таблицю.
|
Режими різання
|
Показання
|
|
n, об/хв
|
V, м/хв
|
t, мм
|
S, мм/об
|
Прилад
|
E, mV
|
T, °C
|
|
355
|
29
|
0,5
|
0,09
|
82
|
8,2
|
500
|
|
500
|
40,82
|
0,5
|
0,09
|
80
|
8,0
|
480
|
|
710
|
58
|
0,5
|
0,09
|
102
|
10,2
|
620
|
|
1000
|
81,64
|
0,5
|
0,09
|
104
|
10,4
|
630
|
|
710
|
58
|
0,5
|
0,09
|
102
|
10,2
|
620
|
|
710
|
58
|
0,5
|
0,1
|
104
|
10,4
|
630
|
|
710
|
58
|
0,5
|
0,12
|
104
|
10,4
|
630
|
|
710
|
58
|
0,5
|
0,14
|
106
|
10,6
|
680
|
|
710
|
58
|
0,5
|
0,09
|
102
|
10,2
|
620
|
|
710
|
58
|
0,8
|
0,09
|
105
|
10,5
|
650
|
|
710
|
58
|
1,0
|
0,09
|
110
|
11,0
|
700
|
|
710
|
58
|
1,5
|
0,09
|
100
|
10,0
|
600
|
Діаметр заготовки d1=26
мм.
ЛАБОРАТОРНА РОБОТА
№4.
СИЛА ТА ПОТУЖНІСТЬ РІЗАННЯ
Мета роботи -
вивчити умови появи сили різання, залежність її величини від різних факторів,
розкладання сили різання на складові, методи розрахунку сили різання,
ознайомитися з методами експериментального визначення сили різання
.1 Обладнання,
прилади та матеріали
1. Токарний верстат
2. Набір
спеціальних різців
3. Пристосування
для встановлення спеціального різця та індикаторів годинникового типу
. Індикатори
годинникового типу, 2 шт
. Штрихові
інструменти - штангенциркуль і масштабна лінійка.
6. Круглі заготовки
із сталі різної твердості.
.2 Загальні
положення
Силами різання
називаються сили опору оброблюваного матеріалу робочому руху леза ріжучого
інструмента.
Джерелами
виникнення сили різання є: опір матеріалу, який обробляється. пластичній
деформації стружкоутворення, опір деформованого матеріалу руйнуванню в місцях
виникнення нових поверхонь, опір зрізуваної стружки згину і злому, сили тертя
на лезі, передній та задній поверхнях.
Розподіл тиску
матеріалу, який обробляється, на передній і задній поверхнях інструмента
нерівномірний. Найбільший тиск діє поблизу ріжучої кромки. Далі до місця
припинення контакту зі стружкою тиск плавно наближається до нуля на передній і
задній поверхнях Ширина контакту стружки з передньою поверхнею залежить від
пластичності матеріалу заготовки. При обробці крихких матеріалів вона трохи
більша глибини різання, а для пластичних матеріалів може перевищувати глибину
різання в 1,5. .3.0 разу.
Величина сили
різання залежить від багатьох факторів. Основними факторами, які впливають на
сили різання, є фізико-механічні властивості і структура матеріалу, що
обробляється, геометричні параметри леза інструмента, елементи режиму різання,
умови обробки. При обробці пластичних матеріалів сила різання тим більша, чим
менший кут γ, в
той час, як при обробці крихких матеріалів цей кут на силу різання практично не
впливає.
Експериментальне
визначення сили різання здійснюється за допомогою гідравлічних, механічних,
тензометричних та інших динамометрів. Найбільш прості у виконанні та
безвідмовні в роботі механічні динамометри торсійного й інших типів.
Недоліком таких
пристроїв є неможливість виконати автоматичний запис зміни сили різання з
часом.
У даній
лабораторній роботі використовується механічний метод визначення складових РZ
та PX
сили різання.
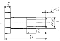
Суть методу полягає
в тому, що із частини різця, яка кріпиться у різцеутримувачі, консольне
виступає круглий стержень різця діаметром 15 мм та довжиною 82 мм. На відстані X
від вершини різця в спеціальних гніздах кутка, жорстко з'єднані з масивною
частиною різця, встановлені два індикатори годинникового типу, які вимірюють
відхилення осі консольної частини різця під дією складових сили різання
(рис.3.1).
Під дією складової
РZ
або (РX)
сили різання консольної частини різця прогинаються Величина прогину на відстані
X від
вершини різця може бути визначена за рівнянням:
,
де: ƒХ -
прогин осі різця в місці встановлення індикатора, см;
Р - вимірювана складова сили
різання, Н;
l -
довжина консольної частини різця, см;
Е - модуль нормальної
пружності сталі, Е =2·10
МПа;
І - момент інерції круглого
перерізу консольної частини різця,
, см4
Якщо датчик годинникового
індикатора прилаштувати по середині довжини консольної частини різця (х=0,5l),
то рівняння матиме більш простий вигляд:
,
звідки
|
|
|
|
|
|
|
|
|
Режими
різання
|
Показники
|
|
n
об./хв
|
v,
|
t
,
|
s
, мм/об
|
fх
|
fz
|
Рх,
Н
|
Рz,
Н
|
|
м/хв
|
мм
|
|
Прилад
|
Прилад
|
|
|
|
355
|
32,33
|
0,5
|
0,12
|
0
|
25
|
0
|
2176,4
|
|
500
|
45,53
|
0,5
|
0,12
|
0
|
37
|
0
|
3221,1
|
|
710
|
64,65
|
0,5
|
0,12
|
10
|
50
|
870,56
|
4352,8
|
|
1000
|
91,06
|
0,5
|
0,12
|
25
|
60
|
2176,4
|
5223,4
|
|
710
|
64,65
|
0,25
|
0,12
|
0
|
7
|
0
|
609,4
|
|
710
|
64,65
|
0,5
|
0,12
|
10
|
50
|
870,56
|
4352,8
|
|
710
|
64,65
|
0,75
|
0,12
|
12
|
60
|
1044,67
|
5223,4
|
|
710
|
64,65
|
1
|
0,12
|
20
|
60
|
1741,12
|
5223,4
|
|
710
|
64,65
|
0,5
|
0,09
|
5
|
65
|
435,3
|
5658,7
|
|
710
|
64,65
|
0,5
|
0,12
|
50
|
870,56
|
4352,8
|
|
710
|
64,65
|
0,5
|
0,21
|
7
|
60
|
609,4
|
5223,4
|
|
710
|
64,65
|
0,5
|
0,35
|
0
|
55
|
0
|
4788,1
|
ЛАБОРАТОРНА РОБОТА
№ 5. НАЛАГОДЖЕННЯ
ТОКАРНО-ГВИНТОРІЗАЛЬНОГО ВЕРСТАТА
Мета роботи:
ознайомитися із загальним виглядом токарно-гвинторізного верстата С11МТ;
вивчити призначення органів керування; визначити ціну ділення лімба
поздовжнього і поперечного подавання; навчитися виконувати налагодження
токарно-гвинторізного верстата на обробку конічних поверхонь і нарізання
різьби.
Обладнання, інструменти,
матеріали
1.
Токарно-гвинторізний верстат моделі С11МТ.
2. Різьбові і
прохідні різці.
. Заготовки для
деталей, які підлягають обробці.
. Плакат
"Кінематична схема токарно-гвинторізного верстата".
. Штангенциркулі,
мікрометри, різьбоміри.
Серед металорізальних
верстатів найбільш поширені токарні. За конструкцією їх поділяють на дев'ять
груп. Найбільшою з них є група токарно-гвинторізних верстатів, на яких
виконують різноманітні роботи:
обточування;
розточування;
відрізування;
підрізування;
проточування
канавок;
нарізання різьби та
ін.
Всі верстати мають
у принципі однакову будову, складаються з однакових за призначенням частин.
Проте кожна модель має свої конструктивні особливості. На рисі, подано
загальний вигляд одного з таких верстатів моделі С11МТ.
Токарно-гвинторізний
верстат моделі С11МТ призначений для обробки зовнішніх, внутрішніх,
циліндричних, конічних, фасонних і торцевих поверхонь, для нарізання різних
різьб.
Основні частини
верстата (рис.5.1): станина, коробка швидкостей, коробка подач, супорт, задня
бабка, люнет, електросилова шафа.
Органи керування
верстата моделі С11МТ
|
Поз.
|
Органи управління і їх призначення
|
|
1
|
Рукоятка вмикання нормального і збільшеного
кроку різьби
|
|
2
|
Ручка вмикання лівої і правої різьби
|
|
3
|
Ручка перемикання швидкостей шпинделя
|
|
4
|
Кнопка включення і вимикання головного
електродвигуна
|
|
5
|
Кнопка "Стоп"
|
|
6, 27
|
Ручка включення і виключення багатодискових
зчеплень для прямого і зворотного обертання шпинделя
|
|
7
|
Маховик для повздовжнього переміщення супорта
вручну
|
|
8
|
Ручка переміщення поперечних полозків
|
|
9
|
Ручка для повороту та затяжки різцеутримувача
|
|
10
|
Ручка вмикання та вимикання повздовжніх і
поперечних автоматичних подач
|
|
11
|
Болт для стопоріння супорта
|
|
12
|
Ручка для переміщення верхніх полозків
|
|
13
|
Ручка для стопоріння піною
|
|
14
|
Болт для затягування задньої бабки на станині
|
|
15
|
Гвинт для поперечного зміщення задньої бабки
|
|
16
|
Болт для стопоріння задньої бабки на мосту
|
|
17
|
Маховик поздовжнього переміщення піною
|
|
18
|
Головний вимикач
|
|
19
|
Секретний замок
|
|
20
|
Ручка управління тиражу вальним механізмом
коробки подачі
|
|
21
|
Ручка управління механізму вибору кроку
коробки подавання
|
|
22
|
Ручка вибору різьби автоматичного подавання
|
|
23
|
Кнопка вмикання охолоджувального насоса
|
|
24
|
Кнопка включення електродвигуна для швидкого
ходу
|
|
25
|
Ручка для щеплення та розщеплення маточної
гайки супорта
|
|
26
|
Ручка для включення багатодискових щеплень
обертання шпинделя
|
Технічна
характеристика токарно-гвинторізного верстата моделі С11МТ
|
1. Висота центрів над направляючими, мм
|
250
|
|
2. Відстань між центрами, мм
|
750
|
|
3. Діаметр отвору в шпинделі, мм
|
62
|
|
4. Число швидкостей
|
15
|
|
5. Діапазон частот обертання шпинделя, об/хв
|
16…2000
|
|
6. Швидкість обертання головного двигуна,
об/хв.
|
1450
|
|
7. Потужність головного двигуна, КВт
|
5,5
|
|
8. Число подач
|
96
|
|
9. Діапазон повздовжніх подач
|
0,07…22,3
|
Підготовка верстата
до пуску
Перевірити
заземлення і ввімкнути головний вимикач верстата. Кнопкою "ПУСК"
увімкнути головний електродвигун. Пробується послідовно на холостому ходу
коробка швидкостей, коробка подач і супорт, переходячи плавно від малих
оборотів до більш високих. Перемикання швидкостей і подач-допускається тільки
при зупиненому верстаті-Стрічкове гальмування повинно зупиняти шпиндель при
максимальних обертах за 5-6сек.
Муфти прямого і
зворотного ходу багатодискові, фрикційні. Передній радіальний двохрядний
роликопідшипник шпинделя знаходиться на конусній шийці з натягненням
0,002-0,003 мм і фіксується дистанційним кільцем так, щоб товщина його була
рівною виміряній відстані з точністю 0,005мм. Швидке переміщення супорта
здійснюється окремим електродвигуном через ланцюгову передачу. Ходовий вал
пов'язаний з вихідним валом коробки подач за допомогою муфти обгону.
Змазування коробки
швидкостей автоматичне, за допомогою масляного насоса і розбризкуванням.
Механізм коробки подач змащується за допомогою поршневого масляного насоса.
Фартух змазується за допомогою власного поршневого насоса.
При обробці валів
різець встановлюється на задній розмір по еталону або по шаблону в
інструментальному блоці на розмір по нижньому допуску. Обточування
ексцентричних поверхонь здійснюється при обертанні оброблюваної деталі
послідовно навколо кожної осі. Кожна шийка колінчатого валу повинна мати
центра. Ексцентричні поверхні можна обробляти в трьохкулачковому
самоцентруючому патроні.
Обточування
зовнішніх циліндричних поверхонь.
До зовнішніх
поверхонь деталей, що обробляється на токарних верстатах, належать циліндричні
поверхні, а також плоскі поверхні, які утворюють торці, уступи, канавки.
Обробляючі циліндричні поверхні, необхідно забезпечити точністю їх розмірів, а
також правильність геометричної форми та чистоту поверхонь. Розрізняють
гладенькі та ступінчасті циліндричні поверхні. Гладенькі циліндричні поверхні
оброблюють токарними прохідними різцями.
Щоб виставити
різець на задану глибину різання, користуються лімбом. Різець виставляється на
глибину різання у такій послідовності:
вмикають обертання
шпинделя та підводять різець до заготовки так, щоб його вершина торкнулась
оброблюваної поверхні;
відводять різець
від оброблюваної поверхні вправо;
користуючись лімбом
поперечної подачі, виставляють різець на глибину різання;
обточують деталь
вручну на довжині 3...5 мм та повертають різець у вихідне положення;
зупиняють верстат
та перевіряють розмір обробленої поверхні;
відповідно до
фактичного розміру обробленої поверхні коректують положення різця.
Східчасті
циліндричні поверхні обточують так само, як і гладенькі. Тобто різець
виставляють на обточування першого діаметра і оброблюють його. Потім
виставляють на обробку другого діаметра і т.д.
Налагодження
верстата на обробку конічних поверхонь
Конічні поверхні
бувають зовнішні і внутрішні. На токарних верстатах для обробки зовнішніх
конічних поверхонь застосовують такі основні способи:
. Широким різцем -
обробка конусів довжиною до 20 мм. Подача різця може бути як поперечна, так і
поздовжня. Величина подачі - мінімальна; точність -невисока.
. Зміщенням корпусу
задньої бабки обробляють довгі деталі з невеликим кутом уклону до 8°. Точність
невисока. Зміщенням корпусу задньої бабки в поперечному напрямку (мм)
визначають за формулою:
H=L·sinα,
де L - довжина
деталі, мм;
α - кут
нахилу деталі, град.
. Поворотом
різцевих полозків обробляють короткі деталі з зовнішніми і внутрішніми
конічними поверхнями. Відлік ведуть за лімбом з ціною ділення в один градус.
Точність невисока. Кут повороту полозків β дорівнює
кутові нахилу α.
,
де L - довжина конічної
поверхні.
. У серійному виробництві
можливе встановлення на верстаті копіювальної лінійки. Застосування її
забезпечує обробку довгих деталей із високою точністю і виробництвом При цьому
гвинт поперечної подачі супорта повинен бути вільним.
Конічні отвори обробляють
найчастіше повертанням верхньої частини супорта, з застосуванням конусної лінійки
та за допомогою розгорток. Найбільшої продуктивності та точності під час
виготовлення конічних отворів можна досягти, застосовуючи конічні розгортки.
Оскільки при цьому доводиться знімати досить значний припуск, застосовують
комплект розгорток з трьох інструментів, з яких один веде чорнову обробку,
другий - напівчистову і третій - чистову.
Нарізання
різьб
Різьбове з'єднання є одним з
тих, що найчастіше застосовується у машинобудуванні. Існує багато способів
нарізання різьби. На токарному верстаті найчастіше застосовують такі способи,
як нарізування різьби мітчиками, плашками та різцями.
Плашка - спеціальний
інструмент, призначений для нарізування зовнішньої різьби. Плашку закріплюють у
плашкотримачі, а заготовку - у патроні. З торця заготовки знімають фаску, щоб
плашка легше врізувалась у метал. Діаметр заготовки під нарізування різьби
мусить мати певний розмір, який вибирається за таблицями. Якщо діаметр буде
замалий, різьба матиме неповний профіль. Якщо діаметр буде більший ніж треба,
це позначиться негативно на якості обробленої поверхні.
Користуючись плашкою при
нерухомій заготовці, спочатку нарізують кілька ниток різьби вручну, щоб надати
інструменту спрямування. Для цієї ж мети перед включенням обертання шпинделя
плашку підпирають піноллю задньої бабки. Потім ручку плашкотримача спирають на
супорт і включають обертання заготовки. Внутрішню
різьбу можна нарізувати мітчиками, комплект яких найчастіше складається з трьох
мітчиків, між якими розподіляється припуск на обробку. Перші два мітчики
нарізають різьбу не на повний профіль. А третій надає їй остаточних розмірів та
форми. Розмір отвору під нарізування різьби у заготовці добирають за таблицями.
Нарізування різьби мітчиками
та плашками вважається малопрогресивним способом, бо процес відбувається при низьких
режимах різання, витрачається час на згвинчування інструментів. Тому часто
різьби на токарних верстатах нарізують різьбовими різцями.
Профіль різальної частини
різьбового різця має відповідати профілю оброблюваної різьби. Отже, при
нарізуванні метричної різьби він становитиме 60°, а при нарізуванні трубної та
метричної різьби - 55°. Передній кут при чистовому нарізуванні різьби дорівнює
0. Бувають різьбові різці для нарізування зовнішніх і внутрішніх різьб
Метрична
Рівняння кінематичного
балансу від шпинделя до ходового гвинта при нарізанні різьби різцем складається
з умови, що за одне обертання шпинделя із заготовкою каретка супорта з ріжучим
інструментом повинна переміщатися в поздовжньому напрямку на одиницю кроку
різьби, яка нарізається tH.P.,
якщо різьба однозахідна. У кінематичному ланцюгу при нарізанні різьб
використовується механізм реверса. При лівому положенні зубчастого колеса (Z=63
) буде зарізатися правозахідна різьба, при цьому супорт з ріжучим інструментом
буде переміщуватися від задньої бабки до шпинделя верстата. При правому
положенні зубчастого колеса (Z=63) буде нарізатися лівозахідна різьба, супорт з
ріжучим інструментом буде переміщатися від шпинделя до задньої бабки.
Багатозахідна
У багатозахідних різьб
відстань, виміряна вздовж осі між однойменними точками одного і того ж витка,
називається ходом різьби.
Хід різьби рівний крокові
різьби, помноженому на число заходів:
S=tPz
де z -
число заходів різьби.
Порядок
нарізання багатозахідної різьби
1. Визначити необхідну
частоту обертання шпинделя для проточених зовнішнього діаметра заготовки під
різьбу за формулою:
.
Швидкість різання залежно від
матеріалу заготовки і марки пластини ріжучого інструмента вибирається за нормативами.
При обробці сталевої заготовки різцем Т15К6 швидкість різання при чорнових
проходах - 25-30 м/хв, при чистових проходах 40-50 м/хв.
. Встановити ручки в коробці
подач і коробці швидкостей за розрахунком.
. Виконати обточування
ділянки циліндричної поверхні до встановленого діаметра для нарізання різьби.
. Встановити ручки в коробці
швидкостей і коробці подач для нарізання різьби відповідного кроку згідно з
табличними даними верстата.
. Установити відповідний
профільний різець для нарізання різьби.
. Виконати один-два проходи
різьбовим різцем і перевірити правильність отримання кроку різьби
штангенциркулем на довжині десяти ниток.
. Виконати нарізання одного
заходу різьби до встановленого діаметра.
. Виконати ділення на другий
і наступні заходи різьби одним із наступних способів:
а) поворотом
заготовки з шпинделем на півоберту при нарізанні двохзахідної різьби і на третю
частину оберту при нарізанні трьохзахідної різьби.
б) зміщення
різцевих полозків з різьбовим різцем при нарізанні двохзахідноі різьби на
половину ходу різьби, трьохзахідної різьби - на третю частину ходу різьби і
т.д. Відлік переміщення ведуть за лімбом. Шпиндель при цьому не обертається.
. Перевірити
правильність отримання кроку різьби за різьбовим шаблоном.
Точна різьба (з
нестандартним кроком)
Налагодження
верстата на необхідний крок різьби, яку нарізають, виконується, методом підбору
змінних зубчастих коліс гітари із набору, який мають.
Режими різання при
виготовленні простої деталі типу болт на токарному верстаті.
Обробка заготовки,
чистота
Застосовуємо
прохідний упорний різець.
Щоб виставити
різець на задану глибину різання, користуються лімбом. Різець виставляється на
глибину різання у такій послідовності:
вмикають обертання
шпинделя та підводять різець до заготовки так, щоб його вершина торкнулась
оброблюваної поверхні;
відводять різець
від оброблюваної поверхні вправо;
користуючись лімбом
поперечної подачі, виставляють різець на глибину різання;
обточують деталь
вручну на довжині 3...5 мм та повертають різець у вихідне положення;
зупиняють верстат
та перевіряють розмір обробленої поверхні;
відповідно до
фактичного розміру обробленої поверхні коректують положення різця.
t
= 2 мм; S
= 0,09 мм;
n = 710 об/хв.
Два прохода.
(м/хв);
Нарізання
різьби
(подача ручна):
n =
22,5 об/хв.; Плашка - спеціальний інструмент, призначений для
нарізування зовнішньої різьби. Плашку закріплюють у плашкотримачі, а заготовку
- у патроні.
Користуючись плашкою при
нерухомій заготовці, спочатку нарізують кілька ниток різьби вручну, щоб надати
інструменту спрямування. Для цієї ж мети перед включенням обертання шпинделя
плашку підпирають піноллю задньої бабки. Потім ручку плашкотримача спирають на
супорт і включають обертання заготовки.
Виконують один-два проходи
різьбовим різцем і перевіряють правильність отримання кроку різьби
штангенциркулем на довжині десяти ниток.
(м/хв);
З торця заготовки
знімають фаску (прохідним упорним різцем), щоб плашка легше врізувалась
у метал.
Прорізання канавки
- відрізним різцем;
Відрізання
заготовки:
n
= 710 об/хв.;
(м/хв).
Висновок:
Виконуючи
лабораторну роботу ми ознайомилися із загальним виглядом токарно-гвинторізного
верстата С11МТ; вивчили призначення органів керування; визначили ціну ділення
лімба поздовжнього і поперечного подавання; навчилися виконувати налагодження
токарно-гвинторізного верстата на обробку конічних поверхонь і нарізання
різьби.
ЛАБОРАТОРНА РОБОТА
№6.
НАЛАГОДЖЕННЯ УНІВЕРСАЛЬНО-ФРЕЗЕРНОГО
ВЕРСТАТА
різець
гвинторізний токарний верстат
Мета роботи -
ознайомитися з розміщенням важелів управління верстатом та налагодженням
верстата на потрібну подачу столу і частоту обертання шпинделя; вивчити будову
ділильної головки, засвоїти методи ділення; вивчити способи закріплення
заготовки в робочому стані і методи перевірки її биття; засвоїти способи
встановлення і закріплення оправки в шпинделі верстата й інструмента на
оправці, спосіб перевірки їх биття; набути навички безпечного підведення
заготовки до інструмента перед початком фрезерування.
Обладнання,
інструмент:
1.
Універсально-фрезерний верстат моделі 6Р82Г.
. Ділильна головка.
. Заготовки.
. Креслення деталі,
яку обробляють.
. Штангенциркуль,
лінійка масштабна.
. Оправки для
кріплення заготовки та інструмента.
Універсальний
консольно-фрезерний верстат моделі 6Р82Г призначений для фрезерування
горизонтальних, вертикальних, фасонних поверхонь, різних сторін, пазів,
шліцьових валів, циліндричних і конічних зубчастих коліс та ін. Управління
верстатом - кнопково-ручне.
Основні частини
верстата (рис.6.1 ): основа, станина, коробка швидкостей, коробка подавання,
коробка перемикання, консоль, стіл, полозки столу, хобот із підтримуючими
кронштейнами.
Органи управління
консольно-фрезерного верстата моделі 6Р82Г
|
Органи керування і їх призначення
|
|
1
|
Кнопка "Стоп" (дублююча)
|
|
2
|
Кнопка "Пуск шпинделя" (дублююча)
|
|
3
|
Стрілка-вказівка швидкостей шпинделя
|
|
4
|
Вказівка швидкостей шпинделя
|
|
5
|
Кнопка "Швидко стіл" (дублююча)
|
|
6
|
Кнопка "Імпульс шпинделя"
|
|
7
|
Перемикач освітлення
|
|
8
|
Ручне переміщення хобота
|
|
9
|
Затиск сережок
|
|
10
|
Зірка механізму автоматичного циклу
|
|
12
|
Затискання столу
|
|
13
|
Перемикач ручного або автоматичного управління
повздовжніми переміщеннями
|
|
14
|
Маховик ручного повздовжнього переміщення
столу
|
|
15
|
Кнопка "Швидко стіл"
|
|
16
|
Кнопка "Пуск шпинделя"
|
|
17
|
Кнопка "Стоп"
|
|
18
|
Маховик ручних поперечних переміщень столу
|
|
19
|
Лімб механізму поперечних переміщень столу
|
|
20
|
Кільце-ноніус
|
|
21
|
Ручка ручних вертикальних переміщень столу
|
|
22
|
Затиснення поворотних полозок
|
|
23
|
Ручка вмикання поперечної і вертикальної
подачі столу
|
|
24
|
Кнопка фіксації грибка перемикання подач
|
|
25
|
Грибок перемикання подач
|
|
26
|
Указівка подач столу
|
|
27
|
Стрілка-вказівка подавання столу
|
|
28
|
Затиснення салазок на направляючій консолі
|
|
29
|
Ручка включення повздовжньої подачі столу
(дублююча)
|
|
30
|
Ручка включення поперечної і вертикальної
подачі столу (дублююча)
|
|
31
|
Перемикач обертання шпинделя "Ввімкнено-Вимкнено"
|
|
32
|
Перемикач насоса охолодження
|
|
33
|
Перемикач обертання шпинделя
"Наліво-Направо"
|
|
34
|
Маховик ручного повздовжнього переміщення
столу (дублювання)
|
|
35
|
Ручка перемикання швидкостей шпинделя
|
|
36
|
Перемикач автоматичного або ручного управління
і роботи круглого столу
|
|
37
|
Затиснення консолі на станині
|
|
38
|
Затиснення хобота на станині
|
Технічні
характеристики верстату
|
1. Розміри робочої поверхні столу, мм
|
1250×320
|
|
2. Найбільше переміщення столу, мм - поздовжнє
- поперечне - вертикальне
|
800 240 410
|
|
3. Найменша і найбільша відстань відстань від
осі шпинделя до робочої поверхні стола, мм
|
30-450
|
|
4. Найбільший кут повороту стола
|
±45°
|
|
5. Кількість частот обертання шпинделя
|
18
|
|
6. Діапазон частот обертання шпинделя, об/хв.
|
31,5-1600
|
|
7. Число подач стола
|
18
|
|
8. Електродвигун привода головного руху, кВт
|
7,5
|
|
9. Електродвигун привода подач, кВт
|
2,2
|
Рис.
6.1 Розташування
органів керування на верстаті
Привод головного
руху здійснюється від фланцевого електродвигуна через пружно з'єднувальну
муфту. Кількість обертів шпинделя змінюється шляхом переміщення трьох зубчастих
блоків по шпицевих валах. Отвір у шпинделі верстата - наскрізний, спереду
несамогальмівний конус 7:24. На цьому конусі базується фрезерна оправка, в
хвостовій частині якої є різьбовий отвір. У різьбовий отвір угвинчується
різьбова тяга (шомпол), яка з допомогою гайки притягує фрезерну оправку до
корпусу шпинделя.
У торці шпинделя є
дві шпонки, які входять в пази фрезерної оправки і передають крутильний момент
від шпинделя для ріжучого інструмента. Довгі фрезерні оправки можуть мати
допоміжну опору в однім або двох кронштейнах, які встановлюють і закріплюють на
передньому кінці висунутого хобота.
Коробка швидкостей
змонтована в корпусі станини. Зміна чисел обертів шпинделя здійснюється
коробкою перемикання швидкостей,
Привод подач
здійснюється від фланцевого електродвигуна, змонтованого в консолі. По зв'язках
двох тривінцевих блоків і пересувного зубчастого колеса з кулачковою муфтою
коробка подач забезпечує отримання 18-ти різних подач, які через шарикову
запобіжну муфту передаються в консоль і далі при включенні відповідної
кулачкової муфти до гвинтів поздовжнього, поперечного й вертикального
переміщення.
Переключення подач
здійснюсгься через коробку переключення подач.
Порядок проведення
роботи
1. Ознайомитися з
будовою верстата і налагодженням органів керування на потрібну подачу стола і
частоту обертання шпинделя.
. Виконати
креслення деталі, яку обробляли, і викреслити схему налагодження верстата з
ділильною головкою.
3. Налагодити
ділильну головку на ділення круглої заготовки.
. Укріпити на
оправці ділильної головки заготовку, яку обробляють, і хомутик, установити
оправку в центрах ділильної головки і задньої бабки, закріпити піноль задньої
бабки, перевірити биття циліндричної поверхні заготовки.
Схема закріплення
заготовки
. Закріпити оправку
під інструментом, перевірити биття оправки, встановити на оправку фрезу і
закріпити її, влаштувати на хобот верстата кронштейн і закріпити його.
. Перемістити стіл
у горизонтальному напрямку до того моменту, коли заготовка буде під фрезою.
Вручну обережно піднімають консоль із заготовкою при обертаючому шпинделі до
зіткнення верхньої точки циліндричної поверхні заготовки з фрезою. Відводять
стіл від фрези і, знімаючи відлік переміщення за лімбом, піднімають консоль на
величину висоти фрезувального шару. Підняту до потрібного положення консоль
закріплюють.
. Зробити обробку
деталі.
. Зняти оброблену
деталь з верстата і перевірити відповідність її вимогам креслення.
N=40;
z=25
ряд: 16, 17, 19,
21, 23, 29, 30, 31 - перша сторона диска.
ряд: 33, 37, 39,
41, 43, 47, 49, 54.
Диференціальне
ділення:
N=40; z=63=z1=60
Режим різання
При обробці плоских
поверхонь циліндричною фрезою при глибині фрезерування 2-5 мм приймають подачу
на один зуб фрези із швидкоріжучої сталі 0,1...0,15 мм; швидкість різання υ
=...20 м/хв. Частоту обертання шпинделя з
фрезою визначають за формулою
де υ - швидкість
різання, м/хв;
D
- зовнішній діаметр фрези, мм.
n
= 500 об/хв; D
= 40 мм; t
= 2 мм;
S =
0,1
мм/об.
м/хв.
Виконуємо 6 проходів:
прохід:
t=2 мм.
Подача
ручна.
прохід:
t=2 мм.
Подача
ручна.
прохід:
t=2 мм.
прохід:
t=2 мм.
Подача
ручна.
прохід:
t=2 мм.
Подача
ручна.
прохід:
t=2 мм.
Подача
ручна.
Приймаємо
безпосереднє ділення, якщо ділимо на z кратне 24.
Таким
способом було утворено дві площини.
Фреза
- циліндрична, гостро заточена.
Виконували
методом безпосереднього ділення.
Висновок:
Виконуючи цю лабораторну
роботу ми ознайомилися з розміщенням важелів управління верстатом та
налагодженням верстата на потрібну подачу столу і частоту обертання шпинделя;
вивчили будову ділильної головки, засвоїли методи ділення; вивчили способи
закріплення заготовки в робочому стані і методи перевірки її биття; засвоїли
способи встановлення і закріплення оправки в шпинделі верстата й інструмента на
оправці, спосіб перевірки їх биття; набули навички безпечного підведення
заготовки до інструмента перед початком фрезерування.