Проект топографо-геодезического обеспечения строительства Западного Скоростного диаметра на участке от улицы Благодатной до проспекта Стачек, Санкт-Петербург
ВОЕННО-КОСМИЧЕСКАЯ АКАДЕМИЯ
имени А.Ф.МОЖАЙСКОГО
Институт подготовки гражданских специалистов
Выпускная квалификационная работа
Проект топографо-геодезического обеспечения строительства
Западного Скоростного диаметра на участке от улицы Благодатной до проспекта
Стачек, Санкт-Петербург
Руководитель:
проректор по научной работе
Занько Ю.И.
Студент гр.4151
Марков А.В.
Санкт-Петербург
г.
Содержание
строительство
скоростная автомагистраль
Введение
Подготовительные работы
.1 Общее описание объекта
.2 Физико-географические
условия
.3 Исходная
геодезическая основа и методика ее сгущения
Проект планово-высотной
геодезической сети
.1 Проект изготовления,
размещения и закрепления пунктов планово-высотной разбивочной сети
2.2 Проект создания
каркасной разбивочной сети и ее сгущения
2.3 Априорный расчет
точности плановой разбивочной сети
.4 Проект создания
высотной разбивочной сети
.5 Априорный
расчет точности высотной разбивочной сети
Выводы
Разбивочные и
контрольно-съемочные работы в плане и по высоте при возведении опор
.1 Методы разбивочных и
контрольно съемочных работ в плане
.2 Методы передачи
отметок на опоры
Геодезические работы при
сборке пролета на подмостях
.1 Контроль за осадками
временных опор и подмостей
.2 Разбивочные и
контрольно-съемочные работы при монтаже пролетного строения на подмостях
.3 Перспективные методы
выполнения исполнительной съемки пролетного строения
.4 Особенности
геодезического обеспечения монтажа пролетного строения на криволинейном участке
Применяемая технология и
расчет сметной стоимости
.1 Описание применяемых
приборов, оборудования и программного обеспечения
5.2 Сметная стоимость
работ
.3 Анализ эффективности
применяемой технологии
Выводы
Список литературы
Приложение А
Приложение Б
Приложение В
Приложение Г
Список применяемых сокращений и
аббревиатур
ЗСД- Западный скоростной диаметр
ПВО- планово-высотное обоснование
КАД - кольцевая
автодорога
ГРО - геодезическая
разбивочная основа
СК-64 - система
координат 1964 года
GPS - глобальная система
позиционирования (США)
Глонасс - глобальная система
позиционирования (Россия)
Galileo - глобальная система позиционирования (ЕС)
GNSS - комплексная глобальная система позиционирования с
использованием всех систем позиционирования
Введение
Строительство скоростной
автомагистрали «Западный скоростной диаметр» (ЗСД) является одним из важнейших
направлений решения транспортной проблемы Санкт-Петербурга. Это стратегический
инвестиционный проект городского и федерального значения, определяющий развитие
города в качестве крупного транспортного узла мирового уровня.
Рис. 1 Кольцевая автомобильная
дорога и Западный скоростной диаметр Санкт-Петербурга
Главная цель проекта (Рис.1) -
создание платной скоростной автомагистрали для обеспечения автомобильных перевозок
пассажиров и грузов по направлениям их наибольшей концентрации и подключение
транспортного узла Санкт-Петербурга, включая Большой порт, к сети автомобильных
дорог страны.
ЗСД представляет собой городскую
скоростную автомагистраль с транспортными развязками в разных уровнях, на
большей части 8-ми полосную, с расчетной скоростью движения транспорта 120
км/час и оснащенную современными автоматизированными системами управления
движением и связи. В составе ЗСД предусматривается сооружение 15 транспортных
развязок в разных уровнях и уникальных мостовых сооружений с подмостовыми
габаритами над корабельным фарватером высотой 55 м и 35 м, строительство
которых будет осуществляться в России впервые и уникально по своему содержанию
и техническому замыслу лучших проектировщиков и конструкторов города.
Строительство ЗСД, окончание
которого планируется в 2015 году, позволит вместе с КАД замкнуть вокруг
Санкт-Петербурга первое транспортное кольцо. Кроме того, ввод в эксплуатацию
ЗСД позволит решить неотложные городские транспортные и экологические проблемы:
обеспечит транспортные связи
Большого Морского порта через КАД с федеральными автодорожными выходами в
Москву, регионы России, страны Балтии (Латвия, Эстония, Литва) и Скандинавии
(Швеция, Финляндия);
обеспечит транспортные связи
пассажирского паромного комплекса и зоны общественно-деловой застройки,
возводимых на намывных территориях вдоль западной оконечности побережья
Васильевского острова;
обеспечит транспортные связи южной,
западной и северной частей города, минуя исторический центр, снизит
транспортную и техногенную нагрузки на улицы, мосты, памятники культуры и
архитектуры в центральной части города;
улучшит в целом экологическую
ситуацию в городе.
Геодезическое обеспечение
строительства такого сложного в инженерном отношении объекта как ЗСД -
непростая задача, требующая вдумчивого, технически и экономически обоснованного
решения с выбором технических средств и методик выполнения геодезических работ,
обеспечивающих строительство точными данными в плане и по высоте.
В данной работе мною предпринята
попытка систематизированного изложения процесса планирования геодезических
работ на южном участке Западного скоростного диаметра.
Первая глава работы посвящена
вопросам планирования и подготовки геодезического обеспечения. В ней описаны
физико-географические характеристики объекта, особенности исходной
геодезической основы, запланирована каркасная сеть пунктов ГРО, априорно
подсчитана её ожидаемая точность.
Вторая глава работы представляет
проект развития планово-высотной сети. В ней содержится проект изготовления,
размещения и закрепления пунктов планово-высотной разбивочной сети, выполняется
математическое моделирование сети с целью получения априорных оценок точности
плановой и высотной сети пунктов ГРО, делаются выводы о пригодности проекта
сети к дальнейшей практической реализации.
Третья глава работы представляет
описание технологии разбивочных и контрольно-съемочных работ на объектах
эстакадно-мостового типа.
Четвёртая глава работы представляет
описание технологии геодезических работ при сборке пролетов сооружения на
подмостях в прямолинейном и криволинейном режимах. Здесь сделана попытка
описания возможности применения перспективных методов выполнения исполнительной
съёмки методом лазерного сканирования.
Пятая глава посвящена
технико-экономической оценке проекта. Выполнено описание и оценка современных
приборов, оборудования и программного обеспечения, выполнена попытка
обоснованного определения сметной стоимости проекта и сделано описание
экономической эффективности применения современной техники в дорожном
строительстве.
На защиту выносится методика
планирования геодезических и топографических работ для обеспечения
строительства дорожных объектов особо сложной конструкции.
1 Подготовительные работы
.1 Общее описание объекта
Проект магистрали
предусматривает строительство автодороги протяженностью 48,9 км, из которых 55
% составят эстакадные
<#"516102.files/image002.gif">
Рис.2 Южный участок ЗСД
Центральный отрезок
протяжённостью чуть более 9 км соединит Васильевский остров
<#"516102.files/image003.gif">
Рис. 3 Устройство пункта в грунте: 1
- стальная пластина толщиной 10 мм с отверстием
d = 16,5 мм; 2 - труба d = 160 мм; 3 - ПГС, щебень или крупнозернистый песок; 4 - бетон; 5
- репер.
При необходимости обеспечить
видимость над небольшими препятствиями, например кустарником, трубу делают выше
и устраивают площадку для наблюдателя (Рис. 4)
При этом нельзя допускать касания
настила площадки и трубы. При высоте пункта выше 3 м, для ослабления влияния
температурных деформаций, рекомендуется вместо трубы использовать четырехгранную
пирамиду, сваренную из уголков.
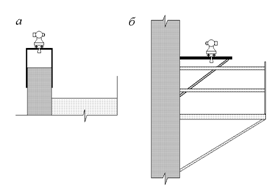
На зданиях пункты сети закрепляют
либо на коньке крыши, либо на выступающих стенах дома, либо приделывают консоль
к стене или трубе дома (Рис. 5).
Рис. 4 Пример устройства пункта высотой
2 - 5 метров
Рис. 5 Схема устройства пункта
геодезической сети на здании:
а - пункт на стене здания, б - пункт
на консоли с площадкой для наблюдателя
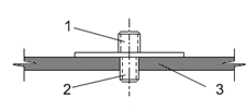
Для исключения ошибки центрирования
предлагается использовать устройство для принудительного центрирования (Рис.
6).
Рис. 6 Устройство для
принудительного центрирования: 1 - резьба под трегер прибора, 2 - втулка с
резьбой для верхней плиты знака, металлическая плита знака с резьбой под
устройство
пунктов сети предполагается сделать
пунктами грунтового заложения из трубы диаметром 320 - 530 мм, погруженных в
котлован глубиной 3 м с бетонным монолитом в основании 5 куб. м. Такая схема
закрепления использована, в частности, при закладке пункта ГРО2(Рис. 7).
Рис. 7 Фото пункта ГРО 2
пунктов сети закреплены на столбах
контактной сети и на ограждениях путепроводов через ул. Маршала Говорова и пр.
Стачек (Рис. 8).
Рис. 8 Фото пунктов ГРО 9 (слева) и
ГРО 12 (справа)
Два пункта на пр. Стачек ГРО 18 и
ГРО 19 закреплены дюбелями, забитыми в асфальт.
2.2 Проект создания каркасной
разбивочной сети и ее сгущения
Плановую разбивочную сеть на участке
работ предлагается создать сочетанием спутниковых и линейно-угловых измерений.
Выполненная рекогносцировка
показала, что участок между пунктами ГРО6 и ГРО23 обеспечен вторичными пунктами
недостаточно, поэтому предлагается сгустить разбивочную сеть на этом участке
пунктами 24, 25 и 26, представляющих собой отражающую пленку, наклеенную на
расположенных в этом районе зданиях. Координаты и высоты этих пунктов
определить прямой линейно-угловой засечкой, выполнив измерения электронным
тахеометром со всех соседних пунктов сети (см. проект сети - рис. 9).
На схеме линии спутниковых измерений
показаны черными линиями, а линии тахеометрических измерений - синими.
Выводы по организации закладки,
оформления и выбору методики геодезических определений каркасной сети пунктов
ГРО
В результате выполненных работ
запланировано и выполнено следующее:
заложены пункты каркасной сети
пунктов ГРО, обеспечивающие определение точек сгущения в любом месте трассы
путём обратной линейно-угловой засечки, прямой линейно-угловой засечки или их
комбинацией от 2- 3 пунктов каркасной сети;
гарантирована сохранность пунктов
каркасной сети вплоть до проявления элементов вандализма, пункты сданы под
охрану органам строительного надзора;
утраченные пункты каркасной сети
легко восстановить со смежных пунктов.
Далее была построена модельная сеть
созданной ГРО и просчитана её априорная точность.
Рис. 9 Схема развития плановой сети
.3 Априорный расчет точности
плановой разбивочной сети
Исходные данные и результаты
расчетов
Разбивочная сеть включает 25 пунктов
и в соответствии с расположением строящегося сооружения вытянута в направлении
запад - восток. Схема сети показана на чертеже (рис. 9). Два пункта,
расположенные в западном конце сети, и два пункта, расположенные в восточном,
являются пунктами примыкания данного участка разбивочной сети к соседним
участкам. Координаты названных четырех пунктов должны быть привязаны
спутниковыми измерениями к городской геодезической сети, согласованы с создателями
сетей на соседних участках и в последующем изменению не подлежат. В силу
фиксированного характера названных пунктов будем рассматривать их как исходные,
а их координаты считать безошибочными. При анализе точности положения
определяемых пунктов будем рассчитывать ее относительно пунктов, принятых как
исходные. Кроме того, исследуем точность положения пунктов сети относительно
смежных пунктов, что особенно важно для точности разбивочных работ.
При расчете точности сети принято,
что сеть будет построена главным образом с применением спутниковых измерений, а
отдельные пункты определены засечками с обязательным наличием избыточных
линейных и угловых измерений. При ее реализации на местности схема спутниковых
измерений, количество и положение независимо измеренных базовых линий, зависит,
в частности, от числа совместно используемых комплектов спутниковой аппаратуры.
В представленной здесь схеме принято, что положение каждого очередного пункта
определяется для контроля связями с двумя ранее определенными пунктами. В
реальной схеме число связей может быть большим, отчего точность сети повысится.
Характеристики точности
спутниковых измерений приняты исходя из следующих соображений. Погрешности
спутниковых измерений по данным фирм изготовителей аппаратуры не превышают 5 мм
+ 1 мм ´
,
где
-
расстояние (км). В данной сети все расстояния не превышают 400 м, поэтому
примем предельную погрешность измерения базовой линии равной 5 мм. Тогда
средняя квадратическая погрешность с доверительной вероятностью 0,95 будет
равна 2,5 мм. В наших расчетах с некоторой осторожностью примем ее равной 3 мм.
Спутниковыми измерениями
определяются разности координат между пунктами. С учетом имеющихся у нас
программных средств, для удобства вычислений перейдем от разностей
прямоугольных координат к приращениям полярных координат. При этом погрешность
расстояния между пунктами будет равна 3 мм, а погрешность направления с пункта
на пункт, выраженная в радианах, - 3 мм/
(где
-
выражено в миллиметрах). В рассматриваемой сети средняя длина стороны сети
равна 157 м. Поэтому в нашем расчете примем среднюю погрешность направления
между смежными пунктами равной (3 мм/ 157 000 мм)´206265²
= 3,9²
»
4².
Три пункта определяются
тахеометрическими линейно-угловыми засечками с ближайших пунктов спутниковой
сети. Проектируется, что это прямые засечки, то есть измерения выполняются
только на опорных спутниковых пунктах. При этом в ходе выполнения измерений
направления и расстояния измеряются на определяемый пункт и два смежных
спутниковых пункта. В последующем, при обработке выполненные тахеометрические
измерения рекомендуется уравнивать совместно со спутниковыми. Для
характеристики точности тахеометрических измерений примем, что применяемый
электронный тахеометр обеспечивает точность, характеризуемую средними
квадратическими погрешностями
3²
в направлениях и
3
мм в расстояниях.
Руководствуясь
приведенной схемой сети и изложенными исходными данными, выполнен априорный
расчет точности сети.
Расчет состоит из двух
этапов.
Первый этап -
составление цифровой модели сети. При этом задавались приближенными
координатами пунктов сети и рассчитали соответствующие им значения измеряемых
величин.
Второй этап - обработка
“измерений” с оценкой точности положения пунктов сети.
Результаты выполненных
модельных и натурных расчётов в программе Pinnacle
приводятся в Приложении А. Априорная точность получения координат точек ГРО
приведена ниже
Cвeдeния o тoчнocти элeмeнтoв ceти:ибoлee cлaбый пункт ceти: GRO 26
- mx = 3 мм; my= 3 мм; M = 4 мм;
- эллипc ошибок: mmax=
3 мм; mmin= 3 мм;
- нaпpaвлeниe большой ocи: 12.7°.ибoлee cлaбaя cтopoнa ceти: GRO9 - GRO 10.
cp.кв.ошибка вдoль cтopoны: 2мм;
- cp.кв.ошибка пoпepeк copoны: 1мм;
- oтнocитeльнaя ошибка в длинe cтopoны: 1: 31 156;
cp.кв.ошибка диpeкциoннoго угла: 3.7².
Пpимeчaниe:xapaктepиcтики
тoчнocти вычиcлeны c иcпoльзoвaниeм знaчeний cpeдниx квaдpaтичecкиx погрешностей, зaдaнныx aпpиopнo.
Выводы по расчету точности сети
Основные выводы из обработки состоят
в следующем.
Сеть, построенная по изложенной
схеме и содержащая измерения указанной выше точности, обладает высокой
точностью и удовлетворяет требованиям нормативных документов.
Средние квадратические погрешности
определения координат наиболее слабого пункта сети, которым оказался пункт
“26”, равны
mx
= 3 мм и my= 3 мм, 
4.2 мм.
Взаимное положение
пунктов характеризуется еще более высокой точностью. Так у наиболее слабой
стороны сети “GRO9” - “GRO10” продольная вдоль трассы средняя квадратическая
погрешность оказалась равной 2 мм, а поперечная поперек трассы - 1 мм.
Относительная погрешность в длине этой стороны равна 1: 31 156. Расположение
пунктов обеспечивает их долговременную сохранность и удобство использования. В
качестве примера на Рис. 10, 11, 12 приведёны примеры расположения пунктов GPO 6, 7, 8
Рис. 10 Пункт ГРО 6
Рис. 11 Пункт ГРО 7
Рис. 12 Пункт ГРО 8
2.4 Проект создания высотной
разбивочной сети
Высотная сеть объекта должна
отвечать требованиям СНиП [4]: «Реперы должны быть устойчивы, увязаны в единую
высотную сеть, связаны с государственной нивелирной сетью. Средние
квадратические погрешности определения отметок реперов на берегах и опорах:
постоянных - 3 мм, временных -5 мм».
Высотная разбивочная сеть на
строительной площадке должна быть создана в государственной Балтийской системе
высот 1977 г.
Участок работ обеспечен исходными
реперами городской нивелирной сети III
класса в достаточном количестве.
Пункты высотной и плановой сетей
совмещены. Планируется передавать высоты непосредственно на пункты разбивочной
сети.
Проект высотной сети участка
строительства ЗСД между Благодатной ул. и пр. Стачек представлен на Рис. 2.8.
Рис. 12 Проект высотной разбивочной
сети
.5 Априорный расчет точности
высотной разбивочной сети
Оценку проекта нивелирной сети
осуществим в следующем порядке:
1) составление схемы сети (рис. 2.8);
2) определение по алгоритму
параметрического способа уравнивания обратной весовой матрицы высот пунктов
сети;
3) подбор значения
средней квадратической ошибки единицы веса
, обеспечивающего
требуемую точность определения высот пунктов;
) установление по
класса
геометрического нивелирования,
принимаемого для определения высот.
Определение по алгоритму
параметрического способа уравнивания обратной весовой матрицы высот реперов
В функции высот H превышения h выражаются очевидным образом
.
Коэффициенты уравнений поправок
;
.
Тогда будем иметь
.
где
-
поправки к измеренным превышениям,
- приближенные значения
высот,
-
поправки к приближенным значениям высот определяемых реперов.
Окончательно уравнение
поправок
, (1.1)
где
-
свободный член.
Число уравнений (1.1)
равно числу "измеренных" превышений. При оценке проекта свободные
члены отсутствуют. Коэффициенты таких уравнений можно объединить в матрицу
коэффициентов B.
Далее составим
соответствующую матрице B
весовую матрицу P, в общем случае имеющую
диагональный вид. При оценке проектов положим, что матрица P имеет диагональный вид, т.е. состоит из весов "результатов
измерений". Веса результатов измерений превышений определим по формуле
, где
-
длина хода.
Матрица коэффициентов
нормальных уравнений, обеспечивающих оптимальное решение минимальной длины,
будет
.
Выполнив на персональном
компьютере обращение матрицы N,
можно найти ковариационную матрицу
, которая будет являться
обратной весовой матрицей уравненных высот.
Далее по диагональным
элементам матрицы
выполним
подбор значения средней квадратической ошибки единицы веса
,
обеспечивающего требуемую точность определения высот пунктов.
Выбор класса
нивелирования
По величинам
квадратичных коэффициентов
можно сразу установить
наиболее слабый пункт. Это будет пункт, имеющий максимальное значение
.
В нашем случае
для
пункта ГРО6.
Тогда средняя
квадратическая ошибка единицы веса будет
, (1.2)
где
-
установленная нормативными документами или проектом производства геодезических
работ средняя квадратическая ошибка определения высот пунктов.
Принимая
мм,
получим
мм.
Полученное по формуле
(1.2) значение
сравним
со средней квадратической ошибкой единицы веса
, принимаемой для
определенного класса нивелирования, которое в нормативных документах не
указывается. Ее можно определить косвенно по предельным допустимым невязкам,
указанным в Инструкции по нивелированию [4].
Принимая коэффициент
перехода t от предельной к средней квадратической ошибке равным 2,5 с
доверительной вероятностью
, нетрудно найти
(см.
табл. 1).
Таблица 1 Oпределение допустимой средней
квадратической единицы веса
|
Класс нивелирования
|
Допустимая невязка, мм
|
,
мм
|
|
II
|
2
|
|
|
III
|
4
|
|
|
IV
|
8
|
|
Из сравнения
и
выберем
класс нивелирования, по программе которого следует выполнять определение высот
реперов на объекте работ. Это будет нивелирование III
класса.
Т. к. в районе работ нет
реперов нивелирования II
класса, то отметку репера 13123 рекомендуем передать на репер 7769 по программе
II класса и, опираясь на эти пункты, создать нивелирную сеть III класса для определения высот пунктов геодезической разбивочной
сети.
Выводы
Плановую сеть целесообразно
создавать сочетанием спутниковых и традиционных наземных технологий.
При выполнении GPS-наблюдений следует обратить
особое внимание на пункты, расположенные на границах участков работ. Необходимо
выполнить единовременные измерения на крайних пунктах сети (ГРО1, ГРО2 -
юго-восточная граница и ГРО17, ГРО20 - северо-западная граница) с пунктами
городской полигонометрии, имеющимися в этих районах. Полученные результаты
необходимо использовать:
для анализа состояния исходных
пунктов городской полигонометрии;
для стыковки систем координат
рассматриваемого участка работ с
участками ЗСД, прилегающими к нему с
юго-востока и с северо-
запада.
Сгущение плановой сети выполнить,
определив положение пунктов 24, 25 и 26 методом многократной прямой
линейно-угловой засечкой. При выполнении этих работ целесообразно дополнительно
измерить электронным тахеометром линии ГРО11 - ГРО 10, ГРО 10 - ГРО 9, ГРО 9 -
ГРО 8, ГРО 8- ГРО 7, ГРО 7- ГРО 17а (см. проект сети, рис. 1.7).
Математическую обработку всех
выполненных в сети измерений целесообразно выполнить совместно.
Высотное положение пунктов сети
следует определить по программе нивелирования III класса.
Каталог координат и высот
(Приложение Г).
3 Разбивочные и контрольно-съемочные
работы в плане и по высоте при возведении опор
.1 Методы разбивочных и
контрольно-съемочных работ в плане
Разбивочные работы предваряют
контрольно-исполнительные съемки: перед строительством конструктивного элемента
моста или путепровода выполняют его разбивку и закрепление осей и точек, а
после его бетонирования или монтажа делают исполнительную съемку готового
элемента. Сущность разбивочных работ и контрольно-исполнительной съёмки состоит
в точном определении местоположения проектируемой точки в плане и по высоте
путём полярной засечки и тригонометрического нивелирования от исходных пунктов
(Рис.11).
Рис. 13 Контрольно-исполнительная
съемка планого-высотного положения свай
В настоящее время строительные
организации выполняют геодезические работы с использованием электронных
тахеометров и высокоточных оптических с компенсатором или цифровых нивелиров
Независимо от конструктивных
особенностей опор и их расположения разбивку осей опор выполняют с опорой на
пункты геодезической разбивочной сети, причем обязательно с контролем и
желательно разными методами.
Геодезические работы на всех этапах
возведения опор должны выполняться в соответствии с требованиями СНиП [19], и
СНиП [21], а также с учетом рекомендаций проекта производства геодезических
работ.
Перед началом работ необходимо
убедиться, что каталог координат и высот является подлинником и разрешен к
производству работ, а также что размеры конструкций и координаты точек,
подлежащих выносу на местность сняты с чертежа, допущенного к производству.
Разбивку и съемку опоры удобно
выполнять с опорных точек расположенных возле опоры или на опоре. Плановое
положение опорных точек определяют от ближайших пунктов геодезической
разбивочной основы. Координаты опорных точек определяют, как правило,
засечками:
- прямой угловой
или линейно-угловой засечкой;
обратной угловой
или линейно-угловой засечкой;
линейной засечкой;
Выбор вида засечки выполнения
работ зависит:
от расположения
пунктов относительно возводимой опоры;
от наличия
видимости между пунктами и определяемыми
точками.
Важной составляющей
является наличие избыточных измерений с целью исключения грубых ошибок и
повышения точности определения координат.
При использовании
прямой угловой засечки необходимо иметь ввиду, что наибольшая точность
достигается, когда угол засечки γ близок к 90º (см. рис. 3.1). При этом нужно выдержать требование к углу
засечки - он должен быть в пределах 30º <
γ < 150º.
Рис. 13 Схема определения опорной
точки прямой засечкой
Прямая
линейно-угловая засечка применяется при наличии видимости между пунктами и
возможности произвести наблюдения с двух пунктов сети.
В практике часто комбинируют
различные виды засечек для группы опорных точек (Рис. 14).
Наиболее удобно применение обратной
засечки. Количество наблюдаемых пунктов при обратной засечке ограничено
реальными условиями видимости. Обязательным условием является наличие избыточных
измерений. Рекомендуется сочетание угловых и линейных измерений.
Обратим внимание на особенность
обратной угловой засечки. Точность этой засечки в значительной степени зависит
от расположения определяемой точки относительно пунктов сети. В связи с этим,
применяя этот способ, необходимо ясно представлять себе, благоприятна ли данная
комбинация пунктов сети для достижения требуемой точности или следует выбрать
другую комбинацию пунктов.
Рис. 14 Схема комбинирования
различных видов засечек
При выборе пунктов сети необходимо
помнить, что задача не имеет решения, если определяемая точка попадает на
окружность, проходящую через пункты сети, так называемый «круг
неопределенности».
Для того чтобы определяемая точка не
оказалась на круге следует проанализировать на разбивочном чертеже взаимное
расположение опорной точки и пунктов сети.
Безопасно следующее взаимное
расположение пунктов сети и опоры, когда:
·
пункты сети располагаются вдоль прямой линии,
·
средний пункт сети расположен ближе к опоре,
·
пункты сети располагаются вокруг опоры, которая находится внутри
треугольника.
Электронный тахеометр позволяет не
только получить координаты точки стояния, но и оценить точность их определения,
а также ориентировать тахеометр в системе координат ГРО.
Используя координаты точек элемента
опоры и координаты станции, полученные из обратной засечки, электронным
тахеометром выносят контурные точки этого элемента, монтируют его или
устанавливают опалубку (Рис. 15).
Рис. 15 Схема разбивки оси
фундамента и опалубки
Разбивочные работы приходится
выполнять несколько раз на различных этапах строительства опор. Основными
этапами являются:
·
разбивка осей опоры и свайного основания,
·
разбивка ростверка опоры,
·
разбивка осей стоек опоры и установка опалубки для стоек,
·
разбивка подферменных площадок.
После каждого этапа
возведения опоры производится исполнительная съемка. По материалам съемок
составляются исполнительные схемы:
шпунтового
ограждения и свайного основания;
ростверка опоры;
опалубки перед
бетонированием тела опоры;
тела опоры после
укладки бетона;
опалубки перед
бетонированием оголовка опоры;
оголовка опоры
после его бетонирования;
подферменных
площадок.
При закреплении осей свайного поля
достаточно забивки арматуры, в то же время на ростверке, стойках опоры и
подферменных площадках оси закрепляют краской. Необходимо помнить, что
надежность закрепления осей предотвращает повторные разбивки.
Разбивку точек
опоры рекомендуется выполнять методом полярных координат с контролем с двух
пунктов геодезической сети.
После выполнения разбивочных работ и
бетонирования или монтажа элемента опоры делают его исполнительную съемку. Для
получения результатов, позволяющих судить об отклонении фактических размеров
элемента опоры от проектных, необходимо перевычислить определенные тахеометром
координаты точек опоры из системы ГРО в систему координат опоры с началом
координат в центре стойки.
После бетонирования или монтажа
элемента опоры намечают проектные оси и закрепляют их краской. Для контроля
необходимо рулеткой проверить размеры и их соответствие проектным значениям.
По результатам разбивочных работ
должен быть составлен «Акт геодезической разбивки», в котором должны быть
указаны методика разбивки (каким прибором, с каких пунктов, с какой точностью),
а также способ закрепления осей и центров. К акту должна быть приложена схема
закрепления осей.
После исполнительной съемки
составляют «Акт геодезической проверки конструктивного элемента», к которому
прикладывают схему исполнительной съемки. В акте указывают размеры и отметки,
превышающие допуски нормативных документов и дают заключение.
3.2 Методы передачи отметок на опоры
В период строительства высотное
положение пунктов сети должно контролироваться. Для этого следует периодически
прокладывать контрольные ходы геометрического нивелирования между пунктами
сети. Строительная площадка перегружена строительной техникой и механизмами,
поэтому пункты не застрахованы от механического воздействия (удары, наезды и пр.),
что тоже требует периодического контроля высотного положения. Такой контроль
можно выполнять методом тригонометрического нивелирования (по измеренному на
пункт вертикальному углу и расстоянию), используя имеющиеся электронные
тахеометры. В случае подтверждения изменения положения пункта по высоте,
следует переопределить его отметку методом геометрического нивелирования,
включив определяемый пункт в ход нивелирования.
Обязательным является сезонный
контроль ГОСТ[13]: поздней осенью или ранней зимой после замерзания грунта и
весной после оттаивания грунта. Нивелирование по всем используемым для работы
пунктам сети выполняется с соблюдением требований, предъявляемых к
нивелированию IV класса.
Разбивочные работы по высоте на
этапах создания свайного основания и бетонирования ростверка выполняют как
методом геометрического, так и тригонометрического нивелирования относительно
пунктов ГРО. При геометрическом нивелировании используют как оптические, так и
цифровые нивелиры, которые, кроме функции измерения, позволяют выполнять на
строительной площадке разбивочные работы: имеют функции выноса превышения или
отметки (например, приборы DiNi и SDL).
Выполненные разбивки необходимо
контролировать, выполняя разбивочные работы от разных пунктов ГРО. Опоры на
участке строительства эстакады имеют высоты от 10 до 21 м.
При возведении тела опоры на
небольших высотах можно рекомендовать выносить отметку с пункта ГРО на опору
методом геометрического нивелирования. Нивелир в этом случае можно установить
на соседний пункт ГРО.
Далее можно перейти на передачу
отметки на тело опоры методом тригонометрического нивелирования, используя для
этого электронный тахеометр (рис.3.4). Перед выносом отметки следует проверить
величину места нуля вертикального круга МО, измерения следует выполнять при
двух положениях вертикального круга с контролем его МО.
Задача выноса отметки на верх опоры
традиционно решалась раньше с помощью металлической рулетки и нивелира. Но при
измерениях в ветреную погоду возникают трудности, и погрешности из-за ветровой
нагрузки на полотно рулетки могут оказаться недопустимыми.
Имеющиеся в настоящее время на
строительных площадках электронные и лазерные геодезические приборы позволяют
выполнить передачу отметки на верх опоры в любую погоду.
Передача отметки с помощью электронного
тахеометра
Электронный тахеометр следует
установить в рабочее положение на пункте ГРО и измерить его высоту k (Рис. 16).
Рис. 16 Вынос отметки на опору с
помощью электронного тахеометра
На опоре выбирают фиксированную
точку А, на которую устанавливают отражатель на штативе, измеряют высоту
отражателя l. Тахеометром определяют превышение h = D sin ν + k - l. В память прибора вводят высоту
пункта НГРО и на дисплей выводится отметка точки А: НА= НГРО
+ h.
Для контроля и исключения приборных
погрешностей тахеометра рекомендуется передачу отметки выполнять при двух
положениях вертикального круга.
Погрешность определения отметки на
опоре можно определить по формуле:

,
где mГРО - погрешность определения высот пунктов ГРО;
mh - погрешность определения превышения:
mh =
;
mD - погрешность измерения расстояния, mν -
погрешность измерения угла, ρ = 206265",
mизм. - погрешность измерения высоты прибора k
и высоты отражателя l.
Передача отметки с
помощью электронного тахеометра с диагональной насадкой
При наличии диагональной
насадки, которая одевается на окуляр тахеометра, передачу отметки на опору
выполняют следующим образом (рис. 3.5). Тахеометр устанавливают близко к опоре.
Установив тахеометр под точкой N
в рабочее положение, приводят зрительную трубу в горизонтальное положение (для
этого по вертикальному кругу устанавливают отсчет равный МО вертикального
круга) и по рейке, установленной на пункте ГРО, берут отсчет а. С помощью
диагональной насадки, развернув зрительную трубу на 90º,
измеряют вертикальное расстояние d1
до точки N на малый отражатель или закрепленный на пластине пленочный
отражатель. Измеряют толщину пластины d2.
Затем с помощью нивелира (рис. 17)
измеряют превышение между точкой N и выбранной точкой А на опоре: h = b - с.
Отметка точки А на опоре равна:
НА = НГРО + а
+ d1+ d2 + h.
Рис. 17 Передача отметки с помощью
электронного тахеометра с диагональной насадкой и малого или пленочного
отражателя
При наличии соответствующего
тахеометра расстояние d1 может быть измерено в
безотражательном режиме.
Передача отметки с помощью нивелира
и электронной рулетки
Опыт выполненных на других объектах
работ позволяет рекомендовать для передачи отметки на высокие части сооружения,
в частности, на опору ручные безотражательные дальномеры - лазерные рулетки
(рис. 18).
При использовании для передачи этого
способа сначала намечают точки М на опоре и N на местности, расположенные на
одной отвесной линии. Это расстояние измеряют электронной рулеткой, место попадания
лазерного пятна (точка N) отмечают на экране (например, листе железа). Нивелиром
определяют превышение между пунктом ГРО и точкой N на экране h1 = a1 - b1.
Рис. 18 Передача отметки на опору с
помощью нивелира и электронной рулетки
Измеряют толщину пластины d2. Нивелир переносят на опору и определяют превышение
между точкой М на пластине и выбранной в качестве Вр. реп. точкой А h = a2 - b2.
Окончательно будем иметь:
НА = НГРО+ h1 + d1+ d2 + h2.
Математические основы решения
засечек, определения превышений геометрическим и тригонометрическим
нивелированием общеизвестны и здесь не приводятся.
4 Геодезические работы при сборке
пролета на подмостях
.1 Контроль за осадками временных
опор и подмостей
При монтаже пролетного строения на
временных опорах (Рис. 19) и подмостях необходимо следить за их осадками.
Особенно это необходимо в период замерзания и оттаивания грунта. В основании
опор необходимо заложить марки, отметки которых определяют нивелированием с
последующим контролем их ухода вниз или вверх относительно исходных пунктов.
Контроль за осадками
выполняют геометрическим нивелированием от устоявшихся реперов, расположенных
вне зоны строительства. Допустимая невязка нивелирного хода
,
где n - число станций.
Для нивелирования (рис.
19) применяют точные нивелиры как отечественные, так и иностранных фирм с увеличением
зрительной трубы v
³
30х. Значительно упрощают процесс измерений и обеспечивают высокую
точность определения превышений электронные цифровые нивелиры.
Рис. 19 Контроль укрупненной сборки
металлоконструкций
Осадочные марки стапеля необходимо
нивелировать не реже 1 раза в 2 месяца. При необходимости от марок временных
опор передают отметки на другие элементы подмостей, элементы монтируемого
пролета и т.д.
.2 Разбивочные и
контрольно-съемочные работы при монтаже пролетного строения на подмостях
Разбивочные и контрольно-съемочные
работы на стапеле выполняют с пунктов ГРО. Геодезические работы при монтаже
пролетного строения выполняют на следующих этапах:
1) плановые и высотные
разбивочные работы при установке элементов пролета;
2) исполнительная съемка
секции пролета после сборки элементов и оформления стыков.
Согласно требованиям нормативных
документов допуск на отклонение в плане элементов пролетного строения от их
проектного положения не должен превышать 10 мм. Допуск на отклонение ординат
строительного подъема от проекта равен 10 мм.
Из вышеприведенных допусков точность
геодезических работ согласно требованиям ГОСТ [13] по высоте mh = Δ /5 = 10/5 = 2 мм, в
плане m x,y = 10/5 = 2 мм. Такую точность работ по высоте
обеспечивают высокоточные и точные нивелиры, а в плане - электронные тахеометры
с погрешностью измерения расстояний mS = 2+2´10-6S (мм).
При установке элементов пролета на
подмостях высотный контроль выполняют либо по нижним точкам собираемой коробки,
либо по верхним точкам.
Контроль за плановым положением
блоков пролета в период монтажа выполняют одним из следующих методов:
- методом полярных
координат с пунктов ГРО;
- методом
прямоугольных координат от створов, параллельных оси собираемого пролета с использованием
электронного тахеометра или теодолита.
Вертикальность стенок коробки при
монтаже на стапеле проверяют методом бокового нивелирования (Рис. 20).
При установке блоков пролетного
строения на подмостях возможен пересчет отметок (ординат) строительного подъема
из-за неравенства продольного уклона, заданного проектной организацией, и
уклона на стапеле (рис. 2.1).
Рис. 20 Схема сопряжения секций
пролетного строения
Рис. 21 Фото сопряжения секций
пролетного строения
Рис. 22 Временные опоры
Пересчет отметок и уклонов выполняют
по формулам:
;
;
,
где H1, H2,
H3 - проектные отметки точек 1, 2, 3, H1/,
H2/ - отметки точек 1, 2 из нивелирования в процессе монтажа блоков
балки жесткости.
Установку блоков
пролетного строения по вертикали с соблюдением отметок строительного подъема
выполняют геометрическим нивелированием.
Результаты
исполнительной съемки, выполненной после монтажа секции пролета на подмостях,
оформляют актом. К акту прикладывают схему исполнительной съемки, на которой
указывают фактические размеры и отметки элементов пролета, а в скобках
проектные размеры и отметки.
.3 Перспективные методы
выполнения исполнительной съемки пролетного строения.
В связи с появлением на
производстве лазерных сканеров становится возможным использовать их при
выполнении исполнительной съемки конструкций эстакады. Наземная сканерная
съемка позволяет определить планово-высотное положение точек по верху
пролетного строения.
Сканерную съемку возможно применить
для проверки геометрических характеристик пролетного строения после его сборки.
При использовании сканера с возможностью ориентирования относительно исходного
направления его устанавливают на пункте разбивочной сети. Если сканер не имеет
данной возможности, его устанавливают на вышках на высоте 2-3 м выше пролета,
расположенных на расстоянии 5-6 м сбоку от пролетного строения (рис. 23).
Рис. 23 Схема установки сканера при
исполнительной съемке пролетного строения
Такое расположение сканера позволит
сократить количество объединений облаков точек между собой, что способствует
повышению точности сканерной съемки. Для контроля в наиболее важных
пользователю точках пролета рекомендуется закреплять плоские сканерные марки.
Координаты марок определяют электронным тахеометром в необходимой пользователю
системе координат.
.4 Особенности геодезического
обеспечения монтажа пролетного строения на криволинейном участке
Монтаж пролетного строения на
криволинейном участке моста выполняется из отдельных прямолинейных блоков. В
местах соединения блоков образуется излом. Координаты точек перелома пролетного
строения заданы проектной организацией.
Установку блоков продольных балок
криволинейного пролета в проектное положение в плане выполняют следующими
методами:
- методом полярных
координат;
- по стрелам прогиба;
- по ординатам от
касательной.
В методе полярных координат разбивку
криволинейного пролета выполняют электронным тахеометром с пунктов
геодезической разбивочной основы, расположенных в непосредственной близости от
места монтажа или с точек на собранном участке пролета.
Монтаж блоков пролета можно
выполнять методом бокового нивелирования по вычисленным стрелам прогиба. На
(рис.4.3) стрела прогиба - это перпендикуляр, опущенный из точки перелома 2 на
прямую, соединяющую соседние точки перелома 1, 3 балки пролетного строения.
Уравнение прямой, проходящей через
две точки 1, 3 с известными координатами Х1, У1, Х3,
У3 имеет вид равного нулю определителя
.
После преобразования
получим уравнение прямой
(У3 - У1)
·Х + (Х3 - Х1) ·У + Х1 У3 - Х3У
1= 0
или в каноническом виде
А·Х + В·У + С = 0, (2.1)
где А= (У3 -
У1), В= (Х3 - Х1), С= Х1 У3
- Х3У1.
Расстояние по нормали от
точки 2 (Х2, У2) до прямой
.
Рис. 24 Расстояние от точки до
прямой
При установке балок пролета
пользуются методом бокового нивелирования (Рис. 25).
Рис. 25 Схема установки балок
криволинейного пролета методом бокового нивелирования
Теодолит или тахеометр устанавливают
вблизи узла 3 так, чтобы отсчет a по рейке, приставленной вверху сечения 3, был минимальным.
Теодолит ориентируют таким образом, чтобы отсчеты a в верхних точках узлов 1, 3 были
одинаковыми. Затем рейку приставляют к верхней точке узла 2 и, перемещая узел 2
стыкуемых балок, добиваются отсчета по рейке равного (a + d ).
Для примера, по вышеприведенным
формулам вычислены длины перпендикуляров от точек перелома балки пролетного
строения до прямых, соединяющих точки перелома (см. рис. 26 и Таблицу 2).
Рис. 26 Схема геодезической разбивки
криволинейного пролета
Таблица 2 Расчет разбивочных
элементов для сборки криволинейного пролета
|
Номера точек
|
1
|
2
|
3
|
4
|
5
|
6
|
|
Х, мм
|
50868
|
59832
|
68461
|
77037
|
82636
|
88166
|
|
У, мм
|
47156
|
52443
|
57945
|
63842
|
67938
|
72128
|
|
Длина перпендикуляра, мм
|
а
|
|
179,2
|
179,3
|
121,7
|
58,3
|
|
|
в
|
|
361,4
|
361,5
|
241,2
|
170,2
|
|
|
с
|
|
|
298,8
|
223,8
|
|
|
Установку балок пролета можно
выполнять методом «ординат от касательной» (Рис. 27).
Рис. 27 Схема разбивки
криволинейного пролета методом «ординат от касательной»
Расчет ординат d выполняют по формулам (2.1), где
уравнение прямой составляют по координатам точек 1 и 2. При использовании
данного метода разбивки криволинейного пролетного строения теодолит
устанавливают не с внутренней стороны балок, а с наружной. Недостатком метода
являются большие величины ординат d, при установке 3-ей и последующих балок пролета, что приводит к
значительным погрешностям при монтаже элементов пролета.
После монтажа всех элементов
криволинейной секции пролета на подмостях и оформления всех сварных швов
необходимо выполнить исполнительную съемку секции. Исполнительную съемку
желательно выполнять методом, который не применялся при разбивке. Результаты
исполнительной съемки оформляют актом, к которому прикладывают схему
исполнительной съемки с указанием размеров и отметок элементов пролета.
5 Применяемая технология и расчет
сметной стоимости
.1 Описание применяемых приборов,
оборудования и программного обеспечения
.1.1 Электронные тахеометры и
нивелиры
Для производства полевых
геодезических работ в строительстве применяются современные электронные
тахеометры и нивелиры.
Электронные тахеометры - это
совершенные приборы для выполнения широкого круга геодезических работ.
В настоящее время фирмами США,
Японии, Швейцарии, Германии и других стран серийно выпускается целый ряд
электронных тахеометров с различной точностью измерений расстояний,
горизонтальных и вертикальных углов. Внутренняя память позволяет хранить
информацию до 10 000 точек, последующая обработка которой выполняется на
персональных компьютерах. С помощью встроенного программного обеспечения можно вычислять
пространственные координаты точек на точке стояния прибора при работе на
строительной площадке.
Электронный тахеометры японской
фирмы «Sokkia» (Рис. 28):
- SET 210/310/510 (mβ =
2÷5′′, дальность измерения расстояний на одну призму
-2700м, точность измерения расстояний на призму ±(2мм+2
10-6
S). Для работы в условиях севера существует модель с расширенным
диапазоном температур до -30
C (SET 510L).
SET230R/330R/530R (mβ = 2÷5′′) позволяет измерять
расстояние на одну призму - 5000м, с точностью ±(2мм+2х10-6 S); без призмы - до 350м, с точностью ±(3мм+2х10-6 S).
Рис. 28 Электронный тахеометр фирмы
«Sokkia» (Япония)
Фирма «Trimble» (США) выпускает
современные электронные тахеометры (Рис. 29) серии 3300 и 3600, причём
тахеометры серии 3600 позволяют измерять горизонтальные углы способом круговых
приёмов. Например, TTS 3602 (mβ = 2′′, дальность
измерения расстояний на одну призму - 3000 метров; без призмы - до 120м;
точность измерения на призму ±(1мм+1х10-6 S); без призмы ±(3мм+2х10-6 S)).
Рис. 29 Электронный тахеометр фирмы
«Trimble» (США)
Концерн «Leica» (Швейцария) выпускает
высокоточные приборы (Рис. 30) ТС2003/ТСА2003 с точностью измерения углов mβ = 0,5′′ и точностью измерения расстояний mS = 1мм+1х10-6 S. Модель ТСА2003 осуществляет
автоматическое наведение на точку с погрешностью ±1 мм на расстоянии до 200 м и
с погрешностью ±2-3 мм на расстоянии до 500 метров.
Рис. 30 Электронный тахеометр фирмы
«Leica» (Швейцария)
Серия TPS1100 включает в себя
тахеометры с погрешностью измерения углов mβ = 1,5 ÷ 5′′ и
точностью измерения расстояний для всех моделей: до отражателя mS=2мм+2х10-6 S; в режиме слежения (до отражателя) mS=5мм+2х10-6 S; без отражателя mS=3мм+2х10-6 S (до 80 метров).
Все электронные тахеометры, имея
внутреннее программное обеспечение, позволяют производить вынос в натуру
проектных отметок, координат и расстояний, вычислять отметки, производить
уравнивание нивелирного хода и д.р.
Перед использованием электронные
тахеометры должны пройти эталонирование и иметь соответствующие свидетельства о
поверке.
Для создания высотной сети, передачи
отметок на монтажный горизонт, вынос проектных отметок и других видов работ,
выполняемых на строительной площадке, следует использовать нивелиры как с
уровнем при трубе, так и с компенсатором незначительного наклона:
3Н2КЛ/3Н3КЛ (отечественного
производства) со средней квадратической погрешностью определения превышений mh= 2мм÷3мм/1 км с увеличением
зрительной трубы ν =30х/22х (Рисунок
31);
А)
Б)
Рис. 31 нивелиры (Россия): а) 3Н2КЛ;
б) 3Н3КЛ
DSZ3 (SETL, Китай), mh= 1,5мм/1 км, ν =30х, Х- образный компенсатор с воздушным демпфером (Рис. 32);
Рис. 32 Нивелир SETL (Китай)
С410 («Sokkia», Япония), mh= 2,5мм/1 км, ν =20х, 4-торсионный маятниковый компенсатор с системой магнитного
демпфирования (Рисунок 33, (а));
С300/С310/С320/С330 («Sokkia»,
Япония), mh= 2,0мм/1 км, ν =28х /26х /24х
/22х, компенсатор с магнитным демпфером (Рисунок 33, (б).
А)
Б)
Рис. 33 Нивелиры «Sokkia»
(Япония):(а) С410; (б) С300/С310/С320/С330
CST/Berger SAL 32 ND. Точность 1.0
мм на км.двойного хода. Увеличение 32х. Компенсатор с магнитным демпфером
(Рисунок 34).
Рис. 34 Нивелир CST/Berger SAL 32 ND
Для передачи отметок через водные
преграды и на опоры, а также при организации наблюдений за деформациями
необходимо иметь высокоточные нивелиры типа Н-05 (mh= 0,5мм/1 км, ν =42х) (Рис. 35).
Рис. 35 Нивелир Н-05 (Россия)
При выполнении геометрического
нивелирования необходимо иметь комплект реек типа РН-3000 (двухсторонние,
деревянные, трехметровые, шашечные). При производстве земляных работ в
последнее время большое применение находят складные односторонние деревянные
рейки длиной 3 и 4 метра, с фиберглассовым покрытием, а также телескопические
алюминиевые односторонние рейки длиной 3, 4 и 5 метров.
Цифровые нивелиры:
SDL30M («Sokkia», Япония), mh= 1,0 мм/1 км, ν =32х, диапазон измерений до 100 метров, маятниковый компенсатор с
магнитным демпфером, память 2000 измерений (Рис. 36);
Рис. 36 Нивелир SDL30M («Sokkia»,
Япония)
DiNi 12/12Т/22 («Trimblе», США) ν =32х /32х /26х , диапазон измерений до 100
метров, mh= 0,3 мм/1 км для DiNi 12/12Т; mh= 0,7 мм/1 км для
DiNi 22 (Рис.37).
Рис. 37 Нивелир DiNi 12/12Т/22 («Trimbel», США)
Также для производства полевых
геодезических работ на строительной площадке необходимо иметь комплект рулеток
длинной 2, 3, 5, 20, 30 и 50 метров. Рулетки стальные с обычным лакокрасочным
или полиамидным покрытием и из нержавеющей стали, как отечественных так и
зарубежных производителей. В последнее время широко применяются лазерные
рулетки Disto.
На все используемые геодезические
приборы необходимо иметь сертификаты (свидетельства о поверках), а сами приборы
перед работой должны быть поверены. (Приложение Б).
.1.2 Компьютерные программы,
применяемые для камеральной обработки геодезических данных
Использование программного продукта CREDO_DAT
Назначение: автоматизация камеральной
обработки инженерно-геодезических данных [26].
Области применения: линейные и
площадные инженерные изыскания объектов промышленного, гражданского и
транспортного строительства, геодезическое обеспечение строительства,
маркшейдерское обеспечение работ при добыче и транспортировке нефти и газа,
подготовка информации для кадастровых систем (наземные методы сбора
информации), геодезическое обеспечение геофизических методов разведки,
маркшейдерское обеспечение добычи полезных ископаемых открытым способом, создание
и реконструкция городских, межевых, государственных опорных сетей.
Исходные данные: файлы электронных
регистраторов (тахеометров) и GNSS-систем, рукописные журналы измерения углов,
линий и превышений, координаты и высоты исходных точек, рабочие схемы сетей и
расчетов, растровые файлы картографических материалов.
Основные функции:
импорт данных, полученных с
электронных регистраторов и тахеометров в форматах - Sokkia (SDR2x, 3x), Nikon (RDF), Geodimeter (ARE, JOB), Leica (GRE, GSI, IDEX), Topcon (GTS6, GTS7), Trimble (R4, R5, Rec500, М5), УОМЗ (2Та5,
3Та5, 4ТА5), PENTAX (DC1, AUX, CSV), FOIF(RTS600), KOLIDA (KTS440,550);
импорт данных непосредственно с
прибора 3ТА5;
импорт координат (X, Y, Z), данных
измерений из текстовых файлов в произвольных форматах, настраиваемых
пользователем;
настройка и использование нескольких
классификаторов, обработка кодовых строк расширенной системы кодирования для
полевой регистрации геометрической и атрибутивной информации о топографических
объектах;
создание и использование собственных
систем (наборов кодов) полевого кодирования;
табличное редактирование данных,
работа с буфером обмена для станций, ходов и отдельных измерений,
«Отключение/восстановление» измерений, работа с блоками данных, использование
интерактивных графических операций;
предварительная обработка измерений,
учет различных поправок - атмосферных, за влияние кривизны Земли и рефракции,
переход на поверхность относимости. Редуцирование направлений и линий на
эллипсоид, плоскость в поперечно-цилиндрической равноугольной проекции
Гаусса-Крюгера (СК42, СК64, СК63, СК95, UTM (проекция Меркатора) и им подобных)
или пользовательской с настраиваемыми значениями смещения по X, Y и масштабом
по осевому меридиану;
выявление, локализация и
нейтрализация грубых ошибок в линейных и угловых измерениях и нивелировании
автоматически (Lp-метрика) и в диалоговом режиме (трассирование);
уравнивание плановых
(линейно-угловых) и высотных (систем и ходов геометрического,
тригонометрического нивелирования) геодезических сетей разных форм, классов и
методов (комбинации методов) создания, выполняемое параметрическим способом по
методу наименьших квадратов. Обеспечена возможность выполнять совместное
уравнивание измерений разной точности и разных методик с развернутой оценкой
точности, включающей эллипсы ошибок;
аффинное преобразование координат по
Гельмерту, пересчет координат из прямоугольных в геодезические;
обработка тахеометрической съёмки с
формированием топографических объектов и их атрибутов по данным полевого
кодирования;
проектирование опорных геодезических
сетей, выбор оптимальной схемы сети, необходимых и достаточных измерений,
подбор точности измерений;
обработка контрольных измерений,
двукратных определений координат точек с выдачей необходимых ведомостей;
настройка выходных документов под
стандарты предприятия пользователя, национальные стандарты и языки с
использованием генератора отчетов;
оформление в компоновщике чертежей и
печать графических документов и планшетов;
расчёт и печать ведомостей обратных
геодезических задач в различных видах;
экспорт данных в системы Mapinfo,
ArcView, в открытый обменный формат, в настраиваемые пользователем форматы, в
формат DXF.
Результаты: каталоги и ведомости
измерений, координат и отметок, чертежи и планшеты с зарамочным оформлением в М
1:500 - 1:5000, файлы форматов DXF, MIF/MID (MapInfo), Shape-file (ArcView), файлы формата CREDO (TOP/ABR),
текстовые файлы в форматах, настраиваемых пользователем.
Внутренние форматы данных: формат
CREDO.
Характеристика интерфейса:
стандартный интерфейс Windows. Язык русский с возможностью настройки выходных
форм на любом языке, поддерживаемом Windows.
Особенности системы:
отсутствие ограничений на объем
обрабатываемой информации в сетях и при съёмке;
отсутствие ограничений на формы и
методы создания обрабатываемых сетей геодезической опоры;
расширенная система сбора
геометрической и атрибутивной информации;
возможность оперативного подключения
процедур чтения данных из появляющихся новых форматов файлов электронных
регистраторов и тахеометров;
развитый аппарат поиска и выделения
грубых ошибок;
интерактивные возможности
проектирования плановых и высотных сетей;
совместная обработка измерений,
выполненных разными методами и с разной точностью;
графическая иллюстрация процессов
обработки;
возможности настройки процедур
ввода, обработки и создания выходных документов под стандарты предприятия,
национальные стандарты и языки
Экспорт данных:
выборочный экспорт данных - экспорт
данных в форматы ГИС, текстовые форматы, ведомость координат, ведомость оценки
точности положения пунктов, каталог координат создаются не только для всего
проекта, но и для выбранной группы пунктов. При этом в ведомости, содержащие
оценки положения пунктов, погрешности положения пунктов рассчитываются и
выводятся только для выбранной группы;
при любом экспорте координаты
передаются в текущем представлении, установленном в DAT - Y, Y0 + Y, (номер зоны)+ Y0 +Y;
при экспорте в DXF есть возможность
назначения экспортируемым слоям одинаковых имен (объединение слоев при
экспорте).
Выпуск ведомостей:
в ведомости оценки точности
измерений по результатам уравнивания для отчета дается информация о порядке
уравнивания, приводятся подробные, характеристики результатов уравнивания,
разбитые по классам (группам) при совместной обработки неоднородных по точности
сетей;
ведомость технических характеристик
содержит подробную статистическую информацию по обрабатываемому проекту.
Использование программного продукта AUTO_CAD
Использование программы AutoCad позволяет в
значительной мере сократить продолжительность камеральных работ. К основным
преимуществам относится [27]:
более быстрое выполнение чертежей;
повышение точности выполнения
чертежей;
повышение качества выполнения
чертежей;
возможность многократного
использования чертежей;
ускорение расчетов и анализа при
вычерчивании.
Также использование программы AutoCad, разработанной фирмой
Autodesk Limited, делает труд инженеров - геодезистов более качественным и
эффективным.
Основные особенности и функции
Окно программы AutoCad. Вся центральная часть
экрана представляет собой свободное рабочее поле (Рис. 40).
Здесь можно создавать графические и
текстовые документы. Вокруг рабочего поля находится область, в которой
сосредоточены многочисленные элементы управления (Рис. 40).
Рис. 40 Рабочее поле программы AutoCad
Строки выпадающих меню содержать
следующие элементы:(Файл) - меню работы с файлами;(Правка) - меню
редактирования частей графического поля рабочего стола Windows;(Вид) - содержит
команды управления экраном, панорамирования, переключения режимов пространства
листа и пространства модели, установки точки зрения, удаления невидимых линий,
закраски, тонирования, управления параметрами дисплея; позволяет устанавливать
необходимые панели инструментов;(Вставка) - обеспечивает вставку блоков,
внешних объектов, объектов других приложений; Format (Формат) - обеспечивает
работу со слоями, цветом, 11-.типами линий, управление стилем текста и его
размеров, видом маркера точки, стилем мультилинии; установку единиц измерения,
границ чертежа;(Инструментарии) - содержит средства управления системой,
экраном пользователя, включает установку параметров черчения и привязок с
помощью диалоговых окон; обеспечивает работу с пользовательской системой
координат;(Рисование) - включает команды рисования;(Размер) - содержит команды
простановки размеров и управления параметрами размеров;(Редактор) - включает
команды редактирования элементов чертежа;(Помощь) - содержит мощную систему
гипертекстовых подсказок.
Масштаб просмотра чертежа
В процессе работы с чертежом
постоянно приходится изменять масштаб просмотра объектов чертежа, выбирая
интересующую часть, а затем возвращаясь к предшествующему виду или просмотру
всего чертежа полностью. Для просмотра чертежа в разных масштабах на
стандартной панели инструментов имеется группа из четырех кнопок, называемая
Zoom (Увеличение) (Рис. 41).
Рис. 41 Кнопки группы Zoom
(Увеличение)
Функции клавиш
В программе AutoCAD есть возможность
использования функциональных клавиш:- вызывает помощь (Help);- включает /
выключает текстовое окно;- включает/выключает режим объектной привязки
(OSNAP);- включает/выключает режим изменения координат курсора в строке
состояния;- включает/выключает режим отображения на экране сетки (GRID);-
включает/выключает режим изменения координат только по осям Х и Y (ORTO);-
включает/выключает режим движения курсора с заданным шагом (SNAP).
Для установки режимов рисования
имеется диалоговое окно Drafting Settings (Закладка Snap и Grid), которое
вызывается из падающего меню Tools (Инстр.)
Объектная привязка
Привязка - это комплекс команд,
объединенных одним свойством, позволяющим при выполнении очередного элемента
чертежа точно совместить его с ранее нарисованным объектом (Рис. 42).
Рис. 42 Объектная привязка
При этом базовая точка этого
элемента автоматически совмещается с выбранной точкой привязки. Команду
применяют либо индивидуально к каждой точке привязки, либо, при необходимости,
включают для постоянного действия, на что указывает меню Osnap (Привязка) в
строке состояния.
Производительность
Запись действий:
запись большинства команд,
вызываемых из командной строки, и некоторых привычных интерфейсов;
запись команд и введенных значений
для макросов действий;
обмен файлами макросов действий с
другими пользователями;
создание пользовательских запросов в
макросах;
модификация макросов через область
структуры при записи действий;
адаптация исполнителей без
требований к опыту программирования.
Повышение производительности
благодаря записи повторяющихся изо дня в день задач и команд.
Немодальный Диспетчер слоев позволяет:
просмотр результатов изменения слоев
без выхода из Диспетчера;
фиксация столбцов для лучшей
прокрутки списка;
возможность закреплять и
автоматически скрывать Диспетчера - как у инструментальных палитр;
быстрый доступ к Диспетчеру слоев в
рабочем сеансе.
Таким образом в процессе камеральной
обработки в программе AutoCad создаются чертежи и схемы, как с использованием графических
примитивов типа точка, отрезок и других, так и на основе фрагментов ранее
созданных конструктивных элементов проектных чертежей. При этом геометрические
параметры вышеуказанных фрагментов могут быть исполнителем заданны
параметрически, с помощью этого можно изменять их размеры и геометрическую
форму, обеспечивая много вариантность чертежей и схем. Полное описание правил работы
с системой AutoCad в данной работе не приводится из-за объёмности материала и
доступности самообучающих книг [27] и внутренней справки help.
Современное программное обеспечение
облегчает процесс уравнивания и обработки полевых измерений, существенно сокращая
время, затраченное на камеральную обработку. Цифровые модели, созданные с
помощью компьютерных технологий содержат в себе полную информацию об объекте.
Возможность включения и отключения тех или иных слоев позволяет содержать всю
информацию в одном файле.
5.2 Сметная
стоимость работ
Общие сведения
Сметную стоимость работ на
инженерно-геодезическое обеспечение строительства ЗСД я составил согласно
Справочнику базовых цен на инженерно-геодезические изыскания для строительства
от 2004 года.
Данный Справочник был разработан для
определения базовой стоимости инженерно-геодезических изысканий при
формировании цен в договорах (контрактах) и предназначен для применения
предприятиями (организациями) независимо от ведомственной принадлежности и
организационно-правовых форм:
исполнителями изыскательских работ
для строительства, имеющими лицензию на их проведение;
заказчиками изыскательских работ;
органами, контролирующими выполнение
изыскательских работ. [23, п.1,2].
Цены рассчитаны в уровне
сметно-нормативной базы на 01.01.2001 по условиям оплаты труда
инженерно-технических работников и рабочих, стоимости материалов и услуг, а
также размеров амортизационных отчислений по основным фондам, в соответствии с
«Методическими рекомендациями по составу и учету затрат, включаемых в
себестоимость проектной и изыскательской продукции (работ, услуг) для
строительства и формирования финансовых результатов», утвержденных Госстроем
России письмом от 06.04.1994 г. № БЕ-19-10/9 с учетом изменений и дополнений,
предусмотренных постановлением Правительства Российской Федерации от 01.07.1995
г. № 661.
В Справочнике цены указаны в рублях
на отдельные виды работ, производимых в благоприятный период года, и приведены
в виде дроби: над чертой - цена полевых работ, под чертой - цена камеральных
работ.
В справочных ценах также учтены
расходы на:
получение технического задания на
производство изысканий;
изучение и обобщение исходных
данных, необходимых для производства изысканий;
подготовку договорной документации;
подготовку, поверку приборов,
инструментов, оборудования и метрологическое обеспечение средств измерений;
текущий ремонт оборудования и
инструментов;
погрузку и разгрузку оборудования и
инструментов при передвижении на участке;
внутренний контроль и приемку
изыскательских материалов;
выпуск отчетных материалов изысканий
в 4-х экземплярах, в том числе 2 экземпляра для заказчика и 1 экземпляр для
органа, выдавшего разрешение на изыскания или осуществившего их регистрацию;
сдачу отчетных материалов заказчику,
а также в установленном порядке органам, выдавшим разрешение на изыскания или
осуществившим их регистрацию.
В моём случае необходимо учесть, что
в ценах не учитывается и определяется дополнительно по соответствующим таблицам
(нормативам) Справочника расходы по:
внутреннему и внешнему транспорту;
организации и ликвидации работ на
объекте.
Объект проектируемых работ
располагается в черте города Санкт - Петербурга, поэтому нет необходимости
учёта расходов по внешнему транспорту [23, п.4-7].
Расчёт сметной стоимости
инженерно-геодезического обеспечения строительства Западного скоростного
диаметра от улицы Благодатная до проспекта Стачек.
Пояснительная записка
В разделе Справочника на комплексные
инженерно-геодезические изыскания при создании инженерно-топографических планов
приведены укрупненные базовые цены на создание инженерно-топографических планов
в масштабах 1:200 - 1:10000 для незастроенной и застроенной территорий.
Объект располагается в черте города
на застроенной территории, исходя из этого определяем категорию сложности
выполнения исполнительной съемки:категория. [23, Глава 2, п.1а].
Далее необходимо определить цены
полевых и камеральных работ на создание инженерно-топографических планов в
масштабах 1:500, согласно выбранной категории сложности (II кагория) (Таблица
3):
Таблица 3 Цены полевых и камеральных
работ на создание инженерно-топографических планов в масштабах 1:500
|
Масштаб съёмки
|
Категория сложности
|
Высота сечения рельефа, м
|
Вид территории: застроенная
|
|
1:500
|
II
|
0,25
|
3481
- полевые работы 1269 - камеральные
работы
|
Примечание: Цены указаны в рублях за
1 Га.
В Таблице 3 учитываются расходы на
выполнение следующих работ:
составление программы изысканий;
рекогносцировка участка;
создание планово-высотной съемочной
сети с закреплением точек сети и привязкой ее к исходным пунктам;
составление схемы сети и вычисление
координат и высот точек съемочной сети;
подготовка планшетов и выполнение
работ по сгущению точек съемочной сети с детальной съёмкой элементов ситуации и
рельефа;
координирование углов кварталов и
отдельных капитальных зданий и сооружений;
нивелирование и съемка выходов
подземных коммуникаций и оснований надземных сооружений,
обследование колодцев и надземных
коммуникаций;
составление
инженерно-топографического плана (без нанесения подземных коммуникаций) с кальками
высот и контуров, сводка по рамкам;
корректура и изготовление копий
плана;
заполнение формуляра;
подготовка и выпуск необходимых
отчетных материалов.
[23, Глава 2, п.9, Табл. 9.]
Порядок расчёта сметной стоимости
работ по состоянию на 2009 год
Следует определить коэффициенты на
полевые и камеральные работы, которые уместны в данном случае. По результатам
тщательного изучения проектной (рабочей) документации объекта заключил
следующее:
к ценам на полевые работы
коэффициент 1,3 (на территории объекта располагаются опоры ЛЭП (3 линии по
110кВ и 4 линии по 220 кВ), которые попадают в зону красных линий и согласно
проекта в результате строительства были установлены новые опоры, что должно
быть отражено в исполнительной съёмке) [23, Глава 2, Табл. 9, Прим. 5];
к ценам на камеральные работы
коэффициент 1,15 (требуется нанесение красных линий территории застройки, без
расчёта координат)
[23, Глава 2, Табл. 9, Прим. 6].
В столбец 6,7 (Приложение В, № п/п
1) сметного расчета записывается цена с учетом принятых коэффицентов 1,3 и 1,15
соответственно.
В случаях введения коэффициентов в
полевые и камеральные расходы допускается их перемножение: 1,30 х 1,15 = 1,495,
далее полученный коэффициент поочерёдно вводится в цены полевых и камеральных
работ (Приложение В, столбец 6,7, № п/п 1).
Для получения стоимости работ
необходимо перемножить объем на цены полевых и камеральных работ (Приложение В,
№ п/п 1, столбец 6,7,8,9,10).
В полученную стоимость камеральных
работ вводится коэффициент
К = 1,2 (Приложение В, столбец 10, №
п/п 3), так как в выполнении камеральных и картографических работ предусмотрено
с применением компьютерных технологий. [23, ОУ, п.15е].
При проведении полевых работ без
выплаты работникам полевого довольствия или командировочных в стоимость работ
(Приложение В, столбец 9, № п/п 4) вводится понижающий коэффициент К = 0,85
[23, ОУ, п.14].
В Справочнике цены рассчитаны для
условий производства изысканий в средней полосе Европейской части Российской
Федерации (по уровню заработной платы), благоприятного периода года и
нормального режима проведения изыскательских работ. При определении сметной
стоимости изысканий, выполняемых в других районах Российской Федерации, в
условиях специального режима, а также в неблагоприятный период года, к ценам
применяются соответствующие коэффициенты [23, ОУ, п.8].
Выполнение полевых геодезических
работ на объекте будет проводиться в конце сентября 2010 года и начале января
2011 года (сдача объекта строительства, согласно графика производства работ, в
январе 2011 года), поэтому в стоимость полевых работ (Приложение В, столбец 9,
№ п/п 5) вводится коэффициент К = 1,30 [23, ОУ, п.8г, Приложение 2].
Зона производства работ расположена
в черте города, поэтому в сметной стоимости (Приложение В, столбец 9, № п/п
6,7) необходимо учесть расходы:
на внутренний транспорт - 13,75 %
[23, ОУ, п.9, Табл. 4, §3];
организационные и ликвидационные
расходы - 6,0% [23, ОУ, п.13].
В полученную общую стоимость по
смете (Приложение В, столбец 9, № п/п 9) необходимо ввести инфляционный индекс
по состоянию на 2010 год - 3,05 [23].
От всей сметной стоимости работ
необходимо учесть 18% НДС (Приложение В, столбец 9, № п/п 10)
Налог на добавленную стоимость (НДС)
- это косвенный налог, форма изъятия в бюджет части добавленной стоимости,
которая создается на всех стадиях процесса производства работ и вносится в
бюджет по мере реализации.
Всего по смете получаем путём
сложения стоимости по смете с учетом инфляционного индекса и величины налога на
добавленную стоимость (НДС) (Приложение В, столбец 9, № п/п 11).
Вывод: Данный расчёт стоимости
инженерно-геодезических работ удобен для строительной сферы, так как цены в
справочнике указываются на единицу объёма и не связаны с продолжительностью
выполнения, так как геодезические работы неотъемлемо связаны с общим графиком строительно-монтажных
работ.
Удобство заключается в том, что цены
рассчитаны в соответствии с составом и современной технологией производства
полевых и камеральных инженерно-геодезических работ, с учетом требований ГОСТов
и действующих нормативных документов (утвержденных или согласованных Госстроем
России по состоянию на 01.01.2001 г.), и являются оптимальными для определения
стоимости этих работ.
В строительной сфере будет не
корректный прямой подсчёт сметной стоимости геодезических работ через нормы
времени и выработки, так как основной акцент делается на количестве
бригадо-месяцев, а геодезические работы в строительстве должны быть не только
правильными, но и в производстве занимать минимум времени, чтобы не срывать
общий график производства работ.
.3 Анализ эффективности применяемой
технологии
Известно, что требования к качеству
строительной продукции быстро растут. Возрастает и необходимость постоянного
повышения общего технического уровня строительных работ, надежности,
долговечности, эстетичности, технологичности строительного производства.
Инженерно-геодезические измерения и
инженерно-геодезические построения занимаю особое место в общей схеме
строительных работ. Они начинаются задолго до начала строительства при
проведении инженерно-геодезических изысканий, выноса проектов сооружений в
натуру, являются составной частью технологии строительно-монтажных работ в
период всего строительства, а также сопутствуют при проверке качества
строительной продукции и продолжаются в эксплуатационный период при проведении
наблюдений за деформациями зданий и сооружений, если того требуют условия
проекта. Поэтому вопросы точности проведения геодезических работ имеют
принципиальное значение, ибо они в конечном счете определяют уровень качества и
надежность выстроенных зданий и сооружений.
При оценке надежности и точности
измерений главным является выбор совершенной методики геодезических работ и
соответствующих приборов и оборудования, исходя из заданных технологических
требований проекта и допусков.
С ростом научно-технического
прогресса и технического уровня строительства развивались и совершенствовались
методики и приборы для проведения инженерно-геодезических работ. Если до 60-х
годов нашего столетия развитие геодезического приборостроения шло по пути
совершенствования успешно зарекомендовавшей себя традиционной технологии, в
основе которой лежали физические принципы, разработанные, в основном, еще в
конце XIX века, то за последние 30 лет развитие микроэлектроники, ставшей
символом XX века, положило начало новой эпохи средств и методов геодезических
работ Современный геодезический прибор сегодня - это продукт высоких
технологий, объединяющий в себе последние достижения электроники, точной
механики, оптики, материаловедения и других наук. А использование спутниковой
навигации систем GРS/Глонасс (в том числе и в целях геодезии) - можно смело считать
новым достоянием цивилизации, преимущества которого в полной мере еще не
оценены.
Появление геодезических систем,
которые можно отнести к классу электронных тахеометров, называемых на
английском языке total station сделало первый революционный шаг к
высокопроизводительным геодезическим технологиям. Они позволили
автоматизировать процесс линейно-угловых измерений, исключить ошибки ручных
записей, адаптироваться к современным вычислительным программам. Сравнение
старых традиционных методов выполнения геодезических работ с работами,
выполненными электронными тахеометрами стало бессмысленным. Один только выигрыш
во времени, затрачиваемом на работы сократился в разы.
Последующее появление спутниковых
геодезических приёмников сделало второй революционный шаг в геодезических
технологиях. Теперь стало возможным с использованием редкой геодезической
основы или совсем без неё выполнять любые геодезические работы. Электронный
тахеометр при этом не изжил себя, а превратился в незаменимого помощника для
случаев плохой видимости на спутники. Следует отметить, что ведущие
производители спутниковых систем, например, Trimble или Magellan/Ashtech,
рассматривают электронные тахеометры как геодезические системы вторичного
значения, заведомо отдавая предпочтение спутниковым системам реального времени
(RTK) как первостепенным геодезическим системам. Так, первый электронный
тахеометр фирмы Trimble, TTS 500, появившийся в январе 1999 г., ориентирован
прежде всего на пользователей спутниковых геодезических систем Trimble и по
замыслу создателей предназначен исключительно для дополнения возможностей
спутниковых систем RTK. В качестве примера можно привести комплект
геодезической аппаратуры, предоставленной фирмой ПРИН для Института подготовки
гражданских специалистов ВКА. Комплект состоит из базового спутникового
приёмника Trimble R7, роверного спутникового приёмника Trimblt R6 и электронного тахеометра Trimble M3. Комплект этих приборов,
оснащённых средствами оперативной связи, позволяет в кратчайшие сроки выполнить
любую геодезическую работу с немедленной передачей данных на головной сервер.
Ведущие производители электронных
тахеометрических систем: Spectra Precision (Швеция/Германия), Leica
(Швейцария), Sokkia, Topcon, Nikon, Pentax (Япония), выпускающие око 100
моделей и модификаций электронных тахеометров, рассматривают последние как
геодезические системы первичного значения, функциональные возможности которых
могут дополняться возможностями спутниковых приемников. Так, Spectra Precision
в 1998 г. впервые представила совмещенную систему, объединяющую возможности
тахеометра и спутникового приемника. Основа системы - модульный электронный
тахеометр Geodimeter 600, один из модулей которого - одночастотный спутниковый
GPS-приемник, устанавливаемый на месте дополнительной клавиатуры. Антенна
устанавливается сверху на транспортировочной рукояти.
Сегодня две основные концепции
развития полевых геодезических систем определяют появление новых приборов и
систем. Какая концепция будет преобладать в будущем и какие принципиально новые
системы поступят на рынок геодезического оборудования, покажет время. Жесткая
конкуренция на международном рынке электронных тахеометров обусловливает их
непрерывное совершенствование, заставляя производителей находить все более
эффективные решения, упрощать процессы измерений и использовать максимально
удобные пользовательские интерфейсы, создавать интегрированные системы,
комбинирующие функции компьютеров, тахеометров, спутниковых приемников,
инерциальных систем.
Современные тахеометры значительно
различаются не только своими техническими характеристиками, конструктивными
особенностями, но и прежде всего ориентацией на конкретного пользователя или
определенную сферу применения. Поэтому тахеометры можно также классифицировать
по их предназначению для решения конкретных задач. Точность и дальность
измерений в данном случае уже не играют существенной роли. Определяющим
становится фактор эффективности применения прибора для решения конкретного типа
задач. Например, для выполнения традиционных работ по землеотводам достаточно
иметь простой механический тахеометр с минимальным набором встроенных программ.
В то же время для работ по изысканиям и строительству автомагистралей наиболее
эффективным будет применение роботизированного тахеометра, имеющего функции
автоматического слежения за отражателем, контроллер и программы, позволяющие не
только работать с проектными данными, но и воспроизводить полученные результаты
непосредственно в поле на экране контроллера.
Современный тахеометр должен
полностью удовлетворять всем требованиям пользователя. Это важно и потому, что
пользователь не должен переплачивать за невостребованные функции и возможности
инструмента, стоимость которых может быть достаточно высока. С другой стороны,
желательно иметь возможности обновления и модернизации системы - добавление
новых функций, программ и даже изменение технических характеристик. Этим
условиям полностью соответствуют тахеометры, имеющие модульное строение. Первая
серия полностью модульных тахеометров - Geodimeter System 600 - была
представлена компанией Spectra Precision (бывш. Geotronics) в 1994 г. Были
выпущены две базовые модели тахеометров этой серии - механическая и имеющая
сервоприводы, позволяющие автоматизировать не только наведение на призму, но и
слежение за перемещающимся отражателем.
В начале 90-х годов были заложены
основные принципы развития электронных тахеометров: модульность - с точки
зрения конструктивности и автоматизация (роботизация) - с точки зрения функциональности.
И если Geodimeter 600 практически остается пока единственным полностью
модульным прибором, то роботизированные модели с сервоприводами и системами
автоматического слежения за призмой выпускают и другие производители
тахеометров. Следует также отметить, что среди спутниковых геодезических
приемников в настоящее время только приемники фирмы Javad Positioning Systems
имеют модульную структуру.
Современный электронный тахеометр,
как и его оптический предшественник, измеряет углы и расстояния до вехи или
штатива с отражателем. Эти первичные измерения служат основой для последующих,
подчас сложных вычислений, производимых встроенным или внешним контроллером.
Точность измерения определяют блоки или модули измерения углов, расстояний и
модуль компенсатора.
Если говорить о
точности, то угловые измерения как правило лимитируются точностью 1”, а
линейные - 1мм
1
мм на 1 км расстояния. Этот порог прежде всего связан не с техническими проблемами
измерительных систем, а со второй составляющей, обусловленной влиянием
окружающей среды. Более высокая точность, заявляемая в характеристиках
тахеометров отдельных производителей, практически не достижима при обычных
работах и условиях из-за влияния окружающей среды и ошибок центрирования и
наведения. Точность измерения простейших тахеометров, как правило, не хуже 5-6”
для угловых измерений и 3 мм + 3мм на 1 км - для линейных.
Для соблюдения точности
угловых измерений чрезвычайно важен диапазон компенсации влияния углов наклона
вертикальной и горизонтальной осей. В настоящее время наибольший диапазон
работы (порядка 6') имеют тахеометры Geodimeter. Эта величина особенно
существенна при работе тахеометром со штатива. Дальномер тахеометра
характеризуется не только точностью, но и дальностью. Как правило, это
дальность измерения расстояний до одной призмы. Следует отметить, что эти
характеристики связаны друг с другом.
Несмотря на то что
значительная часть объема измерений тахеометром не превышает 500-1000 м,
периодически приходится измерять значительно более длинные расстояния. Поэтому
наилучшими сегодня являются дальномеры с точностью измерений не ниже 2 мм
2
мм на км при дальности 3000-4000 м. Эти параметры должны стать стандартными в
будущем для большинства тахеометров. Увеличение дальности измерений в ущерб
точности нецелесообразно и неэффективно. Следует отметить, что ряд
производителей явно завышают показатель дальности, оговаривая особые условия
прозрачности атмосферы, при которых достижима определенная дальность измерений.
Например, приводится такой показатель прозрачности атмосферы, как абсолютная
видимость 40 км. Надо иметь в виду, что для пользователя определение условий
состояния атмосферы практически невозможно. Кроме того, при работе в городских
условиях вдоль автодорог прозрачность атмосферы бывает значительное снижение
из-за загазованности атмосферы.
В последнее время
широкое распространение получили тахеометры с дальномером, позволяющим измерять
расстояния непосредственно до объекта без отражателя. Как правило, дальность
таких измерений не превышает 100-150 м, а точность лежит в пределах 10-20 мм. К
недостаткам данных систем следует отнести зависимость точности измерений от свойств
отражающей поверхности и отсутствие надежной фиксации точки измерения. Тем не
менее следует ожидать дальнейшего их совершенствования.
Важной составляющей
электронного тахеометра является модуль контроллера - встроенного или внешнего.
Под контроллером понимается не только полевой компьютер/вычислитель, но и
пульт/клавиатура управления самим тахеометром. От его производительности,
объема памяти, типа экрана, наличия и числа встроенных программ зависят
функциональные возможности тахеометра. Большинство моделей тахеометров имеют
встроенный контроллер, управляемый клавиатурой. Клавиатура может быть цифровой
или алфавитно-цифровой. Некоторые модели тахеометров имеют клавиатуры с обеих
сторон. Число клавиш клавиатуры в среднем лежит в пределах от 10 до 30, в зависимости
от возможностей тахеометра. Клавиатура с минимальным числом клавиш, каждая из
которых многофункциональна, очень неудобна и неэффективна. В то же время
некоторые тахеометры имеют полные PC-совместимые QWERTY-клавиатуры.
Некоторые внешние
контроллеры имеют DOS-совместимые процессоры, например типа Intel 486.
Собираемая информация записывается на карты типа PCMCIA или на встроенную
микросхему; в диапазон информации от 1 до 10-50 тыс. точек. Встроенные
программы также могут быть записаны на внешних картах или встроенных
микросхемах. Внешние контроллеры, как правило, представляют собой серийно
выпускаемые ручные компьютеры типа Husky или HP, оснащенные специальным
программным обеспечением.
В моделях серии
Geodimeter System 600 контроллер представляет собой съемную клавиатуру, поэтому
его можно отнести к особому виду. До настоящего времени эта единственная в мире
модель тахеометра со съемной клавиатурой. Она обладает несомненными
достоинствами, так как является не просто клавиатурой, а контроллером, имеющим
внутреннюю память и внутренние программы. “Скачивание” информации, собранной в
поле, не требует доставки в камеральный офис самого тахеометра - достаточно
одной клавиатуры. Объем памяти, как и наличие тех или иных встроенных программ,
определяется пользователем. Это удобно при работе нескольких исполнителей с
одним тахеометром - у каждого своя клавиатура-контроллер. При работе в
роботизированном режиме не требуется дополнительный контроллер/пульт управления
на веху с отражателем.
В последнее время в качестве
контроллеров широко применяются полевые графические пен-компьютеры или
компьютеры с активным экраном (pen/penpad computer или touch screen computer).
В основе создания таких компьютеров лежит идея избавления от клавиатуры и
возврата к использованию ручки или карандаша, но уже без традиционного полевого
журнала. С их помощью можно не только управлять работой тахеометра и/или
геодезического спутникового приемника, но и обработать на месте и просмотреть
графическое отображение результатов съемкок на экране пен-компьютера.
Графический контроллер
GeodatWin (Spectra Precision), появившийся в 1998 г., является представителем
нового поколения таких систем. В отличие от множества других графических
контроллеров, базирующихся на стандартных пен-компьютерах, серийно выпускаемых
компьютерными фирмами, его можно устанавливать на тахеометры Geodimeter вместо
съемной клавиатуры или на спутниковый геодезический приемник (GeodatWin может
также работать с тахеометрами других производителей). Технические
характеристики, программные возможности и устойчивость GeodatWin к внешним
климатическим условиям (влагостойкий корпус, диапазон рабочих температур от -20
до +50°
С) вполне позволяют назвать тахеометр, оснащенный GeodatWin, “электронной
мензулой”.Win имеет Intel 486 процессор, VGA графический активный экран, 32 Мб
RAM, Windows 95, два считывающих порта для PCMCIA-карт. Для перекачки данных
имеется инфракрасный порт. GeodatWin выполняет функции управления тахеометром
и/или спутниковым геодезическим приемником, при этом обеспечивает совместное
использование результатов съемок обеих видов.
Программное обеспечение
решает большинство CAD-задач непосредственно в поле, позволяют вести трехмерную
базу съемочных данных, что дает возможность строить цифровую модель рельефа и
отображать ее в виде горизонталей, строить разрезы, сечения, профили, решать
задачи координатной геометрии и многие другие. Обмен с персональным
компьютером, экспорт/импорт файлов в формате DXF обеспечивают эффективность
разбивочных работ по заранее подготовленным проектам. Очевидно, что графические
системы реального времени типа GeodatWin получат дальнейшее развитие и станут
неотъемлемой частью полевых съемочных систем. Можно предположить также, что
тахеометры с механическим приводом в будущем будут полностью заменены
тахеометрами с сервоприводом.
Сервопривод не только
обеспечивает удобство работы (сервомоторы управляются многочисленными
фрикционными винтами, традиционные наводящие и закрепительные винты
отсутствуют), но и повышает производительность не менее чем на 30%. Если
координаты точек хранятся в памяти, необходимо только ввести номер нужной точки
и прибор автоматически наведется на нее. При повторительных угловых измерениях
на несколько отражателей необходимо только задать порядок и число измерений.
Поскольку сервопривод исключает большую часть утомительной работы с наводящими
и закрепительными винтами, вероятность ошибок наведения значительно
уменьшается.
Тахеометры Geodimeter
600 Pro имеют четырехскоростные сервомоторы. Наличие их обеспечивает быстрое и
точное наведение на отражатель, позволяет быстро и эффективно переключаться в
различные режимы работы: поиска отражателя, слежения в простом и
роботизированном режимах. Система автоматического наведения и слежения
тахеометров с сервоприводами повышает производительность работ более чем на
50%. Тахеометры Geodimeter 600 Pro оснащаются системой Autolock, включающей
модуль слежения Tracker, размещаемый в модуле телескопа, и активный отражатель
RMT. Активный отражатель (выпускается несколько видов) обязательно включает
активный излучатель-диод, излучение которого фиксируется модулем Tracker, и не
допускает наведения на другие отражатели или отражающие поверхности - катафоты,
стекла и пр. В то же время ряд других моделей тахеометров-роботов не могут
различить призму-отражатель и стекло проезжающего автомобиля, и в результате
ими практически невозможно пользоваться в городских условиях. Система
автоматического наведения не только полностью исключает необходимость работы
вручную, но и повышает точность наведения на отражатель. При потере отражателя
система поиска быстро находит его.
Роботизированные
тахеометры имеют радиокоммуникационный модуль/радиомодем, обеспечивающий связь
прибора с активным отражателем. В качестве контроллера, обеспечивающего
управление тахеометром через радиомодем, установленный на вехе с отражателем,
часто используются стандартные полевые компьютеры типа Husky или HP. В системах
Geodimeter 600 Pro в качестве контроллера используется либо съемная клавиатура,
либо графический контроллер GeodatWin. Применение клавиатуры или GeodatWin, с
одной стороны, удешевляет стоимость системы, с другой, - делает ее более
эффективной - технологии работ с клавиатурой/контроллером на приборе и вехе
полностью идентичны и не требуют изучения и внедрения иного полевого компьютера.
Повышению эффективности
работ значительно способствует также применение призменных отражателей,
обеспечивающих отражение сигнала тахеометра в полном круговом диапазоне (360
). Дальность работы в роботизированном режиме как правило лежит в пределах
1-1,5 км, что обусловливается в основном предельными расстояниями при таких
видах съемок.
В целом применение
роботизированных технологий повышает эффективность работ практически вдвое по
сравнению с использованием механических тахеометров, что дает возможность
значительно сократить трудовые затраты, свести к минимуму ошибки полевых
измерений и оптимально провести камеральные работы, что в итоге позволяет, по
крайней мере, удвоить годовые объемы подрядных геодезических работ.
Ряд фирм-производителей
выпускают так называемые автоматизированные следящие системы (Automated
Tracking System). Основой их является высокоточный электронный тахеометр с
мощным дальномерным блоком, сервоприводами и всеми функциями робота. Приборы
этой серии могут использоваться и как “обычные” роботизированные тахеометры, и
как датчики автоматической следящей системы. Например, приборы серии Geodimeter
ATS используются для решения следующих задач: автоматические наблюдения за
деформациями инженерных сооружений и земной поверхности; геодезическое
обеспечение гидрографических работ; автоматическое определение координинат
движущихся объектов; управление строительными машинами и механизмами.
Приборы серии Geodimeter
ATS являются открытыми и легко интегрируются в автоматические системы, в которых
прибор работает под управлением различных компьютерных программ. Обмен
командами и данными между прибором и компьютером может осуществляться в
реальном времени через последовательный порт или радиомодем. Например,
Geodimeter ATS-PT - одна из наиболее мощных моделей серии, предназначена для
автоматического координирования в реальном времени движущихся объектов.
Обеспечивает автоматическое наведение на активную и пассивную визирные цели на
расстоянии до 3200 м, слежение за движущимися (скорость до 4 м\с) объектами,
регистрацию данных с частотой 5 Гц.ATS-MC предназначен для использования в
системах управления строительными машинами и механизмами. Данные об их
положении могут выводиться как на единый диспетчерский пульт, так и на пульт
управления отдельной машины. Дальность действия в режиме автоматического
наведения 1-2 км. Geodimeter ATS-PM предназначен для использования в
автоматических системах наблюдения за деформациями. Управление процессом
наблюдений, регистрация данных, их обработка и анализ осуществляются в реальном
времени специальными программами для внешних компьютеров.
К сожалению, сегодня в
России значительная часть всех полевых съемочных работ выполняется
традиционными средствами - оптическими теодолитами, дальномерными насадками и
другими устаревшими геодезическими приборами. Наиболее прогрессивные
организации успешно внедряют в течение последних 5 лет технологии с применением
электронных тахеометров. По приблизительным оценкам, в настоящее время в России
используется около 2-3 тыс. электронных тахеометров. Реальная же потребность в
современных тахеометрах составляет сотни в год.
Недооценка
руководителями различного уровня преимуществ от внедрения новых технологий,
“затратные механизмы” финансирования многих видов работ, особенно строительных,
общие экономические проблемы и достаточно высокая стоимость электронных
тахеометров не позволяют многим организациям перейти на современные цифровые
технологии полевых работ. Тем не менее в случае развития в России реального
рынка услуг в области геодезии, картографии и геоинформатики, компании,
применяющие наиболее прогрессивные и эффективные технологии могут значительно
потеснить компании, работающие по устаревшим технологиям.
Ожидается, что в целом на мировом
рынке в ближайшем будущем стоимость самого оборудования снизится, а встроенных
программных средств и их приложений повысится. Стоимость сервиса и запасных
частей также должна снизиться вследствие увеличения надежности работы приборов
и продления срока их жизнедеятельности. Однако затраты на обучение и поддержку
пользователей, очевидно, увеличатся из-за усложнения конфигурации систем,
возможностей их модернизации и многофункционального применения.
Выводы
Дипломный проект посвящен
геодезическому обеспечению строительства Западного скоростного диаметра на
участке от улицы Благодатная до проспекта Стачек. Кратко изложены требования
руководящих документов, физико-географические и топографо-геодезические
особенности работ в данном районе строительства. Рассмотрены проекты развития
опорной геодезической сети I разряда, съёмочной сети, нивелирования IV класса и
технического нивелирования, создания топографической основы в масштабе 1:1000 и
цифровой модели местности. Также рассмотрены возможности автоматизации
топографо-геодезических работ с использованием спутниковой геодезической
аппаратуры, электронного тахеометра, цифровых нивелиров и программного
продуктов CREDO_DAT и AutoCad. Рассмотрены вопросы организации работ, вопросы сметной
стоимости. Во введении раскрывается актуальность темы, акцент делается на необходимость
строительства ЗСД в связи с развитием экономического потенциала
Санкт-Петербурга и Ленинградской области. Далее раскрывается комплекс
геодезического обеспечения в дорожном строительстве на объекте «Западный
скоростной диаметр», который начинается с анализа исходной информации.
На основе требований руководящих
документов, топографо-геодезической обеспеченности, физико-географических
условий запроектированы следующие виды работ: развитие опорной геодезической
сети I разряда. Обоснован и выбран метод определения координат с использованием
спутниковых технологий и тахеометрических измерений, развитие съёмочной сети
методом свободных станций, нивелирной сети III класса и технического
нивелирования.
В настоящее время все
запланированные виды работ выполняются в намеченные сроки на объекте реального
строительства Южного участка ЗСД. Представляю выполненную работу к защите.
Студент А. Марков
« » мая 2010 г.
Список литературы
1. Интрукция
по топографической съемке в масштабах 1:5000, 1:2000,
1:1000 и 1:500. - М.,:
Недра, 1982.
2. Правила
по технике безопасности на топографо-геодезических работах. (ПТБ-88). _ М.,
:Недра,1989.
3. Инструкция
об охране геодезических пунктов (ГКИНП -07-11-84). - М., :Недра, 1987.
4. Инструкция
по нивелированию I, II, III и IV классов. - М., : Недра, 1988.
5. СНиП
12-03-99 «Безопасность труда в строительстве». - М.,: Госстрой РФ, 2000.
6. СНиП
III-4-80. Техника безопасности в строительстве. - М.,: Госстрой РФ, 1984.
7. Руководство
по контролю качества строительно-монтажных работ.
СПб, :Изд. КN, 1998.
8. СНиП
3.01.03-84. Производство геодезических работ в строительстве. - М.,: Госстрой
РФ, 1984.
9. ГОСТ
25634-83. Каталог координат геодезических пунктов. Форма и содержание. - М., :
Росстандарт, 1984.
10. ГОСТ
21.1701-97 «Система проектной документации для строительства. Правила
выполнения рабочей документации автомобильных дорог». - М.,: Росстандарт, 1998.
11. ГОСТ
2.307-68* ЕСКД. Нанесение размеров и предельных отклонений.
М., : Росстандарт ,1996.
12. ГОСТ
21.101-97* СПДС. Основные надписи к проектной и рабочей документации. -М., :
Росстандарт, 1997.
13. ГОСТ
23616-79* .Система обеспечения точности геометрических параметров в
строительстве. Контроль точности». - М: Госстрой РФ, 1979.
14. СНиП
3.06.03-85. Автомобильные дороги. М., : Госстрой РФ ,1985.
15. СНиП
2.05.02-85. Автомобильные дороги. (изменения от 1995г.). - М., : Госстрой РФ
,1996.
16. ГОСТ
Р 51872-2002. Документация исполнительная геодезическая. Правила выполнения.
М., : Росстандарт ,2002.
17. СНиП
III-8-76. Земляные работы. - М., : Госстрой РФ ,1996.
18. СниП
11-02-96. Инженерные изыскания для строительства. - М., : Госстрой РФ ,1996.
19. -СП 11-104-97 . Инженерно-геодезические изыскания для
строительства. М., :Госстрой РФ, 1997.
<#"516102.files/image090.gif">
Модель результатов тахеометрических
измерений
Содержание модели: названия пунктов,
горизонтальные направления (градусы, минуты, секунды), горизонтальные
расстояния.
Обработка модели
измерений, предварительный расчет точности сети
динaты иcxoдныx пунктoв
NN Haзвaниexy
11GRO88232.497 112211.852
GRO88146.067 112104.718
GRO88588.104 110876.306
.000 110866.000
Cпиcoк нaзвaний oпpeдeляeмыx пунктoв
5. 16GRO; 6. 3GRO; 7.
4GRO; 8. 8; 9. 5GRO; 10. 6_1GRO; 11. 11; 12. 7GRO; 13. 8GRO; 14. 9GRO; 15.
10GRO; 16. 11GRO; 17. 15GRO; 18. 4; 19. 26; 20. 25; 21. 21; 22. 22; 23. 23; 24.
24; 25. 17GRO.
пиcoк дирекционных углoв, определяемых по спутниковым
измерениям
Направление
c пунктa нa пункт ° ¢ ² c.к.o.( ²)
2.11GRO114 24 36.54.0
3.2021100 49 4.24.0
4.11GRO136 9 42.94.0
5.2110GRO149 44 59.54.0
6.22110 3 56.54.0
7.11GRO10GRO110 20
7.64.0
8.2287 22 8.04.0
9.10GRO9GRO124 10
43.34.0
10.2383 44 20.94.0
11.2223105 19 59.84.0
12.9GRO206 48 24.94.0
13.9GRO8GRO110 14
24.14.0
14.7GRO114 18 56.24.0
15.238GRO203 8 28.54.0
16.7GRO186 57 50.34.0
17.8GRO11119 35 55.94.0
18.6_1GRO117 9 33.64.0
19.7GRO11114 43 20.04.0
20.6_1GRO114 32 28.74.0
21.115GRO110 35 39.14.0
22.8112 33 48.64.0
23.6_1GRO5GRO108 4
37.94.0
24.8111 57 28.84.0
25.83GRO86 44 6.34.0
26.4GRO107 24 9.84.0
27.5GRO3GRO98 51 42.34.0
28.4GRO112 17 33.54.0
29.4GRO484 11 6.74.0
30.17GRO101 51 58.64.0
31.3GRO17GRO196 35
34.34.0
32.4104 50 8.94.0
33.416GRO226 46 7.64.0
34.15GRO87 50 31.94.0
35.17GRO16GRO100 23
59.64.0
36.15GRO78 46 1.14.0
37.16GRO2GRO94 6 23.04.0
38.1GRO72 29 43.24.0
39.15GRO2GRO195 18
24.34.0
40.1GRO74 42 34.34.0
Cпиcoк гopизoнтaльныx нaпpaвлeний, измеряемых тахеометром c пунктa нa пункт ° ¢ ²
. 23240 0 0.0
2.7GRO83 6 10.6
.8GRO99 16 48.8
4. 8GRO230 0 0.0
5.2448 13 17.7
6.9GRO267 5 55.6
7. 7GRO230 0 0.0
8.2454 54 21.6
9.11107 45 29.7
10. 11240 0 0.0
11.2535 31 32.0
.5GRO69 54 54.0
13.8GRO258 55 10.8
14. 6_1GRO240 0 0.0
15.2549 24 35.9
16.5GRO102 25 41.2
.8GRO291 30 36.9
18. 5GRO260 0 0.0
19.4GRO59 43 58.3
20.6_1GRO235 31 2.7
.25306 6 28.9
22. 8260 0 0.0
23.4GRO107 24 9.8
.6_1GRO291 57 28.8
25. 4GRO17GRO0 0 0.0
26.8185 32 11.3
.26231 8 17.1
28. 3GRO4 0 0 0.0
29.8161 53 57.4
.26202 14 46.8
Средняя квадратическая погрешность
измерения направления = 3.0².
пиcoк paccтoяний, определяемых по
спутниковым наблюдениям и измеряемых тахеометром
Линия oт пунктa дo пунктa
paccтoяниe(м) cкп(мм)
1. 12GRO21150.1223.0
2.11GRO95.6243.0
3. 2021159.8413.0
.11GRO140.5993.0
. 2110GRO138.0973.0
.22177.7923.0
. 11GRO10GRO137.7753.0
.22226.8573.0
9. 10GRO9GRO61.1763.0
10.23222.7593.0
. 229GRO103.8173.0
.23128.5773.0
. 9GRO8GRO134.1943.0
.7GRO170.1933.0
. 238GRO114.2803.0
.7GRO129.6963.0
. 8GRO11109.1563.0
.6_1GRO205.6673.0
19. 7GRO1172.3573.0
20.6_1GRO169.0773.0
. 115GRO242.7803.0
.8390.9233.0
. 6_1GRO5GRO146.4143.0
.8294.2693.0
. 83GRO205.7843.0
.4GRO106.0963.0
. 5GRO3GRO343.2833.0
.4GRO253.9563.0
29. 4GRO17GRO87.7603.0
30.4194.7623.0
31. 3GRO17GRO64.1703.0
.492.6383.0
. 416GRO70.3303.0
34.15GRO101.6943.0
35. 17GRO16GRO57.5793.0
36.15GRO213.5893.0
. 16GRO2GRO136.3103.0
.1GRO254.8983.0
39. 15GRO2GRO64.0343.0
.1GRO93.5413.0
41. 2324158.6193.0
.7GRO129.6963.0
.8GRO114.2803.0
. 8GRO23114.2803.0
.24209.9203.0
.9GRO134.1943.0
. 7GRO23129.6963.0
.24192.4583.0
49.1172.3573.0
50. 1124159.5523.0
.25230.6533.0
.5GRO242.7803.0
.8GRO109.1563.0
. 6_1GRO24161.7513.0
.25165.8113.0
.5GRO146.4143.0
.8GRO205.6673.0
. 5GRO26168.4353.0
.4GRO253.9563.0
.6_1GRO146.4143.0
.25140.4353.0
. 826167.0003.0
.4GRO106.0963.0
.6_1GRO294.2693.0
65. 4GRO17GRO87.7603.0
66.8106.0963.0
.26223.0343.0
68. 3GRO492.6383.0
69.8205.7843.0
.26257.5303.0
пиcoк дирекционных углoв и paccтoяний c пунктa нa пункт диp.угoл paccтoяниe, ° ¢ ² м
. 1GRO16GRO252 29
43.2254.898
2.15GRO254 42 34.593.541
3. 2GRO16GRO274 6
23.0136.310
4.15GRO15 18 24.564.034
5. 12GRO11GRO114 24
36.495.624
6.2177 43 58.9150.122
7. 2011GRO136 9
42.8140.599
.21100 49 4.2159.841
9. 16GRO446 46 7.670.330
10.17GRO280 23
59.757.579
11. 3GRO8266 44
6.2205.784
.5GRO278 51 42.2343.283
13.4104 50 8.892.638
14.26307 4 55.9257.530
15.17GRO196 35
34.764.170
16. 4GRO8287 24
9.8106.096
.5GRO292 17 33.4253.956
18.484 11 6.6194.762
19.26333 0 15.8223.034
20.17GRO101 51
58.687.760
21. 86_1GRO291 57
28.7294.269
.11292 33 48.6390.923
.26359 59 59.9167.000
. 5GRO6_1GRO288 4
37.8146.414
.11290 35 39.2242.780
26.2652 33 35.0168.435
27.25358 40 4.1140.435
28. 6_1GRO 7GRO294 32
28.8169.077
29.8GRO297 9 33.8205.667
30.2555 3 32.4165.811
31.245 38 56.6161.751
32. 117GRO294 43
19.972.357
33.8GRO299 35
55.8109.156
34.2576 12 17.1230.653
.2440 40 45.1159.552
36. 7GRO9GRO294 18
56.3170.193
37.236 57 50.3129.696
38.2461 52 11.9192.458
39. 8GRO9GRO290 14
24.1134.194
40.2323 8 28.6114.280
.2471 21 46.2209.920
42. 9GRO10GRO304 10
43.261.176
43.2226 48 24.8103.817
44. 10GRO11GRO290 20
7.5137.775
.21329 44 59.7138.097
46.2383 44 21.0222.759
. 11GRO2287 22
8.0226.857
48. 15GRO4267 50
31.8101.694
.17GRO258 46 1.0213.589
. 2122110 3 56.6177.792
51. 2223105 19 59.7128.577
. 2324103 51 39.8158.619
Кoopдинaты пунктoв, вычисленные для контроля модели
NN Имя x y
GRO 88232.497 112211.852 иcxодный
22GRO 88146.067
112104.718 иcxодный
GRO 88588.104 110876.306
иcxодный
88650.000 110866.000 иcxодный
GRO 88155.828 111968.758
GRO 88227.720 111930.450
GRO 88184.268 111826.240
88216.000 111725.000
GRO 88280.603 111591.265
106_1GRO 88326.035
111452.078
111188366.000 111364.000
GRO88396.261 111298.275
GRO88419.915 111269.088
149GRO88466.340111143.180
GRO88500.707111092.570
GRO88548.586110963.382
GRO88207.829112121.622
.000112020.000
.000111725.000
.000111588.000
.000111023.000
.000111190.000
.000111314.000
.000111468.000
GRO88166.222111912.125
Приложение Б. Свидетельства о
поверках
Приложение В Сметная стоимость работ
Приложение Г Каталог координат и
высот
Система координат: местная 1964 г.
(МСК 64)
Система высот: Балтийская 1977 г.
|
Название
|
Координаты
|
Высоты
|
|
пункта
|
X (м)
|
Y(м)
|
Н(м)
|
|
GRO1
|
88227.696
|
111930.437
|
13.613
|
|
GRO2
|
88184.244
|
111826.226
|
11.665
|
|
GRO3
|
|
|
|
|
GRO4
|
88280.580
|
111591.251
|
10.758
|
|
GRO5
|
88326.012
|
111452.064
|
10.198
|
|
GRO6
|
88335.756
|
111456.466
|
10.452
|
|
GRO7
|
88396.236
|
111298.261
|
11.800
|
|
GRO8
|
88419.891
|
111269.074
|
11.784
|
|
GRO9
|
88466.320
|
111143.167
|
11.332
|
|
GRO10
|
88500.684
|
111092.557
|
11.170
|
|
GRO11
|
88548.562
|
110963.368
|
11.411
|
|
GRO12
|
88588.081
|
110876.294
|
10.112
|
|
GRO13
|
88805.703
|
111093.076
|
03.095
|
|
GRO14
|
88315.118
|
110845.448
|
03.098
|
|
GRO15
|
88166.203
|
111912.112
|
11.470
|
|
GRO16
|
88155.810
|
111968.746
|
12.053
|
|
GRO17
|
88146.044
|
112104.705
|
12.054
|
|
GRO18
|
88207.811
|
112121.609
|
12.526
|
|
GRO19
|
88232.472
|
112211.839
|
14.100
|